JP4074128B2 - 空気入りタイヤ - Google Patents
空気入りタイヤ Download PDFInfo
- Publication number
- JP4074128B2 JP4074128B2 JP2002136043A JP2002136043A JP4074128B2 JP 4074128 B2 JP4074128 B2 JP 4074128B2 JP 2002136043 A JP2002136043 A JP 2002136043A JP 2002136043 A JP2002136043 A JP 2002136043A JP 4074128 B2 JP4074128 B2 JP 4074128B2
- Authority
- JP
- Japan
- Prior art keywords
- tire
- flange
- rim
- covering surface
- axial direction
- Prior art date
- Legal status (The legal status is an assumption and is not a legal conclusion. Google has not performed a legal analysis and makes no representation as to the accuracy of the status listed.)
- Expired - Fee Related
Links
- 230000001012 protector Effects 0.000 claims description 41
- 239000011324 bead Substances 0.000 claims description 32
- 238000000926 separation method Methods 0.000 claims description 8
- 239000004575 stone Substances 0.000 description 10
- 230000001681 protective effect Effects 0.000 description 5
- 238000005452 bending Methods 0.000 description 4
- 230000000694 effects Effects 0.000 description 3
- 229910000831 Steel Inorganic materials 0.000 description 2
- 230000015572 biosynthetic process Effects 0.000 description 2
- 230000002093 peripheral effect Effects 0.000 description 2
- 239000010959 steel Substances 0.000 description 2
- 229920001875 Ebonite Polymers 0.000 description 1
- 241000282326 Felis catus Species 0.000 description 1
- 239000004677 Nylon Substances 0.000 description 1
- 229920000297 Rayon Polymers 0.000 description 1
- 239000010426 asphalt Substances 0.000 description 1
- 230000006866 deterioration Effects 0.000 description 1
- 238000011156 evaluation Methods 0.000 description 1
- 238000002474 experimental method Methods 0.000 description 1
- 239000000835 fiber Substances 0.000 description 1
- 239000000446 fuel Substances 0.000 description 1
- 230000001771 impaired effect Effects 0.000 description 1
- 230000007257 malfunction Effects 0.000 description 1
- 238000000034 method Methods 0.000 description 1
- 229920001778 nylon Polymers 0.000 description 1
- 229920000728 polyester Polymers 0.000 description 1
- 230000000191 radiation effect Effects 0.000 description 1
- 239000002964 rayon Substances 0.000 description 1
- 230000001953 sensory effect Effects 0.000 description 1
- 230000006641 stabilisation Effects 0.000 description 1
- 238000011105 stabilization Methods 0.000 description 1
- 239000000725 suspension Substances 0.000 description 1
- 230000002195 synergetic effect Effects 0.000 description 1
- 238000010998 test method Methods 0.000 description 1
- 230000001052 transient effect Effects 0.000 description 1
- 239000013585 weight reducing agent Substances 0.000 description 1
Images
Classifications
-
- B—PERFORMING OPERATIONS; TRANSPORTING
- B60—VEHICLES IN GENERAL
- B60C—VEHICLE TYRES; TYRE INFLATION; TYRE CHANGING; CONNECTING VALVES TO INFLATABLE ELASTIC BODIES IN GENERAL; DEVICES OR ARRANGEMENTS RELATED TO TYRES
- B60C15/00—Tyre beads, e.g. ply turn-up or overlap
- B60C15/02—Seating or securing beads on rims
- B60C15/024—Bead contour, e.g. lips, grooves, or ribs
-
- B—PERFORMING OPERATIONS; TRANSPORTING
- B60—VEHICLES IN GENERAL
- B60C—VEHICLE TYRES; TYRE INFLATION; TYRE CHANGING; CONNECTING VALVES TO INFLATABLE ELASTIC BODIES IN GENERAL; DEVICES OR ARRANGEMENTS RELATED TO TYRES
- B60C15/00—Tyre beads, e.g. ply turn-up or overlap
- B60C15/02—Seating or securing beads on rims
- B60C15/024—Bead contour, e.g. lips, grooves, or ribs
- B60C15/0242—Bead contour, e.g. lips, grooves, or ribs with bead extensions located radially outside the rim flange position, e.g. rim flange protectors
-
- Y—GENERAL TAGGING OF NEW TECHNOLOGICAL DEVELOPMENTS; GENERAL TAGGING OF CROSS-SECTIONAL TECHNOLOGIES SPANNING OVER SEVERAL SECTIONS OF THE IPC; TECHNICAL SUBJECTS COVERED BY FORMER USPC CROSS-REFERENCE ART COLLECTIONS [XRACs] AND DIGESTS
- Y10—TECHNICAL SUBJECTS COVERED BY FORMER USPC
- Y10T—TECHNICAL SUBJECTS COVERED BY FORMER US CLASSIFICATION
- Y10T152/00—Resilient tires and wheels
- Y10T152/10—Tires, resilient
- Y10T152/10495—Pneumatic tire or inner tube
- Y10T152/10819—Characterized by the structure of the bead portion of the tire
Landscapes
- Engineering & Computer Science (AREA)
- Mechanical Engineering (AREA)
- Tires In General (AREA)
Description
【発明の属する技術分野】
本発明は、リムフランジを保護するリムプロテクタを具えた空気入りタイヤに関する。
【0002】
【従来の技術及び発明が解決しようとする課題】
近年、タイヤの横剛性を高めて運動性能を向上させるべく、タイヤの扁平化が進んでおり、例えば扁平率が50%を下回るタイヤも種々登場している。タイヤの扁平化が進むと、タイヤの断面高さが相対的に小さくなるため、リムのリムフランジなどが比較的路面と近いところを通過する。このため、例えば車両を路肩に寄せ過ぎると、リムフランジが縁石などに接触したり、走行中に道路上のキャッツアイを乗り越した衝撃等で損傷することがある。
【0003】
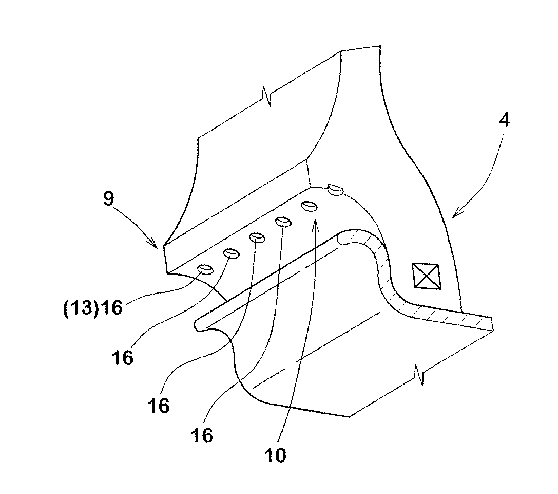
このようなリムフランジの損傷を防止するために、例えば図9に示すように、ビード部bに、リムフランジjfを覆うようタイヤ軸方向外側に突出してタイヤ周方向に連続して環状にのびるリムプロテクタdを設けることが提案されている。車両が路肩に寄りすぎると、リムプロテクタdがリムフランジjfよりも先に縁石Eに当接してハンドルに反力を与え、運転者に路肩への寄り過ぎを知らしめる。これにより、リムフランジjfが縁石Eに衝突することを未然に防いでいる。
【0004】
ところで、このようなリムプロテクタdは、一般にゴムゲージを増して形成されるため、タイヤ重量を増大させるという欠点がある。発明者らの種々の実験の結果では、215/45R17の乗用車用ラジアルタイヤでは、タイヤ1本についてリムプロテクタの重量は約250〜300g程度であることが判明している。このようなタイヤ重量の増加は、車両の燃費性能を低下させる他、サスペンションよりも下方の重量である、いわゆるバネ下重量を増大させ、車両の操縦安定性を低下させる原因となる。
【0005】
また、一般の通常走行時において、図10に示すように、リムプロテクタdは、タイヤ半径方向の内側を向くフランジ覆い面iとリムフランジjfとの間に隙間が形成されているが、この部分に小石などの異物sが噛み込みやすい。このような石噛みは、リムフランジjfやタイヤのビード部外表面に傷を付ける。
【0006】
本発明は、以上のような問題点に鑑み案出されたもので、前記リムプロテクタのフランジ覆い面に、深さを限定した凹部を設けることを基本として、タイヤ重量の大幅な増加を防止しかつ該フランジ覆い面とリムフランジとの間に石噛み等が生じにくい空気入りタイヤを提供することを目的としている。
【0007】
【課題を解決するための手段】
本発明のうち請求項1記載の発明は、ビード部に、タイヤ軸方向外側に突出しかつタイヤ周方向に連続してのびるリムプロテクタを具えた空気入りタイヤであって、前記リムプロテクタは、正規リムにリム組みしかつ正規内圧を充填した無負荷の正規内圧状態におけるタイヤ子午線断面において、ビード部とリムフランジとが離間し始める離間点から該リムフランジに沿いかつ隙間を介してタイヤ半径方向外側にのびしかも前記リムフランジよりもタイヤ軸方向外側に至るフランジ覆い面を具えるとともに、このフランジ覆い面に、深さが0.5〜7.0mmの凹部を設けたことを特徴としている。
【0008】
また請求項1記載の発明は、前記フランジ覆い面が、前記正規内圧状態においてリムフランジのフランジ円弧面の曲率半径の1.5〜4倍の曲率半径をなす前記大円弧面部を具えるとともに、そのタイヤ半径方向の内、外両側に曲率半径が小さい小円弧面部を配したことを特徴としている。
【0009】
また請求項2記載の発明は、前記凹部は、タイヤ周方向に連続してのびる1ないし複数本の溝からなることを特徴としている。
【0010】
また請求項3記載の発明は、前記凹部は、タイヤ周方向に間欠的に形成された複数個の孔部からなることを特徴としている。
【0011】
また請求項4記載の発明は、前記フランジ覆い面は、そのタイヤ軸方向の外端が、前記リムフランジの軸方向最外側点から0 mm よりも大かつ10 mm 以下のタイヤ軸方向の距離L1を隔てるとともに、リムフランジの半径方向最外側点から2 mm 以上かつ15 mm 以下のタイヤ半径方向の距離L2を隔て、しかも前記フランジ覆い面は、前記リムフランジのフランジ円弧面よりも曲率半径が大きい円弧で形成された大円弧面部を含むことを特徴としている。
【0012】
【発明の実施の形態】
以下本発明の実施の一形態を図面に基づき説明する。
図1は正規リムJにリム組みされかつ正規内圧が充填されるとともに無負荷である正規内圧状態の空気入りタイヤ1と正規リムJとの組立体の断面図、図2はそのビード部の拡大図、図3は図2の斜視図をそれぞれ示している。なお「正規リム」とは、タイヤが基づいている規格を含む規格体系において、当該規格などがタイヤ毎に定めるリムであり、例えばJATMAであれば "標準リム”、TRAであれば "Measuring Rim"、或いはETRTOであれば "Measuring Rim"とする。また「正規内圧」とは、タイヤが基づいている規格を含む規格体系において、各規格などがタイヤ毎に定めている空気圧であり、JATMAであれば "最高空気圧”、TRAであれば表 "TIRE LOAD LIMITS AT VARIOUS COLD INFLATION PRESSURES" に記載の最大値、ETRTOであれば "INFLATION PRESSURE" であるが、タイヤが乗用車用である場合には180kPaとする。
【0013】
図1において、本実施形態の空気入りタイヤ1は、トレッド部2からサイドウォール部3を経てビード部4のビードコア5に至るカーカス6と、トレッド部2の内部かつ前記カーカス6のタイヤ半径方向外側に配されたベルト層7とを具えた扁平率が50%以下、本例では45%の超低偏平の乗用車用ラジアルタイヤを例示している。
【0014】
前記カーカス6は、例えばカーカスコードをタイヤ赤道Cに対して80゜〜90゜の角度で配列したラジアル構造の1枚以上、本例では1枚のカーカスプライ6Aから構成されたものを示す。該カーカスプライ6Aは、本例ではトレッド部2からサイドウォール部3を経てビード部4のビードコア5に至るトロイド状の本体部6aと、この本体部6aに一体に連なりかつビードコア5の廻りでタイヤ軸方向内側から外側に折り返されて係止された折返し部6bとを一体に有している。前記カーカスコードとしては、特に限定はされないが、ポリエステル、ナイロン、レーヨン等の有機繊維コードが好ましく、必要によりスチールコードをも採用できる。なおカーカスプライ6Aの本体部6aと折返し部6bとの間には、ビードコア5からタイヤ半径方向外側に先細状でのびる硬質ゴムからなるビードエーペックス8が配され、ビード部4の曲げ剛性を補強している。
【0015】
また前記ベルト層7は、例えばスチールコードなどの高弾性コードをタイヤ赤道に対して10〜40°の小角度で傾けて配列した少なくとも2枚、本例では内、外2枚のベルトプライ7A、7Bを前記コードが互いに交差する向きに重ね合わせて構成されたものを示す。
【0016】
また空気入りタイヤ1は、前記ビード部4に、タイヤ軸方向外側に突出してタイヤ周方向に連続するリムプロテクタ9が設けられている。本実施形態のリムプロテクタ9は、前記正規内圧状態におけるタイヤ軸を含むタイヤ子午線断面において、ビード部4とリムフランジJFとが離間し始める離間点P(換言すれば、タイヤ半径方向の最も外側でのビード部4とリムフランジJFとの接触点)から該リムフランジJFに沿いかつ隙間を介してタイヤ半径方向外側にのびるフランジ覆い面10と、このフランジ覆い面10に連なり縁石等に衝合可能なプロテクト面11と、このプロテクト面11に滑らかに連なりかつサイドウォール部3に連なる継ぎ面12とで区画されたものを示す。
【0017】
前記プロテクト面11は、本実施形態では、フランジ覆い面10のタイヤ軸方向の外端10tからタイヤ半径方向にほぼ垂直でのび、その外端11aで前記継ぎ面12と連なるものを示す。このようなリムプロテクタ9は、プロテクト面11がリムフランジJFよりも先に路肩の縁石等に接触して反力を受け止め、リムフランジJFと縁石との接触を未然に防止しうる。
【0018】
本例のフランジ覆い面10は、前記離間点Pからタイヤ半径方向外側にのびそのタイヤ軸方向の外端10tが、リムプロテクタ9のタイヤ軸方向の最も外側となる最外側位置Aをなす。フランジ覆い面10の外端10tは、例えば図2に示すように、リムフランジJFの軸方向最外側点JFaから0mmよりも大かつ10mm以下のタイヤ軸方向の距離L1を隔てて位置するものが望ましい。前記距離L1が0mmないしそれ以下の場合、リムプロテクタ9によるリムフランジJFの保護が不十分となり易く、逆に10mmを超えるとリムプロテクタ9がタイヤ軸方向外側に大きく突出するため、タイヤ重量及びタイヤ総幅の大幅な増加を招きやすくなる。特に好ましくは前記距離L1を2〜7mmとするのが望ましい。なお正規リムJにおいて、リムフランジJFの軸方向最外側点JFaの位置が異なるものが存在する場合、前記外側点JFaの位置が最もタイヤ軸方向内側にあるものを基準とする。
【0019】
またフランジ覆い面10の外端10tは、リムフランジJFの半径方向最外側点JFbから2mm以上かつ15mm以下のタイヤ半径方向の距離L2を隔てて位置するのが望ましい。前記距離L2が2mmに満たないと、常用走行に際して、リムプロテクタ9が広い範囲で常時リムフランジJFと密に接触する傾向があるため、リムプロテクタ9での発熱、摩耗が激しくなる他、石等の異物をかみ込み易くなり、逆に15mmを超えると、リムフランジJFの近傍を効果的に保護することができない傾向がある。特に好ましくは前記距離L2を5〜10mmとするのが望ましい。なお正規リムJにおいて、リムフランジJFの半径方向外側点JFbの位置が異なるものが存在する場合、前記外側点JFbの位置が最もタイヤ半径方向内側にあるものを基準とする。
【0020】
本発明の空気入りタイヤ1では、前記フランジ覆い面10に、深さdが0.5〜7.0mmの凹部13が設けられる。本例の凹部13は、タイヤ周方向に連続してのびる1本の溝14からなるものを例示する。この溝14からなる凹部13は、リムプロテクタ9のゴム重量を削減しタイヤ重量の大幅な増加を防止するのに役立つ。また凹部13は、リムプロテクタ9のフランジ覆い面10の曲げ剛性を適度に緩和することができる。このため、フランジ覆い面10とリムフランジJFとの間の隙間に小石等の異物が入り込んでも、その把持力を小さくするため、走行中の遠心力等によって容易に外部に排出させ得る。従って、リムプロテクタ9とリムフランジJFとの間での石噛みなど効果的に防止しうる。
【0021】
また大きな横Gが作用する車両の旋回時などでは、図4に略示するように、リムプロテクタ9のフランジ覆い面10が、リムフランジJFの上に覆い被さるようにビード部4が変形する。このとき、リムプロテクタ9とリムフランジJFとの広範囲に亘る接触により、従来のタイヤではビード部4の曲げ剛性が急激に高められ、車両の挙動が不安定となりやすい。一方、本発明の空気入りタイヤ1では、フランジ覆い面10に凹部13を設けて剛性を緩和しているため、該凹部13付近の比較的大きな変形により、旋回時におけるビード部4の急激な横剛性の上昇を防ぎ、車両の挙動変化を穏やかとする。これは、旋回時の車両のコントロール性を向上できる。さらにまた、凹部13はゴムゲージが大のため蓄熱しやすいリムプロテクタ9の放熱効果を高め、ビード部4の耐久性を向上するのにも役立つ。
【0022】
前記凹部13をなす溝14は、フランジ覆い面10に、このフランジ覆い面10をタイヤ半径方向外方へと凹ませることで形成されている。このような溝14を含む凹部13を、縁石等と直接接触しうるプロテクト面11に設けることも考えられる。しかし、この場合にはプロテクト面11の剛性を低下させ、縁石との接触を繰り返すうちに該凹部13を起点としたプロテクト面11の亀裂等を生じさせ、リムフランジJFを保護する効果を損ねやすい。これに対して、凹部13をフランジ覆い面10に設けた場合には、このような不具合が無く、長期に亘ってリムプロテクタ9の保護効果を維持しうる。
【0023】
また凹部13(溝14)の深さdは0.5〜7.0mmに設定される。前記深さdが小さすぎると、リムプロテクタ9のゴム量を効果的に削減し得ず、ひいてはタイヤ重量の軽量化が困難となる。逆に前記凹部13の深さが7.0mmを超えると、このリムプロテクタ9の剛性を過度に低下させる傾向があり、該リムプロテクタ9にゴム欠け、亀裂等が生じ耐久性を低下させやすくリムフランジJFの保護効果を損ねる。特に好ましくは凹部13の深さdを1〜5mm、より好ましくは2〜4mmとするのが望ましい。なおこの深さdは、一定でも良く、またタイヤ周方向に変化しても良い。該深さdは、図2に示すように、滑らかに設定した仮想のフランジ覆い面を基準として測定できる。
【0024】
また溝14の巾Wは、特に限定はされないが、深さdと略同等として半円状の断面とするのが好ましい。ただし、溝14の断面形状は特に限定はされず、本例のような矩形状のものの他、半円状やU字状など種々の形状が採用できる。またこのとき、溝底と溝壁とのコーナ部などを円弧等で丸めることにより溝底近傍での応力集中を緩和することが特に望ましい。
【0025】
また図2に示すように、一方のビード部14において、前記離間点Pからサイドウォール部3までの区間でかつカーカスプライ6Aの外輪郭線に滑らかに沿った通常のタイヤ輪郭線Nから軸方向外側に突出したリムプロテクタの全体積をVa、凹部13の全体積をVgとするとき、比(Vg/Va)は、0.05〜0.3程度、より好ましくは0.1〜0.2程度に設定するのが、リムプロテクタ9の剛性と重量軽減効果とをバランス良く高めうる点で特に好ましい。
【0026】
図5には、前記正規内圧状態のフランジ覆い面10を含むビード部の部分輪郭線を示す。本実施形態のフランジ覆い面10は、リムフランジJFのタイヤ側の面をなすフランジ円弧面JFrの曲率半径Rfよりも大きい曲率半径R1の円弧Caで形成された大円弧面部10aと、そのタイヤ半径方向の外側及び内側に前記曲率半径R1よりも小さい曲率半径R2、R3円弧Cb、Ccからなる小円弧面部10b、10cとからなるものを例示している。
【0027】
前記大円弧面部10aは、本例では凹部13のタイヤ半径方向の内縁13iからタイヤ半径方向内側にのび離間点Pよりも外側の終点Sまでを形成している。また大円弧面部10aの外側に配された小円弧面部10bは、凹部13の外縁13oからフランジ覆い面10の外端10tまでの区間を形成している。また大円弧面部10aの内側に配された小円弧面部10cは、前記大円弧面部10aの終点Sから前記離間点Pまでを形成している。
【0028】
大円弧面部10aの曲率半径R1は、例えばフランジ円弧JFrの曲率半径Rfの1.5〜4倍、より好ましくは2.0〜4.0倍、特に好ましくは2.5〜4.0倍程度とするのが望ましい。このように、大円弧面部10aの曲率半径R1を規定したときには、旋回時などの横G作用時において、大円弧面部10aをリムフランジJFに徐々に接触させることが可能になる。これは、旋回走行時の横剛性の変化を穏やかとし、凹部13の形成との相乗作用によって、より一層、旋回時の車両挙動の安定化を促進する。一方、大円弧面部10aの外側の小円弧面部10b、内側の小円弧面部10cでは、いずれも曲率半径R2、R3をフランジ円弧Rfの0.5〜2.5倍程度、より好ましくは1.0〜2.0倍程度とするのが望ましい。これは、旋回初期にフランジ覆い面10を早期にリムフランジJFと接触させ、旋回応答性などを高めるのに役立つ。
【0029】
また凹部13の内縁13iは、リムフランジJFの半径方向最外側点JFbよりもタイヤ半径方向外側に位置していることが望ましい。このようなリムプロテクタ9は、大きな横Gが作用した場合でも、リムプロテクタ9の変形に伴うリムフランジJfとの接触で急激な挙動変化が生じるのを防止できる。
【0030】
また、凹部13が本例のようにタイヤ周方向に連続する溝14からなる場合には、例えば図3に示すように、溝14とプロテクト面11とを連通させる排水用の小溝15を設けることも好ましく実施できる。溝14がタイヤ周方向に連続している場合、この溝14内部に雨水等が溜まると接地部附近に常に滞留して抜け難い。そこで、少なくとも1本、上述のような小溝15を設けることにより、溝14内の雨水等の排出を円滑化し、タイヤの外観の悪化を防止できる。
【0031】
前記凹部13を構成する溝14は、例えば図6に示すように、複数本の溝14で構成することもできる。溝14の本数は特に限定されない。各溝14の深さdは前記1本の溝14の実施形態の場合と同様に定め得る。また複数本の溝14で凹部13を構成する場合には、各溝14の巾の合計値を3〜15mm、より好ましくは5〜7mmとするのが望ましい。
【0032】
また凹部13は、図7、図8に示すように、タイヤ周方向に間欠的に形成された複数個の孔部16から形成することもできる(勿論、前記溝14とこれらの小孔16とを組み合わせることもできる。)。孔部16の深さdは前記範囲に定められる。また孔部16の1個当たりの開口面積は、例えば1〜50mm2 、より好ましくは10〜30mm2 とするのが良く、またそのタイヤ周方向の配設ピッチは10〜30mm、特に好ましくは10〜15mmとするのが望ましい。また孔部16の開口形状は任意に定め得る。
【0033】
【実施例】
タイヤサイズが215/45R17でありかつ図1のタイヤ基本構造を有しかつ表1に示す仕様にて凹部を設けた空気入りタイヤを試作するとともに、タイヤ重量、耐石噛み性能、操縦安定性についてテストを行った。テスト方法は、次の要領で行った。
【0034】
(1)タイヤ重量
タイヤ1本当たりの重量を測定し、従来例を100とする指数で表示している。数値が小さいほど良好である。
【0035】
(2)耐石噛み性能
各供試タイヤを内圧230kPaでリム(17×7−JJ)組みし国産乗用車の前輪に装着して砂利道を速度40km/hで約10km走行させた後、リムプロテクタとリムフランジとの間に噛み込んだ小石の個数を測定した。このテストを10回繰り返して噛み込んだ石の個数の平均値を算出し、従来例を100とする指数で表示している。数値が小さいほど石噛みが少なく、良好であることを示している。テストの結果を表1に示す。
【0036】
(3)操縦安定性
上記車両にてタイヤテストコースのドライアスファルト路面上にて、旋回限界走行を行い、車両のコントロール性を重視してドライバーの官能評価により10点法で評価した。数値が大きいほど良好である。
テストの結果を表1に示す。
【0037】
【表1】
【0038】
テストの結果、実施例のタイヤではタイヤ重量、耐石噛み性能及び操縦安定性において、従来例に対する優位性が確認できる。
【0039】
【発明の効果】
以上説明したように、請求項1記載の発明では、リムプロテクタのフランジ覆い面に、深さを限定した凹部を設けたことによって、リムプロテクタのゴム重量を減じタイヤ重量の大幅な増加を防止できる。また凹部は、リムプロテクタのフランジ覆い面の曲げ剛性を適度に緩和することが可能である。これは、フランジ覆い面とリムフランジとの間に小石が入り込んでも容易に排出でき、この部分での石噛みを防止するのに役立つ他、大きな横Gが作用したときでも急激な横剛性の変化を防止、車両の挙動を安定化しコントロール性を向上できる。またフランジ覆い面は、前記リムフランジのフランジ円弧面よりも曲率半径が大きい円弧で形成された大円弧面部を含むときには、旋回時などの横G作用時において、大円弧面部をリムフランジに徐々に接触させることができる。これは、過渡特性を穏やかにし、凹部の形成との相乗作用により、車両挙動の安定化に役立つ。
【0040】
また請求項2記載の発明のように、凹部を、タイヤ周方向に連続してのびる1ないし複数本の溝、又は請求項3記載の発明のようにタイヤ周方向に間欠的に形成された複数個の孔部から形成したときには、より効果的にリムプロテクタの重量軽減と石噛み防止を達成しうる。
【0041】
また請求項4記載の発明のように、フランジ覆い面は、そのタイヤ軸方向の外端が、前記リムフランジの軸方向最外側点から0mmよりも大かつ10mm以下のタイヤ軸方向の距離を隔てるとともに、リムフランジの半径方向最外側点から2mm以上かつ15mm以下のタイヤ半径方向の距離を隔てるときには、リムフランジとフランジ覆い面との間の隙間量を最適化でき、より効果的にリムフランジを保護できる。
【図面の簡単な説明】
【図1】本発明の実施の一形態を示す空気入りタイヤの右半分断面図である。
【図2】ビード部を拡大して示す断面図である。
【図3】その斜視図である。
【図4】横力が作用した状態を説明するビード部の断面略図である。
【図5】正規内圧充填状態のビード部の輪郭線である。
【図6】凹部の他の実施形態を示すビード部の斜視図である。
【図7】凹部の他の実施形態を示すビード部の斜視図である。
【図8】凹部の他の実施形態を示すビード部の斜視図である。
【図9】従来のリムプロテクタを示すタイヤ、リムの断面図である。
【図10】従来のリムプロテクタを示すタイヤ、リムの断面図である。
【符号の説明】
1 空気入りタイヤ
2 トレッド部
3 サイドウォール部
4 ビード部
5 ビードコア
6 カーカス
6A カーカスプライ
6a カーカスプライの本体部
6b カーカスプライの折返し部
7 ベルト層
9 リムプロテクタ
10 フランジ覆い面
11 プロテクト面
12 継ぎ面
13 凹部
14 溝
16 孔部
P 離間点
J リム
JF リムフランジ
Claims (4)
- ビード部に、タイヤ軸方向外側に突出しかつタイヤ周方向に連続してのびるリムプロテクタを具えた空気入りタイヤであって、
前記リムプロテクタは、正規リムにリム組みしかつ正規内圧を充填した無負荷の正規内圧状態におけるタイヤ子午線断面において、ビード部とリムフランジとが離間し始める離間点から該リムフランジに沿いかつ隙間を介してタイヤ半径方向外側にのびしかも前記リムフランジよりもタイヤ軸方向外側に至るフランジ覆い面を具えるとともに、
このフランジ覆い面に、深さが0.5〜7.0mmの凹部を設け、
かつ前記フランジ覆い面は、前記正規内圧状態においてリムフランジのフランジ円弧面の曲率半径の1.5〜4倍の曲率半径をなす前記大円弧面部を具えるとともに、そのタイヤ半径方向の内、外両側に曲率半径が小さい小円弧面部を配したことを特徴とする空気入りタイヤ。 - 前記凹部は、タイヤ周方向に連続してのびる1ないし複数本の溝からなることを特徴とする請求項1記載の空気入りタイヤ。
- 前記凹部は、タイヤ周方向に間欠的に形成された複数個の孔部からなることを特徴とする請求項1記載の空気入りタイヤ。
- 前記フランジ覆い面は、そのタイヤ軸方向の外端が、前記リムフランジの軸方向最外側点から0mmよりも大かつ10mm以下のタイヤ軸方向の距離L1を隔てるとともに、リムフランジの半径方向最外側点から2mm以上かつ15mm以下のタイヤ半径方向の距離L2を隔て、
しかも前記フランジ覆い面は、前記リムフランジのフランジ円弧面よりも曲率半径が大きい円弧で形成された大円弧面部を含むことを特徴とする請求項1乃至3のいずれかに記載の空気入りタイヤ。
Priority Applications (5)
| Application Number | Priority Date | Filing Date | Title |
|---|---|---|---|
| JP2002136043A JP4074128B2 (ja) | 2002-05-10 | 2002-05-10 | 空気入りタイヤ |
| DE60316863T DE60316863T2 (de) | 2002-05-10 | 2003-05-02 | Luftreifen |
| EP03010058A EP1361076B1 (en) | 2002-05-10 | 2003-05-02 | Pneumatic tire |
| US10/429,703 US7025102B2 (en) | 2002-05-10 | 2003-05-06 | Pneumatic tire |
| CNB031285457A CN1267293C (zh) | 2002-05-10 | 2003-05-07 | 充气轮胎 |
Applications Claiming Priority (1)
| Application Number | Priority Date | Filing Date | Title |
|---|---|---|---|
| JP2002136043A JP4074128B2 (ja) | 2002-05-10 | 2002-05-10 | 空気入りタイヤ |
Publications (2)
| Publication Number | Publication Date |
|---|---|
| JP2003326921A JP2003326921A (ja) | 2003-11-19 |
| JP4074128B2 true JP4074128B2 (ja) | 2008-04-09 |
Family
ID=29244235
Family Applications (1)
| Application Number | Title | Priority Date | Filing Date |
|---|---|---|---|
| JP2002136043A Expired - Fee Related JP4074128B2 (ja) | 2002-05-10 | 2002-05-10 | 空気入りタイヤ |
Country Status (5)
| Country | Link |
|---|---|
| US (1) | US7025102B2 (ja) |
| EP (1) | EP1361076B1 (ja) |
| JP (1) | JP4074128B2 (ja) |
| CN (1) | CN1267293C (ja) |
| DE (1) | DE60316863T2 (ja) |
Families Citing this family (29)
| Publication number | Priority date | Publication date | Assignee | Title |
|---|---|---|---|---|
| JP4528007B2 (ja) | 2004-03-23 | 2010-08-18 | 住友ゴム工業株式会社 | 空気入りタイヤ |
| JP4618597B2 (ja) * | 2005-04-13 | 2011-01-26 | 東洋ゴム工業株式会社 | 空気入りタイヤ及びタイヤ成形用金型 |
| JP2009119949A (ja) * | 2007-11-13 | 2009-06-04 | Bridgestone Corp | タイヤ |
| JP5254126B2 (ja) * | 2008-05-16 | 2013-08-07 | 住友ゴム工業株式会社 | 空気入りタイヤ |
| JP4938830B2 (ja) | 2009-07-17 | 2012-05-23 | 住友ゴム工業株式会社 | 空気入りタイヤ |
| JP5550039B2 (ja) | 2009-09-29 | 2014-07-16 | 住友ゴム工業株式会社 | 空気入りタイヤ |
| JP5693013B2 (ja) * | 2010-01-21 | 2015-04-01 | 株式会社ブリヂストン | 空気入りラジアルタイヤ |
| DE102010046018A1 (de) * | 2010-09-22 | 2012-03-22 | Jonny Janus | Fahrzeugreifen für ein mehrspuriges Fahrzeug |
| JP2013067256A (ja) * | 2011-09-22 | 2013-04-18 | Sumitomo Rubber Ind Ltd | 空気入りタイヤ |
| JP5569494B2 (ja) * | 2011-09-28 | 2014-08-13 | 横浜ゴム株式会社 | 空気入りタイヤ |
| JP5438088B2 (ja) * | 2011-12-20 | 2014-03-12 | 住友ゴム工業株式会社 | 重荷重用空気入りタイヤ |
| JP5497805B2 (ja) * | 2012-01-12 | 2014-05-21 | 住友ゴム工業株式会社 | 重荷重用空気入りタイヤ |
| JP5589015B2 (ja) * | 2012-02-27 | 2014-09-10 | 住友ゴム工業株式会社 | 空気入りタイヤ |
| JP5851921B2 (ja) | 2012-04-18 | 2016-02-03 | 株式会社ブリヂストン | 空気入りタイヤ |
| JP5970334B2 (ja) | 2012-10-24 | 2016-08-17 | 株式会社ブリヂストン | 空気入りタイヤ |
| JP6173081B2 (ja) * | 2013-07-16 | 2017-08-02 | 株式会社ブリヂストン | 空気入りタイヤ |
| JP2015030420A (ja) * | 2013-08-06 | 2015-02-16 | 株式会社ブリヂストン | タイヤ |
| EP3164272A1 (en) * | 2014-07-03 | 2017-05-10 | Bridgestone Americas Tire Operations, LLC | Sidewall decoration on rim guard |
| EP3210800B1 (en) * | 2016-02-04 | 2019-04-24 | Sumitomo Rubber Industries, Ltd. | Pneumatic tire |
| DE102017222890A1 (de) * | 2017-12-15 | 2019-06-19 | Continental Reifen Deutschland Gmbh | Fahrzeugluftreifen |
| JP6935365B2 (ja) * | 2018-06-21 | 2021-09-15 | 株式会社ブリヂストン | 建設車両用タイヤ |
| US20210331531A1 (en) * | 2018-10-30 | 2021-10-28 | Compagnie Generate Des Etablissements Michelin | A tire having recesses in bead area |
| JP7170522B2 (ja) * | 2018-12-11 | 2022-11-14 | Toyo Tire株式会社 | 空気入りタイヤ |
| JP7306048B2 (ja) * | 2019-05-14 | 2023-07-11 | 横浜ゴム株式会社 | 空気入りタイヤ |
| JP7415404B2 (ja) * | 2019-09-30 | 2024-01-17 | 住友ゴム工業株式会社 | タイヤ・リム組立体 |
| JP7415405B2 (ja) * | 2019-09-30 | 2024-01-17 | 住友ゴム工業株式会社 | タイヤ・リム組立体 |
| FR3111293A1 (fr) * | 2020-06-10 | 2021-12-17 | Compagnie Generale Des Etablissements Michelin | Pneumatique comprenant au moins un flanc avec une protubérance de protection |
| FR3121632A1 (fr) * | 2021-04-12 | 2022-10-14 | Compagnie Generale Des Etablissements Michelin | Pneumatique avec des performances optimisées en résistance au roulement et en comportement routier sur véhicule |
| FR3121633A1 (fr) * | 2021-04-12 | 2022-10-14 | Compagnie Generale Des Etablissements Michelin | Pneumatique avec des performances optimisées en résistance au roulement et en comportement routier sur véhicule |
Family Cites Families (6)
| Publication number | Priority date | Publication date | Assignee | Title |
|---|---|---|---|---|
| GB1390024A (en) * | 1971-03-16 | 1975-04-09 | Dunlop Holdings Ltd | Wheel and tyre assemblies |
| JPS5591409A (en) * | 1978-12-29 | 1980-07-11 | Bridgestone Corp | Pneumatic tire for use at uneven ground with shear starin on its bead part reduced |
| JPH10244815A (ja) * | 1997-03-06 | 1998-09-14 | Bridgestone Corp | 空気入りタイヤ |
| JP3825893B2 (ja) * | 1997-09-10 | 2006-09-27 | 横浜ゴム株式会社 | 空気入りタイヤ |
| JP3839581B2 (ja) * | 1998-03-24 | 2006-11-01 | 住友ゴム工業株式会社 | 空気入りタイヤ |
| EP0983875A3 (en) * | 1998-08-31 | 2001-10-24 | Sumitomo Rubber Industries Ltd. | Pneumatic tyre |
-
2002
- 2002-05-10 JP JP2002136043A patent/JP4074128B2/ja not_active Expired - Fee Related
-
2003
- 2003-05-02 DE DE60316863T patent/DE60316863T2/de not_active Expired - Lifetime
- 2003-05-02 EP EP03010058A patent/EP1361076B1/en not_active Expired - Lifetime
- 2003-05-06 US US10/429,703 patent/US7025102B2/en not_active Expired - Fee Related
- 2003-05-07 CN CNB031285457A patent/CN1267293C/zh not_active Expired - Fee Related
Also Published As
| Publication number | Publication date |
|---|---|
| US7025102B2 (en) | 2006-04-11 |
| DE60316863T2 (de) | 2008-02-07 |
| DE60316863D1 (de) | 2007-11-29 |
| EP1361076A1 (en) | 2003-11-12 |
| EP1361076B1 (en) | 2007-10-17 |
| CN1456453A (zh) | 2003-11-19 |
| CN1267293C (zh) | 2006-08-02 |
| US20030209302A1 (en) | 2003-11-13 |
| JP2003326921A (ja) | 2003-11-19 |
Similar Documents
| Publication | Publication Date | Title |
|---|---|---|
| JP4074128B2 (ja) | 空気入りタイヤ | |
| JP3943506B2 (ja) | 空気入りタイヤ | |
| CN102649390B (zh) | 充气轮胎 | |
| JP4272244B2 (ja) | 不整地走行用空気入りタイヤ | |
| JP5193166B2 (ja) | 自動二輪車用タイヤ | |
| JP3943359B2 (ja) | 空気入りタイヤ | |
| EP2610075B1 (en) | Two-wheeled automotive vehicle tire | |
| JP2003159912A (ja) | 空気入りタイヤ | |
| JP5894443B2 (ja) | 重荷重用タイヤ | |
| JP4235241B1 (ja) | モトクロス用空気入りタイヤ | |
| JP7119634B2 (ja) | 空気入りタイヤ | |
| US20130206300A1 (en) | Motorcycle tire | |
| JP7095244B2 (ja) | 空気入りタイヤ | |
| JP6502689B2 (ja) | 自動二輪車用空気入りタイヤ | |
| JP3527699B2 (ja) | 空気入りタイヤ | |
| JP2613996B2 (ja) | 空気入りラジアルタイヤ | |
| JP5399535B2 (ja) | 二輪自動車用タイヤ | |
| JP3081828B2 (ja) | 空気入りタイヤ | |
| JP4723310B2 (ja) | 空気入りタイヤ | |
| JP4287877B2 (ja) | 不整地走行用の空気入りタイヤ | |
| US11420478B2 (en) | Tyre | |
| JP4956049B2 (ja) | 自動二輪車用空気入りタイヤ | |
| JP4133210B2 (ja) | 二輪車用タイヤ | |
| JP4436166B2 (ja) | 空気入りタイヤ | |
| JP3064265B2 (ja) | 空気入りタイヤ |
Legal Events
| Date | Code | Title | Description |
|---|---|---|---|
| A621 | Written request for application examination |
Free format text: JAPANESE INTERMEDIATE CODE: A621 Effective date: 20050401 |
|
| A977 | Report on retrieval |
Free format text: JAPANESE INTERMEDIATE CODE: A971007 Effective date: 20070604 |
|
| A131 | Notification of reasons for refusal |
Free format text: JAPANESE INTERMEDIATE CODE: A131 Effective date: 20070612 |
|
| A521 | Written amendment |
Free format text: JAPANESE INTERMEDIATE CODE: A523 Effective date: 20070806 |
|
| TRDD | Decision of grant or rejection written | ||
| A01 | Written decision to grant a patent or to grant a registration (utility model) |
Free format text: JAPANESE INTERMEDIATE CODE: A01 Effective date: 20080115 |
|
| A61 | First payment of annual fees (during grant procedure) |
Free format text: JAPANESE INTERMEDIATE CODE: A61 Effective date: 20080124 |
|
| FPAY | Renewal fee payment (event date is renewal date of database) |
Free format text: PAYMENT UNTIL: 20110201 Year of fee payment: 3 |
|
| R150 | Certificate of patent or registration of utility model |
Free format text: JAPANESE INTERMEDIATE CODE: R150 |
|
| FPAY | Renewal fee payment (event date is renewal date of database) |
Free format text: PAYMENT UNTIL: 20120201 Year of fee payment: 4 |
|
| LAPS | Cancellation because of no payment of annual fees |
