JP3965586B2 - 液滴吐出ヘッド及び画像形成装置 - Google Patents

液滴吐出ヘッド及び画像形成装置 Download PDF

Info

Publication number
JP3965586B2
JP3965586B2 JP2004107852A JP2004107852A JP3965586B2 JP 3965586 B2 JP3965586 B2 JP 3965586B2 JP 2004107852 A JP2004107852 A JP 2004107852A JP 2004107852 A JP2004107852 A JP 2004107852A JP 3965586 B2 JP3965586 B2 JP 3965586B2
Authority
JP
Japan
Prior art keywords
electrolysis
electrode
nozzle
wall surface
ink
Prior art date
Legal status (The legal status is an assumption and is not a legal conclusion. Google has not performed a legal analysis and makes no representation as to the accuracy of the status listed.)
Expired - Fee Related
Application number
JP2004107852A
Other languages
English (en)
Other versions
JP2005288915A (ja
Inventor
努 草苅
Current Assignee (The listed assignees may be inaccurate. Google has not performed a legal analysis and makes no representation or warranty as to the accuracy of the list.)
Fujifilm Corp
Original Assignee
Fujifilm Corp
Priority date (The priority date is an assumption and is not a legal conclusion. Google has not performed a legal analysis and makes no representation as to the accuracy of the date listed.)
Filing date
Publication date
Application filed by Fujifilm Corp filed Critical Fujifilm Corp
Priority to JP2004107852A priority Critical patent/JP3965586B2/ja
Priority to US11/093,304 priority patent/US7328982B2/en
Publication of JP2005288915A publication Critical patent/JP2005288915A/ja
Application granted granted Critical
Publication of JP3965586B2 publication Critical patent/JP3965586B2/ja
Anticipated expiration legal-status Critical
Expired - Fee Related legal-status Critical Current

Links

Images

Classifications

    • BPERFORMING OPERATIONS; TRANSPORTING
    • B41PRINTING; LINING MACHINES; TYPEWRITERS; STAMPS
    • B41JTYPEWRITERS; SELECTIVE PRINTING MECHANISMS, i.e. MECHANISMS PRINTING OTHERWISE THAN FROM A FORME; CORRECTION OF TYPOGRAPHICAL ERRORS
    • B41J2/00Typewriters or selective printing mechanisms characterised by the printing or marking process for which they are designed
    • B41J2/005Typewriters or selective printing mechanisms characterised by the printing or marking process for which they are designed characterised by bringing liquid or particles selectively into contact with a printing material
    • B41J2/01Ink jet
    • B41J2/135Nozzles
    • B41J2/14Structure thereof only for on-demand ink jet heads
    • B41J2/1433Structure of nozzle plates
    • BPERFORMING OPERATIONS; TRANSPORTING
    • B41PRINTING; LINING MACHINES; TYPEWRITERS; STAMPS
    • B41JTYPEWRITERS; SELECTIVE PRINTING MECHANISMS, i.e. MECHANISMS PRINTING OTHERWISE THAN FROM A FORME; CORRECTION OF TYPOGRAPHICAL ERRORS
    • B41J2/00Typewriters or selective printing mechanisms characterised by the printing or marking process for which they are designed
    • B41J2/005Typewriters or selective printing mechanisms characterised by the printing or marking process for which they are designed characterised by bringing liquid or particles selectively into contact with a printing material
    • B41J2/01Ink jet
    • B41J2/07Ink jet characterised by jet control
    • B41J2/075Ink jet characterised by jet control for many-valued deflection
    • B41J2/095Ink jet characterised by jet control for many-valued deflection electric field-control type
    • BPERFORMING OPERATIONS; TRANSPORTING
    • B41PRINTING; LINING MACHINES; TYPEWRITERS; STAMPS
    • B41JTYPEWRITERS; SELECTIVE PRINTING MECHANISMS, i.e. MECHANISMS PRINTING OTHERWISE THAN FROM A FORME; CORRECTION OF TYPOGRAPHICAL ERRORS
    • B41J2/00Typewriters or selective printing mechanisms characterised by the printing or marking process for which they are designed
    • B41J2/005Typewriters or selective printing mechanisms characterised by the printing or marking process for which they are designed characterised by bringing liquid or particles selectively into contact with a printing material
    • B41J2/01Ink jet
    • B41J2/135Nozzles
    • B41J2/14Structure thereof only for on-demand ink jet heads
    • BPERFORMING OPERATIONS; TRANSPORTING
    • B41PRINTING; LINING MACHINES; TYPEWRITERS; STAMPS
    • B41JTYPEWRITERS; SELECTIVE PRINTING MECHANISMS, i.e. MECHANISMS PRINTING OTHERWISE THAN FROM A FORME; CORRECTION OF TYPOGRAPHICAL ERRORS
    • B41J2/00Typewriters or selective printing mechanisms characterised by the printing or marking process for which they are designed
    • B41J2/005Typewriters or selective printing mechanisms characterised by the printing or marking process for which they are designed characterised by bringing liquid or particles selectively into contact with a printing material
    • B41J2/01Ink jet
    • B41J2/135Nozzles
    • B41J2/14Structure thereof only for on-demand ink jet heads
    • B41J2/14201Structure of print heads with piezoelectric elements
    • B41J2/14233Structure of print heads with piezoelectric elements of film type, deformed by bending and disposed on a diaphragm
    • BPERFORMING OPERATIONS; TRANSPORTING
    • B41PRINTING; LINING MACHINES; TYPEWRITERS; STAMPS
    • B41JTYPEWRITERS; SELECTIVE PRINTING MECHANISMS, i.e. MECHANISMS PRINTING OTHERWISE THAN FROM A FORME; CORRECTION OF TYPOGRAPHICAL ERRORS
    • B41J2/00Typewriters or selective printing mechanisms characterised by the printing or marking process for which they are designed
    • B41J2/005Typewriters or selective printing mechanisms characterised by the printing or marking process for which they are designed characterised by bringing liquid or particles selectively into contact with a printing material
    • B41J2/01Ink jet
    • B41J2/135Nozzles
    • B41J2/14Structure thereof only for on-demand ink jet heads
    • B41J2002/14459Matrix arrangement of the pressure chambers
    • BPERFORMING OPERATIONS; TRANSPORTING
    • B41PRINTING; LINING MACHINES; TYPEWRITERS; STAMPS
    • B41JTYPEWRITERS; SELECTIVE PRINTING MECHANISMS, i.e. MECHANISMS PRINTING OTHERWISE THAN FROM A FORME; CORRECTION OF TYPOGRAPHICAL ERRORS
    • B41J2202/00Embodiments of or processes related to ink-jet or thermal heads
    • B41J2202/01Embodiments of or processes related to ink-jet heads
    • B41J2202/16Nozzle heaters
    • BPERFORMING OPERATIONS; TRANSPORTING
    • B41PRINTING; LINING MACHINES; TYPEWRITERS; STAMPS
    • B41JTYPEWRITERS; SELECTIVE PRINTING MECHANISMS, i.e. MECHANISMS PRINTING OTHERWISE THAN FROM A FORME; CORRECTION OF TYPOGRAPHICAL ERRORS
    • B41J2202/00Embodiments of or processes related to ink-jet or thermal heads
    • B41J2202/01Embodiments of or processes related to ink-jet heads
    • B41J2202/20Modules
    • BPERFORMING OPERATIONS; TRANSPORTING
    • B41PRINTING; LINING MACHINES; TYPEWRITERS; STAMPS
    • B41JTYPEWRITERS; SELECTIVE PRINTING MECHANISMS, i.e. MECHANISMS PRINTING OTHERWISE THAN FROM A FORME; CORRECTION OF TYPOGRAPHICAL ERRORS
    • B41J2202/00Embodiments of or processes related to ink-jet or thermal heads
    • B41J2202/01Embodiments of or processes related to ink-jet heads
    • B41J2202/21Line printing

Landscapes

  • Particle Formation And Scattering Control In Inkjet Printers (AREA)

Description

本発明は液滴吐出ヘッド及び画像形成装置に係り、特に圧電素子や発熱素子に代表される吐出エネルギー発生手段(すなわち、圧力発生手段)によって液を加圧してノズルから液滴を吐出させる液滴吐出ヘッドの構造及びその液滴吐出ヘッドを用いたインクジェット記録装置その他の画像形成装置に関する。
従来、電解液を含んだインクが満たされる電気分解室(圧力室)内に一対の電極を配置し、記録すべき情報に応じて電極対に電圧を印加することでインクを電気分解して、その時発生する気体の体積増加によりノズルからインクを吐出させるインクジェット記録装置が提案されている(特許文献1)。
また、特許文献2には、回転ドラム表面にノズルを形成した構造を有するインクジェット記録装置が開示されており、電極間の電解液を電気分解することによって生じた気体の圧力と回転ドラムの遠心力とによってノズルからインクを吐出する構成が提案されている。
更に、特許文献3には、エネルギー発生手段であるヒータを備えた各液流路に記録液を供給するための共通液室内に電気分解用電極を配置し、電気分解によって共通液室内に気泡を発生させることにより、共通液室内の圧力変動を抑制して、各液流路間のリフィル時間のばらつきを低減するインクジェット記録ヘッド及びその記録方法が開示されている。
特開平3−104650号公報 特開平5−286135号公報 特開平7−47676号公報
一般に、揮発性インク(水系インクも含まれる)や外気に触れて変質するインクを用いるインクジェットシステムにおいては、通常の吐出動作や停止時(非印字時)に、ノズルのインクメニスカス面からインク溶媒が蒸発し、或いはインクが変質して、インク粘度などの特性が変化することで吐出不良を起こし易いという問題がある。
この点、上記特許文献1〜3には、吐出不良に対する対応について何も開示されていない。
本発明はこのような事情に鑑みてなされたもので、増粘液の吐出を可能にして吐出不良の発生を防止することができる液滴吐出ヘッド及びこれを用いた画像形成装置を提供することを目的とする。
前記目的を達成するために、請求項1記載の発明に係る液滴吐出ヘッドは、電解液を含む液体が満たされる液室流路と、前記液室流路から分岐された供給流路と、前記供給流路に連通し、該供給流路を介して前記液室流路から供給される前記液体が充填される圧力室と、前記圧力室に対応して設けられ、前記圧力室内の液体を加圧する圧力発生手段と、前記圧力室に連通する液滴吐出用のノズルと、前記ノズルの内壁面に設けられ、当該内壁面に前記圧力発生手段の駆動によって前記液体が該ノズル内を流れるときの前記内壁面との間の摩擦抵抗を低下させる微小気泡を発生させる電気分解用電極と、を備えたことを特徴とする。
本発明によれば、電気分解によってノズル内壁面に微小気泡を発生させることで、ノズル内壁と液体との間の摩擦抵抗が低下し、液が吐出され易くなる。これにより、高粘度液の吐出が可能となり、吐出不良の予防及び吐出不良発生時の回復が可能となる。
請求項2記載の発明は、請求項1記載の液滴吐出ヘッドの一態様に係り、前記ノズルの内壁面に形成された電気分解用電極と対を成す他方の電気分解用電極は、前記供給流路の内壁面又は前記圧力室の内壁面に設けられていることを特徴とする。
ノズル内壁面に形成した電気分解用電極(第1の電極)と対を成す異極の電極(第2の電極)の設置場所については、ヘッド内流路において液体と接触する面であることを条件に、多様な設計が可能であるが、請求項2に示したように、供給流路の内壁面又は圧力室の内壁面に設けることが好ましい。第1の電極及び第2の電極間に電圧を印加することにより、液体が電気分解され、電極面に気泡が発生する。かかる気泡生成と並行して、圧力発生手段を駆動して吐出動作を行う。なお、第2の電極を圧力室内に設ける場合には、圧力発生手段による吐出力に影響し難い位置、すなわち、ノズルからなるべく遠い位置(例えば、圧力室の中心線よりもノズルから遠い側の位置)に設置することがより好ましい。
請求項3記載の発明は、請求項1又は2記載の液滴吐出ヘッドの一態様に係り、前記ノズルの内壁面に形成された電気分解用電極は、当該ノズルの周方向に沿って複数の電極部に分割され、各電極部に選択的に電圧を印加し得る構成であることを特徴とする。
かかる態様によれば、分割電極部の配置形態及び電圧印加する電極部の選択により、ノズルの周方向について所望の気泡の発生分布を得ることができ、気泡発生分布に応じた流速分布により、液滴の飛翔方向を制御することができる。
請求項4記載の発明は、請求項1、2又は3記載の液滴吐出ヘッドを有する液滴吐出装置を提供するものであり、該液滴吐出装置は、請求項1、2又は3記載の液滴吐出ヘッドと、前記圧力発生手段の駆動を制御する吐出制御手段と、前記電気分解用電極に印加する電圧信号を発生させる電気分解用信号発生手段と、を備えたことを特徴とする。
電気分解用電極への電圧印加及び吐出動作は連携して制御されることが好ましい。通常の吐出動作中に(常に)ノズル内壁に気泡を発生させる態様、或いは、吐出動作中必要に応じて気泡を発生させる場合と発生させない場合とを切り換える態様、回復動作時(予備吐出時)に気泡生成を行う態様、吐出検出手段によって吐出不良が検知された時に気泡発生を行って予備吐出を行う態様など、様々な制御形態があり得る。
なお、ノズル内壁に気泡を発生させた状態で吐出を行う場合と、気泡を発生させずに吐出を行う場合とを選択できる構成の場合、気泡生成の有無によって見かけ上、ノズルの口径が変化するので、気泡生成の有無によって吐出量がばらつかないように、圧力発生手段の駆動を制御し、吐出量を一定に保つ(吐出量の変動を所定範囲内に保つ)ことが好ましい。
また、電気分解用印加電圧の発生源として、圧力発生手段(アクチュエータやヒータ等)の駆動用電源を兼用してもよい。
請求項5記載の発明は、請求項4記載の液滴吐出装置の一態様に係り、前記電気分解用信号発生手段は、前記ノズルの内壁面に発生させる気泡の直径が10μm以下となる電圧信号を発生することを特徴とする。
直径10μm以下の発生気泡は、遅くとも数秒〜数十秒の間に溶解して消滅するため、吐出動作に悪影響を及ぼさない。また、気泡消滅時間の待ちによる吐出サイクルの低下も少なく、生産性を確保できる。
請求項6記載の発明は、請求項1、2又は3記載の液滴吐出ヘッドの一態様に係り、前記供給流路の絞り部の内壁面に設けられ、当該絞り部の内壁に前記圧力発生手段の駆動による吐出動作時における前記圧力室内の液体の前記供給流路側への液流を阻害する大きさの気泡を発生させる電気分解用電極を備えたことを特徴とする。
請求項6に係る発明によれば、液室流路と圧力室とを繋ぐ供給流路の絞り部(最小断面積部分)の内壁に電気分解により比較的大きな気泡を発生させることで、吐出動作時の供給流路側への液移動(逆流)を気泡と液体の界面における表面張力によって抑える。これにより、吐出方向への流れを多くすることができ、吐出力の向上を図ることができる。すなわち、高粘度液の吐出が可能となり、吐出不良の予防及び吐出不良発生時の回復が可能となる。
かかる態様によれば、ノズル内壁面に微小気泡を発生させてノズル内壁と液体との間の摩擦抵抗を低下させる構成と、供給流路側の逆流阻害機能とが相まって、より一層の吐出効率向上を達成できる。
請求項7記載の発明は、請求項6記載の液滴吐出ヘッドの一態様に係り、前記供給流路の絞り部の内壁面に形成された電気分解用電極と対を成す他方の電気分解用電極は、前記供給流路における他の部分の内壁面又は前記圧力室の内壁面に設けられていることを特徴とする。
供給流路の絞り部の内壁面に形成された電気分解用電極と対を成す異極の電極の設置場所については、多様な設計が可能であるが、請求項7に示したように、供給流路における他の部分の内壁面又は前記圧力室の内壁面に設けられていることが好ましい。
請求項8記載の発明は、請求項6又は7記載の液滴吐出ヘッドの一態様に係り、1つの圧力室に対して複数の供給流路が形成され、これら複数の供給流路のうち少なくとも1つの供給流路の内壁面に前記液流を阻害する気泡を発生させるための電気分解用電極が設けられていることを特徴とする。
複数の供給流路について選択的に逆流阻害気泡を発生させることにより、吐出時の液体の逆流量をコントロールすることができる。
請求項記載の発明は、請求項6乃至の何れか1項記載の液滴吐出ヘッドを有する液滴吐出装置を提供するものであり、前記圧力発生手段の駆動を制御する吐出制御手段と、前記電気分解用電極に印加する電圧信号を発生させる電気分解用信号発生手段と、を備えたことを特徴とする。
圧力発生手段を駆動して吐出動作を行うときに、当該圧力室の供給流路に逆流阻害用の気泡を発生させることにより、吐出力の向上を図ることができる。
請求項10記載の発明は、請求項記載の液滴吐出装置の一態様に係り、前記電気分解用信号発生手段は、前記供給流路の絞り部を閉塞する気泡を発生させる電圧信号を発生することを特徴とする。
電気分解によって発生する気泡によって供給流路の絞り部を完全に封止することにより、液室流路側への逆流を確実に防止することができ、吐出圧力を確保できる。
請求項11記載の発明は、請求項6乃至8の何れか1項に記載の液滴吐出ヘッドを有する液滴吐出装置を提供するものであり、請求項6乃至8の何れか1項に記載の液滴吐出ヘッドと、前記圧力発生手段の駆動を制御する吐出制御手段と、前記電気分解用電極に印加する電圧信号を発生させる電気分解用信号発生手段と、前記ノズルの内壁面に形成された電気分解用電極に印加する第1の電圧信号及び前記供給流路の絞り部の内壁面に形成された電気分解用電極に印加する第2の電圧信号を発生させる電気分解用信号発生手段と、前記電気分解用信号発生手段で発生される前記第1の電圧信号又は前記第2の電圧信号を選択的に、それぞれ対応する電気分解用電極に印加させる切換手段と、を備えたことを特徴とする。
ノズル内壁面及び供給流路の絞り部の内壁面に電気分解用電極を設置した構成の場合、ノズル内壁面の気泡生成に適した第1の電圧信号と、供給流路の絞り部における気泡生成に適した第2の電圧信号とを発生し得る電気分解用信号発生手段を用い、切換手段によって各電極への電圧の印加を選択的に行う態様が好ましい。
請求項12記載の発明は、請求項4又は5記載の液滴吐出装置の一態様に係り、前記吐出制御手段は、前記微小気泡の生成に応じて、前記ノズルからの吐出量を一定にするように吐出駆動を制御することを特徴とする。
請求項13記載の発明は、前記目的を達成する画像形成装置を提供する。すなわち、請求項13に係る画像形成装置は、請求項4、5、乃至12の何れか1項記載の液滴吐出装置を有し、前記ノズルから吐出した液滴によって記録媒体上に画像を形成することを特徴とする。
例えば、当該画像形成装置に適用される液滴吐出ヘッドは、画像データに基づいて圧力発生手段(アクチュエータや加熱発泡用のヒータなど)を制御することで液滴吐出口(ノズル)から液滴を吐出させて所望のドット配置を実現する。
液滴吐出ヘッドの構成例として、記録媒体の全幅に対応する長さにわたってインク吐出用の複数のノズルを配列させたノズル列を有するフルライン型のインクジェットヘッドを用いることができる。
この場合、記録媒体の全幅に対応する長さに満たないノズル列を有する比較的短尺の吐出ヘッドブロックを複数個組み合わせ、これらを繋ぎ合わせることで全体として記録媒体の全幅に対応するノズル列を構成する態様がある。
フルライン型のインクジェットヘッドは、通常、記録媒体の相対的な送り方向(相対的搬送方向)と直交する方向に沿って配置されるが、搬送方向と直交する方向に対して、ある所定の角度を持たせた斜め方向に沿ってインクジェットヘッドを配置する態様もあり得る。
「記録媒体」は、液滴吐出ヘッドの作用によって画像の記録を受ける媒体(被吐出媒体、印字媒体、被画像形成媒体、被記録媒体、受像媒体など呼ばれ得るもの)であり、連続用紙、カット紙、シール用紙、OHPシート等の樹脂シート、フイルム、布、配線パターン等が形成されるプリント基板、中間転写媒体、その他材質や形状を問わず、様々な媒体を含む。
記録媒体と液滴吐出ヘッドを相対的に移動させる搬送手段は、停止した(固定された)液滴吐出ヘッドに対して記録媒体を搬送する態様、停止した記録媒体に対して液滴吐出ヘッドを移動させる態様、或いは、液滴吐出ヘッドと記録媒体の両方を移動させる態様の何れをも含む。
本発明によれば、ノズル内壁面に電気分解用電極を形成し、電気分解によってノズル内壁に気泡を発生させる構成にしたので、ノズル内壁と液体との間の摩擦抵抗が低下し、液が吐出され易くなる。これにより、高粘度液の吐出が可能となり、吐出不良の予防及び吐出不良発生時の回復が可能となる。
また、本発明の他の態様によれば、液室流路と圧力室とを繋ぐ供給流路の絞り部の内壁面に電気分解用電極を形成し、電気分解によって当該供給流路の絞り部に液室流路側への液の逆流を阻害する気泡を発生させるようにしたので、吐出時の液室流路側への圧力損失が低減され、吐出圧力を確保することができる。これにより、高粘度液の吐出が可能となり、吐出不良の予防及び吐出不良発生時の回復が可能となる。
以下添付図面に従って本発明の好ましい実施の形態について詳説する。
〔インクジェット記録装置の全体構成〕
図1は本発明の実施形態に係る画像処理装置を用いたインクジェット記録装置の全体構成図である。同図に示したように、このインクジェット記録装置10は、黒(K),シアン(C),マゼンタ(M),イエロー(Y)の各インクに対応して設けられた複数のインクジェットヘッド(以下、ヘッドという。)12K,12C,12M,12Yを有する印字部12と、各ヘッド12K,12C,12M,12Yに供給するインクを貯蔵しておくインク貯蔵/装填部14と、記録媒体たる記録紙16を供給する給紙部18と、記録紙16のカールを除去するデカール処理部20と、前記印字部12のノズル面(インク吐出面)に対向して配置され、記録紙16の平面性を保持しながら記録紙16を搬送する吸着ベルト搬送部22と、印字部12による印字結果を読み取る印字検出部24と、印画済みの記録紙(プリント物)を外部に排紙する排紙部26と、を備えている。
インク貯蔵/装填部14は、各ヘッド12K,12C,12M,12Yに対応する色のインクを貯蔵するインクタンクを有し、各タンクは所要の管路を介してヘッド12K,12C,12M,12Yと連通されている。また、インク貯蔵/装填部14は、インク残量が少なくなるとその旨を報知する報知手段(表示手段、警告音発生手段)を備えるとともに、色間の誤装填を防止するための機構を有している。本例では、電解液としての水を含んだ溶媒に色材を含ませた水溶性インクが用いられており、このインク液を電気分解することによってマイナス極に水素、プラス極に酸素を発生させるものとする。
図1では、給紙部18の一例としてロール紙(連続用紙)のマガジンが示されているが、紙幅や紙質等が異なる複数のマガジンを併設してもよい。また、ロール紙のマガジンに代えて、又はこれと併用して、カット紙が積層装填されたカセットによって用紙を供給してもよい。
複数種類の記録紙を利用可能な構成にした場合、紙の種類情報を記録したバーコード或いは無線タグなどの情報記録体をマガジンに取り付け、その情報記録体の情報を所定の読取装置によって読み取ることで、使用される記録媒体の種類(メディア種)を自動的に判別し、メディア種に応じて適切なインク吐出を実現するようにインク吐出制御を行うことが好ましい。
給紙部18から送り出される記録紙16はマガジンに装填されていたことによる巻きクセが残り、カールする。このカールを除去するために、デカール処理部20においてマガジンの巻きクセ方向と逆方向に加熱ドラム30で記録紙16に熱を与える。このとき、多少印字面が外側に弱いカールとなるように加熱温度を制御するとより好ましい。
ロール紙を使用する装置構成の場合、図1のように、裁断用のカッター(第1のカッター)28が設けられており、該カッター28によってロール紙は所望のサイズにカットされる。カッター28は、記録紙16の搬送路幅以上の長さを有する固定刃28Aと、該固定刃28Aに沿って移動する丸刃28Bとから構成されており、印字裏面側に固定刃28Aが設けられ、搬送路を挟んで印字面側に丸刃28Bが配置される。なお、カット紙を使用する場合には、カッター28は不要である。
デカール処理後、カットされた記録紙16は、吸着ベルト搬送部22へと送られる。吸着ベルト搬送部22は、ローラ31、32間に無端状のベルト33が巻き掛けられた構造を有し、少なくとも印字部12のノズル面及び印字検出部24のセンサ面に対向する部分が水平面(フラット面)をなすように構成されている。
ベルト33は、記録紙16の幅よりも広い幅寸法を有しており、ベルト面には多数の吸引穴(不図示)が形成されている。図1に示したとおり、ローラ31、32間に掛け渡されたベルト33の内側において印字部12のノズル面及び印字検出部24のセンサ面に対向する位置には吸着チャンバ34が設けられており、この吸着チャンバ34をファン35で吸引して負圧にすることによって記録紙16がベルト33上に吸着保持される。
ベルト33が巻かれているローラ31、32の少なくとも一方にモータ(図7中符号88)の動力が伝達されることにより、ベルト33は図1上の時計回り方向に駆動され、ベルト33上に保持された記録紙16は図1の左から右へと搬送される。
縁無しプリント等を印字するとベルト33上にもインクが付着するので、ベルト33の外側の所定位置(印字領域以外の適当な位置)にベルト清掃部36が設けられている。ベルト清掃部36の構成について詳細は図示しないが、例えば、ブラシ・ロール、吸水ロール等をニップする方式、清浄エアーを吹き掛けるエアーブロー方式、或いはこれらの組み合わせなどがある。清掃用ロールをニップする方式の場合、ベルト線速度とローラ線速度を変えると清掃効果が大きい。
なお、吸着ベルト搬送部22に代えて、ローラ・ニップ搬送機構を用いる態様も考えられるが、印字領域をローラ・ニップ搬送すると、印字直後に用紙の印字面をローラが接触するので画像が滲み易いという問題がある。したがって、本例のように、印字領域では画像面を接触させない吸着ベルト搬送が好ましい。
吸着ベルト搬送部22により形成される用紙搬送路上において印字部12の上流側には、加熱ファン40が設けられている。加熱ファン40は、印字前の記録紙16に加熱空気を吹き付け、記録紙16を加熱する。印字直前に記録紙16を加熱しておくことにより、インクが着弾後乾き易くなる。
印字部12の各ヘッド12K,12C,12M,12Yは、当該インクジェット記録装置10が対象とする記録紙16の最大紙幅に対応する長さを有し、そのノズル面には最大サイズの記録媒体の少なくとも一辺を超える長さ(描画可能範囲の全幅)にわたりインク吐出用のノズルが複数配列されたフルライン型のヘッドとなっている(図2参照)。
ヘッド12K,12C,12M,12Yは、記録紙16の送り方向に沿って上流側から黒(K)、シアン(C)、マゼンタ(M)、イエロー(Y)の色順に配置され、それぞれのヘッド12K,12C,12M,12Yが記録紙16の搬送方向と略直交する方向に沿って延在するように固定設置される。
吸着ベルト搬送部22により記録紙16を搬送しつつ各ヘッド12K,12C,12M,12Yからそれぞれ異色のインクを吐出することにより記録紙16上にカラー画像を形成し得る。
このように、紙幅の全域をカバーするノズル列を有するフルライン型のヘッド12K,12C,12M,12Yを色別に設ける構成によれば、紙送り方向(副走査方向)について記録紙16と印字部12を相対的に移動させる動作を1回行うだけで(すなわち1回の副走査で)、記録紙16の全面に画像を記録することができる。これにより、記録ヘッドが紙搬送方向と直交する方向に往復動作するシャトル型ヘッドに比べて高速印字が可能であり、生産性を向上させることができる。
本例では、KCMYの標準色(4色)の構成を例示したが、インク色や色数の組み合わせについては本実施形態に限定されず、必要に応じて淡インク、濃インク、特別色インクを追加してもよい。例えば、ライトシアン、ライトマゼンタなどのライト系インクを吐出するインクジェットヘッドを追加する構成も可能である。また、各色ヘッドの配置順序も特に限定はない。
図1に示した印字検出部24は、印字部12の打滴結果を撮像するためのイメージセンサを含み、該イメージセンサによって読み取った打滴画像からノズルの目詰まりその他の吐出不良をチェックする手段として機能する。
本例の印字検出部24は、少なくとも各ヘッド12K,12C,12M,12Yによるインク吐出幅(画像記録幅)よりも幅の広い受光素子列を有するラインセンサで構成される。このラインセンサは、赤(R)の色フィルタが設けられた光電変換素子(画素)がライン状に配列されたRセンサ列と、緑(G)の色フィルタが設けられたGセンサ列と、青(B)の色フィルタが設けられたBセンサ列と、からなる色分解ラインCCDセンサで構成されている。なお、ラインセンサに代えて、受光素子が2次元配列されて成るエリアセンサを用いることも可能である。
各色のヘッド12K,12C,12M,12Yにより印字されたテストパターン又は実技画像が印字検出部24により読み取られ、各ヘッドの吐出判定が行われる。吐出判定は、吐出の有無、ドットサイズの測定、ドット着弾位置の測定などで構成される。
印字検出部24の後段には後乾燥部42が設けられている。後乾燥部42は、印字された画像面を乾燥させる手段であり、例えば、加熱ファンが用いられる。印字後のインクが乾燥するまでは印字面と接触することは避けたほうが好ましいので、熱風を吹き付ける方式が好ましい。
多孔質のペーパーに染料系インクで印字した場合などでは、加圧によりペーパーの孔を塞ぐことでオゾンなど、染料分子を壊す原因となるものと接触することを防ぐことで画像の耐候性がアップする効果がある。
後乾燥部42の後段には、加熱・加圧部44が設けられている。加熱・加圧部44は、画像表面の光沢度を制御するための手段であり、画像面を加熱しながら所定の表面凹凸形状を有する加圧ローラ45で加圧し、画像面に凹凸形状を転写する。
こうして生成されたプリント物は排紙部26から排出される。本来プリントすべき本画像(目的の画像を印刷したもの)とテスト印字とは分けて排出することが好ましい。このインクジェット記録装置10では、本画像のプリント物と、テスト印字のプリント物とを選別してそれぞれの排出部26A、26Bへと送るために排紙経路を切り換える不図示の選別手段が設けられている。
なお、大きめの用紙に本画像とテスト印字とを同時に並列に形成する場合は、カッター(第2のカッター)48によってテスト印字の部分を切り離す。カッター48は、排紙部26の直前に設けられており、画像余白部にテスト印字を行った場合に本画像とテスト印字部を切断するためのものである。カッター48の構造は前述した第1のカッター28と同様であり、固定刃48Aと丸刃48Bとから構成される。
また、図1には示さないが、本画像の排出部26Aには、オーダー別に画像を集積するソーターが設けられる。
〔ヘッドの構造〕
次に、ヘッドの構造について説明する。色別の各ヘッド12K,12C,12M,12Yの構造は共通しているので、以下、これらを代表して符号50によってヘッドを示すものとする。
図3(a) はヘッド50の構造例を示す平面透視図であり、図3(b) はその一部の拡大図である。また、図3(c) はヘッド50の他の構造例を示す平面透視図、図4は1つの液滴吐出素子(1つのノズル51に対応したインク室ユニット)の立体的構成を示す断面図(図3(a) 中の4−4線に沿う断面図)である。
記録紙16上に印字されるドットピッチを高密度化するためには、ヘッド50におけるノズルピッチを高密度化する必要がある。本例のヘッド50は、図3(a),(b) に示したように、インク滴の吐出口であるノズル51と、各ノズル51に対応する圧力室52等からなる複数のインク室ユニット(液滴吐出素子)53を千鳥でマトリクス状に(2次元的に)配置させた構造を有し、これにより、ヘッド長手方向(紙送り方向と直交する方向)に沿って並ぶように投影される実質的なノズル間隔(投影ノズルピッチ)の高密度化を達成している。
記録紙16の送り方向と略直交する方向に記録紙16の全幅に対応する長さにわたり1列以上のノズル列を構成する形態は本例に限定されない。例えば、図3(a) の構成に代えて、図3(c) に示すように、複数のノズル51が2次元に配列された短尺のヘッドブロック50’を千鳥状に配列して繋ぎ合わせることで記録紙16の全幅に対応する長さのノズル列を有するラインヘッドを構成してもよい。
各ノズル51に対応して設けられている圧力室52は、その平面形状が概略正方形となっており(図3(a),(b) 参照)、対角線上の両隅部にノズル51への流出口と供給インクの流入口(供給口)54が設けられている。
図4に示したように、各圧力室52はノズル連通路512を介して最終吐出口たるノズル51と連通している。つまり、ここで言うノズル51とは、液が吐出する最後の絞り部分となる吐出口管部を意味している。ノズル径に関して好ましくは、直径約数十μm(例えば30μm)、長さ数十μmに設計される。
また、各圧力室52は、共通流路55(液室流路に相当)から分岐した個別の供給流路542を介して共通流路55と連通されている。共通流路55はインク供給源たるインクタンク(図4中不図示、図6中符号60として記載)と連通しており、インクタンク60から供給されるインクは図4の共通流路55を介して各圧力室52に分配供給される。
圧力室52の天面を構成している加圧板(共通電極と兼用される振動板)56には個別電極57を備えたアクチュエータ58が接合されている。個別電極57に駆動電圧を印加することによってアクチュエータ58が変形して圧力室52の容積が変化し、これに伴う圧力変化によりノズル51からインク液滴59が吐出される。なお、アクチュエータ58には、ピエゾ素子などの圧電体が好適に用いられる。インク吐出後、共通流路55から供給口54を通って新しいインクが圧力室52に供給される。
図示の如く、本例のヘッド50は、ノズル51の内壁面に第1の電気分解用電極(以下「第1電極」という。)514が形成されるとともに、供給流路542の内壁面に第2の電気分解用電極(以下「第2電極」という。)544が形成されている。また、供給流路542の絞り部(流路断面積が最小となる部分、図4の例では符号54で示した供給口の付近)の内壁面には第3の電気分解用電極(以下「第3電極」という。)546が形成されている。各電極(514,544,546)は耐インク処理された処理層を持つことが好ましい。
第1電極514と第2電極544とによって1対の電極対(以下「第1電極対」という。)が構成され、第3電極546と第2電極544とによって1対の電極対(以下「第2電極対」という。)が構成される。すなわち、第2電極544は可変出力型電源部565(図4において電池のシンボルマークで図示)の正極と接続され、第1電極514及び第3電極546は選択スイッチ567を介して可変出力型電源部565の負極と接続される。
選択スイッチ567の接続先を制御することにより、第1電極514を含む第1電極対、又は第3電極546を含む第2電極対に選択的に電圧を印加することができる。
例えば、第1電極対の電極間に電圧を印加すると、流路内のインクが電気分解され、第1電極514面(すなわち、ノズル51内壁面)に水素の気泡582が発生する。このとき、第2電極544面には酸素の気泡が発生し得るが、水素の発生気泡量と比べると酸素の発生量は少ない(理論上は半分)。
また、選択スイッチ567を切り換えて、第2電極対の電極間に電圧を印加した場合は、第3電極546面(すなわち、供給流路542の内壁面)に水素の気泡(図4中不図示)が発生する。詳細は後述するが、印加電圧を制御することによって発生気泡径、気泡量、気泡消滅時間等を制御することができる。
図4の如き構造を有するヘッド50は、ステンレス鋼板(SUS板)やシリコン等の薄い板材にエッチングやプレス加工、マイクロマシーニング技術等で穴や溝を形成したプレート部材を複数枚積層接合して製作することができる。また、図4では、第1電極514をノズル51の内壁部に埋設した例を示したが、本発明の実施に際しては、ノズル51が穿設されるノズル板を金属等の電導性材料で構成し、当該ノズル板を第1電極514として兼用することも可能である。
図4で説明した構造を有するインク室ユニット53を図5に示す如く主走査方向に沿う行方向及び主走査方向に対して直交しない一定の角度θを有する斜めの列方向とに沿って一定の配列パターンで格子状に多数配列させることにより、本例の高密度ノズルヘッドが実現されている。
すなわち、主走査方向に対してある角度θの方向に沿ってインク室ユニット53を一定のピッチdで複数配列する構造により、主走査方向に並ぶように投影されたノズルのピッチPはd× cosθとなり、主走査方向については、各ノズル51が一定のピッチPで直線状に配列されたものと等価的に取り扱うことができる。このような構成により、主走査方向に並ぶように投影されるノズル列が1インチ当たり2400個(2400ノズル/インチ)におよぶ高密度のノズル構成を実現することが可能になる。
なお、印字可能幅の全幅に対応した長さのノズル列を有するフルラインヘッドで、ノズルを駆動する時には、(1)全ノズルを同時に駆動する、(2)ノズルを片方から他方に向かって順次駆動する、(3)ノズルをブロックに分割して、ブロックごとに片方から他方に向かって順次駆動する等が行われ、用紙の幅方向(用紙の搬送方向と直交する方向)に1ライン(1列のドットによるライン又は複数列のドットから成るライン)を印字するようなノズルの駆動を主走査と定義する。
特に、図5に示すようなマトリクス状に配置されたノズル51を駆動する場合は、上記(3)のような主走査が好ましい。すなわち、ノズル51-11 、51-12 、51-13 、51-14 、51-15 、51-16 を1つのブロックとし(他にはノズル51-21 、…、51-26 を1つのブロック、ノズル51-31 、…、51-36 を1つのブロック、…として)、記録紙16の搬送速度に応じてノズル51-11 、51-12 、…、51-16 を順次駆動することで記録紙16の幅方向に1ラインを印字する。
一方、上述したフルラインヘッドと用紙とを相対移動することによって、上述した主走査で形成された1ライン(1列のドットによるライン又は複数列のドットから成るライン)の印字を繰り返し行うことを副走査と定義する。
本発明の実施に際してノズルの配置構造は図示の例に限定されない。また、本実施形態では、ピエゾ素子(圧電素子)に代表されるアクチュエータ58の変形によってインク滴を飛ばす方式が採用されているが、本発明の実施に際して、インクを吐出させる方式は特に限定されず、ピエゾジェット方式に代えて、ヒータなどの発熱体によってインクを加熱して気泡を発生させ、その圧力でインク滴を飛ばすサーマルジェット方式など、各種方式を適用できる。
〔インク供給系の構成〕
図6はインクジェット記録装置10におけるインク供給系の構成を示した概要図である。インクタンク60はヘッド50にインクを供給する基タンクであり、図1で説明したインク貯蔵/装填部14に設置される。インクタンク60の形態には、インク残量が少なくなった場合に、不図示の補充口からインクを補充する方式と、タンクごと交換するカートリッジ方式とがある。使用用途に応じてインク種類を変える場合には、カートリッジ方式が適している。この場合、インクの種類情報をバーコード等で識別して、インク種類に応じた吐出制御を行うことが好ましい。なお、図6のインクタンク60は、先に記載した図1のインク貯蔵/装填部14と等価のものである。
図6に示したように、インクタンク60とヘッド50の中間には、異物や気泡を除去するためにフィルタ62が設けられている。フィルタ・メッシュサイズは、ノズル径と同等若しくはノズル径以下(一般的には、20μm程度)とすることが好ましい。図6には示さないが、ヘッド50の近傍又はヘッド50と一体にサブタンクを設ける構成も好ましい。サブタンクは、ヘッドの内圧変動を防止するダンパー効果及びリフィルを改善する機能を有する。
また、インクジェット記録装置10には、ノズル51の乾燥防止又はノズル近傍のインク粘度上昇を防止するための手段としてのキャップ64と、ノズル面50Aの清掃手段としてのクリーニングブレード66とが設けられている。これらキャップ64及びクリーニングブレード66を含むメンテナンスユニットは、不図示の移動機構によってヘッド50に対して相対移動可能であり、必要に応じて所定の退避位置からヘッド50下方のメンテナンス位置に移動される。
キャップ64は、図示せぬ昇降機構によってヘッド50に対して相対的に昇降変位される。電源OFF時や印刷待機時にキャップ64を所定の上昇位置まで上昇させ、ヘッド50に密着させることにより、ノズル面50Aをキャップ64で覆う。
クリーニングブレード66は、ゴムなどの弾性部材で構成されており、図示せぬブレード移動機構によりヘッド50のインク吐出面(ノズル板表面)に摺動可能である。ノズル板にインク液滴又は異物が付着した場合、クリーニングブレード66をノズル板に摺動させることでノズル板表面を拭き取り、ノズル板表面を清浄する。
印字中又は待機中において、特定のノズルの使用頻度が低くなり、ノズル近傍のインク粘度が上昇した場合、その劣化インクを排出すべくキャップ64に向かって予備吐出が行われる。
また、ヘッド50内のインク(圧力室52内)に気泡が混入した場合、ヘッド50にキャップ64を当て、吸引ポンプ67で圧力室52内のインク(気泡が混入したインク)を吸引により除去し、吸引除去したインクを回収タンク68へ送液する。この吸引動作は、初期のインクのヘッド50への装填時、或いは長時間の停止後の使用開始時にも粘度上昇(固化)した劣化インクの吸い出しが行われる。
ヘッド50は、ある時間以上吐出しない状態が続くと、ノズル近傍のインク溶媒が蒸発してノズル近傍のインクの粘度が高くなってしまい、吐出駆動用のアクチュエータ58が動作してもノズル51からインクが吐出しなくなる。したがって、この様な状態になる手前で(アクチュエータ58の動作によってインク吐出が可能な粘度の範囲内で)、インク受けに向かってアクチュエータ58を動作させ、粘度が上昇したノズル近傍のインクを吐出させる「予備吐出」が行われる。また、ノズル面50Aの清掃手段として設けられているクリーニングブレード66等のワイパーによってノズル板表面の汚れを清掃した後に、このワイパー摺擦動作によってノズル51内に異物が混入するのを防止するためにも予備吐出が行われる。なお、予備吐出は、「空吐出」、「パージ」、「唾吐き」などと呼ばれる場合もある。
また、ノズル51や圧力室52に気泡が混入したり、ノズル51内のインクの粘度上昇があるレベルを超えたりすると、上記予備吐出ではインクを吐出できなくなるため、以下に述べる吸引動作を行う。
すなわち、ノズル51や圧力室52のインク内に気泡が混入した場合、或いはノズル51内のインク粘度があるレベル以上に上昇した場合には、アクチュエータ58を動作させてもノズル51からインクを吐出できなくなる。このような場合、ヘッド50のノズル面50Aに、圧力室52内のインクをポンプ等で吸い込む吸引手段を当接させて、気泡が混入したインク又は増粘インクを吸引する動作が行われる。
ただし、上記の吸引動作は、圧力室52内のインク全体に対して行われるためインク消費量が大きい。したがって、粘度上昇が少ない場合はなるべく予備吐出を行うことが好ましい。
詳細は後述するが、本実施形態では電気分解による気泡生成によってノズル51の流路抵抗を下げることで増粘インクの吐出が可能となっている。
〔制御系の説明〕
図7はインクジェット記録装置10のシステム構成を示す要部ブロック図である。インクジェット記録装置10は、通信インターフェース70、システムコントローラ72、ROM73、画像メモリ74、インク情報読取部75、モータドライバ76、ヒータドライバ78、電気分解制御部79、プリント制御部80、画像バッファメモリ82、ヘッドドライバ84等を備えている。
通信インターフェース70は、ホストコンピュータ86から送られてくる画像データを受信するインターフェース部である。通信インターフェース70にはUSB(Universal Serial Bus)、IEEE1394、イーサネット(登録商標)、無線ネットワークなどのシリアルインターフェースやセントロニクスなどのパラレルインターフェースを適用することができる。この部分には、通信を高速化するためのバッファメモリ(不図示)を搭載してもよい。
ホストコンピュータ86から送出された画像データは通信インターフェース70を介してインクジェット記録装置10に取り込まれ、一旦画像メモリ74に記憶される。画像メモリ74は、通信インターフェース70を介して入力された画像を一旦格納する記憶手段であり、システムコントローラ72を通じてデータの読み書きが行われる。画像メモリ74は、半導体素子からなるメモリに限らず、ハードディスクなど磁気媒体を用いてもよい。
システムコントローラ72は、中央演算処理装置(CPU)及びその周辺回路等から構成され、所定のプログラムに従ってインクジェット記録装置10の全体を制御する制御装置として機能するとともに、各種演算を行う演算装置として機能する。すなわち、システムコントローラ72は、通信インターフェース70、画像メモリ74、モータドライバ76、ヒータドライバ78等の各部を制御し、ホストコンピュータ86との間の通信制御、画像メモリ74の読み書き制御等を行うとともに、搬送系のモータ88やヒータ89を制御する制御信号を生成する。
ROM73には、システムコントローラ72のCPUが実行するプログラム及び制御に必要な各種データなどが格納されている。なお、ROM73は、書換不能な記憶手段であってもよいし、EEPROMのような書換可能な記憶手段であってもよい。画像メモリ74は、画像データの一時記憶領域として利用されるとともに、プログラムの展開領域及びCPUの演算作業領域としても利用される。
インク情報読取部75は、インク種の情報を取得する手段である。具体的には、例えば、インクタンク60のカートリッジの形状(インク種を識別可能な特定の形状)、或いはカートリッジに組み込まれたバーコードやICチップなどからインクの物性情報を読み取る手段を用いることができる。その他、ユーザインターフェースを利用してオペレータが必要な情報を入力してもよい。インク情報読取部75から得られた情報はシステムコントローラ72に送られ、電気分解の電圧制御及び吐出制御等に利用される。
モータドライバ76は、システムコントローラ72からの指示に従ってモータ88を駆動するドライバ(駆動回路)である。ヒータドライバ78は、システムコントローラ72からの指示にしたがって後乾燥部42等のヒータ89を駆動するドライバである。
電気分解制御部79は、システムコントローラ72からの指示に従い可変出力型電源部565の出力を制御する制御信号を生成するとともに、選択スイッチ567の接続先を切り換えるための制御信号を生成する。
可変出力型電源部565は、出力電圧値、パルス幅及びパルス周波数を変更可能な電源回路を含んで構成され、電気分解制御部79からの制御信号に応じた電気分解用の電圧信号を生成する。可変出力型電源部565は、ノズル51内壁面における気泡生成に適した第1の電圧信号と、供給流路542の絞り部における気泡生成に適した第2の電圧信号とを含む少なくとも2種類の電圧信号を生成することができる。なお、電気分解用印加電圧の電圧発生源として、アクチュエータ58その他の駆動用電源を兼用してもよい。
プリント制御部80は、システムコントローラ72の制御に従い、画像メモリ74内の画像データから印字制御用の信号を生成するための各種加工、補正などの処理を行う信号処理機能を有し、生成した印字データ(ドットデータ)をヘッドドライバ84に供給する制御部である。プリント制御部80において所要の信号処理が施され、該画像データに基づいてヘッドドライバ84を介してヘッド50のインク液滴の吐出量や吐出タイミングの制御が行われる。これにより、所望のドットサイズやドット配置が実現される。
プリント制御部80には画像バッファメモリ82が備えられており、プリント制御部80における画像データ処理時に画像データやパラメータなどのデータが画像バッファメモリ82に一時的に格納される。なお、図7において画像バッファメモリ82はプリント制御部80に付随する態様で示されているが、画像メモリ74と兼用することも可能である。また、プリント制御部80とシステムコントローラ72とを統合して1つのプロセッサで構成する態様も可能である。
ヘッドドライバ84はプリント制御部80から与えられる印字データに基づいて各色のヘッド50のアクチュエータ58を駆動する。ヘッドドライバ84にはヘッドの駆動条件を一定に保つためのフィードバック制御系を含んでいてもよい。
印刷すべき画像のデータは、通信インターフェース70を介して外部から入力され、画像メモリ74に蓄えられる。この段階では、RGBの画像データが画像メモリ74に記憶される。
画像メモリ74に蓄えられた画像データは、システムコントローラ72を介してプリント制御部80に送られ、該プリント制御部80において既知のディザ法、誤差拡散法などの手法によりインク色ごとのドットデータに変換される。すなわち、プリント制御部80は、入力されたRGB画像データをKCMYの4色のドットデータに変換する処理を行う。プリント制御部80で生成されたドットデータは、画像バッファメモリ82に蓄えられる。
ヘッドドライバ84は、画像バッファメモリ82に記憶されたドットデータに基づき、ヘッド50の駆動制御信号を生成する。ヘッドドライバ84で生成された駆動制御信号がヘッド50に加えられることによって、ヘッド50からインクが吐出される。記録紙16の搬送速度に同期してヘッド50からのインク吐出を制御することにより、記録紙16上に画像が形成される。
印字検出部24は、図1で説明したように、ラインセンサを含むブロックであり、記録紙16に印字された画像を読み取り、所要の信号処理などを行って印字状況(吐出の有無、打滴のばらつきなど)を検出し、その検出結果をプリント制御部80に提供する。
プリント制御部80は、必要に応じて印字検出部24から得られる情報に基づいてヘッド50に対する各種補正を行う。また、システムコントローラ72は、印字検出部24から得られる情報に基づいて、予備吐出(電気分解を含む)や吸引その他の所定の回復動作を実施する制御を行う。
〔電気分解で発生させる気泡の作用〕
次に、上記の如く構成されたインクジェット記録装置10における電気分解気泡の生成機能について説明する。
図8(a)は、ノズル51のメニスカス部を拡大した模式断面図である。第1電極514と第2電極544(図8中不図示)との電極間に所定のパルス電圧を印加することにより、ノズル51内壁の電極面に微小な気泡582を多数密集させて発生させることができる。すなわち、電極間に電圧を印加すると、インクに接する第1電極514の境界面から水素の気泡582が発生し、周りのインクを押し退けるようにして電極面に気泡582が付着する。気泡径は10μm以下であることが好ましく、5μm以下であることがより好ましい。
図8(b)は、電気分解気泡が付着していない状態でノズル51から液を吐出させた場合のノズル51内の流速分布を示す図であり、図8(c)は、電気分解気泡が付着している状態でノズル51から液を吐出させた場合のノズル51内の流速分布を示す図である。図8(b)に示したとおり、ノズル51の内壁面に気泡が存在しないときには、ノズル51内のインクはノズル51の内壁面に接触しており、内壁面の近傍は摩擦抵抗の影響によって流速が小さくなる。このため、インクが増粘していると、アクチュエータ58による吐出動作を行ってもノズル51内に増粘インクが残留する。
これに対し、図8(a)のように、ノズル51の内壁面に微小な気泡582を発生させると、内壁面付近の増粘インクは電極面との境界から発生した気泡582によって壁面から切り離される。これにより、ノズル51の内壁面との摩擦抵抗の影響が低減され、増粘インクを容易に排出することができる。
かかる気泡生成機能の活用形態として、印字検出部24その他の吐出検出手段により、吐出不良が検出されたときに、図8(a)の如くノズル51内壁に気泡を発生させて予備吐出を行うことにより、吐出不良の回復が可能である。また、一定の条件の下で定期的に又は不定期に行われるメンテナンス動作時(予備吐出時)に気泡生成を行うことにより、予備吐出において効率よく増粘インクを排出できる。
或いはまた、予備吐出時のみならず、通常の印字動作中に気泡生成を行い、図8(a)の状態で吐出を行うことも可能である。
ただし、この場合、図8(b),(c)に示したとおり、気泡生成の有無によって見かけ上ノズル径が変化するため、吐出量が変化しないように、気泡生成の有無に応じて吐出駆動を制御することが好ましい。例えば、アクチュエータ58に印加する駆動電圧を変更したり、駆動パルスを変更したりすることにより、吐出量の均一化を図る。
図9は、第1電極対に印加する電圧波形の一例を示す波形図である。電極間距離1mmのとき、印加電圧は、パルス幅0.1〜1msec(例えば、0.5msec)、電圧20〜30V( 図9では、20Vを図示)とすることにより、マイナス極側の第1電極514に気泡径5μm以下の微小気泡を多数密集させて発生させることができる。また、パルス状に複数のパルスを印加することでもよい。
水系電解液のインク中の溶存水素は非常に少ないため、マイナス極側に発生した水素気泡は、数秒から数十秒の間に溶解して消滅する。このため、ヘッド50内に気泡が長期間留まって吐出に悪影響を与えるようなことがない。一方、プラス極側(第2電極544)に発生する酸素気泡は発生量が少なく、また、発生場所も圧力室52の外部(供給流路542部)であるため、吐出にはあまり影響しない。
なお、溶存酸素量を少なくしたインク(例えば、脱気インク)を用いることにより、酸素気泡の消滅時間を短縮することが可能である。したがって、かかる脱気インクを用いる構成がより好ましい。
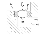
図10は、第3電極546が形成された供給口54付近の拡大図である。図4で説明した選択スイッチ527の接続先を切り換えて第3電極546と第2電極544との電極間に電気分解用の電圧を印加することにより、供給流路542の内壁に図10の如く、気泡584を発生させる。この気泡584は、供給流路542を完全に塞ぐ大きさに形成される。電気分解によってこのように比較的大きな気泡を生成するには、例えば、3V程度の低い電圧で長いパルス幅の電圧を与える。
吐出時のアクチュエータ58の駆動によって圧力室52内のインクは吐出方向(ノズル方向)と供給側方向(供給流路542及び共通流路55方向)に移動しようとするが、図10のように、供給流路542を閉塞する気泡584を生成することにより、当該気泡584とインクの界面における表面張力によって供給側方向への逆流が抑えられる。つまり、供給側への戻り抵抗が増加する。このため、吐出方向へのインクの移動が促進され、アクチュエータ58の発生圧力を効率的に吐出に利用することができる。したがって、増粘インクを容易に排出することが可能になり、吐出不良を防止できる。
図11は、図10の変形例を示す図である。図11中図10の構成と同一又は類似する部分には同一の符号を付し、その説明は省略する。図11に示すように、供給流路542の内壁に凸部543を形成し、この凸部543に第3電極546を形成する構成も可能である(電極自体によって凸部543を形成することができる)。この凸部543によって流路断面積が最も小さくなる部分(最狭窄部)が圧力室52への供給絞り部として機能する。図11の例によれば、凸部543の形状によって当該最狭窄部に気泡584が残留し易くなる。
図11では、供給口54の近傍に凸部543を設け、ここに第3電極546を配置したが、凸部543の形成位置(すなわち、第3電極546の形成位置)は特に限定されず、圧力室52と共通流路55とを繋ぐ供給流路542中の適宜の位置に凸部を形成することができる。第3電極546は、圧力室52よりも上流で且つ流路断面積が最も小さくなる部分に形成されることが好ましい。
図12は、共通流路55から圧力室52にインクを供給する供給流路542部の他の構成を示す要部断面図である。図12中図4の構成と同一又は類似する部分には同一の符号を付し、その説明は省略する。図12に示した例は、各圧力室52と共通流路55とを繋ぐ供給流路542部に複数の供給絞り流路542A,542Bが形成され、少なくとも1つの供給絞り流路(図12において符号542B)に電気分解用電極(第3電極546)が形成されている。
かかる構成によれば、気泡生成を制御して選択的に供給絞り流路(図12において符号542B)を塞ぐことにより、吐出時のインク逆流量を制御することができる。なお、図12では、2本の供給絞り流路542A,452Bを示したが、更に多数の供給絞り流路を有してもよい。また、複数の供給絞り流路の全数又は一部にそれぞれ第3電極546を配置し、各電極に選択的に電圧印加可能な構成とすることにより、吐出時のインク逆流量やリフィル性能を一層細かく制御することができる。
〔変形例〕
図13は、ノズル51内壁面に形成される第1電極514の構成例を示す模式図である。図13の例では、ノズル51の円周方向に沿って第1電極514が分割され、各電極部514A,514Bに対して選択スイッチ568を介して選択的に電圧を印加できるように構成されている。図7で説明した電気分解制御部79からの制御信号等により図13の選択スイッチ568の接続先を切り換えることで、電圧を印加する電極部514A又は514Bが変更される。
図14は、一方の電極部514Aに電気分解用の電圧を印加したときの様子が示されている。同図においてノズル51内壁面の左側に配置された電極部514Aに電圧が印加されると、当該電極面に気泡582が発生する。このとき、当該電極部514Aに対向する右側の電極部514Bには電圧が印加されず、気泡は発生しない。
この状態でアクチュエータ58(図14中不図示)を駆動して吐出を行うと、右側の電極部514Bとインクとの間の摩擦抵抗に比べて、左側の電極部514Aとインクとの間の摩擦抵抗が小さいため、流速分布の軸対称性が崩れ、ノズル中心軸515から逸れた斜め方向にインク液滴59が吐出される。
このように、ノズル51内における気泡生成場所(電圧を印加する電極部)を制御することにより、インク液滴59の飛翔方向を制御することができる。かかる飛翔方向の偏向機能を利用してインク液滴59の着弾位置を変えることが可能である。
図13及び図14では、第1電極514を円周方向に2分割(略180度等分配に分割)した例を示したが、本発明の実施に際しては、分割数や各分割電極部の大きさのバランス等については、特に限定されず、飛翔方向を偏向させる方向や角度に応じて電極の分割形態(分割電極の配置形態)が設計される。
なお、図13には示していないが、必要に応じて両方の電極部514A,514Bに同時に電圧を印加することができるように、電極部514A,514Bの間の導通/非導通を切換可能な回路(制御スイッチなど)を付加する構成が好ましい。このような構成が付加されることにより、図4及び図8乃至図9で説明した吐出効率の向上も併せて実現できる。
〔他の実施形態〕
図15に本発明の他の実施形態を示す。図15中図4の構成と同一又は類似する部分には同一の符号を付し、その説明は省略する。図15に示した例は、第2電極544の設置位置が図4の構成と相違する。
すなわち、図15に示したヘッド50は、圧力室52内に第2電極544が配置されている。この場合、第2電極544で発生する酸素気泡による吐出への影響を考慮して、なるべく吐出に影響し難い場所(位置)に第2電極544を配置することが好ましい。例えば、図示のように、圧力室52におけるノズル51への流出口の位置(ノズル連通路512の接続位置)と、供給口54の位置との中間点を通る中心線525を境にしてノズル51から遠い側(供給口54に近い側)の領域に第2電極544を配置することが好ましい。
上記各実施形態では、記録媒体の全幅に対応する長さのノズル列を有するページワイドのフルライン型ヘッドを用いたインクジェット記録装置を説明したが、本発明の適用範囲はこれに限定されず、短尺の記録ヘッドを往復移動させながら画像記録を行うシャトルヘッドを用いるインクジェット記録装置についても本発明を適用可能である。
また、上述の説明では、画像形成装置の一例としてインクジェット記録装置を例示したが、本発明の適用範囲はこれに限定されない。例えば、印画紙に非接触で現像液を塗布する写真画像形成装置等についても本発明の液滴吐出ヘッドを適用できる。また、本発明に係る液滴吐出ヘッドの適用範囲は画像形成装置に限定されず、吐出ヘッドを用いて処理液その他各種の液体を被吐出媒体に向けて噴射する各種の装置(塗装装置、塗布装置、配線描画装置など)について本発明を適用することができる。
本発明の実施形態に係る液滴吐出装置を用いたインクジェット記録装置の全体構成図 図1に示したインクジェット記録装置の印字部周辺の要部平面図 ヘッドの構成を示す平面透視図 図3(a) の要部拡大図 フルライン型ヘッドの他の構成例を示す平面透視図 図3(a) 中の4−4線に沿う断面図 図3(a) に示したヘッドのノズル配列を示す拡大図 本例のインクジェット記録装置におけるインク供給系の構成を示した概要図 本例のインクジェット記録装置のシステム構成を示す要部ブロック図 ノズル内壁面に発生させた微小気泡の作用を説明するために用いた図 ノズル内壁面に気泡を生成する際に印加される電気分解用の電圧波形の一例を示す波形図 供給流路の絞り部に発生させた気泡の作用を説明するために用いた要部断面図 供給流路の絞り部に関する他の構成を示した要部断面図 供給流路部の他の構成を示す要部断面図 ノズル内壁面に形成される電極の配置構成例を示す模式図 図13に示した構成の作用を説明するために用いた要部模式図 本発明の他の実施形態を示すヘッドの断面図
符号の説明
10…インクジェット記録装置、12…印字部、12K,12C,12M,12Y…ヘッド、14…インク貯蔵/装填部、16…記録紙、18…給紙部、22…吸着ベルト搬送部、50…ヘッド、50A…ノズル面、51…ノズル、52…圧力室、54…供給口、55…共通流路、72…システムコントローラ、79…電気分解制御部、80…プリント制御部、514…第1電極(電気分解用電極)、514A,514B…電極部、542…供給流路、544…第2電極(電気分解用電極)、546…第3電極(電気分解用電極)、565…可変出力型電源部、567…選択スイッチ、582,584…気泡、542A,542B…供給絞り流路

Claims (13)

  1. 電解液を含む液体が満たされる液室流路と、
    前記液室流路から分岐された供給流路と、
    前記供給流路に連通し、該供給流路を介して前記液室流路から供給される前記液体が充填される圧力室と、
    前記圧力室に対応して設けられ、前記圧力室内の液体を加圧する圧力発生手段と、
    前記圧力室に連通する液滴吐出用のノズルと、
    前記ノズルの内壁面に設けられ、当該内壁面に前記圧力発生手段の駆動によって前記液体が該ノズル内を流れるときの前記内壁面との間の摩擦抵抗を低下させる微小気泡を発生させる電気分解用電極と、
    を備えたことを特徴とする液滴吐出ヘッド。
  2. 前記ノズルの内壁面に形成された電気分解用電極と対を成す他方の電気分解用電極は、前記供給流路の内壁面又は前記圧力室の内壁面に設けられていることを特徴とする請求項1記載の液滴吐出ヘッド。
  3. 前記ノズルの内壁面に形成された電気分解用電極は、当該ノズルの周方向に沿って複数の電極部に分割され、各電極部に選択的に電圧を印加し得る構成であることを特徴とする請求項1又は2記載の液滴吐出ヘッド。
  4. 請求項1、2又は3記載の液滴吐出ヘッドと、
    前記圧力発生手段の駆動を制御する吐出制御手段と、
    前記電気分解用電極に印加する電圧信号を発生させる電気分解用信号発生手段と、
    を備えたことを特徴とする液滴吐出装置。
  5. 前記電気分解用信号発生手段は、前記ノズルの内壁面に発生させる気泡の直径が10μm以下となる電圧信号を発生することを特徴とする請求項4記載の液滴吐出装置。
  6. 記供給流路の絞り部の内壁面に設けられ、当該絞り部の内壁に前記圧力発生手段の駆動による吐出動作時における前記圧力室内の液体の前記供給流路側への液流を阻害する大きさの気泡を発生させる電気分解用電極を備えたことを特徴とする請求項1、2又は3記載の液滴吐出ヘッド。
  7. 前記供給流路の絞り部の内壁面に形成された電気分解用電極と対を成す他方の電気分解用電極は、前記供給流路における他の部分の内壁面又は前記圧力室の内壁面に設けられていることを特徴とする請求項6記載の液滴吐出ヘッド。
  8. 1つの圧力室に対して複数の供給流路が形成され、これら複数の供給流路のうち少なくとも1つの供給流路の内壁面に前記液流を阻害する気泡を発生させるための電気分解用電極が設けられていることを特徴とする請求項6又は7記載の液滴吐出ヘッド。
  9. 請求項6乃至の何れか1項記載の液滴吐出ヘッドと、
    前記圧力発生手段の駆動を制御する吐出制御手段と、
    前記電気分解用電極に印加する電圧信号を発生させる電気分解用信号発生手段と、
    を備えたことを特徴とする液滴吐出装置。
  10. 前記電気分解用信号発生手段は、前記供給流路の絞り部を閉塞する気泡を発生させる電圧信号を発生することを特徴とする請求項記載の液滴吐出装置。
  11. 請求項6乃至8の何れか1項に記載の液滴吐出ヘッドと、
    前記圧力発生手段の駆動を制御する吐出制御手段と
    記ノズルの内壁面に形成された電気分解用電極に印加する第1の電圧信号及び前記供給流路の絞り部の内壁面に形成された電気分解用電極に印加する第2の電圧信号を発生させる電気分解用信号発生手段と、
    前記電気分解用信号発生手段で発生される前記第1の電圧信号又は前記第2の電圧信号を選択的に、それぞれ対応する電気分解用電極に印加させる切換手段と、
    を備えたことを特徴とする液滴吐出装置。
  12. 前記吐出制御手段は、前記微小気泡の生成に応じて、前記ノズルからの吐出量を一定にするように吐出駆動を制御することを特徴とする請求項4又は5記載の液滴吐出装置。
  13. 請求項4、5、乃至12の何れか1項記載の液滴吐出装置を有し、前記ノズルから吐出した液滴によって記録媒体上に画像を形成することを特徴とする画像形成装置。
JP2004107852A 2004-03-31 2004-03-31 液滴吐出ヘッド及び画像形成装置 Expired - Fee Related JP3965586B2 (ja)

Priority Applications (2)

Application Number Priority Date Filing Date Title
JP2004107852A JP3965586B2 (ja) 2004-03-31 2004-03-31 液滴吐出ヘッド及び画像形成装置
US11/093,304 US7328982B2 (en) 2004-03-31 2005-03-30 Liquid droplet discharge head, liquid droplet discharge device, and image forming apparatus

Applications Claiming Priority (1)

Application Number Priority Date Filing Date Title
JP2004107852A JP3965586B2 (ja) 2004-03-31 2004-03-31 液滴吐出ヘッド及び画像形成装置

Publications (2)

Publication Number Publication Date
JP2005288915A JP2005288915A (ja) 2005-10-20
JP3965586B2 true JP3965586B2 (ja) 2007-08-29

Family

ID=35053805

Family Applications (1)

Application Number Title Priority Date Filing Date
JP2004107852A Expired - Fee Related JP3965586B2 (ja) 2004-03-31 2004-03-31 液滴吐出ヘッド及び画像形成装置

Country Status (2)

Country Link
US (1) US7328982B2 (ja)
JP (1) JP3965586B2 (ja)

Families Citing this family (10)

* Cited by examiner, † Cited by third party
Publication number Priority date Publication date Assignee Title
TWI265096B (en) * 2005-08-17 2006-11-01 Benq Corp Fluid injection devices with sensors, fluid injection system and analyzing fluid therein
KR101236426B1 (ko) * 2006-02-14 2013-02-22 삼성디스플레이 주식회사 잉크젯 프린트헤드 및 그 기포제거방법
US8936353B2 (en) 2012-03-28 2015-01-20 Eastman Kodak Company Digital drop patterning device and method
US8939551B2 (en) 2012-03-28 2015-01-27 Eastman Kodak Company Digital drop patterning device and method
US8602535B2 (en) 2012-03-28 2013-12-10 Eastman Kodak Company Digital drop patterning device and method
US8936354B2 (en) 2012-03-28 2015-01-20 Eastman Kodak Company Digital drop patterning device and method
JP5740371B2 (ja) * 2012-09-11 2015-06-24 東芝テック株式会社 インクジェットヘッド
JP6107054B2 (ja) * 2012-10-30 2017-04-05 セイコーエプソン株式会社 液体輸送装置
WO2015147307A1 (ja) * 2014-03-27 2015-10-01 京セラ株式会社 液体吐出ヘッド、および記録装置
KR20220167809A (ko) 2021-06-14 2022-12-22 삼성디스플레이 주식회사 잉크젯 프린팅 장치

Family Cites Families (18)

* Cited by examiner, † Cited by third party
Publication number Priority date Publication date Assignee Title
SE349676B (ja) * 1971-01-11 1972-10-02 N Stemme
IT1129356B (it) * 1980-10-31 1986-06-04 Olivetti Ing C Spa Dispositivo di stampa a getto selettivo di inchiostro
US4023180A (en) * 1976-01-12 1977-05-10 Zenner Walter J Dot printer with electrically propelled ink
US4275290A (en) * 1978-05-08 1981-06-23 Northern Telecom Limited Thermally activated liquid ink printing
JPS594310B2 (ja) * 1979-06-30 1984-01-28 株式会社リコー インクジェット記録装置
US4494128A (en) * 1982-09-17 1985-01-15 Hewlett-Packard Company Gray scale printing with ink jets
US4730197A (en) * 1985-11-06 1988-03-08 Pitney Bowes Inc. Impulse ink jet system
JP2806386B2 (ja) * 1988-02-16 1998-09-30 富士電機株式会社 インクジェット記録ヘッド
JPH0255143A (ja) 1988-08-18 1990-02-23 Ricoh Co Ltd インクジェット記録装置
JPH02151446A (ja) 1988-12-02 1990-06-11 Ricoh Co Ltd インクジェット記録装置
JPH03104650A (ja) 1989-09-18 1991-05-01 Matsushita Electric Ind Co Ltd 記録装置
EP0418659B1 (en) * 1989-09-18 1997-01-08 Matsushita Electric Industrial Co., Ltd. Ink jet recording apparatus
JPH04347647A (ja) 1991-05-27 1992-12-02 Nec Corp インクジェット記録装置
JPH05286135A (ja) 1992-04-08 1993-11-02 Matsushita Electric Ind Co Ltd インクジェット記録装置
JP3317308B2 (ja) * 1992-08-26 2002-08-26 セイコーエプソン株式会社 積層型インクジェット記録ヘッド、及びその製造方法
JPH0747676A (ja) 1993-08-09 1995-02-21 Canon Inc インクジェット記録ヘッドおよび記録方法
JP2001150679A (ja) 1999-11-24 2001-06-05 Casio Comput Co Ltd インクジェットプリントヘッド
JP2003062997A (ja) 2001-08-27 2003-03-05 Ricoh Co Ltd 液滴吐出ヘッド及びヘッド駆動装置

Also Published As

Publication number Publication date
US20050219338A1 (en) 2005-10-06
JP2005288915A (ja) 2005-10-20
US7328982B2 (en) 2008-02-12

Similar Documents

Publication Publication Date Title
JP5009229B2 (ja) インクジェット記録装置
JP2006035568A (ja) 液体吐出ヘッドの駆動装置、液体吐出装置及び画像形成装置
JP4055170B2 (ja) インクジェット記録装置及び方法
JP2006326983A (ja) インクジェット記録装置及び方法
JP4855858B2 (ja) 液体吐出ヘッド及び画像形成装置
US7416273B2 (en) Liquid ejection head and image forming apparatus including liquid ejection head
JP3965586B2 (ja) 液滴吐出ヘッド及び画像形成装置
US7427124B2 (en) Ejection head, image forming apparatus, and ejection control method
JP2005306016A (ja) 液体供給装置及び画像形成装置
JP3774902B2 (ja) 液滴吐出ヘッド及びインクジェット記録装置
US20060214970A1 (en) Image forming apparatus and method
JP3991279B2 (ja) 画像形成装置及び吐出検出方法
JP2005104037A (ja) 画像形成装置及び記録制御方法
JP3903075B2 (ja) 吐出ヘッド及び画像形成装置並びに吐出制御方法
JP3944911B2 (ja) 液吐出装置
JP2007261285A (ja) 吐出検出装置及び方法
JP2007076326A (ja) 気泡検出方法及び液体吐出装置並びに画像形成装置
JP4178555B2 (ja) 吐出検出装置及び方法
JP3903197B2 (ja) 画像形成装置及び記録素子駆動制御方法
JP2005271389A (ja) 液滴吐出装置及び方法並びに画像形成装置
JP3791532B2 (ja) インクジェットヘッド及びインクジェット記録装置
JP2006231626A (ja) ノズルプレートの製造方法及び液体吐出ヘッド並びにこれを備えた画像形成装置
JP4609648B2 (ja) 液滴吐出装置及び画像記録方法
JP3941823B2 (ja) 液体吐出装置及び駆動制御方法
JP2008254205A (ja) 液体吐出ヘッド及び液体吐出装置

Legal Events

Date Code Title Description
A621 Written request for application examination

Free format text: JAPANESE INTERMEDIATE CODE: A621

Effective date: 20051206

A871 Explanation of circumstances concerning accelerated examination

Free format text: JAPANESE INTERMEDIATE CODE: A871

Effective date: 20060428

A975 Report on accelerated examination

Free format text: JAPANESE INTERMEDIATE CODE: A971005

Effective date: 20060512

A977 Report on retrieval

Free format text: JAPANESE INTERMEDIATE CODE: A971007

Effective date: 20060626

A131 Notification of reasons for refusal

Free format text: JAPANESE INTERMEDIATE CODE: A131

Effective date: 20060630

A521 Written amendment

Free format text: JAPANESE INTERMEDIATE CODE: A523

Effective date: 20060829

A131 Notification of reasons for refusal

Free format text: JAPANESE INTERMEDIATE CODE: A131

Effective date: 20061023

A521 Written amendment

Free format text: JAPANESE INTERMEDIATE CODE: A523

Effective date: 20061221

A711 Notification of change in applicant

Free format text: JAPANESE INTERMEDIATE CODE: A712

Effective date: 20061221

A131 Notification of reasons for refusal

Free format text: JAPANESE INTERMEDIATE CODE: A131

Effective date: 20070130

A521 Written amendment

Free format text: JAPANESE INTERMEDIATE CODE: A523

Effective date: 20070402

TRDD Decision of grant or rejection written
A01 Written decision to grant a patent or to grant a registration (utility model)

Free format text: JAPANESE INTERMEDIATE CODE: A01

Effective date: 20070502

A61 First payment of annual fees (during grant procedure)

Free format text: JAPANESE INTERMEDIATE CODE: A61

Effective date: 20070515

R150 Certificate of patent or registration of utility model

Free format text: JAPANESE INTERMEDIATE CODE: R150

FPAY Renewal fee payment (event date is renewal date of database)

Free format text: PAYMENT UNTIL: 20100608

Year of fee payment: 3

FPAY Renewal fee payment (event date is renewal date of database)

Free format text: PAYMENT UNTIL: 20110608

Year of fee payment: 4

FPAY Renewal fee payment (event date is renewal date of database)

Free format text: PAYMENT UNTIL: 20110608

Year of fee payment: 4

FPAY Renewal fee payment (event date is renewal date of database)

Free format text: PAYMENT UNTIL: 20120608

Year of fee payment: 5

FPAY Renewal fee payment (event date is renewal date of database)

Free format text: PAYMENT UNTIL: 20120608

Year of fee payment: 5

FPAY Renewal fee payment (event date is renewal date of database)

Free format text: PAYMENT UNTIL: 20130608

Year of fee payment: 6

R250 Receipt of annual fees

Free format text: JAPANESE INTERMEDIATE CODE: R250

LAPS Cancellation because of no payment of annual fees