JP3901289B2 - ドラムブレーキ用自動間隙調整装置 - Google Patents
ドラムブレーキ用自動間隙調整装置 Download PDFInfo
- Publication number
- JP3901289B2 JP3901289B2 JP18618897A JP18618897A JP3901289B2 JP 3901289 B2 JP3901289 B2 JP 3901289B2 JP 18618897 A JP18618897 A JP 18618897A JP 18618897 A JP18618897 A JP 18618897A JP 3901289 B2 JP3901289 B2 JP 3901289B2
- Authority
- JP
- Japan
- Prior art keywords
- adjustment
- bracket
- piston
- wheel cylinder
- back plate
- Prior art date
- Legal status (The legal status is an assumption and is not a legal conclusion. Google has not performed a legal analysis and makes no representation as to the accuracy of the status listed.)
- Expired - Fee Related
Links
- 230000002093 peripheral effect Effects 0.000 claims description 53
- 210000000078 claw Anatomy 0.000 claims description 34
- 230000008878 coupling Effects 0.000 claims 1
- 238000010168 coupling process Methods 0.000 claims 1
- 238000005859 coupling reaction Methods 0.000 claims 1
- 239000011888 foil Substances 0.000 claims 1
- 239000002184 metal Substances 0.000 description 5
- JEIPFZHSYJVQDO-UHFFFAOYSA-N iron(III) oxide Inorganic materials O=[Fe]O[Fe]=O JEIPFZHSYJVQDO-UHFFFAOYSA-N 0.000 description 3
- 238000004519 manufacturing process Methods 0.000 description 3
- 230000007935 neutral effect Effects 0.000 description 2
- 230000002159 abnormal effect Effects 0.000 description 1
- 238000013459 approach Methods 0.000 description 1
- 238000005452 bending Methods 0.000 description 1
- 238000006073 displacement reaction Methods 0.000 description 1
- 239000000428 dust Substances 0.000 description 1
- 230000000694 effects Effects 0.000 description 1
- 239000013013 elastic material Substances 0.000 description 1
- 239000004519 grease Substances 0.000 description 1
- 230000013011 mating Effects 0.000 description 1
- 239000011435 rock Substances 0.000 description 1
- 239000000725 suspension Substances 0.000 description 1
Images
Landscapes
- Braking Arrangements (AREA)
Description
【発明の属する技術分野】
この発明に係るドラムブレーキ用自動間隙調整装置は、自動車の制動に用いるドラムブレーキに組み込み、ライニングの摩耗に拘らず、非制動時にこのライニングの外周面とドラムの内周面との間に存在する間隙を一定に保つ役目を果たす。
【0002】
【従来の技術】
ドラムブレーキは、例えば図7に略示する様に構成されている。懸架装置に支持されて回転しない背板1の前面(自動車の幅方向外側の面)には、1個又は2個のホイルシリンダ2、2を固定している。このホイルシリンダ2、2には制動時に圧油を送り込み、この圧油の送り込みに伴ってピストン3、3の突出量を増大させる。更に、上記背板1の前面には左右1対のブレーキシュー4、4を、この背板1の直径方向に亙る変位を自在として支持している。各ブレーキシュー4、4は、略三日月形のウェブ5、5の外周縁に円弧状に湾曲した裏金6、6を固定し、この裏金6、6の外周面にライニング7、7を添着して成る。
【0003】
この様なブレーキシュー4、4を構成するウェブ5、5の両端部はそれぞれ、上記各ピストン3、3の先端部又は上記各ホイルシリンダ2、2の端部に形成したアンカ部8、8に当接させている。又、上記両ウェブ5、5同士の間にはリターンスプリング9、9を掛け渡して、上記両ブレーキシュー4、4に、上記背板1の直径方向内方に向く弾力を付与している。更に、上記両ブレーキシュー4、4の周囲には、有底円筒状のドラム10を被せ、このドラム10の内周面10aと上記各ライニング7、7の外周面7a、7aとを対向させている。
【0004】
上記内周面10aと外周面7a、7aとは、非制動時には微小間隙を介して互いに離隔しているが、制動時には互いに当接し、これら両周面10a、7a同士の摩擦によって、制動力を発揮する。即ち、制動時には上記各ホイルシリンダ2、2内への圧油の送り込みによって上記各ピストン3、3の突出量を増大させる。そして、上記各ブレーキシュー4、4を上記リターンスプリング9、9の弾力に抗して上記背板1の直径方向外方に変位させ、上記両周面10a、7a同士を当接させる。
【0005】
この様な制動の繰り返しにより上記各ライニング7、7が摩耗すると、非制動時に上記内周面10aと外周面7a、7aとの間に存在する間隙が増大する。この間隙の増大は、制動時に上記各ホイルシリンダ2、2に送り込むべき圧油量の増大、延てはブレーキペダルの踏み込み量の増大につながる為、好ましくない。この為従来から、ライニング7、7の摩耗の進行に伴って上記各ブレーキシュー4、4を背板1の直径方向外方に押し出し、上記間隙を一定値に保持するドラムブレーキ用自動間隙調整装置が、例えば実開平6−18739号公報、同7−34238号公報等に記載されている様に知られており、且つ、実際に使用されている。
【0006】
この様なドラムブレーキ用自動間隙調整装置の構造と作用とに就いて、本発明の実施の形態の1例を示す図1〜4により説明する。背板1に固定したホイルシリンダ2a内にはピストン3aを、油密に嵌装している。このピストン3aは、上記ホイルシリンダ2a内への圧油の送り込みに伴って、このホイルシリンダ2aからの突出量を増大させる。上記ピストン3aの内側には有底の円孔11を、このピストン3aと同心に形成している。そして、この円孔11の端部を、上記ピストン3aの外端面中心部に開口させ、この円孔11内にアジャストナット12を、回転自在に挿入している。このアジャストナット12は、内周面に雌ねじを有する。尚、上記円孔11の内周面中間部に形成した段部13と上記アジャストナット12の内端面(図4の右端面)との間にはスラスト滑り軸受14を設け、このアジャストナット12に加わるスラスト荷重を支承しつつ、このアジャストナット12の回転を自在としている。
【0007】
又、このアジャストナット12及び上記円孔11内にグリースを充填した上で、上記アジャストナット12にアジャストボルト15を螺合させている。このアジャストボルト15の外端面(図1、4の左端面)には凹溝16を、この外端面の直径方向に亙って形成している。ドラムブレーキの組立時にはこの凹溝16に、前記ウェブ5(図7参照)の端部が係合する。従って上記アジャストボルト15は、上記アジャストナット12の回転に拘らず回転せず、このアジャストナット12の回転時には軸方向に変位する。
【0008】
又、上記アジャストナット12の外端面には、アジャストリング17を固定している。このアジャストリング17の外周縁は上記アジャストナット12と同心であり、この外周縁に、ラチェット歯状の係合歯18、18を形成している。又、上記ホイルシリンダ2aの中間部外面に設けた枢軸19には、アジャストレバー20の基端部を枢支している。金属板により略L字形に構成したこのアジャストレバー20の先端部には、爪部21を形成し、この爪部21を、上記係合歯18、18と係合自在としている。
【0009】
又、上記アジャストレバー20の中間部先端寄り部分の片側面(図1、2、4の下面、図3の裏面)には係止部22を形成し、この係止部22に引っ張りばね23の一端を係止している。この引っ張りばね23の他端は、上記ホイルシリンダ2aの外面、或は背板1の前面等の固定部分に係止している。この引っ張りばね23は上記アジャストレバー20に、上記爪部21を上記係合歯18、18から離す方向の弾力を付与すると同時に、この爪部21がホイルシリンダ2aから離れる方向に浮き上がる事を防止する役目を有する。
【0010】
更に、前記ピストン3aの外端部(図1、4の左端部)で上記ホイルシリンダ2aから突出した部分の周囲には、ブラケット24を固定している。そして、このブラケット24の外周縁から突出した腕部25の先端部(図1、2、4の上端部)と、上記アジャストレバー20の中間部基端寄り部分との間に、連結部材26を設けている。これらブラケット24と連結部材26との存在により、上記ホイルシリンダ2aから上記ピストン3aが突出する量が増大するのに伴って、上記アジャストレバー20は、上記引っ張りばね23の弾力に抗し、上記枢軸19を中心として図3で反時計方向に揺動する。そして、この様にアジャストレバー20が揺動し、上記爪部21と何れかの係合歯18とが係合する結果、前記アジャストリング17を介して前記アジャストナット12が回転する。前記アジャストボルト15及びアジャストナット12に形成するねじの方向は、上述の様にして上記アジャストナット12が回転した場合に、上記アジャストボルト15が上記アジャストナット12から外方に押し出される様に規制している。
【0011】
上述の様に構成するドラムブレーキ用自動間隙調整装置の作用は次の通りである。制動と制動解除との繰り返しに伴って上記ピストン3aは、ホイルシリンダ2a内で軸方向に亙って往復移動する。非制動時に前記ドラム10の内周面10aとライニング7、7の外周面7a、7aとの間に存在する間隙の厚さ寸法が小さい場合には、上記ピストン3aの往復移動量も少ない。従って、上記アジャストレバー20の揺動量も小さく、上記爪部21は、同一の係合歯18の外周縁と摺接するのみで、何れの係合歯18と係合する事もない。従って、上記アジャストリング17並びにアジャストナット12は回転せず、このアジャストナット12から上記アジャストボルト15が突出する量も変化せず、上記間隙の調整は行われない。
【0012】
上記ライニング7、7の摩耗に伴って上記間隙が大きくなると、制動時に於ける上記ピストン3aの往復移動量並びに上記アジャストレバー20の揺動量が多くなる。この結果上記爪部21が、上記係合歯18と係合し、図1〜2に矢印αで示す様に、上記アジャストリング17並びにこのアジャストリング17を固定したアジャストナット12を回転させる。この結果、このアジャストナット12と螺合したアジャストボルト15が、図4に矢印βで示す様に、上記アジャストナット12から突出する方向に移動する。そして、このアジャストボルト15の外端面に形成した凹溝16にその端部を係合させたブレーキシュー4が、上記ドラム10の内周面10aに向けて押され、上記間隙が狭められる。
【0013】
尚、図示の例では、上記連結部材26は、引っ張りばねを含んで構成しており、強い力が加わった場合には全長が弾性的に伸長する。この様に上記連結部材26の全長を弾性的に伸長自在とした理由は、前記アジャストリング17を回転させ過ぎる、所謂オーバアジャストを防止する為である。但し、この様な連結部材26の構造及び作用に就いては、従来から広く知られており、本発明の要旨とも関係しないので、詳しい説明は省略する。
【0014】
ところで、上述の様に構成され作用するドラムブレーキ用自動間隙調整装置には、ライニング7、7の摩耗に伴って上記アジャストナット12からの突出量を増大させた上記アジャストボルト15を、上記各ライニング7、7が摩耗する以前の状態(アジャストナット12からの突出量が少ない状態)に戻す、所謂アジャスト解除機構を設ける必要がある。この様なアジャスト解除機構を設ける必要性に就いて、図8により説明する。ドラム10の内周面10aの一部でブレーキシュー4、4を構成するライニング7、7の外周面7a、7aに対向する部分は、長期間に亙る制動の繰り返しに伴って次第に摩耗する。この為、上記内周面10aの一部内径が開口部の内径よりも大きくなる、所謂段付摩耗が発生する。又、上記ドラム10の開口部内周面に錆27が付着し、この開口部の内径が小さくなる場合もある。この様な状態では何れも、摩耗に伴って上記内周面10aとの間の間隙調整を行ったライニング7、7の外径が、非制動時に於いても、上記ドラム10の開口部(段付摩耗等が発生していない部分、或は錆27が付着している部分)の内径よりも大きいままとなる。この様な状態のままでは、上記ドラム10を上記各ライニング7、7の周囲から取り外す事ができず、これら各ライニング7、7の交換作業を行なえない。
【0015】
この為従来から、特開平7−229528号公報、同8−21468号公報、実開昭61−182428号公報、実開平5−36142号公報、実公平2−47779号公報等に記載されている様に、ライニング7、7の周囲にドラム10を装着した状態のまま、アジャストナット12とアジャストボルト15との軸方向に亙る位置関係を、ライニング7、7が摩耗する以前の状態に戻せる様にする、アジャスト解除機構が知られている。これら各公報に記載される等により従来から知られているアジャスト解除機構は、アジャストレバー20に設けた爪部21をアジャストリング17から離す方向に押圧自在としたものである。上記アジャストナット12とアジャストボルト15との位置関係をライニング7、7が摩耗する以前の状態に戻す、アジャスト解除作業時には、上記爪部21と上記アジャストリング17の外周縁に設けた係合歯18との係合を外す。そして、背板1に形成した通孔を通じて上記ドラム10内に挿入した、ドライバ等の工具により、上記アジャストリング17を上記間隙調整時とは逆方向に回転させる。
【0016】
【発明が解決しようとする課題】
従来のアジャスト解除機構の場合には、次の様な問題がある。先ず、特開平7−229528号公報、実公平2−47779号公報に記載されている様に、単に背板1に形成した通孔を通じてドラム10の内側に挿入した工具により、爪部21をアジャストリング17から離しつつ、このアジャストリング17を回転させる構造の場合には、1対の工具を両手で操作する必要がある。この為、限られた空間内で行なわなければならないアジャスト解除作業が面倒である。
【0017】
これに対して、特開平8−21468号公報、実開昭61−182428号公報、実開平5−36142号公報に記載されている様に、アジャスト解除の為に専用の部品を設ける構造の場合には、アジャスト解除作業が容易になる代わりに、部品製作、部品管理、組立作業が何れも面倒で、コストが嵩む原因となる。又、上記専用の部品の支持部が、走行時の振動に伴ってがたつき易く、このがたつきに伴って異音が発生し、かつ接触部が摩耗する可能性がある為、十分な耐久性を確保する事が難しい。しかも、ライニング7、7を交換した後、上記専用の部品を元の位置に戻す事を忘れて、アジャストを解除したままにすると、上記ライニング7、7の摩耗進行に拘らず、これら各ライニング7、7の外周面7a、7aとドラム10の内周面10aとの間隙の調整を行えなくなる。
【0018】
本発明のドラムブレーキ用自動間隙調整装置は、この様な事情に鑑みて発明したもので、アジャスト解除の為に専用の部品を設けずに、片手でのアジャスト解除を可能にし、しかも、仮にライニング交換後に構成部品を元の位置に戻す事を忘れても、アジャストが解除されたままになる事を防止する構造を実現するものである。
【0019】
【課題を解決するための手段】
本発明のドラムブレーキ用自動間隙調整装置は、従来から知られたドラムブレーキ用自動間隙調整装置と同様に、ホイルシリンダと、ピストンと、防塵ブーツと、円孔と、アジャストナットと、アジャストボルトと、アジャストリングと、アジャストレバーと、ブラケットと、連結部材とを備える。
このうちのホイルシリンダは、背板に固定される。
又、上記ピストンは、このホイルシリンダ内に軸方向に亙る変位自在に、且つ、このホイルシリンダの内周面との間に設けたシールリングにより油密に嵌装されて、上記ホイルシリンダ内への圧油の送り込みに伴ってこのホイルシリンダからの突出量を増大させる。 又、上記防塵ブーツは、上記ピストンの先端部外周面と上記ホイルシリンダの開口端部外周面との間に装着されている。
又、上記円孔は、上記ピストンの外端面中心部にその端部を開口させている。
又、上記アジャストナットは、上記円孔内に回転自在に保持され、内周面に雌ねじを有する。
又、上記アジャストボルトは、上記アジャストナットと螺合し、ブレーキシューの端部との係合により回転しない。
又、上記アジャストリングは、上記アジャストナットの外端面に固定され、このアジャストナットと同心である外周縁に係合歯を形成している。
又、上記アジャストレバーは、上記背板に対して固定された部分にその基端部を枢支し、その先端部に形成した爪部を上記係合歯と係合自在としている。
又、上記ブラケットは、上記ピストンの外端部で上記ホイルシリンダから突出した部分の周囲に固定されている。
更に、上記連結部材は、上記ブラケットの一部と上記アジャストレバーの中間部とを結合し、上記突出量の増大に伴って上記アジャストレバーを、上記爪部と係合歯とが係合する方向に揺動させる。
上述の様な各部材を組み合わせて成る、本発明の対象となるドラムブレーキ用自動間隙調整装置は、ブレーキシューのライニングの摩耗に伴って、上記爪部と係合歯との係合に基づき、上記アジャストリングを介して上記アジャストナットが、上記アジャストボルトをこのアジャストナットから外方に押し出す方向に回転する。
【0020】
特に、本発明のドラムブレーキ用自動間隙調整装置に於いては、上記ブラケットは、上記ピストンと共に、このピストンの中心軸を中心とする回転自在に支持している。又、上記ブラケットの一部で上記爪部と対向する部分には、上記ブラケットの回転に伴って上記爪部を上記係合歯から離れる方向に変位させる押圧部を、上記ブラケットの他部で上記背板の一部と対向する部分には操作部を、それぞれ設けている。一方、上記背板の一部でこの操作部と対向する部分には、この操作部を操作して上記ブラケットを揺動変位させる為の工具を挿入自在な通孔を設けている。更に、上記連結部材の両端部は上記ブラケットと上記アジャストレバーの中間部とに、それぞれ揺動変位自在に結合しており、上記爪部と上記係合歯とを係合させた状態で、上記連結部材とピストンの中心軸とを互いに平行にしている。
【0021】
【作用】
上述の様に構成する本発明のドラムブレーキ用自動間隙調整装置が、ライニングの外周面とドラムの内周面との間の間隙を適正値に保つ際の作用自体は、前述した通りである。特に、本発明のドラムブレーキ用自動間隙調整装置の場合には、アジャスト解除の為に専用の部品を設けずに、片手でのアジャスト解除を可能にできる。即ち、アジャスト解除を行なう際には、通孔からドラム内に挿入した工具により操作部を操作し、ブラケットを揺動変位させて、このブラケットに設けた押圧部により、爪部を係合歯から離隔させる。上記ブラケットは、摩擦力によりそのままの状態に保持されるので、上記工具から上記操作部に加えていた力を解除しても、上記爪部と係合歯との係合を外した状態のままに維持できる。そこで、上記通孔又は背板に設けた別の通孔を通じてドラム内に挿入した工具によりアジャストリングを回転させれば、上記アジャスト解除を行なえる。上記ブラケットは、元々ドラムブレーキ用自動間隙調整装置に組み込まれている部材である。本発明は、この様に元々から組み込まれていた部材の形状を工夫する事により、アジャスト解除を行なえる様にしたので、部品製作、部品管理、組立作業が何れも面倒にならずに済む。
【0022】
しかも、本発明のドラムブレーキ用自動間隙調整装置の場合には、仮にブレーキシュー交換後に上記ブラケットを元の位置に戻す事を忘れても、アジャストが解除されたままになる事を防止できる。即ち、上記ブラケットには、連結部材の他端部が揺動自在に連結されており、制動の為にホイルシリンダからピストンを突出させた状態では、上記連結部材から上記ブラケットに引っ張り方向の力が加わる。この力は、上記連結部材を中立状態、即ち、アジャスト解除を行なう為、上記ブラケットを揺動変位させる以前の状態に戻す方向に加わる。この為、仮に上記ブラケットを元の状態に戻す事を忘れても、制動を繰り返す度に上記連結部材から加わる力により、上記ブラケットが次第に元の状態に戻り、自動間隙調整が可能になる。
【0023】
【発明の実施の形態】
図1〜6は、本発明の実施の形態の1例を示している。尚、本発明の特徴は、摩耗したブレーキシュー7、7を交換すべくドラム10(図7〜8)を取り外す際に、アジャストナット12からアジャストボルト15が突出している量を減少させるべく、アジャストリング17を回転自在にする為の部分の構造にある。その他の部分の構造及び作用は前述した通りであるから、重複する説明を省略若しくは簡略にし、以下、本発明の特徴部分を中心に説明する。
【0024】
ピストン3aの端部外周に固定したブラケット24は、このピストン3aと共に、このピストン3aの中心軸x(図4)を中心とする回転自在である。即ち、円筒形の内周面を有するホイルシリンダ2aの内側に円筒形の外周面を有する上記ピストン3aを嵌装し、このピストン3aの基端部(図4の右端部)外周面に係止したシールリング28により、上記両周面同士の間の油密保持を図っている。又、上記ピストン3aの先端部(図1、4の左端部、図3、6の下端部)外周面と上記ホイルシリンダ2aの開口端部外周面との間には防塵ブーツ29を装着して、上記両周面同士の摺動部に、塵芥等の異物が入り込む事を防止している。上記ピストン3a及びこのピストン3aの先端部に固定した上記ブラケット24は、上記シールリング28及び防塵ブーツ29と相手面との間に働く摩擦力に打ち勝つ力が作用した場合に、上記中心軸xを中心に回転する。
【0025】
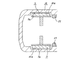
又、上記ブラケット24の一部(図2、5の上下方向中間部左側部)で、アジャストレバー20の先端部に形成した爪部21と対向する部分には、押圧部30を設けている。この押圧部30は、上記爪部21の片面、即ち、背板1及びアジャストリング17と対向する側の面(図1、2、4、5の下面)に対向している。この押圧部30の先端部は、通常時には図2に示す様に上記爪部21の片面と離隔しているが、上記ピストン3aと共に上記ブラケット24を回転させた場合には、図5に示す様に上記爪部21の片面に当接し、この爪部21を上記アジャストリング17の外周縁部に形成した係合歯18から離れる方向に変位させる様にしている。又、上記ブラケット24の他部(図1、2、4、5の下端部)で背板1の一部と対向する部分には、操作部31を設けている。図示の例ではこの操作部31は、上記ブラケット24を構成する金属板の下端部を、このブラケット24の本体部分に対してほぼ直角に折り曲げる事により構成している。
【0026】
一方、上記背板1の一部で上記操作部31と対向する部分には、通孔32を形成している。この通孔32は、ドライバの先端部等、上記操作部31を操作して上記ブラケット24を揺動変位させる為の工具を挿入自在な大きさを有する。更に、制動及び制動解除に伴って上記アジャストレバー20を揺動変位させる為の連結部材26の一端部を、上記アジャストレバー20の中間部基端寄り部分に、連結軸33により、揺動変位自在に結合している。又、上記連結部材26の他端部を、上記ブラケット24の先端部に形成した係止孔34に係止する事により、上記連結部材26の他端部と上記ブラケット24の先端部とを、揺動変位自在に結合している。尚、上記係止孔34は、上記連結部材26の先端部全体を挿通できる大径の円孔部35と、上記連結部材26の先端部近傍に形成したくびれ部37のみが進入自在な切り欠き部36とから成る。又、この切り欠き部36は、上記円孔部35に対して、上記アジャストレバー20の爪部21側に存在する。この様な係止孔34の切り欠き部36には、上記連結部材26の先端部近傍に形成したくびれ部37を進入させて、上記連結部材26の他端部と上記ブラケット24の先端部とを、揺動変位自在に結合する。
【0027】
上述の様に上記連結部材26の両端部を、上記ブラケット24の先端部と上記アジャストレバー20の中間部とに、それぞれ揺動変位自在に結合した状態で、上記連結部材26は、通常時には、図3に示す様に、前記ピストン3aの中心軸xと平行になる。これに対して、上記ピストン3aと共に上記ブラケット24を回転させ、前記押圧部30を図5に示す様に上記爪部21の片面に当接させた状態では、図6に示す様に、上記連結部材26は、上記中心軸xと非平行になる。より具体的には、上記連結部材26の中心軸yが、上記ブラケット24に近づく程上記アジャストレバー20の先端部から離れる方向に傾斜する様にしている。
【0028】
上述の様に構成する本発明のドラムブレーキ用自動間隙調整装置の場合には、アジャスト解除の為に専用の部品を設けずに、片手でのアジャスト解除を可能にできる。アジャスト解除を行なう際には、前記背板1に形成した通孔32からドラム内に挿入した、ドライバ等の工具38により、上記ブラケット24に設けた操作部31を操作する。即ち、図2に示す様に、上記工具38の先端部により上記操作部31の片側縁(図2の右縁)を押し、上記ブラケット24を図2の時計方向に揺動変位させる。そして、図5に示す様に、上記ブラケット24に設けた前記押圧部30により、上記アジャストレバー20の先端部に設けた爪部21を、前記アジャストリング17の外周縁部に形成した係合歯18から離隔させる。上記ブラケット24は、前記シールリング28及び防塵ブーツ29の存在に基づく摩擦力により、そのままの状態に保持される。従って、上記工具38により上記操作部31に加えていた力を解除しても、上記爪部21と係合歯18との係合を外した状態のままに維持できる。そこで、図5に示す様に、上記通孔32を通じてドラム10(図7参照)内に挿入した工具38により上記アジャストリング17を回転させれば、前記アジャストナット12から前記アジャストボルト15が突出している量を減少させ、各ブレーキシュー4、4をリターンスプリング9、9の弾力に基づいてドラム10の内周面10a(図7参照)から離れる方向に変位させて、アジャスト解除を行なえる。
【0029】
上述の様なアジャスト解除を行なえる様にすべく、上記押圧部30及び操作部31を設けた、上記ブラケット24は、元々ドラムブレーキ用自動間隙調整装置に組み込まれている部材である。本発明は、この様に元々から組み込まれている部材である、上記ブラケット24の形状を工夫する事により、アジャスト解除を行なえる様にしたので、部品製作、部品管理、組立作業が何れも面倒にならずに済む。
【0030】
しかも、本発明のドラムブレーキ用自動間隙調整装置の場合には、仮にブレーキシュー4、4を交換した後に上記ブラケット24を元の位置に戻す事を忘れても、アジャストが解除されたままになる事を防止できる。即ち、本来は、ブレーキシュー4、4を交換した後には、図5に鎖線で示す様に工具38の先端部を、上記ブラケット24に設けた操作部31の他側縁(図5の左縁)に引っ掛け、上記ブラケット24を同図の反時計方向に揺動変位させて、このブラケット24を、図2〜3に示した通常位置に戻しておく。この通常位置では、上記ブレーキシュー4、4のライニング7、7の摩耗に伴って自動間隙調整を行なう事は、前述の通りである。
【0031】
これに対して、上記ブラケット24を通常位置に戻す事を忘れた場合には、上記ブラケット24と前記アジャストレバー20との間に掛け渡した前記連結部材26は、図6に示す様に傾斜したままの状態となる。この状態で、制動の為にホイルシリンダ2aからピストン3aを突出させ、上記ブラケット24の端部に、前記中心軸xと平行な方向に作用する力F0 を加えると、上記連結部材26から上記ブラケット24に、引っ張り方向の力F1 が加わる。上記連結部材26が図6に示す様に傾斜した状態で、この力F1 は上記力F0 と非平行である。この為、これら両力F0 、F1 の合力F2 が発生する。そして、この合力F2 は、上記連結部材26を中立位置、即ち、アジャストを行なう為、上記ブラケット24を揺動変位させる以前の状態に戻す方向に加わる。
【0032】
即ち、上記アジャストレバー20は、引っ張りばね23の弾力に基づき、図6に示した位置に留まろうとする方向の弾力が付与されている。従って、上記制動の為にホイルシリンダ2aからピストン3aを突出させると、上記連結部材26には引っ張り方向の力F1 が加わる。そして、この引っ張り方向の力F1 と上記ブラケット24の端部に加わる力F0 との合力F2 が、前記腕部25の先端部を前記爪部21に向かわせる方向に発生し、上記ブラケット24を揺動変位させる以前の状態に戻そうとする。上記合力F2 自体、それ程大きな力ではないが、上記連結部材26が傾斜している限り、制動を繰り返す度に加わる。この為、仮に上記ブラケット24を元の位置に戻す事を忘れても、上記ブラケット24が次第に元の位置に戻り、数回の制動の繰り返しの後には、自動間隙調整が可能になる。尚、図示は省略したが、工具38の先端部を挿入する為、背板1に形成した通孔32は、通常時は、ゴム等の弾性材により造った蓋体により塞いでおく事が好ましい。
【0033】
【発明の効果】
本発明のドラムブレーキ用自動間隙調整装置は、以上に述べた通り構成され作用するので、優れた操作性、耐久性及び信頼性を有し、しかも安価な自動間隙調整装置付ドラムブレーキを実現できる。
【図面の簡単な説明】
【図1】本発明の実施の形態の1例を示す、自動間隙調整装置を組み込んだホイルシリンダの側面図。
【図2】図1の左方から見た図。
【図3】図2の上方から見た図。
【図4】図2のA−A断面図。
【図5】間隙調整する為にアジャストナットからの突出量を増大させたアジャストボルトを戻す為、アジャストリングを回転させる状態を示す、図2と同様の図。
【図6】図5の上方から見た図。
【図7】本発明の対象となる自動間隙調整装置を組み込んだドラムブレーキの1例を示す略正面図。
【図8】アジャストナットからの突出量を増大させたアジャストボルトを戻す必要性を説明する為の、ドラムとブレーキシューとの略断面図。
【符号の説明】
1 背板
2、2a ホイルシリンダ
3、3a ピストン
4 ブレーキシュー
5 ウェブ
6 裏金
7 ライニング
7a 外周面
8 アンカ部
9 リターンスプリング
10 ドラム
10a 内周面
11 円孔
12 アジャストナット
13 段部
14 スラスト滑り軸受
15 アジャストボルト
16 凹溝
17 アジャストリング
18 係合歯
19 枢軸
20 アジャストレバー
21 爪部
22 係止部
23 引っ張りばね
24 ブラケット
25 腕部
26 連結部材
27 錆
28 シールリング
29 防塵ブーツ
30 押圧部
31 操作部
32 通孔
33 連結軸
34 係止孔
35 円孔部
36 切り欠き部
37 くびれ部
38 工具
Claims (1)
- 背板に固定されるホイルシリンダと、このホイルシリンダ内に軸方向に亙る変位自在に、且つ、このホイルシリンダの内周面との間に設けたシールリングにより油密に嵌装されて、上記ホイルシリンダ内への圧油の送り込みに伴ってこのホイルシリンダからの突出量を増大させるピストンと、このピストンの先端部外周面と上記ホイルシリンダの開口端部外周面との間に装着された防塵ブーツと、上記ピストンの外端面中心部にその端部を開口させた円孔と、この円孔内に回転自在に保持された、内周面に雌ねじを有するアジャストナットと、このアジャストナットと螺合し、ブレーキシューの端部との係合により回転しないアジャストボルトと、上記アジャストナットの外端面に固定され、このアジャストナットと同心である外周縁に係合歯を形成したアジャストリングと、上記背板に対して固定された部分にその基端部を枢支し、その先端部に形成した爪部を上記係合歯と係合自在としたアジャストレバーと、上記ピストンの外端部で上記ホイルシリンダから突出した部分の周囲に固定されたブラケットと、このブラケットの一部と上記アジャストレバーの中間部とを結合し、上記突出量の増大に伴って上記アジャストレバーを、上記爪部と係合歯とが係合する方向に揺動させる連結部材とを備え、これら爪部と係合歯との係合に基づき、上記アジャストリングを介して上記アジャストナットが、上記アジャストボルトをこのアジャストナットから外方に押し出す方向に回転するドラムブレーキ用自動間隙調整装置に於いて、上記ブラケットは、上記ピストンと共に、このピストンの中心軸を中心とする回転自在に支持されており、上記ブラケットの一部で上記爪部と対向する部分には、上記ブラケットの回転に伴って上記爪部を上記係合歯から離れる方向に変位させる押圧部が設けられており、上記ブラケットの他部で上記背板の一部と対向する部分には操作部が設けられており、上記背板の一部でこの操作部と対向する部分には、この操作部を操作して上記ブラケットを揺動変位させる為の工具を挿入自在な通孔が設けられており、上記連結部材の両端部は上記ブラケットと上記アジャストレバーの中間部とに、それぞれ揺動変位自在に結合しており、上記爪部と上記係合歯とを係合させた状態で、上記連結部材とピストンの中心軸とを互いに平行にしている事を特徴とするドラムブレーキ用自動間隙調整装置。
Priority Applications (1)
| Application Number | Priority Date | Filing Date | Title |
|---|---|---|---|
| JP18618897A JP3901289B2 (ja) | 1997-07-11 | 1997-07-11 | ドラムブレーキ用自動間隙調整装置 |
Applications Claiming Priority (1)
| Application Number | Priority Date | Filing Date | Title |
|---|---|---|---|
| JP18618897A JP3901289B2 (ja) | 1997-07-11 | 1997-07-11 | ドラムブレーキ用自動間隙調整装置 |
Publications (3)
| Publication Number | Publication Date |
|---|---|
| JPH1130259A JPH1130259A (ja) | 1999-02-02 |
| JPH1130259A5 JPH1130259A5 (ja) | 2005-03-03 |
| JP3901289B2 true JP3901289B2 (ja) | 2007-04-04 |
Family
ID=16183939
Family Applications (1)
| Application Number | Title | Priority Date | Filing Date |
|---|---|---|---|
| JP18618897A Expired - Fee Related JP3901289B2 (ja) | 1997-07-11 | 1997-07-11 | ドラムブレーキ用自動間隙調整装置 |
Country Status (1)
| Country | Link |
|---|---|
| JP (1) | JP3901289B2 (ja) |
Families Citing this family (1)
| Publication number | Priority date | Publication date | Assignee | Title |
|---|---|---|---|---|
| JP4512868B2 (ja) * | 2004-03-31 | 2010-07-28 | 日立オートモティブシステムズ株式会社 | 電動ブレーキ装置 |
-
1997
- 1997-07-11 JP JP18618897A patent/JP3901289B2/ja not_active Expired - Fee Related
Also Published As
| Publication number | Publication date |
|---|---|
| JPH1130259A (ja) | 1999-02-02 |
Similar Documents
| Publication | Publication Date | Title |
|---|---|---|
| EP0258625B1 (en) | S cam for drum brake | |
| US6196360B1 (en) | Automatic shoe clearance adjustment device for drum brakes | |
| JP3901289B2 (ja) | ドラムブレーキ用自動間隙調整装置 | |
| JPS6073141A (ja) | デイスクブレ−キ用の制動ピストン成形方法 | |
| US5538112A (en) | Parking and emergancy brake actuating lever for drum brake assembly | |
| JP3822953B2 (ja) | ディスクブレーキ装置のアジャスタ | |
| JP4672130B2 (ja) | シュー間隙自動調節機構付きドラムブレーキ | |
| JPH11182593A (ja) | デュオサーボ型ドラムブレーキ装置 | |
| JP3793511B2 (ja) | 駐車ブレーキ機構付きディスクブレーキ装置 | |
| JP2590426Y2 (ja) | ドラムブレーキ用自動間隙調整装置 | |
| JPH11351288A (ja) | ドラムブレーキ装置 | |
| JP3940483B2 (ja) | ドラムブレーキ用自動間隙調整装置 | |
| JP3350796B2 (ja) | ドラムブレーキ装置 | |
| JP3999680B2 (ja) | 駐車ブレーキ機構付きディスクブレーキ装置 | |
| JP2548278Y2 (ja) | 自動間隙調整装置付ブレーキシリンダ | |
| WO2023223492A1 (ja) | ドラムブレーキ装置 | |
| JPS6325392Y2 (ja) | ||
| JPS645137Y2 (ja) | ||
| JPH017874Y2 (ja) | ||
| JP2000097268A (ja) | ドラムブレーキ装置 | |
| EP0531496B1 (en) | Drum brake actuator | |
| JPH0732239U (ja) | ドラムブレーキ用自動間隙調整装置 | |
| KR100483366B1 (ko) | 자동차용 오토 슬랙 어져스터 | |
| JPH0129297Y2 (ja) | ||
| JP2002295553A (ja) | 車両用ドラムブレーキ |
Legal Events
| Date | Code | Title | Description |
|---|---|---|---|
| A521 | Written amendment |
Free format text: JAPANESE INTERMEDIATE CODE: A523 Effective date: 20040401 |
|
| A621 | Written request for application examination |
Free format text: JAPANESE INTERMEDIATE CODE: A621 Effective date: 20040401 |
|
| A977 | Report on retrieval |
Free format text: JAPANESE INTERMEDIATE CODE: A971007 Effective date: 20060623 |
|
| A131 | Notification of reasons for refusal |
Free format text: JAPANESE INTERMEDIATE CODE: A131 Effective date: 20060627 |
|
| A521 | Written amendment |
Free format text: JAPANESE INTERMEDIATE CODE: A523 Effective date: 20060825 |
|
| TRDD | Decision of grant or rejection written | ||
| A01 | Written decision to grant a patent or to grant a registration (utility model) |
Free format text: JAPANESE INTERMEDIATE CODE: A01 Effective date: 20061226 |
|
| A61 | First payment of annual fees (during grant procedure) |
Free format text: JAPANESE INTERMEDIATE CODE: A61 Effective date: 20061226 |
|
| R150 | Certificate of patent or registration of utility model |
Free format text: JAPANESE INTERMEDIATE CODE: R150 |
|
| FPAY | Renewal fee payment (event date is renewal date of database) |
Free format text: PAYMENT UNTIL: 20140112 Year of fee payment: 7 |
|
| R250 | Receipt of annual fees |
Free format text: JAPANESE INTERMEDIATE CODE: R250 |
|
| R250 | Receipt of annual fees |
Free format text: JAPANESE INTERMEDIATE CODE: R250 |
|
| LAPS | Cancellation because of no payment of annual fees |