JP3856397B2 - 半導体製造装置のウェーハ処理方法及び半導体製造装置 - Google Patents
半導体製造装置のウェーハ処理方法及び半導体製造装置 Download PDFInfo
- Publication number
- JP3856397B2 JP3856397B2 JP18096894A JP18096894A JP3856397B2 JP 3856397 B2 JP3856397 B2 JP 3856397B2 JP 18096894 A JP18096894 A JP 18096894A JP 18096894 A JP18096894 A JP 18096894A JP 3856397 B2 JP3856397 B2 JP 3856397B2
- Authority
- JP
- Japan
- Prior art keywords
- reaction chamber
- exhaust pipe
- gas
- main exhaust
- inert gas
- Prior art date
- Legal status (The legal status is an assumption and is not a legal conclusion. Google has not performed a legal analysis and makes no representation as to the accuracy of the status listed.)
- Expired - Lifetime
Links
Images
Description
【産業上の利用分野】
本発明は半導体製造装置の1つである減圧CVD(Chemical Vapor Deposition)装置に於ける、特に反応室内の汚染を防止する方法、及びその装置に関するものである。
【0002】
【従来の技術】
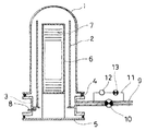
図1に於いて、縦型CVD装置について説明する。
【0003】
図示しないヒータの内部に外部反応管1が設けられ、該外部反応管1の内部にには上端が開放された内部反応管2が同心状に配設され、前記外部反応管1、内部反応管2は炉口フランジ3上に立設され、前記外部反応管1と炉口フランジ3間はOリング4によりシールされている。前記炉口フランジ3の下端はシールキャップ5により気密に閉塞され、該シールキャップ5にボート6が立設される。該ボート6には処理されるウェーハ7が水平姿勢で多段に装填される。
【0004】
前記炉口フランジ3の前記内部反応管2下方の位置にガス導入ノズル8が連通され、又前記外部反応管1と内部反応管2との間に形成される円筒状の空間下端に連通する様、排気管9が前記炉口フランジ3に接続されている。
【0005】
前記排気管9には主排気弁10が設けられ、該主排気弁10の上流下流に接続され該主排気弁10をバイパスする副排気管11が設けられ、該副排気管11には上流側より流量制御弁12、副排気弁13が設けられている。
【0006】
図示しないボートエレベータにより前記シールキャップ5を介して前記ボート6を下降させ、該ボート6にウェーハ7を装填し、前記ボートエレベータによりボート6を前記内部反応管2内に装入する。前記シールキャップ5が炉口フランジ3下端を完全に密閉した後、前記主排気弁10を介して外部反応管1内(反応室内)を排気する。
【0007】
前記ガス導入ノズル8から反応ガスを導入し、内部反応管2内を500℃以上の一定温度に加熱し、前記ウェーハ7表面に成膜する。成膜完了後前記ガス導入ノズル8から不活性ガスを導入し、前記外部反応管1内を不活性ガスに置換して常圧に復帰させ、前記ボート6を下降させ、該ボート6からウェーハ7を払出す。尚、前記ボート6の装入引出し時には、前記主排気弁10、副排気弁13は閉じてある。
【0008】
前記外部反応管1内の真空引き方法としては、最初に主排気弁10を閉じた状態で副排気弁13を開き、副排気管11を経て吸引排気して減圧し、次に外部反応管1内が10torr又は1330pa以下となると、前記副排気弁13を閉じて前記主排気弁10を開き、外部反応管1内を所定の到達真空度付近迄排気減圧する。
【0009】
尚、前記排気過程で最初副排気管11で排気するのは、徐々に減圧して外部反応管1内のボート6、ウェーハ7のズレ、振動発生を防止する為である。
【0010】
【発明が解決しようとする課題】
上記従来のものでは、前記シールキャップ5が下降し、前記炉口フランジ3が開放されている時は、炉口フランジ3の周囲より室温近い外気が高温の反応室内に入込み、反応室から排気管9に掛けて乱流が生じる。
【0011】
この為、排気管9の連通箇所近傍の不純物を含んだ気相が反応室内に逆流し、不純物及びパーティクルがウェーハ表面に付着し、製品の歩留まりを低下させる。
【0012】
本発明は斯かる実情に鑑み、ウェーハ上へのパーティクルの付着を解決し、製品の歩留まりを向上させようとするものである。
【0013】
【課題を解決するための手段】
本発明は、反応室に連通する主排気管を用いて前記反応室内を排気して該反応室内のウェーハを成膜処理した後、前記反応室内を不活性ガスに置換して常圧とし、前記反応室が開放されている状態で、該反応室内に不活性ガスを供給すると共に前記主排気管の主排気弁を閉じ前記主排気管に設けられた副排気管を通して前記反応室内のガスを、排気流量が10l/min〜30l/min未満で排気する半導体製造装置のウェーハ処理方法に係り、又前記不活性ガスを供給する供給量が排気ラインにより排気する排気量よりも多い半導体製造装置のウェーハ処理方法に係るものである。
又本発明は、反応室に連通され該反応室内を排気する主排気管と、該主排気管に設けられた副排気管と、該副排気管に設けられた流量制御弁と、前記反応室内に反応ガスを導入するガス導入ノズルとを具備し、前記主排気管を用いて前記反応室内を排気して該反応室内のウェーハを成膜処理した後、前記ガス導入ノズルより不活性ガスを供給して前記反応室内を不活性ガスに置換して常圧とし、前記反応室が開放されている状態で、前記ガス導入ノズルより不活性ガスを供給しつつ、前記主排気管の主排気弁を閉じ前記主排気管に設けられた副排気管を通して前記流量制御弁により前記反応室内のガスを排気流量が10l/min〜30l/min未満で排気する様構成した半導体製造装置に係るものである。
【0014】
【作用】
反応室開放時にガス導入側から排気側に向かって気流を形成し、排気側からの逆拡散、開口部からの外気の流入を抑止する。
【0015】
【実施例】
以下、図面を参照しつつ本発明の一実施例を説明する。
【0016】
先ず、図1で示した縦型CVD装置に本発明を実施した例を説明する。
【0017】
ウェーハ7の処理が完了し、ガス導入ノズル8より不活性ガス例えば窒素ガス、ヘリウムガス、アルゴンガスを導入し、ガス置換を行い、外部反応管1内を常圧とする。
【0018】
シールキャップ5を降下させ、炉口フランジ3下端を開口する。前記ガス導入ノズル8より不活性ガスを流し続け、前記主排気弁10を閉じ、前記副排気弁13を開き、前記副排気管11を通して外部反応管1内のガスを少しずつ排気する。この時の排気流量は前記流量制御弁12により制御する。
【0019】
前記導入する不活性ガスの流量は、好ましくは5〜20l/min 、前記流量制御弁12の排気流量は、好ましくは10〜20l/min 程度とする。又、排気流量を30l/min 以上とすることも可能であるが、この場合排気管が排気ガスの廃熱の為高温となる可能性があるので、高温となる条件では排気管に冷却機構を設ける。
【0020】
又、上記した不活性ガス導入流量は、経済的な好適値を示したものであり、排気流量に対して多い分には差支えない。
【0021】
前記ガス導入ノズル8から不活性ガスを導入しつつ、前記副排気管11から排気することで外部反応管1側から排気管9側に気流が形成され、排気側からの逆拡散が抑止され、又前記炉口フランジ3からの外気の巻込みを抑止でき内部反応管2内の汚染が防止される。
【0022】
尚、前記流量制御弁12は手動の流量調整弁でも、自動圧力制御器例えばAPCバルブ、自動流量制御器例えばマスフローコントローラ等であってもよい。
【0023】
表1に於いて、排気流量を変化させた場合の反応室下部に位置するウェーハ7へ付着するパーティクルの数の変化を示す。
【0024】
【表1】
【0025】
図2は他の実施例を示すものであり、図1で示したものに更に第2副排気管14を設けたものである。図2中に於いて、図1中で示したものと同一のものには同符号を付してその説明を省略する。
【0026】
副排気管11とは別に主排気弁10の上流下流に接続され、該主排気弁10をバイパスする第2副排気管14が設けられ、該第2副排気管14には上流側より手動の流量調整弁15、開閉弁16が設けられている。前記流量調整弁15は開度を予め設定し、固定とする。
【0027】
該実施例に於いて、外部反応管1(反応室)が閉塞され、内部を真空引きする時には副排気管11のラインでスロー排気を行い、反応室が開放されている状態で不活性ガスを導入する場合には、前記第2副排気管14のラインで排気を行う。
【0028】
本実施例に於いては、置換時の排気流量と、開放時の汚染防止時の排気流量をそれぞれ最適な値に設定できるので効果的であり、而も流量調整弁15は手動式でよいので安価である。
【0029】
尚、上記実施例では縦型CVD装置について説明したが同様に横型装置についても実施できることは言う迄もない。
【0030】
【発明の効果】
以上述べた如く本発明によれば、反応室が開放された状態でのウェーハへの不純物の付着、パーティクルの付着がなくなり、更に表1で見られる様に0.14μ以下のパーティクルについても付着を効果的に防ぐことができる。
【図面の簡単な説明】
【図1】本実施例に係る縦型CVD装置の説明図である。
【図2】本実施例に係る縦型CVD装置の説明図である。
【符号の説明】
1 外部反応管
2 内部反応管
5 シールキャップ
6 ボート
7 ウェーハ
8 ガス導入ノズル
9 排気管
10 主排気弁
11 副排気管
12 流量制御弁
13 副排気弁
Claims (3)
- 反応室に連通する主排気管を用いて前記反応室内を排気して該反応室内のウェーハを成膜処理した後、前記反応室内を不活性ガスに置換して常圧とし、前記反応室が開放されている状態で、該反応室内に不活性ガスを供給すると共に前記主排気管の主排気弁を閉じ前記主排気管に設けられた副排気管を通して前記反応室内のガスを、排気流量が10l/min〜30l/min未満で排気することを特徴とする半導体製造装置のウェーハ処理方法。
- 前記不活性ガスを供給する供給量が排気ラインにより排気する排気量よりも多い請求項1の半導体製造装置のウェーハ処理方法。
- 反応室に連通され該反応室内を排気する主排気管と、該主排気管に設けられた副排気管と、該副排気管に設けられた流量制御弁と、前記反応室内に反応ガスを導入するガス導入ノズルとを具備し、前記主排気管を用いて前記反応室内を排気して該反応室内のウェーハを成膜処理した後、前記ガス導入ノズルより不活性ガスを供給して前記反応室内を不活性ガスに置換して常圧とし、前記反応室が開放されている状態で、前記ガス導入ノズルより不活性ガスを供給しつつ、前記主排気管の主排気弁を閉じ前記主排気管に設けられた副排気管を通して前記流量制御弁により前記反応室内のガスを排気流量が10l/min〜30l/min未満で排気する様構成したことを特徴とする半導体製造装置。
Priority Applications (1)
| Application Number | Priority Date | Filing Date | Title |
|---|---|---|---|
| JP18096894A JP3856397B2 (ja) | 1994-07-08 | 1994-07-08 | 半導体製造装置のウェーハ処理方法及び半導体製造装置 |
Applications Claiming Priority (1)
| Application Number | Priority Date | Filing Date | Title |
|---|---|---|---|
| JP18096894A JP3856397B2 (ja) | 1994-07-08 | 1994-07-08 | 半導体製造装置のウェーハ処理方法及び半導体製造装置 |
Publications (2)
| Publication Number | Publication Date |
|---|---|
| JPH0831743A JPH0831743A (ja) | 1996-02-02 |
| JP3856397B2 true JP3856397B2 (ja) | 2006-12-13 |
Family
ID=16092434
Family Applications (1)
| Application Number | Title | Priority Date | Filing Date |
|---|---|---|---|
| JP18096894A Expired - Lifetime JP3856397B2 (ja) | 1994-07-08 | 1994-07-08 | 半導体製造装置のウェーハ処理方法及び半導体製造装置 |
Country Status (1)
| Country | Link |
|---|---|
| JP (1) | JP3856397B2 (ja) |
Families Citing this family (6)
| Publication number | Priority date | Publication date | Assignee | Title |
|---|---|---|---|---|
| JP3270730B2 (ja) * | 1997-03-21 | 2002-04-02 | 株式会社日立国際電気 | 基板処理装置及び基板処理方法 |
| JP3670524B2 (ja) | 1998-09-11 | 2005-07-13 | 株式会社日立国際電気 | 半導体装置の製造方法 |
| US6572924B1 (en) * | 1999-11-18 | 2003-06-03 | Asm America, Inc. | Exhaust system for vapor deposition reactor and method of using the same |
| KR100802990B1 (ko) | 2003-11-20 | 2008-02-14 | 가부시키가이샤 히다치 고쿠사이 덴키 | 반도체장치의 제조 방법 및 기판처리장치 |
| JP4675388B2 (ja) * | 2008-03-06 | 2011-04-20 | 東京エレクトロン株式会社 | 被処理体の処理装置 |
| CN114152322B (zh) * | 2021-12-06 | 2022-12-30 | 中国科学院光电技术研究所 | 一种化学气相沉积液体源材料的监测装置 |
-
1994
- 1994-07-08 JP JP18096894A patent/JP3856397B2/ja not_active Expired - Lifetime
Also Published As
| Publication number | Publication date |
|---|---|
| JPH0831743A (ja) | 1996-02-02 |
Similar Documents
| Publication | Publication Date | Title |
|---|---|---|
| US7022298B2 (en) | Exhaust apparatus for process apparatus and method of removing impurity gas | |
| KR100257305B1 (ko) | 열처리장치 및 그의 크리닝 방법 | |
| US7156923B2 (en) | Silicon nitride film forming method, silicon nitride film forming system and silicon nitride film forming system precleaning method | |
| US20120034788A1 (en) | Substrate processing apparatus and producing method of semiconductor device | |
| JP3856397B2 (ja) | 半導体製造装置のウェーハ処理方法及び半導体製造装置 | |
| JP2772835B2 (ja) | 基板処理装置及び真空処理方法 | |
| JP4677088B2 (ja) | グラファイトナノファイバー薄膜形成用熱cvd装置 | |
| JP3729578B2 (ja) | 半導体製造方法 | |
| JP4717495B2 (ja) | 基板処理システム | |
| JP3374256B2 (ja) | 熱処理装置及びそのクリーニング方法 | |
| JP2597245B2 (ja) | Cvd装置のための排気装置 | |
| JP3690095B2 (ja) | 成膜方法 | |
| JP3844999B2 (ja) | 基板処理方法 | |
| JP2001060555A (ja) | 基板処理方法 | |
| JP3309910B2 (ja) | 半導体製造装置 | |
| JP3058655B2 (ja) | ウェーハ拡散処理方法及びウェーハ熱処理方法 | |
| WO2001033616A1 (en) | Method and apparatus for thin film deposition | |
| JP2008103388A (ja) | 半導体製造装置 | |
| JP2004241566A (ja) | 基板処理装置 | |
| JP2006108595A (ja) | 半導体装置の製造方法 | |
| JP3569376B2 (ja) | 半導体装置の製造方法 | |
| JPH02107775A (ja) | 処理装置及びその排気方法 | |
| JP2919801B2 (ja) | 膜の形成方法 | |
| JP2005197541A (ja) | 基板処理装置 | |
| JP2005064538A (ja) | 基板処理装置及び半導体デバイスの製造方法 |
Legal Events
| Date | Code | Title | Description |
|---|---|---|---|
| A02 | Decision of refusal |
Free format text: JAPANESE INTERMEDIATE CODE: A02 Effective date: 20041012 |
|
| A521 | Written amendment |
Free format text: JAPANESE INTERMEDIATE CODE: A523 Effective date: 20041209 |
|
| A911 | Transfer of reconsideration by examiner before appeal (zenchi) |
Free format text: JAPANESE INTERMEDIATE CODE: A911 Effective date: 20041216 |
|
| A912 | Removal of reconsideration by examiner before appeal (zenchi) |
Free format text: JAPANESE INTERMEDIATE CODE: A912 Effective date: 20050114 |
|
| A521 | Written amendment |
Free format text: JAPANESE INTERMEDIATE CODE: A523 Effective date: 20060707 |
|
| A61 | First payment of annual fees (during grant procedure) |
Free format text: JAPANESE INTERMEDIATE CODE: A61 Effective date: 20060911 |
|
| R150 | Certificate of patent or registration of utility model |
Free format text: JAPANESE INTERMEDIATE CODE: R150 |
|
| FPAY | Renewal fee payment (event date is renewal date of database) |
Free format text: PAYMENT UNTIL: 20100922 Year of fee payment: 4 |
|
| FPAY | Renewal fee payment (event date is renewal date of database) |
Free format text: PAYMENT UNTIL: 20110922 Year of fee payment: 5 |
|
| FPAY | Renewal fee payment (event date is renewal date of database) |
Free format text: PAYMENT UNTIL: 20120922 Year of fee payment: 6 |
|
| FPAY | Renewal fee payment (event date is renewal date of database) |
Free format text: PAYMENT UNTIL: 20130922 Year of fee payment: 7 |
|
| FPAY | Renewal fee payment (event date is renewal date of database) |
Free format text: PAYMENT UNTIL: 20140922 Year of fee payment: 8 |
|
| EXPY | Cancellation because of completion of term |
