JP3772634B2 - 化粧シート - Google Patents
化粧シート Download PDFInfo
- Publication number
- JP3772634B2 JP3772634B2 JP2000082514A JP2000082514A JP3772634B2 JP 3772634 B2 JP3772634 B2 JP 3772634B2 JP 2000082514 A JP2000082514 A JP 2000082514A JP 2000082514 A JP2000082514 A JP 2000082514A JP 3772634 B2 JP3772634 B2 JP 3772634B2
- Authority
- JP
- Japan
- Prior art keywords
- layer
- sheet
- transparent resin
- decorative sheet
- resin layer
- Prior art date
- Legal status (The legal status is an assumption and is not a legal conclusion. Google has not performed a legal analysis and makes no representation as to the accuracy of the status listed.)
- Expired - Fee Related
Links
Images
Landscapes
- Manufacture Of Macromolecular Shaped Articles (AREA)
- Laminated Bodies (AREA)
Description
【発明の属する技術分野】
本発明は建築内装材、建具の表面、家電品の表面材等に用いられる化粧シートに関するもので、木質ボード類、無機系ボード類、金属板等に貼り合わせて化粧板として用いられる化粧シートに関する。
【0002】
【従来の技術】
近年、ポリ塩化ビニル製の化粧シートに替わる化粧シートとして、オレフィン系樹脂を使用した化粧シートが数多く提案されている(例えば特開平2−128843号、特開平4−83664号、特開平6−1881号、特開平6−198831号、特開平9−328562号等)。
【0003】
しかし、これらの方法では塩化ビニル樹脂を使用しないことにより、焼却時の有毒ガス等の発生は無くなるが、一般的なポリプロピレンシートもしくは軟質ポリプロピレンシートを使用しているため表面の耐傷付き性が悪く、従来のポリ塩化ビニル化粧シートの表面傷付き性からはるかに劣っているものであった。
【0004】
本発明者らは、曲げ初期弾性率が10000kgf/cm2 以上である高結晶性ポリプロピレンを検討し、傷付き性で優れた利点を見いだしたが、後加工でVカット等を行った場合、フィルムの破断や外周部の割れが生じることがあった。また、製膜性の改良の目的でポリエチレンを5%以上添加したものは、ポリエチレンとポリプロピレンの相溶性が悪いため、Vカットを行ったときに白化も生じることがあった。
【0005】
これに対して、さらに本発明者らは曲げ初期弾性率が10000kgf/cm2 以上22000kgf/cm2 以下、引張破断伸びが200%以上、且つ分子量分布MWDが4以下の高結晶化ポリプロピレン樹脂90〜100重量%にて主として構成される樹脂組成物による透明樹脂層を少なくとも具備してなり、且つ総厚が80μm以上250μm以下の化粧シートによって大幅にVカット適性を改善し、表面傷付き性との両立を成し遂げたが、低温環境下、高速折り曲げ時などの条件においては透明樹脂層の白化や破断が問題になることがあった。また、浅い傷でも傷部が白化によって目立つといった欠点が見られることもあった。
【0006】
【発明が解決しようとする課題】
本発明の課題とするところは、耐傷付き性に優れ、しかもVカット加工時に破断や白化などを発生することのない化粧シートを提供することにある。
【0007】
【課題を解決するための手段】
本発明の請求項1に係る発明は、ペンタッド分率が96%以上、MFR(メルトフローレート)が5g/10min(230℃)以上、40g/10min(230℃)以下、分子量分布MWD(Mw/Mn)が4以下の高結晶化ポリプロピレン樹脂90〜100重量%によって主に構成される樹脂組成物による透明樹脂層を少なくとも具備してなり、且つこの透明樹脂層のポリプロピレン樹脂の球晶の平均粒径が1μm以上20μm以下であることを特徴とする化粧シートである。
【0008】
また、本発明の請求項2に係る発明は、上記請求項1に係る発明の化粧シートにおいて、化粧シートの総厚が80μm以上250μm以下であることを特徴とする化粧シートである。尚、本発明において透明とは半透明を包含するものとする。
【0009】
【発明の実施の形態】
本発明の化粧シートは、透明樹脂層を少なくとも具備する化粧シートであり、該透明樹脂層を構成する樹脂組成物が、ペンタッド分率(mmmm分率)96%以上、より好ましくは97%以上、MFR(メルトフローレート)が5g/10min(230℃)以上、40g/10min(230℃)以下、より好ましくは10g/10min(230℃)以上、20g/10min(230℃)以下であり、分子量分布MWD(Mw/Mn)が4以下、より好ましくは3以下の高結晶化ポリプロピレン樹脂90〜100重量%により構成され、且つこの透明樹脂層のポリプロピレン樹脂の球晶の平均粒径が1μm以上20μm以下、より好ましくは1μm以上10μm以下であり、さらに総厚が80μm以上、250μm以下、より好ましくは100μm以上、160μm以下であることが重要である。
【0010】
なお、上記ペンタッド分率(mmmm分率)とは、質量13の炭素C(核種)を用いた13C−NMR測定法(核磁気共鳴測定法)により、上記透明樹脂層を構成する樹脂組成物を所定の共鳴周波数にて共鳴させて得られる数値(電磁波吸収率)から算出されるものであり、樹脂組成物中の原子配置、電子構造、分子の微細構造を規定するものであり、ポリプロピレン樹脂のペンタッド分率とは、13CーNMRにより求めたプロピレン単位が5個並んだ割合のことであって、結晶化度あるいは立体規則性の尺度として用いられる。
【0011】
本発明においてペンタッド分率は、主に表面の傷付き性について重要であり、基本的にはペンタッド分率が高いほどシートの結晶化度が高くなるため、傷付き性が向上する。しかし結晶化度が高いことによってVカット時にクラックやボイドがシート内に発生しやすくなるため、高結晶化ポリプロピレンをVカット可能な化粧シートに用いる場合は、分子量分布MWD(Mw/Mn)、MFR、及び球晶のサイズをコントロールする必要がある。
【0012】
高結晶ポリプロピレンをVカット可能な化粧シートに用いたとき、Vカット時にシートは下降伏点での伸びを示すが、シートが伸びる際に球晶が塑性変形をすることが重要であり、球晶が脆性破壊をしたり、界面破壊をしたりするとVカット部の白化や破断などの不良をおこす原因となる。ここで球晶を塑性変形させるには隣り合うラメラ同士が伸びに追従してずれていくことが重要であるが、MWDが大きい、MFRが小さいといった要因はラメラ間の帯分子による拘束力を強め、ずれを阻害するためVカット不良の原因となる。
また、核剤の添加などにより球晶のサイズが1μmを下回ったり、また徐冷により球晶サイズが20μmを超えるようになると、球晶間の界面破壊や球晶の脆性破壊によるクラック、ボイドによりVカット不良をおこす原因となる。
【0013】
本発明によるMWD、MFR、及び球晶の範囲において樹脂の設計を行うと、極めてペンタッド分率の高い高結晶化ポリプロピレンにおいても、エージング条件、再加熱、加工条件などに関わらず極めて安定してVカット加工が可能なことが確認できた。
【0014】
上記高結晶性ポリプロピレンはプロピレンの単独重合体すなわちホモポリマーである。尚、本発明において高結晶性ポリプロピレンとは、ペンタッド分率が95%以上のポリプロピレンを指す。
【0015】
また、透明樹脂層を構成する高結晶化ポリプロピレン以外の樹脂は、高結晶化ポリプロピレンの物性に著しく悪影響を与えないならば、その配合の目的によって適宜選定が可能である。但し、Vカット適性を維持するためには透明樹脂層を構成する高結晶化ポリプロピレン樹脂との相溶性が良いものが好ましい。
【0016】
以下に本発明による高結晶性ポリプロピレンを用いた化粧シートの構成の具体例を図に従って詳細に説明する。
【0017】
図1は本発明に係わる透明樹脂層を用いた単層化粧シートの一例であり、必要に応じて片面又は両面をコロナ処理、プラズマ処理、電子線処理、紫外線処理、重クロム酸処理等で活性にした透明樹脂層1(シート)の一方の面に、絵柄層2及び隠蔽層3を設け、該透明樹脂層1の反対の面に、トップコート層4を設けた構成の化粧シートである。尚、隠蔽層3の基材(上記化粧シートが貼り合わせられる木質ボード類、無機系ボード類、金属板等の基材)に対する接着性に問題があれば、重ねてプライマー層5を適宜設けてもかまわない。また、意匠性を向上させるためにトップコート層4側の透明樹脂層1面にエンボス模様1aを適宜設けてもよい。
【0018】
図1の構成のエンボス模様1aは、透明樹脂層1としての例えば高結晶性ポリプロピレンシートに直接付与されるもので、その方法は製膜された前記シートに熱及び圧力により凹凸模様を有するエンボス版を用いてエンボス模様を付与する方法や、押出機を用いて製膜する際に凹凸模様を有する冷却ロールを用いて冷却と同時にエンボスを設ける方法などがある。ここではエンボス部としてのエンボス模様1aにインキを埋め込み、さらに意匠性を向上させることも可能である。
【0019】
高結晶性ポリプロピレンシートよりなる透明樹脂層1のシートの成形方法は特に製膜できれば問題なく、規定されるものでは無いが、押出機を用いる方法が最も一般的である。
【0020】
図1において絵柄層2、隠蔽層3を設ける方法としては、高結晶性ポリプロピレンシート1に、直接グラビア印刷、オフセット印刷、スクリーン印刷、フレキソ印刷、静電印刷、インキジェット印刷等による方法がある。また、特に隠蔽層3を施す場合は、コンマコーター、ナイフコーター、リップコーター、金属蒸着あるいはスパッタ法等を用いてもよい。
【0021】
トップコート層4を設ける方法も隠蔽層3や絵柄層2等を設ける方法と同様で何ら規定されるものではない。
【0022】
ここで使用される高結晶性ポリプロピレンシートによる透明樹脂層1には、必要に応じて熱安定剤、難燃剤、紫外線吸収剤、光安定剤、ブロッキング防止剤、触媒捕捉剤、透明性を維持する範囲での着色剤、半透明化のための光散乱剤、艶調整剤等を添加することもできる。
熱安定剤としては、フェノール系、硫黄系、リン系、ヒドラジン系等、難燃剤としては、水酸化アルミニウム、水酸化マグネシウム等、紫外線吸収剤としては、ベンゾトリアゾール系、ベンゾエート系、ベンゾフェノン系、トリアジン系等、光安定剤としては、ヒンダードアミン系等を、任意の組み合わせで添加するのが一般的である。特に、本用途に用いる場合は耐候性を考慮する必要があり、紫外線吸収剤と光安定剤は必須となり、添加量はそれぞれ透明樹脂層1を100重量%として、0.1〜1.0重量%が適量である。
【0023】
絵柄層2にインキを使用する場合は、バインダーとしては、硝化綿、セルロース、塩化ビニルー酢酸ビニル共重合体、ポリビニルブチラール、ポリウレタン、アクリル、ポリエステル系等の単独もしくは各変性物の中から適宜選定すればよい。これらは水性、溶剤系、エマルジョンタイプのいずれでも問題なく、また1液タイプでも硬化剤を使用した2液タイプでも任意に選定可能である。さらに紫外線や電子線等の照射によりインキを硬化させることも可能である。
中でも最も一般的な方法は、ウレタン系のインキでイソシアネートで硬化させる方法である。これらバインダー以外には通常のインキに含まれている顔料、染料等の着色剤、体質顔料、溶剤、各種添加剤が添加されている。特によく用いられる顔料には、縮合アゾ、不溶性アゾ、キナクリドン、イソインドリン、アンスラキノン、イミダゾロン、コバルト、フタロシアニン、カーボン、酸化チタン、酸化鉄、雲母等のパール顔料等がある。また、インキの塗布とは別に各種金属の蒸着やスパッタリングで意匠を施すことも可能である。
【0024】
隠蔽層3に使用される材料も基本的には絵柄層2と同じものでよいが、目的として隠蔽性を持たせる必要があるために、顔料としては不透明な顔料、酸化チタン、酸化鉄等を使用する。また隠蔽性を上げるために金、銀、銅、アルミ等の金属を添加することも可能である。一般的にはフレーク状のアルミを添加させることが多い。塗布厚みは、2μm以下では隠蔽性を付与しにくく、10μm以上では樹脂層の凝集力が弱くなるため2μm〜10μmが妥当である。
【0025】
トップコート層4に使用される材料も特に規定されるものではないが、ポリウレタン系、アクリル系、アクリルシリコン系、フッソ系、エポキシ系、ビニル系、ポリエステル系、メラミン系、アミノアルキッド系、尿素系等から適宜選択できる。形態も水性、エマルジョン、溶剤系いずれでも可能で、且つ硬化も1液タイプでも硬化剤を用いた2液タイプでも良い。中でもイソシアネート反応を利用したウレタン系のトップコートが作業性、価格、樹脂自体の凝集力等の観点からも望ましい。
イソシアネートにはトリレンジイソシアネート(TDI)、キシリレンジイソシアネート(XDI)、ヘキサメチレンジイソシアネート(HMDI)、メタジイソシアネート(MDI)、リジンジイソシアネート(LDI)、イソホロジイソシアネート(IPDI)、メチルヘキサンジイソシアネート(HTDI)、メチルシクロヘキサノンジイソシアネート(HXDI)、トリメチルヘキサメチレンジイソシアネート(TMDI)等から適宜選定できるが、耐候性を考慮すると2重結合をもつタイプよりも直鎖状の構造を持つタイプ、特にヘキサメチレンジイソシアネート(HMDI)が最適である。
化粧シートの表面の硬度をさらに向上させるためには、トップコート層4として紫外線や電子線照射で硬化する樹脂の使用も可能である。さらに耐候性を向上させるために紫外線吸収材及び光安定材を適宜添加してもよい。また各種機能を付与するために抗菌材、防カビ材等の機能性添加材の添加も任意に行える。さらに、表面の意匠性から艶の調整のため、あるいはさらに耐磨耗性を付与するために、アルミナ、シリカ、窒化珪素、炭化珪素、ガラスビーズ等の添加も任意に行える。塗布厚みは通常2μm〜10μmが妥当である。
【0026】
プライマー層5に使用される材料も基本的には絵柄層2、隠蔽層3と同じものでよいが、化粧シートの裏面に施されるためにウエブ状で巻取りを行うことを考慮すると、ブロッキングを避けて且つ接着剤との密着を高めるために、シリカ、アルミナ、マグネシア、酸化チタン、硫酸バリウム等の無機充填剤を添加させても良い。塗布厚みは基材との密着を確保することが目的であるので、0.1μm〜3.0μmが妥当である。
【0027】
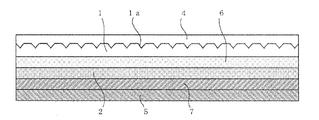
図2には、絵柄の施された各種基材シート層7と高結晶性ポリプロピレンによる透明樹脂層1との積層タイプの構成の一例を示す。ここで積層方法及び透明層の層数は任意に選択できる。重要なことは複数の合成樹脂シートを積層した多層構成の化粧シートのうち、少なくとも最表面の合成樹脂シートを高結晶性ポリプロピレンシートによる透明樹脂層1で構成することである。
【0028】
以下に図2に沿って本発明の化粧シートを詳細に説明すれば、図2は上から順に、トップコート層4、透明樹脂層1、接着層6(感熱接着層、アンカーコート層、ドライラミ接着剤層)、絵柄層2、基材シート層7、プライマー層5と積層された化粧シートの構成の一例である。
ここでトップコート層4やエンボス模様(図1に示すエンボス模様1a参照)は必要であれば設ければよく、プライマー層5も基材シート層7がオレフィン系材料のように表面が不活性な場合には必要であるが、表面が活性な基材の場合は特に必要なものではない。
また基材シート層7としてオレフィン系の基材シート層のような表面が不活性な基材を用いる場合は、基材シート層7の表裏にコロナ処理、プラズマ処理、オゾン処理、電子線処理、紫外線処理、重クロム酸処理等を行うことが望ましい。さらには基材シート層7と絵柄層2との間にも密着を確保させるためにプライマー層を設けることもある。また、化粧シートに隠蔽性を付与したい場合には、基材シート7として隠蔽性の着色シートを使用しても良いし、隠蔽層3を設けても良い。
【0029】
図2において基材シート7としては、薄葉紙、チタン紙、樹脂含浸紙等の紙、ポリエチレン、ポリプロピレン、ポリブチレン、ポリスチレン、ポリカーボネート、ポリエステル、ポリアミド、エチレン−酢酸ビニル共重合体、ポリビニルアルコール、アクリル等の合成樹脂、あるいはこれら合成樹脂の発泡体、エチレンープロピレン共重合ゴム、エチレンープロピレンージエン共重合ゴム、スチレン−ブタジエン共重合ゴム、スチレン−イソプレン−スチレンブロック共重合ゴム、スチレン−ブタジエン−スチレンブロック共重合ゴム、ポリウレタン等のゴム、有機もしくは無機系の不織布、合成紙、アルミニウム、鉄、金、銀等の金属箔等から任意に選定可能である。また、基材シート7は透明樹脂層1と同一の樹脂組成物からなるシートであってもかまわない。
【0030】
図2の構成において透明樹脂層1、絵柄層2、トップコート層4、プライマー層5は図1のそれと同一でよい。
【0031】
接着層6は接着方法として任意の材料選定が可能で、熱ラミネート、押し出しラミネート、ドライラミネート等による積層方法があり、接着材はアクリル系、ポリエステル系、ポリウレタン系等の材料から選定できる。通常はその凝集力からイソシアネートを用いたポリオールとの反応の2液硬化タイプのウレタン系が望ましい。
【0032】
積層方法にも特に規制はないが、熱圧を応用した方法、押し出しラミネート法及びドライラミネート法等が一般的である。またエンボス模様を施す場合には、一旦各種方法でラミネートしたシートに、後から熱圧によりエンボスを入れる方法、冷却ロールに凹凸模様を設け、押し出しラミネートと同時にエンボスを施す方法がある。
また、押し出しと同時エンボスを施した透明樹脂層1と基材シート7を熱あるいはドライラミネートで貼り合わせる方法等がある。絵柄層2及び接着層6を施す位置は、通常通り基材シート7側でもよいし、透明樹脂層1側でもよい。
【0033】
さらに、図2において、トップコート層4側の透明樹脂層1面にエンボス模様(図1のエンボス模様1a参照)を施した場合には、このエンボス模様の中にインキを埋め込んで意匠性を向上させることも可能である。
【0034】
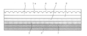
図3には図2とは異なる積層タイプの構成の一例を示す。プライマー層5、基材シート7、絵柄層2、透明樹脂層1、トップコート層4、接着剤層6等は図2と全く同様であるが、異なるところは接着剤層6と透明樹脂層1の間に接着性樹脂層8が設けられているところである。これは、特に押し出しラミネート方法でさらなるラミネート強度を求める場合に行うが、透明樹脂層1と接着性樹脂層8との共押し出し法でラミネートを行う。
【0035】
上記接着性樹脂層8は、ポリプロピレン、ポリエチレン、アクリル系等の樹脂に酸変性を施したもので、厚みは接着力向上の目的から2μm以上、また厚すぎると、折角、高結晶性の透明樹脂層で表面硬度を向上させたにも係わらず、接着性樹脂層8自体の柔らかさの影響を受けるため20μm以下が望ましい。
【0036】
耐候性の面からは、基材としての透明樹脂層1を守るために、前記のようにトップコート層4及び透明樹脂層1に耐候性処方を施す方法もあり、また、それだけではなく、絵柄層2を守るために接着剤層6に紫外線吸収剤及び光安定剤を添加する方法もある。
【0037】
図2及び図3に示した積層タイプの各層の厚みは、基材シート7としては、印刷作業性、コストを考慮して30μm〜150μm、透明樹脂層1としては、意匠性、後加工性、コストを考慮して30μm〜150μmにすることが望ましいが、積層品としての化粧シートの総厚みは、80μm〜250μmの範囲にすることが必要である。
【0038】
【作用】
以上のように本発明の化粧シートは、各層に使用する樹脂に塩化ビニル樹脂を使用しないため、焼却時等に有毒ガスの発生もなく環境に優しいだけでなく、塩ビ製化粧シートと同等の耐傷付き性を持ち、Vカット加工のできる優れた化粧シートとなる。
【0039】
【実施例】
以下に、本発明の化粧シートについて、その具体的実施例を説明する。
<実施例1>
実施例1を、図1に基づいて以下に説明すれば、ペンタッド分率が97.8%、MFR(メルトフローレート)が15g/10min(230℃)、分子量分布MWD(Mw/Mn)が2.3の高結晶化ホモポリプロピレン樹脂に、ヒンダードフェノール系酸化防止剤(イルガノックス1010:チバスペシャリティケミカルズ社製)を500PPMと、ベンゾトリアゾール系紫外線吸収剤(チヌビン328:チバスペシャリティケミカルズ社製)を2000PPMと、ヒンダードアミン系光安定剤(キマソーブ944:チバスペシャリティケミカルズ社製)を2000PPMとを添加した樹脂を溶融押出機を用いて押し出し、透明樹脂層1として使用する厚さ100μmの高結晶性ポリプロピレン製の透明樹脂シートを製膜し、続いて、製膜された透明樹脂シートの両面にコロナ処理を施して表面の濡れを40dyn/cm以上とした。なお、押し出し製膜時の冷却条件のコントロールにより、製膜された透明樹脂シートの高結晶性ポリプロピレン樹脂の球晶の平均粒径は8μm(最小粒径約5μm、最大粒径約10μm)となった。
得られた透明樹脂シートによる透明樹脂層1の片面に、2液硬化型ウレタンインキ(V180:東洋インキ製造(株)製)にて柄印刷を行い、絵柄層2を施した後、該絵柄層2に重ねて隠蔽性のある2液硬化型ウレタンインキ(V180:東洋インキ製造(株)製)を塗布量6g/m2 にて塗布して隠蔽層3を施した。
また、この隠蔽層3に重ねて、プライマーコートとして2液硬化型ウレタンインキ(PET−E、レジウサー:大日精化(株)製)を塗布量1g/m2 にて塗布してプライマー層5を形成した。
次に、このシートの透明樹脂シートによる透明樹脂層1面に、エンボス用の金型ロールを用いてプレスしてエンボス模様1aを施した後、そのエンボス模様1a面上に2液硬化型ウレタントップコート(W184:大日本インキ(株)製)を塗布量3g/m2 にて塗布して、図1に示す総厚110μmの化粧シートを得た。
【0040】
<実施例2>
実施例2を、図2に基づいて以下に説明すれば、ペンタッド分率が97.8%、MFR(メルトフローレート)が15g/10min(230℃)、分子量分布MWD(Mw/Mn)が2.3の高結晶化ホモポリプロピレン樹脂に、ヒンダードフェノール系酸化防止剤(イルガノックス1010:チバスペシャリティケミカルズ社製)を500PPMと、ベンゾトリアゾール系紫外線吸収剤(チヌビン328:チバスペシャリティケミカルズ社製)を2000PPMと、ヒンダードアミン系光安定剤(キマソーブ944:チバスペシャリティケミカルズ社製)を2000PPMとを添加した樹脂を溶融押出機を用いて押し出し、透明樹脂層1として使用する厚さ80μmの高結晶性ポリプロピレン製の透明樹脂シートを製膜し、続いて、製膜された透明樹脂シートの両面にコロナ処理を施して表面の濡れを40dyn/cm以上とした。なお、押し出し製膜時の冷却条件のコントロールにより、製膜された透明樹脂シートの高結晶性ポリプロピレン樹脂の球晶の平均粒径は8μm(最小粒径約5μm、最大粒径約10μm)となった。
他方、隠蔽性のある70μmの基材シート7に2液硬化型ウレタンインキ(V180:東洋インキ製造(株)製)にて柄印刷を施して絵柄層2を施し、また、そのシート7の裏面にプライマーコートを施してプライマー層5を設けた。
しかる後、前記基材シート7の絵柄層2面に、高結晶性ポリプロピレン製の前記透明樹脂シートによる透明樹脂層1をドライラミネート用接着剤(タケラックA540:武田薬品工業製;塗布量2g/m2 )による接着層6を介してドライラミネート法にて貼り合わせた。
次に貼り合わせたシートの前記透明樹脂シートによる透明樹脂層1の面に、エンボス用の金型ロールを用いてプレスしてエンボス模様1aを施した後、そのエンボス模様1a面上に2液硬化型ウレタントップコート(W184:大日本インキ(株)製)を塗布量3g/m2 にて塗布して、図2に示す総厚154μmの化粧シートを得た。
【0041】
<実施例3>
実施例3を、図3に基づいて以下に説明すれば、ペンタッド分率が97.8%、MFR(メルトフローレート)が15g/10min(230℃)、分子量分布MWD(Mw/Mn)が2.3の高結晶化ホモポリプロピレン樹脂に、ヒンダードフェノール系酸化防止剤(イルガノックス1010:チバスペシャリティケミカルズ社製)を500PPMと、ベンゾトリアゾール系紫外線吸収剤(チヌビン328:チバスペシャリティケミカルズ社製)を2000PPMと、ヒンダードアミン系光安定剤(キマソーブ944:チバスペシャリティケミカルズ社製)を2000PPMとを添加した樹脂を、ポリエチレン系の易接着性樹脂と共に溶融押出機を用いて共押し出しして、透明樹脂層1として使用する厚さ80μmの高結晶性ポリプロピレン製の透明樹脂シートと接着性樹脂層8とを製膜した。なお、共押し出し製膜時の冷却条件のコントロールにより、製膜された透明樹脂シートの高結晶性ポリプロピレン樹脂の球晶の平均粒径は8μm(最小粒径約5μm、最大粒径約10μm)となった。
他方、隠蔽性のある70μmの基材シート7に2液硬化型ウレタンインキ(V180:東洋インキ製造(株)製)にて柄印刷を施して絵柄層2を施し、また、そのシート7の裏面にプライマーコートを施してプライマー層5を設けた。
しかる後、前記基材シート7の絵柄層2面と高結晶性ポリプロピレン製の前記透明樹脂シートによる透明樹脂層1とをエクストルージョンラミネート法により貼り合わせた。
次に貼り合わせたシートの前記透明樹脂シートによる透明樹脂層1の面に、エンボス用の金型ロールを用いてプレスしてエンボス模様1aを施した後、そのエンボス模様1a面上に2液硬化型ウレタントップコート(W184:大日本インキ(株)製)を塗布量3g/m2 にて塗布して、図3に示す総厚155μmの化粧シートを得た。
【0042】
<比較例1>
上記実施例3において、ペンタッド分率が97.8%、MFR(メルトフローレート)が15g/10min(230℃)、分子量分布MWD(Mw/Mn)が2.3の高結晶化ホモポリプロピレン樹脂の代わりに、ペンタッド分率が94.2%、MFR(メルトフローレート)が15g/10min(230℃)、分子量分布MWD(Mw/Mn)が2.3のホモポリプロピレン樹脂を使用した以外は、実施例3と同様の方法で化粧シートを得た。
【0043】
<比較例2>
上記実施例3において、ペンタッド分率が97.8%、MFR(メルトフローレート)が15g/10min(230℃)、分子量分布MWD(Mw/Mn)が2.3の高結晶化ホモポリプロピレン樹脂の代わりに、ペンタッド分率が97.5%、MFR(メルトフローレート)が2g/10min(230℃)、分子量分布MWD(Mw/Mn)が4.0の高結晶化ホモポリプロピレン樹脂を使用した以外は、実施例3と同様の方法で化粧シートを得た。
【0044】
<比較例3>
上記実施例3において、ペンタッド分率が97.8%、MFR(メルトフローレート)が15g/10min(230℃)、分子量分布MWD(Mw/Mn)が2.3の高結晶化ホモポリプロピレン樹脂に、造核剤としてリン酸2,2メチレンビスナトリウム(アデカスタブ;NA−11;旭電化(株)製)を3重量%加えて、球晶の平均粒径が1μmを下回るようにして製造した以外は、実施例3と同様の方法で化粧シートを得た。
【0045】
<比較例4>
上記実施例3において、共押出を行う樹脂の厚みを200μmとし、化粧シートの総厚を275μmとして製造した以外は、実施例3と同様の方法で化粧シートを得た。
【0046】
<比較例5>
上記実施例3において、ペンタッド分率が97.8%、MFR(メルトフローレート)が15g/10min(230℃)、分子量分布MWD(Mw/Mn)が2.3の高結晶化ホモポリプロピレン樹脂を、製膜時に冷却ロールの温度コントロールによって球晶の平均粒径を30μmにして製造した以外は、実施例3と同様の方法で化粧シートを得た。
【0047】
上記実施例1〜3及び上記比較例1〜5で得られた各々化粧シートを、ウレタン系の接着剤を用いて木質基材に貼り合わせた後、鉛筆硬度試験にて表面硬度を判定し、Vカット試験にてVカット適性の有無を判定し、それぞれ評価した。その評価結果を下記表1に示した。尚、Vカット試験は、加工機や加工時の環境に左右されないように低温による高速折り曲げ条件にて実施した。
【0048】
【表1】
【0049】
表1から明らかなように、本発明の高結晶化ポリプロピレンを使用した実施例1〜3による化粧シートは、従来の比較例1〜5による化粧シートに比べて表面傷付き性に優れ、且つVカット加工適性が良好な化粧シートと言える。
【0050】
【発明の効果】
以上のように、本発明によれば塩化ビニル樹脂を一切使用していないために、環境に優しいだけでなく、表面の耐傷付き性に優れ、Vカット加工性も優秀な化粧シートが提供できるものである。
【図面の簡単な説明】
【図1】本発明の化粧シートの実施の形態及び実施例1を示す側断面図である。
【図2】本発明の化粧シートの実施の形態及び実施例2を示す側断面図である。
【図3】本発明の化粧シートの実施の形態及び実施例3を示す側断面図である。
【符号の説明】
1…透明樹脂層 2…絵柄層 3…隠蔽層 4…トップコート層
5…プライマー層 6…接着層 7…基材シート層 8…接着性樹脂層
Claims (2)
- ペンタッド分率が96%以上、MFR(メルトフローレート)が5g/10min(230℃)以上40g/10min(230℃)以下、分子量分布MWD(Mw/Mn)が4以下の高結晶化ポリプロピレン樹脂90〜100重量%によって主に構成される樹脂組成物による透明樹脂層を少なくとも具備してなり、且つこの透明樹脂層のポリプロピレン樹脂の球晶の平均粒径が1μm以上20μm以下であることを特徴とする化粧シート。
- 前記化粧シートの総厚が80μm以上250μm以下であることを特徴とする化粧シート。
Priority Applications (1)
| Application Number | Priority Date | Filing Date | Title |
|---|---|---|---|
| JP2000082514A JP3772634B2 (ja) | 2000-03-23 | 2000-03-23 | 化粧シート |
Applications Claiming Priority (1)
| Application Number | Priority Date | Filing Date | Title |
|---|---|---|---|
| JP2000082514A JP3772634B2 (ja) | 2000-03-23 | 2000-03-23 | 化粧シート |
Publications (2)
| Publication Number | Publication Date |
|---|---|
| JP2001270054A JP2001270054A (ja) | 2001-10-02 |
| JP3772634B2 true JP3772634B2 (ja) | 2006-05-10 |
Family
ID=18599308
Family Applications (1)
| Application Number | Title | Priority Date | Filing Date |
|---|---|---|---|
| JP2000082514A Expired - Fee Related JP3772634B2 (ja) | 2000-03-23 | 2000-03-23 | 化粧シート |
Country Status (1)
| Country | Link |
|---|---|
| JP (1) | JP3772634B2 (ja) |
Cited By (7)
| Publication number | Priority date | Publication date | Assignee | Title |
|---|---|---|---|---|
| WO2017164410A1 (ja) | 2016-03-24 | 2017-09-28 | 凸版印刷株式会社 | 化粧シート及び化粧シートの製造方法 |
| CN107921766A (zh) * | 2015-08-24 | 2018-04-17 | 凸版印刷株式会社 | 装饰片及透明树脂片 |
| CN107921765A (zh) * | 2015-08-24 | 2018-04-17 | 凸版印刷株式会社 | 装饰片 |
| KR20180048825A (ko) | 2015-08-31 | 2018-05-10 | 도판 인사츠 가부시키가이샤 | 화장 시트 및 화장 시트의 제조 방법 |
| KR20210104679A (ko) | 2018-12-19 | 2021-08-25 | 도판 인사츠 가부시키가이샤 | 화장 시트 |
| JP2023101532A (ja) * | 2022-06-09 | 2023-07-21 | 凸版印刷株式会社 | 化粧シートおよび化粧シートの製造方法 |
| JP2023109800A (ja) * | 2022-06-09 | 2023-08-08 | 凸版印刷株式会社 | 化粧シートおよび化粧シートの製造方法 |
Families Citing this family (15)
| Publication number | Priority date | Publication date | Assignee | Title |
|---|---|---|---|---|
| JP4576786B2 (ja) * | 2002-08-23 | 2010-11-10 | 凸版印刷株式会社 | 化粧シートおよび化粧板 |
| JP5034408B2 (ja) * | 2006-09-22 | 2012-09-26 | 凸版印刷株式会社 | 化粧シート |
| JP5386899B2 (ja) * | 2008-09-18 | 2014-01-15 | 株式会社トッパン・コスモ | 化粧シート |
| JP5141467B2 (ja) * | 2008-09-22 | 2013-02-13 | 株式会社トッパン・コスモ | 化粧シート |
| JP2016037818A (ja) * | 2014-08-11 | 2016-03-22 | 株式会社トッパン・コスモ | 床用化粧シート |
| JP6636776B2 (ja) * | 2014-11-11 | 2020-01-29 | 凸版印刷株式会社 | 化粧シートおよび化粧シートの製造方法 |
| WO2017034021A1 (ja) * | 2015-08-26 | 2017-03-02 | 凸版印刷株式会社 | 化粧シート、及び化粧シートの製造方法 |
| EP3345759B1 (en) | 2015-09-04 | 2020-01-01 | Toppan Printing Co., Ltd. | Decorative sheet |
| JP6905706B2 (ja) * | 2015-09-04 | 2021-07-21 | 凸版印刷株式会社 | 化粧シートおよび化粧シートの製造方法 |
| JP6622561B2 (ja) * | 2015-10-29 | 2019-12-18 | 凸版印刷株式会社 | 化粧シートおよび化粧シートの製造方法 |
| KR102475652B1 (ko) | 2016-11-29 | 2022-12-09 | 도판 인사츠 가부시키가이샤 | 화장 시트 및 화장 시트의 제조 방법 |
| CN111386185A (zh) * | 2017-11-20 | 2020-07-07 | 日本聚丙烯株式会社 | 装饰薄膜及使用其的装饰成形体的制造方法 |
| JP7192543B2 (ja) * | 2018-02-06 | 2022-12-20 | 日本ポリプロ株式会社 | 加飾フィルム及びそれを用いた加飾成形体の製造方法 |
| JP7192545B2 (ja) * | 2018-02-08 | 2022-12-20 | 日本ポリプロ株式会社 | 加飾フィルム及びそれを用いた加飾成形体の製造方法 |
| JP6876289B2 (ja) * | 2019-11-27 | 2021-05-26 | 凸版印刷株式会社 | 化粧シートおよび化粧シートの製造方法 |
-
2000
- 2000-03-23 JP JP2000082514A patent/JP3772634B2/ja not_active Expired - Fee Related
Cited By (19)
| Publication number | Priority date | Publication date | Assignee | Title |
|---|---|---|---|---|
| AU2016311950B2 (en) * | 2015-08-24 | 2020-05-14 | Toppan Printing Co., Ltd. | Decorative sheet |
| CN107921766A (zh) * | 2015-08-24 | 2018-04-17 | 凸版印刷株式会社 | 装饰片及透明树脂片 |
| CN107921765A (zh) * | 2015-08-24 | 2018-04-17 | 凸版印刷株式会社 | 装饰片 |
| KR20180042265A (ko) | 2015-08-24 | 2018-04-25 | 도판 인사츠 가부시키가이샤 | 화장 시트 |
| US11230631B2 (en) | 2015-08-24 | 2022-01-25 | Toppan Printing Co., Ltd. | Decorative sheet, and transparent resin sheet |
| US10906280B2 (en) | 2015-08-24 | 2021-02-02 | Toppan Printing Co., Ltd. | Decorative sheet |
| EP3342589A4 (en) * | 2015-08-24 | 2019-05-01 | Toppan Printing Co., Ltd. | DECORATIVE FOIL |
| KR20180048825A (ko) | 2015-08-31 | 2018-05-10 | 도판 인사츠 가부시키가이샤 | 화장 시트 및 화장 시트의 제조 방법 |
| US10518510B2 (en) | 2015-08-31 | 2019-12-31 | Toppan Printing Co., Ltd. | Decorative sheet and method of manufacturing the same |
| EP3854583A1 (en) | 2015-08-31 | 2021-07-28 | Toppan Printing Co., Ltd. | Decorative sheet and method of manufacturing the same |
| US10703079B2 (en) | 2016-03-24 | 2020-07-07 | Toppan Printing Co., Ltd. | Decorative sheet and method of producing the same |
| KR20180126513A (ko) | 2016-03-24 | 2018-11-27 | 도판 인사츠 가부시키가이샤 | 화장 시트 및 화장 시트의 제조 방법 |
| WO2017164410A1 (ja) | 2016-03-24 | 2017-09-28 | 凸版印刷株式会社 | 化粧シート及び化粧シートの製造方法 |
| KR20210104679A (ko) | 2018-12-19 | 2021-08-25 | 도판 인사츠 가부시키가이샤 | 화장 시트 |
| US11446906B2 (en) | 2018-12-19 | 2022-09-20 | Toppan Printing Co., Ltd. | Decorative sheets |
| JP2023101532A (ja) * | 2022-06-09 | 2023-07-21 | 凸版印刷株式会社 | 化粧シートおよび化粧シートの製造方法 |
| JP2023109800A (ja) * | 2022-06-09 | 2023-08-08 | 凸版印刷株式会社 | 化粧シートおよび化粧シートの製造方法 |
| JP7593436B2 (ja) | 2022-06-09 | 2024-12-03 | Toppanホールディングス株式会社 | 化粧シートおよび化粧シートの製造方法 |
| JP7593437B2 (ja) | 2022-06-09 | 2024-12-03 | Toppanホールディングス株式会社 | 化粧シートおよび化粧シートの製造方法 |
Also Published As
| Publication number | Publication date |
|---|---|
| JP2001270054A (ja) | 2001-10-02 |
Similar Documents
| Publication | Publication Date | Title |
|---|---|---|
| JP3772634B2 (ja) | 化粧シート | |
| JP4066623B2 (ja) | 化粧シート | |
| JP7052731B2 (ja) | 積層延伸フィルム、化粧シート用基材、化粧シート及び化粧板 | |
| JP6950690B2 (ja) | 化粧シート用基材及び化粧シート | |
| JP4032829B2 (ja) | 化粧シート | |
| KR20190047688A (ko) | 엠보싱 화장 시트 및 그 제조 방법 | |
| JP6959608B2 (ja) | 化粧シート | |
| JP2000289162A (ja) | 化粧シート | |
| JP2017179366A (ja) | 化粧シート及び化粧シートの製造方法 | |
| JP2004066525A (ja) | 化粧シートおよび化粧板 | |
| JP3861472B2 (ja) | 化粧材 | |
| JP3823686B2 (ja) | 化粧シート | |
| JP2019025917A (ja) | 積層延伸フィルム、化粧シート用基材、化粧シート及び化粧板 | |
| JP6965753B2 (ja) | 化粧シート及び化粧部材 | |
| JP4325050B2 (ja) | 化粧シートの製造方法 | |
| JP4248728B2 (ja) | 化粧シートの製造方法 | |
| JP2006321241A (ja) | 化粧シート | |
| JP2023161006A (ja) | 積層延伸フィルム、化粧シート用基材、化粧シート及び化粧板 | |
| JP7443681B2 (ja) | 化粧シート | |
| JP6965752B2 (ja) | 化粧シート及び化粧部材 | |
| JP2001287324A (ja) | 化粧シート | |
| JP7006164B2 (ja) | 化粧シート及び化粧シートの製造方法 | |
| JP2000246851A (ja) | 化粧シート | |
| JP7597170B2 (ja) | 積層延伸フィルム、化粧シート用基材、化粧シート及び化粧板 | |
| JP2000272057A (ja) | 化粧シート |
Legal Events
| Date | Code | Title | Description |
|---|---|---|---|
| A621 | Written request for application examination |
Free format text: JAPANESE INTERMEDIATE CODE: A621 Effective date: 20031215 |
|
| A977 | Report on retrieval |
Free format text: JAPANESE INTERMEDIATE CODE: A971007 Effective date: 20051228 |
|
| TRDD | Decision of grant or rejection written | ||
| A01 | Written decision to grant a patent or to grant a registration (utility model) |
Free format text: JAPANESE INTERMEDIATE CODE: A01 Effective date: 20060124 |
|
| A61 | First payment of annual fees (during grant procedure) |
Free format text: JAPANESE INTERMEDIATE CODE: A61 Effective date: 20060206 |
|
| R150 | Certificate of patent or registration of utility model |
Ref document number: 3772634 Country of ref document: JP Free format text: JAPANESE INTERMEDIATE CODE: R150 Free format text: JAPANESE INTERMEDIATE CODE: R150 |
|
| FPAY | Renewal fee payment (event date is renewal date of database) |
Free format text: PAYMENT UNTIL: 20100224 Year of fee payment: 4 |
|
| FPAY | Renewal fee payment (event date is renewal date of database) |
Free format text: PAYMENT UNTIL: 20100224 Year of fee payment: 4 |
|
| FPAY | Renewal fee payment (event date is renewal date of database) |
Free format text: PAYMENT UNTIL: 20110224 Year of fee payment: 5 |
|
| FPAY | Renewal fee payment (event date is renewal date of database) |
Free format text: PAYMENT UNTIL: 20120224 Year of fee payment: 6 |
|
| FPAY | Renewal fee payment (event date is renewal date of database) |
Free format text: PAYMENT UNTIL: 20130224 Year of fee payment: 7 |
|
| FPAY | Renewal fee payment (event date is renewal date of database) |
Free format text: PAYMENT UNTIL: 20140224 Year of fee payment: 8 |
|
| LAPS | Cancellation because of no payment of annual fees |
