JP3772612B2 - シート - Google Patents

シート Download PDF

Info

Publication number
JP3772612B2
JP3772612B2 JP31598799A JP31598799A JP3772612B2 JP 3772612 B2 JP3772612 B2 JP 3772612B2 JP 31598799 A JP31598799 A JP 31598799A JP 31598799 A JP31598799 A JP 31598799A JP 3772612 B2 JP3772612 B2 JP 3772612B2
Authority
JP
Japan
Prior art keywords
seating
seat
cushion frame
seating surface
cushion
Prior art date
Legal status (The legal status is an assumption and is not a legal conclusion. Google has not performed a legal analysis and makes no representation as to the accuracy of the status listed.)
Expired - Fee Related
Application number
JP31598799A
Other languages
English (en)
Other versions
JP2001128783A (ja
Inventor
真弘 江上
Current Assignee (The listed assignees may be inaccurate. Google has not performed a legal analysis and makes no representation or warranty as to the accuracy of the list.)
Nissan Motor Co Ltd
Original Assignee
Nissan Motor Co Ltd
Priority date (The priority date is an assumption and is not a legal conclusion. Google has not performed a legal analysis and makes no representation as to the accuracy of the date listed.)
Filing date
Publication date
Application filed by Nissan Motor Co Ltd filed Critical Nissan Motor Co Ltd
Priority to JP31598799A priority Critical patent/JP3772612B2/ja
Publication of JP2001128783A publication Critical patent/JP2001128783A/ja
Application granted granted Critical
Publication of JP3772612B2 publication Critical patent/JP3772612B2/ja
Anticipated expiration legal-status Critical
Expired - Fee Related legal-status Critical Current

Links

Images

Landscapes

  • Seats For Vehicles (AREA)
  • Chair Legs, Seat Parts, And Backrests (AREA)

Description

【0001】
【発明の属する技術分野】
本発明は、車両等に搭載されるシートに関する。
【0002】
【従来の技術】
従来のこの種のシートとしては、例えば図17に示すものがある(実開昭61−607595号公報参照)。このシート1は、着座面を形成するシートクッション3と背もたれ面を形成するシートバック5とをリクライニングデバイス7で結合したものである。前記シートクッション3は、着座面の外形を形成する枠状のクッションフレーム9を有し、該クッションフレーム9に対し伸縮自在な伸縮部材11がその左右両側に取り付けられた芯材13を介して取り付けられたものである。この伸縮部材11上には、図示しないクッションパッドが搭載されている。
【0003】
この図17の構造では、伸縮部材11が芯材13を介しクッションフレーム9に支持されることによって、図示しないクッションパッドをいわゆるハンモック状に支持する柔軟構造となるため、金属バネ等によりクッションパッドを支持する構造に比較して、着座者の上下方向の動きをより柔軟に支えることができるのは勿論のこと、伸縮部材11の面剛性が低く柔軟であるため、支持圧を分散する効果が高くなる。このため、クッションパッドを薄くしても一定の支持圧の分散効果が得られ、シートクッション3の省スペース化と軽量化を図ることができる。
【0004】
【発明が解決しようとする課題】
しかしながら、上記従来のシートによって長時間運転すると疲れやすく、またシートクッションを薄く軽量化することには限界があった。これを図18〜図21を用いてさらに説明する。
【0005】
上記従来のシートにおいて、シートクッション3に乗員が着座した場合の体圧分布を見ると、図18のようになっている。15は乗員の座骨位置であり、17は臀部側部の圧迫位置、19は大腿側部の圧迫位置、21は臀部中央の支持位置をそれぞれ示している。また図19は臀部側部の圧迫状態を断面方向で見た概略図であり、図20は大腿側部の圧迫状態を断面方向で見た概略図である。図21は着座したときのシートクッション3の反力ー撓線図である。
【0006】
上記のように伸縮部材11をハンモック状に支持したものでは、着座時の撓量が増加し、伸縮部材11のインバース量(沈み込み量)が大きくなり、図18,図19のように臀部23では側部の圧迫が発生し、逆に臀部23の中央部では支持が不足することになる。
【0007】
一方、大腿部25では、図18,図20のように側部の圧迫が発生すると共に、これに伴い大腿部25を体の中心へ戻す反力が発生し、ペダル操作等のために必要な大腿部25の左右開き姿勢の維持が難しくなる。
【0008】
このため長時間運転に際しては臀部側部の圧迫や大腿部側部の圧迫によって運転者の疲労を増大する恐れがある。
【0009】
また図21の反力ー撓線図のように、座り込み初期の撓み量が少ない状態では、伸縮部材11の初期形状が平面であることと伸縮部材11の柔軟性が高く伸び反力が小さいこととにより、座り込みに対する反力が小さく、撓み量が増大すると共に急激に反力が増大する特性となっている。これにより、座り込み時の衝撃を十分に吸収することができず、また撓みによるバネ定数変化が大きく、撓が大きくなるとバネ定数が増加し、路面振動を適切に吸収できなくなる恐れがある。従って、伸縮部材11上に搭載するクッションパッドをある程度厚くしなければならず、シートクッション3を薄く軽量化することには限界があった。
【0010】
本発明は、シートクッションを薄く軽量化することができると共に、適切な支持圧分布を得やすく、衝撃を十分に吸収することのできるシートの提供を課題とする。
【0011】
【課題を解決するための手段】
請求項1の発明は、着座面を形成するシートクッションと背もたれ面を形成するシートバックとを連結部材で結合したシートにおいて、前記シートクッションは、前記着座面の外形を形成する枠状のクッションフレームと、該クッションフレーム上に設けられ前記着座面を全体的に支える薄膜状の着座支持部と、該着座支持部の少なくとも周縁部に備えられ前記クッションフレーム上縁を覆うようにして該クッションフレーム前後左右外壁に固定されると共に前記着座支持部に張力を付与する弾性部と、前記クッションフレーム上縁間に渡って設けられ前記着座支持部を部分的に補強する可撓性の補強部とを備え、前記クッションフレームの、少なくとも後部は、シート幅方向の中央側が低くなる凹状に形成されていることを特徴とする。
【0012】
請求項2の発明は、着座面を形成するシートクッションと背もたれ面を形成するシートバックとを連結部材で結合したシートにおいて、前記シートクッションは、前記着座面の外形を形成する枠状のクッションフレームと、該クッションフレーム上に設けられ前記着座面を全体的に支える薄膜状の着座支持部と、該着座支持部の少なくとも周縁部に備えられ前記クッションフレーム上縁を覆うようにして該クッションフレーム前後左右外壁に固定されると共に前記着座支持部に張力を付与する弾性部と、前記クッションフレーム上縁間に渡って設けられ前記着座支持部を部分的に補強する可撓性の補強部とを備え、前記着座支持部は、前記弾性体により着座面前後方向に予張力が付与され、着座面左右方向に前記着座面前後方向の予張力よりも弱い予張力が付与されていることを特徴とする。
【0013】
請求項3の発明は、着座面を形成するシートクッションと背もたれ面を形成するシートバックとを連結部材で結合したシートにおいて、前記シートクッションは、前記着座面の外形を形成する枠状のクッションフレームと、該クッションフレーム上に設けられ前記着座面を全体的に支える薄膜状の着座支持部と、該着座支持部の少なくとも周縁部に備えられ前記クッションフレーム上縁を覆うようにして該クッションフレーム前後左右外壁に固定されると共に前記着座支持部に張力を付与する弾性部と、前記クッションフレーム上縁間に渡って設けられ前記着座支持部を部分的に補強する可撓性の補強部とを備え、前記補強部は、前記着座面の後部で該着座面の左右中央側から左右両後縁部側に漸次広がるように渡る臀部対応部と、該臀部対応部の前端から前記着座面の前部側に渡り臀部対応部の荷重を前記シートクッションの前部側に伝達する伝達部とよりなり、前記臀部対応部の前端と伝達部の後端との結合部は、前記着座面の前後中央より後部側に位置し、前記伝達部は、前記着座面の左右中央側から左右両前縁部側に漸次広がるように渡り、前記伝達部の左右前方への開き角度を前記臀部対応部の左右後方への開き角度より狭くして、前記伝達部が着座した乗員の大腿部の内側部に配置されるようにしたことを特徴とする。
【0014】
請求項4の発明は、着座面を形成するシートクッションと背もたれ面を形成するシートバックとを連結部材で結合したシートにおいて、前記シートクッションは、前記着座面の外形を形成する枠状のクッションフレームと、該クッションフレーム上に設けられ前記着座面を全体的に支える薄膜状の着座支持部と、該着座支持部の少なくとも周縁部に備えられ前記クッションフレーム上縁を覆うようにして該クッションフレーム前後左右外壁に固定されると共に前記着座支持部に張力を付与する弾性部と、前記クッションフレーム上縁間に渡って設けられ前記着座支持部を部分的に補強する可撓性の補強部とを備え、前記補強部は、前記着座面の後部で該着座面の左右中央側から左右両後縁部側に漸次広がるように渡る臀部対応部と、該臀部対応部の前端から前記着座面の前部側に渡り臀部対応部の荷重を前記シートクッションの前部側に伝達する伝達部とよりなり、前記臀部対応部の前端と伝達部の後端との結合部は、前記着座面の前後中央より後部側に位置し、前記伝達部を、前記着座面のシート幅方向の中央部を通る直線状に形成したことを特徴とする。
【0015】
請求項5の発明は、請求項1〜4の何れかに記載のシートであって、前記着座支持部及び補強部を、肉厚を変えて可撓材により一体に形成したことを特徴とする。
【0016】
請求項6の発明は、請求項1〜4の何れかに記載のシートであって、前記着座支持部及び補強部を、穴の個数調整をして可撓材により一体に形成したことを特徴とする。
【0017】
請求項7の発明は、請求項1〜4の何れかに記載のシートであって、前記着座支持部及び補強部は、布材で形成されると共に、前記弾性部はゴムで形成され、前記弾性部は前記着座支持部及び補強部に含浸して結合されていることを特徴とする。
【0019】
請求項の発明は、請求項1、3又は4記載のシートであって、前記着座支持部は、前記弾性部により少なくとも着座面前後方向に予張力が付与されていることを特徴とする。
【0021】
【発明の効果】
請求項1の発明では、着座支持部は弾性部によって張力が付与されているため、撓が小さい初期段階から反力が大きく発生し、かつバネ定数の変化が小さい特性を示し、座り込みの際の高い衝撃吸収能力と路面振動に対する高い振動吸収能力とが得られる。また補強部によって着座支持部を部分的に補強することによって、撓を抑制することができ、適切な支持圧分布を得ることができ、長時間運転の際にも疲労増大を抑制することができる。さらに、弾性部はクッションフレーム上縁を覆うように取り付けられるため、着座姿勢がずれるなどしても、クッションフレーム上縁が乗員の大腿部等に強く当たることはなく、違和感を抑制することができる。特に、クッションフレームの少なくとも後部はシート幅方向の中央側が低くなる凹状に形成されていることによって、着座支持部に少なくとも着座面前後方向に張力を付与しながら臀部の湾曲に合わせて凹状に形成することができ、着座による撓量を抑制することができ、撓が小さい初期段階から反力が大きく発生し、かつバネ定数の変化が小さい特性を示し、座り込みの際の高い衝撃吸収能力と路面振動の高い振動吸収能力とを確実に得ることができる。
【0022】
請求項2の発明では、着座支持部は弾性部により少なくとも着座面前後方向に予張力が付与されているため、撓が小さい初期段階から反力が大きく発生し、かつバネ定数の変化が小さい特性を示し、座り込みの際の高い衝撃吸収能力と路面振動の高い振動吸収能力とを確実に得ることができる。さらに、着座面左右方向には、着座面前後方向の予張力よりも弱い予張力が付与されているため、着座支持部が横方向に荷重を受けたとき、直ちに反力を発生することができ、着座支持部の横揺れを抑制し、適切な支持を行わせることができる。
【0023】
請求項3の発明では、補強部の臀部対応部によって着座支持部の臀部に対応する部分の撓みを抑制することができ、臀部側部の圧迫が抑制されると共に、臀部中央部における着座支持部の支持を適切に行うことができる。また、臀部対応部の前端と伝達部の後端との結合部が着座面の前後中央より後縁部側に位置することによって、この位置の臀部中央部をより適切に支持することができる。さらに、補強部の伝達部を大腿部内側に配置することができ、大腿部内側と外側との支持がバランスし、適切な脚開き姿勢を維持することができ、長時間運転による疲労を軽減することができる。
【0024】
請求項4の発明では、伝達部を着座面のシート幅方向の中央部を通る直線状に形成してあるため、足を揃えて着座する場合に有効である。
【0025】
請求項5の発明では、請求項1〜4の何れかの発明の効果に加え、着座支持部及び補強部を肉厚を変えて可撓材により一体に形成することによって、部品点数が少なく製造、組付けが容易となる。
【0026】
請求項6の発明では、請求項1〜4の何れかの発明の効果に加え、着座支持部及び補強部を穴の個数調整をして可撓材により一体に形成することによって、通気性がよいと共に、部品点数が少なく、製造、組付けを容易にすることができる。又穴の個数調整によって着座支持部及び補強部の強度特性を容易に変化させることができる。
【0027】
請求項7の発明では、請求項1〜4の何れかの発明の効果に加え、着座支持部は布材で形成されると共に、弾性部はゴムで形成され、弾性部は着座支持部に含浸して結合されることによって、着座支持部に布材を用いることができ、通気性が良く又より薄く軽量に形成することができる。
【0029】
請求項の発明では、請求項1、3又は4の発明の効果に加え、着座支持部は弾性部により少なくとも着座面前後方向に予張力が付与されているため、撓みが小さい初期段階から反力が大きく発生し、かつバネ定数の変化が小さい特性を示し、座り込みの際の高い衝撃吸収能力と路面振動の高い振動吸収能力とを確実に得ることができる。
【0031】
【発明の実施の形態】
(第1実施形態)
図1〜図10は本発明の第1実施形態を示している。尚、図16と対応する構成部分には同符合を付して説明し、また重複した説明は省略する。
【0032】
図1は本発明の一実施形態に係るシートの一部切欠斜視図、図2は同分解図である。これら図1,図2のように、シートクッション3は、着座支持体27と、クッション部29とからなっている。着座支持体27は、クッションフレーム31と弾性部を兼ねる着座支持部33と、補強部35とからなっている。クッションフレーム31は、シートスライドレール37のアッパレール39の取付部41a,41b,41c,41dに図示しないボルトナットによって締結固定されている。左右のアッパレール39は、左右のロアレール43に前後方向スライド位置調整自在に支持されている。ロアレール43は車体フロアにボルトナット等によって締結固定されている。
【0033】
前記クッション部29は、表皮45内に発泡ウレタンによって成形されたパッド47が設けられ、表皮45とパッド47とは例えば接着によって固定されている。パッド47は、着座面の中央部では薄く、クッションフレーム31の前後左右上縁49a,49b,51a,51b側では相対的に厚く形成されている。表皮45の前後左右下端縁部には、取付用の樹脂クリップ49が取り付けられている。このクッション部29は、前記着座支持体27上に搭載され、前後左右の樹脂クリップ49がクッションフレーム31に係合されることによって、クッション部29が着座支持体27に位置決められている。
【0034】
前記シートバック5には、上端にヘッドレスト45が備えられ、下端両側にリクライニングデバイス47が取り付けられている。リクライニングデバイス47の下端は、前記シートスライドレール37の左右アッパレール39後端に図示しないボルトナットによって締結固定されている。従って、本実施形態において、リクライニングデバイス47及びシートスライドレール37のアッパレール39は、シートクッション3とシートバック5とを結合する連結部材を構成している。
【0035】
前記クッションフレーム31の具体的構成は、図3のようになっている。この図3(a)はクッションフレームの斜視図であり、(b)は図3(a)のIIIb−IIIb矢視断面図、図3(c)は図3(a)のIIIc−IIIc矢視断面図、図3(d)はクッションフレーム31の後方から見た背面図である。
【0036】
この図3のように、クッションフレーム31は上面から見て矩形の枠状に形成され、クッションフレーム5の後部の左右幅は前部の左右幅よりも若干小さく形成されて、着座面の外形を形成する構成となっている。このクッションフレーム31は、例えば板材の折り曲げによって成形され、前後左右の上縁49a,49b,51a,51bはその断面形状が半円形状に湾曲形成されている。この上縁部49a,49b,51a,51bの下側には、前後左右外壁53a,53b,55a,55bが垂直に設けられ、下端に前後左右の底壁57a,57b,59a,59bが設けられている。前記各外壁53a,53b,55a,55には、取付用の穴56がそれぞれ3箇所に設けられている。
【0037】
前記シートスライドレール37のアッパレール39の取付部41a,41b,41c,41dに対するクッションフレーム31の取付けは、左右の底壁59a,59bにおいて行われている。さらにクッションフレーム31の前後上縁49a,49bはそれぞれシート幅方向の中央側が低くなる凹状に形成されている。前部上縁49aは、例えばR1=1200mmに形成され、後部の上縁49bはR2=1000mm程度に形成されている。
【0038】
尚、クッションフレーム31は少なくとも後部がシート幅方向の中央側が低くなる凹状に形成されれば良く、前部の上縁49aは、例えば左右の上縁51a,51bと同様に直線的に形成し、上縁49aをを左右の上縁51a,51bと面一に構成することもできる。
【0039】
前記弾性部を兼ねる着座支持部33と、補強部35とは本実施形態において肉厚を変えて可撓材により一体に形成されたものである。具体的には、高弾性のゴム材により成形されているもので、着座支持部33は着座面を全体的に支える薄膜状に形成され、補強部35は着座支持部33よりも厚肉に形成され、着座支持部33を部分的に補強している。具体的には、図4のようになっている。
【0040】
図4(a)は着座支持部33及び補強部35を下面側から見た展開状態の斜視図、図4(b)は図4(a)のIVb−IVb矢視における断面図を示し、この図4(b)では図4(a)とは異なり着座支持部33の上面側が上方に位置するように見たものである。この図4のように、着座支持部33は展開状態で平面視矩形状に形成され、薄膜状となっている。着座支持部33の展開状態における各コーナー部には、前後左右縁部を下方へ折り曲げやすくするための切欠57a,57b,57c,57dが設けられている。着座支持部33の展開状態における上面の前後左右縁部上には、取付用の玉縁部59a,59b,59c,59dがそれぞれ設けられている。着座支持部33の各玉縁部59a,59b,59c,59dの内側部には、取付用の穴61が各縁部に沿って3個ずつ設けられている。着座支持部33の左右方向において展開状態における各取付穴61の左右間距離は、前記クッションフレーム31の左右外壁55a,55bに設けられた取付穴56の展開状態(左右上縁部51a,51b及び左右外壁55a,55bを平面に展開した状態)における左右間距離よりも若干大きく形成されている。着座支持部33の前後方向における取付穴61の前後間距離は、前記クッションフレーム31の前後外壁53a,53bの取付穴56の展開状態(前後上縁部49a,49b、外壁53a,53bを平面に展開した状態)における前後間距離よりも短く形成されている。
【0041】
前記補強部35は前記着座支持部33よりも厚肉に形成されたもので、臀部対応部63a,63bと、伝達部65a,65bとからなっている。前記臀部対応部63a,63bの前端と伝達部65a,65bの後端とは、結合部67によって結合されている。この結合部67は着座面の前後中央より後部側に位置している。具体的には、結合部67は臀部対応部63a,63bと伝達部65a,65bの幅方向中央を通る中心線の結合点Cを有し、この結合点CがヒップポイントHPよりも30mmほど後方に位置した構成となっている。尚、ヒップポイントHPは、実験により統計的に求めた着座面上の位置である。
【0042】
前記臀部対応部63a,63bは、着座面の後部で着座面の左右中央側から左右両後縁側に漸次拡がるように斜めに渡って形成されている。すなわち、結合点Cから後方の切欠57c,57dに向かって斜めに拡がっている。切欠57c,57dは臀部対応部63a,63bの一部によって補強されている。
【0043】
前記伝達部65a,65bは着座面の左右中央側から左右両前縁側に漸次拡がるように渡っている。すなわち結合部67の結合点C側から前方へ斜めに拡がって設けられている。伝達部65a,65bの拡がり幅は、乗員の大腿部に合わせて狭いものとなっている。
【0044】
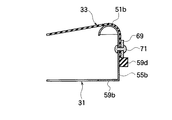
この着座支持部33及び補強部35は、図5のようにクッションフレーム31上に配置され、弾性部を兼ねる着座支持部33の前後左右縁部が図6に一部示すようにクッションフレーム31の前後左右上縁49a,49b,51a,51bを覆うようにして引き回され、前後左右外壁53a,53b,55a,55bにおいて着座支持部33の各取付穴61がクッションフレーム31の各取付穴56に合わせられ、取付穴56,61及びリテーナ69を貫通するリベット71によって固定されている。リテーナ69は、玉縁部59a,59b,59c,59dの上側に位置し、玉縁部59a,59b,59c,59dを係合固定している。
【0045】
そして、前記のように着座支持部33の取付穴61の展開状態の前後間隔は、クッションフレーム31の取付穴56の展開状態の前後間隔よりも小さく形成されているため、前記取付に際して着座支持部33はその弾性に抗して前後方向に引かれ、取付状態において着座支持部33には前後方向に予張力が付与されている。
【0046】
左右方向には着座支持部33の取付穴61の展開状態の左右間隔がクッションフレーム31の取付穴56の左右間隔よりも若干大きく形成されているため、前記着座支持部33の前後方向の予張力によって、着座支持部33はクッションフレーム31の前後上縁部49a,49bの湾曲に沿った形状となり、左右方向に凹形状となっている。
【0047】
このような構成によって、着座支持体27は、その上面がクッションフレーム33に沿って左右方向に凹形状となり、補強部35は、クッションフレーム31に対する取付部RF1,LF1,RR1,LR1(図7)よりも結合部67の結合点Cが下方に位置する凹形状となり、薄膜状の着座支持部33は予め前後方向に張力が付与された状態で設置される。さらに補強部35は、該補強部35が設けられている部分で着座支持部33を補強して撓反力を発生し、下方への撓量を抑制する。これらによって、乗員が着座する初期段階の撓の小さいときから反力が大きく発生し、かつバネ定数の変化が小さい特性を示し、座り込みの際の高い衝撃吸収能力と路面振動の高い振動吸収能力を得ることができる。
【0048】
一方、図7、図8のように補強部35の臀部対応部63a,63bの補強によって着座支持部33の撓を抑制し、臀部23の側部の圧迫を抑制して適切に支持することができる。臀部23の中央部では、結合部67の結合点CがヒップポイントHPより後方30mmの位置にあることによって、この部分を補強し、臀部23の中央部を適切に支持することができる。尚、臀部23から、臀部対応部63a,63b及び結合部67に加わる荷重は、前側の伝達部65a,65bを介してクッションフレーム31の前部に伝達されて支持されることになる。
【0049】
大腿部25では、伝達部65a,65bが図7,図9のように大腿部25の内側部に配置されることになり、大腿部25の内側と外側の支持がバランスし、適切な足開き姿勢を維持することができる。
【0050】
これらのことから長時間の運転によっても疲労の増大を大幅に抑制することができる。又、補強部35と着座支持部33とでは固さが変化することになるが、図7のように、臀部23及び大腿部25の神経系73の配置は、座骨部75周辺と大腿部25裏面に集中し、これらの部位では固さ変化に対して敏感であるが、本実施形態では補強部35の伝達部65a,65bは当該部位を外して配置されるているため、着座者に固さ変化の違和感を与えるのを抑制することができる。
【0051】
又、上記のように、着座支持部33はその撓量が大幅に抑制されると共に、その前後左右部においてクッションフレーム31の前後左右上縁49a,49b,51a,51bを覆うようになっているため、乗員が座り込むとき、あるいは座り込んだあと左右へ位置がずれたようなときでも、クッションフレーム31の左右上縁51a,51bの曲面が強く当たることがなく、違和感を抑制することができる。同様に、クッションフレーム31の前部上縁49aでも同様であり、クッションフレーム31の前部上縁49aが大腿部25の裏面に強く当たることがなく、違和感を抑制することができる。
【0052】
このような構成によって、着座支持体27の上部に搭載するクッション部29のパッド47を大幅に薄くしても、座り込み時の高い衝撃や路面振動を適切に吸収し、また着座後は臀部23及び大腿部25を適切に支持することができる。従って、シートクッション3を大幅に薄くすることができると共に、大幅な軽量化を図ることが可能となる。
【0053】
ここで、図10により、クッションフレーム31の後部の上縁49bの曲率半径R2の大小と、クッション部29との関係を述べる。図10のように、曲率半径R2が大きい場合、着座による上下荷重に対して張力T2は大きくなる。この張力T2は略着座支持部33の面剛性と考えてよく、曲率半径R2が大きいと面剛性が大きく堅い感じになる。従って、クッション部29のパッド47は、上記実施形態のように着座支持体27上面全域に必要となる。但し、パッド47の厚さは、上記理由によって大幅に薄くできることは勿論である。また曲率半径R2が小さい場合は、逆に張力T1は小さくなって面剛性が小さくなり、柔軟な感じとなる。従って、座面中央部では、クッション部29のパッド47を後述のように省くことができる。
【0054】
また、曲率半径R2が小さいと、側部の上縁51a,51bの位置が相対的に高くなる。この上縁51a,51bにおいて、クッション部29上端の高さが高すぎると乗降時に違和感を増大させることになる。従って、上縁51a,51bが相対的に高くなる場合には、上縁51a、51b上に位置するクッション部29のパッド47の厚さを薄くする必要がある。従って、曲率半径R2が小さい場合には、クッションフレーム31の左右上縁51a,51b上に位置するパッド47を薄くし、緩衝効果の高い材料、例えば衝撃吸収材を用いると効果的である。
【0055】
図11は第1実施形態の変形例に係る実施形態であり、(a)はシートクッション3の一部切欠斜視図、(b)はクッションフレーム31の背面図である。
【0056】
本実施形態においては、クッションフレーム31の後部上縁49bの曲率半径R4=500mm、前部上縁49aの曲率半径R3=800mmとし、上記実施形態よりも曲率半径R4を小さくしたものである。
【0057】
そして、クッション部29のパッド47は、着座面の中央部には設けられず、クッションフレーム31の前後左右上縁49a,49b,51a,51bに対応する部分にのみ設けてある。このように、後部の上縁49bの曲率半径R4が小さくなると、上記説明のように着座支持部33の面剛性は小さくなるため、着座面の中央部においてパッド47を省いても座り込みの際の高い衝撃吸収能力と路面振動からの高い振動吸収能力を維持することができる。またパッドを一部省略することができるため、より薄く軽量なシートを得ることができる。
【0058】
ここで上記第1実施形態と変形例とを比較すると、第1実施形態では、着座支持部33の凹形状が変形例の場合に比較して浅いため、着座支持部33のバネ定数変化は相対的に大きくなっているが、着座支持部33上に配置される発泡ウレタンのパッド47の圧縮弾性によってトータルとしては適正な撓み反力特性を示す。又、緩衝材は安価な発泡ウレタンを使用するため、コストを抑制することが可能である。
【0059】
これに対し変形例では、着座支持部33の凹形状が相対的に深くなっていることにより、着座支持部33のバネ定数変化は第1実施形態に比較すると小さくなり、着座面中央部に発泡ウレタンのパッドが無くても十分な撓み反力特性を示す。
【0060】
(第2実施形態)
図12は本発明の第2実施形態に係り、(a)は着座支持体の斜視図、(b)は弾性部を兼ねる着座支持部及び補強部を裏面から見た斜視図である。尚、第1実施形態と対応する構成部分には同符合を付して説明する。
【0061】
本実施形態では、補強部35の配置構成を変えたもので、結合部67を前後に若干長く形成すると共に、臀部対応部63a,63bの左右後方への開き角度を若干小さくしたものである。
【0062】
前記結合部67はヒップポイントHPより30mm後方の結合点CとヒップポイントHPより若干前方の点CFとを結ぶ直線部を有している。かかる構成によって、乗員の着座位置が前後しても、結合部67が長いことによって支持圧の変化が小さく、違和感を抑制することができる。
【0063】
(第3実施形態)
図13は第3実施形態に係り、(a)は着座支持体の斜視図、(b)は弾性部を兼ねる着座支持部及び補強部を裏面から見た斜視図である。尚、第1実施形態と対応する構成部分には同符合を付して説明する。
【0064】
本実施形態においては、伝達部65を直線的に形成したものである。本実施形態においても、第1実施形態と略同様な作用効果を奏することができる。
【0065】
一方、本実施形態では、伝達部65が直線的であるため、助手席などで女性が足を揃えて着座する場合に、足開きを抑制することができる。
【0066】
(第4実施形態)
図14は本発明の第4実施形態に係り、着座支持体の斜視図である。尚、第1実施形態と対応する構成部分には同符合を付して説明する。
【0067】
本実施形態においては、着座支持部33及び補強部35を穴の個数調整をして可撓材により一体に形成したものである。すなわち、着座支持部33及び補強部は、弾性体の剛性を高めた材料によって一体に形成され、補強部35に相当する部分には穴を設けず、着座支持部33に相当する部分に穴73を多数個設け、両部33、35の固さに変化を持たせたものである。又、弾性体の剛性をさらに高めた材料を使用して、補強部35相当部にも小径の穴を設置し、着座支持部33に相当する部分では穴ピッチあるいは穴径を大きくするようにして固さの調整を行うことも可能である。
【0068】
従って、本実施形態においても第1実施形態と略同様な作用効果を奏することができる。又、本実施形態においては、蒸れやすい座骨部、大腿部の大幅な通気性の向上を図ることができる。
【0069】
(第5実施形態)
図15は第5実施形態に係り、(a)は着座支持部、補強部、弾性部を示す分解斜視図、(b)は取付状態の要部断面図である。尚、第1実施形態と対応する構成部分には同符合を付して説明する。
【0070】
本実施形態においては、着座支持部33は布材で形成されると共に、着座支持部の前後左右周囲に弾性部75を設けたものである。弾性部75はゴムで形成され、布材で形成された着座支持部33の周囲に含浸77によって結合されている。又、補強部35も布材で形成されると共に、ゴムで形成された弾性部79が前後左右周囲に設けられ、補強部35の臀部対応部63a,63b後端及び伝達部65a,65bの前端に、弾性部79の前後部が含浸81によって結合されている。補強部35側において弾性部79縁部にも玉縁部83a,83b,83c,83dが設けられ、その内側に取付穴85がそれぞれ3個ずつ設けられている。
【0071】
この着座支持部33及び補強部35の取付けは、上記実施形態と略同様であるが、図15(b)のようにクッションフレーム31の例えば外壁55bにおいて玉縁部83dは玉縁部59dの下側に位置し、玉縁部59dの上部側にリテーナ69が位置する形態となっている。他の部分においても、取付構造は同様である。
【0072】
従って、本実施形態においても、第1実施形態と略同様な作用効果を奏することができる。
【0073】
一方、本実施形態においては、着座支持部33及び補強部35は布材で形成することができるため、通気性があると共により軽量で薄型に形成することができる。
【0074】
(第6実施形態)
図16は本発明の第7実施形態に係り、クッションフレームの斜視図である。尚、第1実施形態と対応する構成部分には同符合を付して説明する。
【0075】
本実施形態においては、クッションフレーム前部上縁49aと後部上縁49bの凹状の形状を中央の水平部85a,87aと左右の傾斜部85b,87b,85c,87cで形成したものである。尚、本実施形態においても、前部上縁49aは凹状に形成することなく、左右上縁51a,51bと同様に直線的に形成し面一に構成することもできる。
【0076】
そして、本実施形態のフレーム構造によって、前記同様着座支持部を凹状に形成することができ、同様な作用効果を奏することができる。
【0077】
尚、上記各実施形態では着座支持部は着座面前後方向に予張力を付与するようにしたが、着座面左右方向にも着座面前後方向の予張力よりも弱い予張力を付与する構成にすることもできる。この左右方向の予張力によって、着座支持部33が横方向に安定し、横揺れに対する支持を適切に行うことができる。
【図面の簡単な説明】
【図1】本発明の第1実施形態に係るシートの斜視図である。
【図2】第1実施形態に係り、シートの分解斜視図である。
【図3】第1実施形態に係り、(a)はクッションフレームの斜視図、(b)は(a)のIIIb−IIIb矢視断面図、(c)は(a)のIIIc−IIIc矢視断面図、(d)はクッションフレームの背面図である。
【図4】第1実施形態に係り、(a)は着座支持部及び補強部を裏面から見た斜視図、(b)は(a)のIVb−IVb矢視断面図である。
【図5】第1実施形態に係り、着座支持部等とクッションフレームとの関係を示す分解斜視図である。
【図6】第1実施形態に係り、クッションフレームに対する着座支持部の取付けを示す断面図である。
【図7】第1実施形態に係り、着座支持部と臀部及び大腿部との関係を示す平面図である。
【図8】第1実施形態に係り、着座支持部と臀部との関係を示す概略断面図である。
【図9】第1実施形態に係り、着座支持部と大腿部との関係を示す概略断面図である。
【図10】第1実施形態に係り、曲率半径の相違による張力の変化を示す説明図である。
【図11】第1実施形態の変形例に係る実施形態であり、(a)はシートクッションの一部切欠斜視図、(b)はクッションフレームの背面図である。
【図12】本発明の第2実施形態に係り、(a)は着座支持体の斜視図、(b)は着座支持部及び補強部を裏面から見た斜視図である。
【図13】本発明の第3実施形態に係り、(a)は着座支持体の斜視図、(b)は着座支持部及び補強部を裏面から見た斜視図である。
【図14】本発明の第4実施形態に係り、着座支持体の斜視図である。
【図15】本発明の第5実施形態に係り、(a)は着座支持部及び補強部の分解斜視図、(b)は取付状態を示す要部断面図である。
【図16】本発明の第6実施形態に係り、クッションフレームの斜視図である。
【図17】従来例に係るシートの一部省略斜視図である。
【図18】従来例に係り、耐圧分布を示す平面図である。
【図19】従来例に係り、伸縮部材と臀部との関係を示す概略断面図である。
【図20】従来例に係り、伸縮部材と大腿部との関係を示す概略断面図である。
【図21】従来例に係り、撓み反力特性図である。
【符号の説明】
1 シート
3 シートクッション
5 シートバック
31 クッションフレーム
33 着座支持部
35 補強部
39 アッパレール(連結部材)
47 リクライニングデバイス(連結部材)
63a,63b 臀部対応部
65a,65b 伝達部
67 結合部
73 穴
75,79 弾性部

Claims (8)

  1. 着座面を形成するシートクッションと背もたれ面を形成するシートバックとを連結部材で結合したシートにおいて、
    前記シートクッションは、
    前記着座面の外形を形成する枠状のクッションフレームと、
    該クッションフレーム上に設けられ前記着座面を全体的に支える薄膜状の着座支持部と、
    該着座支持部の少なくとも周縁部に備えられ前記クッションフレーム上縁を覆うようにして該クッションフレーム前後左右外壁に固定されると共に前記着座支持部に張力を付与する弾性部と、
    前記クッションフレーム上縁間に渡って設けられ前記着座支持部を部分的に補強する可撓性の補強部とを備え
    前記クッションフレームの、少なくとも後部は、シート幅方向の中央側が低くなる凹状に形成されていることを特徴とするシート。
  2. 着座面を形成するシートクッションと背もたれ面を形成するシートバックとを連結部材で結合したシートにおいて、
    前記シートクッションは、
    前記着座面の外形を形成する枠状のクッションフレームと、
    該クッションフレーム上に設けられ前記着座面を全体的に支える薄膜状の着座支持部と、
    該着座支持部の少なくとも周縁部に備えられ前記クッションフレーム上縁を覆うようにして該クッションフレーム前後左右外壁に固定されると共に前記着座支持部に張力を付与する弾性部と、
    前記クッションフレーム上縁間に渡って設けられ前記着座支持部を部分的に補強する可撓性の補強部とを備え、
    前記着座支持部は、前記弾性体により着座面前後方向に予張力が付与され、着座面左右方向に前記着座面前後方向の予張力よりも弱い予張力が付与されていることを特徴とするシート。
  3. 着座面を形成するシートクッションと背もたれ面を形成するシートバックとを連結部材で結合したシートにおいて、
    前記シートクッションは、
    前記着座面の外形を形成する枠状のクッションフレームと、
    該クッションフレーム上に設けられ前記着座面を全体的に支える薄膜状の着座支持部と、
    該着座支持部の少なくとも周縁部に備えられ前記クッションフレーム上縁を覆うようにして該クッションフレーム前後左右外壁に固定されると共に前記着座支持部に張力を付与する弾性部と、
    前記クッションフレーム上縁間に渡って設けられ前記着座支持部を部分的に補強する可撓性の補強部とを備え、
    前記補強部は、前記着座面の後部で該着座面の左右中央側から左右両後縁部側に漸次広がるように渡る臀部対応部と、該臀部対応部の前端から前記着座面の前部側に渡り臀部対応部の荷重を前記シートクッションの前部側に伝達する伝達部とよりなり、
    前記臀部対応部の前端と伝達部の後端との結合部は、前記着座面の前後中央より後部側に位置し、
    前記伝達部は、前記着座面の左右中央側から左右両前縁部側に漸次広がるように渡り、
    前記伝達部の左右前方への開き角度を前記臀部対応部の左右後方への開き角度より狭くして、前記伝達部が着座した乗員の大腿部の内側部に配置されるようにしたことを特徴とするシート。
  4. 着座面を形成するシートクッションと背もたれ面を形成するシートバックとを連結部材で結合したシートにおいて、
    前記シートクッションは、
    前記着座面の外形を形成する枠状のクッションフレームと、
    該クッションフレーム上に設けられ前記着座面を全体的に支える薄膜状の着座支持部と、
    該着座支持部の少なくとも周縁部に備えられ前記クッションフレーム上縁を覆うようにして該クッションフレーム前後左右外壁に固定されると共に前記着座支持部に張力を付与する弾性部と、
    前記クッションフレーム上縁間に渡って設けられ前記着座支持部を部分的に補強する可撓性の補強部とを備え、
    前記補強部は、前記着座面の後部で該着座面の左右中央側から左右両後縁部側に漸次広がるように渡る臀部対応部と、該臀部対応部の前端から前記着座面の前部側に渡り臀部対応部の荷重を前記シートクッションの前部側に伝達する伝達部とよりなり、
    前記臀部対応部の前端と伝達部の後端との結合部は、前記着座面の前後中央より後部側に位置し
    前記伝達部を、前記着座面のシート幅方向の中央部を通る直線状に形成したことを特徴とするシート。
  5. 請求項1〜4の何れかに記載のシートであって、
    前記着座支持部及び補強部を、肉厚を変えて可撓材により一体に形成したことを特徴とするシート。
  6. 請求項1〜4の何れかに記載のシートであって、
    前記着座支持部及び補強部を、穴の個数調整をして可撓材により一体に形成したことを特徴とするシート。
  7. 請求項1〜4の何れかに記載のシートであって、
    前記着座支持部及び補強部は、布材で形成されると共に、前記弾性部はゴムで形成され、前記弾性部は前記着座支持部及び補強部に含浸して結合されていることを特徴とするシート。
  8. 請求項1、3又は4記載のシートであって、
    前記着座支持部は、前記弾性部により少なくとも着座面前後方向に予張力が付与されていることを特徴とするシート。
JP31598799A 1999-11-05 1999-11-05 シート Expired - Fee Related JP3772612B2 (ja)

Priority Applications (1)

Application Number Priority Date Filing Date Title
JP31598799A JP3772612B2 (ja) 1999-11-05 1999-11-05 シート

Applications Claiming Priority (1)

Application Number Priority Date Filing Date Title
JP31598799A JP3772612B2 (ja) 1999-11-05 1999-11-05 シート

Publications (2)

Publication Number Publication Date
JP2001128783A JP2001128783A (ja) 2001-05-15
JP3772612B2 true JP3772612B2 (ja) 2006-05-10

Family

ID=18071988

Family Applications (1)

Application Number Title Priority Date Filing Date
JP31598799A Expired - Fee Related JP3772612B2 (ja) 1999-11-05 1999-11-05 シート

Country Status (1)

Country Link
JP (1) JP3772612B2 (ja)

Families Citing this family (6)

* Cited by examiner, † Cited by third party
Publication number Priority date Publication date Assignee Title
EP1454571B1 (en) * 2002-08-07 2010-03-17 Delta Tooling Co., Ltd. Thin two persons seat
JP4355563B2 (ja) * 2003-12-04 2009-11-04 株式会社岡村製作所 椅子の座の支持構造
US7134729B2 (en) * 2003-12-15 2006-11-14 Be Aerospace, Inc. Frame assembly for vehicle passenger seat
JP6237503B2 (ja) * 2014-07-07 2017-11-29 トヨタ自動車株式会社 車両用シート
JP7025623B2 (ja) * 2017-05-25 2022-02-25 テイ・エス テック株式会社 シートフレーム
WO2020086314A1 (en) * 2018-10-25 2020-04-30 Illinois Tool Works Inc. Seat comprising suspension fabric with compression limiters

Family Cites Families (5)

* Cited by examiner, † Cited by third party
Publication number Priority date Publication date Assignee Title
JPS5022889Y2 (ja) * 1971-02-15 1975-07-10
JPS54151703U (ja) * 1978-04-13 1979-10-22
JPS6414053U (ja) * 1987-07-15 1989-01-24
JPH0647309Y2 (ja) * 1990-05-17 1994-12-07 陸平 山内 椅 子
JPH11299585A (ja) * 1998-04-20 1999-11-02 Achilles Corp シート用クッション体及び同クッション体を組込んだ椅子

Also Published As

Publication number Publication date
JP2001128783A (ja) 2001-05-15

Similar Documents

Publication Publication Date Title
JP6166643B2 (ja) 車両用シート
EP2727765B1 (en) Vehicle seat
JP6475278B2 (ja) 車両用シート
JP4757553B2 (ja) シート
JP2004229957A (ja) 座席構造
WO2012133675A1 (ja) シートクッション及び車両用シート
JP3772612B2 (ja) シート
WO2014087870A1 (ja) 車両用シート及び車両
JP3607861B2 (ja) シート
JP7110931B2 (ja) 車両用のシート
JP2012239495A (ja) シートカバー
JP5769073B2 (ja) 座席構造
JP2019209940A (ja) 車両の室内構造
JP2022079532A (ja) 跨座式シート
JPH038119Y2 (ja)
US11377008B2 (en) Vehicle seat
JP6453414B2 (ja) シートクッション及び車両用シート
JP5706219B2 (ja) シートクッション及び車両用シート
JP7087945B2 (ja) 車両用のシート
JP2012214119A (ja) シートクッション及び車両用シート
JP6224172B2 (ja) シートクッション及び車両用シート
JP4713162B2 (ja) 自動車用シート
JP2000210161A (ja) 車両用シ―トのシ―トバック
JP6412228B2 (ja) 乗物用シート
JPH0321633Y2 (ja)

Legal Events

Date Code Title Description
A977 Report on retrieval

Free format text: JAPANESE INTERMEDIATE CODE: A971007

Effective date: 20050805

A131 Notification of reasons for refusal

Free format text: JAPANESE INTERMEDIATE CODE: A131

Effective date: 20050816

A521 Written amendment

Free format text: JAPANESE INTERMEDIATE CODE: A523

Effective date: 20051014

TRDD Decision of grant or rejection written
A01 Written decision to grant a patent or to grant a registration (utility model)

Free format text: JAPANESE INTERMEDIATE CODE: A01

Effective date: 20060124

A61 First payment of annual fees (during grant procedure)

Free format text: JAPANESE INTERMEDIATE CODE: A61

Effective date: 20060206

R150 Certificate of patent or registration of utility model

Free format text: JAPANESE INTERMEDIATE CODE: R150

LAPS Cancellation because of no payment of annual fees