JP3758757B2 - ディスク装置 - Google Patents
ディスク装置 Download PDFInfo
- Publication number
- JP3758757B2 JP3758757B2 JP23630096A JP23630096A JP3758757B2 JP 3758757 B2 JP3758757 B2 JP 3758757B2 JP 23630096 A JP23630096 A JP 23630096A JP 23630096 A JP23630096 A JP 23630096A JP 3758757 B2 JP3758757 B2 JP 3758757B2
- Authority
- JP
- Japan
- Prior art keywords
- hub
- shaft
- diameter
- cylindrical convex
- disk
- Prior art date
- Legal status (The legal status is an assumption and is not a legal conclusion. Google has not performed a legal analysis and makes no representation as to the accuracy of the status listed.)
- Expired - Fee Related
Links
- 239000000463 material Substances 0.000 description 4
- XAGFODPZIPBFFR-UHFFFAOYSA-N aluminium Chemical compound [Al] XAGFODPZIPBFFR-UHFFFAOYSA-N 0.000 description 3
- 229910052782 aluminium Inorganic materials 0.000 description 3
- 229910001220 stainless steel Inorganic materials 0.000 description 3
- 239000010935 stainless steel Substances 0.000 description 3
- 125000006850 spacer group Chemical group 0.000 description 2
- 239000000853 adhesive Substances 0.000 description 1
- 230000001070 adhesive effect Effects 0.000 description 1
- 230000000694 effects Effects 0.000 description 1
- -1 for example Substances 0.000 description 1
- 238000003754 machining Methods 0.000 description 1
- 230000002093 peripheral effect Effects 0.000 description 1
- 239000013585 weight reducing agent Substances 0.000 description 1
Images
Classifications
-
- H—ELECTRICITY
- H02—GENERATION; CONVERSION OR DISTRIBUTION OF ELECTRIC POWER
- H02K—DYNAMO-ELECTRIC MACHINES
- H02K5/00—Casings; Enclosures; Supports
- H02K5/04—Casings or enclosures characterised by the shape, form or construction thereof
- H02K5/16—Means for supporting bearings, e.g. insulating supports or means for fitting bearings in the bearing-shields
- H02K5/173—Means for supporting bearings, e.g. insulating supports or means for fitting bearings in the bearing-shields using bearings with rolling contact, e.g. ball bearings
- H02K5/1735—Means for supporting bearings, e.g. insulating supports or means for fitting bearings in the bearing-shields using bearings with rolling contact, e.g. ball bearings radially supporting the rotary shaft at only one end of the rotor
-
- F—MECHANICAL ENGINEERING; LIGHTING; HEATING; WEAPONS; BLASTING
- F16—ENGINEERING ELEMENTS AND UNITS; GENERAL MEASURES FOR PRODUCING AND MAINTAINING EFFECTIVE FUNCTIONING OF MACHINES OR INSTALLATIONS; THERMAL INSULATION IN GENERAL
- F16C—SHAFTS; FLEXIBLE SHAFTS; ELEMENTS OR CRANKSHAFT MECHANISMS; ROTARY BODIES OTHER THAN GEARING ELEMENTS; BEARINGS
- F16C19/00—Bearings with rolling contact, for exclusively rotary movement
- F16C19/52—Bearings with rolling contact, for exclusively rotary movement with devices affected by abnormal or undesired conditions
- F16C19/525—Bearings with rolling contact, for exclusively rotary movement with devices affected by abnormal or undesired conditions related to temperature and heat, e.g. insulation
-
- F—MECHANICAL ENGINEERING; LIGHTING; HEATING; WEAPONS; BLASTING
- F16—ENGINEERING ELEMENTS AND UNITS; GENERAL MEASURES FOR PRODUCING AND MAINTAINING EFFECTIVE FUNCTIONING OF MACHINES OR INSTALLATIONS; THERMAL INSULATION IN GENERAL
- F16C—SHAFTS; FLEXIBLE SHAFTS; ELEMENTS OR CRANKSHAFT MECHANISMS; ROTARY BODIES OTHER THAN GEARING ELEMENTS; BEARINGS
- F16C35/00—Rigid support of bearing units; Housings, e.g. caps, covers
- F16C35/04—Rigid support of bearing units; Housings, e.g. caps, covers in the case of ball or roller bearings
- F16C35/06—Mounting or dismounting of ball or roller bearings; Fixing them onto shaft or in housing
- F16C35/063—Fixing them on the shaft
-
- F—MECHANICAL ENGINEERING; LIGHTING; HEATING; WEAPONS; BLASTING
- F16—ENGINEERING ELEMENTS AND UNITS; GENERAL MEASURES FOR PRODUCING AND MAINTAINING EFFECTIVE FUNCTIONING OF MACHINES OR INSTALLATIONS; THERMAL INSULATION IN GENERAL
- F16C—SHAFTS; FLEXIBLE SHAFTS; ELEMENTS OR CRANKSHAFT MECHANISMS; ROTARY BODIES OTHER THAN GEARING ELEMENTS; BEARINGS
- F16C19/00—Bearings with rolling contact, for exclusively rotary movement
- F16C19/02—Bearings with rolling contact, for exclusively rotary movement with bearing balls essentially of the same size in one or more circular rows
- F16C19/04—Bearings with rolling contact, for exclusively rotary movement with bearing balls essentially of the same size in one or more circular rows for radial load mainly
- F16C19/08—Bearings with rolling contact, for exclusively rotary movement with bearing balls essentially of the same size in one or more circular rows for radial load mainly with two or more rows of balls
-
- F—MECHANICAL ENGINEERING; LIGHTING; HEATING; WEAPONS; BLASTING
- F16—ENGINEERING ELEMENTS AND UNITS; GENERAL MEASURES FOR PRODUCING AND MAINTAINING EFFECTIVE FUNCTIONING OF MACHINES OR INSTALLATIONS; THERMAL INSULATION IN GENERAL
- F16C—SHAFTS; FLEXIBLE SHAFTS; ELEMENTS OR CRANKSHAFT MECHANISMS; ROTARY BODIES OTHER THAN GEARING ELEMENTS; BEARINGS
- F16C2370/00—Apparatus relating to physics, e.g. instruments
- F16C2370/12—Hard disk drives or the like
Landscapes
- Engineering & Computer Science (AREA)
- General Engineering & Computer Science (AREA)
- Mechanical Engineering (AREA)
- Power Engineering (AREA)
- Rotational Drive Of Disk (AREA)
- Rolling Contact Bearings (AREA)
Description
【0001】
【発明の属する技術分野】
本発明は、ディスク装置に関し、特にスピンドル・モータへのハブの取付け構造に関する。
【0002】
【従来の技術】
一般的なディスク装置において、ディスクを回転させる駆動機構としてスピンドル・モータが使用される。ディスクを一体的に保持したハブをスピンドル・モータに固定し、モータの回転をハブに伝達することでディスクの高速回転(例えば5400rpm)を達成する。ディスク上にはヘッドが所定の間隔を保持して浮上し、所望のトラックに位置決め後トラックに記録されたデータの読み取りまたは書き込みが実行される。ディスクの回転が規則正しく実行されないとヘッドによるトラック追従が困難となり、データの読み取り、または書き込み時にエラーが発生する。従って、ディスク駆動機構に要求される基本性能の一つはディスク面の回転振れのない規則正しい高速回転を達成することである。
【0003】
ところで、近年のハード・ディスクにおいてはその記録容量の増加の要請から複数枚のディスクを組み込んだものが多く見受けられるようになってきている。ディスク枚数の増加により、ディスクを装着するハブにはより広いディスク固定面が必要となっている。また、ディスク装置全体の小型化に伴いディスク装置の厚さ、すなわち高さの小さいものが望まれている。このような傾向の中でディスクの駆動機構であるスピンドル・モータにはより安定した耐衝撃性の高い構成が求められている。
【0004】
ディスク装置にはスピンドル・モータの回転をディスクに伝達する部材としてディスクを装着するハブが使用される。ハブはスピンドル・モータの回転部材に取付けられディスクに回転を伝達する。ハブの取付けを容易にかつ正確に行うため様々な工夫が加えられている。一つの例がシャフト、ベアリング・ボール、およびスリーブを一体化したベアリング・カートリッジである。図1に示すものが従来のベアリング・カートリッジの一例である。ベアリング・カートリッジ20は、シャフト13、スリーブ11、複数のベアリング・ボール12、およびベアリング・ボール12を円周上に等間隔に保持するためのリテーナ10から構成されている。シャフト13及びスリーブ11にはベアリング・ボール12の固定位置を決めるための溝が形成されており、この溝にベアリング・ボール12が保持されている。
【0005】
このベアリング・カートリッジを、ディスクを装着するハブ、モータの構成要素となるステータ、マグネット等とともに組みつけた例を図2に示す。ハブ14にはマグネット15が固定されている。ハブ14はベアリング・カートリッジのシャフト13の上部に形成されたハブ取付け部21に固定される。フランジ16にはステータ17が固定されている。ステータ17はスリーブ11とマグネット15との間に配置される。ディスクの中心孔をハブ14の外周に挿入することによってディスクはハブ14に対して固定される。ハブ14はシャフト13と一体となり回転する。
【0006】
【発明が解決しようとする課題】
図1に示すようなベアリング・カートリッジの使用により、ハブの取付け作業の困難性は改善された。しかし、図1に示すような従来のベアリング・カートリッジとハブとの組み付けはベアリング・カートリッジの上部のハブ取付け部21にハブを取付ける構成であるため、高さが大きくなってしまうという欠点があった。全体高さを減少させるためハブ取付け部21を薄くすると、ハブとシャフト13との固定が不安定となりディスクの安定した回転を阻害することとなる。
【0007】
一方、ハブとシャフトとの安定した固定を達成するため所定高さのハブ取付け部21を確保し、カートリッジに保持された上下のベアリング・ボール12のピッチを狭くすることも考えられるが、このようにベアリング・ボールのピッチを狭くすると、外乱等の衝撃に弱くなり、安定したディスクの回転が確保されないという問題が発生する。
【0008】
本発明は、このような問題に鑑み、ベアリング・ボールのピッチを狭くすることなくベアリング・カートリッジとハブとの安定固定が可能な構成を提供する。
【0009】
【課題を解決するための手段】
この発明によるディスク装置におけるモータは、ベアリング・カートリッジを使用し、ベアリング・カートリッジのシャフトの中心に中空部を設け、この中空部にハブに構成した円柱状凸部を挿入し、シャフトとハブとの安定した固定構造を達成する。
【0010】
本発明のディスク装置におけるモータはシャフトにあったハブ取付け用の凸部(図1における14)が取り除かれている。また、ベアリング・カートリッジのボール間ピッチを狭くすることなく、安定したハブとシャフトとの固定を可能にした。
【0011】
【発明の実施の形態】
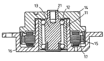
本発明によるベアリング・カートリッジの例を図3に示す。図3はベアリング・カートリッジの一部切り欠き断面図である。ベアリング・カートリッジは、シャフト22、スリーブ11、複数のベアリング・ボール12、およびベアリング・ボール12を円周上に等間隔に保持するためのリテーナ10から構成されている。シャフト22及びスリーブ11にはベアリング・ボール12の固定位置を決めるための溝が形成されており、この溝にベアリング・ボール12が保持されている。シャフト22にはハブ固定用の中空部24が形成されている。
【0012】
図4にベアリング・カートリッジとハブとを組み付けた構成を断面図で示す。ベアリング・カートリッジのシャフト22の中央に形成された中空部24にハブ52の円柱状凸部54が挿入され、ハブ52はシャフト22に対して固定される。ハブ52の円柱状凸部54とシャフト22の中空部24は焼きばめ、あるいは接着等の方法で相互のずれが発生しないように固定される。ハブ52の中央部にはディスク60固定用のクランプ62を固定するためのねじ64が挿入される。ディスク60は間にスペーサ66をはさみ、所定間隔を保持してクランプ62によって押厚されてハブ52の外周に固定される。
【0013】
ベアリング・カートリッジの外周部であるスリーブ11はフランジ16に固定されている。フランジ16にはステータ17が固定される。ハブ52にはマグネット15が固定される。ディスク60、ディスクが固定されたハブ52、およびシャフト22は一体に回転する。
【0014】
ハブ52とベアリング・カートリッジとが同一の材料、例えばステンレス製であるときは、相互の熱膨張率に差が生じないため、ディスク装置の一般的使用温度範囲においてひずみ等の発生の問題は生じない。しかし、軽量化のためにアルミニウム製のハブを使用するような場合、すなわち熱膨張率の異なる材料でハブとベアリング・カートリッジを構成した場合には、熱膨張の差によるひずみを防止するためにハブとベアリング・カートリッジの接合部分に以下に説明するような構成を採用することが望ましい。
【0015】
ハブ52の円柱状凸部54には、ベアリング・カートリッジのシャフト22の中空部24との接合領域中に温度変化によって生じる応力を緩和するための領域として、直径を他の円柱上凸部領域よりも小さくした小径部を形成する。一般に使用されるシャフトはステンレス製であり、その線膨張係数は、α=17×10-6(/℃)、アルミニウム製のハブの場合、その線膨張係数は、α=23×10-6(/℃)である。ハブの円柱状凸部54の直径をシャフト22との接合領域において均一にすると、ハブとシャフトの熱膨張率の差によって、温度変化によりハブとシャフトとの接合部において応力が発生する。この応力によって、ディスクの回転振れが発生する可能性がある。この応力を緩和するためにハブ52の円柱状凸部54の直径をやや小さくした小径部56を円柱状凸部54中に形成してある。この小径部56は円柱状凸部54とシャフト22との接合に使用される接着材たまり部としても使用され得る。
【0016】
小径部56は図4に示すようにハブ52の円柱状凸部54中に複数箇所離間して設けることが好ましい。これはハブおよびシャフト間の熱膨張率の差によって生ずる応力を分散させ、効果的に緩和することが可能となるからである。このように小径部56を円柱状凸部54中に設けることにより、ディスク装置の一般的な使用温度範囲である約5℃乃至60℃の範囲において、ベアリングの回転振れを防止し安定した回転を達成することができる。
【0017】
ハブの円柱状凸部の直径を決定する際、小径部とその他の部分との直径の差は、各材料の線膨張係数、使用するモータの動作範囲温度等を考慮して設定する必要がある。例えば以下の様な条件設定があるとする。
ハ ブ : アルミニウム αH=23×10-6(/℃)
シャフト : ステンレス αS=17×10-6(/℃)
シャフト内径 : 3.5mm
動作範囲温度 : 5〜55 ℃ (温度変化:50℃)
このとき、動作範囲温度でのハブ直径の膨張、シャフト内径の膨張は以下のように計算される。
ハブ直径膨張 : 3.5×(23×10-6)×50=4.02 (μm)
シャフト内径膨張 : 3.5×(17×10-6)×50=2.98 (μm)
上記動作温度範囲においてハブとシャフトとの接合状態を維持するためには、4.02−2.98=1.04(μm)であるから、接合部においては、ハブの円柱状凸部の直径は3.5mm−1.04μm以上とすることが要求される。同様に小径部が動作温度範囲においてルーズ状態を維持するためには、小径部におけるハブの円柱状凸部直径は3.5mm−1.04μm以下とすることが要求される。この結果、ハブにおける小径部と他の領域の直径差は1.04+1.04=2.08μmであるので、少なくても2.08μmを直径差として設定する必要がある。
【0018】
ハブの円柱状凸部領域における小径部とそれ以外の領域との直径差を設定する際に、その最小値Xを算出する一般式は次のようになる。モータ動作温度範囲をT、シャフト内径をL、ハブの線膨張係数をαH、シャフトの線膨張係数をαSとしたとき、X=2×(αH−αS)×L×Tである。実際のハブとシャフトの設計に際しては、加工精度等を考慮してその寸法を決定する。
【0019】
【発明の効果】
以上のように本発明の構成によれば、ディスクを装着するハブとベアリング・カートリッジのシャフトとの固定構造を小型でかつ安定したものにする。また、温度変化に対してひずみの発生が少なく、安定度の高いモータが提供され、ディスク装置の信頼性を高めることができる。
【図面の簡単な説明】
【図1】従来のベアリング・カートリッジの断面図である。
【図2】従来のベアリング・カートリッジを使用したモータ構造を示す断面図である。
【図3】本発明のベアリング・カートリッジの断面図である。
【図4】本発明のベアリング・カートリッジを使用したモータ構造を示す断面図である。
【符号の説明】
11 スリーブ
12 ベアリング・ボール
13,22 シャフト
15 マグネット
17 ステータ
24 中空部
52 ハブ
54 円柱状凸部
56 小径部
60 ディスク
62 クランパ
66 スペーサ
【発明の属する技術分野】
本発明は、ディスク装置に関し、特にスピンドル・モータへのハブの取付け構造に関する。
【0002】
【従来の技術】
一般的なディスク装置において、ディスクを回転させる駆動機構としてスピンドル・モータが使用される。ディスクを一体的に保持したハブをスピンドル・モータに固定し、モータの回転をハブに伝達することでディスクの高速回転(例えば5400rpm)を達成する。ディスク上にはヘッドが所定の間隔を保持して浮上し、所望のトラックに位置決め後トラックに記録されたデータの読み取りまたは書き込みが実行される。ディスクの回転が規則正しく実行されないとヘッドによるトラック追従が困難となり、データの読み取り、または書き込み時にエラーが発生する。従って、ディスク駆動機構に要求される基本性能の一つはディスク面の回転振れのない規則正しい高速回転を達成することである。
【0003】
ところで、近年のハード・ディスクにおいてはその記録容量の増加の要請から複数枚のディスクを組み込んだものが多く見受けられるようになってきている。ディスク枚数の増加により、ディスクを装着するハブにはより広いディスク固定面が必要となっている。また、ディスク装置全体の小型化に伴いディスク装置の厚さ、すなわち高さの小さいものが望まれている。このような傾向の中でディスクの駆動機構であるスピンドル・モータにはより安定した耐衝撃性の高い構成が求められている。
【0004】
ディスク装置にはスピンドル・モータの回転をディスクに伝達する部材としてディスクを装着するハブが使用される。ハブはスピンドル・モータの回転部材に取付けられディスクに回転を伝達する。ハブの取付けを容易にかつ正確に行うため様々な工夫が加えられている。一つの例がシャフト、ベアリング・ボール、およびスリーブを一体化したベアリング・カートリッジである。図1に示すものが従来のベアリング・カートリッジの一例である。ベアリング・カートリッジ20は、シャフト13、スリーブ11、複数のベアリング・ボール12、およびベアリング・ボール12を円周上に等間隔に保持するためのリテーナ10から構成されている。シャフト13及びスリーブ11にはベアリング・ボール12の固定位置を決めるための溝が形成されており、この溝にベアリング・ボール12が保持されている。
【0005】
このベアリング・カートリッジを、ディスクを装着するハブ、モータの構成要素となるステータ、マグネット等とともに組みつけた例を図2に示す。ハブ14にはマグネット15が固定されている。ハブ14はベアリング・カートリッジのシャフト13の上部に形成されたハブ取付け部21に固定される。フランジ16にはステータ17が固定されている。ステータ17はスリーブ11とマグネット15との間に配置される。ディスクの中心孔をハブ14の外周に挿入することによってディスクはハブ14に対して固定される。ハブ14はシャフト13と一体となり回転する。
【0006】
【発明が解決しようとする課題】
図1に示すようなベアリング・カートリッジの使用により、ハブの取付け作業の困難性は改善された。しかし、図1に示すような従来のベアリング・カートリッジとハブとの組み付けはベアリング・カートリッジの上部のハブ取付け部21にハブを取付ける構成であるため、高さが大きくなってしまうという欠点があった。全体高さを減少させるためハブ取付け部21を薄くすると、ハブとシャフト13との固定が不安定となりディスクの安定した回転を阻害することとなる。
【0007】
一方、ハブとシャフトとの安定した固定を達成するため所定高さのハブ取付け部21を確保し、カートリッジに保持された上下のベアリング・ボール12のピッチを狭くすることも考えられるが、このようにベアリング・ボールのピッチを狭くすると、外乱等の衝撃に弱くなり、安定したディスクの回転が確保されないという問題が発生する。
【0008】
本発明は、このような問題に鑑み、ベアリング・ボールのピッチを狭くすることなくベアリング・カートリッジとハブとの安定固定が可能な構成を提供する。
【0009】
【課題を解決するための手段】
この発明によるディスク装置におけるモータは、ベアリング・カートリッジを使用し、ベアリング・カートリッジのシャフトの中心に中空部を設け、この中空部にハブに構成した円柱状凸部を挿入し、シャフトとハブとの安定した固定構造を達成する。
【0010】
本発明のディスク装置におけるモータはシャフトにあったハブ取付け用の凸部(図1における14)が取り除かれている。また、ベアリング・カートリッジのボール間ピッチを狭くすることなく、安定したハブとシャフトとの固定を可能にした。
【0011】
【発明の実施の形態】
本発明によるベアリング・カートリッジの例を図3に示す。図3はベアリング・カートリッジの一部切り欠き断面図である。ベアリング・カートリッジは、シャフト22、スリーブ11、複数のベアリング・ボール12、およびベアリング・ボール12を円周上に等間隔に保持するためのリテーナ10から構成されている。シャフト22及びスリーブ11にはベアリング・ボール12の固定位置を決めるための溝が形成されており、この溝にベアリング・ボール12が保持されている。シャフト22にはハブ固定用の中空部24が形成されている。
【0012】
図4にベアリング・カートリッジとハブとを組み付けた構成を断面図で示す。ベアリング・カートリッジのシャフト22の中央に形成された中空部24にハブ52の円柱状凸部54が挿入され、ハブ52はシャフト22に対して固定される。ハブ52の円柱状凸部54とシャフト22の中空部24は焼きばめ、あるいは接着等の方法で相互のずれが発生しないように固定される。ハブ52の中央部にはディスク60固定用のクランプ62を固定するためのねじ64が挿入される。ディスク60は間にスペーサ66をはさみ、所定間隔を保持してクランプ62によって押厚されてハブ52の外周に固定される。
【0013】
ベアリング・カートリッジの外周部であるスリーブ11はフランジ16に固定されている。フランジ16にはステータ17が固定される。ハブ52にはマグネット15が固定される。ディスク60、ディスクが固定されたハブ52、およびシャフト22は一体に回転する。
【0014】
ハブ52とベアリング・カートリッジとが同一の材料、例えばステンレス製であるときは、相互の熱膨張率に差が生じないため、ディスク装置の一般的使用温度範囲においてひずみ等の発生の問題は生じない。しかし、軽量化のためにアルミニウム製のハブを使用するような場合、すなわち熱膨張率の異なる材料でハブとベアリング・カートリッジを構成した場合には、熱膨張の差によるひずみを防止するためにハブとベアリング・カートリッジの接合部分に以下に説明するような構成を採用することが望ましい。
【0015】
ハブ52の円柱状凸部54には、ベアリング・カートリッジのシャフト22の中空部24との接合領域中に温度変化によって生じる応力を緩和するための領域として、直径を他の円柱上凸部領域よりも小さくした小径部を形成する。一般に使用されるシャフトはステンレス製であり、その線膨張係数は、α=17×10-6(/℃)、アルミニウム製のハブの場合、その線膨張係数は、α=23×10-6(/℃)である。ハブの円柱状凸部54の直径をシャフト22との接合領域において均一にすると、ハブとシャフトの熱膨張率の差によって、温度変化によりハブとシャフトとの接合部において応力が発生する。この応力によって、ディスクの回転振れが発生する可能性がある。この応力を緩和するためにハブ52の円柱状凸部54の直径をやや小さくした小径部56を円柱状凸部54中に形成してある。この小径部56は円柱状凸部54とシャフト22との接合に使用される接着材たまり部としても使用され得る。
【0016】
小径部56は図4に示すようにハブ52の円柱状凸部54中に複数箇所離間して設けることが好ましい。これはハブおよびシャフト間の熱膨張率の差によって生ずる応力を分散させ、効果的に緩和することが可能となるからである。このように小径部56を円柱状凸部54中に設けることにより、ディスク装置の一般的な使用温度範囲である約5℃乃至60℃の範囲において、ベアリングの回転振れを防止し安定した回転を達成することができる。
【0017】
ハブの円柱状凸部の直径を決定する際、小径部とその他の部分との直径の差は、各材料の線膨張係数、使用するモータの動作範囲温度等を考慮して設定する必要がある。例えば以下の様な条件設定があるとする。
ハ ブ : アルミニウム αH=23×10-6(/℃)
シャフト : ステンレス αS=17×10-6(/℃)
シャフト内径 : 3.5mm
動作範囲温度 : 5〜55 ℃ (温度変化:50℃)
このとき、動作範囲温度でのハブ直径の膨張、シャフト内径の膨張は以下のように計算される。
ハブ直径膨張 : 3.5×(23×10-6)×50=4.02 (μm)
シャフト内径膨張 : 3.5×(17×10-6)×50=2.98 (μm)
上記動作温度範囲においてハブとシャフトとの接合状態を維持するためには、4.02−2.98=1.04(μm)であるから、接合部においては、ハブの円柱状凸部の直径は3.5mm−1.04μm以上とすることが要求される。同様に小径部が動作温度範囲においてルーズ状態を維持するためには、小径部におけるハブの円柱状凸部直径は3.5mm−1.04μm以下とすることが要求される。この結果、ハブにおける小径部と他の領域の直径差は1.04+1.04=2.08μmであるので、少なくても2.08μmを直径差として設定する必要がある。
【0018】
ハブの円柱状凸部領域における小径部とそれ以外の領域との直径差を設定する際に、その最小値Xを算出する一般式は次のようになる。モータ動作温度範囲をT、シャフト内径をL、ハブの線膨張係数をαH、シャフトの線膨張係数をαSとしたとき、X=2×(αH−αS)×L×Tである。実際のハブとシャフトの設計に際しては、加工精度等を考慮してその寸法を決定する。
【0019】
【発明の効果】
以上のように本発明の構成によれば、ディスクを装着するハブとベアリング・カートリッジのシャフトとの固定構造を小型でかつ安定したものにする。また、温度変化に対してひずみの発生が少なく、安定度の高いモータが提供され、ディスク装置の信頼性を高めることができる。
【図面の簡単な説明】
【図1】従来のベアリング・カートリッジの断面図である。
【図2】従来のベアリング・カートリッジを使用したモータ構造を示す断面図である。
【図3】本発明のベアリング・カートリッジの断面図である。
【図4】本発明のベアリング・カートリッジを使用したモータ構造を示す断面図である。
【符号の説明】
11 スリーブ
12 ベアリング・ボール
13,22 シャフト
15 マグネット
17 ステータ
24 中空部
52 ハブ
54 円柱状凸部
56 小径部
60 ディスク
62 クランパ
66 スペーサ
Claims (2)
- 中空のシャフトと、スリーブと、該シャフトの外周と該スリーブの内周との間に保持されたベアリング・ボールとが一体化したベアリング・カートリッジと、ディスクの取付け固定面を外周に有するとともに、上記ベアリング・カートリッジに一体化されている上記シャフトの中空部に挿入固定される円柱状凸部を中心位置に有するハブを有し、
上記シャフトの中空部に上記ハブの円柱状凸部を挿入固定することによりシャフトとハブがスリーブに対して一体に回転する構成を有し、
上記シャフトの中空部に挿入される上記ハブの円柱状凸部にはその領域中に直径を他の円柱状凸部領域よりも小さく構成した小径部を有し、
上記ハブの円柱状凸部の小径部と該小径部以外の部分の直径差Xは、モータ動作温度範囲をT、シャフト内径をL、ハブの線膨張係数をαH、シャフトの線膨張係数をαSとしたとき、X=2×(αH−αS)×L×Tで規定される値以上であることを特徴とする
ディスク装置。 - 上記シャフトの中空部に挿入される上記ハブの円柱状凸部にはディスク・クランプ固定用のねじ穴が構成されていることを特徴とする請求項1記載のディスク装置。
Priority Applications (2)
| Application Number | Priority Date | Filing Date | Title |
|---|---|---|---|
| JP23630096A JP3758757B2 (ja) | 1996-09-06 | 1996-09-06 | ディスク装置 |
| US08/924,219 US5896242A (en) | 1996-09-06 | 1997-09-05 | Spindle motor with stress alleviating groove provided in hub cylindrical protrusion portion |
Applications Claiming Priority (1)
| Application Number | Priority Date | Filing Date | Title |
|---|---|---|---|
| JP23630096A JP3758757B2 (ja) | 1996-09-06 | 1996-09-06 | ディスク装置 |
Publications (2)
| Publication Number | Publication Date |
|---|---|
| JPH1092092A JPH1092092A (ja) | 1998-04-10 |
| JP3758757B2 true JP3758757B2 (ja) | 2006-03-22 |
Family
ID=16998759
Family Applications (1)
| Application Number | Title | Priority Date | Filing Date |
|---|---|---|---|
| JP23630096A Expired - Fee Related JP3758757B2 (ja) | 1996-09-06 | 1996-09-06 | ディスク装置 |
Country Status (2)
| Country | Link |
|---|---|
| US (1) | US5896242A (ja) |
| JP (1) | JP3758757B2 (ja) |
Families Citing this family (9)
| Publication number | Priority date | Publication date | Assignee | Title |
|---|---|---|---|---|
| US6525440B1 (en) | 1999-04-21 | 2003-02-25 | Seagate Technology Llc | Thermal compensation spindle for ceramic ball bearings |
| US6628477B1 (en) * | 1999-04-23 | 2003-09-30 | Precision Motors Deutsche Minebea Gmbh | Spindle motor with temperature compensation |
| US6335512B1 (en) * | 1999-07-13 | 2002-01-01 | General Electric Company | X-ray device comprising a crack resistant weld |
| US6621658B1 (en) | 1999-07-14 | 2003-09-16 | Material Sciences Corporation | Vibration damping laminate with vibration isolating cut therein |
| JP2001309606A (ja) * | 2000-04-19 | 2001-11-02 | Minebea Co Ltd | Oa機器用の複合軸受電動機 |
| DE20108787U1 (de) * | 2001-05-25 | 2002-02-14 | Precision Motors Deutsche Minebea GmbH, 78052 Villingen-Schwenningen | Gehäuseteil für Spindelmotoren in Festplattenlaufwerken |
| TW489953U (en) * | 2001-09-07 | 2002-06-01 | Asia Vital Components Co Ltd | Improved structure for bearing retaining device of bearing balls in a DC fan |
| US7016147B2 (en) * | 2001-12-13 | 2006-03-21 | Seagate Technology Llc | Disk clamp balancing in a disc stack assembly |
| TW547869U (en) * | 2002-07-10 | 2003-08-11 | Hon Hai Prec Ind Co Ltd | Bearing device for motor |
Family Cites Families (17)
| Publication number | Priority date | Publication date | Assignee | Title |
|---|---|---|---|---|
| US4717977A (en) * | 1986-09-25 | 1988-01-05 | Micropolis Corporation | High capacity Winchester disk drive |
| JPH01290164A (ja) * | 1988-05-18 | 1989-11-22 | Hitachi Ltd | 磁気ディスク装置のスピンドル構造 |
| US5045738A (en) * | 1989-02-22 | 1991-09-03 | Nippon Densan Corporation | Spindle motor |
| JPH02240889A (ja) * | 1989-03-15 | 1990-09-25 | Fujitsu Ltd | 磁気ディスク装置のスピンドル組立て構造 |
| JP2771006B2 (ja) * | 1990-02-05 | 1998-07-02 | 富士通株式会社 | ディスク記憶装置の回転体支持装置 |
| US5138209A (en) * | 1990-03-01 | 1992-08-11 | Nippon Densan Corporation | Spindle motor |
| US5214326A (en) * | 1990-09-01 | 1993-05-25 | Nippon Densan Corporation | Spindle motor with magnetic shield for magnetic fluid seal |
| JP2934915B2 (ja) * | 1990-12-28 | 1999-08-16 | 日本電産株式会社 | モータ |
| JP3079587B2 (ja) * | 1991-02-08 | 2000-08-21 | 株式会社日立製作所 | 磁気ディスク装置 |
| US5227686A (en) * | 1991-04-12 | 1993-07-13 | Nagano Nidec Corporation | Spindle motor |
| JPH04360077A (ja) * | 1991-06-07 | 1992-12-14 | Hitachi Ltd | 磁気ディスク装置用ロータリアクチュエータ |
| US5333079A (en) * | 1991-08-05 | 1994-07-26 | Nippon Densan Corporation | Low profile hard disk apparatus |
| DE4136996B4 (de) * | 1991-11-11 | 2011-03-10 | Papst Licensing Gmbh & Co. Kg | Plattenspeicherantrieb |
| US5373407A (en) * | 1992-11-12 | 1994-12-13 | Mitsumi Electric Co., Ltd. | Disk drive spindle motor |
| JP2671738B2 (ja) * | 1992-11-30 | 1997-10-29 | 日本電気株式会社 | 磁気ディスク装置 |
| US5459628A (en) * | 1994-03-21 | 1995-10-17 | International Business Machines Corporation | Disk drive with profiled attachment of a spindle and hub |
| US5430589A (en) * | 1994-05-02 | 1995-07-04 | Seagate Technology, Inc. | Computer disk drive unit having vibration absorbing isolator disposed between the housing cover and the memory storage unit |
-
1996
- 1996-09-06 JP JP23630096A patent/JP3758757B2/ja not_active Expired - Fee Related
-
1997
- 1997-09-05 US US08/924,219 patent/US5896242A/en not_active Expired - Fee Related
Also Published As
| Publication number | Publication date |
|---|---|
| JPH1092092A (ja) | 1998-04-10 |
| US5896242A (en) | 1999-04-20 |
Similar Documents
| Publication | Publication Date | Title |
|---|---|---|
| JP3536022B2 (ja) | ピボット軸受装置 | |
| JPS63107438A (ja) | 軸受装置 | |
| US5751080A (en) | Spindle motor having hydrodynamic bearing | |
| JP3758757B2 (ja) | ディスク装置 | |
| JP2856700B2 (ja) | デイスク装置 | |
| JPH0793880A (ja) | 磁気ディスク装置 | |
| EP0441557A2 (en) | Rotating support apparatus in disk storage device | |
| JPH04184758A (ja) | ディスク駆動装置 | |
| JP3705858B2 (ja) | デイスク駆動装置 | |
| US9196292B1 (en) | Rotary spindle having a disk clamp bottom land facing and in contact with a shaft top land | |
| JPH0351826Y2 (ja) | ||
| JP2996805B2 (ja) | スピンドルモータ | |
| JP4108600B2 (ja) | ディスク装置 | |
| JPH076915U (ja) | ロータリーヘッドドラム構造体 | |
| JP2002084708A (ja) | ディスク駆動用モータ | |
| KR960016900B1 (ko) | 하드디스크드라이브의 액츄에이터 고정장치 | |
| JPH0430366A (ja) | 磁気デイスク装置のスピンドル機構 | |
| JP3773820B2 (ja) | ターンテーブル装置 | |
| JPH0516696Y2 (ja) | ||
| JPH02166662A (ja) | 磁気ディスク装置 | |
| JP2959483B2 (ja) | 磁気ディスク組立体およびこれを用いた磁気ディスク装置 | |
| JP2576998Y2 (ja) | ディスクの回転駆動装置 | |
| JP2001291301A (ja) | 磁気ディスク装置 | |
| JPS63155459A (ja) | 磁気デイスク装置 | |
| JPH03261359A (ja) | ディスク駆動装置用モータ |
Legal Events
| Date | Code | Title | Description |
|---|---|---|---|
| A61 | First payment of annual fees (during grant procedure) |
Free format text: JAPANESE INTERMEDIATE CODE: A61 Effective date: 20051227 |
|
| R150 | Certificate of patent or registration of utility model |
Free format text: JAPANESE INTERMEDIATE CODE: R150 |
|
| FPAY | Renewal fee payment (event date is renewal date of database) |
Free format text: PAYMENT UNTIL: 20090113 Year of fee payment: 3 |
|
| FPAY | Renewal fee payment (event date is renewal date of database) |
Free format text: PAYMENT UNTIL: 20100113 Year of fee payment: 4 |
|
| LAPS | Cancellation because of no payment of annual fees |