JP3754468B2 - 画像データ処理方法および画像処理装置 - Google Patents

画像データ処理方法および画像処理装置 Download PDF

Info

Publication number
JP3754468B2
JP3754468B2 JP02515295A JP2515295A JP3754468B2 JP 3754468 B2 JP3754468 B2 JP 3754468B2 JP 02515295 A JP02515295 A JP 02515295A JP 2515295 A JP2515295 A JP 2515295A JP 3754468 B2 JP3754468 B2 JP 3754468B2
Authority
JP
Japan
Prior art keywords
data
image
binary
processing unit
halftone
Prior art date
Legal status (The legal status is an assumption and is not a legal conclusion. Google has not performed a legal analysis and makes no representation as to the accuracy of the status listed.)
Expired - Fee Related
Application number
JP02515295A
Other languages
English (en)
Other versions
JPH08223423A (ja
Inventor
博一 山田
Current Assignee (The listed assignees may be inaccurate. Google has not performed a legal analysis and makes no representation or warranty as to the accuracy of the list.)
Konica Minolta Business Technologies Inc
Original Assignee
Konica Minolta Business Technologies Inc
Priority date (The priority date is an assumption and is not a legal conclusion. Google has not performed a legal analysis and makes no representation as to the accuracy of the date listed.)
Filing date
Publication date
Application filed by Konica Minolta Business Technologies Inc filed Critical Konica Minolta Business Technologies Inc
Priority to JP02515295A priority Critical patent/JP3754468B2/ja
Priority to US08/600,220 priority patent/US5781713A/en
Publication of JPH08223423A publication Critical patent/JPH08223423A/ja
Application granted granted Critical
Publication of JP3754468B2 publication Critical patent/JP3754468B2/ja
Anticipated expiration legal-status Critical
Expired - Fee Related legal-status Critical Current

Links

Images

Classifications

    • GPHYSICS
    • G06COMPUTING OR CALCULATING; COUNTING
    • G06KGRAPHICAL DATA READING; PRESENTATION OF DATA; RECORD CARRIERS; HANDLING RECORD CARRIERS
    • G06K15/00Arrangements for producing a permanent visual presentation of the output data, e.g. computer output printers
    • G06K15/02Arrangements for producing a permanent visual presentation of the output data, e.g. computer output printers using printers
    • HELECTRICITY
    • H04ELECTRIC COMMUNICATION TECHNIQUE
    • H04NPICTORIAL COMMUNICATION, e.g. TELEVISION
    • H04N1/00Scanning, transmission or reproduction of documents or the like, e.g. facsimile transmission; Details thereof
    • H04N1/387Composing, repositioning or otherwise geometrically modifying originals
    • H04N1/3871Composing, repositioning or otherwise geometrically modifying originals the composed originals being of different kinds, e.g. low- and high-resolution originals
    • HELECTRICITY
    • H04ELECTRIC COMMUNICATION TECHNIQUE
    • H04NPICTORIAL COMMUNICATION, e.g. TELEVISION
    • H04N1/00Scanning, transmission or reproduction of documents or the like, e.g. facsimile transmission; Details thereof
    • H04N1/40Picture signal circuits
    • HELECTRICITY
    • H04ELECTRIC COMMUNICATION TECHNIQUE
    • H04NPICTORIAL COMMUNICATION, e.g. TELEVISION
    • H04N1/00Scanning, transmission or reproduction of documents or the like, e.g. facsimile transmission; Details thereof
    • H04N1/41Bandwidth or redundancy reduction
    • GPHYSICS
    • G06COMPUTING OR CALCULATING; COUNTING
    • G06KGRAPHICAL DATA READING; PRESENTATION OF DATA; RECORD CARRIERS; HANDLING RECORD CARRIERS
    • G06K2215/00Arrangements for producing a permanent visual presentation of the output data
    • G06K2215/0082Architecture adapted for a particular function
    • G06K2215/0094Colour printing

Landscapes

  • Engineering & Computer Science (AREA)
  • Multimedia (AREA)
  • Signal Processing (AREA)
  • General Engineering & Computer Science (AREA)
  • Physics & Mathematics (AREA)
  • General Physics & Mathematics (AREA)
  • Theoretical Computer Science (AREA)
  • Image Processing (AREA)
  • Facsimile Image Signal Circuits (AREA)
  • Editing Of Facsimile Originals (AREA)

Description

【0001】
本発明は、画像を仮想的に描画するための画像データ処理方法、および仮想的に描画された画像をプリント又は表示するための画像処理装置に関する。
【0002】
【従来の技術】
ページプリンタ、ディジタル複写機、ファクシミリ装置などの画像形成装置では、ビットマップメモリと呼称される画像メモリ上で、プリント対象の画像が仮想的に描画される。すなわち、プリントによる用紙上での可視化に先立って、画像が画素単位の濃度データ(所定ビット数のデータ)の集合として表現される。そして、画像メモリから画素の配列順に濃度データが読み出され、1ページの画像がプリントされる。なお、各種のディスプレイデバイスによる画面表示に際しても、同様に仮想描画が行われる。
【0003】
【発明が解決しようとする課題】
ところで、ページプリンタにおいては、画質を高める上で、文字や線画などの2値画像については600dpi以上の高解像度が要求され、写真などの中間調画像については64階調以上の多階調再現が要求されている。
【0004】
解像度を高めるには、1ページの画素数を増やす必要がある。また、階調性を高めるには、各画素の濃度データのビット数を増やす必要がある。
このため、2値領域と中間調領域とが混在する複合画像の画質を高めようとすると、ビットマップメモリの必要データ容量が膨大になるので、コスト面及びメモリ制御系の能力の面で画質の向上が困難であった。
【0005】
本発明は、上述の問題に鑑みてなされたもので、画像メモリのデータ容量の増大をできるだけ抑えつつ、2値領域と中間調領域とが混在する複合画像の画質を高めることを目的としている。
【0006】
【課題を解決するための手段】
請求項1の発明の方法は、中間調領域とそれよりも高解像度の2値領域とが混在する画像を、画像メモリ上でビット数が3以上の仮想描画単位データの集合によって表現するための画像データ処理方法であって、前記仮想描画単位データの数値範囲内の 個以上のm個のデータ値と、複数個の2値濃度画素で構成された互いに異なるm個の画像パターンとを対応づけ、前記数値範囲内の他のデータ値と前記画像の中間調領域の濃度とを対応づける方法である。
【0007】
請求項2の発明の装置は、ビット数が3以上の仮想描画単位データの集合によって表現された画像を可視化するための画像処理装置であって、特定のデータ値の前記仮想描画単位データに対して、その画像メモリ上における2以上のビットを判別して複数個の2値濃度画素で構成された画像パターンを対応づける2値領域処理部と、前記データ値以外の前記仮想描画単位データに対して、階調再現処理を行う中間調領域処理部と、前記2値領域処理部及び前記中間調領域処理部からそれぞれ出力された画像データを合成するデータ合成部と、を有してなる。
【0008】
【作用】
仮想描画単位データは、画像における中間調領域の画素に相当する大きさの部分(ここでは、これを描画単位という)の濃度情報として、画像メモリに格納される。ただし、仮想描画単位データの取り得るデータ値が2組に分けられ、データ値の組によって意味内容の異なる濃度情報が格納される。描画単位が中間調領域である場合は量子化された濃度を示し、2値領域である場合はm個の2値濃度画素の組合せを示す。つまり、中間調領域については1つの画素の多値濃度が仮想描画単位データによって示され、2値領域については複数個の画素の2値濃度が1つの仮想描画単位データによって示される。
【0009】
【実施例】
図1は本発明に係るページプリンタ1の構成を示すブロック図である。
ページプリンタ1は、外部のホストから入力されたプリントデータ(画像情報及びコマンド)D0を解析して出力イメージデータD2を出力するデータ処理系100と、出力イメージデータD2に対応した画像を用紙上にプリントするエンジン(作像系)200とから構成されている。
【0010】
データ処理系100は、これを制御するCPU110を中心として、プログラムを格納したROM120、各種データを一時的に記憶するためのDRAM130、ホストとの通信のためのホストインタフェース140、データ転送用のラインバッファ150、画像の再現性を高めるための画像処理部160、エンジン200との通信のためのエンジンインタフェース170、データバスBD、及びアドレスバスBAなどから構成されている。なお、CPU110は、ページプリンタ1の動作全体を管理するプリントコントローラの役割を担う。また、DRAM130は、受信バッファ及びビットマップメモリ(フレームバッファ)などとして用いられる。
【0011】
CPU101は、受信バッファからプリントデータD0を逐次読み出して解析し、例えばページ記述言語によるプリント指示内容を解釈し、DRAM130内のビットマップエリア上で、キャラクタコードを文字パターンに変換したり、ホストにより指定された座標領域に中間調画像を配置したりする仮想描画(ビットマップ展開)を行う。
【0012】
1ページ分の仮想描画が終わると、CPU101は、DRAM130から画像データD1を読み出して画像処理部160へ送る。画像処理部160は、後述のように画像データD1に対して階調再現処理などを行い、処理後の2値の出力イメージデータD2をエンジンインタフェース170へ出力する。出力イメージデータD2はエンジンインタフェース170介してエンジン200へ転送される。
【0013】
一方、エンジン200は、電子写真プロセスを担う作像ユニットと用紙(記録紙)の搬送を担う用紙搬送系とを有しており、フルカラーのプリントが可能に構成されている。データ処理系100から出力イメージデータD2が入力されると、潜像形成(露光)が開始され、その後の作像プロセス(現像、転写、定着)の進行に合わせて用紙が転写位置から定着位置を経て排出口へ順に搬送される。フルカラー画像を出力する場合には、Y(イエロー),M(マゼンタ),C(シアン),K(ブラック)の各現像色のトナー像が1色ずつ順に形成され、用紙上で4色のトナー像が重ねられる。
【0014】
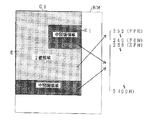
図2はビットマップメモリBMのデータ構成を示す図である。
ビットマップメモリBMにおいては、8ビットを描画単位として指定サイズの画像G1が仮想的に描画される。つまり、プリント対象の画像G1が8ビット単位のディジタルデータの集合によって表現される。なお、このときの描画単位は、解像度300dpiのプリントにおける1画素に対応する。
【0015】
このような画像G1の仮想描画に際しては、8ビットのデータの数値範囲である0〜255(10進表示)の内、0〜239(16進表示では00H〜EFH)の範囲の240個のデータ値が中間調領域E1に割り当てられ、残りの240〜255(16進表示ではF0H〜FFH)の範囲の16個のデータ値が2値領域E2に割り当てられる。そして、後述のデータ変換によって、中間調領域E1については、描画単位毎に濃度(240階調)を示すデータがビットマップメモリBMの適切なアドレスに格納され、2値領域E2については、600dpi対応の2値濃度の画像パターンを示すデータが格納される。なお、中間調領域E1と2値領域E2とを区別するために、領域指定情報がホストから与えられる。
【0016】
図3は仮想描画におけるデータ変換の内容を示す模式図、図4は2値の画像パターンの一例を示す図である。
2値領域E2については、2行2列の4個の2値濃度画素g2を1つのブロックとし、このブロックにおける2値濃度の組合せ、すなわち図4に示す16通りの画像パターンP1〜16を、8ビットの描画単位データDUの下位4ビットで表す。例えば、図においてアルファベットA,B,C,Dで示すように、2値濃度画素g2に1ビットを割り当てる。これにより、600dpi対応の2値領域E2を300dpi対応の描画単位データDUによって表現することができる。なお、上述のように2値領域E2の数値範囲はF0H〜FFHであるので、描画単位データDUの上位4ビットは全て「1」である。また、図4における括弧内の文字は、各画像パターンP1〜16に対応した描画単位データDUのデータ値(16進表示)を示している。
【0017】
一方、中間調領域E1については、300dpiの画素g1の濃度(階調数)を圧縮する必要がある。それは、描画単位データDUの数値範囲の一部を2値領域E2に割り当てたので、画素g1に割り当てることのできるデータ値の個数が256個から240個に減ったからである。
【0018】
圧縮によって階調数が減少するももの、減少の割合が6.25%程度であるので、画質への影響はほとんどない。また、後述のディザ法などの面積階調法の階調数が64〜128程度である場合は、圧縮の影響はない。
【0019】
図5は階調数の圧縮の一例を示す図である。
階調数を圧縮する場合、元の濃度範囲の全体にわたって均等に圧縮する方法と、濃度範囲の一部について集中的に圧縮する方法とが考えられる。しかし、人間の視覚感度が低濃度のときに敏感であることを考慮すると、図5の例のように、高濃度の部分で集中的に圧縮する方法が好ましい。
【0020】
図6は仮想描画におけるデータ変換の具体例を示す図である。
図6(A)は画像G1を示している。図6(A)において、中間調領域E1については、各画素g1の濃度を16進数で示し、2値領域E2については、各画素g2の濃度を白抜きの四角と黒塗りの四角とで示してある。図6(B)はビットマップメモリBMに格納された描画単位データDUのデータ値を示している。
【0021】
図6の例では、中間調領域E1の低濃度(00H,35H)のデータ値はそのままビットマップメモリBMに格納されている。これに対して、高濃度(B1H,FFH)のデータ値は、上述の圧縮によって若干小さい値に置き換えられている。
【0022】
以上のように生成された描画単位データDUは、1つずつ順にビットマップメモリBMから読み出されて画像処理部160へ送られる。
図7は画像処理部160のブロック図、図8は画像処理部160による画像復元処理の内容を示す模式図である。
【0023】
画像処理部160は、データ分離部620、2値化処理部630、中間調処理部640、及びデータ合成部650を有している。
データ分離部620は、ビットマップメモリBMから入力された描画単位データDUを、データ値に応じて2値化処理部630と中間調処理部640とに振り分ける。具体的には、「F0H〜FFH」の描画単位データDUが、2値領域データDUaとして2値化処理部630へ送られ、「00H〜EFH」の描画単位データDUが、中間調領域データDUbとして中間調処理部640へ送られる。
【0024】
2値化処理部630は、図8のように、描画単位データDUの下位4ビットに注目し、4ビットの組合せに応じて、4つの2値濃度画素g2で構成される画像パターンP1〜16のいずれかを示す画像データD630を出力する。なお、2値化処理部630は、必要に応じて2値画像の品質を高めるスムージング処理をも行う。
【0025】
中間調処理部640は、ドット集中型ディザマトリックスによる疑似階調再現を行うように構成されており、多値の中間調領域データDUbを2値の画像データD640に変換して出力する。
【0026】
データ合成部650は、2値化処理部630及び中間調処理部640からそれぞれ出力された画像データD630,D640の論理和データを、エンジン200の露光制御のための出力イメージデータD2として出力する。
【0027】
図9はデータ分離部620の回路図である。
8ビットの描画単位データDUは、第1のデータセレクタ621に入力される。また、描画単位データDUの下位4ビットが第2のデータセレクタ622に入力され、上位4ビットが論理判別回路623に入力される。
【0028】
描画単位データDUの上位4ビットが全て「1」の場合は、描画単位データDUのデータ値は「F0H〜FFH」の範囲内の値である。この場合には、データセレクタ622によって、描画単位データDUの下位4ビットがそのまま4ビットの2値領域データDUaとして2値化処理部630へ送られる。このとき、中間調処理部640には、各ビットが全て「0」の白データが中間調領域データDUbとして送られる。
【0029】
一方、描画単位データDUの上位4ビットのいずれかが「0」の場合は、描画単位データDUのデータ値は「00H〜EFH」の範囲内の値である。この場合には、データセレクタ621によって、描画単位データDUがそのまま8ビットの中間調領域データDUbとして中間調処理部640へ送られる。このとき、2値化処理部630には、4ビットの白データが2値領域データDUaとして送られる。
【0030】
図10は2値化処理部630の要部の回路図である。
4ビットの2値領域データDUaはセレクタ631に入力される。セレクタ631は、セレクト信号S1,2に従い、2値領域データDUaの所定の1ビットを選択して出力する。セレクト信号S1,2は、Dフリップフロップ632,633によって、600dpi対応の画素クロックSYNCK及び600dpi対応のライン同期信号SHに基づいて生成される。
【0031】
図11は中間調処理部640の回路図、図12はアドレス指定のタイミングチャート、図13はシフトレジスタ645の動作のタイミングチャートである。
図11において、中間調処理部640は、パターンROM641、階調変換部642、主走査アドレスカウンタ643、副走査アドレスカウンタ644、及びシフトレジスタ645から構成されている。
【0032】
階調変換部642は、前段から入力された8ビット(240階調)の中間調領域データDUbを、6ビット(64階調)の階調データD642に圧縮する。ここでのデータ圧縮は、パターンROM641の必要メモリ容量を低減するために行われる。
【0033】
パターンROM641は、各階調レベル及び現像色に応じたv×wのマトリックスからなる多数の露光パターン(ディザパターン)を格納している。図8に示されるように、1つの露光パターンPSを構成するv×w個の区画TDは、それぞれk個の要素EMから構成されている。kは画素(600dpi)の分割数であり、以下ではこれを4(k=4)として説明する。
【0034】
階調データD642によって1つの階調レベルに対応した露光パターン群が指定され、スクリーン角選択信号SCによって現像色に適した露光パターン群が指定される。その結果、1つの露光パターンPSが指定される。それと同時に、指定された露光パターンPSを構成するv×w個の区画DTの内の1つが、主走査アドレスAX及び副走査アドレスAYによって指定される。そして、指定された1つの区画DT内の露光パターンPSを示す4ビットの画像データD641が、画素クロックSYNCKに同期して読み出される。
【0035】
主走査アドレスAXは、主走査アドレスカウンタ643による画素クロックSYNCKのカウント値である。主走査アドレスカウンタ643は、露光パターンPSの横方向(行方向、水平方向、又は主走査方向)に配列される区画DTの個数に応じて、所定の値の範囲でカウントを繰り返す。例えば露光パターンPSのサイズが4(v)×4(w)であれば、図12に示すように、0〜3の範囲のカウントを繰り返す。
【0036】
副走査アドレスAYは、副走査アドレスカウンタ644によるライン同期信号SHのカウント値である。副走査アドレスカウンタ644は、露光パターンの縦方向(列方向、垂直方向、又は副走査方向)に配列される区画DTの個数に応じて、所定の値の範囲でカウントを繰り返す。例えば露光パターンPSのサイズが4(v)×4(w)であれば、図12に示すように0〜3の範囲のカウントを繰り返す。
【0037】
主走査アドレスカウンタ643及び副走査アドレスカウンタ644におけるカウントの最大値は、スクリーン角選択信号SCに応じて変更される。これにより、現像色に応じて露光パターンPSのマトリックスサイズ及びスクリーン角の一方又は両方を変更し、色再現性を高めることができる。
【0038】
パターンROM641から読み出された4ビットの画像データD641は、画素クロックSYNCKに同期してシフトレジスタ645に入力される。
シフトレジスタ645は、画素クロックSYNCKに同期して画像データD641をラッチし、シフトクロック4SYNCKに同期して画像データD641をデータシフトする。そして、図13のように画像データD641を1ビットずつシリアルに画像データ640として出力する。
【0039】
シフトクロック4SYNCKは、画素クロックSYNCKに対して4倍の周波数を有する2400dpi対応のパルス信号である。つまり、中間調処理部640においては、出力側のデータ転送周期が入力側のデータ転送の1/4である。
【0040】
上述の実施例においては、描画単位データDUのビット数が8である例を示したが、原理的にはビット数が3以上であれば、2値領域E2に2個以上のデータ値を割り当て、且つ中間調領域E1に3個以上のデータ値を割り当てることができる。ただし、実際には64〜128階調程度の階調性が要求されることから、ビット数を6以上とするのが望ましい。また、描画単位データDUの数値範囲の内、2値領域E2に割り当てるデータ値として、「F0H〜FFH」以外の任意の値を選定することができる。そのとき、必ずしも連続した値を割り当てる必要はない。
【0041】
上述の実施例において、2値領域E2の解像度を中間調領域E1の3倍以上としてもよい。3倍とする場合には、描画単位データDUに9(=3×3)個の2値濃度画素g2からなる画像パターンを対応づける。主走査方向と副走査方向の解像度が異なってもよい。その他、画像処理部160の各部の回路構成、階調再現方法、処理の内容などは種々変更することができる。例えば、階調再現に際して、露光パターンPSの区画TDを分割せずに通常のディザ法によって出力イメージデータを生成してもよい。
【0042】
なお、本発明は、ディスプレイデバイスを用いて画像を表示する場合にも適用可能である。
【0043】
【発明の効果】
請求項1の発明によれば、画像メモリの利用効率が高まるので、画像メモリのデータ容量の増大することなく、2値領域の高解像度化と中間調領域の多階調化を図ることができる。
【0044】
請求項2の発明によれば、2値領域の高解像度の2値領域と多階調の中間調領域とが混在した画像を容易に可視化することができる。
【図面の簡単な説明】
【図1】本発明に係るページプリンタの構成を示すブロック図である。
【図2】ビットマップメモリのデータ構成を示す図である。
【図3】仮想描画におけるデータ変換の内容を示す模式図である。
【図4】2値の画像パターンの一例を示す図である。
【図5】階調数の圧縮の一例を示す図である。
【図6】仮想描画におけるデータ変換の具体例を示す図である。
【図7】画像処理部のブロック図である。
【図8】画像処理部による画像復元処理の内容を示す模式図である。
【図9】データ分離部の回路図である。
【図10】2値化処理部の要部の回路図である。
【図11】中間調処理部の回路図である。
【図12】アドレス指定のタイミングチャートである。
【図13】シフトレジスタの動作のタイミングチャートである。
【符号の説明】
160 画像処理部(画像処理装置)
630 2値化処理部(2値領域処理部)
640 中間調処理部(中間調領域処理部)
650 データ合成部
BM ビットマップメモリ(画像メモリ)
D630,D640 画像データ
DU 描画単位データ(仮想描画単位データ)
E1 中間調領域
E2 2値領域
G1 画像
g2 2値濃度画素
P1〜16 画像パターン

Claims (2)

  1. 中間調領域とそれよりも高解像度の2値領域とが混在する画像を、画像メモリ上でビット数が3以上の仮想描画単位データの集合によって表現するための画像データ処理方法であって、
    前記仮想描画単位データの数値範囲内の 個以上のm個のデータ値と、複数個の2値濃度画素で構成された互いに異なるm個の画像パターンとを対応づけ、前記数値範囲内の他のデータ値と、前記画像の中間調領域の濃度とを対応づける
    ことを特徴とする画像データ処理方法。
  2. ビット数が3以上の仮想描画単位データの集合によって表現された画像を可視化するための画像処理装置であって、
    特定のデータ値の前記仮想描画単位データに対して、その画像メモリ上における2以上のビットを判別して複数個の2値濃度画素で構成された画像パターンを対応づける2値領域処理部と、
    前記データ値以外の前記仮想描画単位データに対して、階調再現処理を行う中間調領域処理部と、
    前記2値領域処理部及び前記中間調領域処理部からそれぞれ出力された画像データを合成するデータ合成部と、
    を有してなることを特徴とする画像処理装置。
JP02515295A 1995-02-14 1995-02-14 画像データ処理方法および画像処理装置 Expired - Fee Related JP3754468B2 (ja)

Priority Applications (2)

Application Number Priority Date Filing Date Title
JP02515295A JP3754468B2 (ja) 1995-02-14 1995-02-14 画像データ処理方法および画像処理装置
US08/600,220 US5781713A (en) 1995-02-14 1996-02-12 Image data processing method and image processing device

Applications Claiming Priority (1)

Application Number Priority Date Filing Date Title
JP02515295A JP3754468B2 (ja) 1995-02-14 1995-02-14 画像データ処理方法および画像処理装置

Publications (2)

Publication Number Publication Date
JPH08223423A JPH08223423A (ja) 1996-08-30
JP3754468B2 true JP3754468B2 (ja) 2006-03-15

Family

ID=12158048

Family Applications (1)

Application Number Title Priority Date Filing Date
JP02515295A Expired - Fee Related JP3754468B2 (ja) 1995-02-14 1995-02-14 画像データ処理方法および画像処理装置

Country Status (2)

Country Link
US (1) US5781713A (ja)
JP (1) JP3754468B2 (ja)

Families Citing this family (4)

* Cited by examiner, † Cited by third party
Publication number Priority date Publication date Assignee Title
JP2000261672A (ja) 1999-03-09 2000-09-22 Fuji Xerox Co Ltd 画像符号化装置
US6798530B1 (en) * 1999-12-07 2004-09-28 Xerox Corporation Systems, methods and graphical user interfaces for printing object optimized images using virtual printers
JP2001246772A (ja) * 2000-03-07 2001-09-11 Alps Electric Co Ltd 画像形成装置
US9041978B2 (en) * 2007-11-24 2015-05-26 Hewlett-Packard Development Company, L.P. Selecting printing masks optimized for line features and area fill features of image data

Family Cites Families (3)

* Cited by examiner, † Cited by third party
Publication number Priority date Publication date Assignee Title
JPS5811941A (ja) * 1981-07-16 1983-01-22 Dainippon Screen Mfg Co Ltd 網目版画像記録装置における絵柄信号と文字信号の処理方法
EP0262801B1 (en) * 1986-08-29 1992-12-23 Canon Kabushiki Kaisha Method or system for processing image data
US5539865A (en) * 1992-11-10 1996-07-23 Adobe Systems, Inc. Method and apparatus for processing data for a visual-output device with reduced buffer memory requirements

Also Published As

Publication number Publication date
US5781713A (en) 1998-07-14
JPH08223423A (ja) 1996-08-30

Similar Documents

Publication Publication Date Title
JP3194352B2 (ja) 合成画像を再現する方法
JPH08331372A (ja) イメージ信号の非整数の解像度変換を行う方法
JPS59108453A (ja) 画像デ−タの処理方法
US7848539B2 (en) Image processing apparatus, control method for the image processing apparatus, and storage medium storing computer program for executing the control method of the image processing apparatus
JP2830690B2 (ja) 画像処理装置
JP3754468B2 (ja) 画像データ処理方法および画像処理装置
JPS60157375A (ja) 中間調表現方式
EP1241868B1 (en) Image processing apparatus
JPS6277637A (ja) カラ−ハ−ドコピ−装置
JP2799263B2 (ja) 画像出力装置
JPH0659657A (ja) 画像処理装置
JP3455078B2 (ja) 画像処理装置及び画像処理方法
JP2907487B2 (ja) 画像処理方法及びその装置
JP4143519B2 (ja) 画像処理方法及び装置
JP3353078B2 (ja) 画像処理装置及び方法
JP3314196B2 (ja) 画像処理装置及び方法
JP3246542B2 (ja) 多階調イメージの処理方式
JP2009134583A (ja) 画像形成装置及び画像形成方法、コンピュータプログラム及び記録媒体
JPH02296465A (ja) 電子機器
JPH01255541A (ja) 電子機器
JP2001346026A (ja) 画像処理装置および画像処理装置の制御方法
JPH03110682A (ja) カラー画像処理方法およびその装置
JPH068533A (ja) 画像形成装置
JPH02295360A (ja) 画像処理装置
JPH10108029A (ja) カラー画像形成装置

Legal Events

Date Code Title Description
A711 Notification of change in applicant

Free format text: JAPANESE INTERMEDIATE CODE: A712

Effective date: 20050614

RD03 Notification of appointment of power of attorney

Free format text: JAPANESE INTERMEDIATE CODE: A7423

Effective date: 20050624

A61 First payment of annual fees (during grant procedure)

Free format text: JAPANESE INTERMEDIATE CODE: A61

Effective date: 20051216

R150 Certificate of patent or registration of utility model

Free format text: JAPANESE INTERMEDIATE CODE: R150

FPAY Renewal fee payment (event date is renewal date of database)

Free format text: PAYMENT UNTIL: 20081222

Year of fee payment: 3

FPAY Renewal fee payment (event date is renewal date of database)

Free format text: PAYMENT UNTIL: 20091222

Year of fee payment: 4

FPAY Renewal fee payment (event date is renewal date of database)

Free format text: PAYMENT UNTIL: 20101222

Year of fee payment: 5

FPAY Renewal fee payment (event date is renewal date of database)

Free format text: PAYMENT UNTIL: 20101222

Year of fee payment: 5

FPAY Renewal fee payment (event date is renewal date of database)

Free format text: PAYMENT UNTIL: 20111222

Year of fee payment: 6

FPAY Renewal fee payment (event date is renewal date of database)

Free format text: PAYMENT UNTIL: 20111222

Year of fee payment: 6

FPAY Renewal fee payment (event date is renewal date of database)

Free format text: PAYMENT UNTIL: 20121222

Year of fee payment: 7

FPAY Renewal fee payment (event date is renewal date of database)

Free format text: PAYMENT UNTIL: 20131222

Year of fee payment: 8

S111 Request for change of ownership or part of ownership

Free format text: JAPANESE INTERMEDIATE CODE: R313111

R350 Written notification of registration of transfer

Free format text: JAPANESE INTERMEDIATE CODE: R350

LAPS Cancellation because of no payment of annual fees