JP3739733B2 - 成形出隅柱およびそれを用いた出隅部施工構造 - Google Patents
成形出隅柱およびそれを用いた出隅部施工構造 Download PDFInfo
- Publication number
- JP3739733B2 JP3739733B2 JP2002223061A JP2002223061A JP3739733B2 JP 3739733 B2 JP3739733 B2 JP 3739733B2 JP 2002223061 A JP2002223061 A JP 2002223061A JP 2002223061 A JP2002223061 A JP 2002223061A JP 3739733 B2 JP3739733 B2 JP 3739733B2
- Authority
- JP
- Japan
- Prior art keywords
- corner
- molded
- wall plate
- protruding
- mounting piece
- Prior art date
- Legal status (The legal status is an assumption and is not a legal conclusion. Google has not performed a legal analysis and makes no representation as to the accuracy of the status listed.)
- Expired - Fee Related
Links
- 238000010276 construction Methods 0.000 title claims description 54
- 239000000463 material Substances 0.000 claims description 31
- 239000000853 adhesive Substances 0.000 claims description 6
- 230000001070 adhesive effect Effects 0.000 claims description 6
- 239000004568 cement Substances 0.000 claims description 4
- 239000011347 resin Substances 0.000 claims description 3
- 229920005989 resin Polymers 0.000 claims description 3
- 235000012438 extruded product Nutrition 0.000 claims description 2
- 239000007769 metal material Substances 0.000 claims description 2
- 238000004553 extrusion of metal Methods 0.000 claims 1
- 239000004570 mortar (masonry) Substances 0.000 description 14
- 238000001125 extrusion Methods 0.000 description 11
- 238000007789 sealing Methods 0.000 description 4
- 230000008878 coupling Effects 0.000 description 3
- 238000010168 coupling process Methods 0.000 description 3
- 238000005859 coupling reaction Methods 0.000 description 3
- 238000004519 manufacturing process Methods 0.000 description 3
- 238000000465 moulding Methods 0.000 description 3
- XLYOFNOQVPJJNP-UHFFFAOYSA-N water Substances O XLYOFNOQVPJJNP-UHFFFAOYSA-N 0.000 description 3
- 229910052918 calcium silicate Inorganic materials 0.000 description 2
- 239000000378 calcium silicate Substances 0.000 description 2
- OYACROKNLOSFPA-UHFFFAOYSA-N calcium;dioxido(oxo)silane Chemical compound [Ca+2].[O-][Si]([O-])=O OYACROKNLOSFPA-UHFFFAOYSA-N 0.000 description 2
- 238000007796 conventional method Methods 0.000 description 2
- 238000000034 method Methods 0.000 description 2
- 238000009418 renovation Methods 0.000 description 2
- 239000003566 sealing material Substances 0.000 description 2
- 229920002430 Fibre-reinforced plastic Polymers 0.000 description 1
- 229910052782 aluminium Inorganic materials 0.000 description 1
- XAGFODPZIPBFFR-UHFFFAOYSA-N aluminium Chemical compound [Al] XAGFODPZIPBFFR-UHFFFAOYSA-N 0.000 description 1
- 230000000694 effects Effects 0.000 description 1
- 239000011151 fibre-reinforced plastic Substances 0.000 description 1
- 239000003365 glass fiber Substances 0.000 description 1
- 229910052751 metal Inorganic materials 0.000 description 1
- 239000002184 metal Substances 0.000 description 1
- -1 outer wall plate Substances 0.000 description 1
- 230000002265 prevention Effects 0.000 description 1
- 238000007493 shaping process Methods 0.000 description 1
- 239000013464 silicone adhesive Substances 0.000 description 1
- 238000004078 waterproofing Methods 0.000 description 1
Images
Landscapes
- Finishing Walls (AREA)
Description
【発明の属する技術分野】
本発明は、建物の出隅部に取り付けて、外壁板では覆うことのできない出隅部を覆い、出隅部のシーリングと共に外観意匠性も向上させることを目的とした成形出隅柱と、その出隅柱を用いた出隅部施工構造に関する。
【0002】
【従来の技術】
建物の出隅部に取り付ける出隅柱と、それを使用した出隅部施工構造は種々の態様のものが知られている。特開2000−274047号公報には、交叉するコーナー板の両側端部に外壁板が挿入される凹陥部を持つ出隅材において、凹陥部での漏水防止性を向上させることを目的に、凹陥部の底部に、挿入される外壁板と衝接して雨水の浸入を阻止する凸条を突設するようにしたものが知られている。そのコーナー板に沿うようにしてカバー出隅材を取り付け、出隅部の外観意匠を向上させることも行われている。
【0003】
さらに、特開2001−90311号公報には、図15に示すように、2つの板片101、101を角状に配置してなる一体成形した本体部100を有する成形出隅柱において、板片101、101は、施工時に隣接させる外壁板4dと対向する本体端部に段状切欠部102有しており、段状切欠部102は、外壁板4dの結合端部4d1を嵌合させるための凹部210を有するジョイントソケット200が全長にわたって一体的に結合されているものが記載されている。ジョイントソケット200の凹部210内には、そこに挿入された外壁板4dの側縁4d1と衝接して雨水の浸入を阻止するための凸条211が形成されている。
【0004】
この出隅柱において、本体部100を押し出し成形する際に、その材料である繊維強化プラスチックやガラス繊維強化セメント等を上記ジョイントソケット200に融着させながら一緒に押し出して硬化させることにより、段状切欠部102内にジョイントソケット200を一体に固定している。また、ジョイントソケット200の凹部210に挿入される外壁板4dの結合端部4d1の部分は厚みが薄くされており、この出隅柱を用いた出隅部施工構造では、出隅柱表面と外壁板表面とがほぼ同じ平面をなすようにされている。
【0005】
【発明が解決しようとする課題】
図15に示した形態の出隅柱およびその施工構造では、本体部100とジョイントソケット200とが成形時に一体に固定されたものを用い、かつ、建物側(柱1および胴縁3として示される)への取り付けに際してシーリング材を必要としないことから、施工が容易であると共に、水漏れを確実に防止することができ、さらに、外観意匠性にも優れているという、きわめて実用性の高い効果が得られる。
【0006】
しかし、一方において、上記出隅柱は、その製造に際して、押し出し成形機のダイとジョイントソケット200とを相対的に移動させながら、押し出し成形されるFRPなどの本体部100と金属、樹脂等からなるジョイントソケット200とを一体に融着し、硬化させるようにしており、製造工程が幾分複雑となっている。また、その施工構造上、出隅柱と外壁板との接合面は同じ平面をなすようになっており、付け柱のような外観を作り出すことはできないと共に、出隅柱に対向する位置にくる外壁板は、他の位置に留め付けられる外壁板と異なり、その結合端部4d1の厚みが薄くされたものを用いることが必要となる。
【0007】
本発明は、上記のような事情に鑑みてなされたものであり、製造も出隅部への施工も容易であり、止水性も確実であり、さらに、建物への施工時に、出隅柱に対向する位置にくる外壁板として他の位置に留め付けられる外壁板と同じものをそのまま用いることができるようにした成形出隅柱と、それを用いた出隅部施工構造を提供することを目的とする。
【0008】
【課題を解決するための手段】
本発明による成形出隅柱は、建物の出隅部に取り付けられる出隅柱であって、押し出し成形された出隅材と、その長手方向の一方または双方の側縁に沿うようにして裏面側に接着剤または適宜の固定具により後付けされた取り付け片とからなり、取り付け片は、出隅材の裏面側に固定される第1の面と、建物の出隅部に固定される第2の面と、第1と第2の面を繋ぐ第3の面とを有しており、第1の面と第3の面と第2の面とで区画される領域は、出隅部に取り付けたときに隣接する外壁板の縁部が挿入するソケット部とされており、外壁板の縁部がソケット部に挿入された状態で、出隅材は少なくとも取り付け片を取り付けた側の全厚みが当該外壁板の外側面に付け柱の外観を呈するように飛び出た状態とされることを特徴とする。
【0009】
本発明による成形出隅柱は、基本的に、出隅材と取り付け片で構成される。出隅材はセメントやけい酸カルシウムのような材料を定法により押し出し成形することにより作られる。出隅材を構成する左右の板材のなす角度は90°が通常であるが、それに限らず、より狭い角度であってもより広い角度であってもよい。押し出し成形に用いるダイを適宜設計することにより、任意の角度をなす出隅材が容易に得られる。左右の板材の厚みも同じ厚みであるのが普通であるが、異なる厚みであってもよい。左右の板材の横方向の幅は同じ幅であるのが普通であるが、異なる幅のものであってもよい。左右の板材は交差部がある角度をなすようにして連続しているのが普通であるが、滑らかな曲面でもって接続していてもよい。これらのいずれの態様も、押し出し成形に用いるダイを適宜設計することにより、容易に得ることができる。
【0010】
取り付け片は、好ましくは、金属材料や樹脂材料の押し出し成形により作られる。取り付け片は、上記出隅材の裏面側に固定される第1の面と、建物の出隅部に固定される第2の面と、第1と第2の面を繋ぐ第3の面とからなり、第1の面と第3の面と第2の面とで区画される領域が、隣接する外壁板の縁部が挿入するソケット部とされる。
【0011】
出隅材と取り付け片とは別途に製造される。そして、出隅材の長手方向の一方または双方の側縁に沿うようにして、その裏面側に取り付け片の第1の面が固定される。固定は接着剤を用いて行ってもよく、ビス留めのように適宜の固定具を用いて行ってもよい。接着剤を用いる場合に、その種類は出隅材と取り付け片の材料に合わせて最適のものを選択すればよいが、通常の場合、1液型変成シリコーン系接着剤が好適である。接着剤とビス留めの双方を同時に行ってもよい。
【0012】
上記のように、本発明による成形出隅柱は、出隅材の裏面に取り付け片をその第1の面を利用して後付け固定した構造であり、さらに、該取り付け片は建物の出隅部に固定される第2の面と前記ソケット部とを備えているので、シーリング施工を行うことなく、前記第2の面を建物出隅部にビス留めなどにより固定し、ソケット部に外壁板の縁部を挿入して出隅部施工を行うことにより、止水性に富んだ出隅部施工構造を容易に構築することができる。また、施工後の出隅部は、少なくとも取り付け片を取り付けた側の全厚みが当該外壁板の外側面に付け柱の外観を呈するように飛び出た状態となっており、高い外観意匠性が得られる。
【0013】
取り付け片を出隅材の一方の側縁にのみ固定した成形出隅柱の場合には、当該取り付け片のソケット部には外壁板の縁部が挿入されるが、出隅材の他方の側縁は、その裏面を建物側の壁面(下地材、外壁板やモルタル壁など)の上に直接乗せた状態で成形出隅柱は建物側に固定される。建物の一方側の壁面に新たに外壁板を留め付け、他方の壁面はモルタル壁をそのまま利用するような改修工事の場合に、この態様の成形出隅柱は有効となる。
【0014】
好ましい態様において、取り付け片の前記第3の面には、当該ソケット部に挿入した外壁板の端面と当接する凸条が形成される。そのような凸条をソケット部内に形成することにより、ソケット部を介して雨水が内部に侵入するのを一層確実に阻止することができる。
【0015】
好ましい態様において、出隅材裏面であって取り付け片の第1の面が当接する領域には長手方向の側縁に沿う方向に凹溝が形成され、取り付け片の第1の面には該凹溝に入り込む凸条が形成される。そして、前記凹溝中に該凸条が入り込んだ状態で、取り付け片は出隅材裏面に固定される。このような凹溝と凸条を形成することにより、取り付け片を出隅材の長手方向に沿って所定位置に確実に位置決めして固定することができる。なお、出隅材に形成する凹溝は、それ専用に形成してもよいが、押し出し成形時に、押し出し方向を一定にするために押し出し方向に並行に形成される凹溝をそのまま利用することもできる。いずれにしろ、凹溝の位置にあわせて、取り付け片側の凸条の位置も決められる。
【0016】
本発明はまた、上記した形態の成形出隅柱が、そのソケット部に建物の壁面に取り付けられる外壁板の縁部を挿入した状態で取り付けてあり、成形出隅柱を構成する出隅材はその全厚みが当該ソケット部に挿入された外壁板の外側面に付け柱の外観を呈するように飛び出た状態とされている出隅部施工構造も開示する。この出隅部施工構造では、シーリング施工を行うことなく充分な止水性を確保することができ、かつ、出隅材は押し出し成形により得られるものであり自由な表面形状を作り出すことができるので、容易に高い外観意匠性を備えた出隅部施工構造とすることができる。特に、出隅材はその全厚みが外壁板の外側面に飛び出た付け柱の外観を呈するので、外観意匠性は一層高いものとなる。
【0017】
【発明の実施の形態】
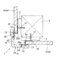
以下、本発明を図面を参照しながら実施の形態に基づき説明する。図1は、本発明による成形出隅柱とそれを使用した出隅部施工構造の一例を示す斜視図であり、図2はその断面図である。また、図3は、図1および図2に示す成形出隅柱を構成する取り付け片を拡大して示す斜視図である。成形出隅柱1は、出隅材10と取り付け片30とで構成される。
【0018】
出隅材10は、セメントやけい酸カルシウムの押し出し成形品であり、左右の板材11、11が90°の角度をなすようにして一体成形されている。左右の板材11、11は折れ曲がり部12を中心として鏡面対称の形状であり、双方の側縁部の厚みは他の部分よりも厚くなっている。そして、該肉厚部となった箇所の裏面には、長手方向全長に亘って、かつ長手方向の側縁に並行に凹溝13が形成されている(凹溝13は省略することもできる)。なお、凹溝13は出隅材10を押し出し成形するときに、成形品の方向性を確保するために自動的に形成されるものであるが、押し出し成形型に凹溝形成用の専用の凸部を形成してもよい。
【0019】
出隅材10の左右の側縁部には、取り付け片30a、30bが固定される。取り付け片30a、30bは共にアルミの押し出し成形品であり、2つは鏡面対称の形状をなしている。図3に一方の取り付け片30aを拡大して示すように、取り付け片30aは、出隅材10の裏面側への固定面となる第1の面31と、建物の出隅部側への固定面となる第2の面32と、第1の面31と第2の面を繋ぐ第3の面33とを備える。第1の面31と第2の面32とは並行であり、第3の面33はそれらに直交する面となっている。そして、第1の面31と第3の面33と第2の面32とで区画される領域により、建物の出隅部に取り付けたときに隣接する外壁板4aの縁部が挿入するソケット部34が形成される。
【0020】
必須のものではないが、第1の面31の外側には、その長手方向の一方の側縁31aから距離xだけ内側の位置に、側縁に並行にかつ長手方向の全長に亘る凸条35が形成される。凸条35の高さは、出隅材10に形成した凹溝13の深さと同じか僅かに低く、厚みは凹溝13の幅よりも薄い。また、同様に必須のものではないが、第2の面32における長手方向の一方の側縁(第3の面33とは反対側の側縁)32aには高さの低い第2の凸条37がソケット部34側に突出するようにして形成されており、第2の凸条37よりも内側には全長に亘るV溝38が形成されている。これら第2の凸条37およびV溝38も省略可能である。第3の面33のソケット部34側にも、適宜高さの第3の凸条39が全長に亘り形成されている。図では第3の凸条39は2条として示されるが、1条でも3条以上でもよい。第3の凸条39も周囲の状況によっては省略可能である。
【0021】
出隅材10の左右の側縁部に上記の取り付け片30a、30bを固定することにより、成形出隅柱1が作られる。固定に際しては、第1の面31に形成した凸条35を出隅材10の凹溝13内に挿入することにより、両者間の位置決めを容易に行うことができる。凸条35を備えない取り付け片30a、30bを固定する場合には、両者の側縁の位置が目安となる。いずれの場合にも、取り付け片30a、30bの前記一方の側縁31aが出隅材10の側縁よりも内側に位置するようにして固定することは、外観意匠性を確保する点から好ましい。固定には、接着剤を用いてもよく、図示されるように、ビス40によるビス留めであってもよい。ビス留めの場合には、図示しないが、第1の面31にビス穴を形成しておいてもよい。
【0022】
成形出隅柱1を建物の出隅部に取り付けるには、建物の出隅部(ここでは、柱2およびそこに固定した胴縁3として示している)に、取り付け片30a、30bの第2の面を押し当て、そこに形成したV溝38を利用してビス41を胴縁3から柱2にまでねじ込む(なお、V溝38に変えて、適宜のビス穴を形成しておいてもよい)。そのようにして取り付けた成形出隅柱1のソケット部34内に縁部を挿入しながら、出隅部側に位置する外壁板4aを従来法により留め付けることにより、本発明による出隅部施工構造はできあがる。なお、建物壁面にも、順次、従来知られた手法により外壁板4を留め付ける。
【0023】
本発明による出隅部施工構造では、成形出隅柱1に固定してある取り付け片30のソケット部34内に外壁板の縁部を挿入した状態で、出隅部の外壁板を留め付けるようにしているので、シーリング施工を行うことなく、止水性に富んだ出隅部施工構造が得られる。また、この例において、ソケット部34は出隅材10の裏面に位置しており、成形出隅柱1を建物の出隅部に取り付けた状態で、図示のように、出隅材10はその全厚みが当該外壁板4aの外側面に付け柱の外観を呈するように飛び出た状態となる。それにより、高い外観意匠性も確保できる。
【0024】
また、取り付け片30は、第3の面33に第3の凸条39を備えており、取り付け時には、その先端がソケット部34内に挿入した外壁板4aの端面と衝接した状態となるので、雨水が成形出隅柱1の内側に侵入するのは一層確実に阻止される。さらに、成形出隅柱1を建物の出隅部に取り付けた状態では、第2の面32に形成した第2の凸条37の先端は外壁板4aの裏面に衝接した状態となることからも、内部への雨水の浸入はそこでも阻止される。さらに、成形出隅柱1と外壁板4aとの間にはシーリング材が存在しないこと、成形出隅柱1を出隅部に固定するのに用いたビス41は外壁板に覆われて外から見えないこと、などからも、施工後における出隅部施工構造の外観意匠性は優れたものとなる。
【0025】
図4は、成形出隅柱1を構成する取り付け片の他の形態を示している。この取り付け片30aは、第2の面32の形状のみが図3に示した取り付け片30と異なっている。図示のように、第2の面32は、内側に向けて傾斜する斜板32cとその端部から裏面側に折れ曲がる垂直板32dとが多段(図では2段)に連続した形状となっている。なお、このような形状は、取り付け片を押し出し成形により作ることにより容易に得ることができる。図5は、上記の取り付け片30aを固定した成形出隅柱1を用いた出隅部施工構造を示す断面図であり、前記図2に相当する。図示のように、垂直板32dの両先端が、外壁板4aの裏面と建物側(この例では、建物出隅部の胴縁3)の双方に多段に衝接した状態となるので、出隅部の内側に雨水が浸入するのは、一層確実に阻止される。
【0026】
図6〜図9に示す形態は、出隅材の形態のみが実質的に図1〜図3に示したものと相違している。図6に示す出隅材10aは、左右の板材11、11が直接90°の角度で接続するのではなく、適宜の角度(図のものでは45°)をなす斜板11aを介して接続している点で異なっている。図7に示す出隅材10bは、左右の板材11、11が滑らかに連続する弧状をなす部分11bを介して90°の角度で接続している点で異なっている。図8に示す出隅材10cは、左右の板材11、11の厚みが異なっている点で異なっている。図9に示す出隅材10dは左右の板材11、11の長さが相違する点で異なっている。本発明では出隅材を押し出し成形により得るようにしており、このような種々の断面形状を持つ出隅材を容易に作り出すことができる。また、外観意匠の異なる多くの種類の出隅部施工構造を容易に得ることができる。
【0027】
図10は、さらに他の形態の成形出隅柱とそれを使用した出隅部施工構造を示している。この成形出隅柱1では、2つの取り付け片30a、30bが鏡面対称をなす形状ではなく、ソケット部34a、34bの厚みが相違している。図示のものでは、取り付け片30aにおけるソケット部34aの厚みが、取り付け片30bのものよりも厚くされており、出隅部施工構造において、取り付け片30aのソケット部34aに挿入される外壁板4bの厚みは、取り付け片30bのソケット部34bに挿入される外壁板4aの厚みよりも厚くされている。本発明による成形出隅柱1では、出隅材に対して取り付け片30を後付けする構成であり、このような異なる形状の取り付け片30a、30bであっても、容易に出隅材10の両側片に固定することができる。この形態の成形出隅柱1は、建物壁面の改修時などにおいて厚さの異なる外壁板を留め付けるような場合に、きわめて有効に用いられる。
【0028】
図11は、さらに他の形態の成形出隅柱とそれを使用した出隅部施工構造を示している。この成形出隅柱1では、出隅材10eにおける左右の板材11、11が90°の角度で交差するのではなく、より広い角度(鈍角β)で交差している点で、上記した成形出隅柱1と異なっている。図示しないが、90°より狭い角度で交差する場合もある。この形態の成形出隅柱1は、建物側の左右の壁面が90°で交差していない出隅部において用いられる。図示の例では、2本の柱1、1を配置して鈍角の出隅部を形成しているが、1本の柱でもって90°以外の角度の出隅部が構築される場合もある。その場合にも、同じ成形出隅柱1を使用することができる。
【0029】
図12は、図1〜図3に示した形態の成形出隅柱1を用いて施工した他の形態の出隅部施工構造を示しており、建物側の出隅部の形状が上記した出隅部施工構造の場合と異なっている。この例では、建物の既存のモルタル壁5を壊すことなく、その上に外壁板4を留め付ける場合での出隅部施工構造となっている。施工に際しては、建物の出隅部にモルタル壁5の上から胴縁3、3を適宜の手段で固定し、該胴縁3、3およびモルタル壁5の下地材6を利用して、上記したと同様に成形出隅柱1をビス41により固定している。以下、上記と同様にして外壁板4a、4を留め付けていく。なお、この出隅部施工構造において、成形出隅柱1として図示のものに限らず、図4〜図11に示したいずれの形態の成形出隅柱をも用いうることは当然である。
【0030】
図13、図14は、さらに他の形態の成形出隅柱1Aとそれを使用した出隅部施工構造を示している。この成形出隅柱1Aは、出隅材10の一方の長手方向の側縁にのみに取り付け片30を固定している点で、上述した成形出隅柱1と異なっている。この形態の成形出隅柱1Aも、本発明による成形出隅柱が出隅材10に対して取り付け片30を後付けする構成であることから容易に作ることができる。特に図示しないが、出隅材10の形状および用いる取り付け片30の形状は、図示のものに限らず、上述したいずれ形態のものをも選択的に組み合わせて用いることができる。
【0031】
図13に示す出隅部施工構造では、下地材6の上に塗られたモルタル壁5を壊すことなく、その一方の壁面にのみ、外壁板4を留め付けるようにしている。施工に当たっては、外壁板4を留め付けようとする壁面側の出隅部にのみ、モルタル壁5の上から胴縁3を適宜の手段で固定し、該胴縁3に対して、成形出隅柱1Aに取り付けた取り付け片30をビス41を用いてビス留めする。その際に、出隅材10の留め付け片を有していない側の板材11の裏面をモルタル壁5の上に載せるようにして、成形出隅柱1Aを建物側に固定する。この態様は、既存の一方のモルタル壁は再塗装により対処するようなリフォームを行う場合に、有効なものとなる。
【0032】
図14に示す出隅部施工構造は、建物の2つの壁面のうち、一方の壁面は外壁板による仕上げを行い、他方の壁面はモルタル仕上げを行うような場合に、有効に採用される。すなわち、建物の出隅部である柱1の一方の面には胴縁3を適宜の手段で固定し、交差する他方の面にはモルタル仕上げのための下地材6を貼り付ける。そして、出隅材10の留め付け片を有していない側の板材11の裏面を下地材6の上に載せた状態とし、その状態で、成形出隅柱1Aの取り付け片30側をビス41を用いて胴縁3にビス留めする。その後、一方の壁面側には外壁板4を留め付けると共に、他方の壁面側にはモルタル壁5を形成する。
【0033】
図13、図14に示した出隅部施工構造の場合でも、出隅材10は当該外壁板4aおよびモルタル壁5の仕上げ面の外側面に付け柱の外観を呈するように飛び出た状態となっており、高い外観意匠性も確保される。
【0034】
【発明の効果】
上記のように、本発明によれば、製造も出隅部への施工も容易であり、止水性も確実であり、さらに、建物への施工時に、成形出隅柱に対向する位置にくる外壁板として他の位置に留め付ける外壁板と同じものをそのまま用いることができる成形出隅柱と、それを用いた出隅部施工構造が得られる。
【図面の簡単な説明】
【図1】本発明による成形出隅柱とそれを使用した出隅部施工構造の一例を示す斜視図。
【図2】図1に示す施工構造の断面図。
【図3】成形出隅柱を構成する取り付け片を拡大して示す斜視図。
【図4】取り付け片の他の形態を示す斜視図。
【図5】図4に示した取り付け片を固定した成形出隅柱を用いた出隅部施工構造を示す断面図。
【図6】他の形態の成形出隅柱を用いた出隅部施工構造を示す断面図。
【図7】さらに他の形態の成形出隅柱を用いた出隅部施工構造を示す断面図。
【図8】さらに他の形態の成形出隅柱を用いた出隅部施工構造を示す断面図。
【図9】さらに他の形態の成形出隅柱を用いた出隅部施工構造を示す断面図。
【図10】さらに他の形態の成形出隅柱を用いた出隅部施工構造を示す断面図。
【図11】さらに他の形態の成形出隅柱を用いた出隅部施工構造を示す断面図。
【図12】建物側の出隅部の構成が異なる場合における本発明による出隅部施工構造を示す断面図。
【図13】さらに他の形態の成形出隅柱を用いた出隅部施工構造を示す断面図であり、建物側の出隅部の構成も異なっている。
【図14】図13に示した成形出隅柱を用いた出隅部施工構造の他の形態を示す断面図であり、建物側の出隅部の構成が異なっている。
【図15】従来知られた成形出隅柱とそれを使用した出隅部施工構造の一例を示す断面図。
【符号の説明】
1、1A…成形出隅柱、3…胴縁、4、4a…外壁板、5…モルタル壁、6…下地材、10、10a〜10e…出隅材、11、11…左右の板材、13…凹溝、30(30a、30b)…取り付け片、31…第1の面、32…第2の面、33…第3の面、34…ソケット部、35…凸条、38…V溝、40…ビス
Claims (3)
- 建物の出隅部に取り付けられる出隅柱であって、
セメントの押し出し成形品である出隅材と、
該出隅材の長手方向の一方または双方の側縁に沿うようにして裏面側に接着剤または適宜の固定具により後付けされた、金属材料あるいは樹脂材料の押し出し成形品である取り付け片とからなり、
前記取り付け片は、出隅材の裏面側に固定される第1の面と、建物の出隅部に固定される第2の面と、第1の面の幅方向の中間部と第2の面を繋ぐ第3の面とを有しており、第1の面と第3の面と第2の面とで区画される領域は、出隅部に取り付けたときに隣接する外壁板の縁部を挿入するソケット部とされ、第1の面における第2の面と反対側の領域は、出隅材の裏面側にビス留め可能とされており、
前記出隅材は、その裏面であって取り付け片の第1の面が当接する領域には長手方向の側縁に沿う方向に凹溝が形成されており、取り付け片の第1の面には該凹溝に入り込む凸条が形成されており、凹溝中に凸条が入り込んだ状態で取り付け片は出隅材裏面に固定されており、さらに、
外壁板の縁部がソケット部に挿入された状態で、出隅材は少なくとも取り付け片を取り付けた側の全厚みが当該外壁板の外側面に付け柱の外観を呈するように飛び出た状態とされることを特徴とする成形出隅柱。 - 第3の面にはソケット部に挿入した外壁板の端部と当接する凸条が形成されていることを特徴とする請求項1記載の成形出隅柱。
- 請求項1または2記載の成形出隅柱が、そのソケット部に建物の壁面に取り付けた外壁板の縁部を挿入した状態で取り付けてあり、成形出隅柱を構成する出隅材はその全厚みが当該ソケット部に挿入された外壁板の外側面に付け柱の外観を呈するように飛び出た状態とされることを特徴とする請求項1または2記載の成形出隅柱を用いた出隅部施工構造。
Priority Applications (1)
| Application Number | Priority Date | Filing Date | Title |
|---|---|---|---|
| JP2002223061A JP3739733B2 (ja) | 2002-07-31 | 2002-07-31 | 成形出隅柱およびそれを用いた出隅部施工構造 |
Applications Claiming Priority (1)
| Application Number | Priority Date | Filing Date | Title |
|---|---|---|---|
| JP2002223061A JP3739733B2 (ja) | 2002-07-31 | 2002-07-31 | 成形出隅柱およびそれを用いた出隅部施工構造 |
Publications (2)
| Publication Number | Publication Date |
|---|---|
| JP2004060380A JP2004060380A (ja) | 2004-02-26 |
| JP3739733B2 true JP3739733B2 (ja) | 2006-01-25 |
Family
ID=31942932
Family Applications (1)
| Application Number | Title | Priority Date | Filing Date |
|---|---|---|---|
| JP2002223061A Expired - Fee Related JP3739733B2 (ja) | 2002-07-31 | 2002-07-31 | 成形出隅柱およびそれを用いた出隅部施工構造 |
Country Status (1)
| Country | Link |
|---|---|
| JP (1) | JP3739733B2 (ja) |
Families Citing this family (2)
| Publication number | Priority date | Publication date | Assignee | Title |
|---|---|---|---|---|
| CN102733567A (zh) * | 2012-06-20 | 2012-10-17 | 曾红 | 一种转角拼接结构 |
| WO2022009217A1 (en) * | 2020-07-08 | 2022-01-13 | Scitech Centre | Reinforcement pillar assemblies and a method for manufacturing such assemblies |
-
2002
- 2002-07-31 JP JP2002223061A patent/JP3739733B2/ja not_active Expired - Fee Related
Also Published As
| Publication number | Publication date |
|---|---|
| JP2004060380A (ja) | 2004-02-26 |
Similar Documents
| Publication | Publication Date | Title |
|---|---|---|
| JP3739733B2 (ja) | 成形出隅柱およびそれを用いた出隅部施工構造 | |
| JP3502832B2 (ja) | リフォーム時における開口部周り施工方法及び該施工方法に用いる開口部周り化粧部材 | |
| JP3381679B2 (ja) | 成形出隅柱及びその施工構造 | |
| KR200144796Y1 (ko) | 천정 패널 | |
| JP2531938Y2 (ja) | 出隅コーナー部材 | |
| KR200429283Y1 (ko) | 각도 조절이 가능한 방음판용 프레임 | |
| JP2003253855A (ja) | 建築用板材 | |
| JPH01187248A (ja) | 乾式外装材のコーナ部材 | |
| JP2000064476A (ja) | 外 壁 | |
| JP3236225U (ja) | 外壁の目地用カバー材 | |
| JPH09195396A (ja) | 縦張外壁板の接合水切金具 | |
| JP2003232114A (ja) | 壁パネル及び壁パネルの重ね合わせ構造 | |
| JP2507023Y2 (ja) | 出隅コ―ナ―役物の取付構造 | |
| JP2656266B2 (ja) | 壁 体 | |
| JPS6039383Y2 (ja) | スカイライト付屋根 | |
| JP2020117872A (ja) | 建材パネル | |
| JP2507024Y2 (ja) | 外装材役物の取付構造 | |
| JP3707757B2 (ja) | 簡易屋根 | |
| JPH0246578Y2 (ja) | ||
| JPH037469Y2 (ja) | ||
| JPH0428962Y2 (ja) | ||
| JPH0721715Y2 (ja) | 鎧型横張内外装材用目地部材 | |
| JPH0715958Y2 (ja) | 鎧型横張防火サイディング用目地部材 | |
| JP3974446B2 (ja) | 外壁出隅構造及び外壁構造 | |
| JP2003239407A (ja) | 乾式外壁材の縦目地構造 |
Legal Events
| Date | Code | Title | Description |
|---|---|---|---|
| A977 | Report on retrieval |
Free format text: JAPANESE INTERMEDIATE CODE: A971007 Effective date: 20040824 |
|
| A131 | Notification of reasons for refusal |
Free format text: JAPANESE INTERMEDIATE CODE: A131 Effective date: 20050405 |
|
| A521 | Written amendment |
Free format text: JAPANESE INTERMEDIATE CODE: A523 Effective date: 20050603 |
|
| A02 | Decision of refusal |
Free format text: JAPANESE INTERMEDIATE CODE: A02 Effective date: 20050712 |
|
| A521 | Written amendment |
Free format text: JAPANESE INTERMEDIATE CODE: A523 Effective date: 20050912 |
|
| A911 | Transfer of reconsideration by examiner before appeal (zenchi) |
Free format text: JAPANESE INTERMEDIATE CODE: A911 Effective date: 20050920 |
|
| TRDD | Decision of grant or rejection written | ||
| A01 | Written decision to grant a patent or to grant a registration (utility model) |
Free format text: JAPANESE INTERMEDIATE CODE: A01 Effective date: 20051025 |
|
| A61 | First payment of annual fees (during grant procedure) |
Free format text: JAPANESE INTERMEDIATE CODE: A61 Effective date: 20051102 |
|
| R150 | Certificate of patent or registration of utility model |
Free format text: JAPANESE INTERMEDIATE CODE: R150 |
|
| FPAY | Renewal fee payment (event date is renewal date of database) |
Free format text: PAYMENT UNTIL: 20091111 Year of fee payment: 4 |
|
| FPAY | Renewal fee payment (event date is renewal date of database) |
Free format text: PAYMENT UNTIL: 20101111 Year of fee payment: 5 |
|
| FPAY | Renewal fee payment (event date is renewal date of database) |
Free format text: PAYMENT UNTIL: 20101111 Year of fee payment: 5 |
|
| FPAY | Renewal fee payment (event date is renewal date of database) |
Free format text: PAYMENT UNTIL: 20111111 Year of fee payment: 6 |
|
| FPAY | Renewal fee payment (event date is renewal date of database) |
Free format text: PAYMENT UNTIL: 20121111 Year of fee payment: 7 |
|
| FPAY | Renewal fee payment (event date is renewal date of database) |
Free format text: PAYMENT UNTIL: 20121111 Year of fee payment: 7 |
|
| FPAY | Renewal fee payment (event date is renewal date of database) |
Free format text: PAYMENT UNTIL: 20131111 Year of fee payment: 8 |
|
| LAPS | Cancellation because of no payment of annual fees |