JP3687362B2 - 2軸移動装置 - Google Patents

2軸移動装置 Download PDF

Info

Publication number
JP3687362B2
JP3687362B2 JP26634998A JP26634998A JP3687362B2 JP 3687362 B2 JP3687362 B2 JP 3687362B2 JP 26634998 A JP26634998 A JP 26634998A JP 26634998 A JP26634998 A JP 26634998A JP 3687362 B2 JP3687362 B2 JP 3687362B2
Authority
JP
Japan
Prior art keywords
movable body
direction movable
bearing
moving device
static pressure
Prior art date
Legal status (The legal status is an assumption and is not a legal conclusion. Google has not performed a legal analysis and makes no representation as to the accuracy of the status listed.)
Expired - Fee Related
Application number
JP26634998A
Other languages
English (en)
Other versions
JPH11344585A (ja
Inventor
俊徳 佐藤
勝 秋山
Current Assignee (The listed assignees may be inaccurate. Google has not performed a legal analysis and makes no representation or warranty as to the accuracy of the list.)
NSK Ltd
Original Assignee
NSK Ltd
Priority date (The priority date is an assumption and is not a legal conclusion. Google has not performed a legal analysis and makes no representation as to the accuracy of the date listed.)
Filing date
Publication date
Application filed by NSK Ltd filed Critical NSK Ltd
Priority to JP26634998A priority Critical patent/JP3687362B2/ja
Publication of JPH11344585A publication Critical patent/JPH11344585A/ja
Application granted granted Critical
Publication of JP3687362B2 publication Critical patent/JP3687362B2/ja
Anticipated expiration legal-status Critical
Expired - Fee Related legal-status Critical Current

Links

Images

Landscapes

  • Container, Conveyance, Adherence, Positioning, Of Wafer (AREA)
  • Details Of Measuring And Other Instruments (AREA)
  • Machine Tool Units (AREA)

Description

【0001】
【発明の属する技術分野】
本発明は、高精度な加工装置や測定装置,半導体製造装置や検査装置などにおいて、試料,工具,検出器などを高い位置精度をもって移動させるのに好適な2軸移動装置に関する。
【0002】
【従来の技術】
従来のこの種の2軸移動装置としては、例えば特開平4−294947号公報に開示されたものがある(第1従来例)。このものは、図6に示すように、移動用案内軸としての四角い枠型のX方向可動体AXと、この可動体AX上に重ね合わせて組み付けたステージとしての長方形テーブル状のY方向可動体AYとを有する。X方向可動体AXは、4本の枠軸のうちの相対する2本の軸が静圧気体軸受(エアスライド)1X を介して固定台2上に支持され、枠全体でX方向に移動可能になっている。Y方向可動体AYは、可動体AXの残り2本の軸上に静圧気体軸受(エアスライド)1Y を介してY方向に移動可能に支持されている。そして、各可動体AX,AYはそれぞれに設置した駆動用モータで独立に直線駆動されるようになっている。すなわち、X方向可動体AXは固定台2に固定して設置した図外の駆動用モータによりギヤ機構を介してX方向に移動し、Y方向可動体AYの方は静圧気体軸受1Y に一体的に移動可能に設置した図外の駆動用モータによりギヤ機構を介してY方向に移動するものである。
【0003】
また、特開平8−229759号公報には、図7に示すような2軸移動装置が開示されている(第2従来例)。このものは、定盤55上に、Y方向移動体であるYステージ54が載置され、そのYステージ54にX方向移動体であるXステージ51が組み付けられている。Yステージ54は、可動式のXステージ水平方向ガイド54bの両端部の軸受取付板54aの下端面に備えた鉛直方向静圧気体軸受53dにより定盤55上に浮上支持されると共に、その一方の軸受取付板54aの外側面に備えた水平方向静圧気体軸受53cにより、片側に設けられている固定式のYステージ水平方向ガイド52に案内されて、両側に設置されたリニアモータの如き駆動アクチュエータ54cにより、Y方向に移動される。
【0004】
Xステージ51は、被搬送体が装着される移動板51aを支持すると共に、前記可動式のXステージ水平方向ガイド54bを囲む水平方向軸受取付板51bと鉛直方向軸受取付板51cを備えている。そして、水平方向軸受取付板51bの内側面に備えた静圧気体軸受53a及び鉛直方向軸受取付板51cの下面に備えた静圧気体軸受53bにより、Xステージ水平方向ガイド54bに案内されつつ、定盤55から浮上されて、駆動アクチュエータ51cによりX方向に移動される。
【0005】
そして、Xステージ51及びYステージ54に複数の予圧用磁石ユニット56を設け且つ定盤55と固定ガイド52を磁性体で構成することにより、両ステージが常に一定の姿勢となるように調整している。
【0006】
【発明が解決しようとする課題】
しかしながら、上記第1の従来例の2軸移動装置には、次のような問題点がある。
【0007】
▲1▼真直度の悪化
上軸であるY方向可動体AYにかかる重量が、下軸であるX方向可動体AXに直接に負荷される。しかも、Y方向可動体AYがそのストローク端にいる場合と、ストローク中央にいる場合とでは、下軸に対する重量負担が変化する。特に、合成XY運動可能なテーブルであるY方向可動体AY上に重量物が搭載された場合には、変化する負担重量と下軸の軸受剛性との兼ね合いで上軸の真直度が悪化する。
【0008】
▲2▼軸受剛性の低下
上軸(可動体AY)と下軸(可動体AX)との軸受剛性が直列ばねとなり、最終的にXY運動可能なテーブルであるY方向可動体AYの上面では次式のように軸受剛性が低下する。
【0009】
Kz=1/(1/Kx+1/Ky)
Kz:XY運動するテーブル上面での軸受剛性(ばね定数)
Kx:上軸(可動体AY)単独の剛性(ばね定数)
Ky、下軸(可動体AX)単独の剛性(ばね定数)
▲3▼高コスト
一般的に気体軸受は加工精度が厳しく、また精度維持のためにセラミックスを使うなどのために、コストが高い。これをX軸とY軸との双方に使用するので高価になる。
【0010】
一方、上記第2の従来例は、基台(定盤)55が磁性材(鉄)であることから、以下のような問題点を有している。
▲1▼耐焼付き性が低い
基台55と対向している静圧軸受(53b,53d)が、何らかのアクシデントで基台に接触するようなことがあった場合、鉄製の基台との間に焼付きが生じやすい。
【0011】
▲2▼経年変化しやすい
基台55が腐食などで経年変化を起こしやすいため、基台上面を基準面とした静圧軸受部の運動精度が変化し易くなる。
【0012】
▲3▼塑性変形しやすい
装置の組立調整時や使用中に基台55の基準面が衝撃を受けると、軽微な衝撃であっても打痕等の塑性変形が生じる。静圧軸受と基準面との間の軸受すき間は微小であるから、僅かな打痕でも装置の運動精度に影響する。
【0013】
本発明は、このような従来の2軸移動装置の問題点を解決することを課題とするもので、その目的とするところは、真直度,剛性が高くて運動再現性などに優れた安価な2軸移動装置を提供することにある。
【0014】
【課題を解決するための手段】
上記の目的を達成するために、請求項1に係る本発明は、X方向の可動体とY方向の可動体とを備えた2軸移動装置において、前記X方向可動体は転がり案内軸受を介して基台上に支持されると共に両サイド部に立ち上げ面を有し前記Y方向可動体は上下方向静圧気体軸受を介して基台上に支持されると共に前記X方向可動体の上面と対向する下面を有し、前記Y方向可動体の下面に二つの水平方向静圧気体軸受を前記立ち上げ面に対向するように互いに平行に配設するとともに、前記X方向可動体の上面にリニアモータの固定子をY方向に沿って配設し、かつ前記リニアモータの移動子を前記Y方向可動体の下面に取り付けたことを特徴とする。
【0015】
また、請求項2に係る発明は、請求項1記載の2軸移動装置において、前記X方向可動体の上面と前記Y方向可動体の下面との間に上下方向の磁気吸引部を設けたことを特徴とする。
【0016】
【発明の実施の形態】
以下、本発明の実施の形態を図面を参照して説明する。
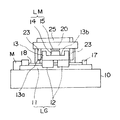
図1〜図4は本発明の一実施の形態を示すもので、図1は本発明の2軸移動装置の平面図、図2はそのII矢視で示す側面図、図3は図1のIII 矢視で示す側面図 、図4は図1のIV−IV線断面図である。図に例示したものは、XY平面上で自在にステップ&スキャン運動を繰り返すことができるタイプで、X軸がステップ位置決め、Y軸が等速スキャンする。半導体製造工程などで好適に用いることができるものであるが、本発明をこのタイプに限定するものではない。
【0017】
基台10の上に、転がり案内軸受である直動案内軸受(リニアガイド)LGのガイドレール11を2本、Y方向に間隔をおいて平行に並べてX方向に長く固定して取り付けている。その各ガイドレール11上には、それぞれ2個ずつのスライダ12を装着してある。その2本のガイドレール11を跨ぐようにして、各スライダ12の上面に、一方の可動体としてX方向の可動体13が載置固定されている。このX方向可動体13は、断面が凹形状で、幅方向の両サイド部に立ち上げ面13aを形成している。また、その溝底をなす上面13bのセンターラインに沿ってリニアモータLMの固定子14が長手方向に配設されている。なお、リニアモータLMの移動子15の方は、後述のY方向可動体の裏面に固定して取り付ける。
【0018】
基台10の上面には、また前記2本のガイドレール11,11と平行に、その中間の任意の位置に1個のボールねじBSを、ベアリング17を介して配設してある。そのボールねじBSのねじ軸18の一端は、基台10の上に固定して配設した回転駆動モータM(例えばDCサーボモータ,ACサーボモータあるいはステップモータなど)の出力軸に連結してある。そして、ボールねじBSのナット19が、図4に示すように、X方向の可動体13の下面に取り付けてある。かくして、X方向の可動体13は、基台10に固定したリニアガイドLGで支持,案内されつつ回転駆動モータMとボールねじBSとによりX方向に円滑に直線移動可能である。
【0019】
他方の可動体であるY方向の可動体20は、ほぼ正方形のテーブル板である。その下面の四隅にそれぞれ支柱21を下方に向けて立設すると共に、各支柱21の下端部に上下方向の支持機能を有する静圧気体軸受(エアパッド)22を基台10の面に対向して設けている。この上下方向静圧気体軸受22により、Y方向の可動体20は基台10の面上を非接触で移動自在である。Y方向の可動体20の下面には、更に、水平方向の支持機能を有する静圧気体軸受(エアパッド)23を、X方向の可動体13の両サイド部の立ち上げ面13aに僅かのすき間を介して対向するように2枚平行に配設している。この水平方向静圧気体軸受23により、X方向の可動体13のX方向の直線移動がY方向可動体20に非接触で伝達可能である。
【0020】
また、先に述べたように、X方向可動体13に設けたリニアモータLMの移動子15をY方向可動体20の下面に取り付けてあるから、Y方向可動体20は当該移動子15の運動に伴いY方向に移動可能である。その場合、前記水平方向静圧気体軸受23がX方向可動体13の立ち上げ面13aを案内面として可動体20と共にY方向に移動して、Y方向可動体20の移動を非接触で抵抗なく滑らかに案内する。
【0021】
Y方向の可動体20の位置検出のため、その上面にL型ミラー25を設置すると共に、これに対向させて2方向のレーザ測長器26x,26yを外部に配設してある。
【0022】
次に、作用を述べる。
この2軸移動装置は、回転駆動モータMの作動をボールねじBSの作動を介してX方向の可動体13に伝達することにより、X方向の可動体13をX方向に移動させる。すると、水平方向の支持機能を有する静圧気体軸受(エアパッド)23を介して係合しているY方向の可動体20も、X方向の可動体13の移動に連動してX方向に移動する。その移動位置(距離)がL型ミラー25の一辺に対向配置されたレーザ測長器26xにより測定され、位置情報として図外の制御装置にフィードバックされる。制御装置は予め入力してある設定位置と比較して回転駆動モータMの作動を制御する。これによりX方向可動体13ひいてはY方向可動体20のX方向のステップ位置決めを正確に行うことができる。一方、X方向可動体13に搭載したリニアモータLMの固定子14のコイルに通電することにより、Y方向可動体20がY方向に等速移動する。その移動位置(距離)がL型ミラー25の他辺に対向配置されたレーザ測長器26yにより測定され、位置情報として図外の制御装置にフィードバックされる。制御装置は予め入力してある設定位置と比較してリニアモータLMの作動を制御する。これによりY方向可動体20のY方向の位置決めを正確に行うことができる。
【0023】
上記の作動において、X軸を構成するX方向可動体13を支承するリニアガイドLGの転がり振動や、駆動用ボールねじBSの振れ回りなどが避けられず、これらは真直度に悪影響を及ぼす成分である。しかし本発明にあっては、X方向可動体13とY方向可動体20とが非接触の水平方向静圧気体軸受23により隔離されており、それらの悪影響がY方向可動体20に及ぶことはない。
【0024】
また、Y方向可動体20で構成されるXYテーブル上に重量物を搭載して移動させた場合も、Y方向可動体20の荷重は全て上下方向静圧気体軸受22を介して基台10に直接支承されており、XYテーブルの自在な二次元運動が軸への偏荷重を生じることはなく、真直度が悪化しにくい。換言すれば、本2軸移動装置は真直度,軸受剛性,運動再現性などの諸元が非常に良好である。さらに、Y方向可動体20の四隅に静圧気体軸受22を配置したので、最も安定良くY方向可動体20を支持できる。
【0025】
しかも、高価な空気軸受の使用をY軸のみとしてX軸には安価なリニアガイドを使用したため低コスト化できる。
なお、本発明の装置に用いる静圧気体軸受としては、自成絞り形,オリフィス絞り形,表面絞り形,スロット絞り形,多孔質絞り形等の公知の静圧式軸受を任意に選定することができる。
【0026】
また、リニアモータについても特に限定はされず、ACリニア誘導モータ,ACリニア同期モータ,リニアパルスモータ,DCリニアモータ,DCブラシレスリニアモータ,ボイスコイルモータ,コア無し又はコア付モータ,複合形のリニアハイブリッドモータ等を任意に選定することができる。
【0027】
また、上記実施形態では、X方向可動体13の駆動源として回転駆動モータとボールねじとを組み合わせて使用するものを示したが、リニアモータを用いることもできる。
【0028】
また、位置検出にレーザ測長器を用いL形ミラーと組み合わせた例を述べたが、リニアエンコーダのような他の測定器でもかまわない。
また、図2のX−Y面は、水平面でも傾斜面でも良い。
【0029】
また、上記実施形態では、ボールねじBSを2本のガイドレール11,11の中間の任意の位置に配設するものとしたが、特に両ガイドレールの中央位置に配置すれば、可動体13,20のヨーイングを防止できる。
【0030】
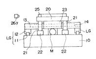
続いて、図4に対応する断面図である図5を参照して本発明の他の実施の形態を説明する。なお、上記第1の実施の形態と同一乃至相当部分には同一の符号を付して、重複する説明を省略する。
【0031】
図5に示すように、この実施の形態では、X方向の可動体13とY方向の可動体20との対向する面の間に上下方向の磁気吸引部30を設けている点が、上記第1の実施の形態とは異なっている。図示のものは、当該磁気吸引部30を構成する永久磁石31をY方向の可動体20の下面に配設し、磁性体よりなる吸引材32を磁気ギャップを隔ててX方向の可動体13の上面に配設しているが、この配置は逆にしてもよい。
【0032】
この磁気吸引部30に作用する磁気吸引力により、Y方向の可動体20を基台10上に浮上支持する上下方向静圧気体軸受22に対し下方向に予圧が負荷される。そして、Y方向の可動体20は、第1の実施の形態の場合に比べて上下方向に強く拘束される。その結果、荷重を直接に受けるY方向の可動体20の上下方向の剛性は一層高くなり、より安定する。
【0033】
しかも、X方向の可動体13の方は転がり案内軸受であるリニアガイドLGにより基台10上に支持されているから、第2の従来例のようにXステージ,Yステージとも静圧軸受により基台上に浮上支持されたものより高い真直度,剛性,運動再現性を備えた2軸移動装置を実現させることができる。且つ、鉄製の基台に代えてセラミックスや石などを用いた基台10が使用可能であり、静圧軸受と基台との焼付きが防止でき、また基台の経年変化や打痕等の塑性変形が起こりにくくて、軸受の運動精度が安定する。
【0034】
【発明の効果】
以上説明したように、請求項1に係る2軸移動装置によれば、一方の軸の支持を安価な転がり案内軸受で行い、他方の軸は静圧気体軸受で支持して荷重を基台で受けるため、XY運動中に偏荷重となることがなく、低コストで高真直度,高軸受剛性であり良好な運動再現性が得られる。
【0035】
また、請求項2に係る2軸移動装置によれば、X方向可動体の上面とY方向可動体の下面との間に磁気吸引部を設けてその磁気吸引力の作用で上下方向静圧気体軸受に予圧を負荷したため、Y方向可動体の耐荷重剛性を向上できて、その結果、上記請求項1の場合より高い真直度,剛性,運動再現性が得られると同時に、加えて、セラミックスや石などの基台の採用により、静圧軸受の焼付き防止、更に基台の経年変化や塑性変形による軸受の運動精度の低下も阻止できるという効果を奏する。
【図面の簡単な説明】
【図1】本発明の一実施形態の平面図である。
【図2】図1のII矢視図である。
【図3】図1のIII 矢視図である。
【図4】図1のIV−IV線断面図である。
【図5】本発明の他の実施形態の、図4に相当する断面図である。
【図6】従来例の2軸移動装置の斜視図である。
【図7】他の従来例の2軸移動装置で、(a)は側面図、(b)は下面図、(c)はA−A断面図である。
【符号の説明】
10 基台
13 X方向の可動体
20 Y方向の可動体
22 上下方向静圧気体軸受
23 水平方向静圧気体軸受
LG 転がり案内軸受(リニアガイド)
30 磁気吸引部
31 磁石
32 吸引材

Claims (3)

  1. X方向の可動体とY方向の可動体とを備えた2軸移動装置において、前記X方向可動体は転がり案内軸受を介して基台上に支持されると共に両サイド部に立ち上げ面を有し前記Y方向可動体は上下方向静圧気体軸受を介して基台上に支持されると共に前記X方向可動体の上面と対向する下面を有し、前記Y方向可動体の下面に二つの水平方向静圧気体軸受を前記立ち上げ面に対向するように互いに平行に配設するとともに、前記X方向可動体の上面にリニアモータの固定子をY方向に沿って配設し、かつ前記リニアモータの移動子を前記Y方向可動体の下面に取り付けたことを特徴とする2軸移動装置。
  2. 前記X方向可動体の上面と前記Y方向可動体の下面との間に上下方向の磁気吸引部を設けたことを特徴とする請求項1記載の2軸移動装置。
  3. 前記リニアモータはコア付モータであることを特徴とする請求項1記載の2軸移動装置。
JP26634998A 1998-03-31 1998-09-21 2軸移動装置 Expired - Fee Related JP3687362B2 (ja)

Priority Applications (1)

Application Number Priority Date Filing Date Title
JP26634998A JP3687362B2 (ja) 1998-03-31 1998-09-21 2軸移動装置

Applications Claiming Priority (3)

Application Number Priority Date Filing Date Title
JP10-87247 1998-03-31
JP8724798 1998-03-31
JP26634998A JP3687362B2 (ja) 1998-03-31 1998-09-21 2軸移動装置

Publications (2)

Publication Number Publication Date
JPH11344585A JPH11344585A (ja) 1999-12-14
JP3687362B2 true JP3687362B2 (ja) 2005-08-24

Family

ID=26428540

Family Applications (1)

Application Number Title Priority Date Filing Date
JP26634998A Expired - Fee Related JP3687362B2 (ja) 1998-03-31 1998-09-21 2軸移動装置

Country Status (1)

Country Link
JP (1) JP3687362B2 (ja)

Cited By (1)

* Cited by examiner, † Cited by third party
Publication number Priority date Publication date Assignee Title
US8517363B2 (en) 2009-03-18 2013-08-27 Sumitomo Heavy Industries, Ltd. XY stage device, semiconductor inspection apparatus, and semiconductor exposure apparatus

Families Citing this family (8)

* Cited by examiner, † Cited by third party
Publication number Priority date Publication date Assignee Title
JP4877925B2 (ja) * 2006-03-02 2012-02-15 住友重機械工業株式会社 ステージ装置
JP2007232648A (ja) * 2006-03-02 2007-09-13 Sumitomo Heavy Ind Ltd ステージ装置
JP5242218B2 (ja) * 2008-03-31 2013-07-24 住友重機械工業株式会社 Xyステージ装置
CN103617812B (zh) * 2013-11-20 2015-10-14 贵州航天南海科技有限责任公司 一种平移器
CN103934749B (zh) * 2014-04-25 2016-05-25 厦门安达兴精密机械有限公司 磨床直线滚动导轨安装校正方法及装置
JP2019214087A (ja) * 2018-06-12 2019-12-19 東芝機械株式会社 工作機械のガイド機構および工作機械
WO2020044685A1 (ja) * 2018-08-30 2020-03-05 住友重機械工業株式会社 ステージ装置
CN111958220B (zh) * 2020-07-31 2022-07-12 伯肯森自动化技术(上海)有限公司 一种用于机顶盒锁付位置精密定位的螺丝锁付装置

Cited By (1)

* Cited by examiner, † Cited by third party
Publication number Priority date Publication date Assignee Title
US8517363B2 (en) 2009-03-18 2013-08-27 Sumitomo Heavy Industries, Ltd. XY stage device, semiconductor inspection apparatus, and semiconductor exposure apparatus

Also Published As

Publication number Publication date
JPH11344585A (ja) 1999-12-14

Similar Documents

Publication Publication Date Title
US7152331B2 (en) Positioning apparatus
US6552449B2 (en) Stage system with onboard linear motor
US5939852A (en) Stage feeding device
US5731641A (en) Linear motor driven vertical lift stage
KR100591939B1 (ko) 스테이지장치
JP4160824B2 (ja) 昇降用案内ユニット及びそれを組み込んだステージ装置
CA2777465C (en) Motorized stage
US20020017889A1 (en) Exposure apparatus and method utilizing isolated reaction frame
EP1810776A1 (en) Gantry positioning system
WO2014120082A1 (en) A planar positioning system and method of using the same
JP2007266585A (ja) ステージ装置
CN104105941A (zh) 具有被约束的配重的坐标测量机
JP3687362B2 (ja) 2軸移動装置
JPH03245932A (ja) 移動案内装置
TWI260646B (en) X-Y axis stage device
JP4322762B2 (ja) ステージガイド機構
US11795004B2 (en) Conveyor table transfer apparatus, transport system and conveyor table transfer method
JP2003028973A (ja) ステージ装置
US6591757B1 (en) Motor driven high stability brake for linear motion systems
JP2004317485A (ja) X−yステージ装置
JP4116167B2 (ja) 静圧空気軸受直線案内装置
JP2952166B2 (ja) 門型駆動装置
JP2006287098A (ja) 位置決め装置
JPH09123034A (ja) Xyテーブル装置
JPH11280761A (ja) 直動転がり案内ユニット及びそれを用いたxyテーブル装置

Legal Events

Date Code Title Description
A131 Notification of reasons for refusal

Free format text: JAPANESE INTERMEDIATE CODE: A131

Effective date: 20050301

A521 Written amendment

Free format text: JAPANESE INTERMEDIATE CODE: A523

Effective date: 20050412

TRDD Decision of grant or rejection written
A01 Written decision to grant a patent or to grant a registration (utility model)

Free format text: JAPANESE INTERMEDIATE CODE: A01

Effective date: 20050517

A61 First payment of annual fees (during grant procedure)

Free format text: JAPANESE INTERMEDIATE CODE: A61

Effective date: 20050530

R150 Certificate of patent (=grant) or registration of utility model

Free format text: JAPANESE INTERMEDIATE CODE: R150

FPAY Renewal fee payment (prs date is renewal date of database)

Free format text: PAYMENT UNTIL: 20080617

Year of fee payment: 3

FPAY Renewal fee payment (prs date is renewal date of database)

Free format text: PAYMENT UNTIL: 20090617

Year of fee payment: 4

FPAY Renewal fee payment (prs date is renewal date of database)

Free format text: PAYMENT UNTIL: 20100617

Year of fee payment: 5

FPAY Renewal fee payment (prs date is renewal date of database)

Free format text: PAYMENT UNTIL: 20100617

Year of fee payment: 5

FPAY Renewal fee payment (prs date is renewal date of database)

Free format text: PAYMENT UNTIL: 20110617

Year of fee payment: 6

LAPS Cancellation because of no payment of annual fees