JP3676353B2 - 中空糸型モジュール - Google Patents

中空糸型モジュール Download PDF

Info

Publication number
JP3676353B2
JP3676353B2 JP2003151997A JP2003151997A JP3676353B2 JP 3676353 B2 JP3676353 B2 JP 3676353B2 JP 2003151997 A JP2003151997 A JP 2003151997A JP 2003151997 A JP2003151997 A JP 2003151997A JP 3676353 B2 JP3676353 B2 JP 3676353B2
Authority
JP
Japan
Prior art keywords
casing
hollow fiber
cap member
screw portion
protrusion
Prior art date
Legal status (The legal status is an assumption and is not a legal conclusion. Google has not performed a legal analysis and makes no representation as to the accuracy of the status listed.)
Expired - Fee Related
Application number
JP2003151997A
Other languages
English (en)
Other versions
JP2004351319A (ja
Inventor
賢 山本
房雄 川村
Current Assignee (The listed assignees may be inaccurate. Google has not performed a legal analysis and makes no representation or warranty as to the accuracy of the list.)
Nikkiso Co Ltd
Original Assignee
Nikkiso Co Ltd
Priority date (The priority date is an assumption and is not a legal conclusion. Google has not performed a legal analysis and makes no representation as to the accuracy of the date listed.)
Filing date
Publication date
Application filed by Nikkiso Co Ltd filed Critical Nikkiso Co Ltd
Priority to JP2003151997A priority Critical patent/JP3676353B2/ja
Publication of JP2004351319A publication Critical patent/JP2004351319A/ja
Application granted granted Critical
Publication of JP3676353B2 publication Critical patent/JP3676353B2/ja
Anticipated expiration legal-status Critical
Expired - Fee Related legal-status Critical Current

Links

Images

Landscapes

  • Lining Or Joining Of Plastics Or The Like (AREA)
  • External Artificial Organs (AREA)
  • Separation Using Semi-Permeable Membranes (AREA)

Description

【0001】
【発明の属する技術分野】
この発明は、血液浄化等に使用する中空糸型モジュールに関するものである。
【0002】
【従来の技術】
この種の中空糸型モジュールは、筒型ケーシング内に中空糸束を充填するとともに、この中空糸束の両端を樹脂組成物で固定し、ケーシングの両端に被処理液の供給口または排出口となる接続口を備えるキャップ部材を装着し、ケーシングの外周部両端近傍に処理液の注入口及び流出口となる接続口を設け、上記供給口から被処理液を供給し中空糸膜を通過する際に処理液により浄化処理を行う装置であり、例えば、特開2001−70759号公報(特許文献1)に提案されている。
【0003】
上述したように、従来の中空糸型モジュールでは、筒型ケーシングの両端開口部にキャップ部材を装着するには、ケーシングの両端の外周面にそれぞれ雄ネジ部を形成し、また、キャップ部材にはその内周面に雌ネジ部を形成し、ケーシングの雄ネジ部にキャップ部材の雌ネジ部を螺合して装着している。そして、その後、キャップ部材の回り止めとして、超音波溶着機のホーン(振動子)を押し当てて超音波振動エネルギーを付与することにより溶着固定している。
【0004】
【特許文献1】
特開2001−70759号公報
【0005】
【発明が解決しようとする課題】
しかしながら、従来の中空糸型モジュール51では、図6に示すように、筒型ケーシング52の成型時における型抜きの都合上から、該ケーシング52の両端のキャップ装着部53における雄ネジ部54の型抜き方向に直交する部分56のネジ山を欠截した状態で形成している。したがって、このネジ山を欠截した部分56においては、キャップ部材(図示せず)を螺合装着した際にその内周に形成した雌ネジ部と接触しえない。また、ネジ山を形成した部分においては、そのネジ山がキャップ部材の雌ネジと接触するが、接触面積や接触圧力にばらつきがあるために超音波振動エネルギーの集中が起こり難く、これにより溶着不良が生じる不都合があった。このため、製品検査に少なからぬ労力を要していた。
【0006】
本発明は、上記に鑑みて提案されたものであり、簡単な構造で超音波振動エネルギーの集中を容易ならしめ、キャップ部材を確実に溶着固定することができ、その溶着固定部位の把握が容易で製品検査労力を軽減することができる中空糸型モジュールを提供することを目的とする。
【0007】
【課題を解決するための手段】
本発明は上記目的を達成するためになされたものであり、請求項1に記載したものは、合成樹脂製の筒型ケーシング内に装填された中空糸束の両端部をポッティング樹脂で封止し、ケーシング内の空間を被処理液が通る被処理液空間と処理液が通る処理液空間とに区画し、上記ケーシングの両端部に合成樹脂製のキャップ部材を、ケーシングの外周に形成した雄ネジ部とキャップ部材の内周面に形成した雌ネジ部とを螺合することにより装着した中空糸型モジュールにおいて、
上記ケーシングの雄ネジ部に突起部を形成し、上記キャップ部材を上記ケーシングに螺合して上記突起部をキャップ部材の雌ネジ部に接触させ、該接触部に超音波振動エネルギーを付与して突起部をキャップ部材に超音波溶着したことを特徴とする。
【0008】
請求項2に記載のものは、上記突起部が、ケーシングを製造する際の成形型の合わせ目となる成型パーティング部に形成されていることを特徴とする請求項1に記載の中空糸型モジュールである。
【0009】
【発明の実施の形態】
以下、本発明の実施の形態を図面に基づいて説明する。
図1は、本発明に係る中空糸型モジュールの一実施形態の片半を断面図にした正面図である。
【0010】
本実施形態の中空糸型モジュール1は、図1に示すように、筒型ケーシング2の内部に中空糸束5を装填し、筒型ケーシング2の一方の端部に、被処理液(例えば、血液)を導入する供給口6を突設したキャップ部材7を螺合装着するとともに、他方の端部に、処理された血液が流出する排出口8を突設したキャップ部材9を螺合装着し、筒型ケーシング2内の両端部に、中空糸束5の端部をポリウレタン樹脂等の樹脂組成物により接着固定するポッティング部10をそれぞれ設けて封止し、ケーシング2内の空間を被処理液が通る被処理液空間と処理液が通る処理液空間とに区画してある。また、筒型ケーシング2の外周両端部に浄化処理する処理液(例えば、透析液)の注入口13及び流出口14となる接続口を設け、上記供給口6から供給する血液等の被処理液を中空糸膜11を介して上記注入口13から注入される透析液等の処理液により浄化処理する。
【0011】
本実施形態の中空糸型モジュール1の本体である筒型ケーシング2は、略円筒体を呈しており、例えば、左右に型開き可能な分割型を用いてポリカーボネート、オレフィン系樹脂(例えば、ポリプロピレン)等の合成樹脂材料により上記注入口13及び流出口14とともに一体成型されており、中空糸束5の状況等が把握し易いように透明の容器として形成されている。
【0012】
上記中空糸束5は多数の中空糸膜11の束であり、この中空糸膜11としては、セルロースアセテート、銅アンモニアセルロース、ポリアクリロニトリル、ポリメチルメタクリレート、ポリエチレン、ポリビニルアルコール、ポリスルホン、ポリアミド、ポリエステル系ポリマーアロイ等、セルロース系中空繊維や合成高分子中空繊維等、適宜な材質の中空繊維を用いることができる。そして、各中空糸膜11は、中空孔の開口端が封止されることなくポッティング部10の外側の面で開口している。
【0013】
キャップ部材7,9は、筒型ケーシング2の両端開口部を閉塞するように螺合装着される蓋状の部材であり、例えば、ポリカーボネート、オレフィン系樹脂(例えば、ポリプロピレン)等の合成樹脂材料により成型され、その中心部には被処理液の供給口6または排出口8が突設されている。一方のキャップ部材7に突設された供給口6と、他方のキャップ部材9に突設された排出口8とは、血液等の被処理液の移送チューブの接続口として機能するものである。そして、これらのキャップ部材7,9の内周面には雌ネジ部21が形成されている。キャップ部材7,9の雌ネジ部21は、筒型ケーシング2の両端のキャップ装着部20に形成した雄ネジ部22に螺合して装着するためのものであり、キャップ部材7,9の液密性はその内部に装着したOリング23のシール性に依存しており、Oリング23の螺合状態におけるケーシング端部への密着性で確保している。なお、筒型ケーシング2のキャップ装着部20の構造については後述する。
【0014】
上記注入口13及び流出口14は、筒型ケーシング2の外周部においてキャップ装着部20の近傍において側方へ向けて突設されており、透析液等の浄化処理液の移送チューブの接続口として機能する。
【0015】
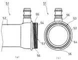
次に、筒型ケーシング2のキャップ装着部20の構造について説明する。図2は、本実施形態の中空糸型モジュールにおいて、筒型ケーシングのキャップ装着部の構造を示しており、(a)はその正面図、(b)はその平面図、(c)はその側面図である。また図3は図2(c)のA部の一例を示す拡大図であり、図4は図2(c)のA部の他例を示す拡大図である。
【0016】
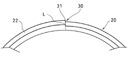
筒型ケーシング2の両端のキャップ装着部20には、その周方向に沿って螺旋状に雄ネジ部22が形成してある。この雄ネジ部22は、上述したように、例えば、左右に型開き可能な分割型を用いてポリカーボネート等の合成樹脂材料により筒型ケーシング2を成型する際に同時に成型されるものであり、その成形型の合わせ目となるパーティングラインLにその痕跡となって表れる成型パーティング部30に、上記雄ネジ部22に連続させて突起部31を形成している。
【0017】
図3に示す突起部31は、雄ネジ部22における成型パーティング部30を上下(ケーシングの径方向)にずらして段付き状態(食い違い状態)になるように金型を加工し、この金型で成型して形成したものである。なお、この突起部31の高さは、キャップ部材7の雌ネジ部21に螺合し得る高さに設定し、雄ネジ部22と雌ネジ部21とが螺合した時に雌ネジ部21に確実に接触する高さである。そして、この突起部31は、ケーシング2のパーティングラインに沿ってキャップ装着部20の軸方向全長に亘って形成してもよいが、雄ネジ部22のねじ山に局所的に形成しても良い。
【0018】
また、図4に示す突起部32は、成型パーティング部30に相当する部分において雄ネジ部22の一部を隆起させることにより形成したものである。なお、この突起部32は、図3に示す突起部31と同様に、キャップ部材7の雌ネジ部21に螺合し得る高さに設定し、雄ネジ部22と雌ネジ部21とが螺合した時に雌ネジ部21に確実に接触する高さである。そして、この突起部32は、ケーシング2のパーティングラインに沿ってキャップ装着部20の軸方向全長に亘って形成してもよいが、雄ネジ部22のねじ山に局所的に形成しても良い。
また、突起部31,32の形状は、本実施形態で例示したものに限らないが、成形型の合わせ目となるパーティングラインLに着目し、このパーティングラインLが成型品に痕跡として残る成型パーティング部30に突起部31,32を形成するので容易に形成できる。
【0019】
図5は、本実施形態における超音波溶着の作業状況を示す説明図である。上述したように、本実施形態の中空糸型モジュール1では、筒型ケーシング2の両端のキャップ装着部20において、その成形型の合わせ目となるパーティングラインLに位置する成型パーティング部30には必ず突起部31,32が存在しており、この部分が雄ネジ部22の一部とキャップ部材7,9の雌ネジ部2との接触部33となっている。したがって、図5に示すように、筒型ケーシング2のキャップ装着部20にキャップ部材7,9を螺合装着した後、この成型パーティング部30に対応して位置する接触部33に超音波溶着装置のホーン(振動子)34を押し当てれば、当該接触部33に超音波振動エネルギーを集中させて付与することができ、その接触面で発熱して突起部31,32が溶融し、これによりキャップ部材7,9をケーシング2のキャップ装着部20に確実に溶着固定することができる。
【0020】
すなわち、本実施形態の中空糸型モジュール1によれば、筒型ケーシング2の両端のキャップ装着部20に雄ネジ部22を形成するとともに、キャップ部材7,9の内周に雌ネジ部21を形成し、その成形型の合わせ目となるパーティングラインLに痕跡として残る成型パーティング部30に上記雄ネジ部22に連続させて突起部31を形成し、上記キャップ部材7,9を上記筒型ケーシング2のキャップ装着部20に螺合装着して該突起部31,32をキャップ部材7,9の雌ネジ部21に接触させ、この接触部33に超音波振動エネルギーを集中させてキャップ部材7,9を溶着固定するので、雄ネジ部21の成型パーティング部30に突起部31,32を形成したという簡単な構造で超音波振動エネルギーの集中を容易ならしめることができる。また、超音波振動エネルギーは成型パーティング部30に必ず位置する雄ネジ部22の一部(突起部31,32)とキャップ部材7,9の雌ネジ部2との接触部33に向けて付与されるので、キャップ部材7,9を確実に溶着固定することができる。さらに、その溶着固定部位は必ず成型パーティング部30に位置することになるため、溶着固定部位及び溶着状況の把握が容易であり、製品検査労力を大幅に軽減することができるものである。
【0021】
なお、上記の実施形態では血液浄化処理について説明したが、本発明はこれに限定されるものではなく、飲料の浄化器などでもよい。
【0022】
【発明の効果】
以上説明したように、本発明によれば、ケーシングの雄ネジ部に突起部を形成し、上記キャップ部材を上記ケーシングに螺合して上記突起部をキャップ部材の雌ネジ部に接触させ、該接触部に超音波振動エネルギーを付与して突起部をキャップ部材に超音波溶着したので、雄ネジ部に突起部を形成したという簡単な構造で超音波振動エネルギーの集中を容易ならしめることができ、キャップ部材を確実に溶着固定することができる。そして、その溶着固定部位の把握が容易であるので製品検査労力を軽減することができるという優れた効果を発揮する。
【0023】
また、突起部を、ケーシングを製造する際の成形型の合わせ目となる成型パーティング部に形成すると、成形金型の加工も容易である。
【図面の簡単な説明】
【図1】本発明に係る中空糸型モジュールの一実施形態の片半を断面図にした正面図である。
【図2】本実施形態の中空糸型モジュールにおいて、筒型ケーシングのキャップ装着部の構造を示しており、(a)はその正面図、(b)はその平面図、(c)はその側面図である。
【図3】図2(c)におけるA部の一例を示す拡大図である。
【図4】図2(c)におけるA部の他の実施形態を示す拡大図である。
【図5】本実施形態における超音波溶着の加工状態を示す説明図であり、(a)はその正面図、(b)のその側面図である。
【図6】従来の中空糸型モジュールにおけるキャップ装着部の構造を示しており、(a)はその正面図、(b)は側面図である。
【符号の説明】
1 中空糸型モジュール
2 筒型ケーシング
5 中空糸束
6 供給口
7,9 キャップ部材
8 排出口
10 ポッティング部
11 中空糸膜
13 注入口
14 流出口
20 キャップ装着部
21 雌ネジ部
22 雄ネジ部
23 Oリング
30 成型パーティング部
31,32 突起部
33 接触部
34 ホーン(振動子)

Claims (2)

  1. 合成樹脂製の筒型ケーシング内に装填された中空糸束の両端部をポッティング樹脂で封止し、ケーシング内の空間を被処理液が通る被処理液空間と処理液が通る処理液空間とに区画し、上記ケーシングの両端部に合成樹脂製のキャップ部材を、ケーシングの外周に形成した雄ネジ部とキャップ部材の内周面に形成した雌ネジ部とを螺合することにより装着した中空糸型モジュールにおいて、
    上記ケーシングの雄ネジ部に突起部を形成し、上記キャップ部材を上記ケーシングに螺合して上記突起部をキャップ部材の雌ネジ部に接触させ、該接触部に超音波振動エネルギーを付与して突起部をキャップ部材に超音波溶着したことを特徴とする中空糸型モジュール。
  2. 上記突起部は、ケーシングを製造する際の成形型の合わせ目となる成型パーティング部に形成されていることを特徴とする請求項1に記載の中空糸型モジュール。
JP2003151997A 2003-05-29 2003-05-29 中空糸型モジュール Expired - Fee Related JP3676353B2 (ja)

Priority Applications (1)

Application Number Priority Date Filing Date Title
JP2003151997A JP3676353B2 (ja) 2003-05-29 2003-05-29 中空糸型モジュール

Applications Claiming Priority (1)

Application Number Priority Date Filing Date Title
JP2003151997A JP3676353B2 (ja) 2003-05-29 2003-05-29 中空糸型モジュール

Publications (2)

Publication Number Publication Date
JP2004351319A JP2004351319A (ja) 2004-12-16
JP3676353B2 true JP3676353B2 (ja) 2005-07-27

Family

ID=34047323

Family Applications (1)

Application Number Title Priority Date Filing Date
JP2003151997A Expired - Fee Related JP3676353B2 (ja) 2003-05-29 2003-05-29 中空糸型モジュール

Country Status (1)

Country Link
JP (1) JP3676353B2 (ja)

Families Citing this family (6)

* Cited by examiner, † Cited by third party
Publication number Priority date Publication date Assignee Title
JP4941035B2 (ja) * 2006-09-26 2012-05-30 東レ株式会社 円筒形状の蓋材およびこれを用いたモジュール
JP5355744B2 (ja) * 2011-05-30 2013-11-27 日機装株式会社 中空糸型フィルタ
JP5530495B2 (ja) * 2011-05-30 2014-06-25 日機装株式会社 中空糸型フィルタの製造方法
JP5877143B2 (ja) * 2012-09-27 2016-03-02 川澄化学工業株式会社 血液処理装置
JP2014233677A (ja) * 2013-06-03 2014-12-15 大阪ガスケミカル株式会社 浄水器
JP6242456B2 (ja) * 2016-10-06 2017-12-06 株式会社キッツマイクロフィルター 中空糸膜モジュール

Also Published As

Publication number Publication date
JP2004351319A (ja) 2004-12-16

Similar Documents

Publication Publication Date Title
JP6028730B2 (ja) 中空糸膜モジュール
JP3676353B2 (ja) 中空糸型モジュール
WO2017170971A1 (ja) 中空糸膜モジュールおよびその製造方法
JP6615969B1 (ja) 中空糸膜モジュール
WO2017171015A1 (ja) 中空糸膜モジュール及び中空糸膜モジュールの製造方法
CN209081475U (zh) 净水器用滤筒及净水器
EP0130994A1 (en) TERMINAL CLOSURE FOR TUBULAR HOUSING.
JP7221780B2 (ja) 中空糸膜モジュールとその製造方法
JPS58143805A (ja) 液体分離装置
JP2009240499A (ja) 血液透析濾過モジュール
JP2007175566A (ja) 中空糸膜モジュール
JP2748605B2 (ja) 中空糸膜モジュール及び中空糸膜モジュール用中空糸束
JP2006181420A (ja) 中空糸膜モジュール
JP2018058033A (ja) 中空糸膜モジュール及び中空糸膜モジュールの製造方法
JPH10137553A (ja) 継ぎ手を有する濾過膜カートリッジ
JP2007330846A (ja) 中空糸膜モジュールの製造方法
JP4362399B2 (ja) 中空糸型血液浄化器
JPH11197462A (ja) 中空糸膜型分離エレメント
JP3240702B2 (ja) 医療用吸着濾過器における体液の漏洩防止方法並びに体液の漏洩防止を可能とした医療用吸着濾過器
JP2005111445A (ja) 中空糸型モジュール
CN114423512B (zh) 中空纤维膜模块
JP2790617B2 (ja) 中空糸型血液浄化装置
JP2005169179A (ja) 中空糸型モジュール
JP2018058034A (ja) 中空糸膜モジュールおよびその製造方法
JP2006055205A (ja) 中空糸型血液浄化器

Legal Events

Date Code Title Description
A977 Report on retrieval

Free format text: JAPANESE INTERMEDIATE CODE: A971007

Effective date: 20050418

TRDD Decision of grant or rejection written
A01 Written decision to grant a patent or to grant a registration (utility model)

Free format text: JAPANESE INTERMEDIATE CODE: A01

Effective date: 20050426

A61 First payment of annual fees (during grant procedure)

Free format text: JAPANESE INTERMEDIATE CODE: A61

Effective date: 20050427

R150 Certificate of patent or registration of utility model

Ref document number: 3676353

Country of ref document: JP

Free format text: JAPANESE INTERMEDIATE CODE: R150

Free format text: JAPANESE INTERMEDIATE CODE: R150

FPAY Renewal fee payment (event date is renewal date of database)

Free format text: PAYMENT UNTIL: 20110513

Year of fee payment: 6

R250 Receipt of annual fees

Free format text: JAPANESE INTERMEDIATE CODE: R250

FPAY Renewal fee payment (event date is renewal date of database)

Free format text: PAYMENT UNTIL: 20110513

Year of fee payment: 6

FPAY Renewal fee payment (event date is renewal date of database)

Free format text: PAYMENT UNTIL: 20140513

Year of fee payment: 9

R250 Receipt of annual fees

Free format text: JAPANESE INTERMEDIATE CODE: R250

R250 Receipt of annual fees

Free format text: JAPANESE INTERMEDIATE CODE: R250

R250 Receipt of annual fees

Free format text: JAPANESE INTERMEDIATE CODE: R250

R250 Receipt of annual fees

Free format text: JAPANESE INTERMEDIATE CODE: R250

R250 Receipt of annual fees

Free format text: JAPANESE INTERMEDIATE CODE: R250

R250 Receipt of annual fees

Free format text: JAPANESE INTERMEDIATE CODE: R250

R250 Receipt of annual fees

Free format text: JAPANESE INTERMEDIATE CODE: R250

R250 Receipt of annual fees

Free format text: JAPANESE INTERMEDIATE CODE: R250

LAPS Cancellation because of no payment of annual fees