JP3666780B2 - 安全装置 - Google Patents

安全装置 Download PDF

Info

Publication number
JP3666780B2
JP3666780B2 JP30970097A JP30970097A JP3666780B2 JP 3666780 B2 JP3666780 B2 JP 3666780B2 JP 30970097 A JP30970097 A JP 30970097A JP 30970097 A JP30970097 A JP 30970097A JP 3666780 B2 JP3666780 B2 JP 3666780B2
Authority
JP
Japan
Prior art keywords
cover member
rotating body
closed
safety device
cover
Prior art date
Legal status (The legal status is an assumption and is not a legal conclusion. Google has not performed a legal analysis and makes no representation as to the accuracy of the status listed.)
Expired - Lifetime
Application number
JP30970097A
Other languages
English (en)
Other versions
JPH11133690A (ja
Inventor
聡 北岡
Current Assignee (The listed assignees may be inaccurate. Google has not performed a legal analysis and makes no representation or warranty as to the accuracy of the list.)
Ricoh Co Ltd
Original Assignee
Ricoh Co Ltd
Priority date (The priority date is an assumption and is not a legal conclusion. Google has not performed a legal analysis and makes no representation as to the accuracy of the date listed.)
Filing date
Publication date
Application filed by Ricoh Co Ltd filed Critical Ricoh Co Ltd
Priority to JP30970097A priority Critical patent/JP3666780B2/ja
Publication of JPH11133690A publication Critical patent/JPH11133690A/ja
Application granted granted Critical
Publication of JP3666780B2 publication Critical patent/JP3666780B2/ja
Anticipated expiration legal-status Critical
Expired - Lifetime legal-status Critical Current

Links

Images

Landscapes

  • Electrophotography Configuration And Component (AREA)
  • Rotary Switch, Piano Key Switch, And Lever Switch (AREA)

Description

【0001】
【発明の属する技術分野】
この発明は、たとえば複写機やプリンタやファクシミリのような画像形成装置など、部品交換・修理・清掃等を行うためにカバー部材を開閉自在に備えたものに適用し得る。詳しくは、そのような画像形成装置等に備えて、カバー部材を開けたとき安全のために駆動を停止する安全装置に関する。
【0002】
【従来の技術】
従来、たとえば複写機に備える、この種の安全装置の中には、図11に示すような検知スイッチ1を複写機本体内に設け、その複写機本体の開閉自在な正面カバー部材2に、それを閉めたとき検知スイッチ1のスイッチ部材1aを押し込む突起部2aを設ける構成としたものがある。
【0003】
そして、たとえば部品交換などを行うため、カバー部材2を開けたときは、図12に示すように、その開動作に応じてスイッチ部材1aの押し込みを解除し、たとえば検知スイッチ1をオフして安全のために駆動を停止していた。
【0004】
しかし、そのような安全装置では、カバー部材2を閉めたとき、そのカバー部材の取り付けのバラツキ等が原因で、突起部2aを押し込み過ぎて検知スイッチ1を破損してしまうことがあった。
【0005】
そこで、従来、他の安全装置の中に、図示省略するが、そのような突起部の押し込み過ぎによる検知スイッチの破損を防止すべく、カバー部材を閉めてスイッチ部材を押し込んだとき、その押し込み方向へ検知スイッチをばねに抗して逃がす安全機構を、別に設ける構成としたものがある。
【0006】
また、従来、図示安全装置では、カバー部材2を閉めた状態では、押し込んだスイッチ部材1aの反力が常にカバー部材2に加わる構成であるため、そのカバー部材が変形しやすいという問題もあった。
【0007】
そこで、上述した他の安全装置では、そのようなカバー部材の変形を防止すべく、カバー部材として板厚の比較的厚いものを用いて強度を上げる構成としていた。
【0008】
さらに、従来の図示安全装置では、カバー部材2を閉めるとき、スイッチ部材1aから受ける反力で、カバー部材2を確実に閉めることができないことがあった。
【0009】
そこで、上述した他の安全装置では、カバー部材を閉めたとき、その閉状態を保持すべく設けるマグネットとして、比較的磁力の強いものを使用していた。
【0010】
【発明が解決しようとする課題】
ところが、上述のような従来の安全装置では、別途に安全機構を必要とし、また、板厚の厚いカバー部材を必要とし、さらに、磁力の強いマグネットを必要とするため、それだけコストが高くなるという課題があった。
【0011】
【課題を解決するための手段】
そのため、請求項1に記載の発明は、安全装置において、たとえば以下の図面を用いて説明する実施の形態のとおり、開閉自在に設ける第1カバー部材30と、開閉自在に設け、閉めるときは前記第1カバー部材30を閉めてから後で閉め、開けるときは先に開けてから前記第1カバー部材30を開ける第2カバー部材31と、前記第1カバー部材30の閉動作に連動して回動する第1歯車36のような第1回転体と、その第1回転体の回動で退避位置から待機位置まで回動する押し込み部材38と、はじめ前記第1回転体と非係合状態にあり、前記第1カバー部材30の閉動作に連動して前記第1回転体を回動したときはじめて前記第1回転体と係合状態となり、その後前記第2カバー部材31の閉動作に連動して回動し、前記第1回転体をさらに回動して前記押し込み部材38を前記待機位置から押し込み位置へと回動する第2歯車39のような第2回転体と、前記第2カバー部材31の閉動作で前記押し込み部材38を押し込み位置としたときスイッチ部材33を押し込んで前記第1カバー部材30および前記第2カバー部材31の双方を閉めたことを検知する検知スイッチ32と、を備えてなる、ことを特徴とする。
【0012】
そして、この請求項に記載の発明では、第1カバー部材30の閉動作に連動して第1回転体を回動し、その第1回転体の回動で押し込み部材38を退避位置から待機位置まで回動する。続く、第2カバー部材31の閉動作に連動して第2回転体を回動して第1回転体をさらに回動し、押し込み部材38を前記待機位置から押し込み位置へと回動してスイッチ部材33を押し込み、第1カバー部材30および第2カバー部材31の双方を閉めたことを検知スイッチ32により検知する。
【0013】
請求項に記載の発明は、請求項に記載の安全装置において、たとえば以下の図面を用いて説明する実施の形態のとおり、前記第1回転体および前記第2回転体を互いに噛み合う歯車で形成し、その第1回転体の歯部36bの一部を切り欠いて非係合部44を形成し、前記第1カバー部材30および前記第2カバー部材31の双方を開位置とするとき該非係合部44で前記第1回転体と前記第2回転体との互いの噛み合いを解除するとともに、前記第1カバー部材30を閉めたとき噛み合いをはじめる前記第1回転体の歯部36bに弾性を持たせてなる、ことを特徴とする。
【0014】
そして、この請求項に記載の発明では、第1カバー部材30の閉動作に連動して第1回転体を回動したとき、その第1回転体の弾性を持たせた歯部36bが第2回転体の歯部39aに噛み合い、続く第2カバー部材31の閉動作に連動して第2回転体を回動したとき、第1回転体をさらに回動する。
【0015】
請求項に記載の発明は、請求項に記載の安全装置において、たとえば以下の図面を用いて説明する実施の形態のとおり、前記第1回転体および前記第2回転体を互いに摩擦接触するローラで形成し、その第回転体の外周の一部を切り欠いて非係合部44を形成し、前記第1カバー部材30および前記第2カバー部材31の双方を開位置とするとき該非係合部44で前記第1回転体と前記第2回転体との互いの摩擦接触を解除してなる、ことを特徴とする。
【0016】
そして、この請求項に記載の発明では、第1カバー部材30の閉動作に連動して第1回転体を回動したとき、その第1回転体が第2回転体に摩擦接触し、続く第2カバー部材31の閉動作に連動して第2回転体を回動したとき、第1回転体をさらに回動する。
【0017】
【発明の実施の形態】
以下、図面を参照しつつ、この発明の実施の形態について説明する。
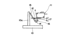
図1は、たとえば複写機に備える安全装置の一例を示す平面図である。
【0018】
図中符号10は、図示しない複写機本体の正面に開閉自在に設けるカバー部材で、図1にその閉状態を示す。カバー部材10には、その内面の一側側縁に内向きに突出して突起部10aを設けてなる。
【0019】
一方、複写機本体内には、カバー部材10の開閉を検知する検知スイッチ11を備える。検知スイッチ11は、たとえば板ばねのスイッチ部材12を有するマイクロスイッチで、図示しない適宜支持部材に取り付けて支持してなる。
【0020】
また、検知スイッチ11の正面側には、支軸14を、突起部10aと直交する向きに設け、上下両端を上記支持部材で回転自在に軸支してなる。そして、この支軸14上に、それとともにレバー部材15およびカム部材16を一体回動可能に取り付け、それらを不図示の付勢ばねで図中反時計方向に常時回動付勢してなる。
【0021】
カム部材16は、板カムからなり、その外周縁にカム面17を設ける。カム面17は、漸次径が増加する傾斜部aと、その傾斜部aの最大径部cから連続して有する等径部bとで形成してなる。
【0022】
そして、図示安全装置では、突起部10aにレバー部材15の先端を当てて止め、カム部材16を、カム面17の等径部bでスイッチ部材12を一定量押し込んだ押し込み状態で保持し、カバー部材10の完全な閉状態を検知スイッチ11で検知してなる。
【0023】
さて、部品交換などを行うときは、カバー部材10を開ける。すると、図示安全装置では、その開動作に応じて、図2に示すように、レバー部材15とともにカム部材16を上記付勢ばねで図中反時計方向に回動する。そして、図3に示すように、カム部材16によるスイッチ部材12の押し込み状態を解除し、そのスイッチ部材12を傾斜部aで受け、レバー部材15を不図示の適宜ストッパに当てて止める。そうして、検知スイッチ11でカバー部材10が開いたことを検知し、安全のために駆動を停止する。
【0024】
一方、部品交換などを終了した後は、カバー部材10を、図3中矢示方向に閉じる。そして、突起部10aでレバー部材15をカム部材16とともに押し回して図中時計方向に回動する。そのとき、カム部材16は、回動始めの一定範囲までは、図2に示すように、傾斜部aでスイッチ部材12を押し込み、その押し込み量が一定に達したとき、検知スイッチ11がオンしてカバー部材10を閉めたことを検知する。その後、さらにレバー部材15とともにカム部材16を押し回しながら、図1に示すようにカバー部材10を完全に閉める。
【0025】
このとき、カム部材16は、図2に示す回動位置よりさらに回動しても、その回動範囲では等径部bでスイッチ部材12の一定の押し込み状態を保持し、そのまま押し込み量を一定に保ちながら、カバー部材10が完全に閉まるまで回動する。
【0026】
ところで、上述したレバー部材15およびカム部材16は、たとえば樹脂成形により、図4に示すように一体に形成するとよい。
【0027】
また、上述した図示安全装置では、たとえば図5に示すように構成することもできる。
【0028】
図5に示す例では、上記支軸14に、前述したと同様なレバー部材15およびカム部材16を取り付けるとともに、それらと一体回動可能に、前記カム部材16の下側に別のカム部材19を取り付ける。一方、上記検知スイッチ11の真下に、同様にマイクロスイッチからなる別の検知スイッチ20を設置する。
【0029】
別のカム部材19は、その外周縁に設けるカム面18を、漸次径が増加する傾斜部eと、その傾斜部eの最大径部fから連続して有する等径部dとで形成し、その等径部dを、カム部材16の等径部bより周方向に長く形成してなる。そして、傾斜部eがカム部材16の傾斜部aより若干出っ張った状態で支軸14上に取り付けてなる。
【0030】
さて、この図5に示す例では、カバー部材10を閉めるとき、その閉動作と連動してレバー部材15とともにカム部材16・19が一定角度回動すると、その別のカム面18の傾斜部eで別の検知スイッチ20のスイッチ部材21を押し込み、半ドアー状態まで閉めたとき該別のカム面18の等径部dでその押し込み状態を保持してその半ドアー状態まで閉めたことを別の検知スイッチ20で検知する。
【0031】
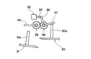
ところで、この発明による安全装置は、たとえば図6に示すように構成する
【0032】
図6に示す例では、たとえば複写機において、その正面を被うカバーを、図中右左の第1カバー部材30と第2カバー部材31の2つのカバーで形成し、それらカバー部材30・31を観音開き式に開閉自在に設ける。
【0033】
それらカバー部材30・31は、互いに隣接する一側縁近くに、図6に示す閉状態において、内向きに突出した突起部30a・31aを設けてなる。さらに、各々の一側縁に係合段部30b・31bを設け、それら係合段部30b・31bを、一方の係合段部30bが内側の係合状態にして閉めてある。そして、開けるときは、第2カバー部材31から先に開け、閉めるときは第1カバー部材30から先に閉めるようにしてなる。
【0034】
一方、複写機本体内には、カバー部材30・31の開閉を検知する検知スイッチ32を備える。検知スイッチ32は、スイッチ部材33を出没自在に有するプッシュ式スイッチで、図示しない適宜支持部材に取り付けて支持してなる。
【0035】
また、検知スイッチ32の正面側には、互いに平行なギヤ軸34・35を、突起部30a・31aと直交する向きに設け、各々の上下両端を上記支持部材で回転自在に軸支してなる。そして、一方のギヤ軸34上に、第1歯車(この発明にいう「第1回転体」)36を一体回動可能に取り付けてなる。なお、第1歯車36は、その周面の一部に歯を設けない非係合部44を設けてなる。
【0036】
さらに、ギヤ軸34上に、それと一体回動可能に第1レバー部材37とアーム状の押し込み部材38を互いに直角な向きに取り付け、それらを不図示の第1付勢ばねで図6中時計方向に常時回動付勢してなる。
【0037】
一方、他方のギヤ軸35上に、それと一体回動可能に第2歯車(この発明にいう「第2回転体」)39および第2レバー部材40を取り付け、それらを不図示の第2付勢ばねで図6中反時計方向に常時回動付勢してなる。
【0038】
そして、第1歯車36と第2歯車39を噛み合わせて第2レバー部材40を突起部31aに当てて止め、押し込み部材38を、その先端でスイッチ部材33を押し込んだ押し込み位置とし、カバー部材30・31双方の閉状態を検知スイッチ32で検知してなる。
【0039】
さて、部品交換などを行うために正面側を開放する場合は、まず、第2カバー部材31を、図7に示すように開ける。すると、突起部31aによる第2レバー部材40の回動規制が解除され、第1歯車36が上記第1付勢ばねにより図中時計方向に回動し、第1レバー部材37を突起部30aの先端に当てて止める。そして、押し込み部材38を、スイッチ部材33の押し込みを解除した待機位置とし、正面側が開放されたことを検知スイッチ32で検知し、安全のために駆動を停止する。
【0040】
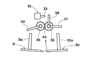
しかる後、第1カバー部材30を開ける。すると、突起部30aによる第1レバー部材37の回動規制が解除され、上記第1付勢ばねで第1歯車36をさらに回動し、図8に示すように押し込み部材38がスイッチ部材33から離れた退避位置で、第1レバー部材37を不図示の適宜ストッパに当てて止める。同時に、第1歯車36との噛み合いを介して第2歯車39を回動し、第2レバー部材40を上記第2付勢ばねで不図示の適宜ストッパに当てて止め、非係合部44にて噛み合いを解除した位置で2つの歯車36・39を保持する。そうして、第1カバー部材30と第2カバー部材31の双方を開けた状態とする。
【0041】
なお、仮に、誤って第2カバー部材31より先に第1カバー部材30を開けた場合には、その開動作に応じて、内側の係合段部30bで第2カバー部材31も押し開かれる。したがって、そのような場合でも、上述したと同様に検知スイッチ32で正面側が開放されたことを検知することができる。
【0042】
一方、部品交換などを終了して後、正面側を閉鎖するときは、まず、第1カバー部材30を図8中矢示方向に閉める。そして、突起部30aで第1レバー部材37を反時計方向に押し回して第1歯車36を回動し、図7に示すように、押し込み部材38を、退避位置から、その先端がスイッチ部材33に近接する待機位置とする。
【0043】
続いて、第2カバー部材31を閉める。そして、突起部31aで第2レバー部材40を図7中時計方向に押し回して第2歯車39を回動し、その第2歯車39との噛み合いを介して第1歯車36をさらに回動し、図6に示すように、押し込み部材38を待機位置から押し込み位置とし、その先端でスイッチ部材33を押し込み、第1および第2カバー部材30・31の双方を閉めたことを、検知スイッチ32で検知する。
【0044】
なお、上述のように正面側を閉鎖する際に、仮に、誤って第2カバー部材31を先に閉めた場合には、第2歯車39が非係合部44にて第1歯車36と非噛み合い状態であるため、突起部31aで第2レバー部材40を押し回しても、第2歯車39の回転は、第1歯車36へ伝わらない。これにより、先に第2カバー部材31を閉めたとしても、それによりスイッチ部材33が押し込み状態になることを防止する。
【0045】
ところで、上述した図6〜図8の例では、第1歯車36を、たとえば樹脂材料で形成し、図9に示すように、その歯車36の非係合部44と隣接する歯部36bに、たとえば切欠き45を形成して弾性をもたせる構成にするとよい。
【0046】
そして、第1カバー部材30を閉じて第1歯車36を図9中矢示方向に回動するとき、その歯部36bと第2歯車39の歯部39aの噛み合い、その噛みあい合い始めに、歯部36bを撓ませ、これにより、2つの歯車36・39がロック状態になることを防止する。
【0047】
また、上述した図6〜図9に示す例では、第1および第2回転体を歯車で形成するが、たとえば図10に示すように、互いの摩擦接触で回転を伝達するローラ50・51を用いて形成することもできる。
【0048】
図10に示す例では、ローラ50・51として、たとえばゴムローラを用いる。なお、第1回転体としてのローラ50は、その外周の一部に切欠きを設け、その切欠き部分をローラ51との係合を解除する非係合部44としてなる。
【0049】
そして、第1カバー部材30の閉動作に連動して第1ローラ50を回動したとき、その第1ローラ50が第2ローラ51に摩擦接触し、続く第2カバー部材31の閉動作に連動して第2ローラ51を回動したとき、第1ローラ50をさらに回動する。
【0050】
【発明の効果】
したがって、請求項1に記載の発明によれば、隣接して設ける第1カバー部材と第2カバー部材を、順次閉めたとき初めて、検知スイッチのスイッチ部材が押し込まれるようにするから、2つのカバー部材の双方を閉めたことを検知する検知スイッチが1つで済み、それだけコストを下げることができる。また、検知スイッチのスイッチ部材を押し込むために必要なカバー部材の動作ストロークが短くて済み、これにより、カバー部材に設ける突起部を短くすることができ、その分さらにコストを下げることができる。
【0051】
請求項に記載の発明によれば、加えて、第1および第2回転体を歯車で形成し、第1カバー部材を閉めたとき噛み合いを始める第1回転体の歯部に弾性をもたせることから、それら2つの回転体の噛み合い始めに、歯部同志がロック状態になることを防止してスムーズに回転を伝達することができる。
【0052】
請求項に記載の発明によれば、加えて、第1および第2回転体を、互いの摩擦接触で回転を伝達するローラで形成することから、2つの回転体をその間の摩擦でスムーズに回転を伝達することができる。
【図面の簡単な説明】
【図1】 全装置の一例を、カバー部材の閉状態において示す平面図である。
【図2】 その安全装置を、カバー部材を閉める途中で検知スイッチを押し込んだ状態において示す平面図である。
【図3】 その安全装置を、カバー部材の開状態において示す平面図である。
【図4】 その安全装置において、一体成形したレバー部材とカム部材を示す平面図である。
【図5】 その安全装置の他例を、カバー部材の半ドア状態において示す平面図である。
【図6】 この発明による安全装置の一例を、第1および第2カバー部材の閉状態において示す平面図である。
【図7】 その安全装置を、第2カバー部材の開状態において示す平面図である。
【図8】 その安全装置を、第1および第2カバー部材の開状態において示す平面図である。
【図9】 その安全装置において、歯部に弾性をもたせた第1回転体と、それと係合する第2回転体を示す平面図である。
【図10】 その安全装置において、摩擦回転するローラで形成した第1および第2回転体を示す平面図である。
【図11】 従来の安全装置を、カバー部材の閉状態において示す平面図である。
【図12】 その安全装置を、カバー部材の開状態において示す平面図である。
【符号の説明】
10 カバー部材
11・32 検知スイッチ
12・33 スイッチ部材
15 レバー部材
16 カム部材
17・18 カム面
19 別のカム部材
20 別の検知スイッチ
30 第1カバー部材
31 第2カバー部材
36 第1歯車(第1回転体)
36b・39a 歯部
37 第1レバー部材
38 押し込み部材
39 第2歯車(第2回転体)
40 第2レバー部材
44 非係合部
50・51 ローラ
a・e 傾斜部
b・d 等径部
c・f 最大径部

Claims (3)

  1. 開閉自在に設ける第1カバー部材と、
    開閉自在に設け、閉めるときは前記第1カバー部材を閉めてから後で閉め、開けるときは先に開けてから前記第1カバー部材を開ける第2カバー部材と、
    前記第1カバー部材の閉動作に連動して回動する第1回転体と、
    その第1回転体の回動で退避位置から待機位置まで回動する押し込み部材と、
    はじめ前記第1回転体と非係合状態にあり、前記第1カバー部材の閉動作に連動して前記第1回転体を回動したときはじめて前記第1回転体と係合状態となり、その後前記第2カバー部材の閉動作に連動して回動し、前記第1回転体をさらに回動して前記押し込み部材を前記待機位置から押し込み位置へと回動する第2回転体と、
    前記第2カバー部材の閉動作で前記押し込み部材を押し込み位置としたときスイッチ部材を押し込んで前記第1カバー部材および前記第2カバー部材の双方を閉めたことを検知する検知スイッチと、
    を備えてなる、安全装置。
  2. 前記第1回転体および前記第2回転体を互いに噛み合う歯車で形成し、その第1回転体の歯部の一部を切り欠いて非係合部を形成し、前記第1カバー部材および前記第2カバー部材の双方を開位置とするとき該非係合部で前記第1回転体と前記第2回転体との互いの噛み合いを解除するとともに、前記第1カバー部材を閉めたとき噛み合いをはじめる前記第1回転体の歯部に弾性を持たせてなる、請求項1に記載の安全装置。
  3. 前記第1回転体および前記第2回転体を互いに摩擦接触するローラで形成し、その第1回転体の外周の一部を切り欠いて非係合部を形成し、前記第1カバー部材および前記第2カバー部材の双方を開位置とするとき該非係合部で前記第1回転体と前記第2回転体との互いの摩擦接触を解除してなる、請求項1に記載の安全装置。
JP30970097A 1997-10-24 1997-10-24 安全装置 Expired - Lifetime JP3666780B2 (ja)

Priority Applications (1)

Application Number Priority Date Filing Date Title
JP30970097A JP3666780B2 (ja) 1997-10-24 1997-10-24 安全装置

Applications Claiming Priority (1)

Application Number Priority Date Filing Date Title
JP30970097A JP3666780B2 (ja) 1997-10-24 1997-10-24 安全装置

Publications (2)

Publication Number Publication Date
JPH11133690A JPH11133690A (ja) 1999-05-21
JP3666780B2 true JP3666780B2 (ja) 2005-06-29

Family

ID=17996238

Family Applications (1)

Application Number Title Priority Date Filing Date
JP30970097A Expired - Lifetime JP3666780B2 (ja) 1997-10-24 1997-10-24 安全装置

Country Status (1)

Country Link
JP (1) JP3666780B2 (ja)

Cited By (1)

* Cited by examiner, † Cited by third party
Publication number Priority date Publication date Assignee Title
CN110083040A (zh) * 2018-01-26 2019-08-02 夏普株式会社 检测装置及图像形成装置

Families Citing this family (10)

* Cited by examiner, † Cited by third party
Publication number Priority date Publication date Assignee Title
JP4908917B2 (ja) * 2006-05-15 2012-04-04 キヤノン株式会社 扉開閉検知装置及び画像形成装置
JP5342782B2 (ja) * 2008-01-08 2013-11-13 京セラドキュメントソリューションズ株式会社 画像形成装置
JP5365351B2 (ja) * 2009-06-05 2013-12-11 コニカミノルタ株式会社 カバー開閉検知装置及び画像形成装置
KR101646248B1 (ko) * 2009-07-08 2016-08-05 동부대우전자 주식회사 액체세제 공급장치 및 그 제어방법
JP5768339B2 (ja) * 2010-07-14 2015-08-26 株式会社リコー インターロック機構及び画像形成装置
JP5678696B2 (ja) * 2011-01-31 2015-03-04 株式会社リコー カバー開閉検知装置及び画像形成装置
JP6218554B2 (ja) * 2013-10-24 2017-10-25 キヤノン株式会社 画像形成装置
JP6233096B2 (ja) * 2014-02-28 2017-11-22 株式会社リコー インターロック機構及び画像形成装置
JP6659146B2 (ja) 2016-01-19 2020-03-04 キヤノン株式会社 画像形成装置
JP7301522B2 (ja) * 2018-11-09 2023-07-03 フクダ電子株式会社 レコーダー

Cited By (2)

* Cited by examiner, † Cited by third party
Publication number Priority date Publication date Assignee Title
CN110083040A (zh) * 2018-01-26 2019-08-02 夏普株式会社 检测装置及图像形成装置
CN110083040B (zh) * 2018-01-26 2022-03-11 夏普株式会社 检测装置及图像形成装置

Also Published As

Publication number Publication date
JPH11133690A (ja) 1999-05-21

Similar Documents

Publication Publication Date Title
JP3666780B2 (ja) 安全装置
KR200362183Y1 (ko) 전기 모터구동 힌지 장치
JP4320168B2 (ja) トナー補給容器
US8876176B2 (en) Latch assembly
US7360337B2 (en) Door closing apparatus
JPH0792107B2 (ja) トルクリミッタ
JP3180028B2 (ja) 車両用スライド扉自動開閉装置
JP2000132956A (ja) 車載用機器
JP2020008124A (ja) 逆入力遮断クラッチ
JP5148228B2 (ja) 原稿圧着板開閉装置及び原稿圧着板を備えた事務機器
FR2784977A1 (fr) Dispositif d'entrainement de feuille continue pour dispositif de fixage
US8224228B2 (en) Cover closer
KR20030095965A (ko) 클러치 장치
JP2600002B2 (ja) 定着装置
JP2902300B2 (ja) 炊飯器等の蓋の自動閉止装置
JPH10142996A (ja) 画像形成装置の定着装置
JPH0455243A (ja) シート材搬送装置
JP3133271B2 (ja) 収納装置
JPH04355Y2 (ja)
JP6749517B1 (ja) シャッター開閉機
KR960001132B1 (ko) 자동차의 슬라이딩 루우프용 로타리 드라이브 축의 회전수 제한 기구
JPS58190971A (ja) 複写機の定着装置
JPH11166361A (ja) クラッチ装置
JP2011221403A (ja) 画像形成装置
JPH05132173A (ja) 給紙装置

Legal Events

Date Code Title Description
A131 Notification of reasons for refusal

Free format text: JAPANESE INTERMEDIATE CODE: A131

Effective date: 20040312

A521 Written amendment

Free format text: JAPANESE INTERMEDIATE CODE: A523

Effective date: 20040510

TRDD Decision of grant or rejection written
A01 Written decision to grant a patent or to grant a registration (utility model)

Free format text: JAPANESE INTERMEDIATE CODE: A01

Effective date: 20050401

A61 First payment of annual fees (during grant procedure)

Free format text: JAPANESE INTERMEDIATE CODE: A61

Effective date: 20050401

FPAY Renewal fee payment (event date is renewal date of database)

Free format text: PAYMENT UNTIL: 20080415

Year of fee payment: 3

FPAY Renewal fee payment (event date is renewal date of database)

Free format text: PAYMENT UNTIL: 20090415

Year of fee payment: 4

FPAY Renewal fee payment (event date is renewal date of database)

Free format text: PAYMENT UNTIL: 20100415

Year of fee payment: 5

FPAY Renewal fee payment (event date is renewal date of database)

Free format text: PAYMENT UNTIL: 20100415

Year of fee payment: 5

FPAY Renewal fee payment (event date is renewal date of database)

Free format text: PAYMENT UNTIL: 20110415

Year of fee payment: 6

FPAY Renewal fee payment (event date is renewal date of database)

Free format text: PAYMENT UNTIL: 20120415

Year of fee payment: 7

FPAY Renewal fee payment (event date is renewal date of database)

Free format text: PAYMENT UNTIL: 20130415

Year of fee payment: 8

FPAY Renewal fee payment (event date is renewal date of database)

Free format text: PAYMENT UNTIL: 20140415

Year of fee payment: 9

EXPY Cancellation because of completion of term