JP3662358B2 - 対物レンズ駆動装置 - Google Patents
対物レンズ駆動装置 Download PDFInfo
- Publication number
- JP3662358B2 JP3662358B2 JP22808096A JP22808096A JP3662358B2 JP 3662358 B2 JP3662358 B2 JP 3662358B2 JP 22808096 A JP22808096 A JP 22808096A JP 22808096 A JP22808096 A JP 22808096A JP 3662358 B2 JP3662358 B2 JP 3662358B2
- Authority
- JP
- Japan
- Prior art keywords
- objective lens
- viscoelastic body
- driving device
- holding member
- temperature
- Prior art date
- Legal status (The legal status is an assumption and is not a legal conclusion. Google has not performed a legal analysis and makes no representation as to the accuracy of the status listed.)
- Expired - Fee Related
Links
- 239000002184 metal Substances 0.000 claims description 15
- 230000008859 change Effects 0.000 claims description 9
- 239000000463 material Substances 0.000 claims description 4
- 239000002861 polymer material Substances 0.000 claims description 3
- 230000008878 coupling Effects 0.000 claims description 2
- 238000010168 coupling process Methods 0.000 claims description 2
- 238000005859 coupling reaction Methods 0.000 claims description 2
- 230000003287 optical effect Effects 0.000 description 35
- 230000035945 sensitivity Effects 0.000 description 13
- 230000004044 response Effects 0.000 description 6
- 230000000694 effects Effects 0.000 description 5
- 230000005489 elastic deformation Effects 0.000 description 2
- 230000009191 jumping Effects 0.000 description 2
- 238000000034 method Methods 0.000 description 2
- 230000001681 protective effect Effects 0.000 description 2
- 239000000853 adhesive Substances 0.000 description 1
- 230000001070 adhesive effect Effects 0.000 description 1
- 230000007423 decrease Effects 0.000 description 1
- 230000001419 dependent effect Effects 0.000 description 1
- 238000005516 engineering process Methods 0.000 description 1
- 238000003384 imaging method Methods 0.000 description 1
- ORQBXQOJMQIAOY-UHFFFAOYSA-N nobelium Chemical compound [No] ORQBXQOJMQIAOY-UHFFFAOYSA-N 0.000 description 1
- 230000010355 oscillation Effects 0.000 description 1
- 239000011347 resin Substances 0.000 description 1
- 229920005989 resin Polymers 0.000 description 1
- 238000000926 separation method Methods 0.000 description 1
- 238000005476 soldering Methods 0.000 description 1
- 230000002195 synergetic effect Effects 0.000 description 1
Images
Landscapes
- Optical Head (AREA)
Description
【発明の属する技術分野】
本発明は、光学的情報記録再生技術の分野に属するものであり、特に光学的情報記録再生用の光ピックアップにおける対物レンズ駆動装置に関するものである。
【0002】
【従来の技術】
光学的情報記録再生装置の光ピックアップとして図7に示す構成のものがある。
【0003】
図7において、キャリッジ100に固定された光集積素子101からY方向に射出されたレーザ光束は、キャリッジ100に固着された跳ね上げミラー102によって光路を90°折り曲げられてZ方向に進行し、後述する対物レンズ駆動装置200に保持されている対物レンズ201を透過して、X−Y面内に配置された不図示のディスク状光学的情報記録媒体(以下、単に「ディスク」という)上にスポット結像せしめられる。ディスクからの反射光は、該ディスクへの入射の時とほぼ同じ光路を逆向きに進行し、光集積素子101内の光センサ上に結像せしめられる。この光センサの出力に基づき、光集積素子101からはフォーカスエラー信号、トラックエラー信号、RF信号等の電気信号が出力される。
【0004】
上記対物レンズ駆動装置200の構成を説明する。対物レンズ201はレンズホルダー202に固着されている。レンズホルダー202はトラッキングコイル203及びフォーカシングコイル204を固着保持している。これらのトラッキングコイル203及びフォーカシングコイル204と対向するようにマグネット205が配置されており、該マグネット205は基台206に固着されている。基台206には、プリント基板保持部材207がマグネット205と離れた位置において固着されている。レンズホルダー202は4本の平行配列の金属ワイヤー208により支持されている。各金属ワイヤー208は、一端をレンズホルダー202に、他端をプリント基板保持部材207に固着されたプリント基板209に、それぞれ半田付け固定されている。対物レンズ駆動装置200の基台206はキャリッジ100上に固定されている。尚、キャリッジ100は不図示のX方向ガイドレールにガイドされてX方向に移動することができる。
【0005】
上記構成において、フォーカシングコイル204およびトラッキングコイル203に電流を流すと、金属ワイヤー208の弾性変形に基づき、レンズホルダー202に固着された対物レンズ201はディスク面と垂直のZ方向およびディスク面と平行なX−Y面内において上記ディスクの情報トラックと垂直なX方向に移動する。これらの対物レンズ201のZ方向移動及びX方向移動を適宜制御することにより、ディスクの面振れや偏芯に追従してディスクに対しフォーカスずれ及びトラックずれのない状態で良好な光スポットを形成することが可能となる。
【0006】
ところで、上記金属ワイヤー208はバネ性(弾性)がある為、上記対物レンズ駆動装置200は共振周波数を持つ、この共振モードを抑えて対物レンズ駆動装置200の整定性を向上させることが、良好な再生信号を得る為の必要条件となる。
【0007】
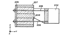
共振モードを抑える方法の1つとして、図8に示すような方法がある。即ち、図示されているように、金属ワイヤー208が貫通するプリント基板保持部材207の部分に形成されている貫通孔内に粘弾性体210を充填することにより共振モードを抑えるものである。
【0008】
この様に構成した対物レンズ駆動装置200の感度特性を、図9に示す。一般的に、粘弾性体210は温度特性を持つ事が知られている。即ち、低域感度、Q値(低域感度と共振ピーク値との差)及び共振周波数は、図示のように変化する。QH ,QRT,QL はそれぞれ高温、室温、低温でのQ値を示す。図10にQ値及び共振周波数の温度依存性のグラフを示す。これらのパラメータが変化すると、対物レンズ駆動装置のディスク面振れや偏芯に対する追従性能が変化する為、室温において適正に調整しても、高温または低温において再生信号の品質が悪化するという現象が発生する。特に、Q値が変化すると、トラックジャンプが困難になり、信号の再生が不可能になる場合がある。
【0009】
上記図9に示す温度依存性を持つ対物レンズ駆動装置200を用いてトラックジャンプをした時の目標値への整定性のグラフを、図11に示す。室温では良好な整定性(整定時間TRT)を示すが、低温では応答が遅くなり高温では発振ぎみになり、ともに室温の場合より制定時間が長くなっている(低温での整定時間TL 、高温での整定時間TH )。
【0010】
【発明が解決しようとする課題】
以上説明したように、対物レンズ駆動装置の共振モードを抑える方法として粘弾性体を用いた場合、粘弾性体の温度特性の為、低温または高温でディスク面振れや偏芯に対する追従性が低下したり、また、トラックジャンプ時の整定性が低下したり不安定になったりして、ディスクからの良好な情報の記録再生に支障をきたすことがある。特に、車載用や宇宙空間などの過酷な環境下では、ディスクからの情報の再生やディスクに対する情報の記録が不可能になる場合がある。
【0011】
そこで、本発明の目的は、対物レンズ駆動装置のフォーカス方向及びトラック方向の感度特性において、Q値及び共振周波数の温度依存性を少なくして、過酷な環境下でも良好な面振れ追従性及び偏芯追従性と良好なトラックジャンプ整定性とを実現し、良好な光学的情報記録再生を可能ならしめようとするものである。
【0012】
【課題を解決するための手段及び作用】
本発明によれば、上記目的を達成するものとして、
対物レンズ駆動装置において、
対物レンズと、
該対物レンズを保持するレンズホルダーと、
該レンズホルダーに固着されたトラッキングコイル及びフォーカシングコイルと、
前記対物レンズホルダーを支持するための基台と、
該基台に固着された前記トラッキングコイル及び前記フォーカシングコイルと対向するように配置されたマグネットと、
前記基台に対し前記レンズホルダーをトラッキング方向とフォーカシング方向とに移動可能に支持するための複数のバネ材と、
前記バネ材の両端の間に接触している粘弾性体と、
該粘弾性体を保持すると共に前記基台と弾性変形可能な連結部材を介して接続されている粘弾性体保持部材とを有し、
前記粘弾性体保持部材の周波数特性は、前記粘弾性体の周波数特性の温度に対する変化による前記装置の周波数特性の変化を抑制するように設定されていることを特徴とする対物レンズ駆動装置、
が提供される。
【0013】
本発明の一態様においては、上記バネ材は金属ワイヤーである。
【0014】
本発明の一態様においては、上記粘弾性体は膠質性高分子材料である。
【0017】
本発明においては、粘弾性体保持部材自体が外乱振動に対して共振周波数を持った応答特性を持ち、従って粘弾性体の温度特性と弾性連結部材で支持された粘弾性体保持部材の外乱振動に対する応答の温度特性とが相乗作用をなすことにより、対物レンズ駆動装置のフォーカシング方向およびトラッキング方向の感度特性のQ値と共振周波数との温度依存性を抑えるようにすることができる。
【0018】
【発明の実施の形態】
以下、図面を参照しながら、本発明の実施の形態を説明する。
【0019】
(第1の実施形態)
図1は本発明による対物レンズ駆動装置の第1の実施形態を示す分解斜視図であり、図2はその部分断面図である。これらの図において上記図7及び図8におけると同様の機能を有する部材には同一の符号が付されている。
【0020】
本実施形態が上記図7及び図8の装置と本質的に異なるところは、プリント基板とプリント基板保持部材と金属ワイヤーと粘弾性体との固着、係合あるいは接続の形態である。
【0021】
即ち、図1において、300は光学的情報記録再生装置本体に固定されたガイドレールであり、キャリッジ100にはガイドレール300に対しX方向にスライド可能に適合せるガイド孔が形成されており、キャリッジ100には不図示のX方向移動駆動手段が接続されており、該X方向移動駆動手段によりガイドレール300に沿ってキャリッジ100をX方向に往復移動させることができる。キャリッジ100には光集積素子101及び跳ね上げミラー102が固着されている。光集積素子101内にはレーザ光源や光センサや光束分離光学素子が収容されている。
【0022】
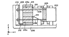
上記キャリッジ100上には対物レンズ駆動装置200が取り付けられている。該対物レンズ駆動装置200は、キャリッジ100に固定された基台206を備えている。該基台206にはマグネット205が固着されている。
【0023】
基台206には、更に、プリント基板保持部材214が取り付けられており、該プリント基板保持部材214には電気配線の形成されたプリント基板209が取り付けられている。一方、レンズホルダー202には対物レンズ201ならびにトラッキングコイル203及びフォーカシングコイル204が固着されている。これらのトラッキングコイル203及びフォーカシングコイル204は、上記マグネット205と対向する様に配置されている。
【0024】
そして、レンズホルダー202には平行配列の4本の金属ワイヤー208のそれぞれの一端が接続されており、各金属ワイヤー208の他端は上記プリント基板209にハンダ付けにより接続されている。金属ワイヤー208をプリント基板209の電気回路に接続してトラッキングコイル203及びフォーカシングコイル204への電流供給に用いることができる。
更に、上記プリント基板保持部材214の下部には弾性変形可能な連結部材212を介して粘弾性体保持部材213の下部が接続されている。本実施形態では、連結部材212、粘弾性体保持部材213及びプリント基板保持部材214はプラスチックで一体的に成形されており、連結部材212は曲げ変形可能な程度の寸法に形成されている。粘弾性体保持部材213には、Y方向の貫通孔213aが形成されており、これら貫通孔内を上記金属ワイヤー208が貫通している。貫通孔213a内には粘弾性体210が充填されている。粘弾性体210としては、例えば膠質性高分子材料(紫外線硬化性樹脂など)が用いられる。
【0025】
尚、211は保護カバーである。
【0026】
光集積素子101内のレーザ光源から射出されたレーザ光束は、該光集積素子101内の光束分離光学素子を透過し、光集積素子101を出てY方向に進行し、跳ね上げミラー102によって光路を90°折り曲げられてZ方向に進行し、対物レンズ駆動装置200に保持されている対物レンズ201を透過して、X−Y面内に配置された不図示の光学的情報記録媒体たる光ディスク上にスポット結像せしめられる。光ディスクからの反射光は、該光ディスクへの入射の時とほぼ同じ光路を逆向きに進行し、光集積素子101内の光束分離光学素子により射出光束と分離され光センサ上に結像せしめられる。この光センサの出力に基づき、光集積素子101からはフォーカスエラー信号、トラックエラー信号、RF信号等の電気信号が出力される。
【0027】
フォーカシングコイル204およびトラッキングコイル203に電流を流すと、金属ワイヤー208の弾性変形に基づき、レンズホルダー202に固着された対物レンズ201はディスク面と垂直のZ方向およびディスク面と平行なX−Y面内において上記ディスクの情報トラックと垂直なX方向に移動する。
【0028】
本実施形態では、金属ワイヤー208が振動すると、その振動は、先ず粘弾性体210に伝達され、更に該粘弾性体210を保持せる粘弾性体保持部材213が弾性変形可能な連結部材212を介してプリント基板保持部材214に接続されていることから、粘弾性体保持部材213にも伝達される。従って、本実施形態の対物レンズ駆動装置200のフォーカス方向およびトラック方向の感度特性におけるQ値及び共振周波数の温度依存性は、粘弾性体210の温度特性と振動可能に保持された粘弾性体保持部材213の外乱振動に対する応答の温度特性との双方の影響を受ける。
【0029】
粘弾性体210の温度特性は、上記の様に図9及び図10に示すとおりである。粘弾性体保持部材213の外乱応答特性の概略を図12に示す。図12においては、粘弾性体保持部材213の特性に加えて、粘弾性体210の特性(即ち、上記図9の特性)と、本実施形態におけるレンズホルダー202の特性とが、示されている。粘弾性体保持部材213の感度特性は、絶対値は小さいけれども、粘弾性体210と同様の温度依存性を持っている。但し、共振周波数の温度依存性は粘弾性体210より大きい傾向にある。そして、粘弾性体保持部材213の共振周波数は粘弾性体210の共振周波数より僅かに高く設定されている。粘弾性体210の特性は上記図8に関し説明した様な粘弾性体210を用いた従来の装置のレンズホルダー202の振動の温度特性に相当し、これに対して本発明実施形態のレンズホルダー202の振動の温度特性は粘弾性体210と粘弾性体保持部材213とを用いた場合の特性である。
【0030】
本発明実施形態のレンズホルダー202の特性において、室温での共振周波数はfRTで示されており、高温での共振周波数はfH で示されており、低温での共振周波数はfL で示されている。図8の様な粘弾性体210を用いた従来の装置での室温、高温及び低温での共振周波数のそれぞれと本発明実施形態の装置での室温、高温及び低温での共振周波数fRT,fH ,fL のそれぞれとの差が、ΔfRT,ΔfH ,ΔfL で示されている。ΔfH >ΔfRT>ΔfL であり、ΔfL はほぼ0である。
【0031】
高温(例えば70℃)では、粘弾性体保持部材213の共振周波数は室温の場合より下がり、粘弾性体210の共振周波数に近くなる。レンズホルダー202の共振周波数付近の振動は、粘弾性体保持部材213によって増幅されるため、図4に示す様に、フォーカシング及びトラッキングの感度特性の共振周波数のQ値を増幅する効果がある。また、室温の場合に対する共振周波数の変化量(即ち、fRT−fH )が従来装置より抑制されることが図12から分かる。
【0032】
低温(例えば−25℃)では、粘弾性体支持部材213の共振周波数は室温の場合より上がり、粘弾性体210の共振周波数から遠くなる。レンズホルダー202の共振周波数付近の振動は、粘弾性体保持部材213によって抑制されるため、図4に示す様に、フォーカシング及びトラッキングの感度特性の共振周波数のQ値を抑制する効果がある。また、室温の場合に対する共振周波数の変化量(即ち、fL −fRT)が従来装置より抑制されることが図12から分かる。
【0033】
従って、本発明実施形態の対物レンズ駆動装置のフォーカス方向およびトラック方向の感度特性は、図3のようになり、温度に殆ど依存しなくなる。図4に示すように、Q値も共振周波数もほとんど温度に依存しない。
【0034】
そして、本実施形態では、図5に示されているように、トラックジャンプ整定時間も温度に依存しなくなり、安定した制御が可能となる。図5において、TH ,TRT,TL は、それぞれ高温、室温、低温での整定時間を示す。
【0035】
かくして、本実施形態においては、対物レンズ201のZ方向移動及びX方向移動を適宜制御することにより、広範な温度範囲においてディスクの面振れや偏芯に追従してディスクに対しフォーカスずれ及びトラックずれのない状態で良好な光スポットを形成することが可能となる。
【0036】
(第2の実施形態)
図6は本発明による対物レンズ駆動装置の第2の実施形態を示す部分断面図である。本図は、上記第1の実施形態の図2に対応する部分を示すものである。図6において上記図1〜図2におけると同様の機能を有する部材には同一の符号が付されている。
【0037】
本実施形態では、プリント基板209をプリント基板保持部材により保持せずに直接基台206に固定している(即ち、第1の実施形態において使用されていたプリント基板保持部材214は除外されている)。そして、粘弾性体保持部材213を連結部材212を介して基台206に固定している。連結部材212の基台206への固定は接着剤によりなされている。尚、連結部材212の基台206への固定はネジ等により行うこともでき、この場合も同様の効果が得られる。
【0038】
本実施形態においても、上記第1の実施形態と同等の効果が得られる。
【0039】
【発明の効果】
以上説明したように、本発明によれば、粘弾性体保持部材を弾性を持つ連結部材を介して支持する事により、粘弾性体保持部材自体が振動特性を持つようになるため、その温度依存性を利用して、対物レンズ駆動装置のフォーカス方向およびトラック方向の感度特性におよぼす粘弾性体の温度依存性の影響を低減させることができる。従って、過酷な温度環境下においても、良好な光学的情報記録再生動作と安定したアクセス制御とを保証できる光ピックアップを提供することができる。
【図面の簡単な説明】
【図1】本発明による対物レンズ駆動装置の第1の実施形態を示す分解斜視図である。
【図2】本発明による対物レンズ駆動装置の第1の実施形態の部分断面図である。
【図3】本発明による対物レンズ駆動装置の第1の実施形態のフォーカス方向およびトラック方向感度特性の温度依存性を示すグラフである。
【図4】図3に示す特性のQ値及び共振周波数の温度依存性を示すグラフである。
【図5】本発明による対物レンズ駆動装置の第1の実施形態のトラックジャンプ整定性の温度依存性を示すグラフである。
【図6】本発明による対物レンズ駆動装置の第2の実施形態の部分断面図である。
【図7】対物レンズ駆動装置を示す分解斜視図である。
【図8】図7に示す対物レンズ駆動装置の部分断面図である。
【図9】図7および図8に示す対物レンズ駆動装置のフォーカス方向およびトラック方向感度特性の温度依存性を示すグラフである。
【図10】図9に示す特性のQ値及び共振周波数の温度依存性を示すグラフである。
【図11】図7および図8に示す対物レンズ駆動装置のトラックジャンプ整定性の温度依存性を示すグラフである。
【図12】粘弾性体保持部材の外乱応答特性、粘弾性体の特性及びレンズホルダーの特性を示すグラフである。
【符号の説明】
100 キャリッジ
101 光集積素子
102 ミラー
200 対物レンズ駆動装置
201 対物レンズ
202 レンズホルダー
203 トラッキングコイル
204 フォーカシングコイル
205 マグネット
206 基台
208 金属ワイヤー
209 プリント基板
210 粘弾性体
211 保護カバー
212 連結部材
213 粘弾性体保持部材
214 プリント基板保持部材
Claims (3)
- 対物レンズ駆動装置において、
対物レンズと、
該対物レンズを保持するレンズホルダーと、
該レンズホルダーに固着されたトラッキングコイル及びフォーカシングコイルと、
前記対物レンズホルダーを支持するための基台と、
該基台に固着された前記トラッキングコイル及び前記フォーカシングコイルと対向するように配置されたマグネットと、
前記基台に対し前記レンズホルダーをトラッキング方向とフォーカシング方向とに移動可能に支持するための複数のバネ材と、
前記バネ材の両端の間に接触している粘弾性体と、
該粘弾性体を保持すると共に前記基台と弾性変形可能な連結部材を介して接続されている粘弾性体保持部材とを有し、
前記粘弾性体保持部材の周波数特性は、前記粘弾性体の周波数特性の温度に対する変化による前記装置の周波数特性の変化を抑制するように設定されていることを特徴とする対物レンズ駆動装置。 - 前記バネ材は金属ワイヤーであることを特徴とする、請求項1に記載の対物レンズ駆動装置。
- 前記粘弾性体は膠質性高分子材料であることを特徴とする、請求項1〜2のいずれかに記載の対物レンズ駆動装置。
Priority Applications (1)
| Application Number | Priority Date | Filing Date | Title |
|---|---|---|---|
| JP22808096A JP3662358B2 (ja) | 1996-08-29 | 1996-08-29 | 対物レンズ駆動装置 |
Applications Claiming Priority (1)
| Application Number | Priority Date | Filing Date | Title |
|---|---|---|---|
| JP22808096A JP3662358B2 (ja) | 1996-08-29 | 1996-08-29 | 対物レンズ駆動装置 |
Publications (2)
| Publication Number | Publication Date |
|---|---|
| JPH1069668A JPH1069668A (ja) | 1998-03-10 |
| JP3662358B2 true JP3662358B2 (ja) | 2005-06-22 |
Family
ID=16870885
Family Applications (1)
| Application Number | Title | Priority Date | Filing Date |
|---|---|---|---|
| JP22808096A Expired - Fee Related JP3662358B2 (ja) | 1996-08-29 | 1996-08-29 | 対物レンズ駆動装置 |
Country Status (1)
| Country | Link |
|---|---|
| JP (1) | JP3662358B2 (ja) |
Families Citing this family (2)
| Publication number | Priority date | Publication date | Assignee | Title |
|---|---|---|---|---|
| US6643073B1 (en) | 1998-02-18 | 2003-11-04 | Matsushita Electric Industrial Co., Ltd. | Device for driving object lens |
| JP4136885B2 (ja) * | 2003-10-08 | 2008-08-20 | ティアック株式会社 | 光ピックアップ装置 |
-
1996
- 1996-08-29 JP JP22808096A patent/JP3662358B2/ja not_active Expired - Fee Related
Also Published As
| Publication number | Publication date |
|---|---|
| JPH1069668A (ja) | 1998-03-10 |
Similar Documents
| Publication | Publication Date | Title |
|---|---|---|
| CN101676759B (zh) | 物镜驱动装置和使用该装置的盘装置 | |
| JP3662358B2 (ja) | 対物レンズ駆動装置 | |
| JPH0668841B2 (ja) | ヘッド移送装置 | |
| KR100587440B1 (ko) | 대물 렌즈 구동 장치 및 광디스크 장치 | |
| JP2008310862A (ja) | 光ピックアップおよび光ディスク装置 | |
| JP3401774B2 (ja) | 二軸アクチュエータ | |
| JPH11110800A (ja) | 光学ピックアップ装置 | |
| KR200160158Y1 (ko) | 광 디스크 플레이어의 엑츄에이터 장치 | |
| JPH05266503A (ja) | 光学ヘッド | |
| KR100207268B1 (ko) | 광픽업 장치의 렌즈 홀더 위치 조정구조 | |
| KR0178596B1 (ko) | 대물렌즈 구동장치 및 구동방법 | |
| JPH10241174A (ja) | 光ヘッド装置 | |
| JP3814203B2 (ja) | 対物レンズ駆動装置 | |
| JPH0722738Y2 (ja) | 光ピックアップ装置 | |
| JP2002352456A (ja) | 光ヘッド装置 | |
| JPH11339294A (ja) | 対物レンズ駆動装置の調整方法 | |
| JP3815728B2 (ja) | 対物レンズ駆動装置およびそれを備える光ピックアップ装置 | |
| JPH10241175A (ja) | 光ヘッド装置 | |
| JPH02302936A (ja) | 光ピックアップ駆動装置 | |
| JP2002367202A (ja) | 光ピックアップの対物レンズ駆動ユニット | |
| JPH10162386A (ja) | 光ディスク装置 | |
| JPH10247327A (ja) | 光ヘッド装置 | |
| JPH05189783A (ja) | 対物レンズ駆動装置 | |
| JPS63144431A (ja) | 光学系駆動装置 | |
| JPS62239432A (ja) | 光学的情報信号再生装置の集光レンズの駆動装置 |
Legal Events
| Date | Code | Title | Description |
|---|---|---|---|
| A977 | Report on retrieval |
Free format text: JAPANESE INTERMEDIATE CODE: A971007 Effective date: 20041019 |
|
| A131 | Notification of reasons for refusal |
Free format text: JAPANESE INTERMEDIATE CODE: A131 Effective date: 20041025 |
|
| A521 | Written amendment |
Free format text: JAPANESE INTERMEDIATE CODE: A523 Effective date: 20041222 |
|
| TRDD | Decision of grant or rejection written | ||
| A01 | Written decision to grant a patent or to grant a registration (utility model) |
Free format text: JAPANESE INTERMEDIATE CODE: A01 Effective date: 20050322 |
|
| A61 | First payment of annual fees (during grant procedure) |
Free format text: JAPANESE INTERMEDIATE CODE: A61 Effective date: 20050323 |
|
| R150 | Certificate of patent or registration of utility model |
Free format text: JAPANESE INTERMEDIATE CODE: R150 |
|
| FPAY | Renewal fee payment (event date is renewal date of database) |
Free format text: PAYMENT UNTIL: 20090401 Year of fee payment: 4 |
|
| FPAY | Renewal fee payment (event date is renewal date of database) |
Free format text: PAYMENT UNTIL: 20090401 Year of fee payment: 4 |
|
| FPAY | Renewal fee payment (event date is renewal date of database) |
Free format text: PAYMENT UNTIL: 20100401 Year of fee payment: 5 |
|
| FPAY | Renewal fee payment (event date is renewal date of database) |
Free format text: PAYMENT UNTIL: 20100401 Year of fee payment: 5 |
|
| FPAY | Renewal fee payment (event date is renewal date of database) |
Free format text: PAYMENT UNTIL: 20110401 Year of fee payment: 6 |
|
| FPAY | Renewal fee payment (event date is renewal date of database) |
Free format text: PAYMENT UNTIL: 20120401 Year of fee payment: 7 |
|
| FPAY | Renewal fee payment (event date is renewal date of database) |
Free format text: PAYMENT UNTIL: 20130401 Year of fee payment: 8 |
|
| LAPS | Cancellation because of no payment of annual fees |