JP3657397B2 - 酸化物超電導線材およびその製造方法 - Google Patents
酸化物超電導線材およびその製造方法 Download PDFInfo
- Publication number
- JP3657397B2 JP3657397B2 JP19126697A JP19126697A JP3657397B2 JP 3657397 B2 JP3657397 B2 JP 3657397B2 JP 19126697 A JP19126697 A JP 19126697A JP 19126697 A JP19126697 A JP 19126697A JP 3657397 B2 JP3657397 B2 JP 3657397B2
- Authority
- JP
- Japan
- Prior art keywords
- wire
- tape
- shaped
- rod
- tube
- Prior art date
- Legal status (The legal status is an assumption and is not a legal conclusion. Google has not performed a legal analysis and makes no representation as to the accuracy of the status listed.)
- Expired - Lifetime
Links
Images
Classifications
-
- H—ELECTRICITY
- H01—ELECTRIC ELEMENTS
- H01B—CABLES; CONDUCTORS; INSULATORS; SELECTION OF MATERIALS FOR THEIR CONDUCTIVE, INSULATING OR DIELECTRIC PROPERTIES
- H01B12/00—Superconductive or hyperconductive conductors, cables, or transmission lines
- H01B12/02—Superconductive or hyperconductive conductors, cables, or transmission lines characterised by their form
- H01B12/10—Multi-filaments embedded in normal conductors
-
- Y—GENERAL TAGGING OF NEW TECHNOLOGICAL DEVELOPMENTS; GENERAL TAGGING OF CROSS-SECTIONAL TECHNOLOGIES SPANNING OVER SEVERAL SECTIONS OF THE IPC; TECHNICAL SUBJECTS COVERED BY FORMER USPC CROSS-REFERENCE ART COLLECTIONS [XRACs] AND DIGESTS
- Y02—TECHNOLOGIES OR APPLICATIONS FOR MITIGATION OR ADAPTATION AGAINST CLIMATE CHANGE
- Y02E—REDUCTION OF GREENHOUSE GAS [GHG] EMISSIONS, RELATED TO ENERGY GENERATION, TRANSMISSION OR DISTRIBUTION
- Y02E40/00—Technologies for an efficient electrical power generation, transmission or distribution
- Y02E40/60—Superconducting electric elements or equipment; Power systems integrating superconducting elements or equipment
Landscapes
- Superconductors And Manufacturing Methods Therefor (AREA)
Description
【発明の属する技術分野】
本発明は、酸化物超電導体を用いた線材、撚線および導体、ならびにその線材および撚線の製造方法に関し、特に、高い臨界電流密度を有する断面が略円形または略回転対称である多角形の線材、およびそれを用いた交流損失の少ない撚線および導体の構造、ならびにそれらの線材および撚線を製造するための方法に関する。
【0002】
【従来の技術】
銀シースビスマス系酸化物超電導線材について、104 A/cm2 を越える臨界電流密度を有する長尺線が開発されてきた。そのような線材は、液体窒素によって冷却する超電導電力機器への応用が期待されている。しかし、現段階では、テープ形状の線材のみが、実用に値する臨界電流密度、長さ、量産技術等の条件を満足するようになってきている。高い臨界電流密度を得るためには、圧延工程によって超電導フィラメントのアスペクト比を大きくし、板状の結晶を成長させることが有利に働いている。
【0003】
従来、圧延工程を経ないで製造された断面が円形の銀シース酸化物超電導線材は、テープ状線材に比べて臨界電流密度が顕著に小さかった。従来の丸線材では、超電導相の密度がそれほど高くなく、結晶の配向がそれほど進んでいない。特開平4−262308号公報は、金属層と酸化物超電導体層とを同心円状に交互に積層した丸線を開示する。同公報に開示される技術では、多重環構造で交互に積層された酸化物超電導体と金属との界面同士の距離を100μm以下にすることで、酸化物超電導体にc軸配向性を付与し、臨界電流密度を向上させようとしている。しかし、多重環構造を有する線材の臨界電流密度は、テープ状線材で得られるそれよりも一桁小さく、実用上満足のいくものではない。丸線において臨界電流密度を向上させようとした別の例が、Cryogenics(1992)Vol.32,No.11,940−948に開示される。同文献が示す丸線において、断面が矩形の単芯ロッド55本が、銀チューブ内において同心円状に3層で配置される。得られた線材について臨界電流密度の測定は行なわれていない。しかし、後述するように、同文献に示された線材はそれほど高い臨界電流密度を有しないと推定できる。
【0004】
超電導線材の交流用途では、変動磁界によって生じる交流損失が問題になる。さらに、超電導線材を集合したケーブル導体においては、線材間のインピーダンスの不均一によって偏流等の問題が生じる。線材を多数集合した導体において、このような偏流は、素線自体に発生する交流損失の総和よりも導体に発生する交流損失の方が大きくなる原因となる。これまで、テープ状の酸化物超電導線材を円筒形状のパイプ上に多層で螺旋状に巻き付けた大容量の導体が試作されてきているが、その構造に起因して発生する交流損失は大きく、実用に必要なレベルまで交流損失を減らすことが望まれている。従来より金属系超電導体の分野では、交流損失を低減するためたとえば次のような対策がなされている。極細フィラメント線を開発する。フィラメントの周囲に高抵抗バリア層を設ける。マトリックスの比抵抗を高くする。フィラメントまたは線材に撚りを施す。線材またはフィラメントの転位により各フィラメントまたは各線材のインピーダンスを均一にする。酸化物超電導体の分野においても、これらの対策は有効であると考えられる。しかしながら、現実には、酸化物超電導体の材質、線材に必要な材料および構造等に起因して、これらの対策を十分にとることができない。特に、テープ状線材を用いて撚線を製造することは実質的に不可能である。撚線を作製するためには、断面が円形またはそれに近い形状の線材が必要である。したがって、テープ状線材と同程度のレベルの臨界電流密度を有する丸線の開発が望まれている。
【0005】
【発明が解決しようとする課題】
本発明の目的は、断面が円形またはそれに近い形状を有し、かつテープ状線材に匹敵する高い臨界電流密度を有する酸化物超電導線材を提供することである。
【0006】
本発明のさらなる目的は、そのような線材を用いて、交流損失が小さく、高い電流密度を有する撚線、およびケーブル等のための導体を提供することである。
【0007】
【課題を解決するための手段】
本発明により、パウダー・イン・チューブ法を用いて製造される酸化物超電導線材が提供される。
【0008】
本発明による線材は、酸化物超電導体からなりリボン形状で線材の長手方向に延びる複数のフィラメントと、複数のフィラメントを覆う安定化マトリックスとを備える。そこにおいて、フィラメントのアスペクト比は4〜40の範囲であり、フィラメントの厚みは2μm〜50μmの範囲である。線材の長手方向に略垂直な断面の形状は、略円形または略回転対称である六角形以上の多角形である。安定化マトリックスの中心部は、その周囲よりも硬い材料からなる。
【0009】
線材において、安定化マトリックスの中心部は略円筒形状とすることができ、その周囲にフィラメントを略回転対称に配置することができる。また、安定化マトリックスの中心部は銀合金とすることができ、その周囲の安定化マトリックスは銀とすることができる。
【0010】
本発明によるもう1つの線材は、フィラメントについて特定の配置を有する。線材の中心部に、略円筒形の安定化マトリックスが配置され、かつその周りに略回転対称に複数のフィラメントが配置される。複数のフィラメントは、安定化マトリックスを介して第1の方向に層状に重ねられるものと、安定化マトリックスを介して第1の方向と略垂直な第2の方向に層状に重ねられるものとからなる。この線材も、酸化物超電導体からなりリボン形状で線材の長手方向に延びる複数のフィラメントと、複数のフィラメントを覆う安定化マトリックスとを備える。フィラメントのアスペクト比は4〜40の範囲内であり、フィラメントの厚みは2μm〜50μmの範囲内であり、線材の長手方向に略垂直な断面の形状は略円形である。
【0011】
線材の中心部に配置された安定化マトリックスは、その周囲の安定化マトリックスよりも硬い材料からなることが好ましい。線材の中心部に配置される安定化マトリックスは銀合金とすることができ、その周囲の安定化マトリックスは銀とすることができる。
【0012】
本発明に従って、さらに特定のフィラメントの配置を有する線材が提供される。線材において、複数のフィラメントは、線材の中心部において安定化マトリックスを介して第1の方向に層状に重ねられるものと、その両側において第1の方向と略垂直な第2の方向に安定化マトリックスを介して層状に重ねられるものとからなる。複数のフィラメントは、線材の中心に対して略回転対称に配置される。この線材も、酸化物超電導体からなりリボン形状で線材の長手方向に延びる複数のフィラメントと、複数のフィラメントを覆う安定化マトリックスとを備え、そこにおいてフィラメントのアスペクト比は4〜40の範囲内であり、フィラメントの厚みは2μm〜50μmの範囲内であり、かつ線材の長手方向に略垂直な断面の形状は略円形である。
【0013】
本発明による線材において、酸化物超電導体は、(Bi,Pb)2 Sr2 Ca2 Cu3 O10-x、Bi2 Sr2 Ca2 Cu3 O10-x(0≦X≦1)等のビスマス系2223相超電導体、(Bi,Pb)2 Sr2 Ca1 Cu2 O8-Z 、Bi2 Sr2 Ca1 Cu2 O8-Z (0≦Z≦1)等のビスマス系2212相酸化物超電導体を含むビスマス系酸化物超電導体であることが好ましい。
【0014】
本発明によって、上述した少なくともいずれかの酸化物超電導線材を複数本撚り合わせてなる撚線が提供される。本発明者らは、パウダー・イン・チューブ法を用いて製造された酸化物超電導線材が次の条件(a)〜(c)を満たせば、線材を撚り合わせるだけで、交流損失が顕著に低い撚線を提供できることを見い出した。本発明による撚線は、平角成形等の成形工程を経なくとも転位の効果により結合損失が顕著に低い。しかし、本発明は、成形されていない撚線に限定されるものではなく、交流損失の低減および電流密度の向上のために成形された撚線、たとえば平角成形撚線等を含む。
【0015】
(a) フィラメントのアスペクト比が4〜40の範囲である。
(b) フィラメントの厚みが2μm〜50μmの範囲である。
【0016】
(c) 線材の長手方向に略垂直な断面の形状が略円形または略回転対称である六角形以上の多角形である。
【0017】
本発明による撚線において、酸化物超電導線材は、安定化マトリックスよりも比抵抗の高い金属からなる層または無機絶縁材料からなる層によって覆われていることが好ましい。これらの層により、素線間の電磁気的結合を低減またはなくすことができ、より交流損失の低い撚線を提供することができる。また撚線において、素線自体がツイストされていることは交流損失の低減のためにより好ましい。
【0018】
本発明によって、上述した撚線を複数本、1層または2層以上で長尺の芯材上に集合してなる導体を提供することができる。
【0019】
本発明により、酸化物超電導体からなる複数のフィラメントが安定化材で覆われた酸化物超電導線材の製造方法が提供される。製造方法は、酸化物超電導体の原料粉末を安定化材からなるチューブに充填する工程と、粉末が充填されたチューブに塑性加工を施してテープ状線材を得る工程と、テープ状線材を複数本、第1の安定化材からなる棒状体と共に第2の安定化材からなるチューブに充填する工程と、テープ状線材および棒状体が充填されたチューブに塑性加工を施して、断面が略円形または略回転対称である六角形以上の多角形である線材を得る工程と、得られた線材に熱処理を施して酸化物超電導体の焼結体を生成させる工程とを備える。テープ状線材において、粉末からなる部分は4〜40のアスペクト比を有するリボン形状である。第1の安定化材は第2の安定化材よりも硬い。第1の安定化材からなる棒状体は、第2の安定化材からなるチューブの略中心に配置され、かつテープ状線材は棒状体の周りに配置される。熱処理の後、酸化物超電導体からなるフィラメントの厚みが2μm〜50μmの範囲内である線材を得る。
【0020】
この製造方法において、第1の安定化材からなる棒状体は略円筒形とすることができ、その周囲にテープ状線材を略回転対称に配置することができる。第1の安定化材は銀合金とすることができ、第2の安定化材は銀とすることができる。
【0021】
本発明により、もう1つの製造方法が提供される。この製造方法は、酸化物超電導体の原料粉末を安定化材からなるチューブに充填する工程と、粉末が充填されたチューブに塑性加工を施してテープ状線材を得る工程と、テープ状線材を複数本、安定化材からなる円筒形状の棒状体と共に安定化材からなるチューブに充填する工程と、テープ状線材および棒状体が充填されたチューブに塑性加工を施して断面が略円筒形の線材を得る工程と、得られた線材に熱処理を施して酸化物超電導体の焼結体を生成させる工程とを備える。テープ状線材において粉末からなる部分は4〜40のアスペクト比を有するリボン形状である。棒状体は、チューブの略中心に配置され、かつテープ状線材は棒状体の周りに略回転対称に配置される。略回転対称に配置された複数のテープ状線材は、第1の方向に層状に重ねられたものと、第1の方向と略垂直な第2の方向に層状に重ねられたものとからなる。熱処理工程の後、酸化物超電導体からなるフィラメントの厚みが2μm〜50μmの線材を得る。
【0022】
この方法において、棒状体はそれを充填するためのチューブより硬い材料からなることが好ましい。棒状体は銀合金からなることができ、それを充填するためのチューブは銀からなることができる。
【0023】
本発明による他の製造方法は、酸化物超電導体の原料粉末を安定化材からなるチューブに充填する工程と、粉末が充填されたチューブに塑性加工を施してテープ状線材を得る工程と、テープ状線材を複数本、安定化材からなるチューブに充填する工程と、テープ状線材が充填されたチューブに塑性加工を施して断面が略円形の線材を得る工程と、得られた線材に熱処理を施して酸化物超電導体の焼結体を生成させる工程とを備える。テープ状線材において、粉末からなる部分は4〜40のアスペクト比を有するリボン形状である。チューブに充填された複数のテープ状線材は、チューブ内の中心部において第1の方向に層状に重ねられたものと、その両側において第1の方向と略垂直な第2の方向に層状に重ねられたものとからなる。複数のテープ状線材は、チューブの中心に対して略回転対称に配置される。熱処理工程の後、酸化物超電導体からなるフィラメントの厚みが2μm〜50μmの線材を得る。
【0024】
上述した製造方法において、テープ状線材をチューブに充填する工程は、安定化材、たとえば安定化材からなる棒状体、線材等をさらにチューブに充填して80%以上の充填密度を得る工程を備えることが好ましい。充填密度を上げることにより、得られる線材の臨界電流密度を向上させることができる。また、熱処理工程の後、線材の断面が5%〜50%の割合で減る伸線加工を行なってもよい。伸線加工の後、酸化物超電導体を焼結するための熱処理をさらに行なうことが好ましい。
【0025】
製造方法において、ビスマス系2223相酸化物超電導体、ビスマス系2212相酸化物超電導体等のビスマス系酸化物超電導体の原料粉末を好ましく充填することができる。
【0026】
本発明による撚線の製造方法は、上述した製造方法のいずれかで得られた線材を複数本撚り合わせる工程と、得られた撚線を、酸化物超電導体の焼結体を生成できる温度において熱処理する工程とを備える。
【0027】
本発明によるもう1つの撚線の製造方法は、上述した製造方法のいずれかで得られた線材の表面を、安定化材よりも比抵抗の高い金属からなる層または無機絶縁材料からなる層で被覆する工程と、被覆された線材を複数本撚り合わせる工程と、得られた撚線を、酸化物超電導体の焼結体を生成できる温度において熱処理する工程とを備える。
【0028】
本発明による他の撚線の製造方法は、上述した製造方法のいずれかで得られた線材の表面に金属めっき層を形成する工程と、金属めっきされた線材を複数本撚り合わせる工程と、得られた撚線を、大気などの酸化性雰囲気下で、酸化物超電導体の焼結体を生成できる温度において熱処理する工程とを備える。熱処理において、金属めっき層が酸化されることにより、撚り合わされた線材間が金属酸化物によって電気的に絶縁される。
【0029】
上述した撚線の製造方法において、撚り合わせ工程の前に、線材をツイストしてもよい。ツイストされた線材を撚り合わせることにより、より好ましい転位の効果を得ることができる。
【0030】
【発明の実施の形態】
本発明による線材は、安定化マトリックス中に複数の酸化物超電導体フィラメントが埋込まれた構造を有する多芯線である。各フィラメントは、リボン形状であり、線材の長手方向に延びている。フィラメントは、矩形またはそれに近い断面を有する。フィラメントのアスペクト比は、フィラメントの厚みに対する幅の比である。アスペクト比は、4〜40の範囲であり、好ましくは4〜20の範囲、より好ましくは5〜20の範囲である。アスペクト比が4より小さい場合、結晶粒のc軸を十分に配向させ、高い電流密度を示す超電導相を得ることが困難である。上述した文献 Cryogenics (1992)Vol.32, No.11, 940-948に記載される線材において、断面が矩形の超電導フィラメントのアスペクト比は、せいぜい3程度である。このような低いアスペクト比を有するフィラメントは、結晶粒のc軸が十分に配向されておらず、高い臨界電流密度を示さないと推定される。フィラメントのアスペクト比が40より大きい場合、フィラメントの作製は容易でなく、超電導相の長手方向における結合が切れやすくなる。
【0031】
本発明による線材において、フィラメントの厚みは2〜50μmの範囲、好ましくは2〜40μmの範囲、より好ましくは5〜40μmの範囲である。フィラメントが2μmより薄い場合、超電導層の長手方向における結合が切れやすくなる。フィラメントが50μmより厚い場合、フィラメントが安定化マトリックスと接触する界面の割合が小さく、c軸が特定方向に配向した超電導相を十分に得ることが困難になる。4〜40のアスペクト比および2〜50μmの厚みを有するフィラメントにおいて、超電導相を構成する結晶粒のc軸は、線材の長手方向とほぼ垂直に配向することができる。また、この範囲で、十分な密度を有し、高い臨界電流密度を有するフィラメントを得ることができる。
【0032】
本発明による線材の断面は、円または略回転対称であるn角形(nは6以上の整数)である。そのような断面は、磁場が印加される方向によって、臨界電流密度等の超電導特性があまり変化しない形状である。線材において、複数のフィラメントは、安定化マトリックス中でランダムに配置されるか、または線材の中心に対して略回転対称に配置されていることが好ましい。線材の断面は、円または六角形以上の正多角形とすることがより好ましい。上述した構造のフィラメントを有する本発明の線材は、液体窒素温度において、外部磁場が0Tの状態で2,000A/cm2 以上、好ましくは8,000A/cm2 以上、より好ましくは10,000A/cm2 以上の臨界電流密度を有することができる。
【0033】
本発明による線材の一具体例を図1に示す。図1(a)に示す酸化物超電導線材10において、多数のフィラメント12は、それぞれ安定化マトリックス14に覆われる。フィラメント12は、点線で示すようにリボン形状を有している。安定化マトリックスには、銀または銀合金が用いられる。銀合金として、たとえば、Ag−Au合金、Ag−Mn合金、Ag−Al合金、Ag−Sb合金、Ag−Ti合金等を用いることができる。特に、銀合金として、Mnを1.5重量%以下、好ましくは0.1〜1重量%、より好ましくは0.4〜0.6重量%の割合で含有するAg−Mn合金を用いることができる。図1(b)に示すように、円形の断面を有する線材10において、フィラメント12よりも内側にある中心部14aは、そのまわりのフィラメントを覆っている安定化マトリックス14bよりも硬い材料からなる。硬さは、変形または破壊に対する抵抗力の大きさの程度をいう。周囲の安定化マトリックス14bが銀からなる場合、中心部の安定化マトリックス14aは、銀より硬い銀合金からなることができる。また、中心およびそのまわりとも銀合金が用いられる場合、中心部により硬い材料が用いられる。図1に示すように、中心部の安定化マトリックス14aは略円筒形であることが好ましいが、他の形状でもよい。たとえば、中心に、正六角形等の正多角形の断面を有する安定化マトリックスを設けてもよい。中心部により硬い安定化マトリックスを配置された線材は、より高い臨界電流密度を有することができる。これは、パウダー・イン・チューブ法によって線材を製造する際に、中心部により硬い材料を配置すれば、伸線加工等の塑性加工においてそのまわりに配置される酸化物超電導体の原料粉末がより効果的に圧密化され、後の焼結工程において結晶粒におけるc軸の配向が促進されるからである。後の実施例でも示すように、中心部により硬い安定化マトリックスを配置された線材は、全体的に同じ硬さの安定化マトリックスを有する線材よりも顕著に高い臨界電流密度を有することができる。
【0034】
図2は、断面が略回転対称の多角形である線材の具体例を示している。酸化物超電導線20の断面は、略回転対称の八角形である。酸化物超電導体からなる多数のフィラメント22は、それぞれ安定化マトリックス24によって覆われる。図2(b)に特に示すように、安定化マトリックスの中心部24aは、その周囲の部分24bよりも硬い材料からなる。より硬い部分24aのまわりにフィラメント22が配置される。フィラメント22は、線材20の長手方向に延びるリボン形状である。図1および図2に示す線材において、多数のフィラメントは線材の中心に対して略回転対称に配置されることが望ましい。
【0035】
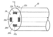
図3および図4は、複数のフィラメントがそれぞれ特定の態様で配置された線材の具体例を示している。図3に示す酸化物超電導線材30において、安定化マトリックス34に覆われるフィラメント32aは、図に示すXの方向に安定化マトリックス34を介して積層される。またフィラメント32bは、Xで示す方向とほぼ垂直な方向であるYの方向に安定化マトリックス34を介して積層される。フィラメント32aおよび32bは、安定化マトリックスの中心部34aのまわりに略回転対称に配置される。XおよびYでそれぞれ示される方向は、線材の長手方向に垂直である。線材30は、ほぼ円である断面を有する。フィラメント32aは、安定化マトリックスの中心部34aに対して対称的に配置され、フィラメント32bも同様に中心部34aに対して対称的に配置される。安定化マトリックスの中心部34aはその周囲34bと同じ材質であってもよいし、異なる材質であってもよい。上述したように、中心部34aをその周囲34bよりも硬くすることは、臨界電流密度の向上に寄与し得る。図4に示す酸化物超電導線材40において、多数のフィラメント42aは、図に示すY′の方向に安定化マトリックス44を介して積層されている。一方多数のフィラメント42bは、安定化マトリックスを介してX′の方向に積層される。Y′の方向とX′の方向は互いに垂直である。X′およびY′の方向は、線材40の長手方向に対して垂直である。フィラメント42aおよび42bは、線材40の中心に対して略回転対称に配置される。線材40の断面も、円形である。図3および図4に示すように多数のフィラメントが積層された構造を有する線材は、積層された方向に結晶粒のc軸が配向した、十分な密度を有する超電導相をもたらすことができる。焼結された超電導体においてこのように好ましい結晶組織を有する線材は、高い臨界電流密度を示すことができる。
【0036】
本発明による線材は、いわゆるパウダー・イン・チューブ法を用いて製造される。この方法は、酸化物超電導体の原料粉末を安定化材からなるチューブに詰め、それに塑性加工および焼結のための熱処理を施して線材を得る方法である。原料粉末の調製では、超電導体を構成する元素の酸化物または炭酸塩の粉末が所定の比で混合され、得られた混合物に焼結および粉砕の工程が施される。粉末を充填するチューブは、たとえば銀または銀合金からなる。塑性加工には、伸線加工、プレス加工、圧延加工等を用いることができる。
【0037】
原料粉末が充填されたチューブに塑性加工を施してテープ状線材が得られる。テープ状線材を得るため伸線加工および圧延加工を用いることができる。得られたテープ状線材において、原料粉末からなる部分は、4〜40、好ましくは4〜20のアスペクト比を有するリボン形状である。テープ状線材は単芯、多芯のいずれでもよい。原料粉末部分のアスペクト比を所定の範囲に収めることが、優れた超電導特性を有する線材を得る上で重要である。得られたテープ状線材は、通常、切断され、複数本の線材を得ることができる。得られた複数本のテープ状線材は、次いで安定化材からなるチューブに充填される。
【0038】
テープ状線材の充填工程において、チューブのほぼ中心により硬い安定化材からなる棒状体を配置し、そのまわりにテープ状線材を配置することができる。より硬い安定化材として、Ag−Au合金、Ag−Mn合金、Ag−Al合金、Ag−Sb合金、Ag−Ti合金等を用いることができる。特に、Mnを1.5重量%以下、たとえば0.1〜1重量%、特に0.4〜0.6重量%含有するAg−Mn合金は、より好ましい材料である。一方、チューブは、銀からなることが好ましい。テープ状線材は、チューブ内において中心に設けられた硬い材料のまわりに回転対称に配置されることが好ましい。
【0039】
もう1つの態様において、チューブ内の中心部に安定化材からなる円筒形状の棒状体を配置し、そのまわりに複数のテープ状線材を積層したユニットを複数個回転対称に配置することができる。テープ状線材を重ねてチューブに充填することによって、充填密度を上げることができる。回転対称に配置された複数のテープ状線材は、第1の方向に層状に重ねられたものと、第1の方向に垂直な方向に層状に重ねられたものとからなることができる。また別の態様において、チューブ内の中心部にできるだけ多くのテープ状線材を重ねて充填し、その両側のあいたスペースにさらに複数のテープ状線材を重ねたユニットを配置することができる。この場合も、複数のテープ状線材は、チューブの中心に対して回転対称に配置することができる。チューブ内の中心部においてテープが重ねられる方向と、その両側のスペースにおいてテープがそれぞれ重ねられる方向とは、互いに垂直とすることができる。この場合も、テープを重ねてチューブ内に充填することで、より高い充填密度を得ることができる。
【0040】
上述したそれぞれの充填工程において、さらに充填密度を上げるため、テープ状線材および中心に設けられる安定化材の他に、チューブ内のスペースを埋めるために棒状、線状などの安定化材を用いることができる。追加の安定化材は、スペースを埋めるのに適した形状または断面のサイズを有する。スペースが小さい場合、より小さな安定化材を用いる。このように追加の安定化材を用いることによって、容易に80%以上の充填密度を得ることができる。充填密度が80%以上のチューブを伸線加工等の塑性加工に供すれば、フィラメント部分の圧密化が効果的に行なわれ、高い臨界電流密度を有する線材を得ることができる。追加の安定化材は、たとえば銀または銀合金からなる。
【0041】
断面が円形または略回転対称の多角形である線材を得るため、テープ状線材が充填されたチューブに伸線加工等の塑性加工が施される。伸線加工には、ダイスを介して引抜きを行なう通常の方法、駆動式ロールダイスを用いる方法等がある。駆動式ロールダイスは、線材を縮径加工のため通す溝が形成された2個のローラを向き合わせたダイスである。伸線加工は、2つのローラの間に線材を通して行なう。ロールダイスを用いる伸線では、普通の孔ダイスを用いる伸線と比べて、ダイス摩耗が少ない、1回の減面率が大きくとれる、伸線限界が伸びる、などの利点がある。
【0042】
テープ状線材が充填されたチューブに塑性加工を施した後、酸化物超電導体の焼結体を生成させるため、熱処理が行なわれる。通常、熱処理は、800〜900℃の温度で、10〜300時間、より好ましくは830〜850℃の温度で、30〜100時間行なうことができる。熱処理の後、たとえば薄いフレーク状の結晶粒同士が強く結合した酸化物超電導体の焼結組織を得ることができる。本発明によれば、リボン形状の酸化物超電導体フィラメントにおいて、結晶粒のc軸は、リボンの厚み方向に配向させることができる。
【0043】
熱処理の後、得られた線材に5〜50%の減面率で伸線加工を施してもよい。伸線加工の後、さらに焼結体を得るための熱処理を施すことができる。伸線加工と熱処理を繰返して行なうことにより、線材において超電導相を再配列させ、c軸の配向性を高め、かつ超電導相の密度を向上させることができる。なお、伸線加工において減面率が5%未満であると、十分な効果が得られず、50%以上であると超電導相の長手方向の結合が切れやすくなる。伸線加工は、ダイスを介して引抜きを行なう通常の方法、または駆動式ロールダイスを用いた方法によって行なうことができる。
【0044】
本発明による線材を素線として、撚線を構成することができる。本発明者らは、線材を単に撚り合わせることのみによっても、十分に交流損失の低い撚線が提供できることを見出した。撚り合わせによって、素線同士がほぼ完全に転位された構造を得ることができ、その結果撚線における各素線のインピーダンスを等しくすることができる。成形工程を行なわずに、単に素線を撚り合わせた撚線においても、十分な転位が可能であり、交流損失が顕著に低い撚線を提供できる。さらに、転位の状態を向上させ、電流密度を上げるため平角成形などの成形を撚線に施してもよい。本発明により、一次または二次以上の撚線を提供できる。
【0045】
撚線工程は、線材の製造プロセスにおいて行なわれる焼結のための熱処理工程の後行なってもよい。この場合、焼結によって十分高い臨界電流密度を有する素線が撚り合わされる。一方、熱処理工程の前の未焼結の線材を撚り合わせてもよい。すなわち、塑性加工の後に得られる未焼結の線材を複数本撚り合わせてもよい。いずれの場合においても、撚線工程の後、酸化物超電導体の焼結体を生成できる温度、たとえば800℃以上の温度、好ましくは830〜850℃の温度において熱処理を行なうことが望ましい。二次以上の高次撚線を得る場合も、少なくとも最後の撚線工程の後、焼結体を生成できる熱処理を行なうことが望ましい。また、撚線について成形を行なう場合、成形工程の後、超電導体の焼結体を生成できる熱処理を行なうことが望ましい。熱処理において、撚線または成形時の曲げなどの変形による粒界の劣化を回復し、また、反応が不十分な場合は反応を完全に進め、酸化物超電導体の結晶粒が強固に結合した焼結組織を得ることができる。撚線を構成する素線の本数として、6本、6本×6本撚り等が好ましいが、これらに何ら限定されるものではない。素線におけるフィラメントのアスペクト比および厚みは上述した範囲が望ましい。
【0046】
図5および図6に、撚線の具体例を示す。図5において、一次撚線50は、芯となる線材52のまわりに素線54を6本撚り合わせた構造を有する。撚り合わせのピッチは、曲げ歪みによる超電導体への影響がそれほど顕著にならない適当な範囲、たとえば40mm〜80mmとすることができる。図6に示す二次撚線60は、図5に示す一次撚線50が3本撚り合わされた構造を有する。二次撚線またはそれ以上の撚線のためのピッチも、超電導体への曲げ歪みによる影響がそれほど深刻にならない範囲、たとえば50mm〜100mmとすることができる。撚り方向は、たとえば一次、二次ともに右撚りとすることができる。
【0047】
ツイストされた素線を複数本撚り合わせてもよい。図7に、ツイストされた素線の一具体例を示す。ツイストピッチは、超電導体組織が深刻に破壊されない範囲、たとえば線径の5〜20倍とすることができる。ツイストは、線材を調製するプロセスにおいて、焼結のための熱処理の前に行なってもよいし、熱処理の後に行なってもよい。いずれの場合においても、ツイストされた複数の線材を撚り合わせた後、酸化物超電導体の焼結体を生成できる温度において熱処理を行なうことが望ましい。
【0048】
撚り合わされた素線間の電磁気的結合を低減またはなくすため、素線を高抵抗金属または無機絶縁材料によって覆うことができる。高抵抗金属は、安定化材として用いられる銀よりも高い比抵抗を示す金属をさす。より具体的には、液体窒素温度(約77K)において0.7×10-8Ω・m以上、室温において3×10-8Ω・m以上の抵抗率を示す金属が高抵抗金属として好ましく用いられる。高抵抗金属として、ニッケル、クロム、Ag−Mn合金、Ag−Au合金等を挙げることができる。無機絶縁材料として、酸化アルミニウム、酸化マグネシウム、酸化銅等の金属酸化物、SiO2 等を用いることができる。高抵抗金属および無機絶縁材料とも、酸化物超電導体を生成できる温度において実質的に変化を受けないものが好ましい。高抵抗金属層は、線材の製造工程において安定化材チューブに高抵抗金属パイプをかぶせる方法、安定化材チューブに高抵抗金属シートを巻きつける方法、線材に高抵抗金属をめっきする方法などによって形成することができる。高抵抗金属のパイプまたはシートは、たとえば、Ag−Au合金、Ag−Mn合金などが好ましく用いられる。めっき金属として、Ni、Cr等が好ましく用いられる。めっきには、電気めっき等を用いることができる。無機絶縁材料層は、絶縁性のセラミックス粉末を線材の表面に付着させて焼付ける方法、線材の表面に金属層を形成した後それを酸化する方法などによって形成できる。たとえば、AlO3 等の絶縁性の金属酸化物の粉末を分散させた液を塗布し焼付けることができる。また、めっき、蒸着等により線材の表面をMg、Cu等の金属で被覆した後、その金属層を酸化させてMgO層、CuO層等の絶縁性酸化物層を形成してもよい。金属層を酸化する方法では、撚線工程や成形工程の後に酸化を行なうことによって、硬い絶縁層が形成されるまでの間良好な加工性を維持することができる。高抵抗金属層によって素線間で生じる結合損失を低減することができ、無機絶縁層によって素線間の結合をなくすことができる。これらの層は、撚り合わせによる転位の効果を十分に引き出すことができる。
【0049】
複数の撚線を、芯材上に1層または2層以上集合して、ケーブル等のための導体が得られる。芯材は、通常、可撓性を有するものが好ましい。芯材は、通常フォーマと呼ばれる。フォーマは、導体のために必要な長さを有し、導体の中心に設けられる。フォーマは、略円筒形または螺旋形状とすることができ、その全長にわたってほぼ一定の直径を有する。フォーマは、たとえば、ステンレス鋼、銅、アルミニウムおよびFRP(繊維強化プラスチック)からなる群から選択される少なくとも1つの材料から構成できる。フォーマ上に複数の撚線を集合する場合、フォーマの長手方向に沿ってほぼ真っ直ぐに延ばされた撚線をフォーマのまわりにほぼ平行に並べてもよいし、複数の撚線をフォーマ上に並べて螺旋状に巻きつけてもよい。撚線は、1層または2層以上でフォーマ上に集合することができる。1層導体では、転位の効果により、すべての素線の位置を電磁気的にほぼ等価にすることができる。1層導体内の電流分布はほぼ均一であり、偏流が抑制され、交流損失は低減される。撚線を芯材上に螺旋状に巻くとき、1対の層において、一方の層と他方の層において螺旋方向を逆にすることが、導体の長手方向における磁場成分を相殺するために有効である。すなわち、2層導体では、1層目と2層目とで螺旋方向を逆にすれば、導体長手方向の磁場成分をキャンセルできる。2層以上の導体の場合、層間のインピーダンスの違いによる偏流、およびそれに伴う交流損失の増大を防ぐか、または最小限に抑えることが望ましい。図8は、1層導体および2層導体の具体例を示している。図8(a)に示す1層導体80において、円筒状の芯材82上に多数の撚線84が螺旋状に巻き付けられている。図8(b)に示す2層導体80′では、円筒状の芯材82上に、多数の撚線84が2層で螺旋状に巻き付けられている。
【0050】
【実施例】
[テープ状線の調製]
Bi2 O3 、PbO、SrCO3 、CaCO3 、CuOの粉末をBi:Pb:Sr:Ca:Cu=1.81:0.30:1.92:2.01:3.03の比になるように混合し、熱処理および粉砕を繰返して行ない、ビスマス系酸化物超電導体の前駆体である原料粉末を得た。得られた粉末を、外径12mmφ、内径9mmφの銀パイプに充填した。粉末が充填された銀パイプを1.63mmφまで伸線した。次いで、得られた線材を圧延して、幅4mm、厚さ0.3mmのテープ状線材を得た。
【0051】
例1
得られたテープ状線材を、図9に示すような配置で安定化材からなるパイプに充填した。図9を参照して、安定化材からなる円筒形状のパイプ90内には、その中心部に安定化材からなる円筒形状の棒状体92が配置される。棒状体92のまわりには、テープ状線材94が、重ねて配置される。テープ状線材94は、棒状体92またはパイプ90の直径方向に重ねて配置される。棒状体92を挟んで対向するテープ状線材94aと94c、94bと94dは互いにほぼ平行であり、隣り合うテープ状線材94aと94b、94bと94c、94cと94d、94dと94aは互いにほぼ垂直である。テープ状線材94は、棒状体92のまわりにおいてほぼ回転対称に配置され、その回転角度は約90°である。パイプ90内において、棒状体92およびテープ状線材94によって埋めることのできない隙間には、さらに安定化材からなりかつ径の小さな棒状体96が充填される。充填用のパイプとして外径12mmφ、内径9mmφの銀パイプを用いた。銀パイプの中に、直径4mmφの銀製の芯棒を入れ、そのまわりにテープ状線材を配置した。テープ状線材は、4箇所でそれぞれ7本重ねられた。合計28本のテープ状線材が充填された。4つの隙間には、直径1.45mmφの銀線がそれぞれ充填された。銀棒、テープ状線材および銀線が充填された銀パイプを直径1.02mmφまで伸線した。伸線加工により断面が円である線材を得た。得られた線材を845℃で50時間焼結し、次いで冷却工程を挟んで840℃で90時間焼結した。得られた丸線から長さ10cmの試料を切取り、直流4端子法によって液体窒素温度(約77K)における外部磁場0T下での臨界電流密度を測定した。測定された臨界電流密度は11,000A/cm2 であった。
【0052】
例2
図9に示す配置でテープ状線材を充填した。外径12mmφ、内径9mmφの銀パイプに、直径4mmφのAg−Mn合金からなる芯棒を充填し、そのまわりにテープ状線材を配置した。銀合金におけるMnの含有量は0.5重量%であった。4箇所にそれぞれ7本テープ状線材を重ねて配置し、合計28本のテープ状線材を充填した。4つの隙間には、直径1.45mmφの銀線を詰めた。銀合金棒、テープ状線材および銀線を充填した銀パイプを直径1.02mmφまで伸線した。得られた丸線を845℃で50時間焼結した。次いで冷却工程の後、840℃で90時間さらに焼結した。得られた線材から長さ10cmの試料を切出し、直流4端子法によって液体窒素温度(約77K)における外部磁場0T下での臨界電流密度を測定した。その値は13,000A/cm2 であった。
【0053】
例1および例2においてそれぞれ得られた線材の断面を図10に示す。丸線の中心部には、円筒形に近い形状の安定化マトリックスが配置され、そのまわりに安定化マトリックスで覆われたフィラメントがほぼ回転対称に配置されている。中心の安定化マトリックスを挟んで対向する14のフィラメントは、矢印Xの方向に安定化マトリックスを介して積層され、一方他の14のフィラメントは、Xにほぼ垂直なYの方向に安定化マトリックスを介して積層されている。フィラメントのアスペクト比は20程度である。またフィラメントの厚みは、10μm程度である。例1で作製された線材では、中心部およびそのまわりの安定化マトリックスはともに銀からなる。例2において調製された線材では、中心部にAg−Mn0.5重量%合金マトリックスが配置され、そのまわりに銀マトリックスが配置される。上述した臨界電流密度の値を比較して明らかなように、中心により硬い銀合金を配置すると、線材の臨界電流密度を向上させることができた。
【0054】
例3
図11に示すような配置において安定化材からなるパイプにテープ状線材を充填した。図11を参照して、円筒形状の安定化材からなるパイプ90内には、テープ状線材94ができるだけ多く重ねて配置される。パイプ90の中心部には、可能な限り多くのテープ状線材94aが重ねて充填される。その両側にも、可能な限り多くのテープ状線材94bが重ねて配置される。テープ状線材94aの重ね方向と、テープ状線材94bの重ねる方向とはほぼ垂直である。テープ状線材によって埋めることのできない隙間には、安定化材からなる棒状体または線材96が充填される。図では、4箇所に棒状体または線材96が充填されている。充填用のパイプとして、外径12mmφ、内径9mmφの銀パイプを用いた。銀パイプ内の中心部にテープ状線材を22本重ねて充填し、その両側に5本ずつテープ状線材を重ねて充填した。合計32本のテープ状線材を充填した。4箇所の隙間には、直径1.45mmφの銀線を充填した。銀線を充填することにより
%の充填率が得られた。充填された銀パイプを直径1.02mmφまで伸線した。得られた丸線を、まず845℃で50時間焼結し、次いで冷却工程の後、840℃で90時間焼結した。得られた線材の断面を図12に示す。丸線の中心部には、フィラメントが安定化マトリックスを介して積層され、その両側にもフィラメントが安定化マトリックスを介して積層される。中心部の積層方向と、その両側の積層方向とはほぼ垂直である。得られた丸線から長さ10cmの試料を切出し、直流4端子法によって液体窒素温度(約77K)における外部磁場0T下での臨界電流密度を測定した。その値は9,000A/cm2 であった。
【0055】
比較例1
Bi2 O3 、PbO、SrCO3 、CaCO3 およびCuOの粉末をBi:Pb:Sr:Ca:Cu=1.81:0.30:1.92:2.01:3.03の比になるように混合し、熱処理および粉砕を繰返してビスマス系酸化物超電導体の前駆体粉末を調製した。得られた粉末を外径25mmφ、内径22mmφの銀パイプに充填し、粉末を充填した銀パイプを1.45mmφまで伸線した。得られた線材を61本束ねて、外径15mmφ、内径13mmφの銀パイプに嵌合し、1.63mmφまで伸線した。得られた線材を845℃で50時間焼結し、次いで冷却工程の後840℃で90時間焼結した。得られた直径約1.63mmφの丸線から長さ10cmの試料を切取り、それについて直流4端子法によって液体窒素温度(約77K)における外部磁場0T下での臨界電流密度を測定した。測定値は500A/cm2 であった。
【0056】
比較例2
比較例1に示すプロセスにおいて、直径1.63mmφまで伸線を行なった後、得られた線材を圧延し、幅3.6mm、厚さ0.32mmのテープ状線材を得た。得られたテープ状線材を845℃で50時間焼結した。焼結されたテープ状線材をさらに圧延し、幅3.9mm、厚さ0.29mmのテープ状線材を得た。得られた線材を845℃で90時間焼結した。焼結後の線材から長さ10cmの試料を切出し、それについて直流4端子法により液体窒素温度(約77K)において外部磁場0Tの条件下で臨界電流密度を測定した。測定値は16,000A/cm2 であった。
【0057】
以上の結果から、本発明による例1、例2および例3の線材は、比較例1の線材よりも顕著に大きな臨界電流密度を示し、それらの値は比較例2のテープ状線材の値に匹敵するものであることがわかった。
【0058】
[超電導フィラメントのアスペクト比および厚みの検討]
Bi2 O3 、PbO、SrCO3 、CaCO3 、CuOの粉末をBi:Pb:Sr:Ca:Cu=1.81:0.30:1.92:2.01:3.03の比になるように混合し、熱処理および粉砕を繰返してビスマス系酸化物超電導体の原料粉末を得た。得られた粉末を外径12mmφ、内径9mmφの銀パイプに充填し、直径1.63mmφまで伸線した。得られた線材に種々の圧下率で圧延加工を施し、それぞれ3、5、20、40、60および100のアスペクト比を有するテープ状線材を準備した。得られたテープ状線材を例1と同様の配置で銀パイプに充填し、直径1.02mmφまで伸線して丸線を得た。得られた線材を例1と同様に焼結し、長さ10cmのサンプルについて例1と同様に臨界電流密度を測定した。それぞれのアスペクト比を有するテープ状線材について得られた丸線の臨界電流密度を表1に示す。
【0059】
【表1】
【0060】
表に示すように、パイプに充填するテープ状線のアスペクト比を大きくしていくと、得られる丸線の臨界電流密度は増加する。しかし、そのアスペクト比が大きくなり過ぎると臨界電流密度は顕著に低下する。これは、超電導相の長手方向の結合が切れてくるためであると考えられる。充填すべきテープ状線のアスペクト比は、粉末部分のアスペクト比、および超電導フィラメントのアスペクト比にそのまま対応する。実験の結果、超電導フィラメントのアスペクト比を4〜40、好ましくは5〜40にすることにより、臨界電流密度を顕著に高められることがわかった。
【0061】
各アスペクト比のテープ状線材を用いて作製された各線材の超電導フィラメントの厚みと臨界電流密度との関係を表2に示す。アスペクト比を大きくしていくに従って超電導フィラメントは薄くなっていく。
【0062】
【表2】
【0063】
表に示すように、所定の範囲内でフィラメントを薄くしていくと臨界電流密度は向上する。これは、超電導相と安定化マトリックスとの界面で結晶粒におけるc軸の配向が促進されるからである。しかし、フィラメントの厚みが1μm以下になると、臨界電流密度は顕著に小さくなる。これは、超電導相の長手方向の結合が切れてくるためであると考えられる。実験の結果、高い臨界電流密度を得るためには、2〜50μmの厚みのフィラメントが望ましいことがわかった。
【0064】
例4
例1のプロセスに従って銀の芯棒、テープ状線材および銀線を銀パイプに充填し、直径1.02mmφまで伸線した。得られた丸線に845℃で50時間熱処理を施した後、さまざまな線径にまで伸線加工を施し、次いで840℃で90時間熱処理を行なった。伸線加工時の減面率と熱処理後に得られる線材の臨界電流密度との関係を表3に示す。
【0065】
【表3】
【0066】
表に示すように、2つの焼結工程の間に、線材の断面を小さくする伸線加工を行なえば、焼結後に得られる線材の臨界電流密度を向上させることができる。ただし、50%以上の減面率で伸線を行なうと臨界電流密度は顕著に低下する。2つの焼結工程の間に行なわれる伸線加工は、5〜50%の減面率で行なうことが望ましく、10〜20%の減面率で行なうことがより好ましい。2つの焼結工程の間にこれらの範囲の減面率で伸線加工を行なえば、線材の臨界電流密度を向上させることができる。
【0067】
[充填率の検討]
例3のプロセスに従い、図11に示すような配置でテープ状線材を銀パイプに充填した。充填にあたって、テープ線(幅4mm×厚さ0.33mm)を34枚、銀棒(1.63mmφ)を4本充填することにより84%の充填密度を得た。また、同じサイズのテープ線を34枚、銀棒(1.45mmφ)を4本充填することにより80%の充填密度、同じサイズのテープ線を34枚充填することにより70%の充填密度、同じサイズのテープ線を24枚充填することにより50%の充填密度をそれぞれ得た。それぞれの充填密度でテープ状線材が充填された銀パイプを例3と同様の工程によって伸線し、焼結した。得られた各線材から長さ10cmの試料を取り、例3と同様に臨界電流密度を測定した。充填密度と測定値との関係を表4に示す。表から、80%以上の充填密度が高い臨界電流密度を得るために好ましいことがわかる。
【0068】
【表4】
【0069】
例5
例1のプロセスに従い銀パイプに銀の芯棒、テープ状線材および銀線を充填し、直径1.02mmφまで伸線した。得られた線材を845℃で50時間熱処理した。図13に示すように、熱処理された線材130を6本、直径1.02mmφの銀線132のまわりに撚り合わせた。撚りピッチは、40mmであった。得られた撚線を840℃で90時間熱処理した。熱処理後の撚線の臨界電流は、液体窒素温度において70Aであった。通電4端子法により交流損失を測定した結果、60Hzにおいて20Arms通電時に交流損失の測定値は0.05mW/mであった。
【0070】
比較例3
比較例1のプロセスにおいて、61本の線材を銀パイプに嵌合し、直径1.02mmφまで伸線した。得られた線材を厚さ0.25mmまで圧延した後、得られたテープ状線材を845℃で90時間熱処理した。テープ状線材を6枚積層したものの液体窒素温度における臨界電流は80Aであった。積層体の交流損失を例5と同様に測定した結果、測定値は0.5mW/mであった。例5と比較例3との比較により、撚線によって交流損失が1/10に軽減したことがわかる。
【0071】
例6
例1のプロセスに従って充填された銀パイプに直径1.02mmφまで伸線加工を施した。得られた線材に845℃で50時間熱処理を施した。次に、線材の表面に電気めっきによりCrめっきを施した。Crめっきされた線材を6本、図13に示すような配置で直径1.02mmφの銀線のまわりに撚り合わせた。撚りピッチは50mmであった。得られた撚線を840℃で90時間熱処理した。熱処理後の撚線の液体窒素温度における臨界電流は70Aであった。通電4端子法によって測定した撚線の交流損失は、20A通電時で0.01mW/mであった。この値は、例5の値の1/5である。
【0072】
例7
Crめっきの代わりに電気めっきによりNiめっきを素線に施した以外は、例6と同様にして撚線を作製した。通電4端子法で測定した撚線の交流損失は、20A通電時で0.01mW/mであった。この値は例5の値の1/5である。
【0073】
例8
例1のプロセスにおいて充填された銀パイプを直径1.02mmφまで伸線加工した後、845℃、50時間の熱処理を行なった。次いで、得られた線材に硫酸銅めっきにより厚さ10μmのCuめっきを施した。次に、例5と同様に撚線を作製した。大気下における840℃90時間の熱処理により、素線表面のCuはCuOに変換された。酸化膜により素線間がほぼ完全に絶縁されていた。得られた撚線の液体窒素温度における臨界電流は70Aであった。素線の表面に薄い銅酸化膜が形成される一方、銅は超電導特性にほとんど影響を及ぼさなかった。撚線の交流損失は、20A通電時で0.01mW/mであった。素線間の結合損失は顕著に低減できた。
【0074】
例9
例1のプロセスにおいて充填された銀パイプを直径1.02mmφまで伸線加工した後、845℃、50時間の熱処理を行なった。得られた線材に、平均粒径0.5μmのアルミナ粉末を有機溶媒(キシレン)に分散させた液を塗布した。乾燥によりアルミナ粉末を線材に付着させた後、例5と同様のプロセスによって撚線を作製した。840℃90時間の熱処理後に、素線の表面にはアルミナ粒子が均一に焼付けられていた。アルミナ層により素線間はほぼ完全に絶縁することができた。得られた撚線の液体窒素温度における臨界電流は70Aであった。撚線の交流損失は、20A通電時で0.02mW/mであった。素線間の結合損失は顕著に低減できたことがわかった。
【0075】
例10
例1のプロセスにおいて銀パイプの代わりにAg−Mn合金(Mn含有量0.3重量%)パイプを用いて、丸線を得た。得られた丸線を845℃で50時間熱処理した。熱処理された線材を6本撚り合わせ、平角成形した。撚りピッチは、45mmであった。得られた平角成形撚線を840℃で90時間熱処理した。比抵抗の高い合金シースを用いることにより、素線間の結合損失を低減できることが認められた。
【0076】
例11
例1のプロセスにおいて銀パイプの代わりにAg−Au合金(Au含有量10重量%)パイプを用いて、丸線を調製した。得られた丸線を845℃で50時間熱処理した。熱処理された線材を6本撚り合わせ、平角成形した。得られた平角成形撚線を840℃で90時間熱処理した。比抵抗の高い合金シースを用いることにより、素線間の結合損失を低減できることがわかった。
【0077】
例12
例9で得られた撚線を3本撚り合わせ二次撚線を作製した。撚り合わせた後、840℃、50時間の熱処理を行なった。得られた撚線の液体窒素温度における臨界電流は200Aであった。撚線の交流損失は20A通電時で0.02mW/mであった。アルミナ絶縁層により素線間の結合損失が顕著に低減されていることが確認された。
【0078】
例13
例1のプロセスにおいて充填された銀パイプに伸線加工を施し直径1.02mmφの丸線を得た。得られた丸線をピッチ25mmでツイストした。直径1.02mmφの銀線の周囲にツイストされた丸線を6本撚り合わせた後、840℃で90時間の熱処理を行なった。得られた撚線の液体窒素温度における臨界電流は60Aであった。通電4端子法により測定された撚線の交流損失は、20A通電時で0.1mW/mであった。この値は、61のフィラメントを有し、幅4mm、厚さ0.3mmのサイズで、液体窒素温度において50Aの臨界電流を有する従来のテープ状酸化物超電導線において測定される交流損失の1/40であった。
【0079】
例14
例12において作製された二次撚線を、15本、銅パイプ上に真っ直ぐに並べてケーブル用導体を作製した。得られた導体の構造を図14に示す。円筒形の銅パイプ140上に、二次撚線142が15本1層で互いに平行に配置される。この場合、銅パイプ140上で二次撚線142は真っ直ぐ延ばされている。二次撚線142は、一次撚線144が3本撚り合わされたものである。一次撚線144は、銀線146のまわりに超電導素線148が6本撚り合わされたものである。得られたケーブル用導体の液体窒素温度における臨界電流は1500Aであった。比較のため、同じサイズの銅パイプ上に、液体窒素温度における臨界電流が25Aの61芯テープ状酸化物超電導線を適当な本数、4層で集合し、液体窒素温度における臨界電流が1500Aのケーブル用導体を作製した。交流損失を測定した結果、撚線によって構成される導体の損失の方が、テープ状線材によって構成される導体よりも2桁小さかった。なお、例14では、撚線を真っ直ぐに延ばしてパイプ上に集合したが、撚線をパイプ上に螺旋状に巻きつけても同様の結果が得られた。
【0080】
【発明の効果】
本発明によれば、断面が円または略回転対称である多角形の酸化物超電導線材において臨界電流密度を顕著に向上させることができる。特に、マトリックスの中心により硬い材料を用いることにより臨界電流密度をさらに向上させることができる。また、フィラメントを積層し、略回転対称に配置することによって、臨界電流密度の高い線材を提供できる。これらの線材を用いることにより、交流損失が低くかつ電流密度の高い撚線およびケーブル用導体を提供できる。
【図面の簡単な説明】
【図1】本発明により中心に硬い材料が用いられた線材の構造を示す(a)概略斜視図および(b)概略断面図である。
【図2】本発明により中心に硬い材料が設けられたもう1つの線材を示す(a)概略斜視図および(b)概略断面図である。
【図3】本発明により安定化マトリックスのまわりに略回転対称にフィラメントが積層された構造を有する線材の概略斜視図である。
【図4】本発明により中心にできるだけ多くのフィラメントが積層された構造を有する線材の概略斜視図である。
【図5】本発明による撚線の一具体例を示す概略斜視図である。
【図6】本発明による撚線のもう1つの具体例を示す概略断面図である。
【図7】素線がツイストされた状態を示す斜視図である。
【図8】本発明によるケーブル導体の具体例を示す概略斜視図である。
【図9】例1および例2においてテープ状線材が安定化材のパイプに充填される様子を示す概略断面図である。
【図10】例1および例2において得られる線材の構造を示す概略断面図である。
【図11】例3においてテープ状線材が安定化材パイプに充填される様子を示す概略断面図である。
【図12】例3において得られる線材の構造を示す概略断面図である。
【図13】例5において線材が撚り合わされる様子を示す概略断面図である。
【図14】例15において得られるケーブル用導体の構造を示す概略断面図である。
【符号の説明】
10、20、30、40 酸化物超電導線材
12、22、32a、32b、42a、42b フィラメント
14、24、34、44 安定化マトリックス
Claims (12)
- パウダー・イン・チューブ法を用いて製造された酸化物超電導線材であって、
酸化物超電導体からなり、リボン形状で前記線材の長手方向に延びる、複数のフィラメントと、
前記複数のフィラメントを覆う安定化マトリックスとを備え、
前記フィラメントのアスペクト比が4〜40の範囲内にあり、
前記フィラメントの厚みが2μm〜50μmの範囲内にあり、
前記線材の長手方向に略垂直な断面の形状が略円形または略回転対称である六角形以上の多角形であり、かつ
前記安定化マトリックスの中心部は、その周囲よりも硬い材料からなることを特徴とする、酸化物超電導線材。 - 前記安定化マトリックスの中心部は略円筒形状であり、その周囲に前記フィラメントが略回転対称に配置されていることを特徴とする、請求項1に記載の酸化物超電導線材。
- 前記安定化マトリックスの中心部は銀合金からなり、その周囲の安定化マトリックスは銀からなることを特徴とする、請求項1または2に記載の酸化物超電導線材。
- パウダー・イン・チューブ法を用いて製造された酸化物超電導線材であって、
酸化物超電導体からなり、リボン形状で前記線材の長手方向に延びる、複数のフィラメントと、
前記複数のフィラメントを覆う安定化マトリックスとを備え、
前記フィラメントのアスペクト比が4〜40の範囲内にあり、
前記フィラメントの厚みが2μm〜50μmの範囲内にあり、
前記線材の長手方向に略垂直な断面の形状が略円形であり、
前記線材の中心部に略円筒形の安定化マトリックスが配置され、かつその周囲に略回転対称に前記複数のフィラメントが配置され、かつ
前記複数のフィラメントは、前記安定化マトリックスを介して第1の方向に層状に重ねられるものと、前記安定化マトリックスを介して前記第1の方向と略垂直な第2の方向に層状に重ねられるものとからなることを特徴とする、酸化物超電導線材。 - 前記線材の中心部に配置された安定化マトリックスは、その周囲の安定化マトリックスよりも硬い材料からなることを特徴とする、請求項4に記載の酸化物超電導線材。
- 前記線材の中心部に配置された安定化マトリックスは銀合金であり、その周囲の安定化マトリックスは銀であることを特徴とする、請求項4または5に記載の酸化物超電導線材。
- 酸化物超電導体からなる複数のフィラメントが安定化材で覆われた酸化物超電導線材の製造方法であって、
酸化物超電導体の原料粉末を安定化材からなるチューブに充填する工程と、
前記粉末が充填されたチューブに塑性加工を施してテープ状線材を得る工程と、
前記テープ状線材を複数本、第1の安定化材からなる棒状体と共に、第2の安定化材からなるチューブに充填する工程と、
前記テープ状線材および前記棒状体が充填されたチューブに塑性加工を施して、断面が略円形または略回転対称である六角形以上の多角形である線材を得る工程と、
得られた線材に熱処理を施して、酸化物超電導体の焼結体を生成させる工程とを備え、
前記テープ状線材において、前記粉末からなる部分が4〜40のアスペクト比を有するリボン形状であり、
前記第1の安定化材は前記第2の安定化材よりも硬く、
前記第1の安定化材からなる棒状体は、前記第2の安定化材からなるチューブの略中心に配置され、かつ前記テープ状線材は前記棒状体の周りに配置され、かつ
前記熱処理の後、酸化物超電導体からなるフィラメントの厚みが2μm〜50μmの範囲である線材を得ることを特徴とする、酸化物超電導線材の製造方法。 - 前記第1の安定化材からなる棒状体が略円筒形状であり、かつその周囲に前記テープ状線材が略回転対称に配置されることを特徴とする、請求項7に記載の製造方法。
- 前記第1の安定化材が銀合金であり、前記第2の安定化材が銀であることを特徴とする、請求項7または8に記載の製造方法。
- 酸化物超電導体からなる複数のフィラメントが安定化材で覆われた酸化物超電導線材の製造方法であって、
酸化物超電導体の原料粉末を安定化材からなるチューブに充填する工程と、
前記粉末が充填されたチューブに塑性加工を施してテープ状線材を得る工程と、
前記テープ状線材を複数本、安定化材からなる円筒形状の棒状体と共に、安定化材からなるチューブに充填する工程と、
前記テープ状線材および前記棒状体が充填されたチューブに塑性加工を施して、断面が略円形の線材を得る工程と、
得られた線材に熱処理を施して、酸化物超電導体の焼結体を生成させる工程とを備え、
前記テープ状線材において、前記粉末からなる部分が4〜40のアスペクト比を有するリボン形状であり、
前記棒状体は、前記チューブの略中心に配置され、かつ前記テープ状線材は、前記棒状体の周りに略回転対称に配置され、
略回転対称に配置された複数の前記テープ状線材は、第1の方向に層状に重ねられたものと、前記第1の方向と略垂直な第2の方向に層状に重ねられたものとからなり、かつ
前記熱処理の後、酸化物超電導体からなるフィラメントの厚みが2μm〜50μmの範囲である線材を得ることを特徴とする、酸化物超電導線材の製造方法。 - 前記棒状体は、それを充填するためのチューブより硬い材料からなることを特徴とする、請求項10に記載の製造方法。
- 前記棒状体は銀合金からなり、それを充填するためのチューブは銀からなることを特徴とする、請求項10または11に記載の製造方法。
Priority Applications (1)
| Application Number | Priority Date | Filing Date | Title |
|---|---|---|---|
| JP19126697A JP3657397B2 (ja) | 1997-07-16 | 1997-07-16 | 酸化物超電導線材およびその製造方法 |
Applications Claiming Priority (1)
| Application Number | Priority Date | Filing Date | Title |
|---|---|---|---|
| JP19126697A JP3657397B2 (ja) | 1997-07-16 | 1997-07-16 | 酸化物超電導線材およびその製造方法 |
Publications (2)
| Publication Number | Publication Date |
|---|---|
| JPH1139963A JPH1139963A (ja) | 1999-02-12 |
| JP3657397B2 true JP3657397B2 (ja) | 2005-06-08 |
Family
ID=16271693
Family Applications (1)
| Application Number | Title | Priority Date | Filing Date |
|---|---|---|---|
| JP19126697A Expired - Lifetime JP3657397B2 (ja) | 1997-07-16 | 1997-07-16 | 酸化物超電導線材およびその製造方法 |
Country Status (1)
| Country | Link |
|---|---|
| JP (1) | JP3657397B2 (ja) |
Cited By (2)
| Publication number | Priority date | Publication date | Assignee | Title |
|---|---|---|---|---|
| DE112009001911T5 (de) | 2008-08-05 | 2011-06-22 | Sumitomo Electric Industries, Ltd., Osaka | Vorläuferdraht eines supraleitenden Oxiddrahts und Verfahren zur Herstellung desselben sowie unter Verwendung des Vorläuferdrahts hergestellter supraleitender Oxiddraht |
| US10825585B2 (en) * | 2015-08-12 | 2020-11-03 | Karlsruher Institut für Technologie | Superconducting conductor and use of the superconducting conductor |
Families Citing this family (3)
| Publication number | Priority date | Publication date | Assignee | Title |
|---|---|---|---|---|
| JP3587128B2 (ja) | 2000-04-25 | 2004-11-10 | 住友電気工業株式会社 | 酸化物超電導多芯線およびその製造方法ならびに酸化物超電導撚線およびその製造方法 |
| EP4672280A1 (en) * | 2024-06-28 | 2025-12-31 | Proxima Fusion GmbH | STELLAR LIGHTS WITH LAYER SUPERCONDUCTORS HAVING IMPROVED ALIGNMENT SENSITIVITY |
| WO2026003072A1 (en) * | 2024-06-28 | 2026-01-02 | Proxima Fusion Gmbh | Stellarators with layered superconductors with improved alignment sensitivity |
-
1997
- 1997-07-16 JP JP19126697A patent/JP3657397B2/ja not_active Expired - Lifetime
Cited By (2)
| Publication number | Priority date | Publication date | Assignee | Title |
|---|---|---|---|---|
| DE112009001911T5 (de) | 2008-08-05 | 2011-06-22 | Sumitomo Electric Industries, Ltd., Osaka | Vorläuferdraht eines supraleitenden Oxiddrahts und Verfahren zur Herstellung desselben sowie unter Verwendung des Vorläuferdrahts hergestellter supraleitender Oxiddraht |
| US10825585B2 (en) * | 2015-08-12 | 2020-11-03 | Karlsruher Institut für Technologie | Superconducting conductor and use of the superconducting conductor |
Also Published As
| Publication number | Publication date |
|---|---|
| JPH1139963A (ja) | 1999-02-12 |
Similar Documents
| Publication | Publication Date | Title |
|---|---|---|
| JP3658844B2 (ja) | 酸化物超電導線材およびその製造方法ならびにそれを用いた酸化物超電導撚線および導体 | |
| JP2986871B2 (ja) | 酸化物超電導体および酸化物超電導線ならびに超電導コイル | |
| JPH07169343A (ja) | 超電導ケーブル導体 | |
| WO2002037581A9 (en) | Superconducting article having low ac loss | |
| JPH08335414A (ja) | 酸化物超電導線およびその製造方法 | |
| JP3657397B2 (ja) | 酸化物超電導線材およびその製造方法 | |
| US7162287B2 (en) | Oxide high-temperature superconducting wire and method of producing the same | |
| WO2008065781A1 (en) | Oxide superconducting wire rod, superconducting structure, method for manufacturing oxide superconducting wire rod, superconducting cable, superconducting magnet, and product comprising superconducting magnet | |
| JP3885358B2 (ja) | 酸化物高温超電導線材およびその製造方法 | |
| JP3724128B2 (ja) | 酸化物超電導線材およびその製造方法ならびにそれを用いた酸化物超電導撚線および導体 | |
| JP3657367B2 (ja) | ビスマス系酸化物多芯超電導線およびその製造方法 | |
| JPH09223418A (ja) | 酸化物超電導線材及びその製造方法 | |
| JP3520699B2 (ja) | 酸化物超電導線材及びその製造方法 | |
| JPH05334921A (ja) | セラミックス超電導々体 | |
| JP2989932B2 (ja) | 多層セラミックス超電導導体の製造方法 | |
| JPH0765646A (ja) | 酸化物超電導ケーブル及び素線の製造方法 | |
| JP3108543B2 (ja) | 多層セラミックス超電導々体の製造方法 | |
| JPH0644834A (ja) | セラミックス超電導々体 | |
| JP3033624B2 (ja) | セラミックス超電導導体 | |
| JP3568767B2 (ja) | 超電導ケーブル及びその製造方法 | |
| JP2000149676A (ja) | 酸化物超電導撚線およびそれを用いたケーブル導体 | |
| JPH06325633A (ja) | 多芯酸化物超電導線材 | |
| JPH11203960A (ja) | 酸化物超電導ケーブル | |
| JP4096406B2 (ja) | 酸化物超電導撚線および酸化物超電導ケーブル用導体ならびに酸化物超電導撚線および酸化物超電導ケーブル用導体の製造方法 | |
| JPH09115357A (ja) | テープ状酸化物超電導撚線およびそれを用いた超電導導体 |
Legal Events
| Date | Code | Title | Description |
|---|---|---|---|
| A977 | Report on retrieval |
Free format text: JAPANESE INTERMEDIATE CODE: A971007 Effective date: 20040810 |
|
| A131 | Notification of reasons for refusal |
Free format text: JAPANESE INTERMEDIATE CODE: A131 Effective date: 20041005 |
|
| A521 | Request for written amendment filed |
Free format text: JAPANESE INTERMEDIATE CODE: A523 Effective date: 20041129 |
|
| TRDD | Decision of grant or rejection written | ||
| A01 | Written decision to grant a patent or to grant a registration (utility model) |
Free format text: JAPANESE INTERMEDIATE CODE: A01 Effective date: 20050222 |
|
| A61 | First payment of annual fees (during grant procedure) |
Free format text: JAPANESE INTERMEDIATE CODE: A61 Effective date: 20050309 |
|
| R150 | Certificate of patent or registration of utility model |
Free format text: JAPANESE INTERMEDIATE CODE: R150 |
|
| FPAY | Renewal fee payment (event date is renewal date of database) |
Free format text: PAYMENT UNTIL: 20090318 Year of fee payment: 4 |
|
| FPAY | Renewal fee payment (event date is renewal date of database) |
Free format text: PAYMENT UNTIL: 20090318 Year of fee payment: 4 |
|
| FPAY | Renewal fee payment (event date is renewal date of database) |
Free format text: PAYMENT UNTIL: 20100318 Year of fee payment: 5 |
|
| FPAY | Renewal fee payment (event date is renewal date of database) |
Free format text: PAYMENT UNTIL: 20100318 Year of fee payment: 5 |
|
| FPAY | Renewal fee payment (event date is renewal date of database) |
Free format text: PAYMENT UNTIL: 20110318 Year of fee payment: 6 |
|
| FPAY | Renewal fee payment (event date is renewal date of database) |
Free format text: PAYMENT UNTIL: 20110318 Year of fee payment: 6 |
|
| FPAY | Renewal fee payment (event date is renewal date of database) |
Free format text: PAYMENT UNTIL: 20120318 Year of fee payment: 7 |
|
| FPAY | Renewal fee payment (event date is renewal date of database) |
Free format text: PAYMENT UNTIL: 20120318 Year of fee payment: 7 |
|
| FPAY | Renewal fee payment (event date is renewal date of database) |
Free format text: PAYMENT UNTIL: 20130318 Year of fee payment: 8 |
