JP3602870B2 - 電気錠 - Google Patents
電気錠 Download PDFInfo
- Publication number
- JP3602870B2 JP3602870B2 JP16597794A JP16597794A JP3602870B2 JP 3602870 B2 JP3602870 B2 JP 3602870B2 JP 16597794 A JP16597794 A JP 16597794A JP 16597794 A JP16597794 A JP 16597794A JP 3602870 B2 JP3602870 B2 JP 3602870B2
- Authority
- JP
- Japan
- Prior art keywords
- slider
- clutch lever
- plunger
- lock box
- lever
- Prior art date
- Legal status (The legal status is an assumption and is not a legal conclusion. Google has not performed a legal analysis and makes no representation as to the accuracy of the status listed.)
- Expired - Fee Related
Links
- 230000004907 flux Effects 0.000 claims description 4
- 230000006835 compression Effects 0.000 description 3
- 238000007906 compression Methods 0.000 description 3
- 230000000694 effects Effects 0.000 description 3
- 238000007654 immersion Methods 0.000 description 2
- 230000003213 activating effect Effects 0.000 description 1
- 238000006073 displacement reaction Methods 0.000 description 1
- 230000002708 enhancing effect Effects 0.000 description 1
- 230000000452 restraining effect Effects 0.000 description 1
- 238000001179 sorption measurement Methods 0.000 description 1
Images
Landscapes
- Lock And Its Accessories (AREA)
Description
【0001】
【産業上の利用分野】
この発明は、施解錠を電気的に行う電気錠に関する。
【0002】
【従来の技術】
従来の電気錠の一般的なものにおいて、デッドボルトを兼ねるラッチボルトを施錠位置に拘束させるためには、例えば、電磁アクチュエータによって作動される係止レバーをラッチボルトの首部に係合させることによって行っている。
【0003】
この施錠状態において、レバーハンドル等の外部操作部材を無理に回すと、カム、スライダ並びにレバー等を介してラッチボルトが後方に押されるため、ラッチボルトの施解錠機構である係止レバーや電磁アクチュエータに不要な力が作用することになる。
【0004】
前記のような不要な力が長期に亘り繰返えし加えられると、施解錠機構にがたつきを発生させ、また、その機構を破損させることにもなる、という不都合がある。
【0005】
【発明が解決しようとする課題】
この発明は、前記の問題点を解決した新規な構造の電気錠を提案すること、消費電力を小さくした電気錠を提案すること、並びに、施錠状態であっても室内側からはレバーハンドル等の外部操作部材の回動操作によって自動解錠できる電気錠を提案することを目的としている。
【0006】
【課題を解決するための手段】
上記の目的を解決するため、請求項1に記載の発明は、扉に固定される錠箱と、錠箱内で水平に移動可能に案内され、先端が錠箱から突出する方向に付勢されたデッドボルトを兼ねるラッチボルトと、戻しばねを備え、錠箱内で水平に移動可能に案内されると共に、外部操作部材でカムを介して作動されるスライダと、このスライダと一部重合する態様で錠箱に基端が枢着され、先端をラッチボルトの後部に係合させたリトラクタと、リトラクタに基端が枢着され、解錠時水平な角度位置で先端をスライダに係合させると共に、先端に山形のカム部を形成したクラッチレバーと、クラッチレバーをスライダと係合させない方向に付勢する制御ばねと、錠箱内に配設され、プランジャと、プランジャを吸引する永久磁石と、その永久磁石の磁束を制御する電磁コイルとで構成された電磁アクチュエータと、上記プランジャを突出させる方向に付勢する作動ばねと、一端をプランジャの先端に連係させ、他端をクラッチレバーに対向させた作動レバーとを有し、解錠時、電磁アクチュエータの電磁コイルを作動させてプランジャを永久磁石から解放し、作動ばねの弾力により、作動レバーの他端を介して、クラッチレバーを水平な角度位置になるように押動し、以てその先端をスライダに係合させ、外部操作部材を回してスライダを水平方向、錠箱内方に移動させたとき、クラッチレバーを介してリトラクタの先端を水平方向の内方に移動させてラッチボルトを錠箱内に引込ませ、その間水平な角度位置にあるクラッチレバーと作動レバーの他端との係合を保ち、リトラクタの内方への移動の終端付近においてクラッチレバーの先端の山形のカム部と作動レバーの他端との間に生じる楔作用により、作動レバーの一端を介して、プランジャを電磁アクチュエータ内に押込み、以てプランジャを永久磁石に吸着させて電磁アクチュエータを安定的に施錠状態に設定するようにしたことを特徴とする。
【0007】
また、この発明の請求項2に記載の電気錠は、請求項1に記載の電気錠において、前記スライダ、リトラクタ及びクラッチレバーをそれぞれ錠箱の幅方向に互に独立して作動できるように対をなして設けると共に、室内側の外部操作部材をカムを介して一方のスライダに、また、室外側の外部操作部材を別のカムを介して他方のスライダに連係し、一方のクラッチレバーを常に一方のスライダに係合させた状態を保持させるため、一方のクラッチレバーを一方のスライダに対する係合位置に拘束させる停止部材を錠箱に着脱可能に設けたことを特徴とする。
【0008】
【作用】
この発明の第1実施例を示す図1において、デッドボルトを兼ねるラッチボルト2は、ラッチばね21で付勢されて突出されてあり、施錠状態にある。この状態では、室内側又は室外側の外部操作部材(図示しない)を手で回して操作すると、スライダ3はカム4を介して戻しばね31に抗して後方へ変位するが、そのスライダ3とリトラクタ5との間は非接続状態にあるため、すなわち、リトラクタ5上のクラッチレバー6がスライダ3に対し非係合状態にあるため、スライダ3の後方への変位はリトラクタ5並びにラッチボルト2とは関係のない空動きに過ぎないことになる。
【0009】
図1に示す電気錠を解錠するためには、例えば、磁気カードを別に装備された磁気カードリーダーに差し込むことにより、電磁アクチュエータ7に通電してプランジャ71を突出又は没入方向へ変位させ、作動レバー8を図1で左回りに揺動させる。
【0010】
作動レバー8がクラッチレバー6を制御ばね62に抗して図3で右回りに押動させている間に、換言すれば、作動レバー8がクラッチレバー6をスライダ3に係合させている間に、室内側又は室外側の外部操作部材(図示しない)を回動操作すると、図4に示すように、カム4を介して後方へ変位するスライダ3がクラッチレバー6によって接続(連結)されたリトラクタ5を右回りに揺動させることになる。
【0011】
前記のようにリトラクタ5が揺動すると、その先端でラッチボルト2をラッチばね21に抗して引き込ませるので、扉10は外部操作部材の押し引きにより開閉できることになる。
【0012】
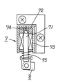
図示例の電磁アクチュエータ7は、図2に明示するように、施錠時にプランジャ71が永久磁石72に吸着されており、電磁コイル73に一時的に通電されると、電磁コイル73が永久磁石72の磁束を打消すように作用して、永久磁石73の磁気吸引力が十分弱められる。
【0013】
そこで、永久磁石72に対するプランジャ71の吸着が解かれ、プランジャ71は作動ばね75の付勢により突出し、上記したように作動レバー8を揺動させる。
【0014】
プランジャ71の原位置(図1又は図2に図示した位置)への復動は、スライダ3が外部操作部材により図3の位置から図4の位置に移動する間に、作動レバー8の他端がクラッチレバー6の山形のカム部64で揺動案内されることにより、達成される。
【0015】
すなわち、作動レバー8が作動ばね75に抗して原位置に復帰し、プランジャ71は永久磁石72に吸着される。
【0016】
なお、プランジャ71を上述のように突出させるための電磁コイル73への通電時間は数ミリセカンド(ms)程度で十分であり、又、プランジャ71の復動時には、電磁コイル73に通電する必要はない。
【0017】
従って、図示例の電磁アクチュエータ7を用いたものでは、電気錠の消費電力を著しく減少させることができる。
【0018】
また、この発明の電気錠では、図示はしないが、極く一般的な電磁アクチュエータ、すなわち、通電時にプランジャが没入方向へ変位する形式の電磁アクチュエータを用いることができる。
【0019】
ただし、この形式の電磁アクチュエータでは前記のような消費電力の削減を計ることはできないが、施解錠作動については特に支障を来たすことはない。
【0020】
図5及び図6に示す第2実施例においては、対をなして設けられるスライダ3、リトラクタ5及びクラッチレバー6の2組の内、室内側に位置する一方の組について、その一方のクラッチレバー6を錠箱1に着脱可能に設けた停止部材9により、一方のスライダ3に対し係合する位置に例えば押し上げて拘束させてある。
【0021】
室内側の外部操作部材を単に回動操作すれば、電磁アクチュエータ7に通電することなく、一方の組のカム4、スライダ3、クラッチレバー6及びリトラクタ5を介してラッチボルト2を図5の位置から図6の位置に引き込ませることができる。
【0022】
言い換えると、第2実施例のものは、磁気カード等を用いることなく、また、電磁アクチュエータ7とは無関係に、室内側の外部操作部材の操作だけで自動解錠されることになる。
【0023】
なお、この発明の電気錠において、室外側又は室内側の外部操作部材を手で握って回動した後(図4又は図6参照)、その外部操作部材から手を離せば、変位していた各部材はいずれも当初の位置(図1又は図5参照)に復帰することは言うまでもない。
【0024】
【実施例】
以下図面に示すこの発明の実施例について説明する。
図1〜図4は第1実施例を、図5及び図6は第2実施例をそれぞれ示す。
【0025】
図1〜図4の第1実施例において、10は扉、20は扉枠、30は扉枠20に固定されたストライク、1は扉10に固定される錠箱をそれぞれ示す。
【0026】
前記の錠箱1内には適当な公知の案内手段で水平(前後方向)に移動できるように案内されるデッドボルトを兼ねるラッチボルト2が設けてあり、そのラッチボルト2は先端のラッチヘッドが錠箱1のフロント板11から突出する方向に圧縮ばね等のラッチばね21により付勢させてある。図示例のラッチボルト2はそのラッチヘッドの一側(図1の裏面側)に斜面を有する。
【0027】
錠箱1内における前記のラッチボルト2と平行をなす位置には、互に摺動可能に嵌め合された2本の摺動杆からなる一対の案内手段32その他任意の案内手段により水平(前後方向)に移動可能に案内されるスライダ3が設けてある。
【0028】
スライダ3は、前記の案内手段32を兼ねる取付杆に嵌挿された圧縮ばねその他任意の戻しばね31により、フロント板11に向け付勢させてある。
【0029】
そして、このスライダ3は、レバーハンドル等の外部操作部材(図示しない)で、カム4を介して後方に向け作動されるようにしてあり、外部操作部材から手を離せば戻しばね31の付勢力により前方位置に復帰する。
【0030】
符号41は室内側及び/又は室外側の外部操作部材とカム4とを連結させる角軸である。
【0031】
錠箱1の側板に基端を横軸51で枢着された側面がく字状をなすリトラクタ5は、解錠時のスライダ3の後方への作動を後述のクラッチレバー6を介して選択的にラッチボルト2に伝達するために設けられたもので、その先端は例えばラッチボルト2の後部にフランジ状に固設した衝合片22に衝接係合させてある。
【0032】
リトラクタ5の先端をラッチボルト2の後部に当接させるため、図示例においては、リトラクタ5の基端部に設けたねじりばね52によって、該リトラクタ5を図1で右回りに付勢させてあるが、両部材2、5の係合は他の手段によっても行い得る。
【0033】
他の係合手段としては、図示はしないが、リトラクタ5の先端をラッチボルト2の後部に設けた係合凹部に可動に嵌挿させたものを挙げることができる。
【0034】
上記のスライダ3とリトラクタ5とを図1の非接続状態又は図3の接続状態にするためには、リトラクタ5の長さ方向の中間部に基端が横軸61で枢着されたクラッチレバー6の先端を、スライダ3の例えば下辺部に設けた切欠き33に嵌め外して行なう。
【0035】
前記のクラッチレバー6の横軸61の回りには、クラッチレバー6をスライダ3と係合させない方向に付勢させるねじりばね等の制御ばね62が施されている。
【0036】
符号63はクラッチレバー6の先端に固定したピンその他の突片で、スライダ3の切欠き33に嵌め外しされるものである。
【0037】
次に、前記のクラッチレバー6を変位させる機構について説明する。錠箱1内におけるスライダ3の近傍には、電磁アクチュエータ7が固定してある。
【0038】
この電磁アクチュエータ7は、磁気カード又は磁石カードのカードリーダへの差込み、或いは所謂テンキー入力盤と称される暗証符号入力盤に暗証符号を入力することにより解錠信号が発生すると通電され、プランジャ71が突出作動又は没入作動するもので、プランジャ71の通電時の動作に伴ってそのプランジャ71に連係させた作動レバー8を揺動させる。
【0039】
中間部が錠箱1の側板に横軸81で枢着された作動レバー8は、その一端を電磁アクチュエータ7のプランジャ71にピンと長孔との組などの連係手段で可動に連結してあり、また、他端に固定したピンその他の係合突片82をクラッチレバー6に当接させるようにして対向させてあり、前記の電磁アクチュエータ7の動作に伴って、クラッチレバー6の先端をスライダ3に対し選択的に係合させる。
【0040】
電磁アクチュエータ7の例としては、電磁コイルへの通電時にプランジャが吸着により没入方向(引込み方向)に変位する形式の極く一般的なもの、あるいは永久磁石と電磁コイルとを組み合せて通電時磁束の減少を計ってプランジャを突出方向に変位させる形式のやゝ特殊なもの(例えば、特公平2−57637号公報を参照)を挙げることができるが、この発明の第1実施例及び第2実施例ではいずれも後者の電磁アクチュエータを採用している。
【0041】
実施例の電磁アクチュエータ7は、図2に明示するように、プランジャ71の軸線方向に着磁され、そのプランジャ71を吸引する永久磁石72と、その永久磁石72に連設され、永久磁石72の磁石を制御する電磁コイル73とで構成されている。図2の符号74は、プランジャ71が挿通される空間部と外部とを通じる連通孔を示す。
【0042】
また、電磁アクチュエータ7のプランジャ71における外端部には、そのプランジャ71を突出させる方向に付勢させる圧縮ばねその他任意の作動ばね75を設ける。
【0043】
この作動ばね75の装着位置は、プランジャ71に限るものではなく、それに連係させた作動レバー8としてもよい。
【0044】
図示はしないが、作動レバー8に作動ばね75を装着する場合は、作動レバー8の横軸81部分に捩りばねを施すとよい。
【0045】
前記のプランジャ71を作動ばね75の付勢により、一旦突出させた後、そのプランジャ71を原位置に復帰させるために、クラッチレバー6の先端部には山形のカム部64を形成する。
【0046】
このカム部64は、図4に示すように、ラッチボルト2の引き込み作動時(但し、この際電磁コイル73への通電はその必要が無い)、作動レバー8の他端を誘導案内し、その作動レバー8を前記のプランジャ71と共に施錠時の位置に復帰させるものである。
【0047】
次に、図5及び図6に示すこの発明の第2実施例について説明する。第2実施例と第1実施例ににおいて、同じ符号で指し示す部材は互に等効の作用を呈するものであるから、ここでは第1実施例と異なる部分についてのみ説明する。
【0048】
この実施例においては、スライダ3、リトラクタ5及びクラッチレバー6の組を錠箱1の幅方向(扉の自由側端縁方向から見た幅方向で、客観的には錠箱の厚さ方向)で対をなすようにして設ける。言い換えると、スライダ3、リトラクタ5及びクラッチレバー6の組を錠箱1の幅方向に並設させて2組設ける。
【0049】
そして、室内側の外部操作部材(図示しない)をカム4を介して一方のスライダ3に、また、室外側の外部操作部材(図示しない)を別のカム4を介して他方のスライダ3に連係させる。
【0050】
言い換えると、室内側及び室外側の外部操作部材は、互に独立して作動できるように各別のカム4、4に各別に設けた角軸41、41でそれぞれ連結するようにする。
【0051】
更に、室内側の外部操作部材が関連する一方のクラッチレバー6を常に一方のスライダ3に係合させた状態を保持させるため、一方のクラッチレバー6を一方のスライダ3に対する係合位置に拘束させる停止部材9を錠箱1に着脱可能に設ける。
【0052】
必要に応じて設けられる停止部材9は、図示例のように、ねじ杆で作り、必要な時のみ錠箱1に予め形成した雌ねじ孔12にねじ込むようにするとよい。
【0053】
以上に述べた電気錠においては、本発明に係る施解錠機構に対し公知の施解錠機構を併設することもできる。別の施解錠機構は、図示はしないが、例えば、図1で錠箱1の上方部分に設けられ、その一部をなす係止レバーがラッチボルト2の後方の突片23に関連するようにする。
【0054】
この別の施解錠機構は、純機械的なものとして、室外側からはシリンダ錠に差し込まれる鍵で操作できるようにし、また、室内側からはサムターンで操作できるようにしておけば、電気系統に故障があっても、電磁アクチュエータ7を作動させることなく、手動で施解錠できることになり、安全性を高める上で好ましい。
【0055】
なお、上記の各外部操作部材は、それぞれの角軸41等を介して錠箱1の側板並びに扉に固定させた座板に対し支承させてあり、このことは一般の外部操作部材の構成に準ずる。
【0056】
【発明の効果】
以上に説明したこの発明の電気錠によれば、施錠時室外の人が外部操作部材をむやみに回しても、クラッチレバーがスライダに係合していないので、スライダは単に空動きするだけに留まり、解錠させるための中間部材であるクラッチレバーやリトラクタ等に無理な力が掛ることもなく、それら中間部材についてがたつきの発生や損傷を防止できる効果を奏する。
【0057】
また、電磁アクチュエータとして永久磁石と電磁コイルを並設させたものは、消費電力を著しく減少させることができ、電源として電池の使用を可能にするから、扉枠から扉を経て錠に至るまでの面倒な配線工事を除去できる利点がある。
【0058】
更に、この発明の電気錠は、磁気カードや鍵を用いない自動施錠ができるばかりでなく、施錠状態において室内側から外部操作部材の回動操作のみによって自動解錠ができるようにすることのできるなど、多々の効果を奏する。
【図面の簡単な説明】
【図1】この発明の電気錠の第1実施例において、その施錠状態を示す要部の部分縦断側面図。
【図2】第1実施例において使用された電磁アクチュエータの拡大縦断側面図。
【図3】第1実施例の解錠状態を示す要部の部分縦断側面図。
【図4】解錠後外部操作部材を回した状態を示すその部分縦断側面図。
【図5】この発明の電気錠の第2実施例において、その施錠状態を示す要部の部分縦断側面図。
【図6】第2実施例において解錠後外部操作部材を回した状態を示すその部分縦断側面図。
【符号の説明】
10 扉
1 錠箱
2 デッドボルトを兼ねたラッチボルト
3 スライダ
31 戻しばね
4 カム
5 リトラクタ
6 クラッチレバー
62 制御ばね
64 カム部
7 電磁アクチュエータ
71 プランジャ
75 作動ばね
8 作動レバー
9 停止部材
【産業上の利用分野】
この発明は、施解錠を電気的に行う電気錠に関する。
【0002】
【従来の技術】
従来の電気錠の一般的なものにおいて、デッドボルトを兼ねるラッチボルトを施錠位置に拘束させるためには、例えば、電磁アクチュエータによって作動される係止レバーをラッチボルトの首部に係合させることによって行っている。
【0003】
この施錠状態において、レバーハンドル等の外部操作部材を無理に回すと、カム、スライダ並びにレバー等を介してラッチボルトが後方に押されるため、ラッチボルトの施解錠機構である係止レバーや電磁アクチュエータに不要な力が作用することになる。
【0004】
前記のような不要な力が長期に亘り繰返えし加えられると、施解錠機構にがたつきを発生させ、また、その機構を破損させることにもなる、という不都合がある。
【0005】
【発明が解決しようとする課題】
この発明は、前記の問題点を解決した新規な構造の電気錠を提案すること、消費電力を小さくした電気錠を提案すること、並びに、施錠状態であっても室内側からはレバーハンドル等の外部操作部材の回動操作によって自動解錠できる電気錠を提案することを目的としている。
【0006】
【課題を解決するための手段】
上記の目的を解決するため、請求項1に記載の発明は、扉に固定される錠箱と、錠箱内で水平に移動可能に案内され、先端が錠箱から突出する方向に付勢されたデッドボルトを兼ねるラッチボルトと、戻しばねを備え、錠箱内で水平に移動可能に案内されると共に、外部操作部材でカムを介して作動されるスライダと、このスライダと一部重合する態様で錠箱に基端が枢着され、先端をラッチボルトの後部に係合させたリトラクタと、リトラクタに基端が枢着され、解錠時水平な角度位置で先端をスライダに係合させると共に、先端に山形のカム部を形成したクラッチレバーと、クラッチレバーをスライダと係合させない方向に付勢する制御ばねと、錠箱内に配設され、プランジャと、プランジャを吸引する永久磁石と、その永久磁石の磁束を制御する電磁コイルとで構成された電磁アクチュエータと、上記プランジャを突出させる方向に付勢する作動ばねと、一端をプランジャの先端に連係させ、他端をクラッチレバーに対向させた作動レバーとを有し、解錠時、電磁アクチュエータの電磁コイルを作動させてプランジャを永久磁石から解放し、作動ばねの弾力により、作動レバーの他端を介して、クラッチレバーを水平な角度位置になるように押動し、以てその先端をスライダに係合させ、外部操作部材を回してスライダを水平方向、錠箱内方に移動させたとき、クラッチレバーを介してリトラクタの先端を水平方向の内方に移動させてラッチボルトを錠箱内に引込ませ、その間水平な角度位置にあるクラッチレバーと作動レバーの他端との係合を保ち、リトラクタの内方への移動の終端付近においてクラッチレバーの先端の山形のカム部と作動レバーの他端との間に生じる楔作用により、作動レバーの一端を介して、プランジャを電磁アクチュエータ内に押込み、以てプランジャを永久磁石に吸着させて電磁アクチュエータを安定的に施錠状態に設定するようにしたことを特徴とする。
【0007】
また、この発明の請求項2に記載の電気錠は、請求項1に記載の電気錠において、前記スライダ、リトラクタ及びクラッチレバーをそれぞれ錠箱の幅方向に互に独立して作動できるように対をなして設けると共に、室内側の外部操作部材をカムを介して一方のスライダに、また、室外側の外部操作部材を別のカムを介して他方のスライダに連係し、一方のクラッチレバーを常に一方のスライダに係合させた状態を保持させるため、一方のクラッチレバーを一方のスライダに対する係合位置に拘束させる停止部材を錠箱に着脱可能に設けたことを特徴とする。
【0008】
【作用】
この発明の第1実施例を示す図1において、デッドボルトを兼ねるラッチボルト2は、ラッチばね21で付勢されて突出されてあり、施錠状態にある。この状態では、室内側又は室外側の外部操作部材(図示しない)を手で回して操作すると、スライダ3はカム4を介して戻しばね31に抗して後方へ変位するが、そのスライダ3とリトラクタ5との間は非接続状態にあるため、すなわち、リトラクタ5上のクラッチレバー6がスライダ3に対し非係合状態にあるため、スライダ3の後方への変位はリトラクタ5並びにラッチボルト2とは関係のない空動きに過ぎないことになる。
【0009】
図1に示す電気錠を解錠するためには、例えば、磁気カードを別に装備された磁気カードリーダーに差し込むことにより、電磁アクチュエータ7に通電してプランジャ71を突出又は没入方向へ変位させ、作動レバー8を図1で左回りに揺動させる。
【0010】
作動レバー8がクラッチレバー6を制御ばね62に抗して図3で右回りに押動させている間に、換言すれば、作動レバー8がクラッチレバー6をスライダ3に係合させている間に、室内側又は室外側の外部操作部材(図示しない)を回動操作すると、図4に示すように、カム4を介して後方へ変位するスライダ3がクラッチレバー6によって接続(連結)されたリトラクタ5を右回りに揺動させることになる。
【0011】
前記のようにリトラクタ5が揺動すると、その先端でラッチボルト2をラッチばね21に抗して引き込ませるので、扉10は外部操作部材の押し引きにより開閉できることになる。
【0012】
図示例の電磁アクチュエータ7は、図2に明示するように、施錠時にプランジャ71が永久磁石72に吸着されており、電磁コイル73に一時的に通電されると、電磁コイル73が永久磁石72の磁束を打消すように作用して、永久磁石73の磁気吸引力が十分弱められる。
【0013】
そこで、永久磁石72に対するプランジャ71の吸着が解かれ、プランジャ71は作動ばね75の付勢により突出し、上記したように作動レバー8を揺動させる。
【0014】
プランジャ71の原位置(図1又は図2に図示した位置)への復動は、スライダ3が外部操作部材により図3の位置から図4の位置に移動する間に、作動レバー8の他端がクラッチレバー6の山形のカム部64で揺動案内されることにより、達成される。
【0015】
すなわち、作動レバー8が作動ばね75に抗して原位置に復帰し、プランジャ71は永久磁石72に吸着される。
【0016】
なお、プランジャ71を上述のように突出させるための電磁コイル73への通電時間は数ミリセカンド(ms)程度で十分であり、又、プランジャ71の復動時には、電磁コイル73に通電する必要はない。
【0017】
従って、図示例の電磁アクチュエータ7を用いたものでは、電気錠の消費電力を著しく減少させることができる。
【0018】
また、この発明の電気錠では、図示はしないが、極く一般的な電磁アクチュエータ、すなわち、通電時にプランジャが没入方向へ変位する形式の電磁アクチュエータを用いることができる。
【0019】
ただし、この形式の電磁アクチュエータでは前記のような消費電力の削減を計ることはできないが、施解錠作動については特に支障を来たすことはない。
【0020】
図5及び図6に示す第2実施例においては、対をなして設けられるスライダ3、リトラクタ5及びクラッチレバー6の2組の内、室内側に位置する一方の組について、その一方のクラッチレバー6を錠箱1に着脱可能に設けた停止部材9により、一方のスライダ3に対し係合する位置に例えば押し上げて拘束させてある。
【0021】
室内側の外部操作部材を単に回動操作すれば、電磁アクチュエータ7に通電することなく、一方の組のカム4、スライダ3、クラッチレバー6及びリトラクタ5を介してラッチボルト2を図5の位置から図6の位置に引き込ませることができる。
【0022】
言い換えると、第2実施例のものは、磁気カード等を用いることなく、また、電磁アクチュエータ7とは無関係に、室内側の外部操作部材の操作だけで自動解錠されることになる。
【0023】
なお、この発明の電気錠において、室外側又は室内側の外部操作部材を手で握って回動した後(図4又は図6参照)、その外部操作部材から手を離せば、変位していた各部材はいずれも当初の位置(図1又は図5参照)に復帰することは言うまでもない。
【0024】
【実施例】
以下図面に示すこの発明の実施例について説明する。
図1〜図4は第1実施例を、図5及び図6は第2実施例をそれぞれ示す。
【0025】
図1〜図4の第1実施例において、10は扉、20は扉枠、30は扉枠20に固定されたストライク、1は扉10に固定される錠箱をそれぞれ示す。
【0026】
前記の錠箱1内には適当な公知の案内手段で水平(前後方向)に移動できるように案内されるデッドボルトを兼ねるラッチボルト2が設けてあり、そのラッチボルト2は先端のラッチヘッドが錠箱1のフロント板11から突出する方向に圧縮ばね等のラッチばね21により付勢させてある。図示例のラッチボルト2はそのラッチヘッドの一側(図1の裏面側)に斜面を有する。
【0027】
錠箱1内における前記のラッチボルト2と平行をなす位置には、互に摺動可能に嵌め合された2本の摺動杆からなる一対の案内手段32その他任意の案内手段により水平(前後方向)に移動可能に案内されるスライダ3が設けてある。
【0028】
スライダ3は、前記の案内手段32を兼ねる取付杆に嵌挿された圧縮ばねその他任意の戻しばね31により、フロント板11に向け付勢させてある。
【0029】
そして、このスライダ3は、レバーハンドル等の外部操作部材(図示しない)で、カム4を介して後方に向け作動されるようにしてあり、外部操作部材から手を離せば戻しばね31の付勢力により前方位置に復帰する。
【0030】
符号41は室内側及び/又は室外側の外部操作部材とカム4とを連結させる角軸である。
【0031】
錠箱1の側板に基端を横軸51で枢着された側面がく字状をなすリトラクタ5は、解錠時のスライダ3の後方への作動を後述のクラッチレバー6を介して選択的にラッチボルト2に伝達するために設けられたもので、その先端は例えばラッチボルト2の後部にフランジ状に固設した衝合片22に衝接係合させてある。
【0032】
リトラクタ5の先端をラッチボルト2の後部に当接させるため、図示例においては、リトラクタ5の基端部に設けたねじりばね52によって、該リトラクタ5を図1で右回りに付勢させてあるが、両部材2、5の係合は他の手段によっても行い得る。
【0033】
他の係合手段としては、図示はしないが、リトラクタ5の先端をラッチボルト2の後部に設けた係合凹部に可動に嵌挿させたものを挙げることができる。
【0034】
上記のスライダ3とリトラクタ5とを図1の非接続状態又は図3の接続状態にするためには、リトラクタ5の長さ方向の中間部に基端が横軸61で枢着されたクラッチレバー6の先端を、スライダ3の例えば下辺部に設けた切欠き33に嵌め外して行なう。
【0035】
前記のクラッチレバー6の横軸61の回りには、クラッチレバー6をスライダ3と係合させない方向に付勢させるねじりばね等の制御ばね62が施されている。
【0036】
符号63はクラッチレバー6の先端に固定したピンその他の突片で、スライダ3の切欠き33に嵌め外しされるものである。
【0037】
次に、前記のクラッチレバー6を変位させる機構について説明する。錠箱1内におけるスライダ3の近傍には、電磁アクチュエータ7が固定してある。
【0038】
この電磁アクチュエータ7は、磁気カード又は磁石カードのカードリーダへの差込み、或いは所謂テンキー入力盤と称される暗証符号入力盤に暗証符号を入力することにより解錠信号が発生すると通電され、プランジャ71が突出作動又は没入作動するもので、プランジャ71の通電時の動作に伴ってそのプランジャ71に連係させた作動レバー8を揺動させる。
【0039】
中間部が錠箱1の側板に横軸81で枢着された作動レバー8は、その一端を電磁アクチュエータ7のプランジャ71にピンと長孔との組などの連係手段で可動に連結してあり、また、他端に固定したピンその他の係合突片82をクラッチレバー6に当接させるようにして対向させてあり、前記の電磁アクチュエータ7の動作に伴って、クラッチレバー6の先端をスライダ3に対し選択的に係合させる。
【0040】
電磁アクチュエータ7の例としては、電磁コイルへの通電時にプランジャが吸着により没入方向(引込み方向)に変位する形式の極く一般的なもの、あるいは永久磁石と電磁コイルとを組み合せて通電時磁束の減少を計ってプランジャを突出方向に変位させる形式のやゝ特殊なもの(例えば、特公平2−57637号公報を参照)を挙げることができるが、この発明の第1実施例及び第2実施例ではいずれも後者の電磁アクチュエータを採用している。
【0041】
実施例の電磁アクチュエータ7は、図2に明示するように、プランジャ71の軸線方向に着磁され、そのプランジャ71を吸引する永久磁石72と、その永久磁石72に連設され、永久磁石72の磁石を制御する電磁コイル73とで構成されている。図2の符号74は、プランジャ71が挿通される空間部と外部とを通じる連通孔を示す。
【0042】
また、電磁アクチュエータ7のプランジャ71における外端部には、そのプランジャ71を突出させる方向に付勢させる圧縮ばねその他任意の作動ばね75を設ける。
【0043】
この作動ばね75の装着位置は、プランジャ71に限るものではなく、それに連係させた作動レバー8としてもよい。
【0044】
図示はしないが、作動レバー8に作動ばね75を装着する場合は、作動レバー8の横軸81部分に捩りばねを施すとよい。
【0045】
前記のプランジャ71を作動ばね75の付勢により、一旦突出させた後、そのプランジャ71を原位置に復帰させるために、クラッチレバー6の先端部には山形のカム部64を形成する。
【0046】
このカム部64は、図4に示すように、ラッチボルト2の引き込み作動時(但し、この際電磁コイル73への通電はその必要が無い)、作動レバー8の他端を誘導案内し、その作動レバー8を前記のプランジャ71と共に施錠時の位置に復帰させるものである。
【0047】
次に、図5及び図6に示すこの発明の第2実施例について説明する。第2実施例と第1実施例ににおいて、同じ符号で指し示す部材は互に等効の作用を呈するものであるから、ここでは第1実施例と異なる部分についてのみ説明する。
【0048】
この実施例においては、スライダ3、リトラクタ5及びクラッチレバー6の組を錠箱1の幅方向(扉の自由側端縁方向から見た幅方向で、客観的には錠箱の厚さ方向)で対をなすようにして設ける。言い換えると、スライダ3、リトラクタ5及びクラッチレバー6の組を錠箱1の幅方向に並設させて2組設ける。
【0049】
そして、室内側の外部操作部材(図示しない)をカム4を介して一方のスライダ3に、また、室外側の外部操作部材(図示しない)を別のカム4を介して他方のスライダ3に連係させる。
【0050】
言い換えると、室内側及び室外側の外部操作部材は、互に独立して作動できるように各別のカム4、4に各別に設けた角軸41、41でそれぞれ連結するようにする。
【0051】
更に、室内側の外部操作部材が関連する一方のクラッチレバー6を常に一方のスライダ3に係合させた状態を保持させるため、一方のクラッチレバー6を一方のスライダ3に対する係合位置に拘束させる停止部材9を錠箱1に着脱可能に設ける。
【0052】
必要に応じて設けられる停止部材9は、図示例のように、ねじ杆で作り、必要な時のみ錠箱1に予め形成した雌ねじ孔12にねじ込むようにするとよい。
【0053】
以上に述べた電気錠においては、本発明に係る施解錠機構に対し公知の施解錠機構を併設することもできる。別の施解錠機構は、図示はしないが、例えば、図1で錠箱1の上方部分に設けられ、その一部をなす係止レバーがラッチボルト2の後方の突片23に関連するようにする。
【0054】
この別の施解錠機構は、純機械的なものとして、室外側からはシリンダ錠に差し込まれる鍵で操作できるようにし、また、室内側からはサムターンで操作できるようにしておけば、電気系統に故障があっても、電磁アクチュエータ7を作動させることなく、手動で施解錠できることになり、安全性を高める上で好ましい。
【0055】
なお、上記の各外部操作部材は、それぞれの角軸41等を介して錠箱1の側板並びに扉に固定させた座板に対し支承させてあり、このことは一般の外部操作部材の構成に準ずる。
【0056】
【発明の効果】
以上に説明したこの発明の電気錠によれば、施錠時室外の人が外部操作部材をむやみに回しても、クラッチレバーがスライダに係合していないので、スライダは単に空動きするだけに留まり、解錠させるための中間部材であるクラッチレバーやリトラクタ等に無理な力が掛ることもなく、それら中間部材についてがたつきの発生や損傷を防止できる効果を奏する。
【0057】
また、電磁アクチュエータとして永久磁石と電磁コイルを並設させたものは、消費電力を著しく減少させることができ、電源として電池の使用を可能にするから、扉枠から扉を経て錠に至るまでの面倒な配線工事を除去できる利点がある。
【0058】
更に、この発明の電気錠は、磁気カードや鍵を用いない自動施錠ができるばかりでなく、施錠状態において室内側から外部操作部材の回動操作のみによって自動解錠ができるようにすることのできるなど、多々の効果を奏する。
【図面の簡単な説明】
【図1】この発明の電気錠の第1実施例において、その施錠状態を示す要部の部分縦断側面図。
【図2】第1実施例において使用された電磁アクチュエータの拡大縦断側面図。
【図3】第1実施例の解錠状態を示す要部の部分縦断側面図。
【図4】解錠後外部操作部材を回した状態を示すその部分縦断側面図。
【図5】この発明の電気錠の第2実施例において、その施錠状態を示す要部の部分縦断側面図。
【図6】第2実施例において解錠後外部操作部材を回した状態を示すその部分縦断側面図。
【符号の説明】
10 扉
1 錠箱
2 デッドボルトを兼ねたラッチボルト
3 スライダ
31 戻しばね
4 カム
5 リトラクタ
6 クラッチレバー
62 制御ばね
64 カム部
7 電磁アクチュエータ
71 プランジャ
75 作動ばね
8 作動レバー
9 停止部材
Claims (2)
- 扉に固定される錠箱と、錠箱内で水平に移動可能に案内され、先端が錠箱から突出する方向に付勢されたデッドボルトを兼ねるラッチボルトと、戻しばねを備え、錠箱内で水平に移動可能に案内されると共に、外部操作部材でカムを介して作動されるスライダと、このスライダと一部重合する態様で錠箱に基端が枢着され、先端をラッチボルトの後部に係合させたリトラクタと、リトラクタに基端が枢着され、解錠時水平な角度位置で先端をスライダに係合させると共に、先端に山形のカム部を形成したクラッチレバーと、クラッチレバーをスライダと係合させない方向に付勢する制御ばねと、錠箱内に配設され、プランジャと、プランジャを吸引する永久磁石と、その永久磁石の磁束を制御する電磁コイルとで構成された電磁アクチュエータと、上記プランジャを突出させる方向に付勢する作動ばねと、一端をプランジャの先端に連係させ、他端をクラッチレバーに対向させた作動レバーとを有し、解錠時、電磁アクチュエータの電磁コイルを作動させてプランジャを永久磁石から解放し、作動ばねの弾力により、作動レバーの他端を介して、クラッチレバーを水平な角度位置になるように押動し、以てその先端をスライダに係合させ、外部操作部材を回してスライダを水平方向、錠箱内方に移動させたとき、クラッチレバーを介してリトラクタの先端を水平方向の内方に移動させてラッチボルトを錠箱内に引込ませ、その間水平な角度位置にあるクラッチレバーと作動レバーの他端との係合を保ち、リトラクタの内方への移動の終端付近においてクラッチレバーの先端の山形のカム部と作動レバーの他端との間に生じる楔作用により、作動レバーの一端を介して、プランジャを電磁アクチュエータ内に押込み、以てプランジャを永久磁石に吸着させて電磁アクチュエータを安定的に施錠状態に設定するようにしたことを特徴とする電気錠。
- 前記スライダ、リトラクタ及びクラッチレバーをそれぞれ錠箱の幅方向に互に独立して作動できるように対をなして設けると共に、室内側の外部操作部材をカムを介して一方のスライダに、また、室外側の外部操作部材を別のカムを介して他方のスライダに連係し、一方のクラッチレバーを常に一方のスライダに係合させた状態を保持させるため、一方のクラッチレバーを一方のスライダに対する係合位置に拘束させる停止部材を錠箱に着脱可能に設けたことを特徴とする請求項1に記載の電気錠。
Priority Applications (1)
| Application Number | Priority Date | Filing Date | Title |
|---|---|---|---|
| JP16597794A JP3602870B2 (ja) | 1994-06-24 | 1994-06-24 | 電気錠 |
Applications Claiming Priority (1)
| Application Number | Priority Date | Filing Date | Title |
|---|---|---|---|
| JP16597794A JP3602870B2 (ja) | 1994-06-24 | 1994-06-24 | 電気錠 |
Publications (2)
| Publication Number | Publication Date |
|---|---|
| JPH084383A JPH084383A (ja) | 1996-01-09 |
| JP3602870B2 true JP3602870B2 (ja) | 2004-12-15 |
Family
ID=15822600
Family Applications (1)
| Application Number | Title | Priority Date | Filing Date |
|---|---|---|---|
| JP16597794A Expired - Fee Related JP3602870B2 (ja) | 1994-06-24 | 1994-06-24 | 電気錠 |
Country Status (1)
| Country | Link |
|---|---|
| JP (1) | JP3602870B2 (ja) |
Families Citing this family (9)
| Publication number | Priority date | Publication date | Assignee | Title |
|---|---|---|---|---|
| JP4597010B2 (ja) | 2005-09-01 | 2010-12-15 | シャープ株式会社 | 給紙装置 |
| KR100581735B1 (ko) * | 2005-11-17 | 2006-05-22 | (주)동광알파 | 전자 도어락의 데드볼트 락킹구조 |
| KR100706762B1 (ko) * | 2006-08-04 | 2007-04-13 | 서울통신기술 주식회사 | 멀티볼트를 갖는 모티스 락 |
| KR100848704B1 (ko) * | 2007-01-02 | 2008-07-28 | 배종식 | 현관문용 도어록장치 |
| KR20080065515A (ko) * | 2007-05-31 | 2008-07-14 | 주식회사 테크슈머 | 도어록 장치 |
| KR100940861B1 (ko) * | 2009-04-22 | 2010-02-09 | 윤병만 | 현관문용 도어록 장치 |
| CN102226361B (zh) * | 2011-05-24 | 2013-11-20 | 陈润明 | 带空转插芯式电控门锁锁芯装置 |
| CN110043133B (zh) * | 2019-05-24 | 2023-11-28 | 河北贝安比工业设计有限责任公司 | 一种保险箱门锁的总成机构 |
| CN110424824B (zh) * | 2019-08-26 | 2024-07-19 | 杭州因硕智能科技有限公司 | 一种半自动的木门锁单舌锁体 |
-
1994
- 1994-06-24 JP JP16597794A patent/JP3602870B2/ja not_active Expired - Fee Related
Also Published As
| Publication number | Publication date |
|---|---|
| JPH084383A (ja) | 1996-01-09 |
Similar Documents
| Publication | Publication Date | Title |
|---|---|---|
| US7963574B2 (en) | Fail safe/fail secure lock with quick change access window | |
| JP3588453B2 (ja) | 車両ドアラッチ装置 | |
| US4573333A (en) | Electrical door lock | |
| US6474120B1 (en) | Bolt assembly | |
| US4854619A (en) | Electric key | |
| JP3602870B2 (ja) | 電気錠 | |
| JPH1068254A (ja) | 電磁操作式の錠 | |
| JP2813989B2 (ja) | 作動モード切替え可能電気錠 | |
| JP4108163B2 (ja) | 錠止装置 | |
| JP3870352B2 (ja) | 錠装置 | |
| JPH0240207Y2 (ja) | ||
| JP5074991B2 (ja) | プッシュプル電気錠 | |
| JPH0341016Y2 (ja) | ||
| JP5058868B2 (ja) | プッシュプル電気錠 | |
| JP4380830B2 (ja) | 家具における扉のロック装置 | |
| JPH10266653A (ja) | 家具における扉のロック装置 | |
| JPH065481Y2 (ja) | 電気錠 | |
| JPH0225898Y2 (ja) | ||
| JP3673953B2 (ja) | 電気錠用外出確認信号発生装置 | |
| JPH0318606Y2 (ja) | ||
| JP5107780B2 (ja) | プッシュプル電気錠 | |
| JPH11125048A (ja) | 錠止装置 | |
| JP3484616B2 (ja) | 引戸用電気錠 | |
| JP2591004Y2 (ja) | 引戸の電気錠 | |
| JPH09125764A (ja) | 非常口用電気ストライク |
Legal Events
| Date | Code | Title | Description |
|---|---|---|---|
| TRDD | Decision of grant or rejection written | ||
| A01 | Written decision to grant a patent or to grant a registration (utility model) |
Free format text: JAPANESE INTERMEDIATE CODE: A01 Effective date: 20040826 |
|
| A61 | First payment of annual fees (during grant procedure) |
Free format text: JAPANESE INTERMEDIATE CODE: A61 Effective date: 20040927 |
|
| R150 | Certificate of patent or registration of utility model |
Free format text: JAPANESE INTERMEDIATE CODE: R150 |
|
| FPAY | Renewal fee payment (event date is renewal date of database) |
Free format text: PAYMENT UNTIL: 20081001 Year of fee payment: 4 |
|
| LAPS | Cancellation because of no payment of annual fees |