JP3593771B2 - 熱処理炉 - Google Patents
熱処理炉 Download PDFInfo
- Publication number
- JP3593771B2 JP3593771B2 JP34780095A JP34780095A JP3593771B2 JP 3593771 B2 JP3593771 B2 JP 3593771B2 JP 34780095 A JP34780095 A JP 34780095A JP 34780095 A JP34780095 A JP 34780095A JP 3593771 B2 JP3593771 B2 JP 3593771B2
- Authority
- JP
- Japan
- Prior art keywords
- pot
- heat treatment
- furnace
- temperature
- cooling
- Prior art date
- Legal status (The legal status is an assumption and is not a legal conclusion. Google has not performed a legal analysis and makes no representation as to the accuracy of the status listed.)
- Expired - Lifetime
Links
Images
Landscapes
- Muffle Furnaces And Rotary Kilns (AREA)
Description
【発明の属する技術分野】
本願発明は、熱処理炉に関し、詳しくは、被熱処理物を入れたポットを、上下に分割可能な炉本体内に配設されたローラ上に置き、ローラを回転させることによりポットを回転させながら熱処理を行う熱処理炉(分割式ポット回転熱処理炉)に関する。
【0002】
【従来の技術】
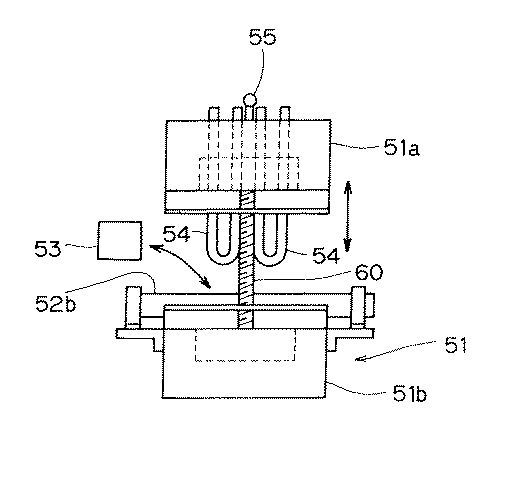
従来の分割式ポット回転熱処理炉としては、例えば、図6,図7に示すような熱処理炉がある。
【0003】
この従来の分割式ポット回転熱処理炉は、図6,図7に示すように、上下に分割できるように構成された炉本体51と、炉本体51を貫通するように所定の間隔をおいて配設された一対のローラ52a,52bと、ローラ52a,52b上に置かれ、ローラ52a,52bの回転にともなって回転することにより内部に収容された被熱処理物(図示せず)を転動させながら熱処理を行わしめるための、円筒状のポット53とを備えて構成されている。
【0004】
炉本体51は、昇降手段60によって、その上側部分(上部炉本体)51aを昇降させることにより、炉本体51を上部炉本体51aと下部炉本体51bに分割したり、上下に分割された上部炉本体51aと下部炉本体51bを合体させたりすることができるように構成されており、炉本体51内には、U字形のヒータ54がポット53の横に位置するように配設されている。さらに、炉本体51には、炉本体51の内部温度を検出するための熱電対55が挿入、配設されている。
【0005】
また、ローラ52a,52bは、図6(c)に示すように、モータ56、チェーン57、スプロケット58などから構成される回転駆動手段59により回転、駆動されるように構成されている。
【0006】
上記のように構成された分割式ポット回転熱処理炉は、被熱処理物を入れたポットを回転させながら加熱を行うことにより、均一な熱処理を行うことができるという特徴を有している。
【0007】
ところで、上記の分割式ポット回転熱処理炉においては、熱処理が終了した後、昇降手段60により、上部炉本体51aを上昇させることにより、炉本体51を上下に分割し、内部に外気を取り込むことにより冷却を行っている。
【0008】
【発明が解決しようとする課題】
しかし、上記の冷却方法では、冷却速度などの冷却条件を制御するために、上部炉本体51aを段階的に徐々に上昇させるようにした場合などにおいては、炉内に高温ガスが滞留して意図するような条件で冷却を行うことが困難であるという問題点があり、また、炉本体51内の温度とポット53内の温度の関係にばらつきが生じ、炉本体51内の温度を検出するだけでは、冷却条件を十分に制御することができないという問題点がある。
【0009】
また、急冷を行うために、上部炉本体51aを急激に上昇させて外気を炉本体51内に取り入れるようにした場合、ポット53が急激に冷却され過ぎて変形や破損を招く場合がある。さらに、急冷の際に、冷却条件と実測温度の差が大きくなりすぎて、かえってヒータ54を加熱させてしまう(すなわち、熱電対55により検出されるポット53の外側の炉内雰囲気温度がポット内の温度よりも大幅に低くなり、冷却条件に適合させるためにヒータを作動させてしまう)ことにより、冷却条件を制御することができなくなるという問題点がある。
【0010】
本願発明は、上記問題点を解決するものであり、冷却条件を確実に制御することが可能で、かつ、急冷にも対応することが可能な熱処理炉を提供することを目的とする。
【0011】
【課題を解決するための手段】
上記目的を達成するために、本願第1の発明の熱処理炉は、
上下に分割できるように構成された炉本体と、
少なくとも一部が前記炉本体内に位置するように、所定の間隔をおいて配設された一対のローラと、
前記炉本体内において、前記一対のローラ上に置かれ、前記ローラの回転にともなって回転することにより、内部に収容された被熱処理物を転動させながら熱処理を行わしめるポットと
を具備してなる熱処理炉であって、
熱処理が終了した後の冷却工程において、前記炉本体内の少なくとも前記ポットの近傍に冷却ガスを供給することができるようにしたこと
を特徴としている。
【0012】
また、前記ポット内の温度を検出するための温度検出手段を設けたことを特徴としている。
【0013】
また、前記温度検出手段を、前記ポットの回転中心軸に沿って、前記ポット内に挿入、配設することにより、前記ポット内の温度を直接に検出できるようにしたことを特徴としている。
【0014】
また、本願第2の発明の熱処理炉は、
上下に分割できるように構成された炉本体と、
少なくとも一部が前記炉本体内に位置するように、所定の間隔をおいて配設された一対のローラと、
前記炉本体内において、前記一対のローラ上に置かれ、前記ローラの回転にともなって回転することにより、内部に収容された被熱処理物を転動させながら熱処理を行わしめるポットと
を具備してなる熱処理炉であって、
前記炉本体内の少なくとも前記ポットの近傍及び内部の両方に冷却ガスを供給することができるようにしたこと
を特徴としている。
【0015】
また、前記ポット内の温度を検出するための温度検出手段を設けたことを特徴としている。
【0016】
また、冷却ガス供給管及び温度検出手段を、前記ポットの回転中心軸に沿って、前記ポットの内部に挿入することにより、前記ポットの内部に冷却ガスを供給するとともに、前記ポット内の温度を直接に検出できるようにしたことを特徴としている。
【0017】
【作用】
本願第1の発明の熱処理炉においては、炉本体内の少なくともポットの近傍に冷却ガスを供給するようにしているので、ポットを効率よく冷却するとともに、炉本体内の高温ガスに所定の方向への流れを与えて、排気の効率を向上させることが可能になる。したがって、炉本体内の雰囲気及びポットの内部を効率よく安定した速度で冷却することが可能になり、冷却条件を確実に制御して、意図するような冷却を行うことができるようになる。
【0018】
また、さらに、前記ポット内の温度を検出するための温度検出手段を設けることにより、被熱処理物に最も近い位置の雰囲気温度を直接に検出することが可能になり、冷却条件をさらに確実に制御することができるようになる。
【0019】
また、前記温度検出手段を前記ポットの回転中心軸に沿って、前記ポット内に挿入、配設することにより、ポットの回転を妨げることなく、ポット内の温度を直接に検出することができるようになり、本願発明をさらに実効あらしめることが可能になる。
【0020】
また、本願第2の発明の熱処理炉においては、冷却ガス供給管及び前記温度検出手段を前記ポットの回転中心軸に沿って、前記ポット内に挿入、配設することが望ましい。このようにすることにより、ポットの回転を妨げることなく、ポット内の温度を直接に検出したり、あるいはポット内に冷却ガスを供給するとともに、ポット内の温度を直接に検出したりすることができるようになり、本願発明をさらに実効あらしめることが可能になる。
【0021】
また、さらに、前記ポット内の温度を検出するための温度検出手段を設けることにより、被熱処理物に最も近い位置の雰囲気温度を直接に検出することが可能になり、冷却条件をさらに確実に制御することができるようになる。
【0022】
また、冷却ガス供給管及び前記温度検出手段を前記ポットの回転中心軸に沿って、前記ポット内に挿入、配設することにより、ポットの回転を妨げることなく、ポット内に冷却ガスを供給するとともに、ポット内の温度を直接に検出することができるようになり、本願発明をさらに実効あらしめることが可能になる。
【0023】
【発明の実施の形態】
以下、本願発明の実施の形態を示してその特徴とするところをさらに詳しく説明する。
【0024】
図1は本願第1の発明の一実施の形態にかかる熱処理炉を示す図であり、(a)は平面図、(b)は正面図、(c)は側面図である。
【0025】
この熱処理炉は、上下に分割できるように構成された炉本体1と、炉本体1を貫通するように所定の間隔をおいて配設された一対のローラ2a,2bと、ローラ2a,2b上に置かれ、ローラ2a,2bの回転にともなって回転して、内部に収容された被熱処理物(図示せず)を転動させながら熱処理を行わしめるポット3と、炉本体1の内部に冷却ガスを供給するための冷却ガス供給管11a,11b,11cとを備えて構成されている。
【0026】
また、ローラ2a,2bは、図1(c)に示すように、モータ6、チェーン7、スプロケット8などから構成される回転駆動手段9により回転、駆動されるように構成されている。
【0027】
炉本体1は、断熱材やれんがなどの耐火物を用いて構成されている。また、炉本体1は、昇降手段10によって、その上側部分(上部炉本体)1aを昇降させることにより、炉本体1を上部炉本体1aと下部炉本体1bに分割したり、上下に分割された上部炉本体1aと下部炉本体1bを合体させたりすることができるように構成されている。
【0028】
また、炉本体1内には、U字形のヒータ4がポット3の横に位置するように配設されているとともに、炉本体1内の雰囲気温度を検出するための温度検出手段(ここでは熱電対)5が挿入、配設されている。そして、この熱電対5により検出される温度に応じてヒータ4による加熱条件が制御されるように構成されている。
【0029】
なお、冷却ガス供給管(第1の冷却ガス供給管)11aは、ポット3の近傍に冷却ガスを供給することができるように、ローラ2a,2bの間のやや下側の位置に挿入されており、また、2本の冷却ガス供給管(第1の冷却ガス供給管)11b,11cは、ローラ2a,2bの外側の位置に配設されている。また、ローラ2a,2bや冷却ガス供給管11a,11b,11cは、耐火性に優れた炭化ケイ素やアルミナなどの耐火材料や、あるいはインコネルなどの耐熱性に優れた金属材料から構成されている。
【0030】
また、冷却ガス供給管11a,11b,11cには、所定の位置に冷却ガスが吹き出すガス供給穴(図示せず)が形成されている。なお、第1の冷却ガス供給管11aのガス供給穴は、通常、そこから吹き出す冷却ガスがポット3の中心部に向うものと、ポット3の外周部に向うものとが所定の割合になるように形成することが望ましい。また、第2の冷却ガス供給管11b,11cのガス供給穴は、上部炉本体1aを上昇させたときに、上部炉本体1a及び下部炉本体1bの間に形成される隙間から、炉本体1内の雰囲気ガスが外部に排出されるような方向に冷却ガスが吹き出すような位置に形成されていることが望ましい。なお、図2(a)は第1の冷却ガス供給管11aに、その長手方向に一列にガス供給穴を形成し、そのガス供給穴から、ポット3の中心方向に向って冷却ガスを吹き出させた状態、図2(b)は2列にガス供給穴を形成し、各ガス供給穴からポット3の外周方向に向って冷却ガスを吹き出させた状態、図2(c)は3列にガス供給穴を形成し、各ガス供給穴からポット3の中心方向及び外周方向に向って冷却ガスを吹き出させた状態を示している。
【0031】
また、図3は、冷却ガス供給管11a,11b(図3では冷却ガス供給管11cは省略している)から冷却ガスを吹き出すことにより、ポット3を冷却するとともに、上部炉本体1aと下部炉本体1bの間の隙間から、炉本体1内の雰囲気ガスを外部に排出するようにした冷却工程を示している。
【0032】
上記の熱処理炉においては、ポット3の近傍(及び炉本体1内の雰囲気ガスを外部に流出させるのに好適な位置)に冷却ガスを供給するようにしているので、ポットを効率よく冷却するとともに、炉本体内の高温ガスに所定の方向への流れを与えて、排気の効率を向上させることが可能になる。したがって、炉本体1内の雰囲気及びポット3の内部を効率よく安定した速度で冷却することが可能になり、冷却条件を確実に制御して、意図するような冷却を行うことができる。
【0033】
なお、前述の従来の方法では、冷却に約6時間を要していたが、第1の冷却ガス供給管11aのみを設けた場合において、▲1▼冷却ガス供給管11aに、その長手方向に一列にガス供給穴を形成し(図2(a))、そのガス供給穴から、ポット3の中心方向に向って冷却ガスを吹き出させた場合、▲2▼2列にガス供給穴を形成し、各ガス供給穴からポット3の外周方向に向って冷却ガスを吹き出させた場合(図2(b))、▲3▼3列にガス供給穴を形成し、各ガス供給穴からポット3の中心方向及び外周方向に向って冷却ガスを吹き出させた場合(図2(c))及び、さらに、第1の冷却ガス供給管11aとともに、第2の冷却ガス供給管11b,11c(ガス供給穴は1列)を設けた場合の冷却時間を表1に示す。
【0034】
【表1】
【0035】
表1より、第1の冷却ガス供給管のみを設けた場合でも、冷却時間が大幅に短縮されることがわかる。また、ガス供給穴の列数を増やすと冷却時間がさらに短縮されることがわかる。また、第2の冷却ガス供給管を設けた場合には、さらに冷却時間が短くなることがわかる。
【0036】
また、図4は、本願第2の発明の実施の形態にかかる熱処理炉の要部を示す斜視図である。なお、この熱処理炉は、図4に示すようにポット3の端面3aに形成された挿入穴23から、ポット3の回転中心軸Xに沿って、ポット用冷却ガス供給管21及びポット内部温度検出手段(ここでは熱電対)22をポット3の内部に挿入することにより、ポット3の内部に冷却ガスを供給するとともに、ポット3の内部温度を直接に検出することができるように構成されている。なお、この熱処理炉においては、ポット3の近傍などへも冷却ガスを供給することができるように、上記の実施の形態にかかる熱処理炉(図1〜図3)の冷却ガス供給管11a,11b,11cに相当する冷却ガス供給管が配設されているが、図4で図示を省略している。
【0037】
また、ポット内部温度検出手段(熱電対)22は、炉本体1の外側でポット用冷却ガス供給管21に固定されている。
【0038】
その他の構成は、上述の熱処理炉(図1〜図3)と同様であるため、ここでは説明を省略する。
【0039】
この熱処理炉においては、炉本体1内のみではなく、被熱処理物の入ったポット3の内部にも冷却ガスを供給するようにしているので、ポット3の内部と外部の両方から冷却を行って、ポット3内の温度を所定の温度にまで速やかに冷却することが可能になり、急冷を行う場合を含めて、冷却条件をより確実に制御することができるようになる。
【0040】
なお、上記熱処理炉を用いた場合の、冷却工程における炉内温度(ほぼポットの内部温度と同じ)と冷却時間との関係を図5に示す。図5より、本願発明の熱処理炉においては、冷却時間が従来の熱処理炉に比べて大幅に短縮されることがわかる。
【0041】
また、ポット3の回転中心軸Xに沿って、ポット用冷却ガス供給管21及びポット内部温度検出手段(熱電対)22をポット3の内部に挿入するようにしているので、ポット3の回転を妨げることなく、ポット3内に冷却ガスを確実に供給するとともに、ポット3内の温度を直接に検出することができるようになり、本願発明をより実効あらしめることが可能になる。
【0042】
なお、本願発明は、上記の実施の形態に限定されるものではなく、ポットの近傍や内部に冷却ガスを供給するための具体的な構成、炉本体の構造や炉本体を分割するための機構、ポットの具体的な構造や回転速度、熱処理及び冷却の具体的な条件などに関し、発明の要旨の範囲内において、種々の応用、変形を加えることが可能である。
【0043】
【発明の効果】
上述のように、本願第1の発明の熱処理炉は、炉本体内の少なくともポットの近傍に冷却ガスを供給するようにしているので、ポットを効率よく冷却するとともに、炉本体内の高温ガスに所定の方向への流れを与えて、排気の効率を向上させることが可能になる。したがって、炉本体内の雰囲気及びポットの内部を効率よく安定した速度で冷却することが可能になり、冷却条件を確実に制御して、意図するような冷却を行うことが可能になる。
【0044】
また、本願第2の発明の熱処理炉は、炉本体内のみではなく、被熱処理物の入ったポットの内部にも冷却ガスを供給するようにしているので、ポット内の温度を所定の温度にまで速やかに冷却することが可能になり、急冷を行う場合を含めて、冷却条件をより確実に制御することが可能になる。
【0045】
また、本願発明の熱処理炉において、ポット内の温度を検出するための温度検出手段を設けた場合、被熱処理物に最も近い位置の雰囲気温度を直接に検出することが可能になり、冷却条件をさらに確実に制御することが可能になる。
【0046】
また、本願発明の熱処理炉において、温度検出手段又は、温度検出手段及び冷却ガス供給管を、ポットの回転中心軸に沿ってポット内に挿入、配設するようにした場合、ポットの回転を妨げることなく、ポット内の温度を直接に検出したり、あるいはポット内に冷却ガスを供給するとともに、ポット内の温度を直接に検出したりすることができるようになり、本願発明をさらに実効あらしめることが可能になる。
【図面の簡単な説明】
【図1】本願第1の発明の実施の形態にかかる熱処理炉の構成を示す図であり、(a)は平面図、(b)は正面図、(c)は側面図である。
【図2】本願第1の発明の実施の形態にかかる熱処理炉において、冷却ガス供給管から冷却ガスを吹き出している状態を模式的に示す図であり、(a)はポットの中心方向に向って冷却ガスを吹き出させた状態、(b)はポットの外周方向に冷却ガスを吹き出させた状態、(c)はポットの中心方向及び外周方向に向って冷却ガスを吹き出させた状態を示す図である。
【図3】本願第1の発明の実施の形態にかかる熱処理炉において、冷却ガス供給管から冷却ガスを吹き出すことにより、ポットを冷却するとともに、炉本体内の雰囲気ガスを外部に排出している状態を示す図である。
【図4】本願第2の発明の実施の形態にかかる熱処理炉の要部を示す斜視図である。
【図5】本願第2の発明の実施の形態にかかる熱処理炉を用いた場合の、冷却工程における炉内温度と冷却時間との関係を示す図である。
【図6】従来の熱処理炉の構成を示す図であり、(a)は平面図、(b)は正面図、(c)は側面図である。
【図7】従来の熱処理炉の炉本体を上下に分割した状態を示す図である。
【符号の説明】
1 炉本体
1a 上部炉本体
1b 下部炉本体
2a,2b ローラ
3 ポット
3a ポットの端面
4 ヒータ
5 温度検出手段(熱電対)
6 モータ
7 チェーン
8 スプロケット
9 回転駆動手段
10 昇降手段
11a,11b,11c 冷却ガス供給管
21 ポット用冷却ガス供給管
22 ポット内部温度検出手段(熱電対)
23 挿入穴
Claims (6)
- 上下に分割できるように構成された炉本体と、
少なくとも一部が前記炉本体内に位置するように、所定の間隔をおいて配設された一対のローラと、
前記炉本体内において、前記一対のローラ上に置かれ、前記ローラの回転にともなって回転することにより、内部に収容された被熱処理物を転動させながら熱処理を行わしめるポットと
を具備してなる熱処理炉であって、
熱処理が終了した後の冷却工程において、前記炉本体内の少なくとも前記ポットの近傍に冷却ガスを供給することができるようにしたこと
を特徴とする熱処理炉。 - 前記ポット内の温度を検出するための温度検出手段を設けたことを特徴とする請求項1記載の熱処理炉。
- 前記温度検出手段を、前記ポットの回転中心軸に沿って、前記ポット内に挿入、配設することにより、前記ポット内の温度を直接に検出できるようにしたことを特徴とする請求項2記載の熱処理炉。
- 上下に分割できるように構成された炉本体と、
少なくとも一部が前記炉本体内に位置するように、所定の間隔をおいて配設された一対のローラと、
前記炉本体内において、前記一対のローラ上に置かれ、前記ローラの回転にともなって回転することにより、内部に収容された被熱処理物を転動させながら熱処理を行わしめるポットと
を具備してなる熱処理炉であって、
前記炉本体内の少なくとも前記ポットの近傍及び内部の両方に冷却ガスを供給することができるようにしたこと
を特徴とする熱処理炉。 - 前記ポット内の温度を検出するための温度検出手段を設けたことを特徴とする請求項4記載の熱処理炉。
- 冷却ガス供給管及び温度検出手段を、前記ポットの回転中心軸に沿って、前記ポットの内部に挿入することにより、前記ポットの内部に冷却ガスを供給するとともに、前記ポット内の温度を直接に検出できるようにしたことを特徴とする請求項5記載の熱処理炉。
Priority Applications (1)
| Application Number | Priority Date | Filing Date | Title |
|---|---|---|---|
| JP34780095A JP3593771B2 (ja) | 1995-12-14 | 1995-12-14 | 熱処理炉 |
Applications Claiming Priority (1)
| Application Number | Priority Date | Filing Date | Title |
|---|---|---|---|
| JP34780095A JP3593771B2 (ja) | 1995-12-14 | 1995-12-14 | 熱処理炉 |
Publications (2)
| Publication Number | Publication Date |
|---|---|
| JPH09166380A JPH09166380A (ja) | 1997-06-24 |
| JP3593771B2 true JP3593771B2 (ja) | 2004-11-24 |
Family
ID=18392674
Family Applications (1)
| Application Number | Title | Priority Date | Filing Date |
|---|---|---|---|
| JP34780095A Expired - Lifetime JP3593771B2 (ja) | 1995-12-14 | 1995-12-14 | 熱処理炉 |
Country Status (1)
| Country | Link |
|---|---|
| JP (1) | JP3593771B2 (ja) |
Families Citing this family (1)
| Publication number | Priority date | Publication date | Assignee | Title |
|---|---|---|---|---|
| JP5415126B2 (ja) * | 2009-04-03 | 2014-02-12 | 光洋サーモシステム株式会社 | 熱処理炉用の昇降装置 |
-
1995
- 1995-12-14 JP JP34780095A patent/JP3593771B2/ja not_active Expired - Lifetime
Also Published As
| Publication number | Publication date |
|---|---|
| JPH09166380A (ja) | 1997-06-24 |
Similar Documents
| Publication | Publication Date | Title |
|---|---|---|
| JP2011192702A (ja) | 縦型熱処理装置および圧力検知システムと温度センサの組合体 | |
| CN1186583C (zh) | 连续热处理炉的密封装置及密封方法 | |
| JP5401015B2 (ja) | 連続式焼成炉 | |
| JP3593771B2 (ja) | 熱処理炉 | |
| JP2002243368A (ja) | 平面ガラス基板用連続式焼成炉 | |
| JP3683166B2 (ja) | 基板の熱処理方法及びそれに用いる連続式熱処理炉 | |
| JP3640687B2 (ja) | 孔開扁平部品の焼入方法および装置 | |
| US4628615A (en) | Process and installation for the heat treatment of cylindrical bodies, especially pipes | |
| JPH0233767B2 (ja) | ||
| JP5494990B2 (ja) | 乾式試金分析試料の自動溶解装置 | |
| JP3438381B2 (ja) | 熱処理炉 | |
| JP2008081780A (ja) | ビレットの加熱装置 | |
| JP3985289B2 (ja) | 連続式熱処理炉 | |
| JP5088645B2 (ja) | 自動溶解システム | |
| JPS63232422A (ja) | 半導体ウエハの熱処理装置 | |
| JP6038262B1 (ja) | 管の熱処理装置および熱処理方法 | |
| US6061925A (en) | Rotary type heat treatment device, and temperature control method for the device | |
| JPH1161276A (ja) | 金属ストリップ用竪型連続焼鈍炉 | |
| JP3438380B2 (ja) | 熱処理炉 | |
| JP5039261B2 (ja) | ベル型焼鈍炉 | |
| JP2804003B2 (ja) | 半導体ウエハーの熱処理装置 | |
| JP2002147970A (ja) | インゴットの予熱装置 | |
| KR950007080Y1 (ko) | 강판 제조용 롤(Roll) | |
| JPH11142062A (ja) | 熱処理装置 | |
| KR20050029406A (ko) | 배치 소둔로의 열 흐름 유도장치 |
Legal Events
| Date | Code | Title | Description |
|---|---|---|---|
| TRDD | Decision of grant or rejection written | ||
| A01 | Written decision to grant a patent or to grant a registration (utility model) |
Free format text: JAPANESE INTERMEDIATE CODE: A01 Effective date: 20040810 |
|
| A61 | First payment of annual fees (during grant procedure) |
Free format text: JAPANESE INTERMEDIATE CODE: A61 Effective date: 20040823 |
|
| R150 | Certificate of patent or registration of utility model |
Free format text: JAPANESE INTERMEDIATE CODE: R150 |
|
| FPAY | Renewal fee payment (event date is renewal date of database) |
Free format text: PAYMENT UNTIL: 20080910 Year of fee payment: 4 |
|
| FPAY | Renewal fee payment (event date is renewal date of database) |
Free format text: PAYMENT UNTIL: 20080910 Year of fee payment: 4 |
|
| FPAY | Renewal fee payment (event date is renewal date of database) |
Free format text: PAYMENT UNTIL: 20090910 Year of fee payment: 5 |
|
| FPAY | Renewal fee payment (event date is renewal date of database) |
Free format text: PAYMENT UNTIL: 20090910 Year of fee payment: 5 |
|
| FPAY | Renewal fee payment (event date is renewal date of database) |
Free format text: PAYMENT UNTIL: 20100910 Year of fee payment: 6 |
|
| FPAY | Renewal fee payment (event date is renewal date of database) |
Free format text: PAYMENT UNTIL: 20100910 Year of fee payment: 6 |
|
| FPAY | Renewal fee payment (event date is renewal date of database) |
Free format text: PAYMENT UNTIL: 20110910 Year of fee payment: 7 |
|
| FPAY | Renewal fee payment (event date is renewal date of database) |
Free format text: PAYMENT UNTIL: 20120910 Year of fee payment: 8 |
|
| FPAY | Renewal fee payment (event date is renewal date of database) |
Free format text: PAYMENT UNTIL: 20120910 Year of fee payment: 8 |
|
| FPAY | Renewal fee payment (event date is renewal date of database) |
Free format text: PAYMENT UNTIL: 20130910 Year of fee payment: 9 |
|
| EXPY | Cancellation because of completion of term |
