JP2022014792A - 包装袋 - Google Patents
包装袋 Download PDFInfo
- Publication number
- JP2022014792A JP2022014792A JP2020117345A JP2020117345A JP2022014792A JP 2022014792 A JP2022014792 A JP 2022014792A JP 2020117345 A JP2020117345 A JP 2020117345A JP 2020117345 A JP2020117345 A JP 2020117345A JP 2022014792 A JP2022014792 A JP 2022014792A
- Authority
- JP
- Japan
- Prior art keywords
- straight line
- opening
- weak
- line portion
- opening direction
- Prior art date
- Legal status (The legal status is an assumption and is not a legal conclusion. Google has not performed a legal analysis and makes no representation as to the accuracy of the status listed.)
- Granted
Links
Images
Landscapes
- Bag Frames (AREA)
Abstract
【解決手段】複数の包材2と、包材2の周縁部3が接着される封止部4と、収容部5と、開封方向に延びる開封予定ライン7に沿って包材2に設けられる開封誘導帯6と、を備え、開封誘導帯6は、開封予定ライン7の略全長にわたって延在し、包材2の厚み方向の一部を表面から削除して形成されるハーフカットの溝による複数列の弱線部10を有し、弱線部10は、開封方向に対して傾斜する複数の第1直線部と、開封方向に対して第1直線部と逆向きに傾斜する複数の第2直線部と、を含み、第1直線部と第2直線部とが開封方向に沿って配列されることにより、山状部分と谷状部分とを有するジグザグ状のパターンに設けられる。
【選択図】図1
Description
なお、本明細書での「略」は厳密にその状態を特定するものではなく、それらの機能や効果を達成可能な範囲で近似する状態を含むという意味である。
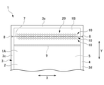
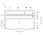
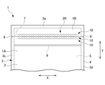
図1は、第1実施形態に係る包装袋1の平面図である。包装袋1は、重ねられる2枚の包材2を備える。図1では、表側の包材2が示されている。包材2は、シート状の樹脂を矩形状に形成したものである。本実施形態の包装袋1は平面視が縦長の長方形状であって、図1の上側の端部が開封される。本発明に係る包装袋1の外形形状は長方形状に制限されず、正方形状、多角形状、あるいは外形線に曲線が含まれる形状であってもよい。
図5は、第2実施形態に係る包装袋1を示している。第2実施形態に係る包装袋1は、上記第1実施形態の開封誘導帯6に代えて、開封誘導帯20を備える。開封誘導帯20は、上記第1実施形態と同様に3列の弱線部10を有する。それぞれの弱線部10は、開封方向に沿って複数の第1弱線パターン21を有する。
図7は、第3実施形態に係る包装袋1を示している。第3実施形態に係る包装袋1は、図8に示すように、上記第2実施形態の開封誘導帯20において、第1弱線パターン21の第1直線部11と第2直線部12とが離間しており、その離間する部分に、非弱線部16を有する点のみが上記第2実施形態と相違している。
図9は、第4実施形態に係る包装袋1を示している。第4実施形態に係る包装袋1は、上記第1実施形態の開封誘導帯6に代えて、開封誘導帯30を備える。開封誘導帯30は、上記第1実施形態と同様に3列の弱線部10を有する。それぞれの弱線部10は、開封方向に沿って間欠的に配列された複数の第2弱線パターン31を有する。
2 包材
3 周縁部
4 封止部
5 収容部
6、20、30 開封誘導帯
7 開封予定ライン
10 弱線部
11 第1直線部
12 第2直線部
13 山状部分
13a 山状部分の頂点を形成する角部
14 谷状部分
14a 谷状部分の頂点を形成する角部
21 第1弱線パターン
31 第2弱線パターン
Claims (7)
- 互いに重ねられる複数のシート状の包材と、
前記複数の包材の周縁部が互いに接着される封止部と、
前記複数の包材の間に形成され、前記封止部に囲まれて封止される収容部と、
前記封止部の任意の2個所の間に設定される開封方向に延びる開封予定ラインに沿って前記包材に設けられる開封誘導帯と、を備え、
前記開封誘導帯は、前記開封予定ラインの略全長にわたって延在し、前記包材の厚み方向の一部を表面から削除して形成されるハーフカットの溝による複数列の弱線部を有し、
前記弱線部は、前記開封方向に対して傾斜する複数の第1直線部と、前記開封方向に対して前記第1直線部と逆向きに傾斜する複数の第2直線部と、を含み、前記第1直線部と前記第2直線部とが前記開封方向に沿って配列されることにより、山状部分と谷状部分とを有するジグザグ状のパターンに設けられる、包装袋。 - 前記第1直線部と前記第2直線部とは、長さが略同一であり、前記開封方向に沿って間欠的に、かつ交互に配列されており、
前記開封誘導帯においては、隣り合う前記弱線部の前記第1直線部及び前記第2直線部のそれぞれの位置が前記開封方向において略同じである、請求項1に記載の包装袋。 - 前記弱線部は、前記第1直線部の長さが前記第2直線部の長さよりも短く、前記開封方向に沿って2つの前記第1直線部の間に1つの前記第2直線部が配置された略Z字状の第1弱線パターンを有し、複数の前記第1弱線パターンが、前記開封方向に位相をずらして交互に配列されることにより前記山状部分と前記谷状部分とが前記開封方向に略直交する方向において菱形状に重畳しており、前記複数の第1弱線パターンは離間している、請求項1に記載の包装袋。
- 前記第1弱線パターンは、前記第1直線部と前記第2直線部とが連続している、請求項3に記載の包装袋。
- 前記第1弱線パターンは、前記第1直線部と前記第2直線部とが離間している、請求項3に記載の包装袋。
- 前記弱線部は、1つの前記山状部分と1つの前記谷状部分とが前記開封方向に略直交する方向において離間した状態で菱形状に重畳する第2弱線パターンを有し、複数の前記第2弱線パターンが前記開封方向に沿って間欠的に配列され、
前記開封誘導帯においては、隣り合う前記弱線部の前記第2弱線パターンの位置が前記開封方向において略同じである、請求項1に記載の包装袋。 - 前記山状部分及び前記谷状部分のそれぞれは、前記開封方向に沿う線を底辺とする二等辺三角形の形状を形成し、
前記山状部分の頂点を形成する角部及び前記谷状部分の底部を形成する角部のそれぞれの角度は同一であって60°~150°である、請求項1~6のいずれかに記載の包装袋。
Priority Applications (1)
| Application Number | Priority Date | Filing Date | Title |
|---|---|---|---|
| JP2020117345A JP7498045B2 (ja) | 2020-07-07 | 2020-07-07 | 包装袋 |
Applications Claiming Priority (1)
| Application Number | Priority Date | Filing Date | Title |
|---|---|---|---|
| JP2020117345A JP7498045B2 (ja) | 2020-07-07 | 2020-07-07 | 包装袋 |
Publications (2)
| Publication Number | Publication Date |
|---|---|
| JP2022014792A true JP2022014792A (ja) | 2022-01-20 |
| JP7498045B2 JP7498045B2 (ja) | 2024-06-11 |
Family
ID=80120396
Family Applications (1)
| Application Number | Title | Priority Date | Filing Date |
|---|---|---|---|
| JP2020117345A Active JP7498045B2 (ja) | 2020-07-07 | 2020-07-07 | 包装袋 |
Country Status (1)
| Country | Link |
|---|---|
| JP (1) | JP7498045B2 (ja) |
Citations (5)
| Publication number | Priority date | Publication date | Assignee | Title |
|---|---|---|---|---|
| JPH0489760U (ja) * | 1990-11-30 | 1992-08-05 | ||
| JPH0585563A (ja) * | 1991-09-26 | 1993-04-06 | Toppan Printing Co Ltd | 引き裂き可能な包装材料および包装体 |
| JPH08268467A (ja) * | 1995-03-31 | 1996-10-15 | Toppan Printing Co Ltd | 開封容易な包装材料および包装体 |
| JP2001287767A (ja) * | 2000-04-10 | 2001-10-16 | Dainippon Printing Co Ltd | 切目線付き包装材料 |
| JP2018002155A (ja) * | 2016-06-27 | 2018-01-11 | 大成ラミック株式会社 | 包装袋 |
-
2020
- 2020-07-07 JP JP2020117345A patent/JP7498045B2/ja active Active
Patent Citations (5)
| Publication number | Priority date | Publication date | Assignee | Title |
|---|---|---|---|---|
| JPH0489760U (ja) * | 1990-11-30 | 1992-08-05 | ||
| JPH0585563A (ja) * | 1991-09-26 | 1993-04-06 | Toppan Printing Co Ltd | 引き裂き可能な包装材料および包装体 |
| JPH08268467A (ja) * | 1995-03-31 | 1996-10-15 | Toppan Printing Co Ltd | 開封容易な包装材料および包装体 |
| JP2001287767A (ja) * | 2000-04-10 | 2001-10-16 | Dainippon Printing Co Ltd | 切目線付き包装材料 |
| JP2018002155A (ja) * | 2016-06-27 | 2018-01-11 | 大成ラミック株式会社 | 包装袋 |
Also Published As
| Publication number | Publication date |
|---|---|
| JP7498045B2 (ja) | 2024-06-11 |
Similar Documents
| Publication | Publication Date | Title |
|---|---|---|
| US20090074333A1 (en) | Packaging Bag with Tearing Aid | |
| US11220387B2 (en) | Sealed single-dose break-open package and relative production method | |
| JP7286265B2 (ja) | 袋 | |
| EP3536627A1 (en) | Spouted pouch | |
| JPH08324597A (ja) | 開封用切込および包装袋 | |
| US10793334B2 (en) | Packaging bag | |
| JP4917362B2 (ja) | 包装袋 | |
| JP2022014792A (ja) | 包装袋 | |
| JP6681563B2 (ja) | 包装袋 | |
| JP7171346B2 (ja) | 食品用包装材 | |
| JP6191065B2 (ja) | 包装袋 | |
| JP2001058655A (ja) | 包装袋 | |
| JP6842863B2 (ja) | 包装袋 | |
| JP5059426B2 (ja) | 液体包装袋 | |
| JP6662012B2 (ja) | 包装袋 | |
| JP7105161B2 (ja) | 食品用包装材 | |
| JP7211412B2 (ja) | 包装用フィルム、及びこれを用いたフィルム包装体並びにフィルム包装方法 | |
| JP7125316B2 (ja) | 食品包装体 | |
| JP7803194B2 (ja) | 包装袋 | |
| JP2017105531A (ja) | ノッチ付き袋 | |
| JP6742172B2 (ja) | 包装用袋 | |
| JP2016107999A (ja) | 包装袋 | |
| JP6898068B2 (ja) | 包装袋 | |
| JPH1179197A (ja) | 包装袋 | |
| JP2008222275A (ja) | 液体包装袋 |
Legal Events
| Date | Code | Title | Description |
|---|---|---|---|
| RD03 | Notification of appointment of power of attorney |
Free format text: JAPANESE INTERMEDIATE CODE: A7423 Effective date: 20221110 |
|
| RD04 | Notification of resignation of power of attorney |
Free format text: JAPANESE INTERMEDIATE CODE: A7424 Effective date: 20221110 |
|
| A621 | Written request for application examination |
Free format text: JAPANESE INTERMEDIATE CODE: A621 Effective date: 20230626 |
|
| A977 | Report on retrieval |
Free format text: JAPANESE INTERMEDIATE CODE: A971007 Effective date: 20240117 |
|
| A131 | Notification of reasons for refusal |
Free format text: JAPANESE INTERMEDIATE CODE: A131 Effective date: 20240206 |
|
| A521 | Request for written amendment filed |
Free format text: JAPANESE INTERMEDIATE CODE: A523 Effective date: 20240402 |
|
| TRDD | Decision of grant or rejection written | ||
| A01 | Written decision to grant a patent or to grant a registration (utility model) |
Free format text: JAPANESE INTERMEDIATE CODE: A01 Effective date: 20240521 |
|
| A61 | First payment of annual fees (during grant procedure) |
Free format text: JAPANESE INTERMEDIATE CODE: A61 Effective date: 20240530 |
|
| R150 | Certificate of patent or registration of utility model |
Ref document number: 7498045 Country of ref document: JP Free format text: JAPANESE INTERMEDIATE CODE: R150 |
