JP2022010576A - 便器装置 - Google Patents
便器装置 Download PDFInfo
- Publication number
- JP2022010576A JP2022010576A JP2020111229A JP2020111229A JP2022010576A JP 2022010576 A JP2022010576 A JP 2022010576A JP 2020111229 A JP2020111229 A JP 2020111229A JP 2020111229 A JP2020111229 A JP 2020111229A JP 2022010576 A JP2022010576 A JP 2022010576A
- Authority
- JP
- Japan
- Prior art keywords
- water
- bowl
- toilet
- vertical rotation
- trap
- Prior art date
- Legal status (The legal status is an assumption and is not a legal conclusion. Google has not performed a legal analysis and makes no representation as to the accuracy of the status listed.)
- Granted
Links
Images
Landscapes
- Sanitary Device For Flush Toilet (AREA)
Abstract
Description
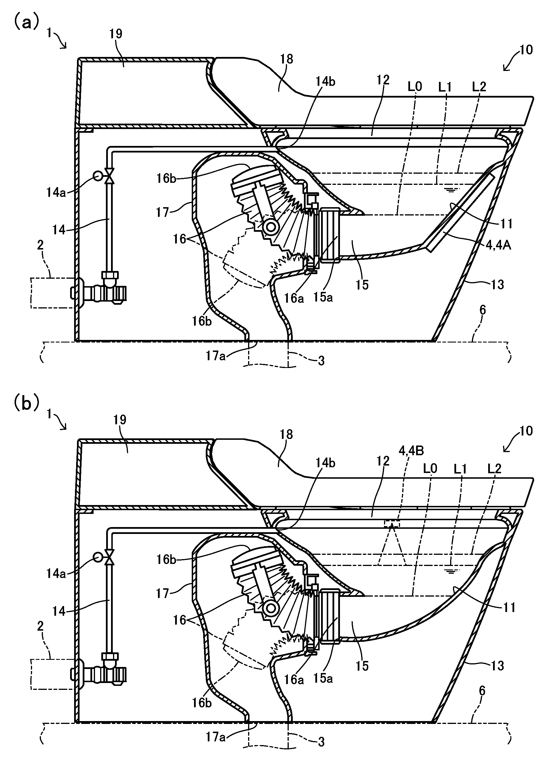
本実施形態に係る便器装置1は、排水路15を有するボウル部11と、排水路15の端部15aに接続され、自由端16bが上下に回動するトラップ部16と、制御部とを備える。制御部は、トラップ部16を上下に回動させて、ボウル部11内に溜め水を溜める封水形態と、ボウル部11内の溜め水を排水する排水形態とを切り替えることができる。さらに、制御部は、トラップ部16の所定の上下の回動動作を連続して繰り返し行う上下回動モードを実行する。
以下、詳しく説明する。
次に、便器装置1の通常の洗浄動作について説明する。
操作部5の大洗浄ボタン50aか小洗浄ボタン50bが操作されると、給水弁14aとトラップ部16のそれぞれの動作が開始される。給水弁14aの動作としては、給水弁14aが開となり、洗浄水供給路14を通じて吐出口14bから洗浄水がボウル部11内に供給される。トラップ部16の動作としては、モータが駆動しトラップ部16の自由端16bが上位置からさらに上方に回転移動する。ボウル部11内では、吐出口14bからの洗浄水の供給を受けて、溜め水の水位は通常の水位L1よりも上昇する。一定時間経過後、水位が所定の位置に達したら、モータが駆動し上向きに保持されていたトラップ部16の自由端16bが下向きに回動され封水されていた溜め水が汚物とともに排水される排水形態に切り替わる。このとき、給水弁14aは開の状態のままであり、洗浄水がボウル部11へ供給され続けてボウル部11の表面の洗浄が行われるが、トラップ部16の自由端16bが下向きであるため、水位はゼロに近い状態となる。所定時間経過後、モータが駆動し下向きに保持されていたトラップ部16の自由端16bが上向きに回動され排水が停止状態となり、ボウル部11内に洗浄水が溜められる。ボウル部11に封水された洗浄水の量が所定量に達すると給水弁14aが閉となる。
これにより、ボウル部11内に溜め水が溜められて封水されて、床側排水管3から上ってきた臭気やガス、害虫等がせき止められる。
次に、図3を参照して、便器装置1がつまった場合における便器装置1のつまり解消動作の一例について説明する。
便器装置1の通常の封水状態における溜め水の水位L1以上の水位を視認する等、使用者が便器装置1のつまりを確認すると(S100)、操作部5のつまり解消ボタン50cを操作して上下回動モードを指示する(S101)。制御部は、上下回動モードの指示を受け、トラップ部16に対して上下回動モードを実行する。
上向きに保持されているトラップ部16の自由端16bは、上下回動モードの実行によってモータが駆動して下向きに回動する(S102)。トラップ部16の自由端16bが下向きに保持されるとモータが停止して1秒に満たないコンマ数秒間その姿勢を保持する(S103)。その後、再びモータが駆動し、トラップ部16の自由端16bが上向きに回動する(S104)。以上のトラップ部16の所定の上下の回動動作S102,S103,S104の動作を連続して5回繰り返し行い(S105)、上下回動モードが終了される。トラップ部16の自由端16bが繰り返し上下に回動されることによって、便器装置1をつまらせている汚物や異物等が動かされてつまりが解消されやすくなる。
なお、S204の溜め水の有無の判断では、ある一定の水位以下なら溜め水なしと判断してもよく、例えば、水位が破封レベル(例えば、図1(a)(b)に示す水位L0)未満であれば、溜め水なしと判断してもよい。また、水位が破封レベル未満であれば、軽異常と判断し、軽異常である旨の警告を出力してもよい。
11 ボウル部
15 排水路
15a (排水路の)端部
16 トラップ部
16b 自由端
4,4A,4B 検知部
5,5A,5B 操作部
Claims (4)
- 排水路を有するボウル部と、前記排水路の端部に接続され、自由端が上下に回動するトラップ部と、該トラップ部を上下に回動させて、前記ボウル部内に溜め水を溜める封水形態と、前記ボウル部内の溜め水を排水する排水形態とを切り替えることができる制御部とを備える便器装置において、
前記制御部は、前記トラップ部の所定の上下の回動動作を連続して繰り返し行う上下回動モードを実行することを特徴とする便器装置。 - 請求項1において、
前記上下回動モードを実行することを前記制御部に指示する操作部を備えることを特徴とする便器装置。 - 請求項1又は2において、
前記ボウル部内の溜め水の水位を測定する検知部をさらに備え、
前記制御部は、前記検知部で測定された水位が異常と判断した場合、前記上下回動モードを実行することを特徴とする便器装置。 - 請求項3において、
前記制御部は、前記上下回動モードの実行中に、前記トラップ部が上に回動した状態で、前記検知部が前記ボウル部内に溜め水がないことを検知したときに上下回動モードの実行を中止することを特徴とする便器装置。
Priority Applications (1)
| Application Number | Priority Date | Filing Date | Title |
|---|---|---|---|
| JP2020111229A JP7478954B2 (ja) | 2020-06-29 | 2020-06-29 | 便器装置 |
Applications Claiming Priority (1)
| Application Number | Priority Date | Filing Date | Title |
|---|---|---|---|
| JP2020111229A JP7478954B2 (ja) | 2020-06-29 | 2020-06-29 | 便器装置 |
Publications (2)
| Publication Number | Publication Date |
|---|---|
| JP2022010576A true JP2022010576A (ja) | 2022-01-17 |
| JP7478954B2 JP7478954B2 (ja) | 2024-05-08 |
Family
ID=80149036
Family Applications (1)
| Application Number | Title | Priority Date | Filing Date |
|---|---|---|---|
| JP2020111229A Active JP7478954B2 (ja) | 2020-06-29 | 2020-06-29 | 便器装置 |
Country Status (1)
| Country | Link |
|---|---|
| JP (1) | JP7478954B2 (ja) |
Cited By (1)
| Publication number | Priority date | Publication date | Assignee | Title |
|---|---|---|---|---|
| JP2024167598A (ja) * | 2023-05-22 | 2024-12-04 | 永田 恵子 | 水洗トイレ装置 |
Citations (4)
| Publication number | Priority date | Publication date | Assignee | Title |
|---|---|---|---|---|
| JPH11210048A (ja) * | 1998-01-26 | 1999-08-03 | Matsushita Electric Works Ltd | 自動排出機構式水洗便器における可動トラップの 動作異常検知方法 |
| JP2000240135A (ja) * | 1999-02-19 | 2000-09-05 | Matsushita Electric Works Ltd | 便器装置 |
| JP2013072221A (ja) * | 2011-09-28 | 2013-04-22 | Toto Ltd | トイレ装置 |
| JP2018199955A (ja) * | 2017-05-29 | 2018-12-20 | Toto株式会社 | 大便器装置 |
-
2020
- 2020-06-29 JP JP2020111229A patent/JP7478954B2/ja active Active
Patent Citations (4)
| Publication number | Priority date | Publication date | Assignee | Title |
|---|---|---|---|---|
| JPH11210048A (ja) * | 1998-01-26 | 1999-08-03 | Matsushita Electric Works Ltd | 自動排出機構式水洗便器における可動トラップの 動作異常検知方法 |
| JP2000240135A (ja) * | 1999-02-19 | 2000-09-05 | Matsushita Electric Works Ltd | 便器装置 |
| JP2013072221A (ja) * | 2011-09-28 | 2013-04-22 | Toto Ltd | トイレ装置 |
| JP2018199955A (ja) * | 2017-05-29 | 2018-12-20 | Toto株式会社 | 大便器装置 |
Cited By (1)
| Publication number | Priority date | Publication date | Assignee | Title |
|---|---|---|---|---|
| JP2024167598A (ja) * | 2023-05-22 | 2024-12-04 | 永田 恵子 | 水洗トイレ装置 |
Also Published As
| Publication number | Publication date |
|---|---|
| JP7478954B2 (ja) | 2024-05-08 |
Similar Documents
| Publication | Publication Date | Title |
|---|---|---|
| JP2009249819A (ja) | トイレ装置 | |
| KR100804307B1 (ko) | 변기 커버 자동 닫힘 기능을 갖는 물 내림 시스템 및 물내림 방법 | |
| JP2022010576A (ja) | 便器装置 | |
| CN112302126B (zh) | 自动马桶清洁器和包括自动马桶清洁器的自动清洁马桶 | |
| JP7432144B2 (ja) | トイレ装置及びトイレシステム | |
| TWI774243B (zh) | 西式馬桶裝置及馬桶座裝置 | |
| JP7653617B2 (ja) | 便器装置および便座装置 | |
| JP4517975B2 (ja) | 便器洗浄装置 | |
| JP2024083576A (ja) | 洋風便器装置および便座装置 | |
| JP5828269B2 (ja) | 水洗大便器 | |
| JP2021139170A (ja) | 水洗式便器 | |
| JP7482398B2 (ja) | トイレ装置 | |
| JP7369977B2 (ja) | 便器装置および便座装置 | |
| JP7734333B2 (ja) | 便器装置および便座装置 | |
| JP2002081118A (ja) | 便 器 | |
| JP3511932B2 (ja) | 便器における断水検知装置 | |
| KR100815206B1 (ko) | 남성용 순환식 변기 세정장치 | |
| KR20140145406A (ko) | 전자식 양변기 | |
| KR20130064524A (ko) | 소변기 | |
| JP7774232B2 (ja) | 便器装置および便座装置 | |
| JP7482428B2 (ja) | 便器装置 | |
| JP2008025171A (ja) | 便器 | |
| JP2025074228A (ja) | 便器装置及び便座装置 | |
| JP2025118537A (ja) | トイレシステム | |
| KR101437088B1 (ko) | 도기 일체형 비데의 수압 물내림 시스템 |
Legal Events
| Date | Code | Title | Description |
|---|---|---|---|
| A621 | Written request for application examination |
Free format text: JAPANESE INTERMEDIATE CODE: A621 Effective date: 20230421 |
|
| A131 | Notification of reasons for refusal |
Free format text: JAPANESE INTERMEDIATE CODE: A131 Effective date: 20231024 |
|
| A521 | Request for written amendment filed |
Free format text: JAPANESE INTERMEDIATE CODE: A523 Effective date: 20231222 |
|
| A131 | Notification of reasons for refusal |
Free format text: JAPANESE INTERMEDIATE CODE: A131 Effective date: 20240123 |
|
| A521 | Request for written amendment filed |
Free format text: JAPANESE INTERMEDIATE CODE: A523 Effective date: 20240315 |
|
| TRDD | Decision of grant or rejection written | ||
| A01 | Written decision to grant a patent or to grant a registration (utility model) |
Free format text: JAPANESE INTERMEDIATE CODE: A01 Effective date: 20240402 |
|
| A61 | First payment of annual fees (during grant procedure) |
Free format text: JAPANESE INTERMEDIATE CODE: A61 Effective date: 20240408 |
|
| R150 | Certificate of patent or registration of utility model |
Ref document number: 7478954 Country of ref document: JP Free format text: JAPANESE INTERMEDIATE CODE: R150 |
