JP2019536282A - 欠陥感受性が低減されたパワーモジュール及びその使用 - Google Patents

欠陥感受性が低減されたパワーモジュール及びその使用 Download PDF

Info

Publication number
JP2019536282A
JP2019536282A JP2019525950A JP2019525950A JP2019536282A JP 2019536282 A JP2019536282 A JP 2019536282A JP 2019525950 A JP2019525950 A JP 2019525950A JP 2019525950 A JP2019525950 A JP 2019525950A JP 2019536282 A JP2019536282 A JP 2019536282A
Authority
JP
Japan
Prior art keywords
power module
functional element
module according
carrier substrate
functional
Prior art date
Legal status (The legal status is an assumption and is not a legal conclusion. Google has not performed a legal analysis and makes no representation as to the accuracy of the status listed.)
Pending
Application number
JP2019525950A
Other languages
English (en)
Inventor
トマス フェイヒティンガー,
トマス フェイヒティンガー,
Original Assignee
テーデーカー エレクトロニクス アーゲー
テーデーカー エレクトロニクス アーゲー
Priority date (The priority date is an assumption and is not a legal conclusion. Google has not performed a legal analysis and makes no representation as to the accuracy of the date listed.)
Filing date
Publication date
Application filed by テーデーカー エレクトロニクス アーゲー, テーデーカー エレクトロニクス アーゲー filed Critical テーデーカー エレクトロニクス アーゲー
Publication of JP2019536282A publication Critical patent/JP2019536282A/ja
Pending legal-status Critical Current

Links

Images

Classifications

    • HELECTRICITY
    • H10SEMICONDUCTOR DEVICES; ELECTRIC SOLID-STATE DEVICES NOT OTHERWISE PROVIDED FOR
    • H10HINORGANIC LIGHT-EMITTING SEMICONDUCTOR DEVICES HAVING POTENTIAL BARRIERS
    • H10H20/00Individual inorganic light-emitting semiconductor devices having potential barriers, e.g. light-emitting diodes [LED]
    • H10H20/80Constructional details
    • H10H20/85Packages
    • H10H20/858Means for heat extraction or cooling
    • H10H20/8585Means for heat extraction or cooling being an interconnection
    • HELECTRICITY
    • H01ELECTRIC ELEMENTS
    • H01LSEMICONDUCTOR DEVICES NOT COVERED BY CLASS H10
    • H01L25/00Assemblies consisting of a plurality of semiconductor or other solid state devices
    • H01L25/16Assemblies consisting of a plurality of semiconductor or other solid state devices the devices being of types provided for in two or more different subclasses of H10B, H10D, H10F, H10H, H10K or H10N, e.g. forming hybrid circuits
    • H01L25/167Assemblies consisting of a plurality of semiconductor or other solid state devices the devices being of types provided for in two or more different subclasses of H10B, H10D, H10F, H10H, H10K or H10N, e.g. forming hybrid circuits comprising optoelectronic devices, e.g. LED, photodiodes
    • HELECTRICITY
    • H05ELECTRIC TECHNIQUES NOT OTHERWISE PROVIDED FOR
    • H05KPRINTED CIRCUITS; CASINGS OR CONSTRUCTIONAL DETAILS OF ELECTRIC APPARATUS; MANUFACTURE OF ASSEMBLAGES OF ELECTRICAL COMPONENTS
    • H05K1/00Printed circuits
    • H05K1/02Details
    • H05K1/0201Thermal arrangements, e.g. for cooling, heating or preventing overheating
    • H05K1/0203Cooling of mounted components
    • H05K1/0204Cooling of mounted components using means for thermal conduction connection in the thickness direction of the substrate
    • HELECTRICITY
    • H05ELECTRIC TECHNIQUES NOT OTHERWISE PROVIDED FOR
    • H05KPRINTED CIRCUITS; CASINGS OR CONSTRUCTIONAL DETAILS OF ELECTRIC APPARATUS; MANUFACTURE OF ASSEMBLAGES OF ELECTRICAL COMPONENTS
    • H05K1/00Printed circuits
    • H05K1/18Printed circuits structurally associated with non-printed electric components
    • H05K1/182Printed circuits structurally associated with non-printed electric components associated with components mounted in the printed circuit board, e.g. insert mounted components [IMC]
    • H05K1/183Components mounted in and supported by recessed areas of the printed circuit board
    • HELECTRICITY
    • H05ELECTRIC TECHNIQUES NOT OTHERWISE PROVIDED FOR
    • H05KPRINTED CIRCUITS; CASINGS OR CONSTRUCTIONAL DETAILS OF ELECTRIC APPARATUS; MANUFACTURE OF ASSEMBLAGES OF ELECTRICAL COMPONENTS
    • H05K1/00Printed circuits
    • H05K1/02Details
    • H05K1/0201Thermal arrangements, e.g. for cooling, heating or preventing overheating
    • H05K1/0203Cooling of mounted components
    • H05K1/0209External configuration of printed circuit board adapted for heat dissipation, e.g. lay-out of conductors, coatings
    • HELECTRICITY
    • H05ELECTRIC TECHNIQUES NOT OTHERWISE PROVIDED FOR
    • H05KPRINTED CIRCUITS; CASINGS OR CONSTRUCTIONAL DETAILS OF ELECTRIC APPARATUS; MANUFACTURE OF ASSEMBLAGES OF ELECTRICAL COMPONENTS
    • H05K1/00Printed circuits
    • H05K1/02Details
    • H05K1/0213Electrical arrangements not otherwise provided for
    • H05K1/0254High voltage adaptations; Electrical insulation details; Overvoltage or electrostatic discharge protection ; Arrangements for regulating voltages or for using plural voltages
    • H05K1/0257Overvoltage protection
    • H05K1/0259Electrostatic discharge [ESD] protection
    • HELECTRICITY
    • H05ELECTRIC TECHNIQUES NOT OTHERWISE PROVIDED FOR
    • H05KPRINTED CIRCUITS; CASINGS OR CONSTRUCTIONAL DETAILS OF ELECTRIC APPARATUS; MANUFACTURE OF ASSEMBLAGES OF ELECTRICAL COMPONENTS
    • H05K2201/00Indexing scheme relating to printed circuits covered by H05K1/00
    • H05K2201/01Dielectrics
    • H05K2201/0183Dielectric layers
    • H05K2201/0187Dielectric layers with regions of different dielectrics in the same layer, e.g. in a printed capacitor for locally changing the dielectric properties
    • HELECTRICITY
    • H05ELECTRIC TECHNIQUES NOT OTHERWISE PROVIDED FOR
    • H05KPRINTED CIRCUITS; CASINGS OR CONSTRUCTIONAL DETAILS OF ELECTRIC APPARATUS; MANUFACTURE OF ASSEMBLAGES OF ELECTRICAL COMPONENTS
    • H05K2201/00Indexing scheme relating to printed circuits covered by H05K1/00
    • H05K2201/07Electric details
    • H05K2201/073High voltage adaptations
    • H05K2201/0738Use of voltage responsive materials, e.g. voltage switchable dielectric or varistor materials
    • HELECTRICITY
    • H05ELECTRIC TECHNIQUES NOT OTHERWISE PROVIDED FOR
    • H05KPRINTED CIRCUITS; CASINGS OR CONSTRUCTIONAL DETAILS OF ELECTRIC APPARATUS; MANUFACTURE OF ASSEMBLAGES OF ELECTRICAL COMPONENTS
    • H05K2201/00Indexing scheme relating to printed circuits covered by H05K1/00
    • H05K2201/10Details of components or other objects attached to or integrated in a printed circuit board
    • H05K2201/10007Types of components
    • H05K2201/10106Light emitting diode [LED]
    • HELECTRICITY
    • H05ELECTRIC TECHNIQUES NOT OTHERWISE PROVIDED FOR
    • H05KPRINTED CIRCUITS; CASINGS OR CONSTRUCTIONAL DETAILS OF ELECTRIC APPARATUS; MANUFACTURE OF ASSEMBLAGES OF ELECTRICAL COMPONENTS
    • H05K2201/00Indexing scheme relating to printed circuits covered by H05K1/00
    • H05K2201/10Details of components or other objects attached to or integrated in a printed circuit board
    • H05K2201/10007Types of components
    • H05K2201/10196Variable component, e.g. variable resistor

Landscapes

  • Engineering & Computer Science (AREA)
  • Microelectronics & Electronic Packaging (AREA)
  • Physics & Mathematics (AREA)
  • Condensed Matter Physics & Semiconductors (AREA)
  • General Physics & Mathematics (AREA)
  • Computer Hardware Design (AREA)
  • Power Engineering (AREA)
  • Led Device Packages (AREA)
  • Cooling Or The Like Of Semiconductors Or Solid State Devices (AREA)
  • Structure Of Printed Boards (AREA)

Abstract

欠陥感受性が低減されたパワーモジュールを提供する。放散されたエネルギーによって生成された熱は、機能的構造から熱ブリッジを介して担体基板の下面へ導出される。熱抵抗を低減するために、機能素子は担体基板の凹部内に位置する。

Description

本発明は、欠陥感受性が低減されたパワーモジュールに関し、また、かかるモジュールの使用に関する。
技術的装置において、ますます多くの電気及び電子部品が使用されている。相応にその複雑さも向上しており、従って欠陥可能性の数は増加する。さらに、小型化の傾向は続いており、それによって電気的及び電子的機能の実現のための構造空間はますますより小さくなる。
電気及び電子的機能はしばしば電気モジュールによって実現される。1つのモジュールは一般的に、例えばチップ等の複数の電気的コンポーネントを担体基板上に有する。かかるモジュールは、例えば、文献US2009/0129079A1及びUS2008/0151547A1から公知である。
パワーモジュール(Leistungsmodule)、例えば、自動車の道路照明(ヘッドライトのハイビーム、ロービーム)等の照明手段は、単に電気信号だけを処理するシステムと比較して高電力によって特徴づけられる。相応に排熱も、信号処理モジュールの排熱の何倍にもなる。
既知のパワーモジュールの問題は、パワーモジュールの欠陥感受性(die Defektanfaelligkeit)及びパワー性能(Leistungsfaehigkeit)の熱的制限である。
米国特許公開第2009/0129079号公報 米国特許公開第US2008/0151547号公報
従って、小型化への継続的な傾向に従い、より小さな寸法を可能にする、低減された欠陥感受性と、より高いパワー耐性(Leistungsfestigkeit)及びより高いパワー性能とを有するパワーモジュールへの要望がある。
この課題は独立請求項1によるパワーモジュールによって解決される。従属請求項は、本発明の有利な形態を提供する。
パワーモジュールは、誘電層と金属化層とを有する担体基板を備える。担体基板はさらに凹部を有する。パワーモジュールはさらに電気的機能素子を有する。担体基板の金属化層において電気配線が構造化される。機能素子は、電気配線と接続されている。機能素子はさらに、担体基板の凹部内に配置されており、担体基板よりも高い熱伝導性を有する熱ブリッジを備える。
凹部は、担体基板を貫通する開口であることができ、従って凹部は担体基板の両面からアクセス可能である。あるいは、凹部は、担体基板を貫通しない、めくら孔の形態の窪みであり得る。そうすると、凹部は担体基板の上面からだけアクセス可能である。後者の場合、凹部は、担体基板の上面によって形成される下面を有する。
1つの誘電層及び1つの金属化層に加えて、担体基板は、1つ以上のさらなる誘電層及び1つ以上のさらなる金属化層有することができる。誘電層は金属化層を分離する。金属化層において、電気的構造、例えば、信号配線、電力配線、容量、インダクタンス又は抵抗素子等の回路素子が構造化されることができる。
機能素子は、電気的又は電子的パワー素子であり、動作中に比較的高い電力を変換し、相応に高いエネルギー量を放散する(dissipiert)。機能素子は従って動作中に熱源となる。機能素子として、特に高出力LED(LED=Light Emitting Diode=発光ダイオード)のための構造を有する素子が考慮される。
熱源として機能し、電気エネルギーを部分的に熱に変換する構造に加えて、機能素子は高い熱伝導性を有する熱ブリッジを備える。担体基板上のチップに熱源を有する従来のパワーモジュールと比較して、凹部内への配置によって、それを介して熱が導出されなければならない担体基板の材料は削減される。担体基板よりも高い熱伝導性により、熱の導出が改善された熱ブリッジの付加的な存在によって、機能素子内のエネルギーを放散する構造の熱的負荷が二重に低減される。
自動車が使用される温度範囲は非常に広い。
とりわけ、むしろより冷暗闇でだけ使用されるわけではない(nicht nur in der eher kuehleren Dunkelheit eingesetzt werden)、一般にドープされた半導体材料を有するLEDに基づく昼間走行灯(Tagfahrlichtern)では、改善された熱導出(Waermeabfuhr)で利益を得る。半導体素子のエージングは、指数関数的な温度依存性を有する熱力学的プロセスである。熱負荷の明らかな低下は(Eine deutliche Verringerung der thermischen Belastung)、相応の部品の寿命を倍増させ、欠陥感受性を低減させることができる。
凹部内への機能素子の配置によって、モジュールの構造高さ(die Bauhoehe)はさらに低減される。
逆説的に言えば、欠陥感受性の低下は、構造体積の縮小に起因するものである。
全体的に、従って、例えば温度に敏感なパワー半導体等の、ハイパワーに好適であるパワーコンポーネント用の、パワーモジュールが提供される。欠陥感受性は低減されている。一般的により低い温度レベルに基づいて、温度変動は低減される。改善された熱導出により、パワー耐性が向上し、相応に電気コンポーネントはより高いパワーにおいて作動することができる。凹部内の機能素子は、凹部の側壁に機械的に固定的に接続されることができ、従って、基板の機械的安定性を原則的に危うくする凹部にもかかわらず、機械的にロバストなモジュールが得られる。寸法、特に構造高さは低減される。より小さい寸法の選択肢によって、相応のモジュール設計の際の自由度の数が高められ、このことはまた、モジュールの作業性を容易にするための措置に対する空間を残す。
通常は、過電圧からモジュールを保護するための構造が得られるように熱ブリッジが形成されることができ、熱誘導欠陥に対する欠陥感受性だけでなく、危険な電気インパルスに対する欠陥感受性も低減されることが知られている。
熱ブリッジが、動作中に生成された熱、例えば放散した電気エネルギーをパワーモジュールの下面に導出するために設けられていることが相応に可能である。
パワーモジュールは組立プレート上に固定されており、生成された熱は組立プレートを介してモジュールの周辺環境に導出されることができる。
熱ブリッジがセラミック材料を有する。
セラミック材料は誘電材料であることができ、機能素子のパワー構造はその周辺環境に対して絶縁されており、さらに、パワーモジュールの下面への良好な温度接続を実現する
熱ブリッジが、ZnO−Bi(ビスマスドープ酸化亜鉛(mit Bismut dotiertes Zinkoxid))、ZnO−Pr(プラセオジムドープ酸化亜鉛(mit Praseodym dotiertes Zinkoxid))、AlN(窒化アルミニウム(einem Aluminiumnitrid))、Al及びSiC(炭化ケイ素(Siliziumcarbid))から選択された材料を含むか又は材料のみからなることが可能である。
担体基板は、PCB(PCB=プリント回路基板(Printed Circuit Board))に使用される通常の材料を含み得る。担体基板は、例えば、多層FR4基板(ein Multilayer-FR4-Substrat)であり得る。あるいは担体基板はIMS基板(IMS=絶縁金属基板(Insulated Metal Substrate))であり得る。既知の基板の熱伝導率は、実質的に8W/mK以下に限定されている。ビスマスドープ酸化亜鉛は、20W/mK以上の熱伝導率を有する。プラセオジムドープ酸化亜鉛は、40W/mK以上の熱伝導性を有する。窒化アルミニウムは、100W/mK以上の熱伝導率を有する。つまり、熱が導出されるために通らなければならない質量の減少(der verringerten Masse,durch die Waerme abgefuehrt werden muss)と共に、熱結合が一桁以上改善され得ることを意味する。
熱ブリッジが多層構造を有することが可能である。多層構造は誘電層と金属化層とを有することができる。さらに、この誘電層に加えて、熱ブリッジはさらなる誘電層を有することができる。さらに、金属化層に加えて、熱ブリッジは、さらなる金属化層を有することができる。
多層構造の層内において、電気的機能が実現されることができる。有利には、誘電材料及び金属化層の材料は、熱ブリッジ全体を介して最適な熱導出が提供されるように選択される。
熱ブリッジがESD保護素子(ESD=静電放電(Electro-Static Discharge))を含むことが可能である。
ESD保護素子は、故障を起こし得る(schaedlichen)電圧インパルスから機能素子の機能的構造を保護し得る。
さらに、熱ブリッジがバリスタを含むことが可能である。
熱ブリッジは、多層構造を有し、そこでは、上下に配置されて、誘電材料によって分離されている第1電極が構造化されている。第1電極の間では、さらなる金属化層において、第1電極から分離された第2電極面が構造化されている。
バリスタセラミックの形態の誘電材料は、この場合、電極に印加される電圧に応じた電気抵抗を有する。誘電材料が機能素子の通常の動作電圧において絶縁体を示す間、不所望な過電圧パルスは、このようにして容易に保護電位に、例えば設置電位に、放出されることができる。
パワーモジュールは、機能素子に加えて、同一の又は類似の構造を有するさらなる付加的な機能素子を備えることができ、同様に凹部内又は付加的な凹部内に配置されることができる。かかる配置によって高い集積度を得ることができる。集積度及び従って集積される機能素子の数が高ければ高いほど、故障確率(Ausfallwahrscheinlichkeit)は高くなる。パワーモジュールが個別の機能素子の故障に基づいて使用できなくなることは望ましくない。上述したようなESD保護の選択肢によって、ハイパワーに使用できる多数の機能素子を有する高集積化部品を得ることができ、それでもなお、故障確率が最小限に抑えられている。機能素子が光を放出するように励起可能である機能的構造を備えることが可能である。
熱ブリッジが機能的構造を機能素子の下面、例えばパワーモジュールの下面に、熱的に連結する(anbindet)間、機能的構造は、有利には、機能素子の上面に配置される。光を放出するために励起可能な構造は特に、半導体材料に基づくLED構造上にあることができる。なぜなら、かかる半導体構造は、特に過加熱に対して敏感だからである。
担体基板及び/又は機能素子が垂直貫通コンタクト、所謂ビア、を有することが可能である。垂直貫通コンタクトは、この場合、異なる金属化層又は異なる金属化層内において構造化された回路素子を接続する(verschalten)。かかる貫通コンタクトは、パワーモジュールの全電気接続を単一の面、例えば下面に配置すること可能にする。相応に、機能素子が担体基板への全ての電気接続を下面に有することも可能である。そうすると、凹部内の機能素子は担体基板の1つの層上に配置され、構造化された配線を介して接続されている。
誘電層の間に全面的に形成された金属化層を有する既知のIMS基板は、かかるコンタクトを許容しない。なぜなら、相応に設けられた複数の垂直方向の貫通コンタクトが大面積で形成された金属層によって短絡されるからである。担体基板の上面及び下面の間のコンタクトは、従ってかかる既知の基板において可能ではない。
担体基板の電気配線と機能素子との間の電気接続(eine elektrische Verbindung)が熱膨張を補償することが可能である。
パワーモジュールの下面への機能素子の機能的構造の熱接続が改善されている(der verbesserten thermischen Anbindung)にもかかわらず、パワーモジュール内に温度差が生じる可能性がある。
パワーモジュール内の異なる材料は、一般的に異なる熱膨張係数を有し、従って、さらなる措置なくモジュール内に温度勾配が形成されることは、熱的に誘導された機械的応力を生じさせる。
異なる熱膨張を補償することは、それによって、機械的応力の低減と、担体基板と機能素子との間の電気接続にかかる機械的負荷の低減を引き起こす。従って、欠陥感受性が低減されることに加え、機能素子への熱的負荷が低減することと、不所望な電気的インパルスからの保護により欠陥感受性が低減することとは、基板と機能ユニットとの間の接続位置の機械的損傷(mechanischen Schaeden)に対する欠陥感受性をも低減する。
機能素子の下面の導電性構造と、凹部の上面の導電構造とに、同一の材料を使用することは、熱膨張の補償に有利な選択肢である。
その際、特に、等方性の温度膨張挙動を示し、その膨張係数の張力(deren Tensor)が、ゼロではない同一の対角要素(Diagonalelemente)のみを有する材料が有利である。
従って、例えばバンプ接続等の接続用の凹部内の担体基板の上面と、機能素子の下面とにおいて、それらの間に銅だけ又は銀だけが用いられることが可能である。
さらに、パワーモジュールが温度バッファを含むことが可能である。機能素子は、担体基板のその位置の局所的な上面(die dortige lokale Oberseite)を介して形成される凹部の下面又は底面から垂直方向に、又は、凹部の側壁から水平方向に離間していることができる。相応に、垂直スリットが機能素子の隣りに存在し、又は、水平スリットが機能素子と凹部の「底(Boden)」との間に存在する。スリットは温度バッファの材料によって充填されることができる。水平方向において、機能素子は第1係数を有することができる。担体基板は水平方向において、第1係数とは異なる第2温度膨張係数を有することができる。温度変化の際には、機能素子と凹部の幅は異なる大きさで(stark)変化する。相応にスリットは大きくなり又は小さくなる。温度バッファは、好ましくは、計算上容易に求められる、スリットの「温度膨張係数」に実質的に相応する温度膨張係数を有する。即ち、温度バッファによって、各温度において及び温度変化において、担体基板と機能素子との間の形状結合による接続が与えられ、それによってパワーモジュールの機械的安定性が高められる。特に、スリット及び温度バッファの温度膨張係数は約5ppm/K以下だけ異なることが可能である。
パワーモジュールは、機能素子の駆動制御のための駆動回路を含むことが可能である。駆動回路はその際、担体基板の上方に若しくは上に配置されるか又は担体基板内に集積化されることができる。駆動回路は、機能素子の上方に若しくは上に配置されるか又は機能素子内に集積化されることもできる。
パワーモジュールが1つより多い機能素子を有する場合、従って、単一の駆動回路は複数の又は全ての機能素子を駆動制御することができる。あるいは、機能素子ごとに1つの固有の駆動回路が設けられているか、又は、機能素子の異なるグループがあり、各グループについてそれぞれ1つの駆動回路が設けられていることも可能である。
パワーモジュールはセンサーを含むことが可能である。センサーは担体基板の上方に又は上に配置されるか又は担体基板内に集積化されることができる。センサーが機能素子の上方に又は上に配置されるか又は機能素子内に集積化されることも可能である。
センサーは特に温度センサーであることができ、常に、機能素子、担体基板又はパワーモジュール全体の現在の温度レベルを観察し、温度値を駆動回路に転送する。
駆動回路において、機能素子又は複数の機能素子の活動を外部制御信号に依存して及びセンサーの測定値に依存して、開ループ又は閉ループ制御する回路ロジックが集積化されている。
パワーモジュールは多数の機能素子を有することが可能である。複数の機能素子は規則的な配置においいて、まとめて1つの凹部内に位置決めされるか、又は個別の凹部内に位置決めされる。機能素子は特に行及び列において、即ち、マトリックス配置において、位置決めされることができる。
相応に、パワーモジュールはLEDマトリックスモジュールであることが可能である。
担体基板の1つ以上の誘電層がセラミック材料を含むか若しくはセラミック材料のみから成るか、又は有機材料を含むか若しくは有機材料のみから成るか、又はガラスを含むか若しくはガラスのみから成ることが可能である。
セラミック材料としては、AIN及びAlが考えられる。有機材料としては樹脂が考えられる。ガラスとしては通常のガラスが考えられる。
担体基板内の誘電材料が配線基板のための標準材料、例えばFR4、であることも可能である。パワーモジュールは、光照明手段として、例えば、ヘッドライトのハイビーム(Fernlicht)、ロービーム(Abblendlicht)若しくは昼間走行灯として、又は方向指示器(ウィンカー)として、使用されることが可能である。
以下では、パワーモジュールの機能原理と可能な実施形態の選択された詳細が図面を参照して述べられる。
担体基板の凹部における機能素子の位置を示す図である。 機能的構造及び熱ブリッジを有する機能素子を示す図である。 多層構造(Mehrlagenaufbau)を有する熱ブリッジの形態を示す図である。 担体基板を完全に貫通する凹部における機能素子の配置を示す図である。 機能素子のマトリックス配置の上面図を示す図である。 複数の機能素子が一緒に単一の凹部内に配置されているのを示す図である。 熱ブリッジ内に、複数の隣り合って配置された機能的構造及びESD保護を有する機能素子を示す図である。 センサーを有するパワーモジュールを示す図である。 駆動回路を有するパワーモジュールを示す図である。
図1は、複数の層を有する担体基板を備えたパワーモジュールの基本的構造を示す。特に、絶縁性材料製の誘電層DLと、電気構造が形成されることができる金属化層MLとを含む。担体基板TSには凹部ANがあり、その中には、機能素子FEを配置することができる。図1は、凹部が、所謂めくら孔形状を有することを示し、従って凹部は底を有する。凹部の底の上には機能素子FEが配置されている。一方にのみ開口した凹部ANを有するパワーモジュールLMにおいては、凹部が開口している側が上面OSである。対向する側は下面である。
機能素子FEは電気的コンタクトEKを介して、例えば金属化層内に形成された電気供給部ELと接続される。
機能素子FE内の、特に機能素子FEの上面で形成される熱は、低抵抗を有する機能素子FEを貫通する。この熱をパワーモジュールの下面を介して外部環境に放出できるようにするためには、機能素子が凹部内ではなく担体基板の上面OSに配置されていた場合よりも、凹部ANとしてめくら孔の場合の方が乗り越えられるべき担体基板材料の量が少ない。
相応に、凹部AN領域において担体基板TSの局所的厚さが、凹部の無い領域における局所よりも小さいと有利である。
図2は、機能素子FEが2つの上下に配置された領域を有する配置を示す。上部領域は、例えば電気的又は電子的又は光学的機能を実現する機能的構造FSを有する部分を形成する。その下には、上部部分で生成された熱を機能素FEの下面へ、従ってパワーモジュールの下面へと導く熱ブリッジWBが配置されている。
パワーモジュールの下面への熱の伝達を容易にするために、熱ブリッジWBは熱的結合TAを介して凹部の底と接続されている。熱的結合TAは、例えば導体ペースト又は金属化部によって形成されており、熱抵抗が低減されている。熱的結合TAは、好ましくは低い熱抵抗を有する材料、例えば銅又は銀を含む。
パワーモジュールの下面には、コンタクトパッドAPが設けられており、例えばUBM(UBM=バンプ下金属化部(Under-Bump Metallization))によって形成されている。かかるコンタクトパッドを介して、パワーモジュールはバンプ接続BUを介して外部環境と連結されることができ、接続されることができる。
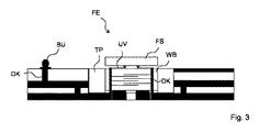
図3は、熱ブリッジWBが多層構造(einen Mehrlagenaufbau)を有するパワーモジュールの詳細を示す。その中では、誘電層及び金属化層が上下に重なり合って配置されている。誘電層の材料が相応に選択されている場合、かかる構造は熱を良好に伝導する。かかる熱ブリッジWBは、熱の導出に加えて、電気的又は電子的機能を提供する。従って、金属化層内に電極を形成することが可能である。電極は、誘電材料を介して垂直方向に上下に分離されている。垂直方向において隣り合う電極は異なるコンタクトに割当られている。誘電材料がバリスタ材料であれば、2つの異なるコンタクトは低電圧に関して互いに絶縁されている。2つの異なるコンタクトに高電圧、例えばESDパルス、が印加されていると、バリスタ材料は低減された電気抵抗を示し、ESDパルスは参照電位に導出されることができる。
熱ブリッジWBは垂直方向の貫通コンタクトDK(ビア)を有し、これを介して、機能素子の上面の機能的構造FSは構造化された担体基板の金属化部と接続されている。
多層の形態の担体基板にも、貫通コンタクトDKがあり、回路素子又は配線を異なる金属化層に相互に接続する。貫通コンタクトDKを介して、パワーモジュールの全ての外部コンタクトを、パワーモジュールの1つの面上に配置することが可能であり、このことは外部回路環境への集積化を容易にする。
機能素子FEの多層構造は、機熱ブリッジの接続コンタクトへの機能的構造の電気的コンタクトを単純化するための付加的な周辺配線UVを有する。
水平方向において機能素子FEは凹部の側壁から離間している。この容積は、温度膨張係数を有する温度バッファTPの材料によって充填され、温度膨張係数は、バッファTPの増大又は縮小少がスリットの幅の増大又は縮小と同じになるように選択されている。
図4は、凹部が担体基板を完全に、基面の全領域において貫通するパワーモジュールの形態を示す。パワーモジュールの全体高さを最大限に低減するために、機能素子は完全に担体基板に埋め込まれている。外部環境への集積化を容易にするために、特に下方への熱排出を容易にするために、機能素子の下面、特にその熱ブリッジWBと、担体基板の下面USと、が面一に整列されており、従って、実質的に平坦なパワーモジュール全体の下面を得ることができる。
機能素子の下面への電気的コンタクトは、パワーモジュールの下面から突出することができる。あるいは、機能素子FEが担体基板に埋め込まれている限り、担体基板の下面は、電気的コンタクトEKと面一になることも可能である。
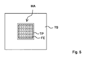
図5は多数の機能素子FEが行と列に整列されたマトリックス配置MAの上面図を示す。
図6は、唯一の凹部が設けられており、その中に多数の機能素子FEが配置されている選択肢を示す。各機能素子FEは、多層構造を有する熱ブリッジと、熱ブリッジの上方の機能的構造とを有する。
担体基盤の最上層は、光を反射するミラーSPであり得る。機能的構造が光源を形成する場合、担体基板のそれ以外の受動的な上面(die ansonsten passive Oberseite)によって吸収される光が少ない場合、パワーモジュールの放出光の全量は高められる。
図7は、複数の機能的構造FSが単一の機能素子FE内に設けられる選択肢を示す。機能素子FEの熱ブリッジは、バリスタ材料を有する多層構造を有し、ESD保護機能を提供する。
図8は、センサーが機能素子FEの上面上に直接配置される選択肢を示す。あるいは、センサーは機能素子の多層構造内に又は担体基板上に若しくは内に配置されることができる。
図9は、センサーSを担体基板の多層構造の内部に配置する選択肢を示す。対照的に、機能素子FE上には、機能的構造を駆動制御し、その作動方法を閉ループ又は開ループ制御するための(zu steuern oder zu regeln)駆動回路TSGが配置されている。駆動回路TSGはその際、同様に電気的又は電子的に電力コンポーネントを含み得る。熱ブリッジ上への配置はこの場合好ましい。
パワーモジュール及びパワーモジュールの使用は、記載された技術的特徴及び示された詳細に制限されない。追加の回路素子、追加のコンタクト及び追加の凹部を有するパワーモジュールは同様に保護範囲に含まれる。
AN 凹部(Ausnehmung)
AP コンタクトパッド(Anschlusspad)
BU バンプ接続(Bump-Verbindung)
DK 貫通コンタクト(Durchkontaktierung)
DL 誘電層(dielektrische Lage)
EK 電気コンタクト(elektrischer Kontakt)
EL 電気供給部(elektrische Leitung)
ESD ESD保護(ESD-Schutz)
FE 機能素子(Funktionselement)
FS 機能構造(funktionale Struktur)
LM パワーモジュール(Leistungsmodul)
MA マトリックス配置(Matrix-Anordnung)
ML 金属化層(Metallisierungslage)
OS 上面(Oberseite)
S センサー(Sensor)
TA 熱結合(thermische Ankopplung)
TP 温度バッファ(Temperaturpuffer)
TS 担体基板(Traegersubstrat)
TSG 駆動回路(Treiberschaltung)
US 下面(Unterseite)
UV 周囲配線(Umverdrahtung)
VAR バリスタ(Varistor)
WB 熱ブリッジ(Waermebruecke)

Claims (18)

  1. パワーモジュールであって、
    誘電層、金属化層及び凹部を有する担体基板と、
    電気的機能素子と、を備え、
    前記金属化層において、電気供給部が構造化されており、
    前記機能素子は前記電気供給部と接続されており、
    前記機能素子は前記凹部内に配置されており、
    前記機能素子は、前記担体基板よりも高い熱伝導率を有する熱ブリッジを備えている、
    パワーモジュール。
  2. 前記熱ブリッジは、作動中に生成された熱を前記パワーモジュールの下面に導出するために設けられている、
    請求項1記載のパワーモジュール。
  3. 前記熱ブリッジはセラミック材料を含む、
    請求項1又は2記載のパワーモジュール。
  4. 前記熱ブリッジは、
    ZnO−Bi、ZnO−Pr、AlN、Al、SiCから選択された材料を含む又はのみから成る、
    請求項1乃至3いずれか1項記載のパワーモジュール。
  5. 前記熱ブリッジは、前記誘電層と前記金属化層とを有する多層構造を有する、
    請求項1乃至4いずれか1項記載のパワーモジュール。
  6. 前記熱ブリッジは、ESD保護素子を有する、
    請求項1乃至5いずれか1項記載のパワーモジュール。
  7. 前記熱ブリッジはバリスタを有する、
    請求項1乃至6いずれか1項記載のパワーモジュール。
  8. 前記機能素子は、光を放出するように励起可能である機能的構造を有する、
    請求項1乃至7いずれか1項記載のパワーモジュール。
  9. 前記担体基板及び/又は機能素子は垂直方向の貫通コンタクトを有する、
    請求項1乃至8いずれか1項記載のパワーモジュール。
  10. 前記電気供給部と前記機能素子との間の電気的接続は、熱膨張に関して補償されている、
    請求項1乃至9いずれか1項記載のパワーモジュール。
  11. 前記機能素子の下面及び前記凹部の上面の導電性構造は、同一材料から形成されている、
    請求項1乃至10いずれか1項記載のパワーモジュール。
  12. 前記パワーモジュールは、
    温度バッファによって充填されているスリットをさらに備え、
    前記温度バッファは前記スリットと同一の温度膨張係数を有する、
    請求項1乃至11いずれか1項記載のパワーモジュール。
  13. 前記機能素子を駆動制御するための駆動回路をさらに備え、
    前記駆動回路は、前記担体基板上若しくは内に、又は、前記機能素子内に配置されている、
    請求項1乃至12いずれか1項記載のパワーモジュール。
  14. 前記担体基板上若しくは内に、又は、前記機能素子内に配置されているセンサーをさらに備える、
    請求項1乃至13いずれか1項記載のパワーモジュール。
  15. 前記凹部内に規則的な配置で位置決めされた多数の機能素子を有する、
    請求項1乃至14いずれか1項記載のパワーモジュール。
  16. LEDマトリックスモジュールである、
    請求項1乃至15いずれか1項記載のパワーモジュール。
  17. 前記誘電層は、
    セラミック材料を含むか、若しくは、セラミック材料のみから成るか、
    有機材料を含むか、若しくは、有機材料のみから成るか、又は、
    ガラスを含むか、若しくは、ガラスのみから成る、
    請求項1乃至16いずれか1項記載のパワーモジュール。
  18. 車両の照明手段としての請求項1乃至17いずれか1項記載のパワーモジュールの使用。
JP2019525950A 2016-11-16 2017-10-23 欠陥感受性が低減されたパワーモジュール及びその使用 Pending JP2019536282A (ja)

Applications Claiming Priority (3)

Application Number Priority Date Filing Date Title
DE102016122014.0 2016-11-16
DE102016122014.0A DE102016122014A1 (de) 2016-11-16 2016-11-16 Leistungsmodul mit verringerter Defektanfälligkeit und Verwendung desselben
PCT/EP2017/077010 WO2018091230A1 (de) 2016-11-16 2017-10-23 Leistungsmodul mit verringerter defektanfälligkeit und verwendung desselben

Publications (1)

Publication Number Publication Date
JP2019536282A true JP2019536282A (ja) 2019-12-12

Family

ID=60186274

Family Applications (1)

Application Number Title Priority Date Filing Date
JP2019525950A Pending JP2019536282A (ja) 2016-11-16 2017-10-23 欠陥感受性が低減されたパワーモジュール及びその使用

Country Status (7)

Country Link
US (1) US20190305205A1 (ja)
EP (1) EP3542399B1 (ja)
JP (1) JP2019536282A (ja)
CN (1) CN110140210B (ja)
DE (1) DE102016122014A1 (ja)
TW (1) TWI759338B (ja)
WO (1) WO2018091230A1 (ja)

Cited By (1)

* Cited by examiner, † Cited by third party
Publication number Priority date Publication date Assignee Title
JP2022533469A (ja) * 2019-07-09 2022-07-22 ヒタチ・エナジー・スウィツァーランド・アクチェンゲゼルシャフト 集積サージアレスタを有するパワー半導体モジュール

Families Citing this family (12)

* Cited by examiner, † Cited by third party
Publication number Priority date Publication date Assignee Title
US11626448B2 (en) 2019-03-29 2023-04-11 Lumileds Llc Fan-out light-emitting diode (LED) device substrate with embedded backplane, lighting system and method of manufacture
US11631594B2 (en) 2019-11-19 2023-04-18 Lumileds Llc Fan out structure for light-emitting diode (LED) device and lighting system
US11777066B2 (en) * 2019-12-27 2023-10-03 Lumileds Llc Flipchip interconnected light-emitting diode package assembly
US11664347B2 (en) 2020-01-07 2023-05-30 Lumileds Llc Ceramic carrier and build up carrier for light-emitting diode (LED) array
DE102020100742B4 (de) * 2020-01-14 2024-11-28 Marelli Automotive Lighting Reutlingen (Germany) GmbH Lichtmodul, Beleuchtungseinrichtung und Kraftfahrzeug
US11476217B2 (en) 2020-03-10 2022-10-18 Lumileds Llc Method of manufacturing an augmented LED array assembly
US11990872B2 (en) * 2020-04-17 2024-05-21 Nxp Usa, Inc. Power amplifier modules including topside cooling interfaces and methods for the fabrication thereof
US11990384B2 (en) 2020-04-17 2024-05-21 Nxp Usa, Inc. Amplifier modules with power transistor die and peripheral ground connections
CN116158200A (zh) 2021-06-17 2023-05-23 庆鼎精密电子(淮安)有限公司 电路板组件及电路板组件的制作方法
TWI792356B (zh) * 2021-06-17 2023-02-11 大陸商慶鼎精密電子(淮安)有限公司 電路板元件及電路板元件的製作方法
DE102021123731A1 (de) 2021-09-14 2023-03-16 TDK Europe GmbH Elektrisches Bauteil mit verbesserter Kühlung und entsprechendes Modul
US12402240B2 (en) * 2023-04-06 2025-08-26 Wolfspeed, Inc. Silicon carbide thermal bridge integrated on a low thermal conductivity substrate and processes implementing the same

Citations (8)

* Cited by examiner, † Cited by third party
Publication number Priority date Publication date Assignee Title
JP2001036197A (ja) * 1999-07-16 2001-02-09 Canon Inc 光電子集積素子、その駆動方法、該素子を用いた光配線方式、該素子を有する演算処理装置
JP2007227737A (ja) * 2006-02-24 2007-09-06 Kyocera Corp 発光素子用配線基板ならびに発光装置
US20100288536A1 (en) * 2009-05-15 2010-11-18 High Conduction Scientific Co., Ltd. Ceramic circuit board and method of making the same
JP2011524082A (ja) * 2008-05-21 2011-08-25 エプコス アクチエンゲゼルシャフト バリスタおよび半導体構成要素を備える電気的構成要素アセンブリ
US20120241810A1 (en) * 2010-11-30 2012-09-27 Zheng Wang Printing circuit board with micro-radiators
JP2012227454A (ja) * 2011-04-22 2012-11-15 Sanyo Electric Co Ltd 発光装置用パッケージ及びそれを用いた発光装置
CN103999210A (zh) * 2011-12-22 2014-08-20 京瓷株式会社 布线基板以及电子装置
JP2016503968A (ja) * 2013-01-10 2016-02-08 モレックス エルエルシー Ledアセンブリ

Family Cites Families (12)

* Cited by examiner, † Cited by third party
Publication number Priority date Publication date Assignee Title
DE10316136A1 (de) * 2003-04-09 2004-11-18 Ixys Semiconductor Gmbh Gekapselte Leistungshalbleiteranordnung
DE102005033709B4 (de) 2005-03-16 2021-12-16 OSRAM Opto Semiconductors Gesellschaft mit beschränkter Haftung Lichtemittierendes Modul
DE102005054955A1 (de) 2005-08-31 2007-04-26 Osram Opto Semiconductors Gmbh Lichtemittierendes Modul, insbesondere zur Verwendung in einem optischen Projektionsgerät und optisches Projektionsgerät
DE102008024479A1 (de) * 2008-05-21 2009-12-03 Epcos Ag Elektrische Bauelementanordnung
CN102593317B (zh) * 2011-12-20 2014-12-24 西安炬光科技有限公司 一种高功率高亮度led光源封装结构及其封装方法
DE102012104494A1 (de) * 2012-05-24 2013-11-28 Epcos Ag Leuchtdiodenvorrichtung
JP2014003260A (ja) * 2012-06-21 2014-01-09 Sumitomo Electric Printed Circuit Inc プリント配線板、プリント配線板集合体、プリント配線板の製造方法及び照明装置。
DE102012111458B4 (de) * 2012-11-27 2022-12-08 Tdk Electronics Ag Halbleitervorrichtung
DE102013201775A1 (de) * 2013-02-04 2014-08-07 Osram Gmbh Beleuchtungsmodul und Verfahren zur Herstellung eines Beleuchtungsmoduls
DE102014115375A1 (de) * 2014-08-08 2016-02-11 Epcos Ag Träger für eine LED
CN105789197B (zh) * 2014-12-25 2019-03-15 日月光半导体制造股份有限公司 光学模块、其制造方法以及具有光学模块的电子装置
US9646957B2 (en) * 2015-01-14 2017-05-09 Everlight Electronics Co., Ltd. LED packaging structure having stacked arrangement of protection element and LED chip

Patent Citations (8)

* Cited by examiner, † Cited by third party
Publication number Priority date Publication date Assignee Title
JP2001036197A (ja) * 1999-07-16 2001-02-09 Canon Inc 光電子集積素子、その駆動方法、該素子を用いた光配線方式、該素子を有する演算処理装置
JP2007227737A (ja) * 2006-02-24 2007-09-06 Kyocera Corp 発光素子用配線基板ならびに発光装置
JP2011524082A (ja) * 2008-05-21 2011-08-25 エプコス アクチエンゲゼルシャフト バリスタおよび半導体構成要素を備える電気的構成要素アセンブリ
US20100288536A1 (en) * 2009-05-15 2010-11-18 High Conduction Scientific Co., Ltd. Ceramic circuit board and method of making the same
US20120241810A1 (en) * 2010-11-30 2012-09-27 Zheng Wang Printing circuit board with micro-radiators
JP2012227454A (ja) * 2011-04-22 2012-11-15 Sanyo Electric Co Ltd 発光装置用パッケージ及びそれを用いた発光装置
CN103999210A (zh) * 2011-12-22 2014-08-20 京瓷株式会社 布线基板以及电子装置
JP2016503968A (ja) * 2013-01-10 2016-02-08 モレックス エルエルシー Ledアセンブリ

Cited By (3)

* Cited by examiner, † Cited by third party
Publication number Priority date Publication date Assignee Title
JP2022533469A (ja) * 2019-07-09 2022-07-22 ヒタチ・エナジー・スウィツァーランド・アクチェンゲゼルシャフト 集積サージアレスタを有するパワー半導体モジュール
JP7142183B2 (ja) 2019-07-09 2022-09-26 ヒタチ・エナジー・スウィツァーランド・アクチェンゲゼルシャフト 集積サージアレスタを有するパワー半導体モジュール
US11495551B2 (en) 2019-07-09 2022-11-08 Hitachi Energy Switzerland Ag Power semiconductor module with integrated surge arrester

Also Published As

Publication number Publication date
EP3542399B1 (de) 2023-03-08
WO2018091230A1 (de) 2018-05-24
CN110140210A (zh) 2019-08-16
TW201820559A (zh) 2018-06-01
DE102016122014A1 (de) 2018-05-17
TWI759338B (zh) 2022-04-01
EP3542399A1 (de) 2019-09-25
US20190305205A1 (en) 2019-10-03
CN110140210B (zh) 2023-10-24

Similar Documents

Publication Publication Date Title
JP2019536282A (ja) 欠陥感受性が低減されたパワーモジュール及びその使用
US8610146B2 (en) Light emitting diode package and method of manufacturing the same
TWI512915B (zh) 電子元件組裝架構
US8441121B2 (en) Package carrier and manufacturing method thereof
US7872869B2 (en) Electronic chip module
US8727568B2 (en) Light-emitting apparatus and illumination apparatus
TWI427761B (zh) 電子元件組裝架構
US7253449B2 (en) Light source module of light emitting diode
US7863639B2 (en) Light-emitting diode lamp with low thermal resistance
JP2013522893A (ja) Ledで使用するためのフィルムシステム
US9349930B2 (en) LED module and lighting assembly
US9860990B1 (en) Circuit board structure with chips embedded therein and manufacturing method thereof
EP3669396B1 (en) Led module
KR20100120006A (ko) 전력 모듈 패키지
KR101529364B1 (ko) 배리스터 및 반도체 소자를 포함하는 전기 소자 장치
US8373195B2 (en) Light-emitting diode lamp with low thermal resistance
CN104541335B (zh) 组件装置
US20100044727A1 (en) Led package structure
US20160315240A1 (en) Mounting assembly and lighting device
US9089072B2 (en) Heat radiating substrate and method for manufacturing the same
JP2006073699A (ja) 発光素子収納用パッケージ
KR101443967B1 (ko) 방열 기판 및 방열 기판 제조 방법
KR101237685B1 (ko) 방열 기판 및 그 제조방법
KR101492522B1 (ko) 소자 패키지
JP2009038160A (ja) 発光素子収納用パッケージ

Legal Events

Date Code Title Description
A621 Written request for application examination

Free format text: JAPANESE INTERMEDIATE CODE: A621

Effective date: 20190709

A977 Report on retrieval

Free format text: JAPANESE INTERMEDIATE CODE: A971007

Effective date: 20200819

A131 Notification of reasons for refusal

Free format text: JAPANESE INTERMEDIATE CODE: A131

Effective date: 20200825

A521 Request for written amendment filed

Free format text: JAPANESE INTERMEDIATE CODE: A523

Effective date: 20201124

A131 Notification of reasons for refusal

Free format text: JAPANESE INTERMEDIATE CODE: A131

Effective date: 20210105

A601 Written request for extension of time

Free format text: JAPANESE INTERMEDIATE CODE: A601

Effective date: 20210405

A521 Request for written amendment filed

Free format text: JAPANESE INTERMEDIATE CODE: A523

Effective date: 20210416

A02 Decision of refusal

Free format text: JAPANESE INTERMEDIATE CODE: A02

Effective date: 20210601