JP2019001237A - 建設機械の冷却装置 - Google Patents

建設機械の冷却装置 Download PDF

Info

Publication number
JP2019001237A
JP2019001237A JP2017115960A JP2017115960A JP2019001237A JP 2019001237 A JP2019001237 A JP 2019001237A JP 2017115960 A JP2017115960 A JP 2017115960A JP 2017115960 A JP2017115960 A JP 2017115960A JP 2019001237 A JP2019001237 A JP 2019001237A
Authority
JP
Japan
Prior art keywords
opening
radiator
fan shroud
fan
vehicle
Prior art date
Legal status (The legal status is an assumption and is not a legal conclusion. Google has not performed a legal analysis and makes no representation as to the accuracy of the status listed.)
Granted
Application number
JP2017115960A
Other languages
English (en)
Other versions
JP6907736B2 (ja
Inventor
篤 平原
Atsushi Hirahara
篤 平原
村上 良昭
Yoshiaki Murakami
良昭 村上
登志郎 植田
Toshiro Ueda
登志郎 植田
Current Assignee (The listed assignees may be inaccurate. Google has not performed a legal analysis and makes no representation or warranty as to the accuracy of the list.)
Kobelco Construction Machinery Co Ltd
Original Assignee
Kobelco Construction Machinery Co Ltd
Priority date (The priority date is an assumption and is not a legal conclusion. Google has not performed a legal analysis and makes no representation as to the accuracy of the date listed.)
Filing date
Publication date
Application filed by Kobelco Construction Machinery Co Ltd filed Critical Kobelco Construction Machinery Co Ltd
Priority to JP2017115960A priority Critical patent/JP6907736B2/ja
Publication of JP2019001237A publication Critical patent/JP2019001237A/ja
Application granted granted Critical
Publication of JP6907736B2 publication Critical patent/JP6907736B2/ja
Active legal-status Critical Current
Anticipated expiration legal-status Critical

Links

Images

Landscapes

  • Component Parts Of Construction Machinery (AREA)
  • Cooling, Air Intake And Gas Exhaust, And Fuel Tank Arrangements In Propulsion Units (AREA)
  • Arrangement Or Mounting Of Propulsion Units For Vehicles (AREA)

Abstract

【課題】ラジエータやファンシュラウド内部の清掃作業を行い易くする。【解決手段】ラジエータ35を通過した空気は、ファン33の周囲を覆うファンシュラウド34によってエンジン31に向かって導かれる。ファンシュラウド34の後側壁には、開閉蓋36で開閉可能に塞がれた開口窓34aが形成されている。カウンタウエイト22には、車両後方から見て開口窓34aを視認可能な位置にメンテナンス開口23が形成されている。【選択図】図7

Description

本発明は、建設機械の冷却装置に関するものである。
従来より、上部旋回体の車両後部にエンジンルームが設けられ、エンジンルーム内にエンジンやラジエータ等が配設された建設機械が知られている(例えば、特許文献1参照)。
特許文献1には、ラジエータの上流側に吸気ダクトが設けられた構成が開示されている。ここで、ラジエータの上流側のコア面には、空気中に含まれる塵埃等の異物が付着して目詰まりが発生してしまうため、ラジエータの清掃を行う必要がある。
具体的に、ラジエータの下流側には、エンジンファンの周囲を覆うファンシュラウドが配設されている。そして、ファンシュラウドの上面に、開閉蓋によって塞がれた開口窓を形成しておき、作業者は、上部旋回体の上に乗って、開口窓からエアガンを挿入してラジエータのコア面に向かって空気を吹き付けることで、ラジエータの上流側のコア面に付着した異物を吹き飛ばすようにしている。
さらに、ファンシュラウド内部に堆積している異物についても、開口窓から取り除くようにしている。
特開2003−20679号公報
しかしながら、ファンシュラウドの上面に開口窓が形成されている場合には、作業者が上部旋回体の上に乗って不安定な姿勢で清掃作業を行う必要があり、エアガンでラジエータを清掃する作業や、ファンシュラウド内部に堆積している異物を取り除く作業を行い難いという問題がある。
本発明は、かかる点に鑑みてなされたものであり、その目的は、ラジエータやファンシュラウド内部の清掃作業を行い易くすることにある。
本発明は、下部走行体と、該下部走行体に搭載された上部旋回体と、該上部旋回体の車両後部に搭載されたカウンタウエイトと、該カウンタウエイトよりも車両前方の機械室内に配設されたエンジンと、該機械室内に空気を取り込んで該エンジンを冷却させるファンとを備えた建設機械の冷却装置を対象とし、次のような解決手段を講じた。
すなわち、第1の発明は、前記ファンよりも空気流通方向の上流側でコア面が車両左右方向を向くように前記機械室内に配設されたラジエータと、
前記ファンの周囲を覆い、前記ラジエータを通過した空気を前記エンジンに向かって導くファンシュラウドとを備え、
前記ファンシュラウドの後側壁には、該ファンシュラウドの内部に連通する開口窓が形成され、
前記開口窓は、前記ファンシュラウドに取り付けられた開閉蓋によって開閉可能に塞がれ、
前記カウンタウエイトには、車両後方から見て前記開口窓を視認可能な位置に、前記機械室に連通するメンテナンス開口が形成されていることを特徴とするものである。
第1の発明では、ファンシュラウドの後側壁に、開閉蓋で塞がれた開口窓が形成されている。カウンタウエイトには、メンテナンス開口が形成されており、車両後方から見て開口窓を視認可能となっている。
これにより、上部旋回体の車両後部から、カウンタウエイトのメンテナンス開口を介してファンシュラウドの開口窓にアクセスすることができる。つまり、作業者が上部旋回体の上に乗らなくても、ラジエータやファンシュラウド内部の清掃作業を地上で行うことができ、安全性が高く、作業性も向上する。
第2の発明は、第1の発明において、
前記開口窓は、前記ファンシュラウドの底面寄りの位置まで開口していることを特徴とするものである。
第2の発明では、ファンシュラウドの底面寄りの位置まで開口窓を開口させることで、ファンシュラウド内部に堆積している異物を、開口窓の下縁部に引っかかることなくスムーズに掃き出すことができる。
第3の発明は、第1又は第2の発明において、
前記メンテナンス開口の周縁部における、車両後方から見て前記ファンシュラウドから離れた位置で上下方向に延びるヒンジ軸と、
前記ヒンジ軸を中心に回動可能に支持され、前記メンテナンス開口を開閉可能に塞ぐ後方カバーとを備えたことを特徴とするものである。
第3の発明では、メンテナンス開口は、ヒンジ軸を中心に回動可能な後方カバーで覆われている。ヒンジ軸は、車両後方から見てファンシュラウドから離れた位置で上下方向に延びている。
これにより、後方カバーを開くと、後方カバーの後縁部がファンシュラウドから離れる方向に開かれることとなり、後方カバーやヒンジ軸がファンシュラウドの開口窓の周辺には存在していないため、清掃作業の邪魔になることがない。
第4の発明は、第1乃至第3の発明のうち何れか1つにおいて、
前記ラジエータは、車両後方に向かうにつれて前記コア面が前記ファンから離れる方向に傾斜していることを特徴とするものである。
第4の発明では、車両後方に向かうにつれてコア面がファンから離れる方向にラジエータを傾斜させている。これにより、ラジエータを傾斜させない場合に比べて、メンテナンス開口の開口幅を小さくした場合でも、メンテナンス開口からファンシュラウドの開口窓にアクセスすることが可能となる。つまり、メンテナンス開口の開口幅を小さくした分だけ、カウンタウエイトの中央幅を大きくすることができ、カウンタウエイトの重量を増やして重量バランスを確保することができる。
また、ラジエータでは、ファンに対向するコア面のみが、実質的に熱交換を行う有効面積として機能するが、ラジエータを傾斜させることで、ファン径よりも広い範囲で熱交換を行うことができ、熱交換効率を高めることができる。
本発明によれば、上部旋回体の車両後部から、カウンタウエイトのメンテナンス開口を介してファンシュラウドの開口窓にアクセスすることができる。
本実施形態1に係る建設機械の構成を示す側面図である。 上部旋回体の内部構成を示す平面図である。 上部旋回体の内部構成を示す背面図である。 吸気ダクトの内部に熱交換器を取り付ける状態を示す斜視図である。 メンテナンス開口から機械室内部を見たときの背面図である。 ファンシュラウドの開口窓及び開閉蓋の構成を示す斜視図である。 後方カバーを開いた状態を示す平面図である。 本実施形態2に係る上部旋回体の内部構成を示す平面図である。 後方カバーを開いた状態を示す平面図である。
以下、本発明の実施形態を図面に基づいて説明する。なお、以下の好ましい実施形態の説明は、本質的に例示に過ぎず、本発明、その適用物或いはその用途を制限することを意図するものではない。
《実施形態1》
以下、本発明の実施形態を図面に基づいて説明する。なお、以下の好ましい実施形態の説明は、本質的に例示に過ぎず、本発明、その適用物或いはその用途を制限することを意図するものではない。各図には、上下や前後左右の方向を矢印で示してある。特に言及しない限り、上下等の方向についてはこれら矢印で示す方向に従って説明する。
図1に示すように、建設機械10は、クローラ式の下部走行体11と、下部走行体11上に旋回自在に搭載された上部旋回体20とを備えている。上部旋回体20には、アタッチメント13、キャブ14、機械室15、アッパーフレーム21等が設けられている。
なお、本実施形態の建設機械10は小旋回型であり、旋回半径が小さくなるように、上部旋回体20は相対的に小さく構成され、上部旋回体20の後部の外郭線は、上方から見て円弧状に形成されている。
アタッチメント13は、上部旋回体20の前部に設置され、ブーム13a、アーム13b、及びバケット13c等で構成されている。ブーム13a等のそれぞれは、油圧制御された油圧シリンダ13dの伸縮に連動して動作し、掘削等の作業を行う。これらブーム13a等の操作は、キャブ14において行われる。
キャブ14は、矩形箱形の運転室であり、アタッチメント13に隣接して上部旋回体20の左前部に設置されている。機械室15は、上部旋回体20の後部に設けられている。機械室15は、上部旋回体20の後部の外周縁に沿って搭載されたカウンタウエイト22と、カウンタウエイト22とともに機械室15の周囲を覆う機械室カバー16とによって区画されている。カウンタウエイト22は、アタッチメント13との間で前後のバランスを確保するためのものである。
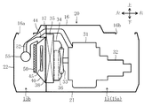
図2及び図3に示すように、機械室15の内部には、エンジン31、ラジエータ35、吸気ダクト40等が密集した状態で収容されている。カウンタウエイト22の左側後部及び右側後部には、メンテナンス開口23が形成されている。
メンテナンス開口23は、機械室15内に配設された各種機器のメンテナンスを行うための開口である。左側のメンテナンス開口23は、車両後方から吸気ダクト40や後述するファンシュラウド34を視認可能な位置に開口しており、エアフィルタ50の交換作業やファンシュラウド34内部の清掃作業等を行うことができる。右側のメンテナンス開口23は、車両後方からエンジン31や油圧ポンプ32を視認可能な位置に開口している。
メンテナンス開口23は、後方カバー24によって開閉可能に塞がれている。左側の後方カバー24は、メンテナンス開口23の周縁部における車両前側の位置で上下方向に延びるヒンジ軸25によって回動可能に支持されている。左側の後方カバー24は、ヒンジ軸25を中心に回動させることで、後方カバー24の車両後部を前方に移動させ、メンテナンス開口23を開放することができる。
右側の後方カバー24は、メンテナンス開口23の周縁部における車両後側の位置で上下方向に延びるヒンジ軸25によって回動可能に支持されている。右側の後方カバー24は、ヒンジ軸25を中心に回動させることで、後方カバー24の車両前部を後方に移動させ、メンテナンス開口23を開放することができる。
アッパーフレーム21は、上部旋回体20の下部に設置されており、キャブ14や機械室15等は、アッパーフレーム21の上に設けられている。
機械室15内には、図示しないエンジンマウントを介してエンジン31が搭載されている。エンジン31は、その駆動軸が車両左右方向を向くように機械室15の内部に配設されている。機械室カバー16の左側上部には、吸気口16aが形成されている。機械室カバー16の右側上部には、排気口16bが形成されている。
機械室15の内部には、エンジン31の他にも、油圧ポンプ32や、ラジエータ35、ファン33、及び吸気ダクト40等の冷却装置が収容されている。この建設機械10では、空気流通方向の上流側から順に、吸気ダクト40、ラジエータ35、ファン33、エンジン31、及び油圧ポンプ32が横並びに配設されている。
機械室15の内部は、仕切壁17によって、ラジエータ35、ファン33、エンジン31が配設されたエンジンルーム15aと、吸気ダクト40が配設された吸気室15bとに仕切られている。
ラジエータ35は、コア面が車両左右方向を向くように配設されている。ファン33は、エンジン31の駆動軸の左端部に接続され、エンジン31とラジエータ35との間に配設されている。ファン33の周囲は、ファンシュラウド34によって覆われており、ラジエータ35を通過した空気がエンジン31に向かって導かれるようになっている。油圧ポンプ32は、エンジン31の駆動軸の右端部に接続されている。
本実施形態の建設機械10では、エンジン31の駆動時に、機械室15の内部に左側から右側ヘ向かう空気の流れが形成され、ラジエータ35でその空気と熱交換する冷媒によってエンジン31等が冷却される。
具体的には、ファン33の回転によって吸気口16aから空気が機械室15の内部に取り入れられる。取り入れられた空気は、ラジエータ35を通り抜け、ラジエータ35を流れる冷媒の熱を吸熱して熱気となり、排気口16bから機械室15の外に排出される。
図4にも示すように、吸気ダクト40は、空気流通方向の上流側から下流側に向かって開口した箱状に形成されている。吸気ダクト40は、ラジエータ35よりも空気流通方向の上流側に配設され、吸気室15b内に取り込まれた空気をラジエータ35に向かって導く。
吸気ダクト40とラジエータ35との間には、シール部材38が挟み込まれている(図2参照)。シール部材38は、吸気ダクト40の下流側の外周縁に沿って延びる枠状のスポンジ材又はゴム材で構成され、吸気ダクト40とラジエータ35とを密着させてシール性を高めるためのものである。
吸気ダクト40には、吸気ダクト40の吸気口にエアフィルタ50を着脱可能に取り付けるためのエアフィルタ取付部41と、吸気ダクト40の内部に熱交換器45を着脱可能に取り付けるための一対の梁部43とが設けられている。
エアフィルタ取付部41は、エアフィルタ50の上下面に沿うようにそれぞれ配設された一対のガイド板41aと、車両前方側に配設された当接板41bと、車両後方側に配設されて板厚方向に弾性変形可能な挟持板41cとを備えている。
エアフィルタ50は、吸気ダクト40の吸気側からエアフィルタ取付部41に対して押し込みながら挟持板41cを弾性変形させることで、当接板41bと挟持板41cとの間に挟持される。
吸気ダクト40内には、車両前後方向に延びる一対の梁部43が、上下方向に間隔をあけて設けられている。梁部43の前後両端部は、吸気ダクト40の内壁面に取り付けられている。梁部43には、車両前後方向に間隔をあけて2つのネジ孔43aが形成されている。
熱交換器45は、例えば、エアコン用のコンデンサや燃料クーラで構成されている。熱交換器45は、コア面が車両左右方向を向くように配設されている。熱交換器45の車両前部には、上下方向に間隔をあけて2つの取付ブラケット45aが設けられている。また、熱交換器45の車両後部にも同様に、上下方向に間隔をあけて2つの取付ブラケット45aが設けられている。これら4つの取付ブラケット45aは、一対の梁部43の4つのネジ孔43aに対応して設けられている。
そして、熱交換器45を吸気ダクト40の内部に収容して、締結ボルト46によって取付ブラケット45aと梁部43とを締結させることで、熱交換器45が吸気ダクト40の内部に着脱可能に取り付けられる。なお、本実施形態では、熱交換器45を吸気ダクト40に対して着脱可能に取り付けるようにしているが、着脱可能とせずに固定させた構成としてもよい。
吸気ダクト40の上面には、吸気ダクト40の内部に繋がる吸気ポート44が設けられている。吸気ダクト40の吸気ポート44とエンジン31とは、吸気パイプ52によって接続されている(図3参照)。
吸気パイプ52の途中には、エアクリーナ55が接続されている。エアクリーナ55は、エンジン31に供給する空気中の異物を除去するためのものであり、吸気ダクト40よりも空気流通方向の上流側に配設されている。そして、吸気ダクト40の内部で吸気ポート44側にバイパスされた空気は、吸気パイプ52及びエアクリーナ55を介してエンジン31に供給される。
このように、吸気ダクト40のエアフィルタ50を通過して大きめの異物が除去された後の空気がエアクリーナ55に送られるので、エアクリーナ55で除去すべき空気中の異物が少なくなり、エアクリーナ55の長寿命化を図ることができる。
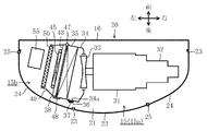
図5及び図6に示すように、ファンシュラウド34の後側壁には、ファンシュラウド34の内部に連通する開口窓34aが形成されている。開口窓34aは、上下方向に延びる矩形状の孔で形成されている。開口窓34aの下端縁は、ファンシュラウド34の底面寄りの位置まで開口している。
このように、ファンシュラウド34の底面寄りの位置まで開口窓34aを開口させることで、ファンシュラウド34内部に堆積している異物を、開口窓34aの下縁部に引っかかることなくスムーズに掃き出すことができる。
開口窓34aは、ファンシュラウド34に取り付けられた開閉蓋36によって開閉可能に塞がれている。開閉蓋36は、ファンシュラウド34の底面と開閉蓋36の下端部とを連結するヒンジ部材36aによって回動可能に支持されている。開閉蓋36の上部寄りの位置にはノブボルト37が取り付けられている。ファンシュラウド34には、開閉蓋36を閉じたときにノブボルト37に対応する位置にネジ孔34bが形成されている。作業者は、ノブボルト37を手動で締め付け又は緩めることで、開閉蓋36をファンシュラウド34に取り付け又はファンシュラウド34から取り外しできるようになっている。
また、カウンタウエイト22に形成されたメンテナンス開口23は、車両後方から見て開口窓34aを視認可能な位置に形成されているから、上部旋回体20の車両後部から、カウンタウエイト22のメンテナンス開口23を介してファンシュラウド34の開口窓34aにアクセスすることができる。
つまり、作業者が上部旋回体20の上に乗らなくても、ラジエータ35やファンシュラウド34内部の清掃作業を地上で行うことができ、安全性が高く、作業性も向上する。
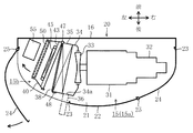
図7にも示すように、吸気ダクト40の車両前部は、上下方向に延びる中心軸47によって回動可能に支持されている。吸気ダクト40は、中心軸47を中心に回動させることで、吸気ダクト40の車両後部をラジエータ35から離間させた開き位置と、吸気ダクト40の車両後部をラジエータ35側に位置させてシール部材38に密着させた閉じ位置との間で開閉可能となっている。
これにより、ラジエータ35や吸気ダクト40の内部に配設された熱交換器45のメンテナンス作業を行い易くなる。
具体的に、産業廃棄現場や解体現場のように、微細粒子粉塵が浮遊する環境下では、エアフィルタ50を粉塵が通過して、ラジエータ35の目詰まりが進行してしまう。そのため、例えば、1日2回以上、ラジエータ35の清掃を行う必要がある。
そこで、ラジエータ35の上流側のコア面に付着した異物を除去するのにあたって、まず、後方カバー24を開いてメンテナンス開口23を開放する。そして、車両後方からメンテナンス開口23を介して、ファンシュラウド34の開閉蓋36を開き、開口窓34aを開放する。ここで、後方カバー24のヒンジ軸25は、ファンシュラウド34から離れた位置、つまり、メンテナンス開口23の周縁部における車両前側の位置で上下方向に延びている。そのため、後方カバー24の車両後部は、ファンシュラウド34から離れる方向に移動することとなり、後方カバー24やヒンジ軸25が開閉蓋36の開閉作業の邪魔になることはない。
そして、吸気ダクト40の車両後部をラジエータ35から離間させた開き位置まで吸気ダクト40を回動させる。これにより、ラジエータ35と吸気ダクト40との間に清掃用の隙間を設けるとともに、ラジエータ35と吸気ダクト40内部の熱交換器45とを離間させる。
その後、作業者は、ファンシュラウド34の開口窓34aから図示しないエアガンを挿入して、ラジエータ35の下流側のコア面から空気を吹き付けることで、ラジエータ35の上流側のコア面に付着した異物を吹き飛ばすようにする。このとき、ラジエータ35と熱交換器45とを離間させているため、エアガンによってラジエータ35から吹き飛ばされた異物が、吸気ダクト40内部の熱交換器45に付着するのを抑えることができる。
また、ファンシュラウド34内部に堆積している異物についても、開口窓34aから掃き出して取り除くことができる。
また、吸気ダクト40内部の熱交換器45についても同様に、ラジエータ35と吸気ダクト40との間に設けられた清掃用の隙間からエアガンを挿入して、熱交換器45の下流側のコア面から空気を吹き付けることで、熱交換器45の上流側のコア面に付着した異物を吹き飛ばして除去することができる。
また、これらの清掃作業は、上部旋回体20の車両後部から行うことができるので、作業者が、上部旋回体20の上に乗り込んで作業をしなくても、地上からメンテナンス作業を行うことができるので、安全性が高く、作業性も向上する。
図4にも示すように、吸気ダクト40の車両後部は、ロック部材48によって閉じ位置で固定されている。ロック部材48は、例えば、ラジエータ35の後側壁と吸気ダクト40の後側壁とに跨がって係合可能なパッチン鍵で構成されている。ロック部材48は、上下方向に間隔をあけて2つ設けられている。
このように、ロック部材48によって吸気ダクト40を閉じ位置で固定することで、吸気ダクト40が意図せずに開閉してがたつくのを抑える一方、ラジエータ35等のメンテナンス作業を行うときは、ロック部材48のロックを解除して、吸気ダクト40を開き位置まで回動させることができる。
《実施形態2》
図8は、本実施形態2に係る上部旋回体の内部構成を示す平面図である。以下、前記実施形態1と同じ部分については同じ符号を付し、相違点についてのみ説明する。
図8に示すように、ラジエータ35は、車両後方に向かうにつれてコア面がファン33から離れるように、後方に向かって斜め左方に傾斜している。ファンシュラウド34は、後側壁が前側壁よりも幅広となるように形成されている。ファンシュラウド34の後側壁におけるラジエータ35寄りの位置には、開口窓34aが形成されている。開口窓34aは、開閉蓋36によって開閉可能に塞がれている。
このように、車両後方に向かうにつれてコア面がファン33から離れる方向にラジエータ35を傾斜させたことで、ラジエータ35を傾斜させない場合に比べて、メンテナンス開口23の開口幅を小さくした場合でも、メンテナンス開口23からファンシュラウド34の開口窓34aにアクセスすることが可能となる。
つまり、メンテナンス開口23の開口幅を小さくした分だけ、カウンタウエイト22の中央幅を大きくすることができ、カウンタウエイト22の重量を増やして重量バランスを確保することができる。
また、ラジエータ35では、ファン33に対向するコア面のみが、実質的に熱交換を行う有効面積として機能するが、ラジエータ35を傾斜させることで、ファン径よりも広い範囲で熱交換を行うことができ、熱交換効率を高めることができる。
そして、図9に示すように、後方カバー24を開いてメンテナンス開口23を開放し、開閉蓋36を開くとともに、吸気ダクト40の車両後部をラジエータ35から離間させた開き位置まで吸気ダクト40を回動させる。これにより、ラジエータ35やファンシュラウド34内部の清掃作業を行うことができる。
《その他の実施形態》
前記実施形態については、以下のような構成としてもよい。
本実施形態では、開閉蓋36を、ファンシュラウド34の底面と開閉蓋36の下端部とを連結するヒンジ部材36aによって回動可能に支持するようにしたが、この形態に限定するものではない。
例えば、開閉蓋36をファンシュラウド34から着脱可能として、開口窓34aを閉じる際に、開閉蓋36をファンシュラウド34に固定するようにしてもよい。また、開閉蓋36をファンシュラウド34に取り付けるノブボルト37についても、あくまでも一例であり、その他の取付部材を用いても構わない。
以上説明したように、本発明は、ラジエータやファンシュラウド内部の清掃作業を行い易くすることができるという実用性の高い効果が得られることから、きわめて有用で産業上の利用可能性は高い。
10 建設機械
11 下部走行体
15 機械室
20 上部旋回体
22 カウンタウエイト
23 メンテナンス開口
24 後方カバー
25 ヒンジ軸
31 エンジン
33 ファン
34 ファンシュラウド
34a 開口窓
35 ラジエータ
36 開閉蓋

Claims (4)

  1. 下部走行体と、該下部走行体に搭載された上部旋回体と、該上部旋回体の車両後部に搭載されたカウンタウエイトと、該カウンタウエイトよりも車両前方の機械室内に配設されたエンジンと、該機械室内に空気を取り込んで該エンジンを冷却させるファンとを備えた建設機械の冷却装置であって、
    前記ファンよりも空気流通方向の上流側でコア面が車両左右方向を向くように前記機械室内に配設されたラジエータと、
    前記ファンの周囲を覆い、前記ラジエータを通過した空気を前記エンジンに向かって導くファンシュラウドとを備え、
    前記ファンシュラウドの後側壁には、該ファンシュラウドの内部に連通する開口窓が形成され、
    前記開口窓は、前記ファンシュラウドに取り付けられた開閉蓋によって開閉可能に塞がれ、
    前記カウンタウエイトには、車両後方から見て前記開口窓を視認可能な位置に、前記機械室に連通するメンテナンス開口が形成されていることを特徴とする建設機械の冷却装置。
  2. 請求項1において、
    前記開口窓は、前記ファンシュラウドの底面寄りの位置まで開口していることを特徴とする建設機械の冷却装置。
  3. 請求項1又は2において、
    前記メンテナンス開口の周縁部における、車両後方から見て前記ファンシュラウドから離れた位置で上下方向に延びるヒンジ軸と、
    前記ヒンジ軸を中心に回動可能に支持され、前記メンテナンス開口を開閉可能に塞ぐ後方カバーとを備えたことを特徴とする建設機械の冷却装置。
  4. 請求項1乃至3のうち何れか1つにおいて、
    前記ラジエータは、車両後方に向かうにつれて前記コア面が前記ファンから離れる方向に傾斜していることを特徴とする建設機械の冷却装置。
JP2017115960A 2017-06-13 2017-06-13 建設機械の冷却装置 Active JP6907736B2 (ja)

Priority Applications (1)

Application Number Priority Date Filing Date Title
JP2017115960A JP6907736B2 (ja) 2017-06-13 2017-06-13 建設機械の冷却装置

Applications Claiming Priority (1)

Application Number Priority Date Filing Date Title
JP2017115960A JP6907736B2 (ja) 2017-06-13 2017-06-13 建設機械の冷却装置

Publications (2)

Publication Number Publication Date
JP2019001237A true JP2019001237A (ja) 2019-01-10
JP6907736B2 JP6907736B2 (ja) 2021-07-21

Family

ID=65005568

Family Applications (1)

Application Number Title Priority Date Filing Date
JP2017115960A Active JP6907736B2 (ja) 2017-06-13 2017-06-13 建設機械の冷却装置

Country Status (1)

Country Link
JP (1) JP6907736B2 (ja)

Cited By (3)

* Cited by examiner, † Cited by third party
Publication number Priority date Publication date Assignee Title
JP2020143472A (ja) * 2019-03-05 2020-09-10 コベルコ建機株式会社 作業機械
WO2021079881A1 (ja) * 2019-10-23 2021-04-29 株式会社クボタ 作業車、情報提供システム、プログラム、記録媒体、及び方法
JP2021065150A (ja) * 2019-10-23 2021-04-30 株式会社クボタ 作業車

Citations (7)

* Cited by examiner, † Cited by third party
Publication number Priority date Publication date Assignee Title
JPH03126719U (ja) * 1990-04-06 1991-12-20
US6296436B1 (en) * 1997-04-08 2001-10-02 Allied Gator, Inc. Multipurpose counterweight housing and counterweight
JP2003020679A (ja) * 2001-07-06 2003-01-24 Komatsu Ltd 上部旋回機能を備える作業車両
JP2006206034A (ja) * 2004-12-27 2006-08-10 Kobelco Contstruction Machinery Ltd 建設機械の冷却構造
JP2013189765A (ja) * 2012-03-12 2013-09-26 Yanmar Co Ltd 旋回作業車両
JP2013249714A (ja) * 2012-06-04 2013-12-12 Yanmar Co Ltd 作業機械
JP2014190002A (ja) * 2013-03-26 2014-10-06 Sumitomo (Shi) Construction Machinery Co Ltd 建設機械の防塵ネット取付構造

Patent Citations (7)

* Cited by examiner, † Cited by third party
Publication number Priority date Publication date Assignee Title
JPH03126719U (ja) * 1990-04-06 1991-12-20
US6296436B1 (en) * 1997-04-08 2001-10-02 Allied Gator, Inc. Multipurpose counterweight housing and counterweight
JP2003020679A (ja) * 2001-07-06 2003-01-24 Komatsu Ltd 上部旋回機能を備える作業車両
JP2006206034A (ja) * 2004-12-27 2006-08-10 Kobelco Contstruction Machinery Ltd 建設機械の冷却構造
JP2013189765A (ja) * 2012-03-12 2013-09-26 Yanmar Co Ltd 旋回作業車両
JP2013249714A (ja) * 2012-06-04 2013-12-12 Yanmar Co Ltd 作業機械
JP2014190002A (ja) * 2013-03-26 2014-10-06 Sumitomo (Shi) Construction Machinery Co Ltd 建設機械の防塵ネット取付構造

Cited By (8)

* Cited by examiner, † Cited by third party
Publication number Priority date Publication date Assignee Title
JP2020143472A (ja) * 2019-03-05 2020-09-10 コベルコ建機株式会社 作業機械
JP7225927B2 (ja) 2019-03-05 2023-02-21 コベルコ建機株式会社 作業機械
WO2021079881A1 (ja) * 2019-10-23 2021-04-29 株式会社クボタ 作業車、情報提供システム、プログラム、記録媒体、及び方法
JP2021065150A (ja) * 2019-10-23 2021-04-30 株式会社クボタ 作業車
JP7239442B2 (ja) 2019-10-23 2023-03-14 株式会社クボタ 作業車
JP2023065585A (ja) * 2019-10-23 2023-05-12 株式会社クボタ 作業車
JP7594617B2 (ja) 2019-10-23 2024-12-04 株式会社クボタ 作業車
JP2025019208A (ja) * 2019-10-23 2025-02-06 株式会社クボタ 作業車

Also Published As

Publication number Publication date
JP6907736B2 (ja) 2021-07-21

Similar Documents

Publication Publication Date Title
US20100283278A1 (en) Construction machine
WO2009001607A1 (ja) 建設機械
JP2014080828A (ja) 建設機械
JP2023103214A (ja) 建設機械
JP6907736B2 (ja) 建設機械の冷却装置
JP6012760B2 (ja) 建設機械
JP5527334B2 (ja) 建設機械
JP2020132046A (ja) 作業機械
JP7147555B2 (ja) 建設機械
JP2013083106A (ja) 建設機械のフィルタ装置
JP6973114B2 (ja) 建設機械の冷却装置
US20210293208A1 (en) Construction machine
JP5567240B1 (ja) 作業車両
JP6911524B2 (ja) 建設機械の冷却装置
JP6816642B2 (ja) 建設機械の冷却装置
JP3553782B2 (ja) 小旋回型油圧ショベル
JP2019127766A (ja) 建設機械
JP2016223122A (ja) 建設機械
JP4594829B2 (ja) 建設機械の冷却装置
JP7225927B2 (ja) 作業機械
JP6704880B2 (ja) 建設機械
JP2002087043A (ja) 建設機械用空調装置の外気導入機構
JP2019044472A (ja) 建設機械
JP2000054430A (ja) 建設機械の冷却装置及びバッテリー保護カバー
JP7047650B2 (ja) 建設機械のエンジンルーム構造及び建設機械

Legal Events

Date Code Title Description
A621 Written request for application examination

Free format text: JAPANESE INTERMEDIATE CODE: A621

Effective date: 20200114

A977 Report on retrieval

Free format text: JAPANESE INTERMEDIATE CODE: A971007

Effective date: 20200917

A131 Notification of reasons for refusal

Free format text: JAPANESE INTERMEDIATE CODE: A131

Effective date: 20201006

A521 Request for written amendment filed

Free format text: JAPANESE INTERMEDIATE CODE: A523

Effective date: 20201116

TRDD Decision of grant or rejection written
A01 Written decision to grant a patent or to grant a registration (utility model)

Free format text: JAPANESE INTERMEDIATE CODE: A01

Effective date: 20210601

A61 First payment of annual fees (during grant procedure)

Free format text: JAPANESE INTERMEDIATE CODE: A61

Effective date: 20210614

R150 Certificate of patent or registration of utility model

Ref document number: 6907736

Country of ref document: JP

Free format text: JAPANESE INTERMEDIATE CODE: R150

R250 Receipt of annual fees

Free format text: JAPANESE INTERMEDIATE CODE: R250

R250 Receipt of annual fees

Free format text: JAPANESE INTERMEDIATE CODE: R250