JP2018123743A - 車両用オイル供給装置 - Google Patents
車両用オイル供給装置 Download PDFInfo
- Publication number
- JP2018123743A JP2018123743A JP2017015839A JP2017015839A JP2018123743A JP 2018123743 A JP2018123743 A JP 2018123743A JP 2017015839 A JP2017015839 A JP 2017015839A JP 2017015839 A JP2017015839 A JP 2017015839A JP 2018123743 A JP2018123743 A JP 2018123743A
- Authority
- JP
- Japan
- Prior art keywords
- oil
- volume
- passage
- microbubbles
- oil supply
- Prior art date
- Legal status (The legal status is an assumption and is not a legal conclusion. Google has not performed a legal analysis and makes no representation as to the accuracy of the status listed.)
- Pending
Links
Images
Classifications
-
- B—PERFORMING OPERATIONS; TRANSPORTING
- B01—PHYSICAL OR CHEMICAL PROCESSES OR APPARATUS IN GENERAL
- B01D—SEPARATION
- B01D19/00—Degasification of liquids
- B01D19/0073—Degasification of liquids by a method not covered by groups B01D19/0005 - B01D19/0042
- B01D19/0078—Degasification of liquids by a method not covered by groups B01D19/0005 - B01D19/0042 by vibration
-
- F—MECHANICAL ENGINEERING; LIGHTING; HEATING; WEAPONS; BLASTING
- F01—MACHINES OR ENGINES IN GENERAL; ENGINE PLANTS IN GENERAL; STEAM ENGINES
- F01M—LUBRICATING OF MACHINES OR ENGINES IN GENERAL; LUBRICATING INTERNAL COMBUSTION ENGINES; CRANKCASE VENTILATING
- F01M11/00—Component parts, details or accessories, not provided for in, or of interest apart from, groups F01M1/00 - F01M9/00
- F01M11/08—Separating lubricant from air or fuel-air mixture before entry into cylinder
-
- F—MECHANICAL ENGINEERING; LIGHTING; HEATING; WEAPONS; BLASTING
- F01—MACHINES OR ENGINES IN GENERAL; ENGINE PLANTS IN GENERAL; STEAM ENGINES
- F01M—LUBRICATING OF MACHINES OR ENGINES IN GENERAL; LUBRICATING INTERNAL COMBUSTION ENGINES; CRANKCASE VENTILATING
- F01M1/00—Pressure lubrication
- F01M1/02—Pressure lubrication using lubricating pumps
-
- F—MECHANICAL ENGINEERING; LIGHTING; HEATING; WEAPONS; BLASTING
- F01—MACHINES OR ENGINES IN GENERAL; ENGINE PLANTS IN GENERAL; STEAM ENGINES
- F01M—LUBRICATING OF MACHINES OR ENGINES IN GENERAL; LUBRICATING INTERNAL COMBUSTION ENGINES; CRANKCASE VENTILATING
- F01M11/00—Component parts, details or accessories, not provided for in, or of interest apart from, groups F01M1/00 - F01M9/00
- F01M11/02—Arrangements of lubricant conduits
-
- B—PERFORMING OPERATIONS; TRANSPORTING
- B01—PHYSICAL OR CHEMICAL PROCESSES OR APPARATUS IN GENERAL
- B01D—SEPARATION
- B01D2221/00—Applications of separation devices
Landscapes
- Engineering & Computer Science (AREA)
- Mechanical Engineering (AREA)
- General Engineering & Computer Science (AREA)
- Chemical & Material Sciences (AREA)
- Chemical Kinetics & Catalysis (AREA)
- Lubrication Of Internal Combustion Engines (AREA)
- Lubrication Details And Ventilation Of Internal Combustion Engines (AREA)
Abstract
【課題】気泡が含まれたオイルが、油圧作動部に供給され難くすることができる車両用オイル供給装置を提供する。【解決手段】車両用オイル供給装置1は、エンジン2内を循環するオイルOを貯留するオイルパン51内のオイルOを供給するためのオイルポンプ52と、オイルポンプ52からのオイルOをエンジン2の潤滑部6および油圧作動部7に供給するオイル供給通路53と、オイル供給通路53に設けられ、オイルO内に含まれる微小気泡Bを分離する気泡分離部8とを備える。【選択図】図1
Description
本発明は、車両用オイル供給装置に関する。
従来、内燃機関(エンジン)内に潤滑油(オイル)を循環させるオイルポンプを備える内燃機関が知られている(たとえば、特許文献1参照)。
上記特許文献1に記載の内燃機関は、潤滑油を貯留するオイルパンと、オイルパン内の潤滑油がオイルポンプにより供給される機関摺動部(潤滑部)と、機関摺動部から落下する潤滑油を受けるように内燃機関の全域に亘って設けられ、潤滑油を貯留させる緩衝板とを備えている。また、オイルは機関摺動部だけでなく、油圧作動部にも供給されると考えられる。ここで、気泡が混入された潤滑油が油圧作動部に供給されると、気泡に起因する油圧作動部の作動不良が生じてしまう。このような油圧作動部の作動不良などの不具合を抑制するために、上記特許文献1に記載の内燃機関では、潤滑油に含まれる気泡を除去する振動体を含む潤滑油気泡除去装置を備えている。
具体的には、上記特許文献1に記載の内燃機関では、潤滑油気泡除去装置の振動体が緩衝板を振動させることにより、緩衝板において受け止められた潤滑油が振動する。このとき、潤滑油内に含まれる複数の気泡は、潤滑油の振動により凝集する。これにより、気泡に作用する浮力が大きくなるため、緩衝板上の潤滑油の油面に凝集した気泡が浮き上がり、凝集した気泡が緩衝板上の潤滑油外に放出される。
しかしながら、上記特許文献1に記載された内燃機関の潤滑油気泡除去装置では、緩衝板上において気泡が分離されたオイルが、オイルパンからオイルポンプにより、油圧作動部および機関摺動部に供給されている。このため、オイルの温度、または、オイルポンプの駆動状態などの変化により、オイルポンプから供給されるオイルに気泡が含まれてしまうと、油圧作動部に気泡が含まれたオイルが供給されるという問題点がある。このため、気泡が含まれたオイルが、油圧作動部に供給され難くすることができる車両用オイル供給装置が望まれている。
この発明は、上記のような課題を解決するためになされたものであり、この発明の1つの目的は、気泡が含まれたオイルが、油圧作動部に供給され難くすることができる車両用オイル供給装置を提供することである。
上記目的を達成するために、この発明の一の局面における車両用オイル供給装置は、エンジン内を循環するオイルを貯留するオイルパン内のオイルを供給するためのオイルポンプと、オイルポンプからのオイルをエンジンの潤滑部および油圧作動部に供給するオイル供給通路と、オイル供給通路に設けられ、オイル内に含まれる気泡を分離する気泡分離部とを備えている。
この発明の一の局面による車両用オイル供給装置では、上記のように、オイルポンプからのオイルを潤滑部および油圧作動部に供給するオイル供給通路内に、気泡分離部が配置されている。これにより、オイルの温度、または、オイルポンプの駆動状態などの変化により、オイル供給通路内のオイルに気泡が含まれたとしても、潤滑部および油圧作動部にオイルが供給される前に、気泡分離部によりオイルに含まれた気泡を分離することができる。その結果、気泡が含まれたオイルが、油圧作動部に供給され難くすることができる。
上記一の局面による車両用オイル供給装置において、好ましくは、気泡分離部は、オイル供給通路に設けられ、所定の流路断面積を有する容積部と、容積部に配置される振動発生部とを含んでいる。
このように構成すれば、オイルパンの上面部の全域に亘って形成される緩衝板ではなく、気泡分離部は、所定の流路断面積を有する容積部を含んでいる。ここで、気泡分離部は、内燃機関の全域に渡って設けられる比較的面積の大きい緩衝板上の全域にある多量のオイルよりも少量のオイルを含む容積部に対して、オイル内の気泡を振動発生部により分離させるように構成されている。その結果、緩衝板に振動発生部を配置する場合よりも、低出力の振動発生部を配置することができるので、エンジンに対する負荷の増加を抑制し、エンジンの燃費の悪化を抑制することができる。また、容積部の断面積をオイル供給通路の断面積よりも大きくすることにより、容積部に流入するオイルの流れを遅くすることができる。また、流れが遅くなったオイルを振動発生部により振動させることにより、振動をより長い期間オイルに加えることができるので、オイル内に含まれている気泡を凝集させて、気泡を浮上させやすくすることができる。その結果、オイル内に含まれている気泡の分離を効率よく行うことができる。
この場合、好ましくは、容積部は、オイル供給通路のうち、油圧作動部と潤滑部とに分岐する分岐部に配置されており、気泡が分離されたオイルを油圧作動部に供給し、分離された気泡を所定量含むオイルを潤滑部に供給するように構成されている。
このように構成すれば、車両用オイル供給装置では、気泡を分離したオイルが油圧作動部に供給され、分離した気泡を所定量含むオイルが潤滑部に供給される。これにより、気泡が分離されたオイルが油圧作動部に供給されるので、油圧作動部において気泡による不具合が発生することを抑制することができる。また、分離した気泡を所定量含むオイルを潤滑部に供給することによって、分離した気泡を含むオイルを、油圧作動部に比べて気泡の影響を受けにくい潤滑部に用いることができるので、分離した気泡を含むオイルを有効に活用することができる。
上記容積部を有する車両用オイル供給装置において、好ましくは、オイル供給通路は、オイルポンプからのオイルを容積部に供給するための第1オイル通路と、容積部と油圧作動部とを接続する第2オイル通路と、容積部と潤滑部とを接続する第3オイル通路とを含み、第2オイル通路と容積部との接続部分は、第1オイル通路と容積部との接続部分よりも下方に配置されている。
ここで、凝集した気泡はオイル内を浮上することから、容積部内では、下方に気泡が分離されたオイルが流れている。本発明では、上記のように第2オイル通路と容積部との接続部分を配置すれば、油圧作動部に接続される第2オイル通路と容積部との接続部分に、気泡が分離されたオイルを流入させやすくすることができる。その結果、オイル内に含まれる気泡による油圧作動部の不具合が発生することをより抑制することができる。
上記一の局面による車両用オイル供給装置において、好ましくは、第3オイル通路と容積部との接続部分は、第1オイル通路と容積部との接続部分と同じ高さ、または、上方に配置されている。
ここで、凝集した気泡はオイル内を浮上することから、容積部内では、上方に気泡を含むオイルが流れている。これにより、上記のように第3オイル通路と容積部との接続部分を配置すれば、潤滑部に接続される第3オイル通路と容積部との接続部分に、気泡を含むオイルを流入させやすくすることができる。その結果、気泡を含むオイルを潤滑部に供給しやすくなるので、その分第2オイル通路に気泡を含むオイルが流入するのを効果的に抑制することができる。
上記オイル供給通路が第1オイル通路を有する車両用オイル供給装置において、好ましくは、容積部における第1オイル通路との境界部の断面積は、第1オイル通路の断面積よりも大きく設けられている。
このように構成すれば、容積部における第1オイル通路との境界部の断面積は、第1オイル通路の断面積よりも大きいので、第1オイル通路から流入してくるオイルの流速を、容積部における第1オイル通路との境界部において小さくすることができる。また、境界部において流速が小さくなったオイルが、第1オイル通路から流入してくる流速が大きいオイルに対する抵抗となるので、さらに、第1オイル通路から流入してくるオイルの流速を小さくすることができる。これらにより、容積部内のオイルの流速をより小さくすることができるので、オイルを振動発生部により長く振動させることができ、気泡分離部によるオイル内の気泡の分離をより効率よく行うことができる。
なお、本出願では、上記一の局面による車両用オイル供給装置において、以下のような構成も考えられる。
(付記項1)
上記一の局面の車両用オイル供給装置において、好ましくは、気泡分離部は、オイル供給通路のうち油圧作動部よりも上流側に配置されている。
上記一の局面の車両用オイル供給装置において、好ましくは、気泡分離部は、オイル供給通路のうち油圧作動部よりも上流側に配置されている。
(付記項2)
上記一の局面の車両用オイル供給装置において、好ましくは、油圧作動部は、可変バルブタイミング機構およびラッシュアジャスタを含んでいる。
上記一の局面の車両用オイル供給装置において、好ましくは、油圧作動部は、可変バルブタイミング機構およびラッシュアジャスタを含んでいる。
(付記項3)
上記一の局面の潤滑部を含む車両用オイル供給装置において、潤滑部は、オイルをカムシャフトに供給するためのカムシャワーを含んでいる。
上記一の局面の潤滑部を含む車両用オイル供給装置において、潤滑部は、オイルをカムシャフトに供給するためのカムシャワーを含んでいる。
(付記項4)
上記気泡分離部が振動発生部を含む車両用オイル供給装置において、振動発生部は、容積部内のオイルに接触するように設けられている。
上記気泡分離部が振動発生部を含む車両用オイル供給装置において、振動発生部は、容積部内のオイルに接触するように設けられている。
以下、本発明の実施形態を図面に基づいて説明する。
[第1実施形態]
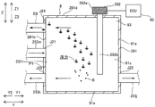
まず、図1〜図3を参照して、本発明の第1実施形態による車両用オイル供給装置1の構成について説明する。
まず、図1〜図3を参照して、本発明の第1実施形態による車両用オイル供給装置1の構成について説明する。
(エンジンの概略的な構成)
本発明の実施形態による車両(自動車)用のエンジン2は、図1に示すように、気筒21内においてピストン21aが往復動されることにより吸入・圧縮・膨張(燃焼)・排気の1サイクルを連続的に繰り返してクランクシャフト22を回転させる機能を有する。また、エンジン2は、クランクシャフト22の回転から駆動力を取り出すことにより車両(図示せず)を走行させる駆動源となっている。ここで、クランクシャフト22が延びる方向をX方向、水平面内においてX方向に直交する方向をY方向と定義する。また、X方向およびY方向に直交する上下方向をZ方向とする。
本発明の実施形態による車両(自動車)用のエンジン2は、図1に示すように、気筒21内においてピストン21aが往復動されることにより吸入・圧縮・膨張(燃焼)・排気の1サイクルを連続的に繰り返してクランクシャフト22を回転させる機能を有する。また、エンジン2は、クランクシャフト22の回転から駆動力を取り出すことにより車両(図示せず)を走行させる駆動源となっている。ここで、クランクシャフト22が延びる方向をX方向、水平面内においてX方向に直交する方向をY方向と定義する。また、X方向およびY方向に直交する上下方向をZ方向とする。
エンジン2は、シリンダブロック23と、シリンダブロック23のZ1側に固定されるシリンダヘッド24と、シリンダブロック23のZ2側に固定されるクランクケース25とを含むエンジン本体20を備える。エンジン本体20は、シリンダブロック23の側端部に取り付けられるタイミングチェーンカバー26(以下、TCC26)を含む。また、シリンダヘッド24にはヘッドカバー27が取り付けられている。
エンジン本体20内は、駆動力を発生させるピストン21a、コンロッド21bおよびクランクシャフト22を含んでいる。さらに、エンジン本体20内は、シリンダヘッド24内に組み込まれるバルブ機構3を含んでいる。バルブ機構3は、各気筒21における混合気の爆発タイミングを制御する吸気用カムシャフト31および排気用カムシャフト32と、吸気バルブ31aおよび排気バルブ32aとを有している。また、バルブ機構3は、吸気バルブ31aと吸気用カムシャフト31とのクリアランスを調節する吸気用ラッシュアジャスタ33(油圧作動部7)を有している。さらに、バルブ機構3は、排気バルブ32aと排気用カムシャフト32とのクリアランスを調節する排気用ラッシュアジャスタ34(油圧作動部7)を有している。ここで、油圧作動部7とは、エンジン2内を循環するオイルOが供給され、供給されたオイルOの油圧により作動し、外部に押圧力を加えるなどのように作動する部材となっている。
また、吸気用カムシャフト31には、回転を遅角方向または進角方向にずらす吸気用可変バルブタイミング機構35(油圧作動部7、以下、吸気用VVT35)が取り付けられている。同様に、排気用カムシャフト32には、回転を遅角方向または進角方向にずらす排気用可変バルブタイミング機構36(油圧作動部7、以下、排気用VVT36)が取り付けられている。そして、エンジン本体20は、内部にオイルO(エンジンオイル)を循環させるための循環装置5を有する車両用オイル供給装置1を含んでいる。
循環装置5は、図1に示すように、エンジン2内を循環するオイルOを貯留するオイルパン51と、オイルパン51内のオイルOを供給するためのオイルポンプ52とを含んでいる。オイルポンプ52は、クランクシャフト22の駆動力を利用して回転される。また、オイルポンプ52は、オイルOをオイルパン51から吸入ポート52aを介して容積室52bに吸入した後、容積室52bの縮小とともに所定の油圧を発生させた状態において吐出ポート52cから吐出する。
循環装置5は、オイルポンプ52によりオイルOをエンジン本体20の内部に循環させ、エンジン2の潤滑部6および油圧作動部7にオイルOを供給するための油圧回路部53(オイル供給通路)を含んでいる。油圧回路部53は、オイルパン51とオイルポンプ52の吸入ポート52aとを接続する第1油路53aと、オイルポンプ52の吐出ポート52cとオイルフィルタ54とを接続する第2油路53bとを有している。油圧回路部53は、オイルフィルタ54とメインオイルギャラリ55とを接続する第3油路53cと、メインオイルギャラリ55の一方側(X2側)から上方(Z1側)に延びる第4油路53dと、メインオイルギャラリ55の他方側(X1側)から上方(Z1側)に延びる第5油路53e(第1オイル通路)とを有している。また、第4油路53dの下流端部には、吸気用カムシャフト31および排気用カムシャフト32にオイルOを供給することによって、吸気用カムシャフト31および排気用カムシャフト32を潤滑させるためのカムシャワー56(潤滑部6)が取り付けられている一対の給油パイプ53fが接続されている。さらに、メインオイルギャラリ55の中央部から分岐した第6油路53gには、オイルジェット機構57が取り付けられている。オイルジェット機構57は、所定の作動圧をおいて開弁することによりピストン21aの裏側に冷却用のオイルOを噴射することによって、ピストン21aを冷却しつつ、ピストン21a周りを潤滑させる機能を有している。
第5油路53eの下流端部には、オイルO内に含まれる微小気泡B(気泡)を分離する気泡分離部8が接続されている。油圧回路部53は、気泡分離部8と吸気用VVT35とを接続する第1VVT用油路53h(第2オイル通路)と、気泡分離部8と排気用VVT36とを接続する第2VVT用油路53i(第2オイル通路)とを有している。さらに、油圧回路部53は、第1VVT用油路53hから分岐して吸気用ラッシュアジャスタ33に接続される第1HLA(Hydraulic Lash Adjuster)油路53j(第2オイル通路)と、第2VVT用油路53iから分岐して排気用ラッシュアジャスタ34に接続される第2HLA油路53kとを有している。また、油圧回路部53は、気泡分離部8と一対の給油パイプ53fとを接続する第7油路53l(第3オイル通路)を有している。
このように、エンジン2では、オイルポンプ52によりオイルパン51から汲み上げられたオイルOは、第1油路53a〜第4油路53dを流れて潤滑部6の1つであるカムシャワー56に供給される。また、エンジン2では、オイルOは、第6油路53gを流れて潤滑部6の1つであるオイルジェット機構57に供給される。その後、オイルOは、シリンダヘッド24およびシリンダブロック23内を自重により落下してクランクケース25に達するとともにオイルパン51に戻される。さらに、エンジン2では、オイルOは、第1VVT用油路53h、第2VVT用油路53i、第1HLA油路53jおよび第2HLA油路53kを流れて吸気用VVT35、排気用VVT36、吸気用ラッシュアジャスタ33および排気用ラッシュアジャスタ34などの油圧作動部7に供給される。
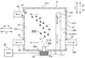
<気泡分離部>
本実施形態のエンジン2では、図2に示すように、油圧回路部53内を流れるオイルOに含まれる微小気泡Bを分離するため、車両用オイル供給装置1が、油圧回路部53に配置される気泡分離部8を有している。ここで、微小気泡Bとは、たとえば約20μm以下の大きさの気泡となっている。気泡分離部8は、油圧回路部53のうち油圧作動部7よりも上流側に配置されている。気泡分離部8により微小気泡Bが分離されたオイルOは、油圧作動部7(吸気用VVT35、排気用VVT36、吸気用ラッシュアジャスタ33および排気用ラッシュアジャスタ34など)に供給される。このようにして、オイルO内に含まれる微小気泡Bにより、油圧作動部7に対して生じる不具合を抑制している。また、気泡分離部8により分離された微小気泡Bを所定量含むオイルOは、潤滑部6(カムシャワー56)に供給される。このようにして、所定量の微小気泡Bを含むオイルOを潤滑部6に供給し、微小気泡Bが分離されたオイルOを油圧作動部7に供給している。以下、気泡分離部8に関しての説明を行っていく。
本実施形態のエンジン2では、図2に示すように、油圧回路部53内を流れるオイルOに含まれる微小気泡Bを分離するため、車両用オイル供給装置1が、油圧回路部53に配置される気泡分離部8を有している。ここで、微小気泡Bとは、たとえば約20μm以下の大きさの気泡となっている。気泡分離部8は、油圧回路部53のうち油圧作動部7よりも上流側に配置されている。気泡分離部8により微小気泡Bが分離されたオイルOは、油圧作動部7(吸気用VVT35、排気用VVT36、吸気用ラッシュアジャスタ33および排気用ラッシュアジャスタ34など)に供給される。このようにして、オイルO内に含まれる微小気泡Bにより、油圧作動部7に対して生じる不具合を抑制している。また、気泡分離部8により分離された微小気泡Bを所定量含むオイルOは、潤滑部6(カムシャワー56)に供給される。このようにして、所定量の微小気泡Bを含むオイルOを潤滑部6に供給し、微小気泡Bが分離されたオイルOを油圧作動部7に供給している。以下、気泡分離部8に関しての説明を行っていく。
気泡分離部8は、図2に示すように、油圧回路部53に設けられる容積部81と、容積部81に配置される超音波振動発生部82(振動発生部)とを有している。容積部81は、シリンダブロック23内におけるTCC26と隣り合う位置に配置されている。容積部81は、直方体状に形成され、内部に直方体状の内部空間83(図3参照)を有している。ここで、図1に示すように、容積部81の内部空間83の容積は、オイルパン51の容積よりも小さくなっている。油圧回路部53の容積部81では、図3に示すように、Y方向の一方側(Y1側)の側面部が第1側面部81aとなり、Y方向の他方側(Y2側)の側面部が第2側面部81bとなっている。容積部81では、後側(X2側)の側面部が第3側面部81c(図2参照)となっている。また、容積部81では、Z方向のZ1側の上面部81dと、Z2側の下面部81eとを有している。
容積部81は、図1に示すように、油圧回路部53のうち、油圧作動部7と潤滑部6とに分岐する分岐部P1に配置されている。容積部81は、図3に示すように、第5油路53eの下流端部に接続されており、第3側面部81cに第5油路53eの下流端部との第1接続部J1を有している。容積部81は、第1VVT用油路53hの上流端部に接続されており、第1側面部81aに第1VVT用油路53hの上流端部との第2接続部J2を有している。容積部81は、第2VVT用油路53iの上流端部に接続されており、第2側面部81bに第2VVT用油路53iの上流端部との第3接続部J3を有している。容積部81は、第7油路53lの上流端部に接続されており、第2側面部81bに第7油路53lの上流端部との第4接続部J4を有している。
第2接続部J2と第3接続部J3とは、図3に示すように、略同じ高さに配置されている。第2接続部J2および第3接続部J3は、第1接続部J1よりも下方に配置されている。第4接続部J4は、第1接続部J1よりも上方に配置されている。第4接続部J4は、第2接続部J2および第3接続部J3よりも上方に配置されている。
容積部81は、図3に示すように、油圧回路部53内を流れるオイルOの流速を容積部81内において小さくするように構成されている。具体的には、少なくとも容積部81と第5油路53eとの境界部D1における容積部81の内部空間83のYZ平面状における断面積は、第5油路53eの断面積(第5油路53eのオイルOの流れ方向に直交する断面積)よりも大きく設けられている。ここで、容積部81の内部空間83の断面積(所定の流路断面積)は、全体として第5油路53eの断面積よりも大きく形成されている。また、第1VVT用油路53hは、容積部81の内部空間83の断面積よりも断面積(第1VVT用油路53hのオイルOの流れ方向に直交する断面積)が小さく設けられている。そのため、第1VVT用油路53hの流速は、容積部81内の流速よりも大きくなっている。第2VVT用油路53iは、容積部81の内部空間83の断面積よりも断面積(第2VVT用油路53iのオイルOの流れ方向に直交する断面積)が小さく設けられている。そのため、第2VVT用油路53iの流速は、容積部81内の流速よりも大きくなっている。第7油路53lは、容積部81の内部空間83の断面積よりも断面積(第7油路53lのオイルOの流れ方向に直交する断面積)が小さく設けられている。そのため、第7油路53lの流速は、容積部81内の流速よりも大きくなっている。
超音波振動発生部82は、図3に示すように、容積部81の内部空間83内のオイルOに含まれる微小気泡Bを超音波により凝集させ、微小気泡Bを浮上させる機能を有している。すなわち、超音波振動発生部82は、容積部81の内部空間83内のオイルOを超音波により振動させることにより、オイルO内に含まれている微小気泡Bを振動させる。このとき、微小気泡Bは、超音波により膨張・収縮させられることに伴い、微小気泡Bにビヤークネス力が発生する。複数の微小気泡Bは、ビヤークネス力によりそれぞれが引き寄せられ、複数の微小気泡Bが凝集する。これにより、凝集した微小気泡Bの浮力が大きくなり、オイルO内を上方へと微小気泡Bを浮上させることができる。
具体的には、超音波振動発生部82は、圧電素子82aと、圧電素子82aの振動に共振するホーン部82bとを有している。また、超音波振動発生部82はECU90(Engine Control Unit)に電気的に接続されている。このように、超音波振動発生部82はECU90により制御されている。
図3に示すように、超音波振動発生部82は、容積部81内のオイルOに接触するように、容積部81の下端部近傍に設けられている。具体的には、超音波振動発生部82は、下面部81eに配置されている。超音波振動発生部82は、下面部81eのY方向における中央部に配置されている。超音波振動発生部82では、圧電素子82aが容積部81外に配置され、ホーン部82bが容積部81の内部空間83内のオイルOに接触している。
<微小気泡の流れ>
容積部81では、図2および図3に示すように、第5油路53eから流れてくる微小気泡Bを含むオイルOが第1接続部J1を介して流入する。ここで、容積部81の内部空間83の断面積は、第5油路53eの断面積よりも大きいので、容積部81内のオイルOの流速は、第5油路53e内のオイルOの流速よりも小さくなる。容積部81では、容積部81の内部空間83内のオイルOは、超音波振動発生部82から発せられる超音波により振動する。また、容積部81の内部空間83内のオイルOに含まれる微小気泡Bも超音波により振動する。これにより、容積部81の内部空間83内のオイルOに含まれる微小気泡Bは凝集するため、微小気泡Bは容積部81の内部空間83内を上方へと移動する。このため、容積部81の内部空間83において、上部のオイルOに含まれる微小気泡Bは多量となり、下部のオイルOに含まれる微小気泡Bは少量となっている。
容積部81では、図2および図3に示すように、第5油路53eから流れてくる微小気泡Bを含むオイルOが第1接続部J1を介して流入する。ここで、容積部81の内部空間83の断面積は、第5油路53eの断面積よりも大きいので、容積部81内のオイルOの流速は、第5油路53e内のオイルOの流速よりも小さくなる。容積部81では、容積部81の内部空間83内のオイルOは、超音波振動発生部82から発せられる超音波により振動する。また、容積部81の内部空間83内のオイルOに含まれる微小気泡Bも超音波により振動する。これにより、容積部81の内部空間83内のオイルOに含まれる微小気泡Bは凝集するため、微小気泡Bは容積部81の内部空間83内を上方へと移動する。このため、容積部81の内部空間83において、上部のオイルOに含まれる微小気泡Bは多量となり、下部のオイルOに含まれる微小気泡Bは少量となっている。
この結果、容積部81の内部空間83から、第2接続部J2を介して第1VVT用油路53hに流れるオイルOが含む微小気泡Bの量は少なくなるので、微小気泡Bの量が少ないオイルOが、吸気用VVT35に供給される。さらに、微小気泡Bの量が少ないオイルOは、第1VVT用油路53hから分岐する第1HLA油路53jへと流れ、吸気用ラッシュアジャスタ33に供給される。容積部81の内部空間83から、第3接続部J3を介して第2VVT用油路53iに流れるオイルOが含む微小気泡Bの量は少なくなるので、微小気泡Bの量が少ないオイルOが、排気用VVT36に供給される。さらに、微小気泡Bの量が少ないオイルOは、第2VVT用油路53iから分岐する第2HLA油路53kへと流れ、排気用ラッシュアジャスタ34に供給される。一方、容積部81の内部空間83から、第4接続部J4を介して第7油路53lに流れるオイルOが含む微小気泡Bの量は多くなるので、微小気泡Bの量が多いオイルOが、カムシャワー56に供給される。ここで、オイルOがカムシャワー56から放出されることにより、多量の微小気泡Bは、オイルOから外部へと放出される。
(第1実施形態の効果)
第1実施形態では、以下のような効果を得ることができる。
第1実施形態では、以下のような効果を得ることができる。
第1実施形態では、上記のように、オイルポンプ52からのオイルOを潤滑部6および油圧作動部7に供給する油圧回路部53内に、気泡分離部8が配置されている。これにより、オイルOの温度、または、オイルポンプ52の駆動状態などの変化により、油圧回路部53内のオイルOに微小気泡Bが含まれたとしても、潤滑部6および油圧作動部7にオイルOが供給される前に、気泡分離部8によりオイルOに含まれた微小気泡Bを分離することができる。この結果、微小気泡Bが含まれたオイルOが、油圧作動部7に供給され難くすることができる。
また、第1実施形態では、気泡分離部8が、オイルパン51の上面部の全域に亘って形成される緩衝板よりもオイルOの量が少ない油圧回路部53に配置されている。これにより、オイルパン51の上面部の全域に亘って形成されオイルOの量が多い緩衝板よりも、オイルOの量が少ない油圧回路部53内において、オイルOに含まれている微小気泡Bを気泡分離部8により分離することができる。この結果、多量のオイルOが貯留されている緩衝板において気泡分離部8によりオイルO内の微小気泡Bを分離するよりも、低出力の気泡分離部8を用いることができるので、エンジン2の負荷の増加を抑制し、エンジン2の燃費の悪化を抑制することができる。
また、第1実施形態では、気泡分離部8は、油圧回路部53に設けられる容積部81と、容積部81に配置される超音波振動発生部82とを含んでいる。これにより、気泡分離部8は、油圧回路部53の断面積よりも断面積が大きい容積部81を含んでいる。このため、容積部81の断面積が油圧回路部53の断面積よりも大きいので、容積部81に流入するオイルOの流れを遅くすることができる。また、流れが遅くなったオイルOを超音波振動発生部82により振動させることから、振動をより長い期間オイルOに加えることができるので、オイルO内に含まれている微小気泡Bが凝集し、微小気泡Bを浮上させやすくすることができる。この結果、オイルO内に含まれている微小気泡Bの分離を効率よく行うことができる。
また、第1実施形態では、容積部81は、油圧回路部53のうち、油圧作動部7と潤滑部6とに分岐する分岐部P1に配置されている。さらに、容積部81は、微小気泡Bが分離されたオイルOを油圧作動部7に供給し、分離された微小気泡Bを所定量含むオイルOを潤滑部6に供給するように構成されている。これにより、油圧作動部7には微小気泡Bが分離されたオイルOが供給され、潤滑部6には分離した微小気泡Bを所定量含むオイルOが供給される。この結果、微小気泡Bを分離したオイルOが油圧作動部7に供給されるので、油圧作動部7において微小気泡Bによる不具合が発生することを抑制することができる。また、分離した微小気泡Bを所定量含むオイルOが潤滑部6に供給される。これにより、分離した微小気泡Bを含むオイルOを、油圧作動部7に比べて微小気泡Bの影響を受けにくい潤滑部6に用いることができるので、分離した微小気泡Bを有効に活用することができる。
また、第1実施形態では、第2接続部J2および第3接続部J3は、第1接続部J1よりも下方に配置されている。ここで、容積部81内では、下方に微小気泡Bが分離されたオイルOが流れている。これにより、第2接続部J2および第3接続部J3には、微小気泡Bが分離されたオイルOを流入させやすくすることができる。この結果、オイルO内に含まれる微小気泡Bによる油圧作動部7の不具合が発生することをより抑制することができる。
また、第1実施形態では、第4接続部J4は、第1接続部J1と略同じ高さに配置されている。ここで、凝集した微小気泡BはオイルO内を浮上することから、容積部81内では、上方に微小気泡Bを含むオイルOが流れている。これにより、第1接続部J1よりも略同じ高さに配置されている、第4接続部J4には、微小気泡Bを含むオイルOを流入させやすくすることができる。この結果、微小気泡Bを含むオイルOを潤滑部6に供給しやすくなるので、その分第1VVT用油路53hおよび第2VVT用油路53iに微小気泡Bを含むオイルOが流入するのを効果的に抑制することができる。
また、第1実施形態では、容積部81における第5油路53eとの境界部D1の断面積は、第5油路53eの断面積よりも大きく設けられている。これにより、容積部81における第5油路53eとの境界部D1の断面積は、第5油路53eの断面積よりも大きいので、第5油路53eから流入してくるオイルOの流速を境界部D1において小さくすることができる。また、境界部D1において流速が小さくなったオイルOが、第5油路53eから流入してくる流速が大きいオイルOに対する抵抗となるので、さらに、第5油路53eから流入してくるオイルOの流速を小さくすることができる。これらにより、容積部81内のオイルOの流速をより小さくすることができるので、オイルOを超音波振動発生部82により長く振動させることができ、オイルO内の微小気泡Bの分離をより効率よく行うことができる。
また、第1実施形態では、気泡分離部8は、油圧回路部53のうち油圧作動部7よりも上流側に配置されている。これにより、油圧作動部7に供給させるオイルO内の微小気泡Bを確実に分離させることができる。この結果、オイルO内に含まれる微小気泡Bに起因する油圧作動部7の不具合を抑制することができる。
また、第1実施形態では、油圧作動部7は、吸気用VVT35、排気用VVT36、吸気用ラッシュアジャスタ33および排気用ラッシュアジャスタ34を含んでいる。これにより、吸気用VVT35、排気用VVT36、吸気用ラッシュアジャスタ33および排気用ラッシュアジャスタ34に供給するオイルO内の微小気泡Bを確実に分離させることができる。この結果、オイルO内に含まれる微小気泡Bに起因する、吸気用VVT35、排気用VVT36、吸気用ラッシュアジャスタ33および排気用ラッシュアジャスタ34の不具合を抑制することができる。
また、第1実施形態では、潤滑部6は、オイルOを吸気用カムシャフト31および排気用カムシャフト32に供給するためのカムシャワー56を含んでいる。これにより、微小気泡Bが含まれているオイルOをカムシャワー56から、吸気用カムシャフト31および排気用カムシャフト32に供給することができる。この結果、分離した微小気泡Bを含むオイルOを、油圧作動部7に比べて微小気泡Bの影響を受けにくいカムシャワー56に用いることができるので、分離した微小気泡Bを有効に活用することができる。
また、第1実施形態では、超音波振動発生部82のホーン部82bは、容積部81内のオイルOに接触するように設けられている。これにより、容積部81内のオイルOに含まれる微小気泡Bを間接的に振動させるよりも、より容易にオイルOに含まれる微小気泡Bを振動させることができる。この結果、容積部81内のオイルOに含まれる微小気泡Bを間接的に振動させるよりも、より低出力でオイルOに含まれる微小気泡Bを凝集させることができる。
[第2実施形態]
次に、図4〜図6を参照して、第2実施形態について説明する。この第2実施形態では、第1実施形態と異なり、気泡分離部8が容積部281の上面部281dに配置されている例について説明する。また、図中において、上記第1実施形態と同様の構成には、第1実施形態と同じ符号を付して説明を省略している。
次に、図4〜図6を参照して、第2実施形態について説明する。この第2実施形態では、第1実施形態と異なり、気泡分離部8が容積部281の上面部281dに配置されている例について説明する。また、図中において、上記第1実施形態と同様の構成には、第1実施形態と同じ符号を付して説明を省略している。
第5油路53eの下流端部は、図4に示すように、第1VVT用油路253hおよび第2VVT用油路253iに分岐している。油圧回路部253は、第2VVT用油路253iから分岐する第8油路253mを有している。第8油路253mの下流端部は、図5に示すように、気泡分離部8に接続されている。また、油圧回路部253は、図6に示すように、気泡分離部8と吸気用ラッシュアジャスタ33とを接続する第1HLA油路253jと、気泡分離部8と排気用ラッシュアジャスタ34とを接続する第2HLA油路253kとを有している。さらに、油圧回路部253は、図5に示すように、気泡分離部8と一対の給油パイプ53fとを接続する第7油路53lを有している。
<気泡分離部>
容積部281は、図6に示すように、第2側面部281bに第8油路253mの下流端部との第1接続部J21を有している。この場合、第2側面部281bが、第8油路253mと容積部281との境界部D21となっている。容積部281は、第1HLA油路253jの上流端部に接続されており、第1側面部281aに第2HLA油路253kの上流端部との第2接続部J22を有している。容積部281は、第2HLA油路253kの上流端部に接続されており、第2側面部281bに第2HLA油路253kの上流端部との第3接続部J23を有している。容積部281は、第7油路253lの上流端部に接続されており、第2側面部281bに第7油路253lの上流端部との第4接続部J24を有している。
容積部281は、図6に示すように、第2側面部281bに第8油路253mの下流端部との第1接続部J21を有している。この場合、第2側面部281bが、第8油路253mと容積部281との境界部D21となっている。容積部281は、第1HLA油路253jの上流端部に接続されており、第1側面部281aに第2HLA油路253kの上流端部との第2接続部J22を有している。容積部281は、第2HLA油路253kの上流端部に接続されており、第2側面部281bに第2HLA油路253kの上流端部との第3接続部J23を有している。容積部281は、第7油路253lの上流端部に接続されており、第2側面部281bに第7油路253lの上流端部との第4接続部J24を有している。
第2接続部J22および第3接続部J23は、図6に示すように、第1接続部J21よりも下方に配置されている。第4接続部J24は、第1接続部J21よりも上方に配置されている。
超音波振動発生部282は、図5に示すように、容積部281内のオイルOに接触するように、容積部281の上端部近傍に設けられている。具体的には、超音波振動発生部282は、図6に示すように、上面部281dに配置されている。超音波振動発生部282は、上面部281dのY方向における中央部よりもずれた位置に配置されている。超音波振動発生部282では、圧電素子282aが容積部281外に配置され、ホーン部282bが容積部281の内部空間283内のオイルOに接触している。
<微小気泡の流れ>
容積部81では、図5および図6に示すように、第8油路253mから流れてくる微小気泡Bを含むオイルOが第1接続部J21を介して流入する。ここで、容積部281の内部空間283のXZ平面上における断面積は、第8油路253mの断面積(第8油路253mのオイルOの流れ方向に直交する断面積)よりも大きいので、容積部281内のオイルOの流速は、第8油路253m内のオイルOの流速よりも小さくなる。容積部281では、容積部281の内部空間283内のオイルOは、超音波振動発生部282から発せられる超音波により振動する。また、容積部281の内部空間283内のオイルOに含まれる微小気泡Bも超音波により振動する。これにより、容積部281の内部空間283内のオイルOに含まれる微小気泡Bは凝集するため、微小気泡Bは容積部281の内部空間283内を上方へと移動する。このため、容積部281の内部空間283において、上部のオイルOに含まれる微小気泡Bは多量となり、下部のオイルOに含まれる微小気泡Bは少量となっている。
容積部81では、図5および図6に示すように、第8油路253mから流れてくる微小気泡Bを含むオイルOが第1接続部J21を介して流入する。ここで、容積部281の内部空間283のXZ平面上における断面積は、第8油路253mの断面積(第8油路253mのオイルOの流れ方向に直交する断面積)よりも大きいので、容積部281内のオイルOの流速は、第8油路253m内のオイルOの流速よりも小さくなる。容積部281では、容積部281の内部空間283内のオイルOは、超音波振動発生部282から発せられる超音波により振動する。また、容積部281の内部空間283内のオイルOに含まれる微小気泡Bも超音波により振動する。これにより、容積部281の内部空間283内のオイルOに含まれる微小気泡Bは凝集するため、微小気泡Bは容積部281の内部空間283内を上方へと移動する。このため、容積部281の内部空間283において、上部のオイルOに含まれる微小気泡Bは多量となり、下部のオイルOに含まれる微小気泡Bは少量となっている。
容積部281の内部空間283から、第2接続部J22を介して第1HLA油路253jに流れるオイルOが含む微小気泡Bの量は少なくなるので、微小気泡Bの量が少ないオイルOが、吸気用ラッシュアジャスタ33に供給される。容積部281の内部空間283から、第3接続部J23を介して第2HLA油路253kに流れるオイルOが含む微小気泡Bの量は少なくなるので、微小気泡Bの量が少ないオイルOが、排気用ラッシュアジャスタ34に供給される。容積部281の内部空間283から、第4接続部J24を介して第7油路253lに流れるオイルOが含む微小気泡Bの量は多くなるので、微小気泡Bの量が多いオイルOが、カムシャワー56に供給される。このように、多量の微小気泡Bを含んだオイルOは潤滑部6に供給され、少量の微小気泡Bを含んだオイルOは油圧作動部7に供給される。なお、第2実施形態のその他の構成は、第1実施形態の構成と同様である。
(第2実施形態の効果)
第2実施形態では、以下のような効果を得ることができる。
第2実施形態では、以下のような効果を得ることができる。
第2実施形態では、上記のように、容積部281の上面部281dに気泡分離部8を配置する。これにより、エンジン2を車両に搭載した後、上方から容積部281にアクセスして、超音波振動発生部282を容積部281に固定することができる。また、固定後においても、容易に保守点検および交換を行うことができる。なお、第2実施形態のその他の効果は、第1実施形態の効果と同様である。
<変形例>
なお、今回開示された実施形態は、すべての点で例示であって制限的なものではないと考えられるべきである。本発明の範囲は、上記した実施形態の説明ではなく特許請求の範囲によって示され、さらに特許請求の範囲と均等の意味および範囲内でのすべての変更(変形例)が含まれる。
なお、今回開示された実施形態は、すべての点で例示であって制限的なものではないと考えられるべきである。本発明の範囲は、上記した実施形態の説明ではなく特許請求の範囲によって示され、さらに特許請求の範囲と均等の意味および範囲内でのすべての変更(変形例)が含まれる。
たとえば、上記第1実施形態および第2実施形態では、容積部81(281)の内部空間83(283)の形状は、直方体状である例を示したが、本発明はこれに限定されない。たとえば、容積部の内部空間の形状は、球状であってよい。つまり、容積部の内部空間の形状は、容積部の形状に合わせた形状であればよい。
また、上記第1実施形態では、第4接続部J4は、第1接続部J1と略同じ高さに配置されているが、本発明はこれに限定されない。本発明では、第4接続部は、第1接続部よりも上方に配置されてもよい。この場合、第1接続部は、第2接続部および第3接続部と第4接続部との間に配置されることになる。
また、上記第1実施形態および第2実施形態では、容積部81(281)は、第5油路53e(253e)を流れるオイルOの流速を遅くするように構成されているが、本発明はこれに限定されない。本発明では、容積部に第5油路から流入するオイルを一時的に貯留するような構成であってもよい。
また、上記第1実施形態および第2実施形態では、気泡分離部8は、超音波振動発生部82(282)を含んでいるが、本発明はこれに限定されない。本発明では、気泡分離部が超音波振動部を含んでいない構成であってもよい。ここで、オイル内の気泡は、オイルよりも軽いので、振動発生部により凝集させずとも、上方に移動しやすい。この結果、気泡分離部が、振動発生部を含んでいなくとも、容積部のみにより、オイル内に含まれる気泡を上方に移動させることが可能となっている。これにより、駆動力を用いなくとも、オイル内の気泡の分離ができるので、気泡分離部の構成をより簡易にすることができる。
また、上記第1実施形態および第2実施形態では、気泡分離部8は、圧電素子82a(282a)により超音波を発生させる超音波振動発生部82(282)を含んでいるが、本発明はこれに限定されない。本発明では、超音波振動発生部は、圧電素子以外の構成により超音波を発生させるような構成であってもよい。
また、上記第1実施形態および第2実施形態では、油圧作動部7は、吸気用VVT35、排気用VVT36、吸気用ラッシュアジャスタ33および排気用ラッシュアジャスタ34となっているが、本発明はこれに限られない。本発明では、たとえば、油圧作動部は、チェーンテンショナーおよびカムチェーンテンショナーであってもよい。
また、第1実施形態および第2実施形態では、潤滑部6は、カムシャワー56となっているが、本発明はこれに限られない。本発明では、たとえば、潤滑部は、チェーンにオイルを噴射するチェーンジェット機構およびピストンにオイルを噴射するオイルジェット機構であってもよい。
また、第1実施形態および第2実施形態では、超音波振動発生部82(282)は、ホーン部82b(282b)により容積部81(281)内のオイルOに直接接触して、オイルOを振動させているが、本発明はこれに限定されない。本発明では、超音波振動発生部は、容積部内のオイルを間接的に振動させてもよい。
また、第1実施形態および第2実施形態では、気泡分離部8は、油圧回路部53(253)に1つ配置されているが、本発明はこれに限られない。本発明では、気泡分離部は、油圧回路部に複数配置されてもよい。
1 車両用オイル供給装置
2 エンジン
6 潤滑部
7 油圧作動部
8 気泡分離部
33 吸気用ラッシュアジャスタ(油圧作動部)
34 排気用ラッシュアジャスタ(油圧作動部)
35 吸気用可変バルブタイミング機構(油圧作動部)
36 排気用可変バルブタイミング機構(油圧作動部)
51 オイルパン
52 オイルポンプ
53、253 油圧回路部(オイル供給通路)
53e 第5油路(第1オイル通路)
53h、253h 第1VVT用油路(第2オイル通路)
53i、253i 第2VVT用油路(第2オイル通路)
53j、253j 第1HLA油路(第2オイル通路)
53k、253k 第2HLA油路(第2オイル通路)
53l、253l 第7油路(第3オイル通路)
253m 第8油路(第1オイル通路)
56 カムシャワー(潤滑部)
81、281 容積部(気泡分離部)
82、282 超音波振動発生部(振動発生部)
B 微小気泡(気泡)
D1、D21 境界部
O オイル
P1 分岐部
2 エンジン
6 潤滑部
7 油圧作動部
8 気泡分離部
33 吸気用ラッシュアジャスタ(油圧作動部)
34 排気用ラッシュアジャスタ(油圧作動部)
35 吸気用可変バルブタイミング機構(油圧作動部)
36 排気用可変バルブタイミング機構(油圧作動部)
51 オイルパン
52 オイルポンプ
53、253 油圧回路部(オイル供給通路)
53e 第5油路(第1オイル通路)
53h、253h 第1VVT用油路(第2オイル通路)
53i、253i 第2VVT用油路(第2オイル通路)
53j、253j 第1HLA油路(第2オイル通路)
53k、253k 第2HLA油路(第2オイル通路)
53l、253l 第7油路(第3オイル通路)
253m 第8油路(第1オイル通路)
56 カムシャワー(潤滑部)
81、281 容積部(気泡分離部)
82、282 超音波振動発生部(振動発生部)
B 微小気泡(気泡)
D1、D21 境界部
O オイル
P1 分岐部
Claims (6)
- エンジン内を循環するオイルを貯留するオイルパン内のオイルを供給するためのオイルポンプと、
前記オイルポンプからのオイルを前記エンジンの潤滑部および油圧作動部に供給するオイル供給通路と、
前記オイル供給通路に設けられ、オイル内に含まれる気泡を分離する気泡分離部とを備える、車両用オイル供給装置。 - 前記気泡分離部は、
前記オイル供給通路に設けられ、所定の流路断面積を有する容積部と、
前記容積部に配置される振動発生部とを含む、請求項1に記載の車両用オイル供給装置。 - 前記容積部は、前記オイル供給通路のうち、前記油圧作動部と前記潤滑部とに分岐する分岐部に配置されており、気泡が分離されたオイルを前記油圧作動部に供給し、分離された気泡を所定量含むオイルを前記潤滑部に供給するように構成されている、請求項2に記載の車両用オイル供給装置。
- 前記オイル供給通路は、
前記オイルポンプからのオイルを前記容積部に供給するための第1オイル通路と、
前記容積部と前記油圧作動部とを接続する第2オイル通路と、
前記容積部と前記潤滑部とを接続する第3オイル通路とを含み、
前記第2オイル通路と前記容積部との接続部分は、前記第1オイル通路と前記容積部との接続部分よりも下方に配置されている、請求項2または3に記載の車両用オイル供給装置。 - 前記第3オイル通路と前記容積部との接続部分は、前記第1オイル通路と前記容積部との接続部分と同じ高さ、または、上方に配置されている、請求項4に記載の車両用オイル供給装置。
- 前記容積部における前記第1オイル通路との境界部の断面積は、前記第1オイル通路の断面積よりも大きく設けられている、請求項4または5に記載の車両用オイル供給装置。
Priority Applications (4)
| Application Number | Priority Date | Filing Date | Title |
|---|---|---|---|
| JP2017015839A JP2018123743A (ja) | 2017-01-31 | 2017-01-31 | 車両用オイル供給装置 |
| CN201810006955.6A CN108374706A (zh) | 2017-01-31 | 2018-01-04 | 用于车辆的供油装置 |
| US15/869,496 US10486085B2 (en) | 2017-01-31 | 2018-01-12 | Oil supply apparatus for vehicle |
| DE102018101978.5A DE102018101978A1 (de) | 2017-01-31 | 2018-01-30 | Ölzufuhrvorrichtung für ein Fahrzeug |
Applications Claiming Priority (1)
| Application Number | Priority Date | Filing Date | Title |
|---|---|---|---|
| JP2017015839A JP2018123743A (ja) | 2017-01-31 | 2017-01-31 | 車両用オイル供給装置 |
Publications (1)
| Publication Number | Publication Date |
|---|---|
| JP2018123743A true JP2018123743A (ja) | 2018-08-09 |
Family
ID=62843113
Family Applications (1)
| Application Number | Title | Priority Date | Filing Date |
|---|---|---|---|
| JP2017015839A Pending JP2018123743A (ja) | 2017-01-31 | 2017-01-31 | 車両用オイル供給装置 |
Country Status (4)
| Country | Link |
|---|---|
| US (1) | US10486085B2 (ja) |
| JP (1) | JP2018123743A (ja) |
| CN (1) | CN108374706A (ja) |
| DE (1) | DE102018101978A1 (ja) |
Cited By (1)
| Publication number | Priority date | Publication date | Assignee | Title |
|---|---|---|---|---|
| KR20210053062A (ko) * | 2019-11-01 | 2021-05-11 | 국방과학연구소 | 링 타입 트랜스듀서의 오일충진 장치와 이를 이용한 링 타입 트랜스듀서의 오일충진 방법 |
Families Citing this family (3)
| Publication number | Priority date | Publication date | Assignee | Title |
|---|---|---|---|---|
| JP7107183B2 (ja) * | 2018-11-14 | 2022-07-27 | トヨタ自動車株式会社 | 内燃機関のオイル貯留構造 |
| GB201913435D0 (en) * | 2019-09-18 | 2019-10-30 | Rolls Royce | Oil distribution system for an engine |
| JP7312693B2 (ja) * | 2019-12-25 | 2023-07-21 | マーレジャパン株式会社 | 気泡分離器、および気泡分離器を備える自動車の流体回路 |
Citations (4)
| Publication number | Priority date | Publication date | Assignee | Title |
|---|---|---|---|---|
| JPH01104907A (ja) * | 1987-10-16 | 1989-04-21 | Suzuki Motor Co Ltd | オイルパンの気泡除去装置 |
| JP2009097366A (ja) * | 2007-10-15 | 2009-05-07 | Mazda Motor Corp | エンジンのオイル供給装置 |
| JP2010024982A (ja) * | 2008-07-18 | 2010-02-04 | Mazda Motor Corp | 内燃機関の油路構造 |
| JP2010127154A (ja) * | 2008-11-26 | 2010-06-10 | Toyota Motor Corp | 内燃機関の潤滑装置 |
Family Cites Families (15)
| Publication number | Priority date | Publication date | Assignee | Title |
|---|---|---|---|---|
| US5587068A (en) * | 1994-11-15 | 1996-12-24 | United Technologies Corporation | Multi-attitude deaerator for oil tank |
| GB0016179D0 (en) * | 2000-06-30 | 2000-08-23 | Lucas Industries Ltd | Deaerator |
| JP2002066431A (ja) * | 2000-09-01 | 2002-03-05 | Fuji Photo Film Co Ltd | 塗布液の調製・脱泡方法及び装置 |
| ITTO20010269A1 (it) | 2001-03-23 | 2002-09-23 | Fiat Ricerche | Motore a combustione interna, con sistema idraulico di azionamento variabile delle valvole, e mezzi di compensazione delle variazioni di vol |
| JP2004132192A (ja) | 2002-10-08 | 2004-04-30 | Toyota Motor Corp | 内燃機関の潤滑構造 |
| DE10308761A1 (de) * | 2003-02-28 | 2004-09-16 | Dr.Ing.H.C. F. Porsche Ag | Vorrichtung zur Entschäumung von Öl im Schmiermittelkreislauf einer Brennkraftmaschine |
| KR20050023147A (ko) * | 2003-08-27 | 2005-03-09 | 현대자동차주식회사 | 오일탱크의 에어제거장치 |
| JP2007024011A (ja) * | 2005-07-21 | 2007-02-01 | Toyota Motor Corp | 媒体循環装置 |
| JP2009119325A (ja) * | 2007-11-12 | 2009-06-04 | Toyota Boshoku Corp | 気泡分離器 |
| JP2010019098A (ja) | 2008-07-08 | 2010-01-28 | Nippon Soken Inc | 内燃機関の潤滑油気泡除去装置 |
| US20140140824A1 (en) * | 2012-10-26 | 2014-05-22 | United Technologies Corporation | Oil system bearing compartment architecture for gas turbine engine |
| JP5632049B1 (ja) * | 2013-07-10 | 2014-11-26 | 川崎重工業株式会社 | 無段変速機の制御用油圧回路 |
| CN103437854B (zh) * | 2013-09-05 | 2015-10-28 | 中国北方发动机研究所(天津) | 一种柴油机外循环油箱结构 |
| JP5854022B2 (ja) * | 2013-10-04 | 2016-02-09 | トヨタ自動車株式会社 | 内燃機関のオイルジェット装置 |
| JP6299144B2 (ja) | 2013-10-22 | 2018-03-28 | スズキ株式会社 | 内燃機関の給油構造 |
-
2017
- 2017-01-31 JP JP2017015839A patent/JP2018123743A/ja active Pending
-
2018
- 2018-01-04 CN CN201810006955.6A patent/CN108374706A/zh active Pending
- 2018-01-12 US US15/869,496 patent/US10486085B2/en not_active Expired - Fee Related
- 2018-01-30 DE DE102018101978.5A patent/DE102018101978A1/de not_active Withdrawn
Patent Citations (4)
| Publication number | Priority date | Publication date | Assignee | Title |
|---|---|---|---|---|
| JPH01104907A (ja) * | 1987-10-16 | 1989-04-21 | Suzuki Motor Co Ltd | オイルパンの気泡除去装置 |
| JP2009097366A (ja) * | 2007-10-15 | 2009-05-07 | Mazda Motor Corp | エンジンのオイル供給装置 |
| JP2010024982A (ja) * | 2008-07-18 | 2010-02-04 | Mazda Motor Corp | 内燃機関の油路構造 |
| JP2010127154A (ja) * | 2008-11-26 | 2010-06-10 | Toyota Motor Corp | 内燃機関の潤滑装置 |
Cited By (2)
| Publication number | Priority date | Publication date | Assignee | Title |
|---|---|---|---|---|
| KR20210053062A (ko) * | 2019-11-01 | 2021-05-11 | 국방과학연구소 | 링 타입 트랜스듀서의 오일충진 장치와 이를 이용한 링 타입 트랜스듀서의 오일충진 방법 |
| KR102310324B1 (ko) | 2019-11-01 | 2021-10-08 | 국방과학연구소 | 링 타입 트랜스듀서의 오일충진 장치와 이를 이용한 링 타입 트랜스듀서의 오일충진 방법 |
Also Published As
| Publication number | Publication date |
|---|---|
| CN108374706A (zh) | 2018-08-07 |
| DE102018101978A1 (de) | 2018-08-02 |
| US20180214793A1 (en) | 2018-08-02 |
| US10486085B2 (en) | 2019-11-26 |
Similar Documents
| Publication | Publication Date | Title |
|---|---|---|
| JP2018123743A (ja) | 車両用オイル供給装置 | |
| JP6549659B2 (ja) | 内燃機関のブリーザ装置 | |
| CN103670585A (zh) | 发动机的供油结构 | |
| JP2005155615A (ja) | 4サイクル機関システム | |
| JP4919168B2 (ja) | エンジンの潤滑装置 | |
| CN103782000A (zh) | 发动机的通风装置 | |
| JP2011038437A (ja) | 内燃機関 | |
| JP2007064080A (ja) | 内燃機関 | |
| JP2010024982A (ja) | 内燃機関の油路構造 | |
| EP1333161B1 (en) | A gas-liquid separation device in a vibrator engine | |
| US6546907B2 (en) | Four-stroke cycle internal combustion engine | |
| JP2009013887A (ja) | エンジンの潤滑装置 | |
| JP4983444B2 (ja) | ラッシュアジャスタの作動油供給構造及び内燃機関 | |
| JP6414150B2 (ja) | エンジンのオイル供給装置 | |
| JP5356166B2 (ja) | エンジン | |
| JP2011069240A (ja) | 4サイクルエンジンの潤滑装置 | |
| JP2005042657A (ja) | シリンダヘッドのオイル通路構造 | |
| JP2007064155A (ja) | オイルミスト処理装置 | |
| JP5331588B2 (ja) | 内燃機関のクランクケース | |
| JP4517831B2 (ja) | 内燃機関 | |
| JP2007009746A (ja) | オイルミスト処理装置 | |
| JP2017180171A (ja) | エンジンのオイル供給装置 | |
| JP7565901B2 (ja) | 内燃機関 | |
| JP5478435B2 (ja) | エンジンのブローバイガス還流装置 | |
| RU149487U1 (ru) | Двигатель внутреннего сгорания |
Legal Events
| Date | Code | Title | Description |
|---|---|---|---|
| A621 | Written request for application examination |
Free format text: JAPANESE INTERMEDIATE CODE: A621 Effective date: 20191210 |
|
| A131 | Notification of reasons for refusal |
Free format text: JAPANESE INTERMEDIATE CODE: A131 Effective date: 20201201 |
|
| A02 | Decision of refusal |
Free format text: JAPANESE INTERMEDIATE CODE: A02 Effective date: 20210601 |