JP2017037726A - 電気コネクタ - Google Patents
電気コネクタ Download PDFInfo
- Publication number
- JP2017037726A JP2017037726A JP2015156682A JP2015156682A JP2017037726A JP 2017037726 A JP2017037726 A JP 2017037726A JP 2015156682 A JP2015156682 A JP 2015156682A JP 2015156682 A JP2015156682 A JP 2015156682A JP 2017037726 A JP2017037726 A JP 2017037726A
- Authority
- JP
- Japan
- Prior art keywords
- terminal
- hole
- terminals
- housing
- speed transmission
- Prior art date
- Legal status (The legal status is an assumption and is not a legal conclusion. Google has not performed a legal analysis and makes no representation as to the accuracy of the status listed.)
- Granted
Links
Images
Classifications
-
- H—ELECTRICITY
- H01—ELECTRIC ELEMENTS
- H01R—ELECTRICALLY-CONDUCTIVE CONNECTIONS; STRUCTURAL ASSOCIATIONS OF A PLURALITY OF MUTUALLY-INSULATED ELECTRICAL CONNECTING ELEMENTS; COUPLING DEVICES; CURRENT COLLECTORS
- H01R13/00—Details of coupling devices of the kinds covered by groups H01R12/70 or H01R24/00 - H01R33/00
- H01R13/648—Protective earth or shield arrangements on coupling devices, e.g. anti-static shielding
- H01R13/658—High frequency shielding arrangements, e.g. against EMI [Electro-Magnetic Interference] or EMP [Electro-Magnetic Pulse]
- H01R13/6581—Shield structure
- H01R13/6585—Shielding material individually surrounding or interposed between mutually spaced contacts
-
- H—ELECTRICITY
- H01—ELECTRIC ELEMENTS
- H01R—ELECTRICALLY-CONDUCTIVE CONNECTIONS; STRUCTURAL ASSOCIATIONS OF A PLURALITY OF MUTUALLY-INSULATED ELECTRICAL CONNECTING ELEMENTS; COUPLING DEVICES; CURRENT COLLECTORS
- H01R13/00—Details of coupling devices of the kinds covered by groups H01R12/70 or H01R24/00 - H01R33/00
- H01R13/40—Securing contact members in or to a base or case; Insulating of contact members
- H01R13/405—Securing in non-demountable manner, e.g. moulding, riveting
-
- H—ELECTRICITY
- H01—ELECTRIC ELEMENTS
- H01R—ELECTRICALLY-CONDUCTIVE CONNECTIONS; STRUCTURAL ASSOCIATIONS OF A PLURALITY OF MUTUALLY-INSULATED ELECTRICAL CONNECTING ELEMENTS; COUPLING DEVICES; CURRENT COLLECTORS
- H01R13/00—Details of coupling devices of the kinds covered by groups H01R12/70 or H01R24/00 - H01R33/00
- H01R13/646—Details of coupling devices of the kinds covered by groups H01R12/70 or H01R24/00 - H01R33/00 specially adapted for high-frequency, e.g. structures providing an impedance match or phase match
- H01R13/6473—Impedance matching
- H01R13/6474—Impedance matching by variation of conductive properties, e.g. by dimension variations
- H01R13/6476—Impedance matching by variation of conductive properties, e.g. by dimension variations by making an aperture, e.g. a hole
-
- H—ELECTRICITY
- H01—ELECTRIC ELEMENTS
- H01R—ELECTRICALLY-CONDUCTIVE CONNECTIONS; STRUCTURAL ASSOCIATIONS OF A PLURALITY OF MUTUALLY-INSULATED ELECTRICAL CONNECTING ELEMENTS; COUPLING DEVICES; CURRENT COLLECTORS
- H01R24/00—Two-part coupling devices, or either of their cooperating parts, characterised by their overall structure
- H01R24/60—Contacts spaced along planar side wall transverse to longitudinal axis of engagement
Landscapes
- Connector Housings Or Holding Contact Members (AREA)
- Details Of Connecting Devices For Male And Female Coupling (AREA)
- Coupling Device And Connection With Printed Circuit (AREA)
Abstract
【課題】遮蔽板によりノイズの影響を低減することができると共に、ターミナルの塑性変形又は破損を防ぐこと。
【解決手段】電気コネクタ1は、嵌合部50の一の面に配列して相手側コネクタと接続する接続部21を備えるターミナル20と、嵌合部50の一の面の反対面に配列して相手側コネクタと接続する接続部31を備えるターミナル30と、嵌合部50の接続部21と接続部31との間に設けられる板状の遮蔽板10と、ターミナル30及び遮蔽板10がインサート成型により一体に設けられる一次成型部41と、一次成型部41及びターミナル20がインサート成型により一体に設けられる二次成型部42と、により構成されるハウジング40と、を有する。
【選択図】図8
【解決手段】電気コネクタ1は、嵌合部50の一の面に配列して相手側コネクタと接続する接続部21を備えるターミナル20と、嵌合部50の一の面の反対面に配列して相手側コネクタと接続する接続部31を備えるターミナル30と、嵌合部50の接続部21と接続部31との間に設けられる板状の遮蔽板10と、ターミナル30及び遮蔽板10がインサート成型により一体に設けられる一次成型部41と、一次成型部41及びターミナル20がインサート成型により一体に設けられる二次成型部42と、により構成されるハウジング40と、を有する。
【選択図】図8
Description
本発明は、相手側コネクタと嵌合する板状の嵌合部を備える電気コネクタに関する。
近年、電子機器に搭載される電気コネクタに対しては、電子機器の多機能化及び高機能化に伴って、多極化の要求が高まっている。
特許文献1は、多極化した電気コネクタに関し、樹脂製の板状の突設部の両面にコンタクトを各々配設する構成を開示する。特許文献1の電気コネクタでは、多数のコンタクト同士の絶縁性を保ちながら絶縁樹脂で封止するインサート成型により、突設部に対してコンタクトを固定する。
しかしながら、特許文献1においては、電子機器の多機能化及び高機能化に伴って伝送レートの高い信号を流す必要を生じた場合、突設部の両面の一方の面に配設したターミナルに信号が流れた際に、他方の面に配設したターミナルに流れる信号にノイズを生じさせるという課題を有する。
これに対して、突設部の一方の面に配設したターミナルと他方の面に配設したターミナルとの間に金属製の遮蔽板を設けて、ノイズによる影響を低減することが考えられる。このような構成の場合、特許文献1の方法によりターミナル及び遮蔽板を突設部に設けることは金型の構造上困難であるため、遮蔽板を突設部に一体成型した後に、ターミナルを突設部に圧入する方法が考えられる。しかしながら、この方法では、電気コネクタの小型化又は薄型化に伴って突設部の厚みが薄い場合、僅かな寸法誤差によりターミナルが浮き上がってしまい、相手側コネクタとの挿抜等によりターミナルが塑性変形又は破損するという課題を有する。
本発明の目的は、ハウジングの一次成型部を形成するインサート成型及びハウジングの二次成型部を形成するインサート成型を行って、ターミナル及び遮蔽板をハウジングに一体に設けることにより、遮蔽板によりノイズの影響を低減することができると共に、ターミナルの塑性変形又は破損を防ぐことができる電気コネクタを提供することである。
本発明に係る電気コネクタは、相手側コネクタと嵌合する板状の嵌合部を備える絶縁性のハウジングと、前記ハウジングに設けられ、前記嵌合部の一の面に配列して前記相手側コネクタと接続する第1の接続部と、前記ハウジングより突出する第1の端子部と、を備える導電性を有する複数の第1のターミナルと、前記ハウジングに設けられ、前記嵌合部の前記一の面の反対面に配列して前記相手側コネクタと接続する第2の接続部と、前記ハウジングより突出する第2の端子部と、を備える導電性を有する複数の第2のターミナルと、前記嵌合部の前記第1の接続部と前記第2の接続部との間に設けられる板状の遮蔽板と、前記ハウジングに取り付けられるシールド部材と、を有し、前記ハウジングは、前記複数の第1のターミナル及び前記遮蔽板がインサート成型により一体に設けられる一次成型部と、前記一次成型部及び前記複数の第2のターミナルがインサート成型により一体に設けられる二次成型部と、により構成される。
インサート成型により第1のターミナル及び遮蔽板を一次成型部に一体に設け、続いてインサート成型により一次成型部及び第2のターミナルを二次成型部に一体に設けることにより、第1のターミナル及び第2のターミナルをハウジングに圧入することなく、第1の接続部と第2の接続部との間に遮蔽板を配置すると共に、第1の接続部、第2の接続部及び遮蔽板を板状の嵌合部に一体に設けて、嵌合部におけるターミナルの浮き上がりを防止する。
本発明によれば、ハウジングの一次成型部を形成するインサート成型及びハウジングの二次成型部を形成するインサート成型を行って、ターミナル及び遮蔽板をハウジングに一体に設けることにより、遮蔽板によりノイズの影響を低減することができると共に、ターミナルの塑性変形又は破損を防ぐことができる。
以下、図面を適宜参照して、本発明の実施形態に係る電気コネクタにつき、詳細に説明する。図中、x軸、y軸及びz軸は、3軸直交座標系を成し、y軸の正方向を前方向、y軸の負方向を後ろ方向、x軸方向を左右方向、z軸の正方向を上方向、及びz軸の負方向を下方向として説明する。
<電気コネクタの構成>
本発明の実施形態に係る電気コネクタ1の構成につき、図1及び図2を参照しながら、以下詳細に説明する。
本発明の実施形態に係る電気コネクタ1の構成につき、図1及び図2を参照しながら、以下詳細に説明する。
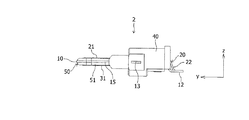
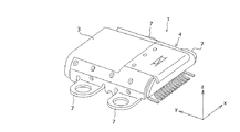
電気コネクタ1は、本体部2と、内側シールド部材3と、外側シールド部材4と、を備えている。
本体部2には、EMIパッド53が圧入されて取り付けられている。本体部2は、内側シールド部材3及び外側シールド部材4により覆われている。なお、本体部2の構成の詳細については後述する。
内側シールド部材3は、前後を開口した筒状であり、本体部2の前方側を覆うと共に、後方側が外側シールド部材4に収納されている。内側シールド部材3は、前方の開口5より本体部2の嵌合部50を外部に露出させている。内側シールド部材3は、下方に折り曲げられた係止部6を後方に有している。係止部6は、本体部2から内側シールド部材3が脱落しないように、本体部2に係止している。内側シールド部材3は、本体部2のEMIパッド53に接続している。
外側シールド部材4は、本体部2の後方側を覆っている。外側シールド部材4は、内側シールド部材3に接続している。外側シールド部材4は、側方に突出する複数の脚部7を有している。脚部7は、図示しない基板のグランドに半田付け等により接続する。
<本体部の構成>
本発明の実施形態に係る本体部2の構成につき、図3から図12を参照しながら、以下詳細に説明する。なお、図3から図6では、EMIパッド53の記載を省略している。
本発明の実施形態に係る本体部2の構成につき、図3から図12を参照しながら、以下詳細に説明する。なお、図3から図6では、EMIパッド53の記載を省略している。
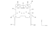
本体部2は、遮蔽板10と、ターミナル20と、ターミナル30と、ハウジング40と、を有している。
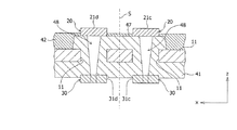
遮蔽板10は、金属材料により形成されていると共に板状であり、ハウジング40に設けられている。遮蔽板10は、ハウジング40の嵌合部50のターミナル20とターミナル30との間に設けられている。遮蔽板10は、前方側において板厚方向(上下方向)に貫通する貫通孔16と、前方側において板厚方向に貫通すると共に左右方向に間隔を設けて配列した複数の貫通孔11と、後方側において板厚方向に貫通すると共に左右方向に間隔を設けて配列した複数の貫通孔14と、を有している(図11及び図12参照)。
図10に示すように、後述する高速伝送用ターミナル20cの接続部21c及び高速伝送用ターミナル30cの接続部31cによって塞がれている貫通孔11と、高速伝送用ターミナル20dの接続部21d及び高速伝送用ターミナル30dの接続部31dによって塞がれている貫通孔11と、は仮想面Sに対して対称となる位置に設けられている。ここで、仮想面Sは、板厚方向に平行であって接続部21及び接続部31の配列方向(左右方向)に直交する平面である。なお、高速伝送用ターミナル20eの接続部21e及び高速伝送用ターミナル30eの接続部31eによって塞がれている貫通孔11と、高速伝送用ターミナル20fの接続部21f及び高速伝送用ターミナル30fの接続部31fによって塞がれている貫通孔11と、についても図示を省略するが上記と同様である。
遮蔽板10には、ハウジング40の後方に突出して図示しない基板の導電部に接続する一対の脚部12が設けられている。脚部12は、ターミナル20及びターミナル30の左右方向の外側に設けられている。遮蔽板10には、左右側方に突出する一対の肩部13が設けられている。肩部13は、ハウジング40の側面から突出して内側シールド部材3の内壁に接続している。遮蔽板10は、相手側コネクタのロック部と凹凸嵌合して相手側コネクタをロック状態にする内方に窪んだ凹部15を左右側面に有している。凹部15は、後述する嵌合部50の凹部51を構成している。
第2のターミナルであるターミナル20は、導電性を有する材料により形成され、インサート成型によりハウジング40に一体に設けられている。ターミナル20は、嵌合部50の一の面である上面に露出して配列して図示しない相手側コネクタと接続する第2の接続部である接続部21と、ハウジング40の後方から突出して図示しない基板の導電部に接続する第2の端子部である端子部22と、を備えている。接続部21は、嵌合部50の上面に左右方向に互いに間隔を設けて配列されている。接続部21は、一次成型部41に設けられた貫通孔48の上方を塞いでいる(図8参照)。
ターミナル20は、前方に突出して配置される電源マイナスターミナル20a(例えばGND)及び電源プラスターミナル20b(例えばVBUS)を含んでいる。電源マイナスターミナル20aは、左右方向において最も外側に配置されている。
ターミナル20は、所定の速度以上の速度で信号を伝送するために用いられる高速伝送用ターミナル20c(例えばRX2+)、高速伝送用ターミナル20d(例えばRX2−)、高速伝送用ターミナル20e(例えばTX1−)及び高速伝送用ターミナル20f(例えばTX1+)を含んでいる。所定の速度以上の速度は、ここでは5Gbpsを例示する。ここで、一対の高速伝送用ターミナル20c及び高速伝送用ターミナル20dは、高速伝送用ターミナル20cと高速伝送用ターミナル20dとの間の電圧差によって信号を差動伝送する。また、一対の高速伝送用ターミナル20e及び高速伝送用ターミナル20fは、高速伝送用ターミナル20eと高速伝送用ターミナル20fとの間の電圧差によって信号を差動伝送する。
接続部21は、図9に示すように、貫通孔48の上方を塞いでいる。一対の高速伝送用ターミナル20cの接続部21c及び高速伝送用ターミナル20dの接続部21dは、図10に示すように、仮想面Sに対して対称となる位置に設けられている。なお、一対の高速伝送用ターミナル20eの接続部21e及び高速伝送用ターミナル20fの接続部21fについても、図示を省略するが接続部21c及び接続部21dと同様の位置に設けられている。
第1のターミナルであるターミナル30は、導電性を有する材料により形成され、インサート成型によりハウジング40に一体に設けられている。ターミナル30は、嵌合部50の一の面の反対面である下面に露出して配列して図示しない相手側コネクタと接続する第1の接続部である接続部31と、ハウジング40の後方から突出して図示しない基板の導電部に接続する第1の端子部である端子部32と、を備えている。接続部31は、嵌合部50の下面に左右方向に互いに間隔を設けて配列されている。接続部31は、遮蔽板10の貫通孔11の下方を塞いでいる。接続部31は、貫通孔11及び貫通孔48を介して接続部21に対向している。
ターミナル30は、前方に突出して配置される電源マイナスターミナル30a(例えばGND)及び電源プラスターミナル30b(例えばVBUS)を含んでいる。電源マイナスターミナル30aは、左右方向において最も外側に配置されている。
ターミナル30は、所定の速度以上の速度で信号を伝送するために用いられる高速伝送用ターミナル30c(例えばTX2+)、高速伝送用ターミナル30d(例えばTX2−)、高速伝送用ターミナル30e(例えばRX1−)及び高速伝送用ターミナル30f(例えばRX1+)を含んでいる。ここで、一対の高速伝送用ターミナル30c及び高速伝送用ターミナル30dは、高速伝送用ターミナル30cと高速伝送用ターミナル20dとの間の電圧差によって信号を差動伝送する。また、一対の高速伝送用ターミナル30e及び高速伝送用ターミナル30fは、高速伝送用ターミナル30eと高速伝送用ターミナル30fとの間の電圧差によって信号を差動伝送する。
接続部31は、上下方向において接続部21と重なる位置に設けられている。接続部31は、図9に示すように、貫通孔48の下方を塞いでいる。一対の高速伝送用ターミナル30cの接続部31c及び高速伝送用ターミナル30dの接続部31dは、図10に示すように、仮想面Sに対して対称となる位置に設けられている。なお、一対の高速伝送用ターミナル30eの接続部31e及び高速伝送用ターミナル30fの接続部31fについても、図示を省略するが接続部31c及び接続部31dと同様の位置に設けられている。
遮蔽板10、ターミナル20及びターミナル30は、端子部32の基板との当接面と、端子部22の基板との当接面と、脚部12の基板との当接面と、が同一面になるように各々金属材を折り曲げ加工して形成されている。
電源マイナスターミナル20aと電源マイナスターミナル30aとは、貫通孔48を介して対向している。電源プラスターミナル20bと電源プラスターミナル30bとは、貫通孔48を介して対向している。高速伝送用ターミナル20cの接続部21cと高速伝送用ターミナル30cの接続部31cとは、同一極性であり、貫通孔48を介して対向している。高速伝送用ターミナル20dの接続部21dと高速伝送用ターミナル30dの接続部31dとは、同一極性であり、貫通孔48を介して対向している。高速伝送用ターミナル20eの接続部21eと高速伝送用ターミナル30eの接続部31eとは、同一極性であり、貫通孔48を介して対向している。高速伝送用ターミナル20fの接続部21fと高速伝送用ターミナル30fの接続部31fとは、同一極性であり、貫通孔48を介して対向している。このように、同一用途且つ同一極性のターミナル同士が貫通孔48を介して対向している。
ハウジング40は、絶縁性を有する材料により形成されている。ハウジング40は、図示しない相手側コネクタと嵌合する板状の嵌合部50を備えている。嵌合部50は、相手側コネクタのロック部と凹凸嵌合して相手側コネクタをロック状態にする内方に窪んだ凹部51を左右側面に有している。ハウジング40には、ターミナル30と対向しないようにターミナル20を埋設する隔壁部43が設けられている(図8参照)。
ハウジング40は、複数のターミナル20及び遮蔽板10がインサート成型により一体に設けられる一次成型部41と、一次成型部41及び複数のターミナル30がインサート成型により一体に設けられる二次成型部42と、により構成されている。
一次成型部41は、上下に貫通する上方から見て長方形の貫通孔44と、上下に貫通する上方から見て円形の貫通孔45と、を有している。一次成型部41には、貫通孔11を貫通して接続部31より離れる方向である上方に突設する台座部47が設けられている。台座部47には、一次成型部41を板厚方向に貫通する貫通孔48が設けられている(図8参照)。貫通孔48は、貫通孔11よりも小径である。台座部47には、接続部21が載置されている。一次成型部41には、前後方向において台座部47に対応する位置に、貫通孔14を貫通して接続部31より離れる方向である上方に突設する台座部49が設けられている。台座部49は、貫通孔14を塞いでいる(図8参照)。台座部49には、接続部21が載置されている。
二次成型部42には、貫通孔44及び貫通孔45に嵌合する捲れ防止部46が形成されている。捲れ防止部46は、貫通孔16を貫通すると共に貫通孔45を塞いでいる。捲れ防止部46は、貫通孔16を貫通すると共に遮蔽板10の貫通孔16の周辺を埋設している(図9参照)。捲れ防止部46は、下方ほど幅又は径が大きくなる逆テーパ形状を有し、一次 成型部41に嵌合している。
ハウジング40には、EMIパッド53を圧入するための圧入孔60が形成されている。
<電気コネクタの製造方法>
本発明の実施形態に係る電気コネクタ1の製造方法につき、図13から図18を参照しながら、以下に詳細に説明する。
本発明の実施形態に係る電気コネクタ1の製造方法につき、図13から図18を参照しながら、以下に詳細に説明する。
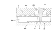
まず、図15に示すように、遮蔽板10及びターミナル30を上金型60a及び下金型60bにセットし、遮蔽板10の貫通孔11に固定ピン61を上方から挿通させ、固定ピン61によりターミナル30の接続部31を上方から押圧して接続部31を下金型60bに固定する。固定ピン61の外径は貫通孔11の内径よりも小さいため、貫通孔11において固定ピン61と遮蔽板10との間に隙間を生じた状態になる。
次に、上金型60aと下金型60bとにより形成されるキャビティ60cに溶融した樹脂を流し込んで固化させるインサート成型により、図13及び図14に示す遮蔽板10及びターミナル30を一体に設けた一次成型部41を形成する。一次成型部41では、ターミナル30の接続部31が貫通孔48の下方を塞いでいる。
一次成型部41を形成する際に、溶融した樹脂がキャビティ60cから、貫通孔11における遮蔽板10と固定ピン61との間の隙間を通ってキャビティ60dに流れ込み、キャビティ60dに流れ込んだ樹脂が遮蔽板10の上面の貫通孔11の上方及び周囲に盛り上がった状態で固化する。これにより、図14に示すように、台座部47が形成される。また、図示を省略するが、溶融した樹脂がキャビティ60cから、貫通孔14を通って遮蔽板10の上面に流れ込んで貫通孔14を塞ぐと共に、貫通孔14の上方及び周囲に盛り上がった状態で固化する。これにより、図14に示すように、台座部49が形成される。また、図13及び図14に示すように、遮蔽板10の後端にターミナル20を位置決めするための位置決め部52が形成される。
位置決め部52には、複数の凹部52aが形成される。台座部47と台座部49と凹部52aとは、前後方向に一直線に並ぶように各々形成されているため、図17に示すように、ターミナル20を台座部47及び台座部49上に載置すると共に凹部52aに収容することにより、ターミナル20を左右方向に間隔を設けて配列することができる。
更に、一次成型部41には、貫通孔44及び貫通孔45が形成される。
次に、複数のターミナル30を一体に接続しているキャリア部分を切断して複数のターミナル30の各々を単体とし、続いてターミナル30を曲げ加工することにより端子部22を形成する。
次に、キャビティ60c及びキャビティ60dに流入した樹脂が固化した後に、固定ピン61を抜き取る。これにより、一次成型部41に固定ピン61の抜き跡である貫通孔48が形成される。
次に、図16から図18に示すように、ターミナル20の各接続部21を台座部47と台座部49と位置決め部52の凹部52aとに載置する。このように、少なくとも2つの台座部47及び台座部49と、凹部52aと、により接続部31を支持してインサート成型することにより、ターミナル20を安定した状態でインサート成型することができ、容易に製造することができる。また、台座部47及び台座部49を、ターミナル20を位置決めする際の目印にすることができ、台座部47及び台座部49をターミナル20の位置決めに用いることができる。
次に、インサート成型により、一次成型部41及びターミナル20を一体に設けた二次成型部42を形成する。この際、溶融した樹脂が遮蔽板10の上方から貫通孔16、貫通孔44及び貫通孔45を通って遮蔽板10の下方に流れ込むことにより、捲れ防止部46が形成される。このように、インサート成型により二次成型部42を形成することで、逆テーパ形状の捲れ防止部46を形成することができる。遮蔽板10の貫通孔16の周辺を捲れ防止部46に埋設することにより、遮蔽板10を嵌合部50に強固に固定することができる。二次成型部42では、ターミナル20の接続部21が貫通孔48の上方を塞いでいる。
次に、複数のターミナル20を一体に接続しているキャリア部分を切断して複数のターミナル20の各々を単体とし、続いてターミナル20を曲げ加工することにより端子部22を形成する。
次に、本体部2にEMIパッド53を圧入して取り付ける。
これにより、図3から図9に示す本体部2が完成する。
次に、本体部2の前方から内側シールド部材3を挿入する。この際、内側シールド部材3の係止部6は下方に折り曲げられていない。
次に、内側シールド部材3の係止部6を下方に折り曲げて本体部2に係止することにより、内側シールド部材3を本体部2に固定する。また、内側シールド部材3と本体部2のEMIパッド53とをスポット溶接等により接続する。
次に、本体部2の後方から外側シールド部材4を挿入して、本体部2に外側シールド部材4を取り付ける。
次に、内側シールド部材3と外側シールド部材4とをスポット溶接等により接続すると共に互いに固定する。これにより、電気コネクタ1は完成する。
上記により製造した電気コネクタ1は、外側シールド部材4の脚部7及び遮蔽板10の脚部12が基板のグランドに接続されると共に、端子部22及び端子部32が基板の導電部に接続されることにより、基板に実装される。
基板に実装された電気コネクタ1は、まず電源マイナスターミナル20a、電源プラスターミナル20b、電源マイナスターミナル30a及び電源プラスターミナル30bが相手側コネクタに接続し、続いて、上記以外のターミナル20及びターミナル30が相手側コネクタに接続する。また、基板に実装された電気コネクタ1は、まず電源マイナスターミナル20a、電源プラスターミナル20b、電源マイナスターミナル30a及び電源プラスターミナル30b以外のターミナル20及びターミナル30における相手側コネクタとの接続が解除され、続いて、電源マイナスターミナル20a、電源プラスターミナル20b、電源マイナスターミナル30a及び電源プラスターミナル30bにおける相手側コネクタとの接続が解除される。
このように、本実施形態によれば、ターミナル20及び遮蔽板10がインサート成型により一体に設けられる一次成型部41と、一次成型部41及びターミナル30がインサート成型により一体に設けられる二次成型部42と、によりハウジング40を構成することにより、遮蔽板によりノイズの影響を低減することができると共に、ターミナルの塑性変形又は破損を防ぐことができる。
また、本実施形態によれば、遮蔽板10は、板厚方向に貫通する貫通孔11を備え、嵌合部50は、貫通孔11を通って板厚方向に貫通する貫通孔48を備え、接続部21は、貫通孔48の板厚方向の一方を塞ぎ、接続部31は、貫通孔48の板厚方向の他方を塞ぐことにより、貫通孔48内に金属片等の異物又は水分等が入り込んで接続部21と接続部31とを短絡する等の不具合を防ぐことができる。
また、本実施形態によれば、ターミナル30を一次成型部41に一体に設けるインサート成型の際にターミナル30を固定する固定ピン61の抜き跡を貫通孔48としていることにより、インサート成型の際にターミナル30を固定することができると共に、インサート成型後に、貫通孔48内に金属片等の異物又は水分等が入り込んで接続部21と接続部31とを短絡する等の不具合を防ぐことができる。
また、本実施形態によれば、ターミナル20又はターミナル30は、所定の速度以上の速度で信号を伝送する一対の高速伝送用ターミナル20c及び高速伝送用ターミナル20d、一対の高速伝送用ターミナル20e及び高速伝送用ターミナル20f、一対の高速伝送用ターミナル30c及び高速伝送用ターミナル30d、一対の高速伝送用ターミナル30e及び高速伝送用ターミナル30fを含み、これらの一対の高速伝送用ターミナルの接続部は、板厚方向に平行であって接続部21及び接続部31の配列方向に直交する仮想面Sに対して対称となる位置に設けられ、貫通孔11は、仮想面Sに対して対称となる位置に設けられることにより、一対の高速伝送用ターミナルの一方の接続部と貫通孔11との位置関係と、一対の高速伝送用ターミナルの他方の接続部と貫通孔11との位置関係と、を同一にしたので、一対の高速伝送用ターミナルのうちの一方の高速伝送用ターミナルの接続部と遮蔽板10との間のインピーダンスと、一対の高速伝送用ターミナルのうちの他方の高速伝送用ターミナルの接続部と遮蔽板10との間のインピーダンスと、を等しくすることができる。これにより、一対の高速伝送用ターミナルのうちの一方の高速伝送用ターミナルの接続部と遮蔽板10との間のインピーダンスと、一対の高速伝送用ターミナルのうちの他方の高速伝送用ターミナルの接続部と遮蔽板10との間のインピーダンスと、が対称となるので、外来ノイズ耐性を向上させることができると共に、不要輻射ノイズを低減することができ、一対の高速伝送用ターミナルを流れる信号の電気特性を良好にすることができる。
また、本実施形態によれば、一次成型部41と嵌合する逆テーパ形状の捲れ防止部46を二次成型部42に設けることにより、相手側コネクタとの接続を繰り返すこと等により、二次成型部42が捲れ上がることを防止することができる。
また、本実施形態によれば、相手側コネクタのロック部と凹凸嵌合する凹部51を、金属性の遮蔽板10の凹部15を用いて形成したので、相手側コネクタとのロック機構の強度を向上させることができる。
また、本実施形態によれば、板状の嵌合部50の接続部21と接続部31との間に金属材料により形成した遮蔽板10を設けることにより、ノイズを抑制する部材と、インピーダンスを調整する部材と、嵌合部50の補強部材と、を遮蔽板10で兼用することができる。
また、本実施形態によれば、同一用途且つ同一極性のターミナル同士を、貫通孔48を介して対向させることにより、仮に貫通孔48に金属片等の異物又は水分が混入した場合であっても、電気的な不具合を最小限に抑えることができる。
本発明は、部材の種類、配置、個数等は前述の実施形態に限定されるものではなく、その構成要素を同等の作用効果を奏するものに適宜置換する等、発明の要旨を逸脱しない範囲で適宜変更可能であることはもちろんである。
具体的には、上記実施形態において、接続部21と接続部31とが対向する貫通孔48を一次成型部41に設けたが、接続部21と接続部31とが対向しないように貫通孔48を二次成型部42により埋めてもよい。この場合には、嵌合部50の上面の貫通孔48の周辺において、貫通孔48に連通すると共にターミナル20の接続部21より左右方向に突出する凹溝を形成し、二次成型部42を形成する際のインサート成型時に溶融した樹脂をこの凹溝から貫通孔48内に流すことで、樹脂により貫通孔48を埋める。これにより、貫通孔48内に金属片等の異物又は水分等が入り込んで接続部21と接続部31とを短絡する等の不具合を無くすることができる。
また、上記実施形態において、ターミナル20及びターミナル30の両方に高速伝送用ターミナル、電源マイナスターミナル及び電源プラスターミナルを設けたが、ターミナル20及びターミナル30の何れか一方のみに高速伝送用ターミナル、電源マイナスターミナル及び電源プラスターミナルを設けてもよい。
また、上記実施形態において、各ターミナル20の接続部21又は各ターミナル30の接続部31の前後方向の長さを、相手側コネクタとの接触タイミングに応じて異ならせたが、全て同一にしてもよい。
また、上記実施形態において、電源マイナスターミナルを最も外側に配置し、電源マイナスターミナルと電源プラスターミナルとの間に高速伝送用ターミナルを配置したが、これらの配置を適宜変更してもよい。
また、上記実施形態において、遮蔽板10に脚部12を設けたが、遮蔽板10に脚部12を設けなくてもよい。
また、上記実施形態において、内側シールド部材3及び外側シールド部材4の2つの部材でシールド部材を構成したが、1つの部材でシールド部材を構成してもよい。
また、上記実施形態において、貫通孔48を貫通孔11よりも小径にしたが、貫通孔48の径と貫通孔11の径とを同一にしてもよい。この場合、インサート成型によりターミナル20を二次成型部42に一体に設ける際に、台座部47以外の部材によりターミナル20を保持する。
また、上記実施形態において、2つの台座部47及び台座部49を形成してターミナル20を位置決めしたが、3つ以上の台座部を形成してターミナル20を位置決めしてもよい。
本発明は、相手側コネクタと嵌合する板状の嵌合部を備える電気コネクタに好適である。
1 電気コネクタ
2 本体部
3 内側シールド部材
4 外側シールド部材
5 開口
6 係止部
7 脚部
10 遮蔽板
11 貫通孔
12 脚部
13 肩部
14 貫通孔
15 凹部
16 貫通孔
20 ターミナル
20a 電源マイナスターミナル
20b 電源プラスターミナル
20c 高速伝送用ターミナル
20d 高速伝送用ターミナル
20e 高速伝送用ターミナル
20f 高速伝送用ターミナル
21 接続部
21c 接続部
21d 接続部
21e 接続部
21f 接続部
22 端子部
30 ターミナル
30a 電源マイナスターミナル
30b 電源プラスターミナル
30c 高速伝送用ターミナル
30d 高速伝送用ターミナル
30e 高速伝送用ターミナル
30f 高速伝送用ターミナル
32 端子部
40 ハウジング
41 一次成型部
42 二次成型部
43 隔壁部
44 貫通孔
45 貫通孔
46 捲れ防止部
47 台座部
48 貫通孔
49 台座部
50 嵌合部
51 凹部
52 位置決め部
52a 凹部
53 EMIパッド
70 圧入孔
2 本体部
3 内側シールド部材
4 外側シールド部材
5 開口
6 係止部
7 脚部
10 遮蔽板
11 貫通孔
12 脚部
13 肩部
14 貫通孔
15 凹部
16 貫通孔
20 ターミナル
20a 電源マイナスターミナル
20b 電源プラスターミナル
20c 高速伝送用ターミナル
20d 高速伝送用ターミナル
20e 高速伝送用ターミナル
20f 高速伝送用ターミナル
21 接続部
21c 接続部
21d 接続部
21e 接続部
21f 接続部
22 端子部
30 ターミナル
30a 電源マイナスターミナル
30b 電源プラスターミナル
30c 高速伝送用ターミナル
30d 高速伝送用ターミナル
30e 高速伝送用ターミナル
30f 高速伝送用ターミナル
32 端子部
40 ハウジング
41 一次成型部
42 二次成型部
43 隔壁部
44 貫通孔
45 貫通孔
46 捲れ防止部
47 台座部
48 貫通孔
49 台座部
50 嵌合部
51 凹部
52 位置決め部
52a 凹部
53 EMIパッド
70 圧入孔
本発明に係る電気コネクタは、相手側コネクタと嵌合する板状の嵌合部を備える絶縁性のハウジングと、前記ハウジングに設けられ、前記嵌合部の一の面に配列して前記相手側コネクタと接続する第1の接続部と、前記ハウジングより突出する第1の端子部と、を備える導電性を有する複数の第1のターミナルと、前記ハウジングに設けられ、前記嵌合部の前記一の面の反対面に配列して前記相手側コネクタと接続する第2の接続部と、前記ハウジングより突出する第2の端子部と、を備える導電性を有する複数の第2のターミナルと、前記嵌合部の前記第1の接続部と前記第2の接続部との間に設けられる板状の遮蔽板と、前記ハウジングに取り付けられるシールド部材と、を有し、前記遮蔽板は、板厚方向に貫通する第1の貫通孔を備え、前記嵌合部は、前記第1の貫通孔を通って前記板厚方向に貫通すると共に前記第1の貫通孔の径以下の径を有する第2の貫通孔を備え、前記第1の接続部は、前記第2の貫通孔の前記板厚方向の一方を塞ぎ、前記第2の接続部は、前記第2の貫通孔の前記板厚方向の他方を塞ぐ。
本発明によれば、第2の貫通孔内に金属片等の異物又は水分等が入り込んで第1の接続部と第2の接続部とを短絡する等の不具合を防ぐことができる。
Claims (6)
- 相手側コネクタと嵌合する板状の嵌合部を備える絶縁性のハウジングと、
前記ハウジングに設けられ、前記嵌合部の一の面に配列して前記相手側コネクタと接続する第1の接続部と、前記ハウジングより突出する第1の端子部と、を備える導電性を有する複数の第1のターミナルと、
前記ハウジングに設けられ、前記嵌合部の前記一の面の反対面に配列して前記相手側コネクタと接続する第2の接続部と、前記ハウジングより突出する第2の端子部と、を備える導電性を有する複数の第2のターミナルと、
前記嵌合部の前記第1の接続部と前記第2の接続部との間に設けられる板状の遮蔽板と、
前記ハウジングに取り付けられるシールド部材と、
を有し、
前記ハウジングは、
前記複数の第1のターミナル及び前記遮蔽板がインサート成型により一体に設けられる一次成型部と、前記一次成型部及び前記複数の第2のターミナルがインサート成型により一体に設けられる二次成型部と、により構成される、
ことを特徴とする電気コネクタ。 - 前記遮蔽板は、
板厚方向に貫通する第1の貫通孔を備え、
前記嵌合部は、
前記第1の貫通孔を通って前記板厚方向に貫通すると共に前記第1の貫通孔の径以下の径を有する第2の貫通孔を備え、
前記第1の接続部は、
前記第2の貫通孔の前記板厚方向の一方を塞ぎ、
前記第2の接続部は、
前記第2の貫通孔の前記板厚方向の他方を塞ぐ、
ことを特徴とする請求項1記載の電気コネクタ。 - 前記第2の貫通孔は、
前記第1のターミナルを前記一次成型部に一体に設けるインサート成型の際に前記第1のターミナルを固定する固定ピンの抜き跡である、
ことを特徴とする請求項2記載の電気コネクタ。 - 前記遮蔽板は、
板厚方向に貫通する第1の貫通孔を備え、
前記一次成型部は、
前記第1の貫通孔を貫通して前記第1の接続部から離れる方向に向けて突設する台座部を備え、
前記二次成型部は、
前記台座部に前記第2の接続部を載置した前記複数の第2のターミナルを一体に設ける、
ことを特徴とする請求項1記載の電気コネクタ。 - 前記複数の第1のターミナル又は前記複数の第2のターミナルは、
所定の速度以上の速度で信号を伝送する一対の高速伝送用ターミナルを含み、
前記一対の高速伝送用ターミナルの前記第1の接続部又は前記第2の接続部は、
前記板厚方向に平行であって前記第1の接続部及び前記第2の接続部の配列方向に直交する仮想面に対して対称となる位置に設けられ、
前記第1の貫通孔は、
前記仮想面に対して対称となる位置に設けられる、
ことを特徴とする請求項2から請求項4までの何れかに記載の電気コネクタ。 - 前記二次成型部は、
前記一次成型部と嵌合する逆テーパ形状の捲れ防止部を備える、
ことを特徴とする請求項1から請求項5までの何れかに記載の電気コネクタ。
Priority Applications (5)
| Application Number | Priority Date | Filing Date | Title |
|---|---|---|---|
| JP2015156682A JP6561668B2 (ja) | 2015-08-07 | 2015-08-07 | 電気コネクタ |
| PCT/JP2015/084865 WO2017026081A1 (ja) | 2015-08-07 | 2015-12-07 | 電気コネクタ |
| CN201580003632.6A CN107004991B (zh) | 2015-08-07 | 2015-12-07 | 电连接器 |
| TW104142494A TWI652861B (zh) | 2015-08-07 | 2015-12-17 | 電連接器 |
| US15/197,725 US9742121B2 (en) | 2015-08-07 | 2016-06-29 | Electric connector |
Applications Claiming Priority (1)
| Application Number | Priority Date | Filing Date | Title |
|---|---|---|---|
| JP2015156682A JP6561668B2 (ja) | 2015-08-07 | 2015-08-07 | 電気コネクタ |
Related Child Applications (1)
| Application Number | Title | Priority Date | Filing Date |
|---|---|---|---|
| JP2016216071A Division JP6520891B2 (ja) | 2016-11-04 | 2016-11-04 | 電気コネクタの製造方法 |
Publications (2)
| Publication Number | Publication Date |
|---|---|
| JP2017037726A true JP2017037726A (ja) | 2017-02-16 |
| JP6561668B2 JP6561668B2 (ja) | 2019-08-21 |
Family
ID=57984145
Family Applications (1)
| Application Number | Title | Priority Date | Filing Date |
|---|---|---|---|
| JP2015156682A Expired - Fee Related JP6561668B2 (ja) | 2015-08-07 | 2015-08-07 | 電気コネクタ |
Country Status (5)
| Country | Link |
|---|---|
| US (1) | US9742121B2 (ja) |
| JP (1) | JP6561668B2 (ja) |
| CN (1) | CN107004991B (ja) |
| TW (1) | TWI652861B (ja) |
| WO (1) | WO2017026081A1 (ja) |
Cited By (3)
| Publication number | Priority date | Publication date | Assignee | Title |
|---|---|---|---|---|
| JP2018190652A (ja) * | 2017-05-10 | 2018-11-29 | 第一精工株式会社 | コネクタ |
| KR20200091216A (ko) * | 2019-01-22 | 2020-07-30 | 히로세코리아 주식회사 | 리셉터클 커넥터 제조방법 및 이를 이용한 리셉터클 커넥터 |
| US10985505B2 (en) | 2017-05-10 | 2021-04-20 | I-Pex Inc. | Connector with exposed conductive contact |
Families Citing this family (16)
| Publication number | Priority date | Publication date | Assignee | Title |
|---|---|---|---|---|
| CN204243363U (zh) * | 2014-02-21 | 2015-04-01 | 番禺得意精密电子工业有限公司 | 电连接器 |
| US10122124B2 (en) * | 2015-04-02 | 2018-11-06 | Genesis Technology Usa, Inc. | Three dimensional lead-frames for reduced crosstalk |
| CN105470782A (zh) * | 2015-09-10 | 2016-04-06 | 富士康(昆山)电脑接插件有限公司 | 电连接器及其制造方法 |
| CN105140696B (zh) * | 2015-09-23 | 2024-05-03 | 连展科技(深圳)有限公司 | 插座电连接器 |
| CN107546536B (zh) * | 2016-06-28 | 2020-07-28 | 富士康(昆山)电脑接插件有限公司 | 电连接器 |
| CN206076581U (zh) * | 2016-09-14 | 2017-04-05 | 连展科技(深圳)有限公司 | 插座电连接器 |
| CN206379574U (zh) * | 2016-11-22 | 2017-08-04 | 深圳市得润电子股份有限公司 | 插座电连接器 |
| JP6217876B1 (ja) * | 2017-03-13 | 2017-10-25 | Smk株式会社 | 電気コネクタ及び電気コネクタの製造方法 |
| JP2019003816A (ja) * | 2017-06-14 | 2019-01-10 | 第一精工株式会社 | 電気コネクタおよびその製造方法 |
| CN109428201B (zh) * | 2017-08-24 | 2022-03-25 | 富士康(昆山)电脑接插件有限公司 | 电连接器 |
| JP7094725B2 (ja) * | 2018-03-02 | 2022-07-04 | ヒロセ電機株式会社 | 電気コネクタの製造方法、及び、電気コネクタ |
| KR102691539B1 (ko) * | 2019-05-03 | 2024-08-02 | 한국단자공업 주식회사 | 유에스비 리셉터클 커넥터용 콘택트 조립체 및 이의 제조방법 |
| BE1028299B1 (de) * | 2020-05-12 | 2021-12-16 | Phoenix Contact Gmbh & Co | Steckverbinder zur symmetrischen Signalübertragung |
| TWM618701U (zh) * | 2021-07-09 | 2021-10-21 | 太康精密股份有限公司 | 電連接器 |
| JP7177417B1 (ja) * | 2022-08-10 | 2022-11-24 | Smk株式会社 | 基板対基板用コネクタ |
| JP2025183976A (ja) * | 2024-06-06 | 2025-12-18 | 日本航空電子工業株式会社 | インターフェース用コネクタ及びインターフェース用コネクタの製造方法 |
Family Cites Families (18)
| Publication number | Priority date | Publication date | Assignee | Title |
|---|---|---|---|---|
| JP2005071848A (ja) * | 2003-08-26 | 2005-03-17 | Kel Corp | プラグ型コネクタ、レセプタクル型コネクタ及び嵌合型コネクタ |
| JP2012221658A (ja) | 2011-04-06 | 2012-11-12 | Meio Kasei:Kk | コネクター端子 |
| US8684769B2 (en) * | 2012-05-24 | 2014-04-01 | Hon Hai Precision Industry Co., Ltd. | Electrical connector having terminal portions in specific arrangement and a grounding plate for excellent high-frequency characteristics |
| TWI593199B (zh) * | 2013-01-08 | 2017-07-21 | 鴻騰精密科技股份有限公司 | 電連接器 |
| US9293851B2 (en) * | 2013-03-15 | 2016-03-22 | Nike, Inc. | Electronic connector having flexible region |
| CN203445352U (zh) * | 2013-06-28 | 2014-02-19 | 富士康(昆山)电脑接插件有限公司 | 电连接器 |
| US9496664B2 (en) * | 2013-07-19 | 2016-11-15 | Foxconn Interconnect Technology Limited | Flippable electrical connector |
| CN104577442A (zh) * | 2013-10-16 | 2015-04-29 | 富士康(昆山)电脑接插件有限公司 | 电连接器及其组装方法 |
| CN104577417B (zh) * | 2013-10-21 | 2017-05-24 | 富士康(昆山)电脑接插件有限公司 | 电连接器 |
| JP6368504B2 (ja) | 2014-03-07 | 2018-08-01 | 宏致電子股▲ふん▼有限公司Aces Electronics Co.,Ltd. | 電気コネクタ |
| TWI581529B (zh) * | 2014-03-24 | 2017-05-01 | 連展科技股份有限公司 | 插座電連接器 |
| TWI600236B (zh) * | 2014-05-07 | 2017-09-21 | 鴻騰精密科技股份有限公司 | 電連接器及其製造方法 |
| TWI556522B (zh) * | 2014-05-22 | 2016-11-01 | Advanced Connectek Inc | Socket electrical connector and plug electrical connector |
| US9276365B2 (en) * | 2014-06-11 | 2016-03-01 | Alltop Electronics (Suzhou) Ltd. | Electrical connector with grounding mechanism contacting outer shell |
| TWM494411U (zh) * | 2014-06-27 | 2015-01-21 | Speedtech Corp | 連接器之組合 |
| CN204216285U (zh) * | 2014-07-15 | 2015-03-18 | 番禺得意精密电子工业有限公司 | 电连接器 |
| CN105470714A (zh) * | 2014-09-03 | 2016-04-06 | 凡甲电子(苏州)有限公司 | 电连接器 |
| CN204407564U (zh) * | 2015-02-11 | 2015-06-17 | 富创科技(深圳)有限公司 | 电连接器及其电磁兼容弹片组装结构 |
-
2015
- 2015-08-07 JP JP2015156682A patent/JP6561668B2/ja not_active Expired - Fee Related
- 2015-12-07 CN CN201580003632.6A patent/CN107004991B/zh not_active Expired - Fee Related
- 2015-12-07 WO PCT/JP2015/084865 patent/WO2017026081A1/ja not_active Ceased
- 2015-12-17 TW TW104142494A patent/TWI652861B/zh not_active IP Right Cessation
-
2016
- 2016-06-29 US US15/197,725 patent/US9742121B2/en not_active Expired - Fee Related
Cited By (5)
| Publication number | Priority date | Publication date | Assignee | Title |
|---|---|---|---|---|
| JP2018190652A (ja) * | 2017-05-10 | 2018-11-29 | 第一精工株式会社 | コネクタ |
| US10931065B2 (en) | 2017-05-10 | 2021-02-23 | I-Pex Inc. | Connector including plate-shaped conductor and casing with through hole |
| US10985505B2 (en) | 2017-05-10 | 2021-04-20 | I-Pex Inc. | Connector with exposed conductive contact |
| KR20200091216A (ko) * | 2019-01-22 | 2020-07-30 | 히로세코리아 주식회사 | 리셉터클 커넥터 제조방법 및 이를 이용한 리셉터클 커넥터 |
| KR102589590B1 (ko) * | 2019-01-22 | 2023-10-16 | 에이치알에스코리아 주식회사 | 리셉터클 커넥터 제조방법 및 이를 이용한 리셉터클 커넥터 |
Also Published As
| Publication number | Publication date |
|---|---|
| CN107004991B (zh) | 2019-06-04 |
| US9742121B2 (en) | 2017-08-22 |
| TW201707293A (zh) | 2017-02-16 |
| JP6561668B2 (ja) | 2019-08-21 |
| TWI652861B (zh) | 2019-03-01 |
| CN107004991A (zh) | 2017-08-01 |
| WO2017026081A1 (ja) | 2017-02-16 |
| US20170040747A1 (en) | 2017-02-09 |
Similar Documents
| Publication | Publication Date | Title |
|---|---|---|
| JP6561668B2 (ja) | 電気コネクタ | |
| JP6520891B2 (ja) | 電気コネクタの製造方法 | |
| TWI593199B (zh) | 電連接器 | |
| US10096947B2 (en) | Electrical connector and electrical device assembled with the same therein | |
| CN104852199B (zh) | 垫高型式的插座电连接器 | |
| CN105140696B (zh) | 插座电连接器 | |
| TWI631780B (zh) | 電連接器 | |
| KR101292368B1 (ko) | 다극 커넥터 | |
| TWI555287B (zh) | 同軸連接器裝置 | |
| US9768567B2 (en) | Flippable electrical connector | |
| US10333257B2 (en) | Signal connector having grounding terminal and ground piece together to form a grounding element | |
| CN106410516B (zh) | 插座电连接器 | |
| JP5044476B2 (ja) | シールドケース及び基板アッセンブリ | |
| CN204597020U (zh) | 电连接器组合 | |
| WO2023282027A1 (ja) | 基板用コネクタおよび機器 | |
| US20150017836A1 (en) | Active plug connector and method for assembling the same | |
| JP2023013438A (ja) | 基板用コネクタおよび機器 | |
| US20250079740A1 (en) | Electric connector and connector assembly | |
| JP2013089342A (ja) | コネクタ装置 | |
| JP2008123873A (ja) | 電気コネクタ | |
| CN105186179A (zh) | 插座电连接器 | |
| CN107785696B (zh) | 电连接器及其制造方法 | |
| CN204966899U (zh) | 插座电连接器 | |
| JP4758512B1 (ja) | 電気部品の取付構造及びコネクタ用アダプタ | |
| US20250079736A1 (en) | Electric connector and connector assembly |
Legal Events
| Date | Code | Title | Description |
|---|---|---|---|
| A621 | Written request for application examination |
Free format text: JAPANESE INTERMEDIATE CODE: A621 Effective date: 20180608 |
|
| TRDD | Decision of grant or rejection written | ||
| A01 | Written decision to grant a patent or to grant a registration (utility model) |
Free format text: JAPANESE INTERMEDIATE CODE: A01 Effective date: 20190625 |
|
| A61 | First payment of annual fees (during grant procedure) |
Free format text: JAPANESE INTERMEDIATE CODE: A61 Effective date: 20190708 |
|
| R150 | Certificate of patent or registration of utility model |
Ref document number: 6561668 Country of ref document: JP Free format text: JAPANESE INTERMEDIATE CODE: R150 |
|
| LAPS | Cancellation because of no payment of annual fees |