JP2016009585A - 組電池 - Google Patents

組電池 Download PDF

Info

Publication number
JP2016009585A
JP2016009585A JP2014129399A JP2014129399A JP2016009585A JP 2016009585 A JP2016009585 A JP 2016009585A JP 2014129399 A JP2014129399 A JP 2014129399A JP 2014129399 A JP2014129399 A JP 2014129399A JP 2016009585 A JP2016009585 A JP 2016009585A
Authority
JP
Japan
Prior art keywords
assembled battery
buffer member
case
side wall
main body
Prior art date
Legal status (The legal status is an assumption and is not a legal conclusion. Google has not performed a legal analysis and makes no representation as to the accuracy of the status listed.)
Granted
Application number
JP2014129399A
Other languages
English (en)
Other versions
JP6260467B2 (ja
Inventor
隆太郎 西川
Ryutaro Nishikawa
隆太郎 西川
彰吾 ▲つる▼田
彰吾 ▲つる▼田
Shogo Tsuruta
殿西 雅光
Masamitsu Tononishi
雅光 殿西
強志 飛鷹
Tsuyoshi Hidaka
強志 飛鷹
Current Assignee (The listed assignees may be inaccurate. Google has not performed a legal analysis and makes no representation or warranty as to the accuracy of the list.)
GS Yuasa Corp
Original Assignee
GS Yuasa Corp
Priority date (The priority date is an assumption and is not a legal conclusion. Google has not performed a legal analysis and makes no representation as to the accuracy of the date listed.)
Filing date
Publication date
Application filed by GS Yuasa Corp filed Critical GS Yuasa Corp
Priority to JP2014129399A priority Critical patent/JP6260467B2/ja
Publication of JP2016009585A publication Critical patent/JP2016009585A/ja
Application granted granted Critical
Publication of JP6260467B2 publication Critical patent/JP6260467B2/ja
Active legal-status Critical Current
Anticipated expiration legal-status Critical

Links

Images

Classifications

    • YGENERAL TAGGING OF NEW TECHNOLOGICAL DEVELOPMENTS; GENERAL TAGGING OF CROSS-SECTIONAL TECHNOLOGIES SPANNING OVER SEVERAL SECTIONS OF THE IPC; TECHNICAL SUBJECTS COVERED BY FORMER USPC CROSS-REFERENCE ART COLLECTIONS [XRACs] AND DIGESTS
    • Y02TECHNOLOGIES OR APPLICATIONS FOR MITIGATION OR ADAPTATION AGAINST CLIMATE CHANGE
    • Y02EREDUCTION OF GREENHOUSE GAS [GHG] EMISSIONS, RELATED TO ENERGY GENERATION, TRANSMISSION OR DISTRIBUTION
    • Y02E60/00Enabling technologies; Technologies with a potential or indirect contribution to GHG emissions mitigation
    • Y02E60/10Energy storage using batteries

Landscapes

  • Secondary Cells (AREA)
  • Battery Mounting, Suspending (AREA)

Abstract

【課題】組電池の耐振動性及び耐衝撃性を向上する。
【解決手段】組電池本体2は、所定の積層方向に積層されると共に電気的に接続されてモジュール化された複数の単電池9と、複数の積層電池9を拘束するエンドプレート18と拘束バンド19を備える。ケース本体7は、底壁7eと、一端が底壁7eに接続されて他端が開口6を画定する周側壁7fとを備える。開口6から挿入された組電池本体2はケース本体7に収容される。組電池本体2のエンドプレート18又は拘束バンド19とケース本体7の周側壁7との間に緩衝部材4が配置されている。
【選択図】図1

Description

本発明は、複数の単電池(電池セル)を電気的に接続してモジュール化した組電池(電池モジュール)に関する。
複数の単電池(例えばリチウムイオン電池のような二次電池)を電気的に接続してモジュール化した組電池本体と、この組電池本体を収容する外装ケースとを備える組電池が知られている(例えば、特許文献1参照)。通常、外装ケースは、組電池本体を開口から挿入して収容するためケース本体と、ケース本体に取り付けられて開口を塞ぐ蓋体とを備える。
特開2012−15011号公報
従来の組電池では、ケース本体の開口から組電池本体を挿入し、ケース本体に組電池本体を収容した状態で、組電池本体とケース本体との間に隙間ないし空間がある。この隙間ないし空間があることで、ケース本体内での組電池本体の位置ずれ(組電池本体のケース本体に対する相対的な変位)が起こり得る。この位置ずれは、組電池の構成部品の損傷や単電池の損傷の原因となる。言い換えれば、組電池本体とケース本体との間の隙間ないし空間は、組電池の耐振動性及び耐衝撃性を低下させる。
本発明は、組電池の耐振動性及び耐衝撃性とを向上することを課題とする。
本発明は、所定の積層方向に積層されると共に電気的に接続されてモジュール化された複数の単電池と、前記複数の単電池を拘束する拘束部材とを備える組電池本体と、前記組電池本体を収容する外装ケースと、前記拘束部材と前記外装ケースとの間に配置された緩衝部材とを備える、組電池を提供する。
組電池本体の拘束部材と外装ケースとの間に介在する緩衝部材によって、外装ケース内での組電池本体の位置ずれ(組電池本体の外装ケースに対する相対的な変位)が拘束される。言い換えれば、緩衝部材を設けたことで、外装ケース内での組電池本体の位置ずれが実質的に許容されない。
特に、組電池に対して振動や衝撃が加えられた場合でも、組電池本体の拘束部材と外装ケースとの間に介在する緩衝部材により、外装ケース内での組電池の位置ずれが拘束される。その結果、組電池に対して振動や衝撃が加えられた場合でも、外装ケース内での組電池の位置ずれと、それに起因する組電池の構成部品の損傷や単電池の損傷を防止できる。つまり、緩衝部材を設けることで組電池の耐振動性及び耐衝撃性が向上する。
本発明に係る組電池によれば、組電池本体の拘束部材と外装ケースとの間に緩衝部材が配置されているので、組電池の耐振動性及び耐衝撃性を向上できる。
本発明の第1実施形態に係る組電池の正面断面図。 図1のII-II線での断面図。 第1実施形態に係る組電池の分解斜視図。 第1実施形態における組電池本体の概念的な斜視図。 本発明の第2実施形態に係る組電池の図2と同様の断面図。 本発明の第3実施形態に係る組電池の図2と同様の断面図。 本発明の第4実施形態に係る組電池の図2と同様の断面図。 本発明の第5実施形態に係る組電池の図2と同様の断面図。 本発明の第6実施形態に係る組電池の正面断面図。 図9のX−X線での断面図。 第6実施形態における組電池本体の概念的な斜視図。 図10の部分XIIの模式的な拡大図。 本発明の第7実施形態に係る組電池の正面断面図。 図13のXIV-XIV線での断面図。 本発明の第8実施形態に係る組電池の正面断面図。 図15のXVI-XVI線での断面図。 本発明の第9実施形態に係る組電池の正面断面図。 図17のXVIII-XVIII線での断面図。 本発明の第10実施形態に係る組電池の正面断面図。 図19のXX-XX線での断面図。 本発明の第11実施形態に係る組電池の正面断面図。 図21のXXII-XXII線での断面図。
次に、添付図面を参照して本発明の実施形態を説明する。
(第1実施形態)
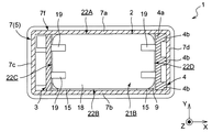
図1から図3は、本発明の第1実施形態に係る組電池1を示す。組電池1は、組電池本体2、電池監視要素(制御機器)3、及び緩衝部材4を備える。また、組電池1は、組電池本体2、電池監視要素3、及び緩衝部材4を収容する外装ケース5を備える。
外装ケース5は、本実施形態では箱形で上部に開口6を有するケース本体7と、ケース本体7に取り付けられて開口6を塞ぐ蓋体8とを備える。
本実施形態では、ケース本体7及び蓋体8は絶縁性を有する樹脂製である。ケース本体7及び蓋体8は、組電池本体2と向かい合う内面が絶縁性を有する樹脂製であることが好ましい。ケース本体7及び蓋体8の内面が絶縁性を有する樹脂製であることで、組電池本体2の絶縁性を向上できる。ケース本体7及び蓋体8は、内面側は絶縁性を有する樹脂製とし、外面側は剛性確保のために金属製としてもよい。この場合は、ボルト、溶接等によって、蓋体8がケース本体7に対して固定される。
ケース本体7は、本実施形態では略矩形である底壁(底部)7eと、下端側が底壁7eの周縁部に接続し上端側が開口6を画定する周側壁(周側部)7fとを備える。図2に最も明瞭に示すように、本実施形態における周側壁7fは、互いに対向する一対の側壁7a,7bと、これらの側壁7a,7bの端部をつなぐ他の一対の側壁7c,7dと備える。
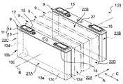
蓋体8は、開口6と対応した略矩形状の頂壁8aと、頂壁8aの周縁部に設けられた周側壁8bとを備える。組電池本体2、電池監視要素3、及び緩衝部材4が、ケース本体7の開口6からケース本体7の内部へ挿入され、かつこれらがケース本体7に収容された後、蓋体8がケース本体7の周側壁7fの上端部に取り付けられる。蓋体8のケース本体7への固定は、例えば図示しないボルトによる。溶着により蓋体8をケース本体7に固定してもよい。
図3に最も明瞭に示すように、組電池本体2はモジュール化された複数個(本実施形態では4個)の単電池9を備える。
図4も併せて参照すると、本実施形態における単電池9は、扁平な角型(直方体)のリチウムイオン電池である。単電池9は、リチウムイオン電池以外の非水電解質二次電池であってもよく、非水電解質二次電池の範疇に含まれない電池であってもよい。本実施形態における単電池9の容器11は、開口12を有する容器本体13と、容器本体13に固定されて開口12を塞ぐ蓋体14とを備える。容器本体13と蓋体14は、アルミニウム、ステンレスのような金属製である。容器本体13内には、電極体と電解液(いずれも図示せず)が収容されている。蓋体14の両端付近には、電極体と電気的に接続された正負の電極端子15がそれぞれ設けられている。また、蓋体14の中央付近には、容器11の内圧上昇時に開放する安全弁27が設けられている。容器11は絶縁シート(図12の符号29参照)により覆われている。
図4を参照すると、単電池9の容器本体13は、開口12と対向する細長い矩形状の底壁13aと、底壁13aの周縁部から延びる周側壁13bとを備える、周側壁13bは、底壁13aの長辺から延びる一対の長側壁13cと、周側壁13bの短辺から延びる一対の短側壁13dとを備える。蓋体14は、長側壁13c及び短側壁13dの底壁13aとは反対側の端部に、例えば溶接により固定される。
図1、図3、及び図4を参照すると、複数の単電池9が隣接する単電池9間にスペーサ17が介装された状態で積層されている。本実施形態におけるスペーサ17は、単電池9の容器11間の絶縁確保のために、絶縁性を有する樹脂製である。本実施形態では、隣接する2個の単電池9の長側壁13cが互いに対向する姿勢で、かつ電極端子15が互いに位置合わせされた状態で、複数の単電池9が積層されている。複数の単電池9の積層方向を、図1、図3、及び図4において、矢印Aで示す。
積層方向Aの最も外側に位置する2個の単電池9のさらに外側には、エンドプレート(拘束部材)18がそれぞれ配置されている。これらのエンドプレート18は、最も外側の単電池9の長側壁13cに重ねて配置されている。一対のエンドプレート18間に、複数の単電池9と複数のスペーサ17が挟み込まれている。エンドプレート18を複数の拘束バンド(拘束部材)19で連結することにより、複数の単電池9と複数のスペーサ17は一対のエンドプレート18によって積層方向Aの両側から挟持された状態、すなわち積層方向Aに拘束された状態で固定されている。エンドプレート18と拘束バンド19は、金属製である。エンドプレート18と拘束バンド19の剛性は、単電池9の容器本体11の剛性よりも高いことが好ましい。エンドプレート18と拘束バンド19が単電池9の容器本体11よりも高剛性とすることで、容器本体11の膨張、変形、位置ずれ等をエンドプレート18と拘束バンド19とにより効果的に抑制できる。
隣接する単電池9の電極端子15は、図1及び図3に概念的に示すバスバー20によって電気的に接続されている。本実施形態では、4個の単電池9が直列に接続されている。また、積層方向Aの最も外側に配置された2個の単電池9の一方の電極端子15は、蓋体8を貫通して外装ケース5の外部に突出する外部端子16(図1にのみ概念的に示す)に、図示しないバスバーを介して電気的に接続されている。外装ケース5の蓋体8には、外部端子16に加え、外部接続用のコネクタ26(図1にのみ概念的に示す)が設けられている。
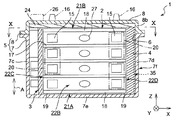
図4を参照すると、前述のような態様で積層された複数の単電池9を有する組電池本体2は、全体として概ね直方体状の外形を有する。具体的には、組電池本体2の外形は、積層方向Aに互いに対向する一対の端部21A,21Bを有する。これら組電池本体2の端部21A,21Bは、積層方向Aの最も外側に位置する2個の単電池9の長側壁13cにより構成されている。図4では図示していないが、前述のように積層方向Aの最も外側に位置する2個の単電池9の外側には、さらにエンドプレート18が配置されている。従って、エンドプレート18が組電池本体2の端部21A,21Bを構成しているとも言える。また、組電池本体2の外形は、単電池9の長側壁13cの図心を通り積層方向Aに延びる仮想線(中心線B)の周囲を取り囲む、4つの側部22A,22B,22C,22Dを有する。側部22Aは、複数の単電池9の底壁13aにより構成されている。側部22Bは、複数の単電池9の蓋体14により構成されている。側部22C,22Dは、複数の単電池9の短側壁13dにより構成されている。4つの側部22A,22B,22C,22Dは、いずれも積層方向Aに沿って延びている。前述の拘束バンド19は、側部22C,22Dに配置されている。
図1及び図3に最も明瞭に示すように、本実施形態における組電池本体2は、単電池9の積層方向Aが、図において上下方向(Z方向)、すなわちケース本体7の底壁7eと蓋体8の対向方向とが一致する姿勢で、ケース本体7内に収容されている。具体的には、組電池本体2は、積層方向Aの一方の端部21Aがケース本体7の底壁7e上に載置され、積層方向Aの他方の端部21Bがケース本体7の開口6側に位置して蓋体8と対向している。
図1及び図2を参照すると、前述のように組電池本体2の端部21A(図において最下段の単電池9の長側壁13c)がケース本体7の底壁7eと対向し、組電池本体2の端部21B(図において最上段の単電池9の長側壁13c)が蓋体8と対向する。また、組電池本体2の側部22A(単電池9の底壁13a)がケース本体7の側壁7aと対向し、組電池本体2の側部22B(単電池9の蓋体14)がケース本体7の側壁7bと対向する。さらに、組電池本体2の側部22C(単電池9の一方の短側壁13d)がケース本体7の側壁7cと対向し、組電池本体2の側部22D(単電池9の他方の短側壁13d)がケース本体7の側壁7dと対向する。
図1及び図2を参照すると、組電池本体2の側部22C(単電池9の一方の短側壁13d)とケース本体7の側壁7cとの間の隙間ないし空間には、組電池1を監視する電池監視要素3が配置されている。言い換えれば、電池監視要素3は、組電池本体2の積層方向Aに沿って延びる側部22Cと、ケース本体7の側壁7cとの間に配置されている。本実施形態では、電池監視要素3は、組電池本体2の側部22Cに対して固定されている。電池監視要素3は、例えば、回路基板とリレーユニットとを有する。電池監視要素3は、積層方向Aで最も外側の単電池9の1つの電極端子15と、いずれか一方の外部端子16とに電気的に接続されている。
図1及び図2を参照すると、組電池本体2の側部22D(単電池9の他方の短側壁13d)とケース本体7の側壁7dとの間の隙間ないし空間には、緩衝部材4が配置されている。言い換えれば、緩衝部材4は、組電池本体2の積層方向Aに沿って延びる側部22Dと、ケース本体7の側壁7dとの間に配置されている。前述のように、電池監視要素3は組電池本体2の側部22C側に配置されているのに対し、緩衝部材4は側部22Cと対向する側部22D側に配置されている。本実施形態では、緩衝部材4は、外装ケース5とは別体である。緩衝部材4を外装ケース5と別体とすることで、外装ケース5は構造が複雑化せず、容易に製造できる。言い換えれば、例えば外装ケース5に組電池本体2の位置決めのためのリブのような構造を設ける場合と比較すると、外装ケース5と別体の緩衝部材4を設けることで、外装ケース5の構造を複雑化することなく、後述するケース本体7内での組電池本体2の位置ずれの拘束が可能である。
図3に最も明瞭に示すように、本実施形態における緩衝部材4は、組電池本体2の側部22D上に配置された基部4aと、この基部4aの一方の面からケース本体7の側壁7dに向けて延びる複数の突条部(突部)4bを備える。個々の突条部4bは、矩形断面を有すると共に、図においてZ方向、すなわちケース本体7の底壁7eと蓋体8が対向する方向(本実施形態では積層方向Aと一致する)に延びている。隣接する突条部4bはケース本体7の側壁7a,7bが対向する方向(図においてY方向)に間隔を隔てて配置されている。
図2に最も明瞭に示すように、緩衝部材4の基部4aの突条部4bが設けられた面とは反対側の面が組電池本体2の側部22Dと当接する。また、個々の突条部4bの先端がケース本体7の側壁7dの内面と当接する。言い換えれば、組電池本体2の側部22Dとケース本体7の側壁7dとの間の隙間ないし空間は、これら側部22Dと側壁7dが対向する方向(図においてX方向)について、緩衝部材4により埋められている。
本実施形態では、緩衝部材4は絶縁性を有する非多孔質の樹脂製である。緩衝部材4を構成する材料としては、後述するケース本体7内での組電池本体2の位置ずれの拘束が可能な程度の剛性を有するがある程度弾性的な変形可能なものが選択される。また、緩衝部材4を構成する材料は、衝撃吸収性を有する材料であることが好ましい。緩衝部材4は、ゴム、又は多孔質の樹脂(いわゆるスポンジ状の材料)であってもよい。このような材料により緩衝部材4を構成することで、後述するケース本体7内での組電池本体2の位置ずれを効果的に抑制できる。さらに、緩衝部材4を構成する材料は、難燃性であることが好ましく、断熱性を有していてもよい。
後に詳述するケース本体7内での組電池本体2の位置ずれ防止に加え、組電池本体2(エンドプレート18及び拘束バンド19を含む)又はケース本体7の内面(前述のように樹脂製であることが好ましい)を緩衝部材4でより効果的に保護するためには、緩衝部材4の剛性が組電池本体2やケース本体7の内面の剛性よりも低いことが好ましい。一方、組電池本体2の位置ずれをより効果的に防止するためには、緩衝部材4の剛性が、外装ケース5のケース本体7の内面の剛性よりも高いことが好ましい。
本実施形態における緩衝部材4は、前述のように基部4aと複数の突条部4bを有する。しかし、緩衝部材4の形状は、後述するケース本体7内での組電池本体2の位置ずれの拘束が可能である限り、特に限定されない。例えば、緩衝部材4は単なる板状であってもよい。また、緩衝部材4は、使用時に互いに組み付けられる別体の複数の部品から構成されてもよい。さらに、複数個の別体の緩衝部材を組電池本体2の側部22Dとケース本体7の側壁7dとの間の隙間ないし空間に配置してもよい。
図1及び図2を参照すると、組電池本体2の側部21B(単電池9の長側壁13a)と蓋体8の頂壁8aとの間の隙間ないし空間には、本実施形態では厚みが一定の板状である緩衝部材24が配置されている。緩衝部材24は、図において下面が組電池本体2の端部21Bと当接し、図において上面が蓋体8の頂壁8aの内面に当接している。言い換えれば、組電池本体2の端部21Bと蓋体8の頂壁8aとの間の隙間ないし空間は、これら側部22Bと頂壁8aが対向する方向(図においてZ方向)について、緩衝部材24により埋められている。本実施形態では、積層方向Aから見たときの緩衝部材24の寸法と形状を、エンドプレート8と概ね同じに設定している。緩衝部材24を構成する材料は、緩衝部材4と同様のものを採用できる。
組電池本体2(本実施形態では側部22D)とケース本体7の周側壁7f(本実施形態では側壁7d)との間の隙間ないし空間を埋める緩衝部材4によって、ケース本体7内での組電池本体2の位置ずれ(特に、図においてX方向の位置ずれ)が拘束される。言い換えれば、緩衝部材4を設けたことで、ケース本体7内での組電池本体2の位置ずれが実質的に許容されない。さらに言い換えれば、緩衝部材4を設けたことで、組電池本体2とケース本体7とが実質的に互いに一体化される。その結果、組電池1の全体としての剛性が向上する。
組電池1に対し、振動(例えば、車載時の走行振動)や衝撃(例えば、ケース本体7への他の部材の衝突による衝撃)が作用する場合がある。これらの場合でも、緩衝部材4が組電池本体2とケース本体7の周側壁7fとの間の隙間ないしは空間を埋める緩衝部材4により、ケース本体7内での組電池本体2の位置ずれ(特に、図においてX方向の位置ずれ)が拘束される。その結果、組電池1に対して振動や衝撃が加えられた場合でも、ケース本体7内での組電池本体2の位置ずれと、それに起因する組電池1の構成部品の損傷や単電池の損傷を防止できる。つまり、緩衝部材4を設けることで組電池1の耐振動性及び耐衝撃性が向上する。
ケース本体7の周側壁7fの外側に他の部材が衝突した場合、この衝突による衝撃は緩衝部材4によってある程度吸収される。この点でも、緩衝部材4を設けることで組電池1の耐衝撃性が向上する。
ケース本体7内での組電池本体2の位置ずれ(特に、図においてX方向の位置ずれ)を緩衝部材4により拘束するので、組電池本体2をケース本体7に連結するための特殊な構造や部材を組電池本体2やケース本体7に設ける必要はない。つまり、組電池本体2やケース本体7の構造は複雑化せず、組電池1の構造の簡易性は維持される。
以上のように、本実施形態の組電池1によれば、組電池本体2とケース本体7の周側壁7fとの間に緩衝部材4が配置されているので、簡易な構成でありながら、組電池1の全体の剛性に加え、組電池1の耐振動性及び耐衝撃性を向上できる。
本実施形態では、緩衝部材4は組電池本体2の側部22D(単電池9の他方の短側壁13d)、すなわち電池監視要素3が配置されている組電池本体2の側部22Cと対向する側部に配置されている。そのため、組電池1に対して振動や衝撃が作用した場合の電池監視要素3への影響を効果的に抑制ないし防止できる。
緩衝部材4を電池監視要素3が配置されている側部22Cと対向する側部22Dに配置しているので、電池監視要素3の回路基板やリレーユニットに一端が接続された導電要素(例えば、バスバーや電線)の配置は、緩衝部材4により妨げられない。特に、電池監視要素4とコネクタ26との間の配線が緩衝部材4により妨げられない。つまり、緩衝部材4を電池監視要素3が配置されている側部22Cと対向する側部22Dに配置することで、電池監視要素3の回路基板やリレーユニットに対する導電要素の配索が容易になる。
また、本実施形態では、組電池本体2と蓋体8の頂壁8aとの間の隙間ないし空間に配置した緩衝部材24も、ケース本体7内での組電池本体2の位置ずれ(特に、図においてZ方向の位置ずれ)を拘束する。従って、緩衝部材4に加えて緩衝部材24を設けることで、組電池1の全体の剛性向上と、組電池1の耐振動性及び耐衝撃性向上とをより効果的に実現できる。本実施形態では、積層方向Aから見たときの緩衝部材24の寸法と形状を、エンドプレート8から少しはみ出すように設定し、緩衝部材24により組電池本体2の図においてZ方向の位置ずれを確実に拘束できる。積層方向Aから見たときの緩衝部材24の寸法と形状をエンドプレート8よりも十分大きく設定してもよい。この場合、制御機器4とコネクタ26との間の配線を妨げないように、緩衝部材24に必要に応じて配線のための孔や切欠を設けることが好ましい。
前述のように、本実施形態における外装ケース5(ケース本体7と蓋体8)は樹脂製であるので、振動や衝撃に起因して組電池本体2が干渉することで外装ケース5が比較的損傷し易い。緩衝部材4,24を設けることで、比較的損傷しやすい外装ケース5を組電池本体2との干渉から効果的に保護できる。
前述のように、本実施形態における緩衝部材4は、間隔を隔てて配置された複数の突条部4bを備える。これらの突条部4bを設けたことで、緩衝部材4の周側壁7f(本実施形態では側壁7d)と対向する部分の表面積は、緩衝部材4が単なる板状である場合と比較して十分大きい。そのため、例えば充放電時に組電池本体2の単電池9で発生した熱は、緩衝部材4を介して効果的に放熱される。つまり、本実施形態における緩衝部材4は、前述の組電池本体2の位置ずれを拘束する機能に加え、単電池9の放熱性を向上する機能を有する。
緩衝部材4は、組電池本体2の側部22D(単電池9の他方の短側壁13d)とケース本体7の側壁7dとの間に配置されている。この側部22Dには、拘束バンド19も配置されている。このように拘束バンド19が配置された側部22Dに緩衝部材を配置することで、振動や衝撃が作用した際に拘束バンド19とケース本体7の側壁7dが衝突ないし干渉するのを効果的に防止できる。
いずれも組電池本体2を構成する単電池9を拘束するための拘束部材であるエンドプレート18と拘束バンド19とを比較すると、拘束バンド19はエンドプレート18よりも幅が狭く細長い形状である。そのため、仮に拘束バンド19がケース本体7の内面と衝突ないし干渉すると、エンドプレート18の場合よりもケース本体7の内面の損傷が生じやすい。本実施形態では、拘束バンド19とケース本体7の側壁7dとの間に緩衝部材4を介在させることで、拘束バンド19の衝突ないし緩衝によるケース本体7の側壁7dの損傷を確実に防止している。
外装ケースのケース本体7の開口6から組電池本体2を挿入する際にも、緩衝部材4がケース本体7と拘束バンド19との間に介在することで、ケース本体7の側壁7dに対する拘束バンド19の干渉とそれに起因する側壁7dの損傷を防止できる。
緩衝部材4は、組電池本体2の側部22D(単電池9の他方の短側壁13d)とケース本体7の側壁7dとの間に配置されている。緩衝部材24は、組電池本体2の側部21B(単電池9の長側壁13a)と蓋体8との間に配置されている。つまり、本実施形態では、いずれの緩衝部材4,24も、組電池本体2の側部22B(単電池9の蓋体14)と外装ケース5との間には配置されていない。単電池9の蓋体14には、電極端子15と安全弁27が設けられている。組電池本体2の電極端子15が設けられた側部22Bに緩衝部材4,24を配置していないので、緩衝部材4,24は電極端子15への配線の妨げとならない。また、組電池本体2の安全弁27が設けられた側部22Bに監視用部材4,24を配置していないので、緩衝部材4,24は安全弁27の開弁時に単電池9の容器11からのガスの排出を妨げない。
以下、本発明の第2から第11実施形態を説明する。これらの実施形態に関する図面では、第1実施形態と同一又は同様の要素には同一の符号を付している。また、これらの実施形態に関し、特に言及しない構成及び機能は、第1実施形態と同様である。
(第2実施形態)
図5は、本発明の第2実施形態に係る組電池1を示す。
本実施形態では、電池監視要素3は、組電池本体2の緩衝部材4を配置した側部22Dに配置されている。具体的には、緩衝部材4のケース本体7の側壁7dと対向する面に窪み4aが設けられ、この窪み4aに電池監視要素3が配置されている。窪み4eは電池本体2側に底部を有するが、ケース本体7の側壁7d側は開口している。この開口を除き、電池監視要素3の周囲を緩衝部材4に取り囲んでいる。そのため、外部より組電池1に対して加えられる振動や衝撃から電池監視要素3を効果的に保護できる。特に、組電池本体2の側部22Dと電池監視要素3との間に、緩衝部材4が介在しているので、振動や衝撃が作用した際にも、電池監視要素3が組電池本体2の側部22Dに干渉するのを確実に防止できる。
緩衝部材4の窪み4eはケース本体7の側壁7d側が開口しているので、電池監視要素3の回路基板やリレーユニットに一端が接続された導電要素の配置は、緩衝部材4により妨げられない。特に、電池監視要素4とコネクタ26との間の配線が緩衝部材4により妨げられない。つまり、窪み4eの開口が電池監視要素4へ接続される導電要素を配索するための連通部として機能する。
電池監視要素3は、組電池本体2の緩衝部材4を配置した側部22Dに配置されている。つまり、電池監視要素3と緩衝部材4は組電池本体2の同じ側部22Dに配置されている。そのため、組電池本体2、緩衝部材4、及び電池監視要素3からなるユニットを小型化し、外装ケース5内のスペースを有効利用できる。
(第3実施形態)
図6は、本発明の第3実施形態に係る組電池1を示す。
本実施形態では、緩衝部材4内に電池監視要素3が収容されている。具体的には、緩衝部材4は概ね板状ないし矩形状であり、内部に空間部4cが形成されている。この空間部4cに電池監視要素3が収容されている。電池監視要素3の周囲の概ね全体を緩衝部材4に取り囲んでいる。そのため、外部より組電池1に対して加えられる衝撃から電池監視要素3を保護できると共に、電池監視要素3に含まれる回路基板やリレーユニットの絶縁性を向上できる。特に、特に、組電池本体2の側部22Dと電池監視要素3との間に、緩衝部材4が介在しているので、振動や衝撃が作用した際にも、電池監視要素3が組電池本体2の側部22Dに干渉するのを確実に防止できる。
緩衝部材4には、空間部4cから緩衝部材4の外面まで連通する連通部4dが設けられている。連通部4dは、溝であってもよいし、貫通孔であってもよい。緩衝部材4の空間部4cに収容された電池監視要素3の回路基板やリレーユニットに一端が接続された導電要素(例えば、バスバーや電線)は連通部4dを通すことで、緩衝部材4の外部まで容易に引き出すことができる。特に、電池監視要素4とコネクタ26との間の配線が緩衝部材4により妨げられない。つまり、連通部4dを設けることで、空間部4cに収容された電池監視要素3の回路基板やリレーユニットに対する導電要素の配索が容易になる。
電池監視要素3は、組電池本体2の緩衝部材4を配置した側部22Dに配置されている。つまり、電池監視要素3と緩衝部材4は組電池本体2の同じ側部22Dに配置されている。そのため、組電池本体2、緩衝部材4、及び電池監視要素3からなるユニットを小型化し、外装ケース5内のスペースを有効利用できる。
(第4実施形態)
図7は、本発明の第4実施形態に係る組電池1を示す。
緩衝部材4は第1実施形態と同様の構造を有し、組電池本体2の側部22Dとケース本体7の側壁7dとの間の隙間ないし空間に配置されている。また、組電池本体2の側部22Cとケース本体7の側壁7cとの間の隙間ないし空間には別の緩衝部材25が配置されている。
緩衝部材25には第2実施形態と同様の窪み25cが形成され、この窪み25cに電池監視要素3が配置されている。窪み25eは電池本体2側に底部を有するが、ケース本体7の側壁7c側は開口している。
組電池本体2の互いに対向する側部22C,22Dの両方に緩衝部材4,25を配置することで、ケース本体7内での組電池本体2の位置ずれ(特に図においてX方向の位置ずれ)をより確実に拘束できる。
ケース本体7の側壁7c側の開口を除き、電池監視要素3の周囲を緩衝部材25に取り囲んでいる。特に、組電池本体2の側部22Cと電池監視要素3との間に、緩衝部材25が介在している。そのため、外部より組電池1に対して加えられる振動や衝撃から電池監視要素3を効果的に保護できる。
緩衝部材25の窪み25cはケース本体7の側壁7c側が開口しているので、電池監視要素3の回路基板やリレーユニットに一端が接続された導電要素の配置は、緩衝部材25により妨げられない。
(第5実施形態)
図8は、本発明の第5実施形態に係る組電池1を示す。
緩衝部材4は第1実施形態と同様の構造を有し、組電池本体2の側部22Dとケース本体7の側壁7dとの間の隙間ないし空間に配置されている。また、組電池本体2の側部22Cとケース本体7の側壁7cとの間の隙間ないし空間には別の緩衝部材25が配置されている。緩衝部材25は、電池監視要素3が収容された空間部25aと、この空間部25aと第3緩衝部材の外面を連通させる連通部25bが設けられている。
組電池本体2の互いに対向する側部22C,22Dの両方に緩衝部材4,25を配置することで、ケース本体7内での組電池本体2の位置ずれ(特に図においてX方向の位置ずれ)をより確実に拘束できる。
電池監視要素3の周囲の概ね全体を緩衝部材25で取り囲んでいる。そのため、外部より組電池1に対して加えられる衝撃から電池監視要素3を保護できると共に、電池監視要素3に含まれる回路基板やリレーユニットの絶縁性を向上できる。特に、特に、組電池本体2の側部22Cと電池監視要素3との間に、緩衝部材25が介在しているので、振動や衝撃が作用した際にも、電池監視要素3が組電池本体2の側部22Cに干渉するのを確実に防止できる。
緩衝部材25には連通部25bを設けているので、電池監視要素3の回路基板やリレーユニットに一端が接続された導電要素の配置は、緩衝部材25により妨げられない。
(第6実施形態)
図9から図12は、本発明の第6実施形態に係る組電池1を示す。
組電池本体2の側部22D(単電池9の他方の短側壁13d)とケース本体7の側壁7dとの間に配置された緩衝部材4に2個の放熱部材35が配置されている。具体的には、緩衝部材4の基部4aのケース本体7の側壁7dと対向する面の突条部4bで挟まれた2個の領域に、それぞれ放熱部材35が配置されている。放熱部材35は、例えばアルミニウムのような熱伝導性の良好な材料からなる。
放熱部材35は、緩衝部材4の基部4aに沿って延びる矩形板状の基部35aを備える。基部35aのケース本体7の側壁7dと対向する面には、複数の突条部35bが設けられている。個々の突条部35bは、矩形断面を有すると共に、図においてZ方向、に延びている。隣接する突条部35bは、図においてY方向に間隔を隔てて配置されている。
図12に最も明瞭に示すように、基部35aの組電池本体2の側部22Dと対向する面には、4個の単電池9に対応して4個の短柱部35cが設けられている。個々の短柱部35cは緩衝部材4の形成された貫通孔4fに挿入されて単電池9(本実施形態では容器本体13の短側壁13d)に向けて延びている。貫通孔4f内には、個々の単電池9を覆う絶縁シート29と短柱部35cの先端との隙間に、熱伝導部材36が配置されている。熱伝導部材36は、絶縁性を有することがより好ましい。
放熱部材35は、間隔を隔てて配置された複数の突条部35bを設けたことで、表面積を十分大きく設定している。そのため、単電池9から熱伝導部材36を介して短柱部35cに伝わった熱は、放熱部材35で効果的に放熱される。特に、放熱部材35は短柱部35cを介して個々の単電池9と熱的に結合されているので、高効率での放熱が可能である。
熱伝導性の絶縁材30を設けることは、単電池9と放熱部材35の間の絶縁性を高める上で好ましいが、必要な絶縁性を確保できるのであれば、熱伝導部材36を設けずに、単電池9を覆う絶縁シート29に短柱部35cの先端を直接接触させてもよい。また、効果的な放熱を実現できる限り、放熱部材35の材質、形状、寸法、及び緩衝部材4に配置する位置は、図示の例に限定されない。
(第7実施形態)
図13及び図14は、本発明の第7実施形態に係る組電池1を示す。
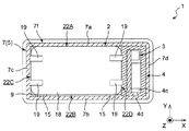
図4も併せて参照すると、本実施形態における組電池本体2は、第1実施形態と同様の姿勢、すなわち単電池9の積層方向Aが、図において上下方向となる姿勢、すなわちケース本体7の底壁7eと蓋体8の対向方向と一致する姿勢で、ケース本体7内に収容されている。
組電池本体2の側部22A(単電池9の底壁13a)とケース本体7の側壁7cとの間の隙間ないし空間に、電池監視要素3が配置されている。また、組電池本体2の側部22B(単電池9の蓋体14)とケース本体7の側壁7dとの間の隙間ないし空間に、第1実施形態と同様の緩衝部材4が配置されている。
緩衝部材4によりケース本体7内での組電池本体2の位置ずれ(特に、図においてX方向の位置ずれ)を拘束することで、簡易な構成でありながら、組電池1の全体としての剛性に加え、組電池1の耐振動性及び耐衝撃性を向上できる。
(第8実施形態)
図15及び図16は、本発明の第8実施形態に係る組電池1を示す。
図4も併せて参照すると、組電池本体2は、側部22A(単電池9の底壁13a)がケース本体7の底壁7eと対向し、側部22B(単電池9の蓋体14)が蓋体8及び開口6と対向する姿勢で、ケース本体7内に収容されている。言い換えれば、組電池本体2は、単電池9の一対の電極端子15が対向する方向Cが、ケース本体7の底壁7eに沿って延びる姿勢、具体的には図においてX方向に延びる姿勢で、ケース本体7内に収容されている。
組電池本体2の側部22C(単電池9の一方の短側壁13d)とケース本体7の側壁7cとの間の隙間ないし空間に、電池監視要素3が配置されている。また、組電池本体2の側部22D(単電池9の他方の短側壁13d)とケース本体7の側壁7dとの間の隙間ないし空間に、第1実施形態と同様の緩衝部材4が配置されている。
緩衝部材4によりケース本体7内での組電池本体2の位置ずれ(特に、図においてX方向の位置ずれ)を拘束することで、簡易な構成でありながら、組電池1の全体としての剛性に加え、組電池1の耐振動性及び耐衝撃性を向上できる。
(第9実施形態)
図17及び図18は、本発明の第9実施形態に係る組電池1を示す。
図4も併せて参照すると、組電池本体2は、第8実施形態と同様に、単電池9の一対の電極端子15が対向する方向Cが、ケース本体7の底壁7eに沿って延びる姿勢で、ケース本体7内に収容されている。
組電池本体2の端部21A(積層方向Aの一端側の単電池9の長側壁13c)とケース本体7の側壁7cとの間の隙間ないし空間に、電池監視要素3が配置されている。また、組電池本体2の端部21B(積層方向Aの他端側の単電池9の長側壁13c)とケース本体7の側壁7dとの間の隙間ないし空間に、第1実施形態と同様の緩衝部材4が配置されている。
(第10実施形態)
図19及び図20は、本発明の第10実施形態に係る組電池1を示す。
図4も併せて参照すると、組電池本体2は、側部22C(単電池9の一方の短側壁13d)がケース本体7の底壁7eと対向し、側部22D(単電池9の他方の短側壁13d)が蓋体8及び開口6と対向する姿勢で、ケース本体7内に収容されている。言い換えれば、組電池本体2は、単電池9の一対の電極端子15が対向する方向Cが、ケース本体7の底壁7eと蓋体8及び開口6とが対向する方向、具体的には図においてZ方向と一致する姿勢で、ケース本体7内に収容されている。
組電池本体2の側部22A(単電池9の底壁13a)とケース本体7の側壁7cとの間の隙間ないし空間に、電池監視要素3が配置されている。また、組電池本体2の側部22B(単電池9の蓋体14)とケース本体7の側壁7dとの間の隙間ないし空間に、第1実施形態と同様の緩衝部材4が配置されている。
緩衝部材4によりケース本体7内での組電池本体2の位置ずれ(特に、図においてX方向の位置ずれ)を拘束することで、簡易な構成でありながら、組電池1の全体としての剛性に加え、組電池1の耐振動性及び耐衝撃性を向上できる。
(第11実施形態)
図21及び図22は、本発明の第11実施形態に係る組電池1を示す。
図4も併せて参照すると、組電池本体2は、第10実施形態と同様に、単電池9の一対の電極端子15が対向する方向Cが、ケース本体7の底壁7eと蓋体8及び開口6とが対向する方向と一致する姿勢で、ケース本体7内に収容されている。
組電池本体2の端部21A(積層方向Aの一端側の単電池9の長側壁13c)とケース本体7の側壁7cとの間の隙間ないし空間に、電池監視要素3が配置されている。また、組電池本体2の端部21B(積層方向Aの他端側の単電池9の長側壁13c)とケース本体7の側壁7dとの間の隙間ないし空間に、第1実施形態と同様の緩衝部材4が配置されている。
本発明のその他の変形例ないし代案は、以下を含む。
緩衝部材4は、組電池本体2とケース本体7の周側壁7fとの間の隙間に充填した接着剤硬化させることで形成してもよい。接着剤としては、例えば、エラストマー系接着剤、シリコーン系接着剤、又はエポキシ系接着剤等が用いられる。
緩衝部材4は温度上昇に伴い膨張する性質を有する材料から構成してもよい。また、緩衝部材4は気体又は液体が充填された袋体であってもよい。この場合、外装ケース5のケース本体7に組電池本体2と袋体(気体又は液体は未充填)を収容した後、袋体に気体又は液体を充填して袋体に緩衝部材4として要求される剛性を与えることができる。さらに、緩衝部材4は発泡性の材料により構成してもよい。この場合、外装ケース5のケース本体7に組電池本体2を収容した後、外装ケース5のケース本体7の隙間に発泡性の材料を注入し、緩衝部材4を形成できる。
緩衝部材4は、コイルばね、板ばねのようなばねであってもよい。
単電池9の容器の形状は、実施形態のような角型に限定されず、例えば円筒型であってもよい。また、単電池9は、ラミネート型セルであってもよい。
1 組電池
2 組電池本体
3 電池監視要素
4 緩衝部材
4a 基部
4b 突状部
4c 空間部
4d 連通部
4e 窪み
4f 貫通孔
5 外装ケース
6 開口
7 ケース本体
7a,7b,7c,7d 側壁
7e 底壁
7f 周側壁
8 蓋体
8a 頂壁
8b 周側壁
9 単電池
11 容器
12 開口
13 容器本体
13a 底壁
13b 周側壁
13c 長側壁
13d 短側壁
14 蓋体
15 電極端子
16 外部端子
17 スペーサ
18 エンドプレート
19 拘束バンド
20 バスバー
21A,21B 端部
22A,22B,22C,22D 側部
24 緩衝部材
25 緩衝部材
25a 空間部
25b 連通部
25c 窪み
26 コネクタ
27 安全弁
29 絶縁シート
35 放熱部材
35a 基部
35b 突条部
35c 短柱部
36 熱伝導部材
A 積層方向
B 中心線
C 電極端子の対向する方向

Claims (9)

  1. 所定の積層方向に積層されると共に電気的に接続されてモジュール化された複数の単電池と、前記複数の単電池を拘束する拘束部材とを備える組電池本体と、
    前記組電池本体を収容する外装ケースと、
    前記拘束部材と前記外装ケースとの間に配置された緩衝部材と
    を備える、組電池。
  2. 前記組電池本体は前記積層方向に沿って延びる複数の側部を備え、
    前記緩衝部材は、前記電池本体の前記複数の側部の一つと前記外装ケースとの間に配置されている、請求項1に記載の組電池。
  3. 前記外装ケースは、少なくとも内面側が樹脂製である、請求項1又は請求項2に記載の組電池。
  4. 前記緩衝部材の剛性は、前記外装ケースの剛性よりも低い、請求項1から請求項3のいずれか1項に記載の組電池。
  5. 前記組電池本体は前記積層方向に沿って延びる複数の側部を備え、
    前記緩衝部材が配置された前記組電池本体の前記側部と対向する前記組電池本体の他の側部、又は前記緩衝部材が前記組電池本体の前記側部に、制御機器が配置されている、請求項1から請求項4のいずれか1項に記載の組電池。
  6. 前記緩衝部材に前記制御機器が収容されている、請求項5に記載の組電池。
  7. 前記外装ケースはコネクタを備え、
    前記緩衝部材には、前記制御機器が収容された空間部と、前記空間部と前記コネクタとを連通させる連通部とが設けられている、請求項6に記載の組電池。
  8. 前記緩衝部材に配置された放熱部材をさらに備える、請求項1から請求項7のいずれか1項に記載の組電池。
  9. 前記外装ケースは、
    底部と、一端が前記底部に接続されて他端が開口を画定する周壁部とを備え、前記開口から挿入された前記組電池本体を収容するケース本体とを備え、
    前記緩衝部材は、前記組電池本体と前記ケース本体の前記周壁部との間に配置されている、請求項1から請求項8のいずれか1項に記載の組電池。
JP2014129399A 2014-06-24 2014-06-24 組電池 Active JP6260467B2 (ja)

Priority Applications (1)

Application Number Priority Date Filing Date Title
JP2014129399A JP6260467B2 (ja) 2014-06-24 2014-06-24 組電池

Applications Claiming Priority (1)

Application Number Priority Date Filing Date Title
JP2014129399A JP6260467B2 (ja) 2014-06-24 2014-06-24 組電池

Publications (2)

Publication Number Publication Date
JP2016009585A true JP2016009585A (ja) 2016-01-18
JP6260467B2 JP6260467B2 (ja) 2018-01-17

Family

ID=55227014

Family Applications (1)

Application Number Title Priority Date Filing Date
JP2014129399A Active JP6260467B2 (ja) 2014-06-24 2014-06-24 組電池

Country Status (1)

Country Link
JP (1) JP6260467B2 (ja)

Cited By (14)

* Cited by examiner, † Cited by third party
Publication number Priority date Publication date Assignee Title
WO2017047683A1 (ja) * 2015-09-18 2017-03-23 株式会社Gsユアサ 蓄電装置
WO2018062760A1 (ko) * 2016-09-29 2018-04-05 주식회사 엘지화학 배터리 팩
JP2019075226A (ja) * 2017-10-13 2019-05-16 トヨタ自動車株式会社 電池パックの製造方法
US10468646B2 (en) 2015-09-29 2019-11-05 Gs Yuasa International Ltd. Energy storage apparatus and manufacturing method of energy storage apparatus
JP2020129467A (ja) * 2019-02-08 2020-08-27 トヨタ自動車株式会社 蓄電装置
JP2021509757A (ja) * 2018-11-19 2021-04-01 エルジー・ケム・リミテッド バッテリーモジュール
JP2021111503A (ja) * 2020-01-09 2021-08-02 株式会社豊田自動織機 蓄電装置
JP2022156737A (ja) * 2021-03-31 2022-10-14 トヨタ自動車株式会社 蓄電装置及び蓄電装置の製造方法
JP2022158186A (ja) * 2021-04-01 2022-10-17 株式会社マキタ 電動工具のための電池パック
CN115621649A (zh) * 2022-11-08 2023-01-17 广东顺德电力设计院有限公司 电动汽车储能管理控制装置
CN115882138A (zh) * 2023-02-16 2023-03-31 河南锂动电源有限公司 一种抗冲击动力电池组
JP2023521136A (ja) * 2020-10-20 2023-05-23 エルジー エナジー ソリューション リミテッド バッテリーモジュール、それを含むバッテリーパック及び自動車
JP2024088233A (ja) * 2022-12-20 2024-07-02 本田技研工業株式会社 バッテリモジュール
JP2024092611A (ja) * 2022-12-26 2024-07-08 トヨタ自動車株式会社 車両用の電池パック

Citations (6)

* Cited by examiner, † Cited by third party
Publication number Priority date Publication date Assignee Title
JPH1016689A (ja) * 1996-06-27 1998-01-20 Sanyo Electric Co Ltd 組電池の取り付け構造
WO2012117681A1 (ja) * 2011-02-28 2012-09-07 三洋電機株式会社 電池モジュールおよび電池モジュールの製造方法
JP2013026090A (ja) * 2011-07-23 2013-02-04 Toyota Industries Corp 電池パック
JP2013145728A (ja) * 2012-01-16 2013-07-25 Lithium Energy Japan:Kk 電源装置
JP2013168356A (ja) * 2012-01-16 2013-08-29 Lithium Energy Japan:Kk 電源装置
JP2014203747A (ja) * 2013-04-08 2014-10-27 株式会社Gsユアサ 蓄電素子モジュール

Patent Citations (6)

* Cited by examiner, † Cited by third party
Publication number Priority date Publication date Assignee Title
JPH1016689A (ja) * 1996-06-27 1998-01-20 Sanyo Electric Co Ltd 組電池の取り付け構造
WO2012117681A1 (ja) * 2011-02-28 2012-09-07 三洋電機株式会社 電池モジュールおよび電池モジュールの製造方法
JP2013026090A (ja) * 2011-07-23 2013-02-04 Toyota Industries Corp 電池パック
JP2013145728A (ja) * 2012-01-16 2013-07-25 Lithium Energy Japan:Kk 電源装置
JP2013168356A (ja) * 2012-01-16 2013-08-29 Lithium Energy Japan:Kk 電源装置
JP2014203747A (ja) * 2013-04-08 2014-10-27 株式会社Gsユアサ 蓄電素子モジュール

Cited By (26)

* Cited by examiner, † Cited by third party
Publication number Priority date Publication date Assignee Title
WO2017047683A1 (ja) * 2015-09-18 2017-03-23 株式会社Gsユアサ 蓄電装置
US10763469B2 (en) 2015-09-18 2020-09-01 Gs Yuasa International Ltd. Energy storage apparatus
US10468646B2 (en) 2015-09-29 2019-11-05 Gs Yuasa International Ltd. Energy storage apparatus and manufacturing method of energy storage apparatus
JP7039776B2 (ja) 2016-09-29 2022-03-23 エルジー エナジー ソリューション リミテッド バッテリーパック
JP2019507472A (ja) * 2016-09-29 2019-03-14 エルジー・ケム・リミテッド バッテリーパック
US11404738B2 (en) 2016-09-29 2022-08-02 Lg Energy Solution, Ltd. Battery pack
WO2018062760A1 (ko) * 2016-09-29 2018-04-05 주식회사 엘지화학 배터리 팩
JP2019075226A (ja) * 2017-10-13 2019-05-16 トヨタ自動車株式会社 電池パックの製造方法
JP2021509757A (ja) * 2018-11-19 2021-04-01 エルジー・ケム・リミテッド バッテリーモジュール
JP7176816B2 (ja) 2018-11-19 2022-11-22 エルジー エナジー ソリューション リミテッド バッテリーモジュール
JP2020129467A (ja) * 2019-02-08 2020-08-27 トヨタ自動車株式会社 蓄電装置
JP7115347B2 (ja) 2019-02-08 2022-08-09 トヨタ自動車株式会社 蓄電装置
JP2021111503A (ja) * 2020-01-09 2021-08-02 株式会社豊田自動織機 蓄電装置
JP7351227B2 (ja) 2020-01-09 2023-09-27 株式会社豊田自動織機 蓄電装置
JP2023521136A (ja) * 2020-10-20 2023-05-23 エルジー エナジー ソリューション リミテッド バッテリーモジュール、それを含むバッテリーパック及び自動車
JP2022156737A (ja) * 2021-03-31 2022-10-14 トヨタ自動車株式会社 蓄電装置及び蓄電装置の製造方法
JP7388389B2 (ja) 2021-03-31 2023-11-29 トヨタ自動車株式会社 蓄電装置の製造方法
JP2022158186A (ja) * 2021-04-01 2022-10-17 株式会社マキタ 電動工具のための電池パック
JP7724630B2 (ja) 2021-04-01 2025-08-18 株式会社マキタ 電動工具のための電池パック
CN115621649A (zh) * 2022-11-08 2023-01-17 广东顺德电力设计院有限公司 电动汽车储能管理控制装置
CN115621649B (zh) * 2022-11-08 2023-04-14 广东顺德电力设计院有限公司 电动汽车储能管理控制装置
JP2024088233A (ja) * 2022-12-20 2024-07-02 本田技研工業株式会社 バッテリモジュール
JP2024092611A (ja) * 2022-12-26 2024-07-08 トヨタ自動車株式会社 車両用の電池パック
JP7700779B2 (ja) 2022-12-26 2025-07-01 トヨタ自動車株式会社 車両用の電池パック
CN115882138A (zh) * 2023-02-16 2023-03-31 河南锂动电源有限公司 一种抗冲击动力电池组
CN115882138B (zh) * 2023-02-16 2023-06-02 河南锂动电源有限公司 一种抗冲击动力电池组

Also Published As

Publication number Publication date
JP6260467B2 (ja) 2018-01-17

Similar Documents

Publication Publication Date Title
JP6260467B2 (ja) 組電池
JP6205808B2 (ja) 蓄電素子モジュール
CN103715377B (zh) 蓄电装置
CN112310517B (zh) 二次电池、电池模块、电池组、装置及制造方法
JP6245038B2 (ja) 蓄電装置
US10003054B2 (en) Power source pack
US9947958B2 (en) Power source module
JP6274052B2 (ja) 蓄電装置
JP6794617B2 (ja) 蓄電装置
JP6086315B2 (ja) 蓄電装置
JP6160898B2 (ja) 蓄電装置
JP6212914B2 (ja) 蓄電装置
US20160036029A1 (en) Power source pack
JP6728576B2 (ja) 電池パック
JP6753045B2 (ja) 蓄電装置
JP6179163B2 (ja) 組電池の組み立て方法、及び組電池
JP6629140B2 (ja) 蓄電モジュール
JP6720547B2 (ja) 蓄電装置
JP2017152161A (ja) 蓄電装置
JP6264739B2 (ja) 蓄電装置
JP6103238B2 (ja) 電池パック
JP2016015253A (ja) 蓄電モジュール
JP2019114372A (ja) 蓄電装置
WO2016067487A1 (ja) 電源装置
JP2015195150A (ja) 蓄電装置

Legal Events

Date Code Title Description
A621 Written request for application examination

Free format text: JAPANESE INTERMEDIATE CODE: A621

Effective date: 20161019

A977 Report on retrieval

Free format text: JAPANESE INTERMEDIATE CODE: A971007

Effective date: 20170823

A131 Notification of reasons for refusal

Free format text: JAPANESE INTERMEDIATE CODE: A131

Effective date: 20170905

A521 Request for written amendment filed

Free format text: JAPANESE INTERMEDIATE CODE: A523

Effective date: 20171027

TRDD Decision of grant or rejection written
A01 Written decision to grant a patent or to grant a registration (utility model)

Free format text: JAPANESE INTERMEDIATE CODE: A01

Effective date: 20171114

A61 First payment of annual fees (during grant procedure)

Free format text: JAPANESE INTERMEDIATE CODE: A61

Effective date: 20171127

R150 Certificate of patent or registration of utility model

Ref document number: 6260467

Country of ref document: JP

Free format text: JAPANESE INTERMEDIATE CODE: R150