JP2015513402A - ロッド状要素を配置するための方法及びシステム、並びに、廃棄シガレットからたばこを回収するためのシステム - Google Patents

ロッド状要素を配置するための方法及びシステム、並びに、廃棄シガレットからたばこを回収するためのシステム Download PDF

Info

Publication number
JP2015513402A
JP2015513402A JP2014559860A JP2014559860A JP2015513402A JP 2015513402 A JP2015513402 A JP 2015513402A JP 2014559860 A JP2014559860 A JP 2014559860A JP 2014559860 A JP2014559860 A JP 2014559860A JP 2015513402 A JP2015513402 A JP 2015513402A
Authority
JP
Japan
Prior art keywords
conveyor
rod
chute
cigarette
alignment
Prior art date
Legal status (The legal status is an assumption and is not a legal conclusion. Google has not performed a legal analysis and makes no representation as to the accuracy of the status listed.)
Granted
Application number
JP2014559860A
Other languages
English (en)
Other versions
JP6042913B2 (ja
Inventor
ジャン クラメック トーマス
ジャン クラメック トーマス
シュムルースキー ロバート
シュムルースキー ロバート
Original Assignee
インターナショナル トバコ マシーネリー ポーランド エスピー.ゼット オー.オー.
インターナショナル トバコ マシーネリー ポーランド エスピー.ゼット オー.オー.
Priority date (The priority date is an assumption and is not a legal conclusion. Google has not performed a legal analysis and makes no representation as to the accuracy of the date listed.)
Filing date
Publication date
Application filed by インターナショナル トバコ マシーネリー ポーランド エスピー.ゼット オー.オー., インターナショナル トバコ マシーネリー ポーランド エスピー.ゼット オー.オー. filed Critical インターナショナル トバコ マシーネリー ポーランド エスピー.ゼット オー.オー.
Publication of JP2015513402A publication Critical patent/JP2015513402A/ja
Application granted granted Critical
Publication of JP6042913B2 publication Critical patent/JP6042913B2/ja
Expired - Fee Related legal-status Critical Current
Anticipated expiration legal-status Critical

Links

Images

Classifications

    • AHUMAN NECESSITIES
    • A24TOBACCO; CIGARS; CIGARETTES; SIMULATED SMOKING DEVICES; SMOKERS' REQUISITES
    • A24CMACHINES FOR MAKING CIGARS OR CIGARETTES
    • A24C5/00Making cigarettes; Making tipping materials for, or attaching filters or mouthpieces to, cigars or cigarettes
    • A24C5/36Removing papers or other parts from defective cigarettes
    • BPERFORMING OPERATIONS; TRANSPORTING
    • B65CONVEYING; PACKING; STORING; HANDLING THIN OR FILAMENTARY MATERIAL
    • B65GTRANSPORT OR STORAGE DEVICES, e.g. CONVEYORS FOR LOADING OR TIPPING, SHOP CONVEYOR SYSTEMS OR PNEUMATIC TUBE CONVEYORS
    • B65G37/00Combinations of mechanical conveyors of the same kind, or of different kinds, of interest apart from their application in particular machines or use in particular manufacturing processes
    • BPERFORMING OPERATIONS; TRANSPORTING
    • B65CONVEYING; PACKING; STORING; HANDLING THIN OR FILAMENTARY MATERIAL
    • B65GTRANSPORT OR STORAGE DEVICES, e.g. CONVEYORS FOR LOADING OR TIPPING, SHOP CONVEYOR SYSTEMS OR PNEUMATIC TUBE CONVEYORS
    • B65G47/00Article or material-handling devices associated with conveyors; Methods employing such devices
    • B65G47/22Devices influencing the relative position or the attitude of articles during transit by conveyors
    • B65G47/24Devices influencing the relative position or the attitude of articles during transit by conveyors orientating the articles

Landscapes

  • Engineering & Computer Science (AREA)
  • Mechanical Engineering (AREA)
  • Manufacturing Of Cigar And Cigarette Tobacco (AREA)
  • Wrapping Of Specific Fragile Articles (AREA)
  • Feeding Of Articles To Conveyors (AREA)
  • Attitude Control For Articles On Conveyors (AREA)

Abstract

ロッド状要素、特にシガレットを縦方向の整列コンベア(11)上で、コンベアの移動方向に沿って配置するためのシステムであって、適切に配置されていないロッド状要素(6)のための容器(5)と、供給コンベア(1)と、シュート(8)と、前記整列コンベア(11)とを備え、前記容器(5)から供給された前記ロッド状要素(6)は前記供給コンベア(1)によって前記シュート(8)に移送され、前記ロッド状要素(6)は前記供給コンベア(1)上で移動方向に対して横方向に配置され、前記シュート(8)の底部は水平方向に対して角度(α)をなして下向きに傾斜しており、縦方向の溝をもつ前記整列コンベア(11)の入口端部は前記シュート(8)の出口端部(8C)の下流に位置しており、前記整列コンベア(11)は水平方向に対して角度(β)をなして上向きに傾斜しており、前記ロッド状要素(6)を前記シュート(8)の出口端部(8C)から前記整列コンベア(11)の上方に向かって、前記ロッド状要素(6)を前記シュート(8)から各溝に沿って延びる前記整列コンベア(11)の溝(9)の中へと通すことができる速度で運搬する方法及びシステム。本発明に係る、ロッド状要素を配置するためのシステムを備えた廃棄シガレットからたばこを回収するためのシステム。【選択図】図6

Description

本発明は、ロッド状要素を配置するための方法及びシステムに関する。ロッド状要素は、特に規格外のシガレット又は欠陥があるシガレットを構成し得る。
本発明は、さらに廃棄シガレットからたばこを回収するためのシステムに関する。
廃棄たばこを配置することは、その中からたばこを回収するために、それらを開く前の有用な作業となり得る。
ロッド状要素を配置するためのさまざまな装置が、当該技術分野において知られている。
特許文献1(米国特許第5000196号明細書)は、例えば、シガレットの機械により不合格品とされたシガレットが配置の工程を経る、たばこを回収するための方法及び装置が開示している。シガレットは回転可能な振動フィーダ内に投入され、配置された状態で、チャネルを通って出ていき、その後運搬装置へと進み、切削エッジを備えたシリンダにて切断される。シガレットは、切り開かれると、線上の振動フィーダへと移送され、ばらたばこは専用の出口を通って落下し、巻き紙は他の開口部を介して回収される。
特許文献2(米国特許第3665931号明細書)に係る装置では、シガレットが、フィーダから回収用スラットを有するコンベアによって回収され、該コンベアから溝付きの摺動台に落下する。このトレイの上で、シガレットは、さまざまな高さの縁を有する溝に沿って配置され、互いの軸を平行にして移送される。
特許文献3(米国特許第5076291号明細書)は、シガレットが回転可能な振動フィーダ内に投入され、そこから1本ずつシュートを介してドラムに移送され、さらにベルトコンベアによって別のドラムに進められ、そこで溝の中の該シガレット配置が感知され、該シガレットがシフトされ、フィルタが切り離される装置を開示している。特許文献3に係る装置は、規則的に配置されていない、すなわちフィルタ部分向きが統一されていない、個々の欠陥あるシガレットを切り開くことを可能にする。
特許文献4(米国特許第3404688号明細書)は、製造工程において不良品とされたシガレットの要素を切り開く装置を開示し、該要素はダブルフィルタ部分と2つのたばこ部分とを含む、いわゆる「ダブルシガレット」である。シガレットは、ドラムにより移送され、ディスクナイフにより切り開かれる。特許文献5(独国特許第1106227号明細書)は、シガレットのたばこ部分をフィルタ部分から切り離すための装置を示し、該デバイスはシガレット部分を切断するのに使用されるディスクナイフの位置に応じて、フィルタが一方向に配向された、シガレットの規則的な配置を必要とする。
上記の文献は、シガレットを配置し、たばこを回収するための、低効率の装置を開示する。振動フィーダを使用する装置が最も効率が悪い。特許文献2に示す装置は、比較的高効率ではあるが、シガレットの縦方向の配置について100%の保証はない。
米国特許第5000196号明細書 米国特許第3665931号明細書 米国特許第5076291号明細書 米国特許第3404688号明細書 独国特許第1106227号明細書
本発明の目的は、シガレット製造工程のさまざまな段階において、製造され、適切に配置されていない廃棄要素を、全ての要素が実質的に互いに平行であって、一方向を向くように、配置するための、改良された方法及びシステムを提供することである。
本発明のもう一つの目的は、廃棄シガレットからたばこを回収するためのシステムを提供することである。
本発明の発明者は、特別に選択したフィーダとコンベアとの組み合わせにより移送され、それぞれ適切に調整された速度で移動する要素が「自動的に」整列コンベアの溝の中に落下し、該コンベアに沿った移動方向に対して平行に配向されることを、思いがけず発見した。
本発明の第一態様に係る、ロッド状要素、特にシガレットを縦方向の整列コンベア上で、コンベアの移動方向に沿って配置するためのシステムは、適切に配置されていない(unordered)ロッド状要素のための容器と、供給コンベアと、シュート(shute)と、前記整列コンベアとを備え、前記容器から供給された前記ロッド状要素が供給コンベアによって前記シュートに移送され、前記ロッド状要素は供給コンベア上で移動方向に対して横方向に配置され、前記シュートの底部は水平方向に対して角度αをなして下向きに傾斜しており、縦方向の溝をもつ前記整列コンベアの入口端部はシュートの出口端部の下流に位置し、整列コンベアは水平方向に対して角度βをなして上向きに傾斜しており、前記ロッド状要素を前記シュートの出口端部から前記整列コンベアの上方に向かって、前記ロッド状要素を前記シュートから各溝に沿って延びる前記整列コンベアの溝の中へと通すことができる速度で運搬することを特徴とする。
好適には、前記供給コンベアは、ベルトの外面に取り付けられた横方向の回収用スラット(slat)を備えたベルトコンベアである。
前記シュート内の前記ロッド状要素の移動方向は、上方から見て、好適には、前記供給コンベア上の前記ロッド状要素の向きに対してほぼ平行である。
中間シュート部材を、前記シュートと前記整列コンベアとの間に設けることができ、前記中間シュート部材の出口にある前記ロッド状要素の移動方向は、上方から見て、前記整列コンベア上の前記ロッド状要素の向きに対してほぼ平行である。
好適には、前記シュートの底部は、前記整列コンベアの傾斜の方向に対して、60°から150°の範囲、好適には75°から110°の範囲、最も好適には85°から95°の範囲の角度γをなして配置されている。
また、好適には、前記シュートの底部は、水平方向に対して、15°から60°の範囲、好適には30°から50°の範囲、最も好適には45°から50°の範囲の角度αをなして配置されている。
好適な実施形態において、前記整列コンベアはベルトコンベアであって、ベルトの上面は多溝面として形成され、任意で、整列コンベアは複数のベルトを含んでよく、その作用面は逆V字型の形状である。
好適には、前記整列コンベアは、水平方向に対して、15°から60°の範囲、好適には30°から50°の範囲、最も好適には40°から45°の範囲の角度βをなして配置されている。
また、好適には、前記整列コンベアのベルトは、0.lm/sからlm/sの範囲、好適には0.3m/sから0.8m/sの範囲、最も好適には0.7m/sの速度で移動可能である。
前記整列コンベアのベルトの移動速度は、その傾斜角度βに応じて調整することができる。
本発明の第二態様に係る、廃棄シガレットのフィルタ部分をたばこ部分から分離させることで、廃棄シガレットからたばこを回収するためのシステムは、たばこ部分の紙ラッパーを縦方向に切断するためのアセンブリと、たばこを紙ラッパーから取り除くためのアセンブリとを備え、ラッパーを縦方向に切断するための前記アセンブリの上流において、本発明の第一態様に係るロッド状要素を配置するためのシステムを備え、該システムの下流において、ロッド状要素を配置するための前記システムによって搬送されたシガレットを受けるために中間ホッパーが配置されており、溝付き外周面を有する移送筒がシガレットを移送するための前記ホッパーの下に設けられており、前記システムは前記移送筒表面の前記溝の中のシガレットをシフトさせることで、該シガレットのフィルタ部分の境界線を前記移送筒の周りの共通の周線上に位置させるための運転制御手段をさらに備え、前記システムは、前記移送筒の前記溝の中に配置されたシガレットのたばこ部分をフィルタ部分から分離させる手段をさらに備えることを特徴とする。
好適には、前記運転制御手段は、前記移送筒表面上の各連続するシガレットの側面及び/又は少なくとも1つの端面を走査するための走査ヘッドと、前記溝に沿って前記シガレットをシフトする加圧エアノズルと、を含む。
前記シガレットのたばこ部分を分離させる手段は、好適には、前記移送筒付近に配置された、前記たばこ部分を前記フィルタ部分から切り離すためのディスクナイフによって形成される。
好適には、前記整列コンベアの上部領域において、前記中間ホッパーと前記移送筒との間に整列アセンブリが設けられており、前記整列アセンブリは、前記溝に対して横方向に、相互に往復移動可能なロッドを備える。
好適には、前記システムは、分離されたたばこ部分を加圧空気により前記アセンブリに供給するための手段を備える。
本発明の第三態様に係る、ロッド状要素、特にシガレットを、コンベアに沿った移動方向に対して平行な、縦方向の整列コンベア上に配置するための方法は、適切に配置されていないロッド状要素を、前記ロッド状要素が前記移動方向に対して横方向に配置される供給コンベアに供給するステップと、その後前記ロッド状要素を、前記コンベアに沿って供給したときの前記ロッド状要素の軸の方向に対して平行に、前記供給コンベアからシュートを通って下方に向かって、縦方向の溝をもつ整列コンベアへと移送するステップとを含み、前記シュートの底部は水平方向に対して角度αをなして下向きに傾斜しており、前記整列コンベアによって前記ロッド状要素は上方に向かって移送され、移送の方向は前記ロッド状要素の軸に対して平行であり、水平方向に対して角度βをなして傾斜しており、前記ロッド状要素を前記整列コンベアに供給する速度は前記シュートからの前記ロッド状要素が各溝に沿って配向された前記整列コンベアの溝の中に入ることを可能にするように調整されていることを特徴とする。
好適には、前記ロッド状要素を前記整列コンベアに供給する速度は、前記コンベアのベルトの移動速度及び/又はその傾斜の角度βに応じて調整される。
本発明は、全てのロッド状要素が一方向に沿って配置されるように、廃棄ロッド状要素の適切に配置されていない部分の、高速で、効果的な配置を可能にするシステム及び方法を有利に提供する。また、本発明に係るロッド状要素を配置するためのシステムを使用する、規格外のシガレットからたばこを回収するための改良されたシステムを提供する。
本発明に係る、ロッド状要素を配置するためのシステムの第一部分の模式的な側面図である。 本発明に係る、ロッド状要素を配置するためのシステムの第二部分の模式的な側面図である。 図3は、本発明に係る、ロッド状要素を配置するためのシステムの模式的な上面図である。図3′は、中間部材を備えた、図3に示すシステムの他の態様である。 整列コンベアベルトの断面図である。 整列コンベアベルトの、他の実施形態の断面図である。 本発明に係る、たばこを回収するためのシステムの、模式的な側面図である。 移送筒が配置された、たばこを回収するためのシステムの一部の模式図である。 移送筒の外周面の展開させた模式図である。
添付図面において、本発明の対象の例示的な実施形態を示す。
図1から5は、コンベアに沿った移動方向に平行な、縦方向の整列コンベア上にロッド状要素を配置するための、本発明に係るシステムを模式的に示し、前記要素は特にシガレットである。
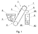
前記システムは、図1に示す第1供給コンベア1を備える。供給コンベア1は、ベルト3の外面に取り付けられた横断回収用スラット2を備えたベルトコンベアである。適切に配置されていないシガレットは、供給コンベア1の下部領域4の上に配置された、出口を有する容器5に配置される。
供給コンベア1の上部領域7において、シガレットは重力により(矢印Aの示す方向に)落下する。落下するシガレット6を受けるために、前記上部領域7の下にシュート8が配置されている(図1及び2参照)。上方から見て(図3参照)、シュート8の入口8Aは、供給コンベア1の回収用スラット2に実質的に平行に配向されている。シュート8の底部は、水平方向に対して下向きに傾斜している(図2参照)。
上方から見て(図3参照)、矢印Bが示す、シュート底部8B上のシガレット6の移動方向は、回収用スラット2同士の間の、供給コンベア1上のシガレットの配向に対して実質的に平行である。シュート8の底部は、側壁付近に丸められた端部をもつ平底8Bであっても、丸められた底部であってもよい。シガレットを供給する方向B、すなわちシュート8の中のシガレットの移動方向は、図3に示す一点鎖線8Dに対して平行である。
シュート8の底部8Bは、水平方向に対して、好適には15°から60°の範囲、より好適には30°から50°の範囲、最も好適には45°の角度αをなして配置される。シュート8の出口は、縦方向の整列コンベア11の下部領域10に配置されている。整列コンベア11は、多溝面として形成された上面(図4参照)を有するベルトコンベアであるか、又は複数の溝9によって構成される。変形例において、整列コンベア11は複数のベルト11Aによって構成し、その作用面は、溝を形成する逆V字型の形状とすることができる。
上方から見て、整列コンベア11は、溝9が線8Dに対して平行に向けられるように配置されており、シガレットがベルト12の作用面に直接搬送されたときに有利となる。しかし、図3′に示すように、システムの異なる構成を得るために、湾曲部材等の中間部材8′も使用することができる。図3′に示すように、湾曲中間部材8′は、シガレット移動方向を変更する、追加の傾斜したシュートで構成することができる。
湾曲素子8′の出口8C′は、コンベア11の作用面12の上に配置することができる。出口8C′にて、シガレット6が、線8D′に沿って進み、さらにコンベア11へと進むように方向付けるために、出口8C′を直線状にすることができる。
施工条件等の何らかの理由により、システムの異なる構成が必要な場合には、直線状の中間シュートも使用することができる。シュート8を、より複雑な形状、例えば僅かにねじれた形状として、出口を、上方から見て、入口に対して回転させることもできる。
整列コンベア11は、水平方向に対して、15°から60°の範囲、より好適には30°から50°の範囲、最も好適には40°の角度βをなして配置することができる。コンベアのベルトは、0.lm/sからlm/sの範囲、好適には0.3m/sから0.8m/sの範囲、最も好適には0.7m/sの速度で移動し、角度βが大きいほど、高速度であることが望ましい。
図6は、廃棄シガレットからたばこを回収するためのシステムを示す。このシステムの一部については、既に、本発明に係る、ロッド状要素を配置するためのシステムを示す図1〜5に言及しつつ説明されている。
図6に示すように、本発明に係るたばこを回収するシステムにおいて、整列コンベア11の上部領域13からのシガレットは、移送されてきたシガレット6を平行配向に整列させるためにアセンブリ14内に投入される。整列アセンブリ14は、図の紙面に対して垂直方向に、相互に往復移動可能なロッド15を備える。中間ホッパー17は、整列アセンブリ14の下に配置されている。ホッパー17は、壁18及び19によって横から制限されており、その底部側は移送筒21の外周面20により制限されている。
移送筒21は、その外周面20に、シガレット6を移送するための、複数の溝22を有する。シガレット6は、溝の底部に形成された開口部を介して加えられる負圧によって溝22の中に維持することができる。さらに、シガレット6は、筒21により移送される間、既知の湾曲ガイド(図示せず)によって溝22内に維持することができ、該湾曲ガイドの内面は移送筒21の外周面20の湾曲部の曲率半径よりも若干大きな曲率半径を有する。
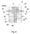
移送される間、連続する各シガレットは、運転制御手段の運転領域を通過する。この領域は、走査ヘッド24の運転の第一領域23を含む。走査ヘッド24の機能は、シガレットのたばこ部分6A又はフィルタ部分6Bがどの方向を向いているかを検出することにより、連続する各シガレットの位置を確認することである。走査ヘッド24は、シガレット6の端面に向けたセンサ25、26、又はシガレットの筒状の側面に向けた他のセンサ27、28を備えてよい。
移送筒21付近で、かつ運転制御手段の運転領域の第2領域内には、溝22に沿ってシガレット6をシフトさせることで、シガレットのフィルタ部分の境界線を移送筒21の周りの共通の周線上に位置させるための、加圧エアノズル30、31が設けられている。センサ24及び25をもつ走査ヘッド24、及び加圧エアノズル30、31を、移送筒21の外周面の展開図を示す図8に示す。
移送筒21の付近に、シガレットのたばこ部分をそのフィルタ部分から分離する手段が設けられている。この実施形態において、分離手段は、たばこ部分6Aをフィルタ部分6Bから切り離すための2つのディスクナイフ35により形成されている。図8において、シガレット6が移送筒21の溝22に沿ってシフトされた状況の、シガレット6のフィルタ部分の境界線が破線33により示され、該破線33は筒21の外周にわたって延びる。さらに、線33はディスクナイフ35の位置を示す。
領域32(図7参照)において、フィルタ部分6Bは、溝22の底部にある開口部を通って送られた加圧空気又は機械式スクレーパによって、移送筒21から容器36内へと落とされる。移送筒21に残ったたばこ部分6Aは落下領域37へと移送され、加圧空気によって溝22から落とされる。落下チャネル38が移送筒21の下の落下領域37に配置されている。2つの加圧エアノズル39及び40が、落下チャネル38付近に配置されており、それらの機能は落下チャネル38からたばこ部分6Aを飛ばし、出口チャネル41内へと導入することである。
ノズル39はチャネル38と同軸上に配置されている一方、ノズル40はチャネル38に対して斜めに配置されており、ノズル39から離れて位置するたばこ部分6Aを飛ばすのに役立つ。切断アセンブリが出口チャネル41の上に設けられている。本実施形態において、移送されたたばこ部分6Aの紙ラッパーを切断するためのディスクナイフ42により形成されている。
ロッド状要素を配置するためのシステム、及び一部がロッド状要素を配置するためのシステムで構成されている、廃棄シガレットからたばこを回収するためのシステムの運転について以下に記載する。適切に配置されていないシガレット6は、容器5内に投入される。シガレットは容器5から、供給コンベア1の下部領域にある、供給コンベア1の連続する回収用スラット2に引き取られ、コンベア1を上に向かって移送される。上部領域7において、シガレットは入口8Aを通ってシュート8内へと、底部8Bまで落下する。底部8Bが傾斜しているため、シガレット6は底部8Bにぶつかるとひっくり返り、傾斜に沿って下へと滑り、出口8Cを通ってシュートの外へと出ていき、シガレットの先端部が、整列コンベア11の下部領域10において整列コンベア11の溝付きの作用面12と接触する。ロッド状要素を配置するためのシステム、そして、本発明に係る、廃棄シガレットからたばこを回収するためのシステムの最も具体的な特徴は、シュート8の出口と整列コンベア11の開始部分との特別な並置、水平方向に対するこれらの素子の適切な傾斜角度の選択、及び整列コンベアベルトの移動速度、の組み合わせにある。シュート8及び整列コンベア11の傾斜角度の、設計された具体的な組み合わせにより、シガレットは、シュート8から整列コンベア11への移動に際して、60°から150°の範囲の角度γで回転することで、移動方向を変更する。
シガレットは、角度γが75°から110°の範囲にあるときに、整列コンベア11の溝9の中に、有効に配置されるが、シュート8と整列コンベア11との最も効果的な配置は、シガレットが85°から95°の範囲の角度γ、すなわちほぼ直角にてひっくり返る配置である。上述の、システムの素子の具体的な配置及びそれらの運転パラメータにより、シガレット端部は作用面12と接触すると、上に引っ張り上げられ、結果として、シガレットは溝9からそれずに、シュート8の出口又はシュートの拡張部分を構成する中間部材から、直接溝に沿って上へと進んでいく。ロッド状要素を配置するためのシステムを運転させると、適切に配置されていないロッド状要素のかたまりから適切に配置された別々の要素であって、整列コンベア11の溝22の中で互いに対して、及び移送方向に対して平行に移送された要素の連続へと変換される。
整列コンベア11の上部領域13にて、シガレットは放り出され、結果的に中間ホッパー17にて回収されたシガレットの最上層に落下するが、有利には中間ホッパー17の上に配置された整列アセンブリ14の上に落下する。ロッド15をもつ整列アセンブリ14は、最上部にあるシガレット6の斜めの配向を完全に防止するために、水平方向に往復移動する。中間ホッパー17を出ると、シガレットは移送ドラム21の溝22へと導入され、その外周面上で移送される。
シガレット6は、走査ヘッド24の運転領域23を通って移送される。各シガレット6の配向に関する情報は、適切な加圧エアノズル30又は31(図8参照)により形成された手段のスイッチを入れるための運転制御手段にて使用される。
ノズル30及び31は、シガレット6をシフトさせて、移送筒の外周面20の中央部において、フィルタ部分の境界線を破線33に沿うようにして、シガレット6のフィルタ部分6Bを特定する。図8において、ノズル30はシガレット6′を右にシフトさせ、ノズル31はシガレット6″を左にシフトさせる。
このように配置されたシガレット6は、図8に示す線33に沿ってシガレットを切断するディスクナイフ35の運転領域を通って移送され、該ナイフ35はたばこ部分6Aをフィルタ部分6Bから分離させる。切断されたシガレットは、移送筒21によって移送され、フィルタ部分6Bは、既知の方法、例えば加圧空気によって又は機械的に、筒21から容器36内に落とされる。たばこ部分6Aは、ドラム21上に残り、落下領域37へと移送される。この領域において、たばこ部分6Aは、落下領域38を通って、ノズル39及び/又は40によって放り出される。各たばこ部分6Aは出口チャネル41に導入され、該出口チャネル41に沿って先へと進み、その間に各たばこ部分6Aの紙ラッパーが切断アセンブリ、特にディスクナイフ42によって縦方向に切断される。

Claims (17)

  1. ロッド状要素、特にシガレットを、縦方向の整列コンベア(11)上で、コンベアの移動方向に沿って配置するためのシステムであって、
    適切に配置されていないロッド状要素(6)のための容器(5)と、
    供給コンベア(1)と、
    シュート(8)と、
    前記整列コンベア(11)と、
    を備え、
    前記容器(5)から供給された前記ロッド状要素(6)は前記供給コンベア(1)によって前記シュート(8)に移送され、
    前記ロッド状要素(6)は前記供給コンベア(1)上で移動方向に対して横方向に配置され、
    前記シュート(8)の底部は水平方向に対して角度(α)をなして下向きに傾斜しており、
    縦方向の溝をもつ前記整列コンベア(11)の入口端部は前記シュート(8)の出口端部(8C)の下流に位置しており、
    前記整列コンベア(11)は、水平方向に対して角度(β)をなして上向きに傾斜しているとともに、前記ロッド状要素(6)を前記シュート(8)の出口端部(8C)から前記整列コンベア(11)の上方に向かって、前記ロッド状要素(6)を前記シュート(8)から前記整列コンベア(11)の溝(9)の中へと該溝に沿って入れることができる速度で運搬することを特徴とする、システム。
  2. 前記供給コンベア(1)は、ベルトの外面に取り付けられた横方向の回収用スラット(2)を備えたベルトコンベアであることを特徴とする、請求項1に記載のシステム。
  3. 前記シュート(8)内の前記ロッド状要素(6)の移動方向(B)は、上方から見て、前記供給コンベア(1)上の前記ロッド状要素(6)の向きに対してほぼ平行であることを特徴とする、請求項1に記載のシステム。
  4. 中間シュート部材(8′)が、前記シュート(8)と前記整列コンベア(11)との間に設けられており、前記中間シュート部材(8′)の出口にある前記ロッド状要素(6)の移動方向(C)は、上方から見て、前記整列コンベア(11)上の前記ロッド状要素(6)の向きに対してほぼ平行であることを特徴とする、請求項1に記載のシステム。
  5. 前記シュート(8)の底部は、前記整列コンベア(11)の傾斜の方向に対して、60°から150°の範囲、好適には75°から110°の範囲、最も好適には85°から95°の範囲の角度(γ)をなして配置されていることを特徴とする、請求項1に記載のシステム。
  6. 前記シュート(8)の底部は、水平方向に対して、15°から60°の範囲、好適には30°から50°の範囲、最も好適には45°から50°の範囲の角度(α)をなして配置されていることを特徴とする、請求項1〜5のいずれか一項に記載のシステム。
  7. 前記整列コンベア(11)はベルトコンベアであって、
    該整列コンベア(11)のベルト(12)の上面は多溝面として形成されており、又は、前記整列コンベア(11)は複数のベルトを含んでおり、該複数のベルトの作用面はそれぞれ逆V字型の形状であることを特徴とする、請求項1に記載のシステム。
  8. 前記整列コンベア(11)は、水平方向に対して、15°から60°の範囲、好適には30°から50°の範囲、最も好適には40°から45°の範囲の角度(β)をなして配置されていることを特徴とする、請求項1又は5に記載のシステム。
  9. 前記整列コンベア(11)のベルトは、0.lm/sからlm/sの範囲、好適には0.3m/sから0.8m/sの範囲、最も好適には0.7m/sの速度で移動可能であることを特徴とする、請求項1に記載のシステム。
  10. 前記整列コンベア(11)のベルトの移動速度は、その傾斜角度(β)に応じて調整されることを特徴とする、請求項1に記載のシステム。
  11. 廃棄シガレットのフィルタ部分をたばこ部分から分離させることで、廃棄シガレットからたばこを回収するためのシステムであって、
    たばこ部分の紙ラッパーを縦方向に切断するためのアセンブリ(42)と、
    たばこを紙ラッパーから取り除くためのアセンブリと、
    を備え、
    ラッパーを縦方向に切断するための前記アセンブリ(42)の上流において、請求項1〜10のいずれか一項に記載のロッド状要素を配置するためのシステムを備え、
    前記ロッド状要素を配置するためのシステムの下流において、前記ロッド状要素を配置するためのシステムによって搬送されたシガレットを受けるための中間ホッパー(17)が配置されており、
    溝付き外周面(20)を有する移送筒(21)が、シガレットを移送するために、前記ホッパー(17)の下に設けられており、
    前記たばこを回収するためのシステムは、
    前記移送筒の前記溝付き外周面(20)の溝(22)の中のシガレットをシフトさせることで、該シガレットのフィルタ部分の境界線を前記移送筒(21)の周りの共通の周線上に位置させるための運転制御手段と、
    前記移送筒(21)の前記溝(22)の中に配置されたシガレット(6)のたばこ部分(6A)をフィルタ部分(6B)から分離させる手段(35)と、
    をさらに備えることを特徴とする、システム。
  12. 前記運転制御手段は、
    前記移送筒の前記溝付き外周面(20)上の、互いに連続するシガレットのそれぞれの側面及び/又は少なくとも一方の端面を走査するための走査ヘッド(24)と、
    前記溝(22)に沿って前記シガレット(6)をシフトする加圧エアノズル(30、31)と、
    備えることを特徴とする、請求項11に記載のシステム。
  13. 前記シガレット(6)のたばこ部分を分離させる手段(35)は、前記移送筒(21)付近に配置された、前記たばこ部分(6A)を前記フィルタ部分(6B)から切り離すためのディスクナイフによって形成されることを特徴とする、請求項11に記載のシステム。
  14. 前記整列コンベア(11)の上部領域(13)において、前記中間ホッパー(17)と前記移送筒(21)との間に整列アセンブリ(14)が設けられており、前記整列アセンブリ(14)は、前記溝(22)に対して横方向に、相互に往復移動可能なロッド(15)を備えることを特徴とする、請求項11に記載のシステム。
  15. 分離されたたばこ部分を加圧空気により前記アセンブリ(42)に供給するための手段(39、40)を備えることを特徴とする、請求項11に記載のシステム。
  16. ロッド状要素、特にシガレットを、縦方向の整列コンベア上に、該コンベアに沿った移動方向に対して平行に、配置するための方法であって、
    適切に配置されていないロッド状要素(6)を、供給コンベア(1)に供給するステップであって、前記ロッド状要素(6)が前記供給コンベア(1)上に前記移動方向に対して横方向に配置される、ステップと、
    その後、前記ロッド状要素(6)を、前記コンベア(1)に沿って供給されるときの前記ロッド状要素の軸の方向に対して平行に、前記供給コンベア(1)からシュート(8)を通って下方に向かって、縦方向の溝をもつ整列コンベア(11)へと移送するステップと、
    を含み、
    前記シュート(8)の底部は水平方向に対して角度(α)をなして下向きに傾斜しており、
    前記整列コンベア(11)によって前記ロッド状要素(6)は上方に向かって移送され、
    移送の方向(C)は、前記ロッド状要素(6)の軸に対して平行であるとともに、水平方向に対して角度(β)をなして傾斜しており、
    前記ロッド状要素(6)を前記整列コンベア(11)に供給する速度は、前記シュート(8)からの前記ロッド状要素(6)が、前記整列コンベア(11)の溝(9)の中へ、該溝に沿って配向された状態で、入ることを可能にするように調整されている、方法。
  17. 前記ロッド状要素(6)を前記整列コンベア(11)に供給する速度は、前記コンベア(11)のベルトの移動速度及び/又はその傾斜の角度(β)に応じて調整されることを特徴とする、請求項16に記載の方法。
JP2014559860A 2012-02-28 2013-02-21 ロッド状要素を配置するための方法及びシステム、並びに、廃棄シガレットからたばこを回収するためのシステム Expired - Fee Related JP6042913B2 (ja)

Applications Claiming Priority (3)

Application Number Priority Date Filing Date Title
PL398256A PL221773B1 (pl) 2012-02-28 2012-02-28 Sposób i układ do porządkowania elementów prętopodobnych oraz układ do odzyskiwania tytoniu z papierosów odpadowych
PLPL398256 2012-02-28
PCT/PL2013/050007 WO2013129952A1 (en) 2012-02-28 2013-02-21 Method and system for arranging rod-like elements and system for recovering tobacco from waste cigarettes

Publications (2)

Publication Number Publication Date
JP2015513402A true JP2015513402A (ja) 2015-05-14
JP6042913B2 JP6042913B2 (ja) 2016-12-14

Family

ID=47891877

Family Applications (1)

Application Number Title Priority Date Filing Date
JP2014559860A Expired - Fee Related JP6042913B2 (ja) 2012-02-28 2013-02-21 ロッド状要素を配置するための方法及びシステム、並びに、廃棄シガレットからたばこを回収するためのシステム

Country Status (9)

Country Link
US (1) US9993021B2 (ja)
EP (1) EP2819533B1 (ja)
JP (1) JP6042913B2 (ja)
CN (1) CN104114045B (ja)
BR (1) BR112014016475A8 (ja)
HU (1) HUE029944T2 (ja)
PL (1) PL221773B1 (ja)
RU (1) RU2604442C2 (ja)
WO (1) WO2013129952A1 (ja)

Cited By (1)

* Cited by examiner, † Cited by third party
Publication number Priority date Publication date Assignee Title
JP2019209328A (ja) * 2018-06-01 2019-12-12 小智研発股▲フン▼有限公司Miniwiz Co.,Ltd. シガレット廃棄物のリサイクル方法及び装置

Families Citing this family (14)

* Cited by examiner, † Cited by third party
Publication number Priority date Publication date Assignee Title
WO2015063284A2 (en) * 2013-11-04 2015-05-07 Philip Morris Products S.A. System and method for transferring rod-shaped articles and arrangement and method for retaining rod-shaped articles in a conveyor band
EP3015003B1 (de) * 2014-10-28 2018-06-13 Köhl Maschinenbau AG Sortiervorrichtung für längliche Artikel, insbesondere für Zigaretten
PL230026B1 (pl) * 2015-06-26 2018-09-28 Int Tobacco Machinery Poland Spolka Z Ograniczona Odpowiedzialnoscia Zespół do rozcinania papierosów i sposób rozcinania papierosów
ITUA20162079A1 (it) * 2016-03-29 2017-09-29 Tema Automazioni S R L Metodo per il convogliamento degli elementi allungati verso una macchina automatica e dispositivo alimentatore per macchine automatiche impiegante tale metodo
CN106395241A (zh) * 2016-09-23 2017-02-15 黄飞必 一种采血管输送装置
CN107902376B (zh) * 2017-12-19 2024-12-20 李德福 一种香烟活性炭滤嘴生产中的封塞自排阵列机
JP7067960B2 (ja) * 2018-02-28 2022-05-16 シスメックス株式会社 ピペットチップ供給機構およびピペットチップ供給方法
CN109987381B (zh) * 2019-04-15 2024-04-16 中交第二航务工程局有限公司 一种混凝土近距离立体运输系统
DE102019122472A1 (de) * 2019-08-21 2021-02-25 Hauni Maschinenbau Gmbh Taumelscheibe für eine Fördertrommel der Tabak verarbeitenden Industrie
CN112493530B (zh) * 2020-11-24 2022-09-23 河南中烟工业有限责任公司 一种视觉判别香烟烟支自动掉头装置
CN113104525A (zh) * 2021-04-25 2021-07-13 永州市冷水滩区五谷香农产品加工有限责任公司 一种大米生产专用的提升机
CN113478084B (zh) * 2021-07-29 2024-08-16 武汉淡雅香生物科技有限公司 一种烟管打孔装置及烟管打孔方法
CN113415488B (zh) * 2021-08-19 2021-10-29 南通宝田包装科技有限公司 一种生产用自动化整理装置
CN118107845B (zh) * 2024-04-15 2025-09-26 湖北中烟工业有限责任公司 一种辊式雪茄输送装套系统

Citations (4)

* Cited by examiner, † Cited by third party
Publication number Priority date Publication date Assignee Title
DE2032706A1 (de) * 1970-07-02 1972-01-05 Hauni-Werke Körber & Co KG, 2050 Hamburg Verfahren und Vorrichtung zum Aufschlagen von Zigaretten
US3665931A (en) * 1969-07-18 1972-05-30 Amf Inc Cigarette ripping device
JPH0489715A (ja) * 1990-08-02 1992-03-23 Kibun Foods Inc 棒状練り製品用搬送ライン装置
JP2011188848A (ja) * 2010-03-11 2011-09-29 Internatl Tobacco Machinery Poland Sp Zoo 欠陥がある及び/又は規格外の紙巻きたばこからたばこを回収するための装置において、紙巻きたばこの包み紙を開くための方法及び器械

Family Cites Families (10)

* Cited by examiner, † Cited by third party
Publication number Priority date Publication date Assignee Title
DE1106227B (de) 1954-01-03 1961-05-04 Hauni Werke Koerber & Co Kg Vorrichtung zum Entfernen der Mundstuecke von Filtermundstueckzigaretten
US3404688A (en) 1965-06-04 1968-10-08 Reynolds Tobacco Co R Apparatus for disassembling filter and cigarette assemblies
DE1532266A1 (de) 1966-01-21 1970-01-22 Molins Machine Co Ltd Vorrichtung zum Aufreissen von fehlerhaft fabrizierten Zigaretten
US4117852A (en) * 1976-08-31 1978-10-03 Philip Morris Incorporated Method and apparatus for reclaiming tobacco from cigarettes
DE3839431A1 (de) 1988-11-23 1990-05-31 Fr Niepmann Gmbh U Co Maschf Verfahren und vorrichtung zur rueckgewinnung von tabak aus fehlerhaften zigaretten
US5076291A (en) 1990-01-03 1991-12-31 Philip Morris Incorporated Method and apparatus for detipping loose cigarettes
DE4439189C2 (de) * 1994-11-03 1998-06-18 Bat Cigarettenfab Gmbh Vorrichtung zur Rückführung von Tabak aus von einer Cigarettenmaschine ausgesonderten Cigaretten
RU2100944C1 (ru) * 1996-01-03 1998-01-10 Малое внедренческое предприятие "ПЛЭКОЛ" Способ переработки возвратных отходов табачного производства
DE19847152A1 (de) * 1998-10-13 2000-04-20 Decoufle Sarl Anordnung zum Überführen von ovalen Zigaretten aus einer axialen in eine queraxiale Förderbahn
CN201243617Y (zh) * 2008-07-26 2009-05-27 常德瑞华制造有限公司 废烟支烟丝回收机烟斗整烟装置

Patent Citations (4)

* Cited by examiner, † Cited by third party
Publication number Priority date Publication date Assignee Title
US3665931A (en) * 1969-07-18 1972-05-30 Amf Inc Cigarette ripping device
DE2032706A1 (de) * 1970-07-02 1972-01-05 Hauni-Werke Körber & Co KG, 2050 Hamburg Verfahren und Vorrichtung zum Aufschlagen von Zigaretten
JPH0489715A (ja) * 1990-08-02 1992-03-23 Kibun Foods Inc 棒状練り製品用搬送ライン装置
JP2011188848A (ja) * 2010-03-11 2011-09-29 Internatl Tobacco Machinery Poland Sp Zoo 欠陥がある及び/又は規格外の紙巻きたばこからたばこを回収するための装置において、紙巻きたばこの包み紙を開くための方法及び器械

Cited By (1)

* Cited by examiner, † Cited by third party
Publication number Priority date Publication date Assignee Title
JP2019209328A (ja) * 2018-06-01 2019-12-12 小智研発股▲フン▼有限公司Miniwiz Co.,Ltd. シガレット廃棄物のリサイクル方法及び装置

Also Published As

Publication number Publication date
JP6042913B2 (ja) 2016-12-14
CN104114045B (zh) 2016-11-02
BR112014016475A8 (pt) 2017-07-04
HUE029944T2 (en) 2017-04-28
BR112014016475A2 (pt) 2017-06-13
RU2014138403A (ru) 2016-04-20
EP2819533B1 (en) 2016-05-11
CN104114045A (zh) 2014-10-22
RU2604442C2 (ru) 2016-12-10
PL398256A1 (pl) 2013-09-02
US9993021B2 (en) 2018-06-12
PL221773B1 (pl) 2016-05-31
EP2819533A1 (en) 2015-01-07
US20150101621A1 (en) 2015-04-16
WO2013129952A1 (en) 2013-09-06

Similar Documents

Publication Publication Date Title
JP6042913B2 (ja) ロッド状要素を配置するための方法及びシステム、並びに、廃棄シガレットからたばこを回収するためのシステム
KR101504386B1 (ko) 멀티 세그멘트 필터를 생산하는 공정에서 세그멘트 그룹을 수집하는 방법 및 멀티 세그멘트 필터를 생산하는 공정에서 세그멘트를 그룹으로 준비하고 수집하기 위한 장치
KR101398745B1 (ko) 필터요소 절단시스템
CN111432664B (zh) 补充装置、生产多段棒的设备和生产多段棒的方法
EP2750525B1 (en) Tobacco reclaim from waste cigarettes
US3224451A (en) Apparatus for removal of tips from scrap cigarettes
EP3579707B1 (en) Orientation and feeding system and method for feeding cigarettes and providing longitudinal orientation to cigarettes, device and method for recovering tobacco from cigarettes
CN106954665A (zh) 用于转移香肠部的装置及方法
EP1985192B1 (en) Shredded tobacco material feeder of a cigarette manufacturing apparatus
US8930016B2 (en) Method and system for arranging rod-like elements
JP2004528645A6 (ja) 梱包機械に煙草を送込むためのユニット装置
JP2011139702A5 (ja)
JP2011139702A (ja) 煙草加工産業の振動コンベアポットにおける紙除去
KR101828738B1 (ko) 자동 조미김 가공라인용 계수장치
KR100331389B1 (ko) 포장된물품의포장해체에사용되는장치와방법
EP3197302B1 (en) Machine for making smokers' articles
WO2013075791A1 (en) Apparatus and method for deconstructing a smoking article
RU2759456C2 (ru) Устройство и способ подачи, предназначенные для подачи сферических объектов в оборудовании табачной промышленности
CN106455679B (zh) 用于从香烟移除烟草的方法和设备
JPH11262731A (ja) 異物排除装置
JP7160328B2 (ja) 帆立貝供給装置
JPH11278422A (ja) 製袋機用スタッカーバンドラー
EP2919598A1 (en) Plant material alignment device and method thereof
RU2776519C2 (ru) Доукомплектовывающее устройство, приспособление для изготовления многосегментных стержней и способ изготовления многосегментных стержней
JP2004180605A (ja) 棒状物品のホッパ装置

Legal Events

Date Code Title Description
A621 Written request for application examination

Free format text: JAPANESE INTERMEDIATE CODE: A621

Effective date: 20150612

A977 Report on retrieval

Free format text: JAPANESE INTERMEDIATE CODE: A971007

Effective date: 20160316

A131 Notification of reasons for refusal

Free format text: JAPANESE INTERMEDIATE CODE: A131

Effective date: 20160412

A521 Request for written amendment filed

Free format text: JAPANESE INTERMEDIATE CODE: A523

Effective date: 20160615

TRDD Decision of grant or rejection written
A01 Written decision to grant a patent or to grant a registration (utility model)

Free format text: JAPANESE INTERMEDIATE CODE: A01

Effective date: 20161108

A61 First payment of annual fees (during grant procedure)

Free format text: JAPANESE INTERMEDIATE CODE: A61

Effective date: 20161110

R150 Certificate of patent or registration of utility model

Ref document number: 6042913

Country of ref document: JP

Free format text: JAPANESE INTERMEDIATE CODE: R150

R250 Receipt of annual fees

Free format text: JAPANESE INTERMEDIATE CODE: R250

R250 Receipt of annual fees

Free format text: JAPANESE INTERMEDIATE CODE: R250

LAPS Cancellation because of no payment of annual fees