JP2015114374A - 液晶表示装置 - Google Patents

液晶表示装置 Download PDF

Info

Publication number
JP2015114374A
JP2015114374A JP2013254205A JP2013254205A JP2015114374A JP 2015114374 A JP2015114374 A JP 2015114374A JP 2013254205 A JP2013254205 A JP 2013254205A JP 2013254205 A JP2013254205 A JP 2013254205A JP 2015114374 A JP2015114374 A JP 2015114374A
Authority
JP
Japan
Prior art keywords
hole
liquid crystal
pixel electrode
pixel
organic passivation
Prior art date
Legal status (The legal status is an assumption and is not a legal conclusion. Google has not performed a legal analysis and makes no representation as to the accuracy of the status listed.)
Pending
Application number
JP2013254205A
Other languages
English (en)
Inventor
安 冨岡
Yasushi Tomioka
冨岡  安
利昌 石垣
Toshimasa Ishigaki
利昌 石垣
英博 園田
Hidehiro Sonoda
英博 園田
純人 植田
Sumihito Ueda
純人 植田
Current Assignee (The listed assignees may be inaccurate. Google has not performed a legal analysis and makes no representation or warranty as to the accuracy of the list.)
Japan Display Inc
Original Assignee
Japan Display Inc
Priority date (The priority date is an assumption and is not a legal conclusion. Google has not performed a legal analysis and makes no representation as to the accuracy of the date listed.)
Filing date
Publication date
Family has litigation
First worldwide family litigation filed litigation Critical https://patents.darts-ip.com/?family=53271030&utm_source=google_patent&utm_medium=platform_link&utm_campaign=public_patent_search&patent=JP2015114374(A) "Global patent litigation dataset” by Darts-ip is licensed under a Creative Commons Attribution 4.0 International License.
Priority to JP2013254205A priority Critical patent/JP2015114374A/ja
Application filed by Japan Display Inc filed Critical Japan Display Inc
Priority to CN201410742976.6A priority patent/CN104698704B/zh
Priority to US14/564,129 priority patent/US9519196B2/en
Publication of JP2015114374A publication Critical patent/JP2015114374A/ja
Priority to US15/343,329 priority patent/US9817288B2/en
Priority to US15/784,405 priority patent/US9939698B2/en
Priority to US15/901,945 priority patent/US10018885B1/en
Priority to US16/005,896 priority patent/US10146096B2/en
Priority to US16/174,438 priority patent/US10241372B2/en
Priority to US16/271,981 priority patent/US10877337B2/en
Priority to US17/101,031 priority patent/US11175546B2/en
Priority to US17/499,952 priority patent/US11474403B2/en
Priority to US17/945,789 priority patent/US11650467B2/en
Priority to US18/127,035 priority patent/US11914254B2/en
Priority to US18/441,133 priority patent/US12147133B2/en
Priority to US18/923,818 priority patent/US20250044654A1/en
Pending legal-status Critical Current

Links

Images

Classifications

    • GPHYSICS
    • G02OPTICS
    • G02FOPTICAL DEVICES OR ARRANGEMENTS FOR THE CONTROL OF LIGHT BY MODIFICATION OF THE OPTICAL PROPERTIES OF THE MEDIA OF THE ELEMENTS INVOLVED THEREIN; NON-LINEAR OPTICS; FREQUENCY-CHANGING OF LIGHT; OPTICAL LOGIC ELEMENTS; OPTICAL ANALOGUE/DIGITAL CONVERTERS
    • G02F1/00Devices or arrangements for the control of the intensity, colour, phase, polarisation or direction of light arriving from an independent light source, e.g. switching, gating or modulating; Non-linear optics
    • G02F1/01Devices or arrangements for the control of the intensity, colour, phase, polarisation or direction of light arriving from an independent light source, e.g. switching, gating or modulating; Non-linear optics for the control of the intensity, phase, polarisation or colour 
    • G02F1/13Devices or arrangements for the control of the intensity, colour, phase, polarisation or direction of light arriving from an independent light source, e.g. switching, gating or modulating; Non-linear optics for the control of the intensity, phase, polarisation or colour  based on liquid crystals, e.g. single liquid crystal display cells
    • G02F1/133Constructional arrangements; Operation of liquid crystal cells; Circuit arrangements
    • G02F1/136Liquid crystal cells structurally associated with a semi-conducting layer or substrate, e.g. cells forming part of an integrated circuit
    • G02F1/1362Active matrix addressed cells
    • G02F1/136227Through-hole connection of the pixel electrode to the active element through an insulation layer
    • GPHYSICS
    • G02OPTICS
    • G02FOPTICAL DEVICES OR ARRANGEMENTS FOR THE CONTROL OF LIGHT BY MODIFICATION OF THE OPTICAL PROPERTIES OF THE MEDIA OF THE ELEMENTS INVOLVED THEREIN; NON-LINEAR OPTICS; FREQUENCY-CHANGING OF LIGHT; OPTICAL LOGIC ELEMENTS; OPTICAL ANALOGUE/DIGITAL CONVERTERS
    • G02F1/00Devices or arrangements for the control of the intensity, colour, phase, polarisation or direction of light arriving from an independent light source, e.g. switching, gating or modulating; Non-linear optics
    • G02F1/01Devices or arrangements for the control of the intensity, colour, phase, polarisation or direction of light arriving from an independent light source, e.g. switching, gating or modulating; Non-linear optics for the control of the intensity, phase, polarisation or colour 
    • G02F1/13Devices or arrangements for the control of the intensity, colour, phase, polarisation or direction of light arriving from an independent light source, e.g. switching, gating or modulating; Non-linear optics for the control of the intensity, phase, polarisation or colour  based on liquid crystals, e.g. single liquid crystal display cells
    • G02F1/133Constructional arrangements; Operation of liquid crystal cells; Circuit arrangements
    • G02F1/1333Constructional arrangements; Manufacturing methods
    • G02F1/133345Insulating layers
    • GPHYSICS
    • G02OPTICS
    • G02FOPTICAL DEVICES OR ARRANGEMENTS FOR THE CONTROL OF LIGHT BY MODIFICATION OF THE OPTICAL PROPERTIES OF THE MEDIA OF THE ELEMENTS INVOLVED THEREIN; NON-LINEAR OPTICS; FREQUENCY-CHANGING OF LIGHT; OPTICAL LOGIC ELEMENTS; OPTICAL ANALOGUE/DIGITAL CONVERTERS
    • G02F1/00Devices or arrangements for the control of the intensity, colour, phase, polarisation or direction of light arriving from an independent light source, e.g. switching, gating or modulating; Non-linear optics
    • G02F1/01Devices or arrangements for the control of the intensity, colour, phase, polarisation or direction of light arriving from an independent light source, e.g. switching, gating or modulating; Non-linear optics for the control of the intensity, phase, polarisation or colour 
    • G02F1/13Devices or arrangements for the control of the intensity, colour, phase, polarisation or direction of light arriving from an independent light source, e.g. switching, gating or modulating; Non-linear optics for the control of the intensity, phase, polarisation or colour  based on liquid crystals, e.g. single liquid crystal display cells
    • G02F1/133Constructional arrangements; Operation of liquid crystal cells; Circuit arrangements
    • G02F1/1333Constructional arrangements; Manufacturing methods
    • G02F1/1335Structural association of cells with optical devices, e.g. polarisers or reflectors
    • G02F1/133509Filters, e.g. light shielding masks
    • G02F1/133512Light shielding layers, e.g. black matrix
    • GPHYSICS
    • G02OPTICS
    • G02FOPTICAL DEVICES OR ARRANGEMENTS FOR THE CONTROL OF LIGHT BY MODIFICATION OF THE OPTICAL PROPERTIES OF THE MEDIA OF THE ELEMENTS INVOLVED THEREIN; NON-LINEAR OPTICS; FREQUENCY-CHANGING OF LIGHT; OPTICAL LOGIC ELEMENTS; OPTICAL ANALOGUE/DIGITAL CONVERTERS
    • G02F1/00Devices or arrangements for the control of the intensity, colour, phase, polarisation or direction of light arriving from an independent light source, e.g. switching, gating or modulating; Non-linear optics
    • G02F1/01Devices or arrangements for the control of the intensity, colour, phase, polarisation or direction of light arriving from an independent light source, e.g. switching, gating or modulating; Non-linear optics for the control of the intensity, phase, polarisation or colour 
    • G02F1/13Devices or arrangements for the control of the intensity, colour, phase, polarisation or direction of light arriving from an independent light source, e.g. switching, gating or modulating; Non-linear optics for the control of the intensity, phase, polarisation or colour  based on liquid crystals, e.g. single liquid crystal display cells
    • G02F1/133Constructional arrangements; Operation of liquid crystal cells; Circuit arrangements
    • G02F1/1333Constructional arrangements; Manufacturing methods
    • G02F1/1337Surface-induced orientation of the liquid crystal molecules, e.g. by alignment layers
    • GPHYSICS
    • G02OPTICS
    • G02FOPTICAL DEVICES OR ARRANGEMENTS FOR THE CONTROL OF LIGHT BY MODIFICATION OF THE OPTICAL PROPERTIES OF THE MEDIA OF THE ELEMENTS INVOLVED THEREIN; NON-LINEAR OPTICS; FREQUENCY-CHANGING OF LIGHT; OPTICAL LOGIC ELEMENTS; OPTICAL ANALOGUE/DIGITAL CONVERTERS
    • G02F1/00Devices or arrangements for the control of the intensity, colour, phase, polarisation or direction of light arriving from an independent light source, e.g. switching, gating or modulating; Non-linear optics
    • G02F1/01Devices or arrangements for the control of the intensity, colour, phase, polarisation or direction of light arriving from an independent light source, e.g. switching, gating or modulating; Non-linear optics for the control of the intensity, phase, polarisation or colour 
    • G02F1/13Devices or arrangements for the control of the intensity, colour, phase, polarisation or direction of light arriving from an independent light source, e.g. switching, gating or modulating; Non-linear optics for the control of the intensity, phase, polarisation or colour  based on liquid crystals, e.g. single liquid crystal display cells
    • G02F1/133Constructional arrangements; Operation of liquid crystal cells; Circuit arrangements
    • G02F1/1333Constructional arrangements; Manufacturing methods
    • G02F1/1337Surface-induced orientation of the liquid crystal molecules, e.g. by alignment layers
    • G02F1/133707Structures for producing distorted electric fields, e.g. bumps, protrusions, recesses, slits in pixel electrodes
    • GPHYSICS
    • G02OPTICS
    • G02FOPTICAL DEVICES OR ARRANGEMENTS FOR THE CONTROL OF LIGHT BY MODIFICATION OF THE OPTICAL PROPERTIES OF THE MEDIA OF THE ELEMENTS INVOLVED THEREIN; NON-LINEAR OPTICS; FREQUENCY-CHANGING OF LIGHT; OPTICAL LOGIC ELEMENTS; OPTICAL ANALOGUE/DIGITAL CONVERTERS
    • G02F1/00Devices or arrangements for the control of the intensity, colour, phase, polarisation or direction of light arriving from an independent light source, e.g. switching, gating or modulating; Non-linear optics
    • G02F1/01Devices or arrangements for the control of the intensity, colour, phase, polarisation or direction of light arriving from an independent light source, e.g. switching, gating or modulating; Non-linear optics for the control of the intensity, phase, polarisation or colour 
    • G02F1/13Devices or arrangements for the control of the intensity, colour, phase, polarisation or direction of light arriving from an independent light source, e.g. switching, gating or modulating; Non-linear optics for the control of the intensity, phase, polarisation or colour  based on liquid crystals, e.g. single liquid crystal display cells
    • G02F1/133Constructional arrangements; Operation of liquid crystal cells; Circuit arrangements
    • G02F1/136Liquid crystal cells structurally associated with a semi-conducting layer or substrate, e.g. cells forming part of an integrated circuit
    • G02F1/1362Active matrix addressed cells
    • G02F1/1368Active matrix addressed cells in which the switching element is a three-electrode device
    • GPHYSICS
    • G02OPTICS
    • G02FOPTICAL DEVICES OR ARRANGEMENTS FOR THE CONTROL OF LIGHT BY MODIFICATION OF THE OPTICAL PROPERTIES OF THE MEDIA OF THE ELEMENTS INVOLVED THEREIN; NON-LINEAR OPTICS; FREQUENCY-CHANGING OF LIGHT; OPTICAL LOGIC ELEMENTS; OPTICAL ANALOGUE/DIGITAL CONVERTERS
    • G02F1/00Devices or arrangements for the control of the intensity, colour, phase, polarisation or direction of light arriving from an independent light source, e.g. switching, gating or modulating; Non-linear optics
    • G02F1/01Devices or arrangements for the control of the intensity, colour, phase, polarisation or direction of light arriving from an independent light source, e.g. switching, gating or modulating; Non-linear optics for the control of the intensity, phase, polarisation or colour 
    • G02F1/13Devices or arrangements for the control of the intensity, colour, phase, polarisation or direction of light arriving from an independent light source, e.g. switching, gating or modulating; Non-linear optics for the control of the intensity, phase, polarisation or colour  based on liquid crystals, e.g. single liquid crystal display cells
    • G02F1/133Constructional arrangements; Operation of liquid crystal cells; Circuit arrangements
    • G02F1/1333Constructional arrangements; Manufacturing methods
    • G02F1/133357Planarisation layers
    • GPHYSICS
    • G02OPTICS
    • G02FOPTICAL DEVICES OR ARRANGEMENTS FOR THE CONTROL OF LIGHT BY MODIFICATION OF THE OPTICAL PROPERTIES OF THE MEDIA OF THE ELEMENTS INVOLVED THEREIN; NON-LINEAR OPTICS; FREQUENCY-CHANGING OF LIGHT; OPTICAL LOGIC ELEMENTS; OPTICAL ANALOGUE/DIGITAL CONVERTERS
    • G02F2201/00Constructional arrangements not provided for in groups G02F1/00 - G02F7/00
    • G02F2201/12Constructional arrangements not provided for in groups G02F1/00 - G02F7/00 electrode
    • G02F2201/121Constructional arrangements not provided for in groups G02F1/00 - G02F7/00 electrode common or background
    • GPHYSICS
    • G02OPTICS
    • G02FOPTICAL DEVICES OR ARRANGEMENTS FOR THE CONTROL OF LIGHT BY MODIFICATION OF THE OPTICAL PROPERTIES OF THE MEDIA OF THE ELEMENTS INVOLVED THEREIN; NON-LINEAR OPTICS; FREQUENCY-CHANGING OF LIGHT; OPTICAL LOGIC ELEMENTS; OPTICAL ANALOGUE/DIGITAL CONVERTERS
    • G02F2201/00Constructional arrangements not provided for in groups G02F1/00 - G02F7/00
    • G02F2201/12Constructional arrangements not provided for in groups G02F1/00 - G02F7/00 electrode
    • G02F2201/123Constructional arrangements not provided for in groups G02F1/00 - G02F7/00 electrode pixel

Landscapes

  • Physics & Mathematics (AREA)
  • Nonlinear Science (AREA)
  • Mathematical Physics (AREA)
  • Chemical & Material Sciences (AREA)
  • Crystallography & Structural Chemistry (AREA)
  • General Physics & Mathematics (AREA)
  • Optics & Photonics (AREA)
  • Engineering & Computer Science (AREA)
  • Microelectronics & Electronic Packaging (AREA)
  • Spectroscopy & Molecular Physics (AREA)
  • Liquid Crystal (AREA)
  • Geometry (AREA)
  • Devices For Indicating Variable Information By Combining Individual Elements (AREA)
  • Thin Film Transistor (AREA)

Abstract

【課題】画素電極とソース電極を接続するためのスルーホールの径が小さくなった場合に、配向膜材料がスルーホール内に流れ込みにくくなる現象を対策する。
【解決手段】有機パッシベーション膜104の上にコモン電極105が形成され、その上に層間絶縁膜106が形成され、その上にスリットを有する画素電極107が形成され、スルーホール109を介してTFTのソース電極102と画素電極107が導通する構成の画素を有するTFT基板100において、スルーホール109の深さのD/2の位置におけるテーパ角が50度以上であり、画素電極107はスルーホール109の側壁の一部を覆っており、スルーホール109の側壁の他の部分は画素電極107によって覆われていない。これによって、配向膜材料108がスルーホール109内に流れ込み易くし、スルーホール109付近における配向膜108の膜厚むらを解消する。
【選択図】図3

Description

本発明は表示装置に係り、特に高精細画面においても透過率の減少が小さく、かつ、画素欠陥の少ない液晶表示装置に関する。
液晶表示装置では画素電極および薄膜トランジスタ(TFT)等を有する画素がマトリクス状に形成されたTFT基板と、TFT基板に対向して、TFT基板の画素電極と対応する場所にカラーフィルタ等が形成された対向基板が配置され、TFT基板と対向基板の間に液晶が挟持されている。そして液晶分子による光の透過率を画素毎に制御することによって画像を形成している。
液晶表示装置はフラットで軽量であることから、色々な分野で用途が広がっている。携帯電話やスマートフォン、DSC(Digital Still Camera)等の携帯情報端末には、小型の液晶表示装置が広く使用されている。液晶表示装置では視野角特性が問題である。視野角特性は、画面を正面から見た場合と、斜め方向から見た場合に、輝度が変化したり、色度が変化したりする現象である。視野角特性は、液晶分子を水平方向の電界によって動作させるIPS(In Plane Switching)方式が優れた特性を有している。
IPS方式も種々存在するが、例えば、コモン電極を平面ベタで形成し、その上に、絶縁膜を挟んで櫛歯状の画素電極を配置し、画素電極とコモン電極の間に発生する電界によって液晶分子を回転させる方式が透過率を大きくすることが出来るので、現在主流となっている。コモン電極と層間絶縁膜は平坦化膜を兼ねた、有機パッシベーション膜の上に形成される。
一方、液晶表示装置において、高精細画面として画素のサイズを小さくすると、画素電極とTFTのソース電極を接続するスルーホールの径の占める割合が大きくなる。
上記のようなIPS方式の液晶表示装置において、画素に占めるスルーホールの径の割合が大きくなると、有機パッシベーション膜とその上に形成される層間絶縁膜との接着強度が弱くなり、層間絶縁膜が剥がれるという問題を生ずる。特許文献1には、層間絶縁膜をスルーホール内には形成せず、有機パッシベーション膜の上にのみ形成することによって、層間絶縁膜に対するストレスを軽減し、層間絶縁膜の剥離を防止する構成が記載されている。
高精細画面となり、画素が小さくなるにしたがって、スルーホールの径も小さくしようとすると、スルーホールの壁部のテーパ角(以後スルーホールのテーパ角ということもある)を大きくしなければならない。一方、液晶を初期配向させるために配向膜が使用されるが、この配向膜材料は当初は液体の状態のものをフレキソ印刷あるいはインクジェット等によって塗布する。
スルーホールのテーパ角を大きくすると、配向膜材料を塗布した場合、表面張力のために、配向膜材料がスルーホール内に入り込まないという現象を生ずる。そうすると、スルーホール内に配向膜が存在しないことに起因する、あるいは、スルーホール周辺における配向膜の膜厚むらに起因する輝度むら等の表示欠陥を生ずる。「特許文献2」は、スルーホールの上辺の周辺において、高さを変化させることによって、配向膜がスルーホール内に流れ込みやすくした構成が記載されている。
画素の大きさが小さくなると、画素における画素電極の占める割合が相対的に小さくなり、画素の透過率が小さくなる。液晶を初期配向させる配向膜の光配向では、スルーホールの内壁部も配向処理を行うことが出来るので、スルーホール内壁も表示領域として使用することが出来る。特許文献3は、光配向を利用して、スルーホール内も表示に利用することによって画素の透過率を上げる構成が記載されている。
特開2011−59314号公報 特開2007−322563号公報 特開2013−140386号公報
最近は、小型の液晶表示装置においても、VGA(Video Graphics Array、640×480ドット)のような高精細画面が要求されている。ここで、ドットとは、赤画素、緑画素、青画素の3ピクセルがセットになったものであるから、ピクセル数でいうと1920×480になる。3インチの画面でVGAを可能にするには、ピクセルの短径は32μmというように、非常に小さなものになる。さらに、画素の短径が30μmを下回る高精細なものも開発されている。
画素が小さくなっても、所定の透過率を維持するためには、小さな面積にTFT、スルーホール等を配置し、画素電極面積が占める割合を出来るだけ大きくする必要がある。スルーホールの占める面積を小さくしようとすると、スルーホールのテーパ角が大きくなり、配向膜材料がスルーホール内にながれこみにくくなり、輝度むら等の表示欠陥が発生する。
特許文献2に記載の構成のように、スルーホールの上部周囲において、高低差を設けようとすると、いわゆる有機パッシベーション膜を使用することが出来なくなる。有機パッシベーション膜は2乃至4μmと厚く形成されるので、表面が平坦になり、スルーホールの周囲において、高低差を形成することが困難になるからである。
一方、液晶表示装置の種類によっては、液晶層の層厚を一定にしたい等の要請から、有機パッシベーション膜を使用する必要がある。また、有機パッシベーション膜は膜厚が2乃至4μmと厚く形成されるので、有機パッシベーション膜にスルーホールを形成すると、スルーホールの占める面積が大きくなるという問題がさらに深刻になる。
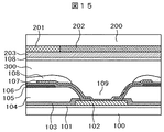
図14は、IPS方式の液晶表示装置において、上記の問題点を示した斜視図であり、図15は図14のI−Iの断面図である。図14において、内側にスリット1071を有する画素電極107がスルーホールを介してソース電極102と接続している。画素電極107の下には図示しない層間絶縁膜が存在し、その下には、図示しないコモン電極が存在している。
図15は、スルーホール109およびその付近の断面図である。図15において、TFT基板100の上にゲート絶縁膜101が形成され、その上にTFTからのソース電極102が形成されている。ソース電極102およびゲート絶縁膜101の上に無機パッシベーション膜103が形成され、無機パッシベーション膜103の上に有機パッシベーション膜104が形成されている。有機パッシベーション膜104の上にコモン電極105が形成されている。コモン電極105を覆って層間絶縁膜106が形成され、層間絶縁膜106の上にスリットを有する画素電極107が形成されている。有機パッシベーション膜の下に無機パッシベーション膜を設けない構造であってもよい。
図15において、TFT基板100と対向して対向基板200が配置されており、TFT基板100と対向基板200との間に液晶層300が挟持されている。対向基板200において、スルーホール109に対応した部分にはブラックマトリクス202が形成され、画素電極107に対応した部分にはカラーフィルタ201が形成されている。ブラックマトリクス202およびカラーフィルタ201を覆ってオーバーコート膜203が形成され、オーバーコート膜203の上に配向膜108が形成されている。
TFT基板100側において、画素電極107は無機パッシベーション膜103、有機パッシベーション膜104および層間絶縁膜106に形成されたスルーホール109を介してソース電極102と接続している。画面が高精細となり、画素の面積が小さくなると、画素の透過率を確保するために、スルーホール109の内壁のテーパ角を大きくしてスルーホールの占める面積を小さくする必要がある。
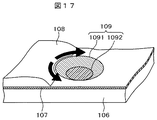
しかし、図15に示すように、スルーホール109のテーパ角が大きいと、当初液体である配向膜材料108は、スルーホール109の上底1091からスルーホール109の内部に流れ込みにくくなる。そうすると、スルーホール109の内部に配向膜が形成されないという問題が生ずる。さらに、スルーホール109の周辺において、配向膜108の厚さが大きくなり、配向膜108の膜厚むらが生ずるという問題も生ずる。そうすると、スルーホール109内に配向膜が存在しないことに起因する、あるいは、スルーホール周辺における配向膜の膜厚むらに起因する輝度むら等の表示欠陥が発生する。
このように、配向膜がスルーホール109内に流れ込まない理由は次のように考えられる。図16は、液体である配向膜材料108の接触角を示すものである。図16(a)は、ITOで形成された平面状の画素電極107の上に配向膜材料108を滴下した場合であり、この場合の接触角はθである。図16(b)はテーパ角αを有するスルーホール108の上底付近に液体である配向膜材料108が存在する場合の接触角である。
図16(b)において、スルーホール109の上底付近における接触角は、βであり、θよりも大きくなる。つまり、配向膜材料108は、スルーホール109の上底においては、平面である画素の上よりも濡れ広がりにくいということが言える。ここで、スルーホール109のテーパ角をαとし、スルーホール上底における配向膜材料108の接触角をβとし、図16(a)における平面である画素電極107上の配向膜材料108の接触角をθとすると、
θ≦β≦α+θ
の関係となる。
したがって、配向膜材料108は、スルーホールの内部に入り込まず、図17の矢印に示すように、スルーホール周辺のITOで形成された画素電極107の上に広がることになる。つまり、図15に示すように、スルーホール109の周辺に配向膜材料が厚く形成されることになる。
本発明の課題は、TFT基板に有機パッシベーション膜を使用した液晶表示装置において、高精細画面として、画素の面積を小さくした場合にスルーホールの占める面積を限定した場合でも、配向膜材料がスルーホール内に入り込みやすくした液晶表示装置を実現することである。
本発明は上記問題を克服するものであり、具体的な手段は次のとおりである。
(1)有機パッシベーション膜の上にコモン電極が形成され、前記コモン電極を覆って、層間絶縁膜が形成され、前記層間絶縁膜の上にスリットを有する画素電極が形成され、前記有機パッシベーション膜および前記層間絶縁膜に形成されたスルーホールを介してTFTのソース電極と画素電極が導通する構成の画素を有するTFT基板と、前記画素に対応する部分にカラーフィルタを有し、前記カラーフィルタと前記カラーフィルタの間にブラックマトリクスが形成された対向基板を有し、前記TFT基板と前記対向基板との間に液晶が挟持された液晶表示装置であって、前記有機パッシベーション膜に形成されたスルーホールの断面は、前記対向基板に近い側が上底であり、前記ソース電極の側が下底であり、前記上底の径は前記下底の径よりも大きく、深さがDであるとしたとき、前記有機パッシベーション膜に形成された前記スルーホールの前記D/2の深さにおけるテーパ角は、50度以上であり、前記画素電極は前記スルーホールの側壁の一部を覆っており、前記スルーホールの側壁の他の部分は画素電極によって覆われていないことを特徴とする液晶表示装置。
(2)有機パッシベーション膜の上にコモン電極が形成され、前記コモン電極を覆って、層間絶縁膜が形成され、前記層間絶縁膜の上にスリットを有する画素電極が形成され、前記有機パッシベーション膜および前記層間絶縁膜に形成されたスルーホールを介してTFTのソース電極と画素電極が導通する構成の画素を有するTFT基板と、前記画素に対応する部分にカラーフィルタを有し、前記カラーフィルタと前記カラーフィルタの間にブラックマトリクスが形成された対向基板を有し、前記TFT基板と前記対向基板との間に液晶が挟持された液晶表示装置であって、前記有機パッシベーション膜に形成されたスルーホールの断面は、前記対向基板に近い側が上底であり、前記ソース電極の側が下底であり、前記上底の径は前記下底の径よりも大きく、深さがDであるとしたとき、前記有機パッシベーション膜に形成された前記スルーホールの前記D/2の深さにおけるテーパ角は、50度以上であり、前記画素電極前記スリットは、前記スルーホールの上面から1μm以上、または、前記スルーホールの上面からD/4以上の深さにまで延在していることを特徴とする液晶表示装置。
本発明によれば、高精細画面とし、画素の面積を小さくし、TFT基板に有機パッシベーション膜を使用した液晶表示装置であって、スルーホール径を小さくしても液晶配向膜材料を安定して、スルーホール内に形成することが出来る。したがって、スルーホール内に配向膜が存在しないことに起因する、あるいは、スルーホール周辺における配向膜の膜厚むらに起因する輝度むら等の表示欠陥を防止することが出来る。
本発明が適用される液晶表示装置の画素の平面図である。 実施例1の画素電極とスルーホールの斜視図である。 図2のA−A断面図である。 スルーホールのテーパ角の定義である。 スルーホールの平面形状の例である。 実施例2の画素電極とスルーホールの斜視図である。 図6のE−E断面図である。 実施例2の他の形態の画素電極とスルーホールの斜視図である。 図8のF−F断面図である。 実施例3のコモン電極とスルーホールの斜視図である。 図10のG−G断面図である。 実施例4の他の形態のコモン電極とスルーホールの斜視図である。 図12のH−H断面図である。 従来例の画素電極とスルーホールの斜視図である。 図14のI−I断面図である。 接触角の定義である。 従来例における配向膜材料の移動方向を示す斜視図である。
以下に実施例を用いて本発明の内容を詳細に説明する。
図1は、本発明が適用される液晶表示装置のTFT基板における画素の平面図である。図1は、IPS方式の液晶表示装置の例である。図1において、走査線10が横方向に延在し、所定のピッチPYで縦方向に配列している。また、映像信号線20が縦方向に延在し、所定のピッチPXで横方向に配列している。走査線10と映像信号線20で囲まれた領域が画素となっている。
図1において、走査線10からゲート電極11が分岐し、ゲート電極11の上に半導体層30が形成されている。映像信号線20から分岐したドレイン電極21が半導体層30の上に形成されている。一方、ソース電極102が半導体層30の上に形成され、ソース電極102は画素電極107方向に延在し、画素電極106とオーバーラップする部分で、かつ、スルーホール109の下側では、幅が広くなっている。ソース電極102は、スルーホール109における光漏れを防止する遮光膜を兼ねている。
図1において、スリット1071を有する画素電極107が長方形状に形成されている。画素電極107の下には層間絶縁膜が形成され、その下に平面状のコモン電極が形成されている。画素電極107からの電気力線がスリット1071部分を通ってコモン電極に向かって形成される。
図1において、画素電極107はスルーホール109を介してソース電極102と接続している。スルーホール109は膜厚の大きい有機パッシベーション膜に形成されるので、テーパを有し、径の大きい上底1091と径の小さい下底1092を有する。本実施形態では、ソース電極102がスルーホール109よりもやや大きく形成され、スルーホール109に対する遮光膜の役割を兼ねている。ソース電極はスルーホール109の形状に合わせた円形状であってもよい。また、透過率を得るためにスルーホールの上底或いは下底の一部がソース電極よりはみ出した構造であってもよい。
図2は実施例1による画素電極107とスルーホール109の関係を示す斜視図である。図2において、スリット1071を有する画素電極107がスルーホール109を覆ってソース電極102と導通している。しかし、本実施例においては、画素電極107はスルーホール109の内壁全体を覆わず、画素電極107の外側方向では、スルーホール内壁および上底付近を覆っていない。
図2のような構成において、液体である配向膜材料を塗布すると、配向膜材料は画素電極107を構成するITOから層間絶縁膜106を構成するSiNの上に広がる。そうすると、約50nm程度ITO膜の段差の境界部分を起点として、配向膜材料がスルーホール109内に流れ込むようになる。さらに、配向膜材料108はITO膜の上よりもSiN膜の上のほうが濡れ広がりやすいので、SiNで構成された層間絶縁膜106からスルーホール109内に配向膜材料108が流れ込むことが出来る。
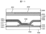
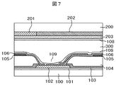
その結果、図3に示すように、配向膜108がスルーホール109内に流れ込み、スルーホール109周辺においても、配向膜108の膜厚を均一に形成することが出来る。図3は図2のA−A断面に対応する液晶表示装置の断面図である。図3において、TFT基板100の構成および対向基板200の構成は図15において説明したので、説明を省略する。
図3が図15と大きく異なる点は、画素電極107がスルーホール109全体には形成されていない点である。画素電極107は図3のスルーホール109の左側の周辺および内壁に形成されているが、図3のスルーホール109の右側の周辺および内壁には形成されていない。すなわち、図3における配向膜材料108は図3のスルーホール109の右側からスルーホール内に流れ込んだものである。このような構成とすることによって、スルーホール109のテーパ角が大きくなっても配向膜材料108を安定してスルーホール109内に流しこむことが出来る。
ところで従来構成において、スルーホール109のテーパ角が50度程度であると、ある頻度で配向膜材料108がスルーホール109内に流れ込まない現象が生ずる。また、スルーホール109のテーパ角が60以上であると、配向膜材料108が殆どスルーホール109内に流れ込まない。したがって、画面の広い範囲にわたって、表示むらが生ずる。
ところで、図3に示すように、有機パッシベーション膜104は平坦化膜としての役割を持っているので、2乃至4μm程度と厚く形成される。すなわち、有機パッシベーション膜104は他の膜に比較して非常に厚いので、スルーホール109の形状は、有機パッシベーション膜104のスルーホール形状によって決められると考えてよい。つまり、スルーホール109の内壁のテーパ角という場合は、有機パッシベーション膜104のスルーホールのテーパ角と考えてよい。
図4は、スルーホール109のテーパ角を定義する断面図である。この場合のスルーホール109は、有機パッシベーション膜104に形成されたスルーホール109である。図4に示すように、スルーホール109のテーパ角αという場合は、有機パッシベーション膜104のスルーホール109の深さをDとした場合、スルーホール109のD/2の深さにおける壁の接線が、有機パッシベーション膜104の上面を結ぶ線とのなす角をいう。
スルーホール109の断面は、スルーホール109の平面形状、あるいは、スルーホール109のどこの部分の断面であるかによって異なってくる。図5は、種々の場合のスルーホール109の平面形状における断面の定義である。図5(a)はスルーホール109の平面形状が円の場合であり、この場合は、円の中心を通るB−B断面が図4に相当する。図5(b)は、スルーホール109の平面形状が正方形の場合であり、この場合は、正方形の軸上の断面C−C断面が図4に相当する。図5(c)はスルーホール109の上底の平面形状が長方形の場合であり、この場合は、スルーホール109の短軸上の断面D−D断面が図4に相当する。すなわち、スルーホール109の上底の平面図が長軸と短軸を有する場合、短軸断面において、図4に示すテーパ角αによってテーパ角を定義する。
従来構造では、図4におけるαが50度程度であると、ある頻度で配向膜108がスルーホール109内に流れ込まない現象が生じ、αが60度以上では配向膜材料108は殆どスルーホール109内に流れ込まなくなる。しかし、本実施例によれば、テーパ角αが50度以上であっても、配向膜材料108を全画素のスルーホール109内に流しこむことが出来た。さらに、本実施例によれば、テーパ角αが60度以上となっても、配向膜材料108を全画素のスルーホール109内に流しこむことが出来た。したがって、本実施例によって、配向膜の膜厚不良による表示むらを解消することが出来る。
図6は、本発明の第2の実施例を示す画素電極107とスルーホール109の関係を示す斜視図である。図6において、画素電極107に形成されたスリット1071がスルーホール109内に延在している。スリット部1071においては、表面がITOではなく、層間絶縁膜106を構成するSiNとなっている。したがって、液体である配向膜材料108は、画素電極107内のスリット1071において、ITO膜の段差境界を起点としてスルーホール109内に流れ込むことが出来る。また、スリット1071内においては、表面がSiN膜となっているので、配向膜材料108がITOの場合よりも濡れ広がり易いので、この点からも配向膜材料108がスルーホール109内に流れ込みやすくなる。
図7は、図6のE−E断面に対応する液晶表示装置の断面図である。図7は、画素電極107の構成を除いて実施例1の図3と同様である。図7において、画素電極107はスルーホール109の右側からスルーホール109内に延在してソース電極102と接続している。一方、図7におけるスルーホール109の左側においては、スリット1071となっているので、画素電極107は存在せず、スルーホール109の内壁および上底周辺の表面は層間絶縁膜106を構成するSiNとなっている。したがって、配向膜材料108は、スリット1071に対応するスルーホール109の左側からスルーホール109内に流れ込むことになる。
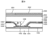
図8は本実施例の他の形態である。図8において、画素電極107のスリット1071はスルーホール109の下底までは形成されていない。図9は、図8のF−F断面に対応する液晶表示装置の断面図である。図9において、画素電極107の構成以外は図7と同様である。
図8において、スルーホール109の左側の上底付近およびスルーホール109の上部からXの位置までは、スリット1071となっており、画素電極107を構成するITOは存在していない。図8において、ITOが存在していない部分はスルーホール109の深さをDとした場合、スルーホール109の上底からXまでであり、その下には画素電極107を構成するITOが存在している。
ここで、Xの値は、D/4以上、あるいは、1μmのいずれか小さい値以上である。すなわち、層間絶縁膜106を構成するSiNが露出した部分は図9に示すX以上でないと、配向膜材料108をスルーホール109内に流入させる効果は小さい。なお、図9におけるスルーホール109の深さDは、層間絶縁膜108の上面からスルーホール109内の画素電極107の上面までとなっており、Xは層間絶縁膜106の上面を基準にしているが、これは、有機パッシベーション膜の厚さに対して絶縁膜やITOの膜厚は小さいため、図4に示す有機パッシベーション膜104のスルーホール109における深さDとし、Xの値を有機パッシベーション膜104の上面からの値と言い換えたとしても同様の効果を得ることが出来る。
このように、本実施例においても、配向膜材料108をスルーホール109内に良好に流しこむことが出来る。本実施例によれば、テーパ角αが50度以上であっても、配向膜材料108を全画素のスルーホール109内に流しこむことが出来た。さらに、本実施例によれば、テーパ角αが60度以上となっても、配向膜材料108を全画素のスルーホール109内に流しこむことが出来た。したがって、本実施例によって、配向膜108の膜厚不良による表示むらを解消することが出来る。
実施例3は、実施例1とは逆に、下側に平面ベタの画素電極107を配置し、層間絶縁
膜106を介してスリット1051を有するコモン電極105を上側にした構成のIPSについて本発明を適用した場合である。
図10は、本実施例を示すコモン電極105とスルーホール109の関係を示す斜視図である。図10において、スリット1051を有するコモン電極105はスルーホール109の内壁全体を覆わず、コモン電極105の外側方向では、スルーホール内壁および上底付近を覆っていない。
図11は図10のG−G断面に対応する液晶表示装置の断面図である。コモン電極105は図11のスルーホール109の左側の周辺および内壁に形成されているが、スルーホール109の右側の周辺および内壁には形成されていない。
このような構成において、液体である配向膜材料を塗布すると、表面の状態がほぼ同じ実施例1の場合と同様に配向膜材料はコモン電極105を構成するITOから層間絶縁膜106を構成するSiNの上に広がり、図11に示すように、配向膜108がスルーホール109内に流れ込み、スルーホール109周辺においても、配向膜108の膜厚を均一にすることが出来る。
本実施例によれば、テーパ角αが50度以上であっても、配向膜材料108を全画素のスルーホール109内に流しこむことが出来た。さらに、本実施例によれば、テーパ角αが60度以上となっても、配向膜材料108を安定して全画素のスルーホール109内に流しこむことが出来た。したがって、本実施例によって、配向膜の膜厚不良による表示むらを解消することが出来る。
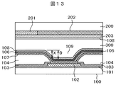
実施例4は、実施例2とは逆に、下側に平面ベタの画素電極107を配置し、層間絶縁膜106を介してスリット1051を有するコモン電極105を上側にした構成のIPSについて本発明を適用した場合である。
図12は、本実施例を示すコモン電極105とスルーホール109の関係を示す斜視図である。図12において、コモン電極105に形成されたスリット1051がスルーホール109内に延在している。スリット部1051においては、実施例2と同じように表面がITOではなく、層間絶縁膜106を構成するSiNとなっている。したがって、液体である配向膜材料108は、コモン電極105内のスリット1051において、ITO膜の段差境界を起点としてスルーホール109内に流れ込むことが出来る。
図13は、図12のH−H断面に対応する液晶表示装置の断面図である。図13は、コモン電極105の構成を除いて実施例3の図11と同様である。
図13におけるスルーホール109の左側においては、スリット1051となっているので、コモン電極105は存在せず、スルーホール109の内壁および上底周辺の表面は層間絶縁膜106を構成するSiNとなっている。したがって、配向膜材料108は、スリット1051に対応するスルーホール109の左側からスルーホール109内に流れ込みやすくなる。
また本実施例2の図8のように、最上層のスリット1051がスルーホール109の下底までは形成されていない場合も同様に、スルーホール109の深さをDとした場合、スルーホール109の左側の上底付近およびスルーホール109の上底からXの位置までスリットが形成され、その下にはコモン電極105を構成するITOが存在している。
ここで、Xの値は、D/4以上、あるいは、1μmのいずれか小さい値以上である。例えば、スリットがスルーホール109の下底まで到達した場合にはX=Dに相当する。本実施例によれば、テーパ角αが50度以上であっても、配向膜材料108を全画素のスルーホール109内に流しこむことが出来た。したがって、本実施例によって、配向膜108の膜厚不良による表示むらを解消することが出来る。
尚、画素電極及びコモン電極をITOとしているが、ITO以外、IZO等の透明導電膜に変更することも可能である。また、実施例2乃至4において、画素電極、又は、コモン電極のスリットをスルーホール内に延在させている。そのため、スルーホール部分においても液晶を駆動させることが出来るため、スルーホール内のスリット部分の全体、或いは、一部をソース電極から露出させる構造であってもよい。
なお、配向膜は、ラビング処理による配向処理を受けた配向膜の他、偏光紫外線による光配向処理を受けた配向膜に対しても本発明を適用することが出来る。
10…走査線、 11…ゲート電極、 20…映像信号線、 21…ドレイン電極、 30…半導体層、 100…TFT基板、 101…ゲート絶縁膜、 102…ソース電極、 103…無機パッシベーション膜、 104…有機パッシベーション膜、 105…コモン電極、 106…層間絶縁膜、 107…画素電極、 108…配向膜、配向膜材料 109…スルーホール、 200…対向基板、 201…カラーフィルタ、 202…ブラックマトリクス、 203…オーバーコート膜、 300…液晶層、 1051…コモン電極のスリット、1071…画素電極のスリット、 1091…スルーホール上底、 1092…スルーホール下底

Claims (7)

  1. 有機パッシベーション膜の上にコモン電極が形成され、前記コモン電極を覆って、層間絶縁膜が形成され、前記層間絶縁膜の上にスリットを有する画素電極が形成され、前記有機パッシベーション膜および前記層間絶縁膜に形成されたスルーホールを介してTFTのソース電極と画素電極が導通する構成の画素を有するTFT基板と、
    前記画素に対応する部分にカラーフィルタを有し、前記カラーフィルタと前記カラーフィルタの間にブラックマトリクスが形成された対向基板を有し、前記TFT基板と前記対向基板との間に液晶が挟持された液晶表示装置であって、
    前記有機パッシベーション膜に形成されたスルーホールの断面は、前記対向基板に近い側が上底であり、前記ソース電極の側が下底であり、前記上底の径は前記下底の径よりも大きく、深さがDであるとしたとき、
    前記有機パッシベーション膜に形成された前記スルーホールの前記D/2の深さにおけるテーパ角は、50度以上であり、
    前記画素電極は前記スルーホールの側壁の一部を覆っており、前記スルーホールの側壁の他の部分は画素電極によって覆われていないことを特徴とする液晶表示装置。
  2. 有機パッシベーション膜の上に画素電極が形成され、前記有機パッシベーション膜に形成されたスルーホールを介してTFTのソース電極と画素電極が導通し、前記画素電極を覆って、層間絶縁膜が形成され、前記層間絶縁膜の上にスリットを有するコモン電極が形成されている構成の画素を有するTFT基板と、
    前記画素に対応する部分にカラーフィルタを有し、前記カラーフィルタと前記カラーフィルタの間にブラックマトリクスが形成された対向基板を有し、前記TFT基板と前記対向基板との間に液晶が挟持された液晶表示装置であって、
    前記有機パッシベーション膜に形成されたスルーホールの断面は、前記対向基板に近い側が上底であり、前記ソース電極の側が下底であり、前記上底の径は前記下底の径よりも大きく、深さがDであるとしたとき、
    前記有機パッシベーション膜に形成された前記スルーホールの前記D/2の深さにおけるテーパ角は、50度以上であり、
    前記コモン電極は前記スルーホールの側壁の一部を覆っており、前記スルーホールの側壁の他の部分はコモン電極によって覆われていないことを特徴とする液晶表示装置。
  3. 前記スルーホールの前記テーパ角は60度以上であることを特徴とする請求項1または2に記載の液晶表示装置。
  4. 有機パッシベーション膜の上にコモン電極が形成され、前記コモン電極を覆って、層間絶縁膜が形成され、前記層間絶縁膜の上にスリットを有する画素電極が形成され、前記有機パッシベーション膜および前記層間絶縁膜に形成されたスルーホールを介してTFTのソース電極と画素電極が導通する構成の画素を有するTFT基板と、
    前記画素に対応する部分にカラーフィルタを有し、前記カラーフィルタと前記カラーフィルタの間にブラックマトリクスが形成された対向基板を有し、前記TFT基板と前記対向基板との間に液晶が挟持された液晶表示装置であって、
    前記有機パッシベーション膜に形成されたスルーホールの断面は、前記対向基板に近い側が上底であり、前記ソース電極の側が下底であり、前記上底の径は前記下底の径よりも大きく、深さがDであるとしたとき、
    前記有機パッシベーション膜に形成された前記スルーホールの前記D/2の深さにおけるテーパ角は、50度以上であり、
    前記画素電極前記スリットは、前記スルーホールの上面から1μm以上、または、前記スルーホールの上面からD/4以上の深さにまで延在していることを特徴とする液晶表示装置。
  5. 有機パッシベーション膜の上に画素電極が形成され、前記有機パッシベーション膜に形成されたスルーホールを介してTFTのソース電極と画素電極が導通し、前記画素電極を覆って、層間絶縁膜が形成され、前記層間絶縁膜の上にスリットを有するコモン電極が形成されている構成の画素を有するTFT基板と、
    前記画素に対応する部分にカラーフィルタを有し、前記カラーフィルタと前記カラーフィルタの間にブラックマトリクスが形成された対向基板を有し、前記TFT基板と前記対向基板との間に液晶が挟持された液晶表示装置であって、
    前記有機パッシベーション膜に形成されたスルーホールの断面は、前記対向基板に近い側が上底であり、前記ソース電極の側が下底であり、前記上底の径は前記下底の径よりも大きく、深さがDであるとしたとき、
    前記有機パッシベーション膜に形成された前記スルーホールの前記D/2の深さにおけるテーパ角は、50度以上であり、
    前記画素電極前記スリットは、前記スルーホールの上面から1μm以上、または、前記スルーホールの上面からD/4以上の深さにまで延在していることを特徴とする液晶表示装置。
  6. 前記スリットは、前記スルーホールの下底まで延在していることを特徴とする請求項4または5に記載の液晶表示装置。
  7. 前記スルーホールの前記テーパ角は60度以上であることを特徴とする請求項4〜6のいずれか1項に記載の液晶表示装置。
JP2013254205A 2013-12-09 2013-12-09 液晶表示装置 Pending JP2015114374A (ja)

Priority Applications (15)

Application Number Priority Date Filing Date Title
JP2013254205A JP2015114374A (ja) 2013-12-09 2013-12-09 液晶表示装置
CN201410742976.6A CN104698704B (zh) 2013-12-09 2014-12-08 液晶显示装置
US14/564,129 US9519196B2 (en) 2013-12-09 2014-12-09 Liquid crystal display device
US15/343,329 US9817288B2 (en) 2013-12-09 2016-11-04 Liquid crystal display device
US15/784,405 US9939698B2 (en) 2013-12-09 2017-10-16 Liquid crystal display device
US15/901,945 US10018885B1 (en) 2013-12-09 2018-02-22 Liquid crystal display device
US16/005,896 US10146096B2 (en) 2013-12-09 2018-06-12 Liquid crystal display device
US16/174,438 US10241372B2 (en) 2013-12-09 2018-10-30 Liquid crystal display device
US16/271,981 US10877337B2 (en) 2013-12-09 2019-02-11 Liquid crystal display device
US17/101,031 US11175546B2 (en) 2013-12-09 2020-11-23 Liquid crystal display device
US17/499,952 US11474403B2 (en) 2013-12-09 2021-10-13 Liquid crystal display device
US17/945,789 US11650467B2 (en) 2013-12-09 2022-09-15 Liquid crystal display device
US18/127,035 US11914254B2 (en) 2013-12-09 2023-03-28 Liquid crystal display device
US18/441,133 US12147133B2 (en) 2013-12-09 2024-02-14 Liquid crystal display device
US18/923,818 US20250044654A1 (en) 2013-12-09 2024-10-23 Liquid crystal display device

Applications Claiming Priority (1)

Application Number Priority Date Filing Date Title
JP2013254205A JP2015114374A (ja) 2013-12-09 2013-12-09 液晶表示装置

Publications (1)

Publication Number Publication Date
JP2015114374A true JP2015114374A (ja) 2015-06-22

Family

ID=53271030

Family Applications (1)

Application Number Title Priority Date Filing Date
JP2013254205A Pending JP2015114374A (ja) 2013-12-09 2013-12-09 液晶表示装置

Country Status (3)

Country Link
US (13) US9519196B2 (ja)
JP (1) JP2015114374A (ja)
CN (1) CN104698704B (ja)

Cited By (5)

* Cited by examiner, † Cited by third party
Publication number Priority date Publication date Assignee Title
WO2018061851A1 (ja) * 2016-09-27 2018-04-05 シャープ株式会社 アクティブマトリクス基板およびその製造方法
JP2018120110A (ja) * 2017-01-26 2018-08-02 三菱電機株式会社 液晶表示装置およびtftアレイ基板の製造方法
US10642117B2 (en) 2018-03-29 2020-05-05 Sharp Kabushiki Kaisha Liquid crystal display device and method of producing liquid crystal display device
JP2020074029A (ja) * 2016-02-17 2020-05-14 株式会社ジャパンディスプレイ 液晶表示装置
JP2022000717A (ja) * 2020-01-17 2022-01-04 株式会社ジャパンディスプレイ 液晶表示装置

Families Citing this family (17)

* Cited by examiner, † Cited by third party
Publication number Priority date Publication date Assignee Title
JP6347937B2 (ja) 2013-10-31 2018-06-27 株式会社ジャパンディスプレイ 液晶表示装置
TWI553881B (zh) * 2014-06-06 2016-10-11 群創光電股份有限公司 薄膜電晶體基板
TWI548921B (zh) * 2015-02-12 2016-09-11 群創光電股份有限公司 顯示面板
CN105068325A (zh) * 2015-08-31 2015-11-18 深圳市华星光电技术有限公司 Psva型液晶显示面板
CN105655360B (zh) * 2016-04-07 2020-02-07 京东方科技集团股份有限公司 阵列基板及其制作方法、显示装置
CN107479286B (zh) * 2017-09-04 2020-08-04 深圳市华星光电技术有限公司 一种改善灰阶斜纹的过孔结构
CN107589582A (zh) * 2017-09-04 2018-01-16 深圳市华星光电技术有限公司 Coa显示面板及其制作方法、coa显示装置
CN108227323B (zh) * 2017-12-29 2021-05-11 Tcl华星光电技术有限公司 Coa基板以及用于制作coa基板的树脂层中的过孔的光罩
JP6810718B2 (ja) * 2018-04-13 2021-01-06 シャープ株式会社 表示装置、及び表示装置の製造方法
CN108766318A (zh) * 2018-05-03 2018-11-06 云谷(固安)科技有限公司 显示屏、其制备方法以及显示终端
US11042054B2 (en) * 2018-09-30 2021-06-22 HKC Corporation Limited Display panel and display device
CN111258140A (zh) * 2020-02-28 2020-06-09 京东方科技集团股份有限公司 一种显示基板、显示面板及显示装置
US11876102B2 (en) 2020-02-28 2024-01-16 Beijing Boe Display Technology Co., Ltd. Display substrate, display panel and display apparatus
US11973087B2 (en) 2020-09-29 2024-04-30 Hefei Xinsheng Optoelectronics Technology Co., Ltd. Array substrate and method of manufacturing the same, and display panel
US11947762B2 (en) * 2020-10-27 2024-04-02 Chengdu Boe Optoelectronics Technology Co., Ltd. Touch panel and touch display apparatus
CN112363357A (zh) * 2020-12-03 2021-02-12 深圳市华星光电半导体显示技术有限公司 阵列基板及显示面板
CN115715127B (zh) * 2022-11-09 2023-10-20 惠科股份有限公司 显示面板及显示装置

Family Cites Families (10)

* Cited by examiner, † Cited by third party
Publication number Priority date Publication date Assignee Title
TWI226966B (en) * 2003-08-14 2005-01-21 Au Optronics Corp Thin film transistor liquid crystal display substrate
JP2005234091A (ja) * 2004-02-18 2005-09-02 Hitachi Displays Ltd 表示装置
JP4869789B2 (ja) 2006-05-31 2012-02-08 株式会社 日立ディスプレイズ 表示装置
JP4485559B2 (ja) * 2007-09-26 2010-06-23 株式会社 日立ディスプレイズ 液晶表示装置
JP2010002594A (ja) 2008-06-19 2010-01-07 Hitachi Displays Ltd 液晶表示装置およびその製造方法
JP2011053914A (ja) 2009-09-02 2011-03-17 Toshiba Corp 紙葉類検出器、紙葉類処理装置
JP5335628B2 (ja) * 2009-09-09 2013-11-06 株式会社ジャパンディスプレイ 液晶表示装置
JP5209754B2 (ja) 2011-04-22 2013-06-12 株式会社ジャパンディスプレイイースト 液晶表示装置
JP5628947B2 (ja) 2013-02-21 2014-11-19 株式会社ジャパンディスプレイ 液晶表示装置
JP6347937B2 (ja) 2013-10-31 2018-06-27 株式会社ジャパンディスプレイ 液晶表示装置

Cited By (6)

* Cited by examiner, † Cited by third party
Publication number Priority date Publication date Assignee Title
JP2020074029A (ja) * 2016-02-17 2020-05-14 株式会社ジャパンディスプレイ 液晶表示装置
WO2018061851A1 (ja) * 2016-09-27 2018-04-05 シャープ株式会社 アクティブマトリクス基板およびその製造方法
JP2018120110A (ja) * 2017-01-26 2018-08-02 三菱電機株式会社 液晶表示装置およびtftアレイ基板の製造方法
US10642117B2 (en) 2018-03-29 2020-05-05 Sharp Kabushiki Kaisha Liquid crystal display device and method of producing liquid crystal display device
JP2022000717A (ja) * 2020-01-17 2022-01-04 株式会社ジャパンディスプレイ 液晶表示装置
JP7183366B2 (ja) 2020-01-17 2022-12-05 株式会社ジャパンディスプレイ 液晶表示装置

Also Published As

Publication number Publication date
US9939698B2 (en) 2018-04-10
US11474403B2 (en) 2022-10-18
US10877337B2 (en) 2020-12-29
US9519196B2 (en) 2016-12-13
US11914254B2 (en) 2024-02-27
US9817288B2 (en) 2017-11-14
US20190171074A1 (en) 2019-06-06
CN104698704A (zh) 2015-06-10
US10241372B2 (en) 2019-03-26
US10018885B1 (en) 2018-07-10
US20150160521A1 (en) 2015-06-11
CN104698704B (zh) 2017-09-05
US20180046047A1 (en) 2018-02-15
US12147133B2 (en) 2024-11-19
US20190064619A1 (en) 2019-02-28
US20230004053A1 (en) 2023-01-05
US20210072606A1 (en) 2021-03-11
US11650467B2 (en) 2023-05-16
US20240184174A1 (en) 2024-06-06
US11175546B2 (en) 2021-11-16
US20180180957A1 (en) 2018-06-28
US10146096B2 (en) 2018-12-04
US20230236463A1 (en) 2023-07-27
US20250044654A1 (en) 2025-02-06
US20180292722A1 (en) 2018-10-11
US20170075179A1 (en) 2017-03-16
US20220026753A1 (en) 2022-01-27

Similar Documents

Publication Publication Date Title
US12147133B2 (en) Liquid crystal display device
US20230288759A1 (en) Liquid crystal display device
JP6208555B2 (ja) 液晶表示装置
JP6608014B2 (ja) 液晶表示装置
JP6392957B2 (ja) 液晶表示装置