JP2015114011A - 加熱調理器 - Google Patents

加熱調理器 Download PDF

Info

Publication number
JP2015114011A
JP2015114011A JP2013255028A JP2013255028A JP2015114011A JP 2015114011 A JP2015114011 A JP 2015114011A JP 2013255028 A JP2013255028 A JP 2013255028A JP 2013255028 A JP2013255028 A JP 2013255028A JP 2015114011 A JP2015114011 A JP 2015114011A
Authority
JP
Japan
Prior art keywords
heating
time
cooking
key
grill
Prior art date
Legal status (The legal status is an assumption and is not a legal conclusion. Google has not performed a legal analysis and makes no representation as to the accuracy of the status listed.)
Granted
Application number
JP2013255028A
Other languages
English (en)
Other versions
JP6165041B2 (ja
Inventor
杉山 直也
Naoya Sugiyama
直也 杉山
金井 孝博
Takahiro Kanai
孝博 金井
吉川 秀樹
Hideki Yoshikawa
秀樹 吉川
Current Assignee (The listed assignees may be inaccurate. Google has not performed a legal analysis and makes no representation or warranty as to the accuracy of the list.)
Mitsubishi Electric Home Appliance Co Ltd
Mitsubishi Electric Corp
Original Assignee
Mitsubishi Electric Home Appliance Co Ltd
Mitsubishi Electric Corp
Priority date (The priority date is an assumption and is not a legal conclusion. Google has not performed a legal analysis and makes no representation as to the accuracy of the date listed.)
Filing date
Publication date
Application filed by Mitsubishi Electric Home Appliance Co Ltd, Mitsubishi Electric Corp filed Critical Mitsubishi Electric Home Appliance Co Ltd
Priority to JP2013255028A priority Critical patent/JP6165041B2/ja
Publication of JP2015114011A publication Critical patent/JP2015114011A/ja
Application granted granted Critical
Publication of JP6165041B2 publication Critical patent/JP6165041B2/ja
Expired - Fee Related legal-status Critical Current
Anticipated expiration legal-status Critical

Links

Images

Landscapes

  • Electric Ovens (AREA)

Abstract

【課題】連続運転モードで複数の加熱手段を運転した際に、使用者の判断により最適な加熱運転を行うことができる加熱調理器を提供することを目的とする。
【解決手段】加熱特性の異なる複数の加熱手段と加熱手段の運転を制御する制御手段とを有し、少なくとも加熱手段のうちの特定の加熱手段の運転に続けて特定の加熱手段以外の他の加熱手段を連続して運転する連続運転モードを備えた加熱調理器であって、制御手段は、連続運転モードの時に予め入力された加熱手段の各運転時間となるよう各加熱手段の運転を行い、特定の加熱手段の運転中に他の加熱手段の運転に移行する移行スキップ操作手段を備えたものである。
【選択図】図7

Description

本発明は、加熱特性の異なる複数の加熱手段を備え、加熱手段を切り替えて連続運転を行う加熱調理器に関するものである。
従来、マイクロ波加熱やヒーター加熱など加熱特性の異なる複数の加熱手段を備えた加熱調理器で調理物を加熱する際に、複数の加熱手段を切り替えて連続運転する加熱手段の制御が知られている。この加熱手段の制御は、使用者が手動設定をして複数の加熱手段の運転時間をそれぞれ予め設定し連続運転を行っていた(例えば特許文献1を参照)。
特開昭58−60133号公報
従来の加熱調理器では、使用者が複数の加熱手段の運転時間を手動設定するため、使用者は調理物の種類や分量などから各加熱時間を予測して設定しなければならず、その設定が適切でなかったとしても各加熱時間を運転途中で変更できないため使い勝手が良くなかった。
本発明は、上記のような課題を解決するためになされたもので、連続運転モードで複数の加熱手段を運転した際に、使用者の判断により最適な加熱運転を行うことができる加熱調理器を提供することを目的とする。
本発明に係る加熱調理器は、加熱特性の異なる複数の加熱手段と前記加熱手段の運転を制御する制御手段とを有し、少なくとも前記加熱手段のうちの特定の加熱手段の運転に続けて前記特定の加熱手段以外の他の加熱手段を連続して運転する連続運転モードを備えた加熱調理器であって、前記制御手段は、前記連続運転モードの時に予め入力された前記加熱手段の各運転時間となるよう各加熱手段の運転を行い、前記特定の加熱手段の運転中に前記他の加熱手段の運転に移行する移行スキップ操作手段を備えたものである。
本発明に係る加熱調理器によれば、連続運転モードで複数の加熱手段を運転した際に、加熱運転の途中で次の加熱手段に移行する移行スキップ操作が可能となるため、使用者の判断により最適な加熱運転を実行することができる。
実施の形態1に係る加熱調理器を示す斜視図である。 実施の形態1に係る加熱調理器を前後方向に切断した側面断面図である。 実施の形態1に係る加熱調理器の操作部及び表示部の説明図である。 実施の形態1に係る加熱調理器の制御ブロック図である。 実施の形態1に係る加熱調理器でレンジグリル調理における機能切り替えの操作手順と発光部の点灯状況、および表示部の表示内容を示した説明図である。 実施の形態1に係る加熱調理器でレンジグリル調理における機能切り替えの操作手順と発光部の点灯状況、および表示部の表示内容を示した説明図である。 実施の形態1に係る加熱調理器でレンジグリル調理における機能切り替えの操作手順と発光部の点灯状況、および表示部の表示内容を示した説明図である。 実施の形態1に係る加熱調理器におけるレンジグリル調理の「手動」のモードを使用する場合の操作手順と発光部の点灯状況、及び、表示部の表示内容を示した説明図である。 実施の形態1に係る加熱調理器におけるレンジグリル調理の「手動」のモードを使用する場合の操作手順と発光部の点灯状況、及び、表示部の表示内容を示した説明図である。 実施の形態1に係る加熱調理器におけるレンジグリル調理の「手動」のモードを使用する場合の操作手順と発光部の点灯状況、及び、表示部の表示内容を示した説明図である。 実施の形態1に係る加熱調理器におけるレンジグリル調理の「手動」のモードを使用する場合の操作手順と発光部の点灯状況、及び、表示部の表示内容を示した説明図である。 実施の形態1に係る加熱調理器におけるレンジグリル調理の「手動」のモードを使用する場合の操作手順と発光部の点灯状況、及び、表示部の表示内容を示した説明図である。 実施の形態1に係るレンジグリル調理の手動モード時におけるレンジ調理時の報知、移行スキップ制御を示す制御フロー図である。 実施の形態1に係るレンジグリル調理の手動モード時におけるグリル調理時の報知、終了スキップ制御を示す制御フロー図である。 実施の形態1に係るグリル調理時の加熱室内の温度変化と予測終了時間t2a_endとの関係を示した図である。 実施の形態2に係るレンジグリル調理の手動モード時における設定時間変更制御を示す制御フロー図である。
以下、本発明に係る加熱調理器について、図面を用いて説明する。
なお、以下で説明する構成や制御内容等は、一例であり、本発明に係る加熱調理器は、そのような構成や制御内容等に限定されない。
また、細かい構造については、適宜図示を簡略化又は省略している。
また、重複又は類似する説明については、適宜簡略化又は省略している。
以下、本発明の実施の形態について図面を用いて説明する。
実施の形態1.
図1は、実施の形態1に係る加熱調理器を示す斜視図である。
図2は、実施の形態1に係る加熱調理器を前後方向に切断した側面断面図である。
図1に示すように、本実施の形態における加熱調理器は、本体1の内部に調理物5を加熱調理する加熱室(加熱エリア)2を備え、本体1の前側には窓3を有するドア4が設けられている。このドア4は、下部を本体1に軸支されており、上部に設けられたハンドル7により開閉可能に構成されている。
そして、加熱調理器を正面から見てドア4の右側に位置する略長方形状の領域は、使用者が後述する複数のキーを用いて調理に関する所定の入力を行う操作部8が形成されている。また、この操作部8には、操作入力の状態と調理状況を表示する表示部9が設けられている。
次に、加熱室2内部には、調理物5を載置するセラミックによって構成された調理プレート6が着脱自在に設置され、加熱室2側面に設けられたガイドレール(図示せず)に支持されるように構成されている。
加熱室2の上面外側には、発熱体であるニクロム線をマイカで挟んで構成したフラットヒーター18が配置されている。フラットヒーター18は、断熱材19と、これらを覆う板金20によって上部を覆われており、加熱室2内部を加熱するように構成されている。
次に、加熱室2の下部には、本体1内に設置されたマグネトロン38の発生する周波数約2450MHzのマイクロ波を、加熱室2に伝播するアンテナ21が備えられている。
このアンテナ21は、加熱室2とセラミックプレート23で隔てられた下部加熱室24内に、回転可能に軸支され、アンテナモーター25によって回転しながら、導波管26を介して伝播されるマイクロ波を加熱室2に伝播するものである。
また、下部加熱室24内部には、アンテナ21を取り囲むように配置されたシーズヒーター22が配置されており、セラミックプレート23を通して加熱室2を下側から加熱するように構成されている。
つまり、本体1の内部には、フラットヒーター18やマグネトロン38やシーズヒーター22など、加熱特性の異なる加熱手段が複数設けられている。
次に、ドア4には、加熱室2内部に伝播したマイクロ波が、ドア4と加熱室2との合わせ目から漏洩することを防止するための金属製の袋小路構造を有するチョーク28と、マイクロ波の漏洩を遮断しつつ、前面に設けられた窓3を通して加熱室2内部を外側から見通せるようにするための直径1mm程度の複数の開口を有する金属製の開口パネル29を内部に備えている。
加熱室2の背面外側には、背面加熱室30が形成され、背面加熱室30内には赤外線を発生する背面ガラス管ヒーター31と、これを取り囲む反射部32が設けられている。
次に、加熱室2と背面加熱室30を仕切る壁面の背面ガラス管ヒーター31の前側には、加熱室2内への赤外線入射部となる直径約4mmの複数の連通孔でなる背面開口部33が設けられている。
この背面開口部33は、背面ガラス管ヒーター31の発生する赤外線を加熱室2内に透過させるが、加熱室2内部に伝播されたマイクロ波を背面加熱室30内に伝播することを防止する機能を持つ。
また、反射部32は、背面加熱室30内の下部位置に設けられたターボファン34を収容する循環室35に連通している。この循環室35の後方には、ターボファン34を駆動するファンモーター36が設けられている。
加熱室2と背面加熱室30とを仕切る壁面におけるターボファン34の前側には、直径約4mmの複数の吸気口37が設けられている。
ターボファン34は、ファンモーター36により回転されることにより、加熱室2内の空気を、吸気口37を介して循環室35内に吸気し、反射部32の背面ガラス管ヒーター31に送る機能を持つ。
そして、反射部32内で背面ガラス管ヒーター31によって加熱された空気は、背面開口部33を介して加熱室2内部に送出される。
このように、ターボファン34を駆動させると、加熱室2内部に熱風の対流を発生させることが可能となり、加熱室2内の温度の立ち上りを早くすることができる。
また、セラミックからなる調理プレート6を加熱室2側面のガイドレール(図示せず)に支持させて、吸気口37に差し掛かる高さ(調理プレート6と吸気口37が前後に重なる位置関係)に設置すると、調理プレート6の上の空間内で循環する空気と調理プレート6の上下の空間に跨って循環する空気とに分かれるため、循環ループの小さい上の空間の温度が高くなる。
このため、調理プレート6上での加熱時間を短縮することが可能となる。
また、本実施の形態の加熱調理器においては、前記のように構成されているため、マグネトロン38の発生するマイクロ波によるレンジ調理と、加熱室2上部のフラットヒーター18による加熱のみ、もしくは、フラットヒーター18に加えて背面ガラス管ヒーター31による加熱を加えて上側から加熱を行うグリル調理と、グリル調理で用いる加熱源にシーズヒーター22による加熱を組み合わせて、庫内全体を均一に加熱するオーブン調理を行うことができる。
また、セラミックプレート23はマイクロ波を透過するため、セラミックプレート23上に調理物5を載置させた状態でマイクロ波加熱とヒーター加熱を組み合わせて調理することができる。
つまり、マイクロ波加熱とヒーター加熱を同時、あるいは交互に行うことにより、ヒーター加熱のみでは均一な加熱調理が困難であった、厚みのある食材や、水分の多い食材も早く調理することができる。
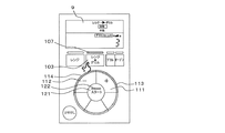
次に、図3は、実施の形態1における加熱調理器の操作部8及び表示部9の説明図である。
操作部8は、略長方形状であり、第1の操作入力領域101と第2の操作入力領域110と第3の操作入力領域123と表示部9を有する。
図3において、表示部9は液晶からなる略長方形状の表示画面であり、固定の文字と記号により、操作部8への操作入力の状態と調理状況を表示する。
また、表示部9内は、表示の上側略半分に、「自動」や「手動」、「あたため」や「ゆでもの」や「解凍」や「のみもの」、用いる加熱手段や加熱状態などの加熱動作モードを示す表示が配置され、下側略半分には、マイクロ波を使用した加熱時の加熱時間を表示するレンジ加熱時間表示エリア9aと、各種ヒーター加熱時の加熱時間を表示するヒーター加熱時間表示エリア9bがそれぞれ設けられている。
また、このふたつの時間表示エリアは、隣り合うエリアとエリアとの間に仕切り線9cを設ける(表示する)ことにより、別々の加熱手段の為の時間が表示されるエリアであることを認識しやすいように仕切られている。
表示部9の下側の領域には、加熱手段を選択する第1の操作入力領域101が設けられている。
この第1の操作入力領域101は、レンジキー102と、レンジグリルキー103と、グリルキー104と、オーブンキー105と、前記各キーの上側に配置された発光部106、発光部107、発光部108、発光部109が配置されている。
第1の操作入力領域101の各キーは加熱手段の選択を行うものであり、レンジキー102はマグネトロン38によるマイクロ波加熱を用いたレンジ調理の選択、レンジグリルキー103はマイクロ波加熱のレンジ調理の後にフラットヒーター18および背面ガラス管ヒーター31のグリル調理を連続して行うレンジグリル調理の選択、グリルキー104はグリル調理の選択、オーブンキー105はフラットヒーター18とシーズヒーター22の加熱によるオーブン調理の選択を行う。
これらの加熱手段の選択を行う加熱手段選択手段である各キーは、左から、レンジキー102、レンジグリルキー103、グリルキー104、オーブンキー105の順番で横一列となるように配列されている。
また、レンジキー102はレンジ加熱時間表示エリア9aの近傍(下側)に、グリルキー104とオーブンキー105はヒーター加熱時間表示エリア9bの近傍(下側)に、マイクロ波加熱とヒーター加熱の双方を行うレンジグリルキー103は、グリルキー104とオーブンキー105との間に挟まれて位置している。つまり、加熱手段の選択を行う各キーは、各々の加熱時間表示エリアに対応して配置されている。
また、これらの発光部106、107、108、109も、横方向に一列に配置されており、ドア4を開閉した際の初期状態で点灯し、キー102、103、104、105のいずれかが選択された場合に、その選択された加熱手段に対応したキーの発光部のみが点灯し、他の発光部が消灯するように構成されている。
尚、発光部106はレンジキー102の上方に位置し、発光部107はレンジグリルキー103の上方に位置し、発光部108はグリルキー104の上方に位置し、発光部109はオーブンキー105の上方に位置し、それぞれのキーに対応した位置関係となるように配置されている。
このように、第1の操作入力領域101は上記の各キー群の配列により、略長方形状に形成されている。
次に、第1の操作入力領域101の下側の離間した位置には、第2の操作入力領域110が設けられている。
この第2の操作入力領域110は、各加熱手段が選択された際に、調理の仕上がりに関わる加熱の強さを調節する2つの仕上がり調節キー(プラスキー111、マイナスキー112)と、加熱時間を設定する3つの加熱時間設定キー115、116、117と、調理を開始するスタートキー121から構成されている。また、これらキーに対応して設けられる発光部113、114、118、119、120、122が設けられている。
尚、第2の操作入力領域110は、これらのキーの配置により、略円形状に形成されている。
次に、第2の操作入力領域110の各キーを説明すると、まず、仕上がり調節キーは、調理物5の調理の仕上がり具合を上げるプラスキー111と、仕上がり具合を下げるマイナスキー112からなる。仕上がり具合とは、仕上がり状態の調理物5の温度や焼目の具合や量などのことである。
また、これらの仕上がり調節キーの形状は、中心から所定の半径の領域が切り欠かれた開角が略90度の扇形状である。
次に、加熱時間設定キーは、加熱時間を任意に設定する際に用いるものであり、設定可能な時間の単位の大きさに応じて、第1の加熱時間設定キー115、第2の加熱時間設定キー116、第3の加熱時間設定キー117から構成されている。
これらの各設定キーは、選択した加熱手段に応じて、設定可能な時間の単位(時間の幅)がそれぞれ変化するように構成されている。つまり、加熱時間設定キーは、選択された加熱手段の加熱特性に応じて、各キーに記載された(5分など)文字の裏面に各々設けられた光源となるLEDのうち、設定可能な時間の単位(5分など)に該当する文字のみを点灯させるように構成されており、入力値が変更されるように構成されている。
例えば、マイクロ波を用いるレンジ加熱の場合、第1の加熱時間設定キー115は5分単位で時間設定入力を行うことができる5分キー115aとなり、第2の加熱時間設定キー116は1分単位で時間設定入力を行うことができる1分キー116aとなり、第3の加熱時間設定キー117は10秒単位で時間設定入力が行うことができる10秒キー117aとなる。
また、各種ヒーターを用いて行うヒーター加熱の場合、第1の加熱時間設定キー115は10分単位で時間設定入力を行うことができる10分キー115bとなり、第2の加熱時間設定キー116は5分単位で時間設定入力を行うことができる5分キー116bとなり、第3の加熱時間設定キー117は1分単位で時間設定入力が行うことができる1分キー117bとなる。
また、これらの加熱時間設定キーの形状は、中心から所定の半径の領域が切り欠かれた開角が略60度の扇形状である。
尚、仕上がり調節キーと加熱時間設定キーをなす扇形状のキーは、全て同じ半径で構成されており、また、切り欠かれた部分の領域の半径も同じである。
次に、スタートキー121は、第1の操作入力領域101又は仕上がり調節キー又は加熱時間設定キーにより各種設定を行った後、加熱調理を開始するためのキーである。このスタートキー121は、円形状に構成されており、この円の半径は仕上がり調節キーや加熱時間設定キーの切り欠かれた部分の領域の半径よりも小さい。
また、スタートキー121には、キー入力が可能な場合に点滅する発光部122が設けられている。
以上のように構成された第2の操作入力領域110を構成するキーは、次のように配置される。
まず、プラスキー111とマイナスキー112と第1の加熱時間設定キー115と第2の加熱時間設定キー116と第3の加熱時間設定キー117は、各キーの直線部分を隣り合わせて配置される。つまり、プラスキー111とマイナスキー112は開角が略90度であり、第1の加熱時間設定キー115と第2の加熱時間設定キー116と第3の加熱時間設定キー117は開角が略60であり、各キーをなす扇形状は全て同じ半径であり、また、それぞれ切り欠かれた部分の領域の半径も同じであることから、これらのキーの配列によりリング形状が形成される。
そして、このリング形状の中心となる位置に、スタートキー121が配置され、第2の操作入力領域110は、これらのキーの配置により、円形状(円盤状)に形成される。
尚、マイナスキー112とプラスキー111は、第2の操作入力領域110の上半分に配置され、左側にマイナスキー112、右側にプラスキー111が位置する。
また、第1の加熱時間設定キー115と第2の加熱時間設定キー116と第3の加熱時間設定キー117は、第2の操作入力領域110の下半分に配置される。
特に、設定可能な時間の単位が一番大きい第1の加熱時間設定キー115は左側に、設定可能な時間の単位が2番目の大きさである第2の加熱時間設定キー116は中央に、設定可能な時間の単位が最も小さい単位である第3の加熱時間設定キー117は右側にそれぞれ位置するように配置される。
また、仕上がり調節キー及び加熱時間設定キーのそれぞれのキーの外周部には、キー入力が可能な場合に点灯する発光部113、発光部114、発光部118、発光部119、発光部120が配置されている。
次に、第2の操作入力領域110の左下側の離間した位置には、第3の操作入力領域123が形成されており、領域内部に第1の操作入力領域101及び第2の操作入力領域110で行った操作入力を解除する円形状の取消しキー124が配置されている。
この第3の操作入力領域123は、略長方形状である操作部8の下辺8aと、この下辺8aに略垂直に交わる左辺8bと、円形状である第2の操作入力領域110に囲まれている。
ここで、操作部8における第2の操作入力領域110の占める割合が大きくなり、第2の操作入力領域110が操作部8の下辺8aと左辺8bに近づいても、第2の操作入力領域110は円形状であるので、第2の操作入力領域110と下辺8aと左辺8bに囲まれた部分には隙間が形成される。
従って、操作部8における第2の操作入力領域110の占める割合が大きくなっても、取消しキー124を設けるスペースを確保することができる。
操作部8は、以上のように構成されており、操作者が操作を行う際の手順として、まず加熱手段を選択することが明確であるため、操作者が調理物5を調理するのに適した加熱手段を選択しやすい。
また、第2の操作入力領域110に仕上がり調節キーと加熱時間設定キーとスタートキー121が1つの纏りになって第1の操作入力領域101の下側に配置されているので、加熱手段の選択の後にこれらの操作を行うという操作手順を理解し易い。
取消しキー124は第1の操作入力領域101、および第2の操作入力領域110から離れた位置に独立して配置されているため、認識し易く、どの操作入力ステップにおいても容易に操作を行うことができる。また、操作部8においてグリルキー104とオーブンキー105を一つの領域にまとめながら、2つのキーとして配置することにより、グリル調理とオーブン調理がヒーターによる加熱手段を利用する点で共通することを理解し易くしている。
本実施の形態1の加熱調理器は、調理物5を加熱する加熱源として、マイクロ波による加熱手段と、ヒーター(フラットヒーター18、背面ガラス管ヒーター31、シーズヒーター22)の加熱手段を有し、また、加熱方法として、レンジ調理と、グリル調理と、オーブン調理と、レンジ調理とグリル調理の複合調理であるレンジグリル調理の4通りの加熱方法を有する。
図4は、実施の形態1における加熱調理器の制御ブロック図である。以上のとおり、操作手順と発光部の点灯状況を説明したが、これらの操作は、制御部44のキー入力判定手段46によって、マイコン45取り込まれ、入力されたキーに応じた表示を表示駆動手段47により、LEDの点灯制御をLED駆動手段48により行なっている。
調理方法を設定した後、スタートキー121を押下することにより、加熱調理が開始される。調理が開始されると、手動レンジ調理の場合、マイコン45は、モーター駆動手段50によりアンテナモーター25を駆動するとともに、マグネトロン駆動手段43を介してインバーター基板39を駆動してマグネトロン38を発振させ、加熱を開始する。設定された出力で、設定された時間加熱を継続しながら、表示部9で調理時間をカウントダウンし、設定された時間加熱をした時点で加熱を停止し、表示部9に調理終了である旨を表示するとともに、報知手段52により例えばブザー音で調理終了を報知する。
一方、自動のレンジ調理の場合には、加熱室2の外側に設けられた調理物5の表面温度を検出する赤外線センサー41と、加熱室2内の温度を検出するサーミスタ42が設けられており、自動調理においては、これらの検知結果に基づき、加熱時間を調節し、調理制御が行われる。なお、本実施の形態1に係る加熱調理器のサーミスタ42は、調理物5より発生する蒸気を微小な温度変化として捉えて検出することで、蒸気検出器としての機能も併せ持っている。
また、オーブン調理やグリル調理の場合には、設定された調理に応じて、ヒーター駆動手段49により、フラットヒーター18やシーズヒーター22、背面ガラス管ヒーター31を駆動したり、場合によってはファンモーター駆動手段51によりファンモーター36を回転させることで加熱室2内の熱風を循環させて加熱を行い、サーミスタ42の検知結果に基づき、調理制御が行われる。
次に、調理を行う場合の操作手順について説明する。
本実施の形態1に係る加熱調理器は、上記のようにレンジ調理と、グリル調理と、オーブン調理と、レンジ調理とグリル調理の複合調理であるレンジグリル調理の4通りの加熱方法を有する。
この中で、マイクロ波加熱によるレンジ調理の後に、フラットヒーター18と背面ガラス管ヒーター31を同時通電するグリル調理を連続して行うレンジグリル調理を選択した場合の操作手順を説明する。
<レンジグリル調理時の自動モードの操作手順>
図5A〜図5Cは、実施の形態1に係る加熱調理器でレンジグリル調理における機能切り替えの操作手順と発光部の点灯状況、および表示部の表示内容を示した説明図である。
図5Aは、調理物5を加熱室2の調理プレート6上に載置してドア4を閉じた初期状態の操作部8の状態であり、表示部9には「0」が表示され、レンジキー102と、レンジグリルキー103と、グリルキー104と、オーブンキー105の各キーに対応した発光部106、発光部107、発光部108、発光部109が点灯し、加熱手段を選択する4つのキーが有効であることを示している。
図5Aにおいて、レンジグリルキー103を1回押下した場合、図5Bの状態となる。レンジグリルキー103に対応する発光部107は、点灯を継続し、他の発光部106、108、109は消灯に変わり、レンジグリル調理のモードに入ったことを示す。
表示部9には「レンジ→グリル」が表示され、レンジグリル調理の選択であることが示され、「自動」のモード表示となる。
レンジグリル調理において、レンジ調理のステップでは、レンジ出力は600Wで固定され、レンジ調理からグリル調理に自動的に移行するタイミングは、加熱室2に設けられた加熱室2内の温度を検出する加熱室温度検出器であるサーミスタ42、調理物5の発する蒸気量を検出する蒸気検出器(本実施の形態においてはサーミスタ42)、調理物5の温度を非接触で検出する非接触温度検出器である赤外線センサー41などによって検出された調理物5の加熱状況によって決定される。
また、グリル調理のステップに移行した後のヒーター加熱による加熱時間は、加熱中の加熱室2の温度変化によって決定されるが、使用者の好みに応じて調理の仕上がりの強弱レベルによって加減することができる。
レンジグリル調理の「自動」モードを選択した状態で、表示部9には初期設定時の強弱レベル「3」が表示され、発光部122が点滅し、スタートキー121が有効であることが示される。
また、発光部114と発光部113も点灯し、初期設定時の温度をプラスキー111とマイナスキー112によって仕上がりレベル(焼き色)を変更できることも示される。
図5Bにおいて、レンジグリルキー103をもう1回押下した場合、図5Cの状態となる。
発光部107は点灯を継続し、レンジグリル調理のモードであることを示す。表示部9は「手動」のモード表示となる。ここで、レンジ調理のステップでの設定可能項目はレンジ加熱時間のみであり、レンジ出力は600Wで固定となる。また、グリル調理のステップでの調節可能項目は加熱時間のみとなる。
この状態において、表示部9のレンジ加熱時間表示エリア9aには、レンジ加熱時間t1’の設定値として初期値の「0秒」が表示され、ヒーター加熱時間表示エリア9bには、グリル加熱時間t2’の初期値である「0秒」が表示され、連続加熱する双方の加熱モードでの加熱時間が両方同時に表示されている。
また、発光部118、発光部119、発光部120が点滅するとともに、レンジ時間表示用LEDが各々点灯し、加熱時間設定キー各々に入力できる時間が表示され、5分キー115aと1分キー116aと10秒キー117aによるレンジ加熱時間の設定が促される。レンジグリル調理の手動モードでは、レンジ加熱時間t1’とグリル加熱時間t2’の設定は必須の操作であり、設定がされなければ調理が開始されない。
従って、加熱時間が設定されるまで、スタートキー121は有効とならず、発光部122は点滅しない。
以上のレンジ加熱時間とグリル加熱時間の調理設定を行った後、スタートキー121を押下することにより、加熱調理が開始される。
尚、図5Cにおいて、レンジグリルキー103をさらに1回押下すると、図5Bの状態である「レンジグリル調理の自動」に戻る。
<レンジグリル調理時の手動モードの操作手順>
次に、レンジグリル調理の「手動」モードを使用する際の操作手順について説明する。
図6A〜図6Eは、実施の形態1に係る加熱調理器におけるレンジグリル調理の「手動」のモードを使用する場合の操作手順と発光部の点灯状況、及び、表示部の表示内容を示した説明図である。
図6Aは調理物5を加熱室2の調理プレート6上に載置してドア4を閉じた初期状態の操作部8の状態であり、表示部9には0が表示され、レンジキー102と、レンジグリルキー103と、グリルキー104と、オーブンキー105の各キーに対応した発光部106、発光部107、発光部108、発光部109が点灯し、加熱手段を選択する4つのキーが有効であることを示している。
図6Aにおいて、レンジグリルキー103を2回押下した場合、図6Bの状態となる。
発光部107は、点灯を継続し、他の発光部106、108、109は消灯に変わり、レンジグリル調理のモードに入ったことを示す。表示部9には「レンジ→グリル」が表示され、レンジグリル調理の選択であることが示され、「手動」のモード表示となる。発光部118、発光部119、発光部120が点滅するとともに、レンジ時間表示用LEDが各々点灯し、加熱時間設定キー各々に入力できる時間が表示され、5分キー115aと1分キー116aと10秒キー117aによるレンジ加熱時間t1’の設定が促される。
そして、表示部9の下段の左側に設けられたレンジ加熱時間表示エリア9aには、レンジ加熱時間t1’の設定値として初期値の「0秒」が表示され、右側のヒーター加熱時間表示エリア9bにはグリル加熱時間t2’の初期値である「0秒」が表示される。また、仕切り線9cは、レンジ調理とグリル調理の双方が連続して行われることを使用者が理解しやすいように、表示させていない。
次に、図6Bにおいて、5分キー115aを1回押下すると、図6Cの状態となる。表示部9のレンジ加熱時間表示エリア9aに表示されたレンジ加熱時間t1’の表示が5分加えられて「5分00秒」となる。
ここで、レンジ加熱時間t1’が設定されたため、次のステップ、すなわちグリル加熱時間t2’の設定ステップへの切り替え操作であるプラスキー111の設定操作を促すべく、発光部113が点滅する。
発光部113は、点滅状態を継続し、プラスキー111の押下を促し続けるが、一定時間(例えば5秒)経過しても、プラスキー111の押下などのキー操作が無い場合、よりいっそうプラスキー111の設定操作を促すように、5分キー115aと1分キー116aと10秒キー117aの各発光部118,119,120を消灯するとともに、発光部113の輝度を高くして点滅させ、プラスキー111への注目度を高めるようになっている。この時、発光部113は、LEDと直列に接続された負荷抵抗を小さな抵抗値に切り替えて、流れる電流を増やすことで輝度を高くする。
尚、この状態でも5分キー115aと1分キー116aと10秒キー117aによるレンジ加熱時間の設定の変更を行うことができるように構成されている。また、本実施の形態では、発光部113の輝度を高くする例を挙げているが、発光部113の発行色を変化させたりして注目度を高くしてもよい。
次に、プラスキー111が押下されると、図6Dのグリル調理時間の設定ステップとなる。発光部118、発光部119、発光部120が点滅するとともに、ヒーター時間表示用LEDが各々点灯し、加熱時間設定キー各々に入力できる時間が表示され、10分キー115bと5分キー116bと1分キー117bによるグリル加熱時間t2’の設定が促される。
図6Dの状態から、5分キー116bが押下されると、図6Eの状態、すなわち、ヒーター加熱時間表示エリア9bに設定されたグリル加熱時間t2’が「5分00秒」と表示されるとともに、発光部118、発光部119、発光部120は点滅から点灯に変わり、発光部122が点滅状態となり、スタートキー121が有効となる。
以上の調理設定を行った後、スタートキー121を押下することにより、加熱調理が開始される。
<レンジグリル調理の手動モード時における報知、移行スキップ制御>
次に、実施の形態1に係る上記のレンジグリル調理の手動モードにおける制御について説明する。
図7は、実施の形態1に係るレンジグリル調理の手動モード時におけるレンジ調理時の報知、移行スキップ制御を示す制御フロー図である。
はじめにステップ1にてドア4が開くと、ステップ2にて電源をオンする。次にステップ3にて手動モードが選択されたか否かを判断する。手動モードの場合にはステップ4に進み、レンジ加熱時間t1’とグリル加熱時間t2’の両方が設定された時点でステップ5に進む。
ここで、ステップ4においてレンジ加熱時間t1’を180秒、グリル加熱時間t2’を600秒とした例を説明する。
ステップ5にてレンジの出力を600Wに固定し、計時手段のカウンターt1を初期値であるゼロにセットする。なお、レンジ加熱時間の最大値t1maxは、例えば300秒に設定される。
ドア4が閉められていることをドア開閉検出手段53が検出している状態で、ステップ6で加熱がスタートすると、ステップ7にて各センサーで加熱の状態を検出する。ここでセンサーとは、加熱室2内の温度を検出する加熱室温度検出器であるサーミスタ42、調理物5の発する蒸気量を検出する蒸気検出器(本実施の形態においてはサーミスタ42)、調理物5の温度を非接触で検出する非接触温度検出器である赤外線センサー41などである。また、ステップ8にて計時手段のカウンターt1のカウントを開始する。
ステップ9にてカウンターt1の値が設定したレンジ加熱時間t1’に達したか否かを判断する。
カウンターt1の値が設定したレンジ加熱時間t1’に達した場合にはステップ10に進み、グリル加熱に移行する。設定したレンジ加熱時間t1’に達していない場合にはステップ11に進み、上記の各センサーで検出した値がグリル加熱移行用の閾値に達したかを判断する。ここでグリル加熱移行用の閾値とは、レンジ加熱が十分に達成されたか否かを判断するための目安として上記各センサーである加熱室温度検出器(サーミスタ42)で検出した温度、蒸気検出器で検出した蒸気量、非接触温度検出器(赤外線センサー41)で検出した温度等を規定した値である。
ステップ11にて各センサーで検出した値がグリル加熱移行用の閾値に達した場合には、ステップ12に進み、使用者がレンジ加熱からグリル加熱に移行する移行スキップ操作を許可するとともに、その時の計時手段のカウンターt1の時間をt1aとして記憶部に記憶し、報知手段52により報知を発報する。この報知は、設定したレンジ加熱時間t1’に計時手段のカウンターt1の値が達していない場合でも、調理物5の状態がレンジ加熱を終了する条件を満たした場合に使用者に対してレンジ加熱からグリル加熱に移行する移行スキップ操作を促すためのものである。
報知手段52による報知は、表示部9への表示やパイロットサインでの表示、報知音や音声による報知など使用者にレンジ加熱を終了する条件が満たされたことを通知するものであれば様々な手段を採用することができる。なお、報知を調理器の本体1から離れている使用者に確実に伝えるために少なくとも、音による報知を行なうことが好ましい。更に、表示部9に例えば「レンジ加熱を終了しグリル加熱に移行することが可能です。移行する場合は「+」キーを押してください。」などの表示を併用することが望ましい。また、移行スキップ操作をわかりやすくするために、この場合プラスキー111に対応する発光部113を点滅させることが望ましい。
ここで、レンジ加熱からグリル加熱への移行を促す報知手段52による報知は、調理器の本体1に予め記憶された自動調理においてレンジ加熱からグリル加熱へ移行するタイミングで行なわれるよう構成されている。すなわち、自動モードとして、加熱前の初期状態で調理済みの調理物5を再加熱する自動再加熱モードと初期状態で未調理の調理物5を調理する自動調理モードというふたつのモードを備えている場合、その食品を自動再加熱モードで加熱した場合の移行タイミングで第1報知を行なうとともに、自動調理モードで過熱した場合の移行タイミングで第2報知を行なうというように、各種調理条件に応じて報知するように構成されている。そして、これらの報知はそれぞれの区別がつくように違う種類の報知(例えば、報知音の鳴動パターンが異なるなど)とすることが望ましい。
この場合、ステップ11にて各センサーで検出した値がグリル加熱移行用の閾値に達した時点で第1報知を行い、その後、記憶した計時手段のカウンターt1aの値に所定の係数α(α>1)を乗算した時間に計時手段のカウンターt1の時間が到達した時点で第2報知を行う。これは、初期状態で未調理の調理物5を加熱調理する方が調理済みの調理物5を再加熱する場合に比べてレンジ加熱に長い時間を要し、グリル加熱に移行する適切な時期のタイミングが遅くなるためである。
このように、加熱前の初期状態で調理済みの調理物5を再加熱していることを想定した第1報知と、加熱前の初期状態で未調理の調理物5を調理していることを想定した第2報知とに分けて2回行うことで、加熱前の初期状態の調理形態に対応した移行スキップ操作が可能となる。
次にステップ13にて使用者による移行スキップ操作(例えばプラスキー111の操作)があったか否かを判断する。移行スキップ操作があった場合には、ステップ14に進み移行スキップ操作によりレンジ加熱が短縮された時間(設定されたレンジ加熱時間t1’− グリル加熱に移行した際の計時手段のカウンターt1の値)から削減された電力量を演算して記憶部に記憶し表示部9に表示する。移行スキップ操作がなかった場合にはステップ15に進み、計時手段のカウンターt1のカウントを継続する。
ステップ16にてカウンターt1の値が設定したレンジ加熱時間t1’に達したか否かを判断する。
カウンターt1の値が設定したレンジ加熱時間t1’に達していない場合はステップ17に進み、レンジ加熱時間の最大値t1maxに達したか否かをさらに判断する。ステップ16でカウンターt1の値が設定したレンジ加熱時間t1’に達した場合、及び、ステップ17にてカウンターt1の値がレンジ加熱時間の最大値t1maxに達した場合には、ステップ18にて報知手段52をオフにし、ステップ19にてグリル加熱に移行する。
次に、図7のステップ10及びステップ19にてグリル加熱に移行(図7の「A」以降)した際の制御フローについて、図8を用いて説明する。
図8は、実施の形態1に係るレンジグリル調理の手動モード時におけるグリル調理時の報知、終了スキップ制御を示す制御フロー図である。
はじめにステップ20にてグリル加熱を開始すると、計時手段のカウンターt2を初期値であるゼロにセットする。なお、グリル加熱時間の最大値t2maxは、例えば1200秒に設定される。グリル加熱時間t2’は前述のように600秒とした例を説明する。
ステップ21で各センサーにて加熱状態の検出を開始する。ここでセンサーとは、加熱室2内の温度を検出する加熱室温度検出器であるサーミスタ42、調理物5の発する蒸気量を検出する蒸気検出器(本実施の形態においてはサーミスタ42)、調理物5の温度を非接触で検出する非接触温度検出器である赤外線センサー41などである。また、ステップ22にて計時手段のカウンターt2のカウントを開始する。
ステップ23にてカウンターt2の値が設定したグリル加熱時間t2’に達したか否かを判断する。
カウンターt2の値が設定したグリル加熱時間t2’に達した場合にはステップ24に進み、グリル加熱を終了する。設定したグリル加熱時間t2’に達していない場合にはステップ25に進み、例えば上記の各センサーのうち加熱室2内の温度を検出する加熱室温度検出器(サーミスタ42)で検出した加熱室2内の温度が所定の閾値に達したかを判断する。
加熱室2内の温度が所定の閾値に達した場合は、そのときの計時手段のカウンターt2の時間をt2aとして記憶部に記憶する。
ステップ26では記憶したt2aに所定の係数β(β>1)を乗算してグリル加熱を終了するのに適した予測終了時間t2a_endを演算する。
ここで、サーミスタ42で検出した加熱室2内の温度変化とグリル加熱を終了するのに適した予測終了時間t2a_endの関係について説明する。
図9は、実施の形態1に係るグリル調理時の加熱室内の温度変化と予測終了時間t2a_endとの関係を示した図である。
図9において、横軸は計時手段のカウンターt2の経過時間を示し、縦軸に加熱室温度検出器(サーミスタ42)で検出した加熱室2内の温度を示している。
グリル加熱が開始されると実線で示すように加熱室2内の温度が上昇をはじめる。加熱室2内の温度が例えば150℃(閾値)に到達したときの計時手段のカウンターt2の時間をt2aとして記憶する。記憶したt2aに所定の係数β(β>1)を乗算してグリル加熱を終了するのに適した予測終了時間t2a_endを演算する。この係数βは、グリル内の温度が例えば250℃に達するまでの時間を中間温度(150℃)に達した時点での温度勾配から予測し、グリル加熱の終了時刻を予め予測するための係数であり、調理物5に過度の焼き目や焦げ目が発生しない温度域で加熱を終了させる値に試験等から設定される。なお、図9の破線は、調理物5の熱容量が大きく、加熱室2内の温度上昇勾配が鈍い場合をしめしている。
つづいてステップ27では計時手段のカウンターt2のカウントを継続し、ステップ28においてt2の時間が予測終了時間t2a_endに達したか否かを判断する。
予測終了時間t2a_endに達していない場合にはステップ29に進み、t2がグリル加熱時間の最大値t2maxに達したかをさらに判断する。最大値t2maxに達した場合にはステップ30にてグリル加熱を終了する。
また、ステップ28にてt2の時間が予測終了時間t2a_endに達した場合にはステップ31に進み、使用者がグリル加熱を終了する終了スキップ操作を許可するとともに、報知手段52により報知を発報する。
この報知は、設定したグリル加熱時間t2’に計時手段のカウンターt2の値が達していない場合でも、調理物5の状態がグリル加熱を終了する条件を満たしたことを予測し、使用者に対してグリル加熱を終了する終了スキップ操作を促すためのものである。
報知手段52による報知は、表示部9への表示やパイロットサインでの表示、報知音や音声による報知など使用者にレンジ加熱を終了する条件が満たされたことを通知するものであれば様々な手段を採用することができる。
なお、報知を調理器の本体1から離れている使用者に確実に伝えるために少なくとも音による報知を行なうことが好ましい。更に、表示部9に例えば「グリル加熱を終了することが可能です。終了する場合は「とりけし」キーを押してください。」などの表示をし、その他の報知手段52を併用することが望ましい。また、終了スキップ操作をわかりやすくするために、この場合とりけし124に対応する発光部を点滅させることが望ましい。
ここで、グリル加熱の終了を促す報知手段52による報知は、レンジ加熱の時と同様に、加熱前の初期状態で調理済みの調理物5を再加熱した場合を想定した第1報知と、加熱前の初期状態で未調理の調理物5を調理した場合を想定した第2報知を行なうように構成されている。この2回の報知はそれぞれの区別がつくように違う種類の報知(例えば、報知音の鳴動パターンが異なるなど)とすることが望ましい。
この場合、上記のようにステップ25にて加熱室2内の温度が、調理済みの調理物5を再加熱した場合のグリル加熱終了の判断に適した温度、例えば150℃(閾値)に到達したかを判断し、この閾値に温度が達したときのカウンターt2の時間をt2aとして記憶部に記憶する。そして、t2aに所定の係数β(β>1)を乗算してグリル加熱を終了するのに適した予測終了時間t2a_endを算出し、この予測終了時間t2a_endが経過したときに第1報知を発報する。
また、加熱前の初期状態で未調理の調理物5を調理していることを想定した第2報知は、加熱室2内の温度が未調理の調理物5を調理した際のグリル加熱終了の判断に適した温度、例えば200℃(閾値)に到達したかを判断し、この閾値に温度が達したときのカウンターt2の時間をt2bとして記憶部に記憶する。そして、t2bに所定の係数γ(γ>1)を乗算してグリル加熱を終了するのに適した予測終了時間t2b_endを算出し、この予測終了時間t2b_endが経過したときに第2報知を発報する。
このように、加熱前の初期状態で調理済みの調理物5を再加熱していることを想定した第1報知と、加熱前の初期状態で未調理の調理物5を調理していることを想定した第2報知とに分けて報知を2回行うことで、加熱前の初期状態の調理形態に対応した終了スキップ操作が可能となる。
次にステップ32にて使用者による終了スキップ操作(例えば取消しキー124の操作)があったか否かを判断する。終了スキップ操作があった場合には、ステップ33に進み終了スキップ操作によりグリル加熱が短縮された時間(設定されたグリル加熱時間t2’−予測終了時間t2endの値)から削減された電力量を演算して記憶し表示部9に表示するとともに、ステップ37にて報知手段52をオフとし、ステップ38にてグリル加熱を終了する。終了スキップ操作がなかった場合にはステップ34に進み、計時手段のカウンターt2のカウントを継続する。
ステップ35にてカウンターt2の値が設定したグリル加熱時間t2’に達したか否かを判断する。
カウンターt2の値が設定したグリル加熱時間t2’に達していない場合はステップ36に進み、グリル加熱時間の最大値t2maxに達したか否かをさらに判断する。ステップ35でカウンターt2の値が設定したグリル加熱時間t2’に達した場合、及び、ステップ36にてカウンターt2の値がグリル加熱時間の最大値t2maxに達した場合には、ステップ37にて報知手段52をオフとし、ステップ38にてグリル加熱を終了する。
実施の形態1に係る加熱調理器では、レンジグリル調理を行う際に手動モードで複数の加熱手段の各加熱時間を使用者が設定した際にも、調理物5に対応して最適に各加熱手段の切り替え時期を報知してくれるとともに、加熱の終了時期も報知してくれるため、使用者が各加熱時間を過度に長時間設定しても複数の加熱手段で適切な連続運転を実行することができる。
また、これらの報知は自動調理における移行タイミングで行なうようにした為、使用者が手動モードで加熱調理したレシピが、自動モードで過不足なく調理できるか否かを判断することができる。すなわち、報知に基づいて使用者がスキップ操作を実行して調理を行なった結果、良好な仕上がり状態となっていれば、次回からは自動モードで加熱調理できるとの判断をすることができるので、使い勝手を向上させることができる。
それから、使用者が各加熱手段の切り替え時期や加熱の終了時期を報知により判断してスキップさせ加熱時間を短縮するため、余分な加熱運転を回避して消費電力量を削減することが可能になる。なお、削減した消費電力量は、不揮発性メモリ45aに記憶させておき、削減した消費電力量を表示するモードを設け、スキップ操作により削減した電力量の累計を表示させるなどしてもよい。
実施の形態2.
実施の形態2に係る加熱調理器は、実施の形態1に係る加熱調理器のレンジグリル調理の手動モードにおける制御と基本的に同じであるが、手動で設定したレンジ加熱時間t1’と、グリル加熱時間t2’とを加熱運転の途中で変更可能な点で異なる。
<レンジグリル調理の手動モード時における設定時間変更制御>
図10は、実施の形態2に係るレンジグリル調理の手動モード時における設定時間変更制御を示す制御フロー図である。
この制御フローにおいて、ステップ1からステップ6までは実施の形態1と同じである。
すなわち、ステップ1にてドア4が開くと、ステップ2にて電源をオンする。次にステップ3にて手動モードが選択されたか否かを判断する。手動モードの場合にはステップ4に進み、レンジ加熱時間t1’とグリル加熱時間t2’の両方が設定された時点でステップ5に進む。
ここで、ステップ4においてレンジ加熱時間t1’を180秒、グリル加熱時間t2’を600秒とした例を説明する。
ステップ5にてレンジの出力を600Wに固定し、計時手段のカウンターt1を初期値であるゼロにセットする。なお、レンジ加熱時間の最大値t1maxは、例えば300秒に設定される。
ステップ6で加熱がスタートすると、ステップ7にて計時手段のカウンターt1のカウントを開始する。
ステップ8にてカウンターt1の値が設定したレンジ加熱時間t1’に達したか否かを判断する。
カウンターt1の値が設定したレンジ加熱時間t1’に達した場合にはステップ9に進み、グリル加熱に移行する。設定したレンジ加熱時間t1’に達していない場合にはステップ10に進み、設定したレンジ加熱時間t1’が時間変更されたか否かを判断する。
時間変更があった場合はステップ11にて増加もしくは減少した設定時間を記憶する。 ここで、設定したレンジ加熱時間t1’を変更する際には例えば操作部8のプラスキー111やマイナスキー112を操作することで表示部9に表示されたレンジ加熱時間t1’を増減することができる。操作は、例えばプラスキー1回の押下で+10秒、長押しで連続的に時間が増加するなどの変更が採用可能である。また、時間の変更中は表示部9に表示されたレンジ加熱時間t1’を点滅させる。
次に、ステップ12にて設定時間変更の確定操作があったか否かを判断する。確定操作は、例えばスタートキー121を押下して決定する。または、最後にプラスキー111やマイナスキー112を操作してから一定時間経過した時点で確定してもよい。
確定操作が行われると表示部9に表示されたレンジ加熱時間t1’の点滅が点灯へと変更されステップ13にて例えばレンジ加熱時間t1’から30秒が減算される。
ステップ14にて時間変更されたレンジ加熱時間t1’がレンジ加熱時間の最大値t1max以上か否かを判断する。最大値t1max以上の場合にはステップ15にて時間変更されたレンジ加熱時間t1’はレンジ加熱時間の最大値t1maxとされる。最大値t1max未満の場合には、ステップ7に戻り計時手段のカウンターt1を継続してカウントする。
なお、実施の形態2に係る設定時間変更制御は、実施の形態1に係るレンジグリル調理の手動モード時における報知、スキップ制御と組み合わせて実行することが可能である。
具体的には、図7の制御フローにおけるステップ9の後に実施の形態2に係る図10の制御フローのステップ10以下を割り込ませてレンジ加熱時間t1’を変更可能とすることができる。
また、実施の形態2に係る設定時間変更制御は、実施の形態1に係るグリル加熱時間t2’の変更にも採用することができる。
具体的には図8の制御フローにおけるステップ23の後に実施の形態2に係る図9の制御フローのステップ10以下を割り込ませてグリル加熱時間t2’を変更可能とすることができる。
実施の形態2に係る加熱調理器によれば、実施の形態1に係る加熱調理器のレンジグリル調理時の報知、スキップ制御に加え、手動で設定したレンジ加熱時間t1’と、グリル加熱時間t2’とを加熱運転の途中で変更可能としたことで、予め設定した加熱時間が短かった場合にも対処することができ、使用者の使い勝手をさらに向上させることができる。
1 本体、2 加熱室、3 窓、4 ドア、5 調理物、6 調理プレート、7 ハンドル、8 操作部、8a 下辺、8b 左辺、9 表示部、9a レンジ加熱時間表示エリア、9b ヒーター加熱時間表示エリア、9c 仕切り線、18 フラットヒーター、19 断熱材、20 板金、21 アンテナ、22 シーズヒーター、23 セラミックプレート、24 下部加熱室、25 アンテナモーター、26 導波管、28 チョーク、29 開口パネル、30 背面加熱室、31 背面ガラス管ヒーター、32 反射部、33 背面開口部、34 ターボファン、35 循環室、36 ファンモーター、37 吸気口、38 マグネトロン、39 インバーター基板、41 赤外線センサー、42 サーミスタ(加熱室温度検出器)、43 マグネトロン駆動手段、44 制御部、45 マイコン、45a 不揮発性メモリ、46 キー入力判定手段、47 表示駆動手段、48 LED駆動手段、49 ヒーター駆動手段、50 モーター駆動手段、51 ファンモーター駆動手段、52 報知手段、53 ドア開閉検出手段、101 第1の操作入力領域、102 レンジキー、103 レンジグリルキー、104 グリルキー、105 オーブンキー、106 発光部、107 発光部、108 発光部、109 発光部、110 第2の操作入力領域、111 プラスキー、112 マイナスキー、113 発光部、114 発光部、115 第1の加熱時間設定キー、116 第2の加熱時間設定キー、117 第3の加熱時間設定キー、118 発光部、119 発光部、120 発光部、121 スタートキー、122 発光部、123 第3の操作入力領域、124 取消しキー。

Claims (13)

  1. 加熱特性の異なる複数の加熱手段と前記加熱手段の運転を制御する制御手段とを有し、少なくとも前記加熱手段のうちの特定の加熱手段の運転に続けて前記特定の加熱手段以外の他の加熱手段を連続して運転する連続運転モードを備えた加熱調理器であって、
    前記制御手段は、前記連続運転モードの時に予め入力された前記加熱手段の各運転時間となるよう各加熱手段の運転を行い、前記特定の加熱手段の運転中に前記他の加熱手段の運転に移行する移行スキップ操作手段を備えたことを特徴とする加熱調理器。
  2. 前記制御手段は、前記移行スキップ操作手段の操作があった際には、前記特定の加熱手段の運転を中断して前記他の加熱手段の運転に移行するように構成されたことを特徴とする請求項1に記載の加熱調理器。
  3. 前記制御手段は、前記移行スキップ操作手段の操作を促す報知を調理物の加熱前の初期状態に対応して複数回の報知をするように構成されたことを特徴とする請求項1または2に記載の加熱調理器。
  4. 前記制御手段は、加熱室内の温度を検出する加熱室温度検出器、調理物の発する蒸気量を検出する蒸気検出器、調理物の温度を非接触で検出する非接触温度検出器のうちのいずれか1つの検出値が既定値以上になったことに基づいて前記移行スキップ操作手段の操作を許可するように構成されたことを特徴とする請求項1〜3のいずれか1項に記載の加熱調理器。
  5. 前記制御手段は、前記移行スキップ操作手段の操作があった際に、前記予め入力された加熱手段の各運転時間から短縮された時間に基づいて削減された電力量を表示手段に表示することを特徴とする請求項1〜4のいずれか1項に記載の加熱調理器。
  6. 前記制御手段は、前記他の加熱手段の運転中に運転を終了する終了スキップ操作手段を備え、前記終了スキップ操作手段の操作があった際には、前記他の加熱手段の運転を中断して加熱運転を終了するように構成されたことを特徴とする請求項1〜5のいずれか1項に記載の加熱調理器。
  7. 前記制御手段は、前記終了スキップ操作手段の操作を促す報知を調理物の加熱前の初期状態に対応して複数回の報知をするように構成されたことを特徴とする請求項6に記載の加熱調理器。
  8. 前記制御手段は、加熱室内の温度を検出する加熱室温度検出器の検出値が既定値以上になったことに基づいて前記終了スキップ操作手段の操作を許可するように構成されたことを特徴とする請求項6または7に記載の加熱調理器。
  9. 前記制御手段は、前記終了スキップ操作手段の操作があった際に、前記予め入力された加熱手段の各運転時間から短縮された時間に基づいて削減された電力量を表示手段に表示することを特徴とする請求項6〜8のいずれか1項に記載の加熱調理器。
  10. 前記複数回の報知は、それぞれ異なる種類の報知内容であることを特徴とする請求項3または7に記載された加熱調理器。
  11. 前記報知は、少なくとも表示手段に文字情報を表示するものであることを特徴とする請求項3〜10のいずれか1項に記載の加熱調理器。
  12. 前記制御手段は、前記加熱手段の運転中に前記予め入力された加熱手段の各運転時間を変更する時間変更操作があった際に、前記予め入力された加熱手段の各運転時間を変更するように構成されたことを特徴とする請求項1〜11のいずれか1項に記載の加熱調理器。
  13. 前記特定の加熱手段はマイクロ波を利用した加熱手段であり、前記他の加熱手段はヒーターを利用した加熱手段であることを特徴とする請求項1〜12のいずれか1項に記載の加熱調理器。
JP2013255028A 2013-12-10 2013-12-10 加熱調理器 Expired - Fee Related JP6165041B2 (ja)

Priority Applications (1)

Application Number Priority Date Filing Date Title
JP2013255028A JP6165041B2 (ja) 2013-12-10 2013-12-10 加熱調理器

Applications Claiming Priority (1)

Application Number Priority Date Filing Date Title
JP2013255028A JP6165041B2 (ja) 2013-12-10 2013-12-10 加熱調理器

Publications (2)

Publication Number Publication Date
JP2015114011A true JP2015114011A (ja) 2015-06-22
JP6165041B2 JP6165041B2 (ja) 2017-07-19

Family

ID=53527986

Family Applications (1)

Application Number Title Priority Date Filing Date
JP2013255028A Expired - Fee Related JP6165041B2 (ja) 2013-12-10 2013-12-10 加熱調理器

Country Status (1)

Country Link
JP (1) JP6165041B2 (ja)

Cited By (4)

* Cited by examiner, † Cited by third party
Publication number Priority date Publication date Assignee Title
JP2017223383A (ja) * 2016-06-13 2017-12-21 シャープ株式会社 調理器
JP2021196100A (ja) * 2020-06-12 2021-12-27 日立グローバルライフソリューションズ株式会社 加熱調理器
JP2022183598A (ja) * 2021-05-31 2022-12-13 日立グローバルライフソリューションズ株式会社 加熱調理器
JP2023037928A (ja) * 2021-09-06 2023-03-16 アイリスオーヤマ株式会社 加熱調理器

Citations (4)

* Cited by examiner, † Cited by third party
Publication number Priority date Publication date Assignee Title
JPS58167802U (ja) * 1982-04-30 1983-11-09 三洋電機株式会社 調理装置
JPS60186623A (ja) * 1984-03-05 1985-09-24 Sanyo Electric Co Ltd 電子制御式調理器
JP2004218922A (ja) * 2003-01-14 2004-08-05 Sanyo Electric Co Ltd 加熱調理装置
JP2013167422A (ja) * 2012-02-16 2013-08-29 Sharp Corp 加熱調理器及び電気機器

Patent Citations (4)

* Cited by examiner, † Cited by third party
Publication number Priority date Publication date Assignee Title
JPS58167802U (ja) * 1982-04-30 1983-11-09 三洋電機株式会社 調理装置
JPS60186623A (ja) * 1984-03-05 1985-09-24 Sanyo Electric Co Ltd 電子制御式調理器
JP2004218922A (ja) * 2003-01-14 2004-08-05 Sanyo Electric Co Ltd 加熱調理装置
JP2013167422A (ja) * 2012-02-16 2013-08-29 Sharp Corp 加熱調理器及び電気機器

Cited By (6)

* Cited by examiner, † Cited by third party
Publication number Priority date Publication date Assignee Title
JP2017223383A (ja) * 2016-06-13 2017-12-21 シャープ株式会社 調理器
JP2021196100A (ja) * 2020-06-12 2021-12-27 日立グローバルライフソリューションズ株式会社 加熱調理器
JP2022183598A (ja) * 2021-05-31 2022-12-13 日立グローバルライフソリューションズ株式会社 加熱調理器
JP7659442B2 (ja) 2021-05-31 2025-04-09 日立グローバルライフソリューションズ株式会社 加熱調理器
JP2023037928A (ja) * 2021-09-06 2023-03-16 アイリスオーヤマ株式会社 加熱調理器
JP7563754B2 (ja) 2021-09-06 2024-10-08 アイリスオーヤマ株式会社 加熱調理器

Also Published As

Publication number Publication date
JP6165041B2 (ja) 2017-07-19

Similar Documents

Publication Publication Date Title
JP5955229B2 (ja) 加熱調理器
KR20100010248A (ko) 조리기기 및 온도 제어 방법
JP5033733B2 (ja) 誘導加熱調理器
JP7435708B2 (ja) 加熱調理器
JP6165041B2 (ja) 加熱調理器
US20040040447A1 (en) Cooking apparatus equipped with heaters and method of controlling the same
JP5795931B2 (ja) 誘導加熱調理器
JP2013053795A (ja) 加熱調理器
JP2009180392A (ja) オーブンレンジ
JP4998177B2 (ja) 加熱調理装置
JP7314875B2 (ja) 電気装置、加熱調理器
JP2021034234A (ja) 誘導加熱調理器、および、その加熱方法
JP2007051806A (ja) 加熱調理器
JP2014219155A (ja) 加熱調理器
JP2011228030A (ja) 誘導加熱調理器
JP2012174470A (ja) 加熱調理器
JP4969350B2 (ja) 誘導加熱調理器
JP6364622B2 (ja) 誘導加熱調理器
JP2014085056A (ja) 加熱調理器
JP2003217813A (ja) 電磁調理器
JP2011009089A (ja) 誘導加熱調理器
JP2012154539A (ja) 加熱調理器
JP2023113204A (ja) 加熱調理器
JP5787602B2 (ja) 操作部及びその操作部を備えた加熱調理器
JP2010244997A (ja) 誘導加熱調理器

Legal Events

Date Code Title Description
A621 Written request for application examination

Free format text: JAPANESE INTERMEDIATE CODE: A621

Effective date: 20160624

A977 Report on retrieval

Free format text: JAPANESE INTERMEDIATE CODE: A971007

Effective date: 20170313

A131 Notification of reasons for refusal

Free format text: JAPANESE INTERMEDIATE CODE: A131

Effective date: 20170321

A521 Request for written amendment filed

Free format text: JAPANESE INTERMEDIATE CODE: A523

Effective date: 20170509

TRDD Decision of grant or rejection written
A01 Written decision to grant a patent or to grant a registration (utility model)

Free format text: JAPANESE INTERMEDIATE CODE: A01

Effective date: 20170523

A61 First payment of annual fees (during grant procedure)

Free format text: JAPANESE INTERMEDIATE CODE: A61

Effective date: 20170620

R150 Certificate of patent or registration of utility model

Ref document number: 6165041

Country of ref document: JP

Free format text: JAPANESE INTERMEDIATE CODE: R150

R250 Receipt of annual fees

Free format text: JAPANESE INTERMEDIATE CODE: R250

R250 Receipt of annual fees

Free format text: JAPANESE INTERMEDIATE CODE: R250

R250 Receipt of annual fees

Free format text: JAPANESE INTERMEDIATE CODE: R250

R250 Receipt of annual fees

Free format text: JAPANESE INTERMEDIATE CODE: R250

LAPS Cancellation because of no payment of annual fees