JP2014173291A - 境界ブロック - Google Patents

境界ブロック Download PDF

Info

Publication number
JP2014173291A
JP2014173291A JP2013045482A JP2013045482A JP2014173291A JP 2014173291 A JP2014173291 A JP 2014173291A JP 2013045482 A JP2013045482 A JP 2013045482A JP 2013045482 A JP2013045482 A JP 2013045482A JP 2014173291 A JP2014173291 A JP 2014173291A
Authority
JP
Japan
Prior art keywords
road
boundary
boundary block
block
engaging
Prior art date
Legal status (The legal status is an assumption and is not a legal conclusion. Google has not performed a legal analysis and makes no representation as to the accuracy of the status listed.)
Granted
Application number
JP2013045482A
Other languages
English (en)
Other versions
JP5893577B2 (ja
Inventor
Takashi Sasaki
孝 佐々木
Hirotoshi Masuda
広利 増田
Kazumi Adachi
和美 足立
Current Assignee (The listed assignees may be inaccurate. Google has not performed a legal analysis and makes no representation or warranty as to the accuracy of the list.)
Nikkon KK
Original Assignee
Nikkon KK
Priority date (The priority date is an assumption and is not a legal conclusion. Google has not performed a legal analysis and makes no representation as to the accuracy of the date listed.)
Filing date
Publication date
Application filed by Nikkon KK filed Critical Nikkon KK
Priority to JP2013045482A priority Critical patent/JP5893577B2/ja
Publication of JP2014173291A publication Critical patent/JP2014173291A/ja
Application granted granted Critical
Publication of JP5893577B2 publication Critical patent/JP5893577B2/ja
Active legal-status Critical Current
Anticipated expiration legal-status Critical

Links

Images

Landscapes

  • Road Paving Structures (AREA)

Abstract

【課題】敷設以前には、清掃処理の低コスト化並びに敷設作業全体の低コスト化を図ると共に、敷設以後には、外観上の見映えだけでなく、人や車の往来を長期に亘って良好に保つことを可能にする境界ブロックを提供する。
【解決手段】ブロック本体4の一部を道路に向けて突出させた突出片6には、道路の舗装構造が一部入り込んで係合することで、当該道路との位置関係を一定に維持させる係合部8a,8b(凹部P1、凸部P2)が設けられ、敷設以前の境界ブロック2において、表面(例えば、ブロック本体4の表面4s、各突出片6の表面6s)に付着した異物(例えば、水や塵埃など)は、凹部P1に沿って集めて除去可能であり、敷設以後の境界ブロック2において、道路の舗装構造の一部が凸部P2を超えて凹部P1に入り込んで係合することで、当該道路と境界ブロック2とを互いに隙間無く隣接した状態に維持可能である。
【選択図】図1

Description

本発明は、例えば歩道、車道、自転車道などの各種の道路との境界に沿って敷設される境界ブロックに関する。
従来から境界ブロックとしては、例えば歩車道境界ブロックや水路兼用路肩ブロック、地先境界ブロックなど各種のものが知られている。一例として、例えば特許文献1に示された境界ブロックは、道路との境界に沿って連続して立ち上げられた状態に位置付けられるブロック本体と、ブロック本体の下部側の一部を道路に向けて突出させた突出片(特許文献1では「水平部」と言う)とを備えて構成されている。
この場合、車道との境界に沿って境界ブロックを連続して敷設した後、現場打ちされた舗装(例えば、アスファルト舗装、コンクリート舗装など)を境界ブロック(突出片)に沿って隣接施工することで、当該境界ブロックを境にしてその両側(或いは、片側)に、用途に応じた道路(例えば、歩道、車道、自転車道など)を構築することができる。
特開2011−106123号公報
ところで、境界ブロックが道路との境界に敷設された以後において、当該道路は、例えば経年変化に伴って脆弱化したり、人や車の往来に起因して劣化することがあり、これにより、当該道路との間(具体的には、当初は隙間無く隣接した状態にあった境界ブロック(突出片)と、道路を構成する現場打ち舗装との間)に、隙間が発生してしまう場合がある。
この場合、その隙間の分だけ、境界ブロックと道路(舗装)との位置関係を常に一定に維持することができず、その結果、当該位置関係が相対的にずれることで、外観上の見映えを長期に亘って良好に保つことができなくなってしまう。また、その隙間に異物(例えば、水、砂塵、土埃など)が浸入し続けるような環境下では、その異物による浸食作用により、当該隙間がさらに拡大する場合があり、そうなると、その隙間の拡大の程度によっては、人や車の往来に支障を来たす虞もある。
その一方で、道路との境界に敷設される以前において、境界ブロックは、例えば水や塵埃などに晒されるような環境下で保管されることがあり、これにより、境界ブロックの表面に異物が付着する場合(例えば、水が付着したり、塵埃が積ったりする場合)がある。この場合、境界ブロックの表面から異物(例えば、水や塵埃など)を除去する清掃処理には、手間や時間がかかるため、当該清掃処理に要する人件費等のコストがかかり、その分だけ、当該境界ブロックの敷設作業全体に要するコストが上昇してしまう。
本発明は、かかる問題を解決するためになされており、その目的は、道路との境界に敷設される以前においては、簡単かつ短時間に清掃処理を行うことを可能にすることで、当該清掃処理の低コスト化並びに敷設作業全体の低コスト化を図ると共に、道路との境界に敷設された以後においては、道路との間に隙間を発生させること無く、当該道路との位置関係を常に一定に維持することで、外観上の見映えだけでなく、人や車の往来を長期に亘って良好に保つことを可能にする境界ブロックを提供することにある。
かかる目的を達成するために、本発明は、所定の舗装構造によって構築される道路との境界に沿って配設される境界ブロックであって、道路との境界に沿って連続して立ち上げられた状態に位置付けられるブロック本体と、ブロック本体の一部を道路に向けて突出させて構成され、当該道路に沿って連続的に位置付けられる突出片とを有し、突出片の突出端には、道路の舗装構造が一部入り込んで係合することで、当該道路との位置関係を一定に維持させる係合部が設けられていると共に、係合部は、道路に沿って連続して窪ませた凹部と、当該凹部よりも道路側に位置し、当該道路に沿って連続して突設させた凸部とを備えて構成されており、道路との境界に敷設される以前の当該境界ブロックにおいて、その表面に付着した異物は、当該表面の清掃処理に際し、係合部の凹部に沿って集めて除去することが可能であると共に、道路との境界に敷設された以後の当該境界ブロックにおいて、道路の舗装構造の一部が凸部を超えて凹部に入り込んで係合することで、当該道路と境界ブロックとを互いに隙間無く隣接した状態に維持させることが可能である。
本発明において、係合部は、凸部を一部切り欠いて凹部と連通させた連通部をさらに備えて構成されており、道路との境界に敷設される以前の当該境界ブロックにおいて、その表面に付着した異物は、当該表面の清掃処理に際し、係合部の凹部に沿って集められ、連通部を介して除去することが可能である。
本発明では、係合部において、その凹部を構成する底面は、凸部側に向って下り勾配を成して構成されており、道路との境界に敷設される以前の当該境界ブロックにおいて、その表面の清掃処理に際し、係合部の凹部に沿って集められた異物は、当該凹部の底面に沿って自由落下し、連通部を介して除去される。
本発明では、係合部において、その連通部を構成する底面は、凹部の底面から連続した下り勾配を成して構成されている。
本発明において、境界ブロックの構成としては、当該境界ブロックの用途に応じて道路との間に介在させることが可能であって、かつ、一方側が突出片の係合部に係合すると共に、他方側に当該係合部と同一の係合部が設けられたアタッチメント構造をさらに備えており、当該アタッチメント構造としては、プレキャスト工法により予め所定形状に材料を固化させたもの、或いは、現場打ち工法により所定形状に材料を固化させたものの双方が含まれる。
本発明によれば、道路との境界に敷設される以前においては、簡単かつ短時間に清掃処理を行うことを可能にすることで、当該清掃処理の低コスト化並びに敷設作業全体の低コスト化を図ると共に、道路との境界に敷設された以後においては、道路との間に隙間を発生させること無く、当該道路との位置関係を常に一定に維持することで、外観上の見映えだけでなく、人や車の往来を長期に亘って良好に保つことを可能にする境界ブロックを実現することができる。
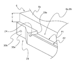
本発明の第1実施形態に係る境界ブロックの構成を示す図であって、道路との境界に敷設される以前の状態を示す斜視図。 (a)は、図1に示されたブロック本体の一方側に設けられた係合部の構成を一部拡大して示す断面図、(b)は、図1に示されたブロック本体の他方側に設けられた係合部の構成を一部拡大して示す断面図。 (a)は、本発明の第1実施形態に係る境界ブロックにおいて、道路との境界に敷設された以後の状態を示す断面図、(b)は、本実施形態の変形例に係る境界ブロックにおいて、道路との境界に敷設された以後の状態を示す断面図。 (a)は、本発明の第2実施形態に係る境界ブロックにおいて、道路との境界に敷設された以後の状態を示す断面図、(b)は、本実施形態の変形例に係る境界ブロックにおいて、道路との境界に敷設された以後の状態を示す断面図。 本発明の変形例に係る境界ブロックの構成を示す図であって、道路との境界に敷設される以前の状態を示す斜視図。 (a)は、図5に示されたブロック本体の一方側に設けられた係合部の構成を一部拡大して示す断面図、(b)は、図5に示されたブロック本体の他方側に設けられた係合部の構成を一部拡大して示す断面図。 本発明の変形例に係る境界ブロックの構成を示す図であって、ブロック本体に設けられた係合部の両端側の構成を一部拡大して示す斜視図。
以下、本発明の第1実施形態に係る境界ブロックについて、添付図面を参照して説明する。本発明は、例えば歩道、車道、自転車道などの各種の道路との境界に沿って敷設される例えばコンクリート製の境界ブロックを想定しており、図1には、本実施形態の境界ブロックとして、歩車道境界ブロックが示されている。
図1に示すように、本実施形態の歩車道境界ブロック2は、道路との境界(即ち、車道と歩道との境界)に沿って連続して立ち上げられた状態に位置付けられるブロック本体4と、ブロック本体4の一部(具体的には、その下部側の部位)を道路に向けて突出させて構成され、当該道路に沿って連続的に位置付けられる突出片6とを有しており、当該突出片6は、ブロック本体4の両側(車道側、歩道側)にそれぞれ設けられている。
なお、ブロック本体4の大きさ(例えば、立ち上げ高さ、全長や全幅など)や形状については、当該歩車道境界ブロック2の使用目的や使用環境に応じて設定されるため、ここでは特に限定しない。一方、車道側及び歩道側の各突出片6には、例えば雨水などをブロック本体4に沿って排水するための機能(例えば、当該各突出片6の表面6sに沿って排水させる機能)を持たせることが可能であると共に、当該各突出片6の大きさ(例えば、突出長さ、肉厚など)や形状については、歩車道境界ブロック2の使用目的や使用環境に応じて設定されるため、ここでは特に限定しない。
また、各突出片6の突出端には、道路の舗装構造(後述する表層14)が一部入り込んで係合することで、当該道路との位置関係を一定に維持させる係合部(即ち、車道側の係合部8a、歩道側の係合部8b)が設けられている。なお、道路の舗装構造としては、現場打ちされるアスファルト舗装やコンクリート舗装が想定され、例えば図3(a)及び図4(a)に示すように、路床10上に路盤12及び表層14を積層することで構築することができる。また、路床10は、道路を行き交う人や車の交通荷重から路盤12を介して伝達される分散荷重を十分に支持可能な土台として構成されている。
ここで、図2に示すように、係合部8a,8bは、双方の各突出片6において同一形状を成して構成されており、具体的には、各突出片6の表面6sのうちその突出端側において、当該突出端側表面6sを道路に沿って連続して窪ませた凹部P1と、当該凹部P1よりも道路側に位置し、当該道路に沿って連続して突設させた凸部P2とを備えて構成されている。なお、凹部P1は、各突出片6の突出端表面6sを当該突出片6の表面6sよりも窪ませて形成すればよく、その窪ませ深さや窪ませ形状について特に制限はない。例えば円弧状或いは矩形状などの形状に窪ませることができるが、図面には一例として、矩形状に窪ませた凹部P1が示されている。
この場合、凹部P1の輪郭形状は、プレキャスト構造物として歩車道境界ブロック2を型成形する際に、図示しない金型(中子)からスムーズに抜き取ることができるような形状(換言すると、アンダーカットの無い形状)に設定することが好ましい。このため、凹部P1において、その底面16の両側から立ち上げられた側面18は、当該底面16から末広がり状の僅かな勾配を成して構成されている。なお、同様に、上記したブロック本体4の輪郭形状も、アンダーカットの無い形状(換言すると、先細り形状)とすることが好ましい。
また、係合部8a,8bにおける各凸部P2は、上記した凹部P1から道路側に沿って連続させて突設されており、その突設量(高さ)は、突出片6の表面6sよりも低い位置(換言すると、突出片6の表面6sよりもTだけ引っ込んだ位置)に設定することが好ましい。そうすると、歩車道境界ブロック2の敷設作業に際し、上記した道路の舗装構造の一部(表層14)が凸部P2を超えて凹部P1に入り込んで係合した状態において、当該舗装構造(表層14)の表面と突出片6の表面6sとを同一平面上(面一)に位置付けることが可能となり(図3(a)及び図4(a)参照)、これにより、外観上の見映えを良好にすることできる。なお、係合部8a,8b(凸部P2)を突出片6の表面6sよりも引っ込める量(幅、距離)Tは、当該歩車道境界ブロック2の使用目的や使用環境に応じて設定するため、ここでは特に数値限定しない。
以上、第1実施形態によれば、図1及び図2に示すように、道路(車道、歩道)との境界に敷設される以前の当該歩車道境界ブロック2において、その表面(例えば、ブロック本体4の表面4s、各突出片6の表面6s)の清掃処理に際し、当該表面に付着していた異物(例えば、水や塵埃など)を、上記した係合部8a,8bの凹部P1に沿って効率よく集めて確実に除去することができる。
これにより、手間もかからず簡単かつ短時間に清掃処理を行うことが可能になり、その結果、当該清掃処理に要する人件費等のコストを低減させることができるため、その分だけ、当該歩車道境界ブロック2の敷設作業全体の低コスト化を図ることができる。
更に、上記した第1実施形態によれば、図3(a)に示すように、道路(車道、歩道)との境界に敷設された以後の当該歩車道境界ブロック2において、道路(車道、歩道)の舗装構造の一部(表層14)が凸部P2を超えて凹部P1に入り込んで係合することで、当該道路(車道、歩道)と歩車道境界ブロック2とを互いに隙間無く隣接した状態に維持させることができる。
具体的には、敷設作業において、歩車道の境界に沿って構築された盛土20上に沿って歩車道境界ブロック2を連設させた状態で、これに隣接して、道路(車道、歩道)となる領域に沿って路床10上に舗装構造(路盤12、表層14)を構築(施工)し、その一部(表層14)を係合部8a,8b(凹部P1、凸部P2)に係合させる。
これにより、歩車道境界ブロック2と道路(車道、歩道)との位置関係を常に一定に維持することができるため、歩車道境界ブロック2(突出片6)と、道路(車道、歩道)を構成する現場打ち舗装構造(表層14)との間を隙間無く隣接した状態に維持させることができる。この結果、道路(車道、歩道)との間に隙間が発生するのを完全に無くすることができるため、外観上の見映えを長期に亘って良好に保つことができると共に、人や車の往来に支障を来たす虞もない。
この場合、係合部8a,8b(凸部P2)を突出片6の表面6sよりもTだけ引っ込めたことで、歩車道境界ブロック2の敷設作業に際し、道路の舗装構造の一部(表層14)が凸部P2を超えて凹部P1に入り込んで係合した状態において、当該舗装構造(表層14)の表面と突出片6の表面6sとを同一平面上(面一)に位置付けることができる。これにより、道路と歩車道境界ブロック2とを段差無く滑らかに連続させることが可能となり、その結果、外観上の見映えを良好に保つことができると共に、人や車の往来に支障を来たす虞もない。
ここで、上記した第1実施形態では、ブロック本体4の両側(車道側、歩道側)にそれぞれ突出片6が設けられた歩車道境界ブロック2を想定して説明したが、これに限定されることはなく、例えば図4(a)に示すように、第2実施形態の境界ブロックとして、片側のみに突出片6が設けられた水路兼用路肩保護ブロック22にも、上記したような本発明の技術思想を適用することができる。
なお、第2実施形態の水路兼用路肩保護ブロック22は、その片側にのみ突出片6を設けた以外は、上記した第1実施形態の歩車道境界ブロック2と同様の構成を有しているため、当該第2実施形態では、第1実施形態の構成に付された参照符号を転用し、これを図4(a)中に付することで、その構成についての詳細な説明は省略する。
また、上記した第1及び第2実施形態の変形例に係る境界ブロック2として、図5に示すように、上記した係合部8a,8bにおいて、その凸部P2を一部切り欠いて凹部P1と連通させた連通部24をさらに備えて構成してもよい。なお、連通部24の大きさや形状は、例えば係合部8a,8b(凹部P1、凸部P2)の大きさや形状に対応して設定されるため、ここでは特に限定しないが、図面では一例として、矩形状の連通部24が示されている。また、図面には、係合部8a,8bの中央部分に1つの連通部24が示されているが、これに限定されることはなく、当該連通部24の位置や個数についても任意に設定することができる。例えば2個以上の連通部24を当該係合部8a,8bに沿って等間隔に形成してもよい。
このように、凸部P2を一部切り欠いて凹部P1と連通させた連通部24を当該係合部8a,8bに構成することで、道路との境界に敷設される以前の当該境界ブロック2において、その表面(例えば、ブロック本体4の表面4s、各突出片6の表面6s)の清掃処理に際し、当該表面に付着していた異物(例えば、水や塵埃など)を、上記した係合部8a,8bの凹部P1に沿って効率よく集めて、連通部24を介してスムーズかつ確実に除去することができる。これにより、境界ブロック2の清掃処理に要する人件費等のコストをさらに低減させることができるため、その分だけ、当該境界ブロック2の敷設作業全体のさらなる低コスト化を図ることができる。
なお、図5には一例として、ブロック本体4の両側(車道側、歩道側)にそれぞれ突出片6(係合部8a,8b)が設けられた歩車道境界ブロック2が示されているが、これに限定されることはなく、これに代えて、片側のみに突出片6(係合部8a)が設けられた水路兼用路肩保護ブロック22(図4参照)にも、上記した連通部24を構成することで同様の作用効果を実現することができることは言うまでもない。
ここで、図6に示すように、上記した各係合部8a,8bにおいて、その凹部P1を構成する底面16を、凸部P2側に向って下り勾配を成すように構成すると共に、その連通部24を構成する底面24sも、凹部P1の底面16から連続した下り勾配を成すように構成することが好ましい。この場合、各係合部8a,8bにおいて、凹部P1の底面16から連通部24の底面24sに連続する下り勾配、即ち、水平方向(水平面)Hに対する傾斜角度θは、例えば境界ブロック2の使用目的や使用環境、或いは、各係合部8a,8bの大きさや形状などに基づいて任意に設定することができるため、ここでは特に数値限定しない。
このような構成によれば、道路(車道、歩道)との境界に敷設される以前の当該境界ブロック2において、その表面(例えば、ブロック本体4の表面4s、各突出片6の表面6s)の清掃処理に際し、当該表面に付着していた異物(例えば、水や塵埃など)を、上記した係合部8a,8bの凹部P1に沿って効率よく集めて、連通部24を介してスムーズかつ確実に除去することができる。これにより、境界ブロック2の清掃処理のさらなる効率化を図ることができる。
また、図3(b)及び図4(b)に示すように、上記した第1及び第2実施形態並びにその変形例に係る境界ブロック2,22の構成としては、当該境界ブロック2,22の用途に応じて、道路との間に介在させることが可能なアタッチメント構造26を含めることができる。この場合、境界ブロック2,22の用途としては、当該境界ブロック2,22と道路(車道、歩道)との間に、例えば車両用防護柵(ガードレール)や自転車歩行者用防護柵などの各種の防護柵(図示しない)を設置する場合を想定することができる。
ここで、アタッチメント構造26としては、その一方側が突出片6の係合部8aに係合すると共に、その他方側に当該係合部8aと同一の係合部26aが設けられたコンクリート製のものを適用することが可能であり、これには、プレキャスト工法により予め所定形状に材料を固化させたもの、或いは、現場打ち工法により所定形状に材料を固化させたものの双方を含めることができる。
なお、当該アタッチメント構造26において、突出片6の係合部8aに係合させる一方側には、当該係合部8aの凸部P2を超えて凹部P1に入り込んで係合可能な付属係合片26bが設けられており、その係合状態において、当該付属係合片26bを含めたアタッチメント構造26は、その表面26sと突出片6の表面6sとが同一平面上(面一)に位置付けられ、これにより、外観上の見映えを良好に保つことができるように構成されている。
この場合、プレキャスト工法及び現場打ち工法のいずれの工法合の場合でも、道路(車道、歩道)との境界に沿って構築された盛土上に沿って境界ブロック2,22を連設させると共に、これと道路(車道、歩道)との間の路床上に、アタッチメント構造26を構築(施工)する。このとき、当該境界ブロック2,22の用途に応じて、例えば車両用防護柵(ガードレール)或いは自転車歩行者用防護柵などの各種の防護柵を設置する。
このとき、プレキャスト工法による設置方法では、例えば上記した防護柵設置用の設置構造(例えば、設置孔など)が形成されたアタッチメント構造26を用意し、これを境界ブロック2,22と道路(車道、歩道)との間の路床上に設置させた状態で、その設置構造によって上記した防護柵を設置させればよい。これに対して、現場打ち工法による設置方法では、例えば上記した防護柵を境界ブロック2,22と道路(車道、歩道)との間に位置決めさせた状態で、その路床上にコンクリートを現場打ち(打設)して当該アタッチメント構造26を構築(施工)させればよい。
そして、その一方側の付属係合片26bを突出片6の係合部8aに係合させた後、当該アタッチメント構造26の他方側に隣接して、道路(車道、歩道)となる領域に沿って路床上に舗装構造(路盤12、表層14)を構築(施工)し、その一部(表層14)を係合部26aに係合させることで、上記した防護柵を境界ブロック2,22と道路(車道、歩道)との間に設置することができる。
これによれば、上記したアタッチメント構造26を境界ブロック2,22の用途に応じて道路との間に介在させた場合でも、当該アタッチメント構造26が境界ブロック2,22と道路との双方に係合することで、当該境界ブロック2,22と道路(車道、歩道)との位置関係を常に一定に維持することができる。これにより、当該境界ブロック2,22(突出片6)と、道路(車道、歩道)を構成する現場打ち舗装構造(表層)との間を、当該アタッチメント構造26を介して、隙間無く隣接した状態に維持させることができる。この結果、道路(車道、歩道)との間に隙間が発生するのを完全に無くすることができるため、外観上の見映えを長期に亘って良好に保つことができると共に、人や車の往来に支障を来たす虞もない。
また、上記した第1及び第2実施形態並びにその変形例では(図1〜図6参照)、各係合部8a,8bの両端側を開放させた構成(換言すると、凹部P1及び凸部P2を各突出片6の両端側に亘って連続させた構成)の境界ブロック2,22を想定したが、これに代えて、例えば図7に示すように、各係合部8a,8bの両端側を閉塞させると共に、その閉塞部28直前の凸部P2を一部切り欠いて凹部P1と連通させた連通部24を備えた境界ブロック2,22としてもよい。なお、各係合部8a,8bの両端側の構成は互いに同一であるため、図7には、その中の1つの構成のみが示されている。
ここで、各係合部8a,8bの両端側の閉塞部28には、その係合部8a,8b(凹部P1、凸部P2)側に、互いに対向して立ち上げられた側壁面28sが設けられており、上記した連通部24は、かかる側壁面28sに隣接して構成配置されている。このような構成によれば、敷設前の境界ブロック2,22の表面に付着した異物(例えば、水や塵埃など)については、これを係合部8a,8bの凹部P1に沿って側壁面28sまで効率よく集めて、連通部24を介してスムーズかつ確実に除去することができる。更に、敷設後の境界ブロック2,22では、道路(車道、歩道)の舗装構造の一部(表層14)が凸部P2を超えて凹部P1に入り込んで係合することで、当該道路(車道、歩道)と歩車道境界ブロック2とを互いに隙間無く隣接した状態に維持させることができる。
また、各係合部8a,8bの両端側の閉塞部28には、道路との境界に沿って敷設させた境界ブロック2,22相互を連結するための連結機構が設けられている。図7には一例として、平坦状の連結面30aと、連結面30aに形成された連結穴30bとを備えた連結機構が示されている。この場合、例えば、隣り合う境界ブロック2,22の連結面30a相互に亘って連結部材(図示しない)を介在させた状態で、当該連結部材に貫通形成された貫通孔(図示しない)を通して各連結穴30bに連結シャフト(図示しない)を挿入するだけで、複数の境界ブロック2,22を道路との境界に沿って高精度に位置決めしつつ敷設するができる。
2 境界ブロック(歩車道境界ブロック)
4 ブロック本体
4s ブロック本体の表面
6 突出片
6s 突出片の表面
8a,8b 係合部
P1 凹部
P2 凸部

Claims (5)

  1. 所定の舗装構造によって構築される道路との境界に沿って配設される境界ブロックであって、
    道路との境界に沿って連続して立ち上げられた状態に位置付けられるブロック本体と、
    ブロック本体の一部を道路に向けて突出させて構成され、当該道路に沿って連続的に位置付けられる突出片とを有し、
    突出片の突出端には、道路の舗装構造が一部入り込んで係合することで、当該道路との位置関係を一定に維持させる係合部が設けられていると共に、
    係合部は、道路に沿って連続して窪ませた凹部と、当該凹部よりも道路側に位置し、当該道路に沿って連続して突設させた凸部とを備えて構成されており、
    道路との境界に敷設される以前の当該境界ブロックにおいて、その表面に付着した異物は、当該表面の清掃処理に際し、係合部の凹部に沿って集めて除去することが可能であると共に、
    道路との境界に敷設された以後の当該境界ブロックにおいて、道路の舗装構造の一部が凸部を超えて凹部に入り込んで係合することで、当該道路と境界ブロックとを互いに隙間無く隣接した状態に維持させることが可能であることを特徴とする境界ブロック。
  2. 係合部は、凸部を一部切り欠いて凹部と連通させた連通部をさらに備えて構成されており、
    道路との境界に敷設される以前の当該境界ブロックにおいて、その表面に付着した異物は、当該表面の清掃処理に際し、係合部の凹部に沿って集められ、連通部を介して除去することが可能であることを特徴とする請求項1に記載の境界ブロック。
  3. 係合部において、その凹部を構成する底面は、凸部側に向って下り勾配を成して構成されており、
    道路との境界に敷設される以前の当該境界ブロックにおいて、その表面の清掃処理に際し、係合部の凹部に沿って集められた異物は、当該凹部の底面に沿って自由落下し、連通部を介して除去されることを特徴とする請求項2に記載の境界ブロック。
  4. 係合部において、その連通部を構成する底面は、凹部の底面から連続した下り勾配を成して構成されていることを特徴とする請求項3に記載の境界ブロック。
  5. 境界ブロックの構成としては、当該境界ブロックの用途に応じて道路との間に介在させることが可能であって、かつ、一方側が突出片の係合部に係合すると共に、他方側に当該係合部と同一の係合部が設けられたアタッチメント構造をさらに備えており、
    当該アタッチメント構造としては、プレキャスト工法により予め所定形状に材料を固化させたもの、或いは、現場打ち工法により所定形状に材料を固化させたものの双方が含まれることを特徴とする請求項1〜4のいずれかに記載の境界ブロック。
JP2013045482A 2013-03-07 2013-03-07 境界ブロック Active JP5893577B2 (ja)

Priority Applications (1)

Application Number Priority Date Filing Date Title
JP2013045482A JP5893577B2 (ja) 2013-03-07 2013-03-07 境界ブロック

Applications Claiming Priority (1)

Application Number Priority Date Filing Date Title
JP2013045482A JP5893577B2 (ja) 2013-03-07 2013-03-07 境界ブロック

Related Child Applications (1)

Application Number Title Priority Date Filing Date
JP2015223640A Division JP6144319B2 (ja) 2015-11-16 2015-11-16 境界ブロック

Publications (2)

Publication Number Publication Date
JP2014173291A true JP2014173291A (ja) 2014-09-22
JP5893577B2 JP5893577B2 (ja) 2016-03-23

Family

ID=51694826

Family Applications (1)

Application Number Title Priority Date Filing Date
JP2013045482A Active JP5893577B2 (ja) 2013-03-07 2013-03-07 境界ブロック

Country Status (1)

Country Link
JP (1) JP5893577B2 (ja)

Cited By (2)

* Cited by examiner, † Cited by third party
Publication number Priority date Publication date Assignee Title
JP2017031780A (ja) * 2015-07-28 2017-02-09 正剛 大嶋 エプロンにアスファルト舗装するプレキャストコンクリート街渠用l形ブロック
JP2018003353A (ja) * 2016-06-29 2018-01-11 株式会社ニッコン 歩車道境界ブロック

Citations (13)

* Cited by examiner, † Cited by third party
Publication number Priority date Publication date Assignee Title
JPS56107075U (ja) * 1980-01-18 1981-08-20
JPS6140405U (ja) * 1984-08-20 1986-03-14 三井鋼材産業株式会社 縁石
JPH0348080U (ja) * 1989-09-14 1991-05-08
JPH0712503U (ja) * 1993-08-04 1995-03-03 揖斐川コンクリート工業株式会社 縁石用コンクリートブロック
JPH07243748A (ja) * 1994-03-04 1995-09-19 Hoshizaki Electric Co Ltd 冷蔵庫等における冷凍機構の配設構造
JPH08113906A (ja) * 1994-10-13 1996-05-07 Yutaka Matsumoto コンクリートブロックとコンクリート壁およびコンクリート壁の製造のための部材
JP3024381U (ja) * 1995-11-07 1996-05-21 浩 大野 縁 石
JPH1037115A (ja) * 1996-07-22 1998-02-10 Minami:Kk 草止めエプロンブロック
JPH1113199A (ja) * 1997-06-24 1999-01-19 Hetsugi Doboku Riyokuchi Kensetsu Kk コンクリート境界ブロック
JP2006152623A (ja) * 2004-11-26 2006-06-15 Sekisui Chem Co Ltd 床の集塵装置
JP2007291825A (ja) * 2005-09-26 2007-11-08 Shigeru Ishikawa 構造物の目地の構造
JP2009285637A (ja) * 2008-05-31 2009-12-10 Masaru Okuno 塗装ブース
JP3181117U (ja) * 2012-11-09 2013-01-24 松岡コンクリート工業株式会社 コンクリート製ブロック

Patent Citations (13)

* Cited by examiner, † Cited by third party
Publication number Priority date Publication date Assignee Title
JPS56107075U (ja) * 1980-01-18 1981-08-20
JPS6140405U (ja) * 1984-08-20 1986-03-14 三井鋼材産業株式会社 縁石
JPH0348080U (ja) * 1989-09-14 1991-05-08
JPH0712503U (ja) * 1993-08-04 1995-03-03 揖斐川コンクリート工業株式会社 縁石用コンクリートブロック
JPH07243748A (ja) * 1994-03-04 1995-09-19 Hoshizaki Electric Co Ltd 冷蔵庫等における冷凍機構の配設構造
JPH08113906A (ja) * 1994-10-13 1996-05-07 Yutaka Matsumoto コンクリートブロックとコンクリート壁およびコンクリート壁の製造のための部材
JP3024381U (ja) * 1995-11-07 1996-05-21 浩 大野 縁 石
JPH1037115A (ja) * 1996-07-22 1998-02-10 Minami:Kk 草止めエプロンブロック
JPH1113199A (ja) * 1997-06-24 1999-01-19 Hetsugi Doboku Riyokuchi Kensetsu Kk コンクリート境界ブロック
JP2006152623A (ja) * 2004-11-26 2006-06-15 Sekisui Chem Co Ltd 床の集塵装置
JP2007291825A (ja) * 2005-09-26 2007-11-08 Shigeru Ishikawa 構造物の目地の構造
JP2009285637A (ja) * 2008-05-31 2009-12-10 Masaru Okuno 塗装ブース
JP3181117U (ja) * 2012-11-09 2013-01-24 松岡コンクリート工業株式会社 コンクリート製ブロック

Cited By (2)

* Cited by examiner, † Cited by third party
Publication number Priority date Publication date Assignee Title
JP2017031780A (ja) * 2015-07-28 2017-02-09 正剛 大嶋 エプロンにアスファルト舗装するプレキャストコンクリート街渠用l形ブロック
JP2018003353A (ja) * 2016-06-29 2018-01-11 株式会社ニッコン 歩車道境界ブロック

Also Published As

Publication number Publication date
JP5893577B2 (ja) 2016-03-23

Similar Documents

Publication Publication Date Title
JP2014066057A (ja) 舗装道路用側溝
JP6074378B2 (ja) 伸縮装置の取替え方法と仮設覆工版構造
JP5893577B2 (ja) 境界ブロック
JP6144319B2 (ja) 境界ブロック
KR101047930B1 (ko) 도로용 블록의 시공구조 및 도로용 블록의 시공방법
JP2011106208A (ja) 平板ブロック及び平板ブロック用枠体
JP5370634B2 (ja) 音響道路の施工方法
JP2518390Y2 (ja) 張出歩道ブロック及びそれを用いた張出歩道構造
KR100981323B1 (ko) 프리캐스트 블록 및 이를 이용하는 프리캐스트 구조물
JP3173280U (ja) 道路境界部の防草構造
JP6758840B2 (ja) 縁石一体型側溝ブロックおよびその製造方法
JP5318257B1 (ja) コンクリート製張出歩道構成体及び該構成体を用いた張出歩道を有する車道の建設方法
JP4020918B2 (ja) 桁橋の架橋構造
KR100723646B1 (ko) 옹벽격자블록
JP3022195U (ja) 排水路合設歩車道境界ブロック
JP2014134018A (ja) 歩車道境界用縁石ブロック
JP3112511U (ja) 道路仮復旧用敷設ブロックマット
JP7522404B1 (ja) 防草構造及び防草用部材
JP5176201B2 (ja) 透水性ブロック舗装用枠体
KR200212558Y1 (ko) 인터록킹형 도로 경계블록
JPH0444702Y2 (ja)
KR200248495Y1 (ko) 차도 인도 경계석
KR101025496B1 (ko) 블록형 아스팔트
JP3066227U (ja) コンクリ―ト製排水溝ブロックの蓋
KR101569066B1 (ko) 프리캐스트 연석모듈 제작방법

Legal Events

Date Code Title Description
A621 Written request for application examination

Free format text: JAPANESE INTERMEDIATE CODE: A621

Effective date: 20150129

A871 Explanation of circumstances concerning accelerated examination

Free format text: JAPANESE INTERMEDIATE CODE: A871

Effective date: 20150714

A975 Report on accelerated examination

Free format text: JAPANESE INTERMEDIATE CODE: A971005

Effective date: 20150903

A131 Notification of reasons for refusal

Free format text: JAPANESE INTERMEDIATE CODE: A131

Effective date: 20150915

RD02 Notification of acceptance of power of attorney

Free format text: JAPANESE INTERMEDIATE CODE: A7422

Effective date: 20150918

A521 Request for written amendment filed

Free format text: JAPANESE INTERMEDIATE CODE: A523

Effective date: 20151116

TRDD Decision of grant or rejection written
A01 Written decision to grant a patent or to grant a registration (utility model)

Free format text: JAPANESE INTERMEDIATE CODE: A01

Effective date: 20160126

A61 First payment of annual fees (during grant procedure)

Free format text: JAPANESE INTERMEDIATE CODE: A61

Effective date: 20160224

R150 Certificate of patent or registration of utility model

Ref document number: 5893577

Country of ref document: JP

Free format text: JAPANESE INTERMEDIATE CODE: R150

R250 Receipt of annual fees

Free format text: JAPANESE INTERMEDIATE CODE: R250

R250 Receipt of annual fees

Free format text: JAPANESE INTERMEDIATE CODE: R250

R250 Receipt of annual fees

Free format text: JAPANESE INTERMEDIATE CODE: R250

R250 Receipt of annual fees

Free format text: JAPANESE INTERMEDIATE CODE: R250

R250 Receipt of annual fees

Free format text: JAPANESE INTERMEDIATE CODE: R250

S111 Request for change of ownership or part of ownership

Free format text: JAPANESE INTERMEDIATE CODE: R313117

R360 Written notification for declining of transfer of rights

Free format text: JAPANESE INTERMEDIATE CODE: R360

R360 Written notification for declining of transfer of rights

Free format text: JAPANESE INTERMEDIATE CODE: R360

R371 Transfer withdrawn

Free format text: JAPANESE INTERMEDIATE CODE: R371

S111 Request for change of ownership or part of ownership

Free format text: JAPANESE INTERMEDIATE CODE: R313117

S531 Written request for registration of change of domicile

Free format text: JAPANESE INTERMEDIATE CODE: R313531

R350 Written notification of registration of transfer

Free format text: JAPANESE INTERMEDIATE CODE: R350

R250 Receipt of annual fees

Free format text: JAPANESE INTERMEDIATE CODE: R250

R250 Receipt of annual fees

Free format text: JAPANESE INTERMEDIATE CODE: R250

R250 Receipt of annual fees

Free format text: JAPANESE INTERMEDIATE CODE: R250