JP2014123772A - パッケージ基板 - Google Patents

パッケージ基板 Download PDF

Info

Publication number
JP2014123772A
JP2014123772A JP2014053501A JP2014053501A JP2014123772A JP 2014123772 A JP2014123772 A JP 2014123772A JP 2014053501 A JP2014053501 A JP 2014053501A JP 2014053501 A JP2014053501 A JP 2014053501A JP 2014123772 A JP2014123772 A JP 2014123772A
Authority
JP
Japan
Prior art keywords
layer
package substrate
electrical contact
core layer
thickness
Prior art date
Legal status (The legal status is an assumption and is not a legal conclusion. Google has not performed a legal analysis and makes no representation as to the accuracy of the status listed.)
Granted
Application number
JP2014053501A
Other languages
English (en)
Other versions
JP6000297B2 (ja
JP2014123772A5 (ja
Inventor
Lee-Sheng Yan
立盛 顔
Dao Zi Wang
道子 王
Current Assignee (The listed assignees may be inaccurate. Google has not performed a legal analysis and makes no representation or warranty as to the accuracy of the list.)
Advance Materials Corp
Original Assignee
Advance Materials Corp
Priority date (The priority date is an assumption and is not a legal conclusion. Google has not performed a legal analysis and makes no representation as to the accuracy of the date listed.)
Filing date
Publication date
Application filed by Advance Materials Corp filed Critical Advance Materials Corp
Priority to JP2014053501A priority Critical patent/JP6000297B2/ja
Publication of JP2014123772A publication Critical patent/JP2014123772A/ja
Publication of JP2014123772A5 publication Critical patent/JP2014123772A5/ja
Application granted granted Critical
Publication of JP6000297B2 publication Critical patent/JP6000297B2/ja
Expired - Fee Related legal-status Critical Current
Anticipated expiration legal-status Critical

Links

Images

Landscapes

  • Structure Of Printed Boards (AREA)

Abstract

【課題】製品の小型化及び信頼性の要求を同時に満たすことができるパッケージ基板を提供する。
【解決手段】パッケージ基板2は、対向する2つの表面20a,20bを有するコア層20と、前記コア層20の2つの表面20a,20bに設けられた2つの回路層23a,23bと、前記コア層20に設けられた複数の導電ビア24と、前記コア層20の2つの表面20a,20b及び2つの回路層23a,23bに設けられた2つの絶縁保護層25a,25bと、前記コア層20のいずれか一方の表面20aの絶縁保護層25aに結合された搭載部材27とを備える。前記パッケージ基板2の一方の側に搭載部材27が結合されることにより、運送時又はパッケージング時に厚さが薄すぎることによる破損が回避される。
【選択図】 図2I

Description

本発明は、パッケージ基板に関し、特に製品の薄型化に有利であるパッケージ基板に関するものである。
電子産業の盛んな発展に伴い、電子製品は、多機能化、高性能化の方向へ進んでいる。半導体パッケージの小型化(miniaturization)のパッケージ需要を満たすために、チップ搭載用パッケージ基板の厚さの低減に向けた発展を見せている。現在、チップ搭載用のパッケージ基板には硬質材及び軟質材があり、一般に、ボールグリッドアレイ(Ball Grid Array, BGA)に用いられるパッケージ基板においては、硬質材が選択される。
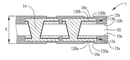
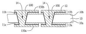
図1Aないし図1Cは、従来の2層回路のパッケージ基板1の製造方法の断面模式図を示す。
まず、図1Aに示すようなコア層10を2つ用意するが、このコア層10は、対向する第1の表面10a及び第2の表面10bを有し、前記第1の表面10a及び第2の表面10bに第1の金属層11a及び第2の金属層11bがそれぞれ設けられており、前記第1及び第2の表面10a、10bに連通される複数の貫通孔100を有する。
図1Bに示すように、コア層10の第1及び第2の表面10a、10bに第1及び第2の回路層13a、13bを第1及び第2の金属層11a、11bにより(導電層12による金属電気めっきを用いて)それぞれ形成するようにパターニング工程を行うとともに、複数の第1及び第2の電気接触パッド130a、130bを有する第1及び第2の回路層13a、13bに電気的に接続するように、上記の貫通孔100に導電ビア14を形成する。
図1Cに示すように、第1及び第2の電気接触パッド130a、130bが第1及び第2の開口150a、150bに露出されるように、コア層10の第1及び第2の表面10a、10bに、複数の第1及び第2の開口150a、150bを有する第1及び第2の絶縁保護層15a、15bをそれぞれ形成する。次に、上記の第1及び第2の電気接続パッド130a、130bの露出表面に第1及び第2の表面処理層16a、16bをそれぞれ形成する。
後続の工程において、第2の保護層15bにチップを搭載しパッケージング工程を行うことにより、パッケージ構造の製造が完了する。小型化及び信頼性の要求を満たすために、現在の製造工程技術において、パッケージ基板1の厚さSは、150μmまで小さくすることが可能である。
しかしながら、小型化の要求の高まりに伴い、厚さが150μmであるパッケージ基板1は、現在パッケージの小型化の要求を満たすことができなくなっている。その一方、パッケージ基板1の厚さSを150μmよりも小さくすると、パッケージ基板1が運送時又はパッケージング時に厚さが薄すぎることによって破損しやすくなるため、使用不可又は製品不良となることもある。
従って、上述の従来技術では製品の小型化及び信頼性の要求を同時に満たすことができないという技術のボトルネックをいかにして克服するかが、現在解決すべき極めて重要な課題となっている。
上記の課題を解決するために、本発明は、いずれか一方の側に接着層により結合される搭載部材を含むことを特徴とするパッケージ基板を提供する。
また、本発明は、対向する2つの表面を有し、それらの2つの表面に第1の金属層及び第2の金属層をそれぞれ設け、前記第1の金属層を貫通する貫通孔を有し、前記第2の金属層が前記貫通孔に露出するコア層を2つ用意する工程と、前記第2の金属層を接着部材で結合することにより前記2つのコア層を接続する工程と、前記第1の金属層により第1の電気接触パッドを有する第1の回路層を形成するとともに、前記貫通孔に前記第1の回路層に電気的に接続されるように導電ビアを形成する工程と、前記第1の表面及び第1の回路層に第1の絶縁保護層を形成するとともに前記第1の電気接触パッドを露出させることで、前記第1の電気接触パッドの露出表面に第1の表面処理層を形成する工程と、前記第1の絶縁保護層に搭載部材を接着層により結合する工程と、前記接着部材を除去することにより、2つの基板本体を分離させる工程と、前記第2の金属層により第2の電気接触パッドを有する第2の回路層を形成するとともに、前記第2の回路層を前記導電ビアに電気的に接続させる工程と、前記第2の表面及び第2の回路層に第2の絶縁保護層を形成するとともに前記第2の電気接触パッドを露出させることで、前記第2の電気接触パッドの露出表面に第2の表面処理層を形成することにより2つのパッケージ基板を形成する工程と、を備えることを特徴とするパッケージ基板の製造方法をも提供する。
上述した製造方法によれば、第2の回路層を形成する前に、2つの基板本体の搭載部材を結合部材により互いに積層させることができる。
前述したパッケージ基板及びその製造方法において、前記接着層の材質は、スーパーグルー又は離型剤であり、前記搭載部材の材質は、耐高温材であってもよい。
また、前記パッケージ基板の厚さから前記搭載部材の厚さを減算した値は、150μmよりも小さいことが好ましい。
上記のように、本発明に係るパッケージ基板によれば、パッケージ基板の第1の絶縁保護層に搭載部材を結合させることにより、運送時又はパッケージング時に厚さが薄すぎることによる破損を回避することができる。さらに、パッケージング後に搭載部材を除去した場合、パッケージ基板の厚さが150μmよりも小さくなるため、従来の技術に比して、パッケージ構造全体の厚みを低減させることができる。従って、本発明に係るパッケージ基板により製品の小型化及び信頼性の要求を同時に満たすことができる。
図1Aは従来の2層回路のパッケージ基板の製造方法の最初の工程を示す断面模式図である。 図1Bは従来の製造方法の図1Aの工程に続く工程を示す断面模式図である。 図1Cは従来の製造方法の図1Bの工程に続く工程を示す断面模式図である。 図2Aないし図2Iは本発明に係るパッケージ基板の製造方法を示す断面模式図であり、図2Aはパッケージ基板の製造方法の最初の工程を示す。 図2Bはパッケージ基板の製造方法の図2Aの工程に続く工程を示す断面模式図である。 図2Cはパッケージ基板の製造方法の図2Bの工程に続く工程を示す断面模式図である。 図2Dはパッケージ基板の製造方法の図2Cの工程に続く工程を示す断面模式図である。 図2Eはパッケージ基板の製造方法の図2Dの工程に続く工程を示す断面模式図である。 図2F(a)はパッケージ基板の製造方法の図2Eの工程に続く工程を示す断面模式図であり、図2F(b)は他の実施態様を示す断面模式図である。 図2Gはパッケージ基板の製造方法の図2Fの工程に続く工程を示す断面模式図である。 図2Hはパッケージ基板の製造方法の図2Gの工程に続く工程を示す断面模式図である。 図2Iはパッケージ基板の製造方法の図2Hの工程に続く工程を示す断面模式図である。 図3Aないし図3Cは本発明に係るパッケージ基板の製造方法の他の実施例を示す断面模式図であり、図3Aは図2Eの工程で分離された基板本体を示す。 本発明の製造方法の他の実施例の図3Aの基板本体に施す工程を示す断面模式図である。 本発明の製造方法の他の実施例の図3Bの工程に続く工程を示す断面模式図である。
以下、具体的な実施例を用いて本発明の実施形態を説明する。この技術分野に精通した者は、本明細書の記載内容によって容易に本発明のその他の利点や効果を理解できるであろう。
ここで、明細書に添付された図面に記載される構造、比例、寸法等は、この技芸に精通する者がより容易に理解できるように明細書に記載の内容に合わせて開示するためのものに過ぎず、本発明の実施を限定するものではなく、実質的に技術的な意味がない、いかなる構造の修正、比例関係の変更又は寸法の調整も、本発明から生じうる効果及び達成しうる目的に影響を及ぼすものでなければ、本発明に記載の技術内容の範囲内に含まれる。また、本明細書に記載の「第1(の)」、「第2(の)」等の用語は、説明の明瞭化のために用いられるものであり、本発明の実施可能な範囲を限定するものではなく、その相対関係の変更又は調整は、実質的な技術内容の変更がなければ、本発明の実施可能な範囲に属することは言うまでもない。
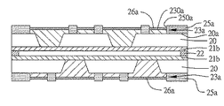
図2Aないし図2Iは、本発明に係るパッケージ基板2の製造方法の断面模式図を示す。
図2Aに示すように、対向する(すなわち、コア層20の両側に位置する)第1の表面20a及び第2の表面20bを有し、第1及び第2の表面20a、20bに第1の金属層21a及び第2の金属層21bをそれぞれ設けるとともに、第1の表面20aに第1の金属層21aを貫通する複数の貫通孔200を設けることで、第2の金属層21bがそれらの貫通孔200に露出されるようにするコア層20を2つ用意する。
次に、これらのコア層20の第2の金属層21bどうしを複数の接着部材22により結合することにより2つのコア層20が積層される。
前記コア層20は、例えば、ビスマレイミドトリアジン(Bismaleimide-Triazine, BT)の有機重合材料であってもよく、プリプレグ(prepreg)のような誘電材であってもよく、コア層20の厚さは60μmよりも小さく、第1及び第2の金属層21a、21bは銅であり、接着部材22はペーストブロックであってもよい。
本発明に係るコア層20の厚さは、60μmよりも小さいが、2つのコア層20の積層により、パッケージ基板の製造時に全体の厚さが増加し、パッケージ基板の製造工程に用いられる従来の設備を使用することができるため、製造コストを低減することができる。
図2Bに示すように、コア層20の第1の表面20aに第1の回路層23aを第1の金属層21aにより形成するようにパターニング工程を行うことともに、複数の第1の電気接触パッド230aを有する第1の回路層23aに電気的に接続するように貫通孔200に導電ビア24を形成する。
回路製造工程は、多種多様であるため、特に制限されるものではなく、しかも、本発明の技術特徴ではないため、ここでは詳しい説明を省略する。
図2Cに示すように、コア層20の第1の表面20a及び第1の回路層23aに、前記複数の第1の電気接触パッド230aが露出される複数の第1の開口250aを有する第1の絶縁保護層25aを形成する。その他の実施例においては、第1の絶縁保護層25aの表面高さを低減させ、第1の電気接触パッド230aの高さを第1の絶縁保護層25aの表面高さに等しく又はそれよりも高くすることにより、前記複数の第1の電気接触パッド230aが露出されるようにしてもよい。
次に、前記複数の第1の開口250aにおける第1の電気接触パッド230aに第1の表面処理層26aを形成する。
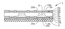
図2Dに示すように、第1の絶縁保護層25aに搭載部材27を接着層270により結合させる。この実施例において、接着層270の材質は、例えば、スーパーグルー、離型剤等であり、搭載部材27の材質は、耐高温材、例えば銅張積層板(Copper clad laminate, CCL)である。
図2Eに示すように、前記複数の接着部材22を除去することにより2つの基板本体2aを分離させる。
図2F(a)又は図2F(b)に示すように、2つの基板本体2aの搭載部材27を結合部材28、28’により互いに積層させることにより第2の金属層21bを露出させる。この実施例において、この結合部材28、28’は、接着バンプ(図2F(b)に示す)又はペースト層(図2F(a)に示す)であってもよい。
図2Gに示すように、図2Fの製造工程に続いて、第2の金属層21bにより、導電ビア24に電気的に接続され複数の第2の電気接触パッド230bを有する第2の回路層23bを形成する。
図2Hに示すように、コア層20の第2の表面20b及び第2の回路層23bに、前記複数の第2の電気接触パッド230bが露出される複数の第2の開口250bを有する第2の絶縁保護層25bを形成することで、2つのパッケージ基板2が形成される。
次に、前記複数の第2の電気接触パッド230bの露出表面に、第2の表面処理層26bを形成する。
その他の実施例において、第2の絶縁保護層25bの表面高さを低減させ、第2の電気接触パッド230bの高さを第2の絶縁保護層25bの表面高さに等しく又はそれよりも高くすることにより、前記複数の第2の電気接触パッド230bを露出させてもよい。
図2Iに示すように、結合部材28を除去することにより2つのパッケージ基板2を分離させ、パッケージ基板2の厚さLから搭載部材27(接着層270は、厚さが極めて薄いため、考慮に入れなくてもよい)の厚さdを減じた厚さhは、150μmよりも小さい。また、搭載部材27の厚さdについては必要に応じて変化させてもよいため、特に制限されるものではない。
図3Aないし図3Cは、本発明に係るパッケージ基板2の製造方法の他の実施例の断面模式図を示す。
図3Aは、図2Eの製造工程において、前記複数の接着部材22を除去することにより分離させた2つの基板本体2aの1つを示す。
図3Bに示すように、2つの基板本体2aを積層させるのではなく、第2の金属層21bによって、導電ビア24に電気的に接続され複数の第2の電気接触パッド230bを有する第2の回路層23bを直接形成する。
図3Cに示すように、コア層20の第2の表面20b及び第2の回路層23bに、第2の電気接触パッド230bが露出される複数の第2の開口250bを有する第2の絶縁保護層25bを形成することで、パッケージ基板2が形成される。
次に、第2の電気接触パッド230bの露出表面に、第2の表面処理層26bを形成し、パッケージ基板2の厚さLから搭載部材27(接着層270は、厚さが極めて薄いため、考慮に入れなくてもよい)の厚さdを減じた厚さhは、150μmよりも小さい。
一般に、厚さが150μmよりも小さい基板を製造しようとする場合は、新しい製造工程設備を改めて配置する必要があるため、製造コストが増加する。本発明に係るパッケージ基板2では、搭載部材27を除いた残りの厚さhが150μmよりも小さいが、搭載部材27の厚さdによりパッケージ基板2を製造した場合、その全体の厚さLが150μmに等しく又はそれよりも大きくなるため、パッケージ基板製造工程に用いられる従来の設備を使用することができ、製造コストが増加することはない。
さらに、本発明に係るパッケージ基板2では、後続の製造工程において、第2の絶縁保護層25bにチップを搭載し(図示せず)パッケージング工程を行ってから搭載部材27を除去することでパッケージ構造の製造が完了する。従って、パッケージ基板2の厚さLから搭載部材27の厚さdを減じてなる残りの厚さhは、150μmよりも小さく、パッケージ構造全体の厚さが低減される。そのため、従来の技術に比して、本発明は、パッケージ基板2の厚さを必要に応じて150μmよりも小さくすることにより、小型化の要求を満たすことができる。
また、パッケージ製造工程の前後に、パッケージ基板2が搭載部材27を有することで、パッケージ全体の強度が向上するため、従来の技術に比して、本発明に係るパッケージ基板2は、運送時又はパッケージング時に破損することがない。
また、例えば2つのコア層20又は2つの基板本体2aを積層することにより、2ロット分の基板量を同時に製造することができ、スループットが向上する。
また、本発明に係るパッケージ基板2は、対向する第1の表面20a及び第2の表面20bを有するコア層20と、コア層20の第1の表面20aに設けられた第1の回路層23aと、コア層20の第2の表面20bに設けられた第2の回路層23bと、コア層20に設けられた複数の導電ビア24と、コア層20の第1の表面20a及び第1の回路層23aに設けられた第1の絶縁保護層25aと、コア層20の第2の表面20b及び第2の回路層23bに設けられた第2の絶縁保護層25bと、第1の絶縁保護層25aに結合された搭載部材27とを備える。
第1の回路層23aは複数の第1の電気接触パッド230aを有し、第2の回路層23bは複数の第2の電気接触パッド230bを有し、導電ビア24は第1及び第2の回路層23a、23bに電気的に接続される。
第1の絶縁保護層25aは、前記複数の第1の電気接触パッド230aが露出される複数の第1の開口250aを有し、これらの第1の開口250aにおける第1の電気接触パッド230aに第1の表面処理層26aを形成する。
第2の絶縁保護層25bは、前記複数の第2の電気接触パッド230bが露出される複数の第2の開口250bを有し、これらの第2の開口250bにおける第2の電気接触パッド230bに第2の表面処理層26bを形成する。
搭載部材27は、前記複数の第1の電気接触パッド230a及び第1の絶縁保護層25aに接着層270により結合される。この実施例において、接着層270の材質はスーパーグルー又は離型剤であり、搭載部材27の材質は耐高温材である。
また、パッケージ基板2の厚さLから搭載部材27の厚さdを減じてなる残りの厚さhは、150μmよりも小さい。
上述のように、本発明に係るパッケージ基板及びその製造方法は、主にパッケージ基板の第1の絶縁保護層に搭載部材を結合することによりパッケージ基板全体の強度を向上させ、運送時又はパッケージング時による破損を効果的に防止することができる。
さらに、パッケージング後に搭載部材を除去する場合、パッケージ基板の厚さが150μmよりも小さいため、パッケージ構造全体の厚さが低減され、製品の小型化及び信頼性の要求を同時に満たすことができる。
上記のように、これらの実施形態は本発明の原理及び効果を例示的に説明するものに過ぎず、本発明は、これらによって限定されるものではない。本発明は、この技術分野に精通した者により本発明の主旨を逸脱しない範囲で種々に修正や変更されることが可能であり、そうした修正や変更は、本発明の特許請求の範囲に入るものである。
1、2 パッケージ基板
10、20 コア層
10a、20a 第1の表面
10b、20b 第2の表面
100、200 貫通孔
11a、21a 第1の金属層
11b、21b 第2の金属層
12 導電層
13a、23a 第1の回路層
13b、23b 第2の回路層
130a、230a 第1の電気接触パッド
130b、230b 第2の電気接触パッド
14、24 導電ビア
15a、25a 第1の絶縁保護層
15b、25b 第2の絶縁保護層
150a、250a 第1の開口
150b、250b 第2の開口
16a、26a 第1の表面処理層
16b、26b 第2の表面処理層
2a 基板本体
22 接着部材
27 搭載部材
270 接着層
28 結合部材
L、d、S 厚さ
h 残りの厚さ

Claims (2)

  1. 対向する第1の表面及び第2の表面を有するコア層と、
    前記コア層の前記第1の表面に設けられ、第1の電気接触パッドを有する第1の回路層と、
    前記コア層の前記第2の表面に設けられ、第2の電気接触パッドを有する第2の回路層と、
    前記コア層に設けられ、前記第1及び第2の回路層に電気的に接続される導電ビアと、
    前記コア層の前記第1の表面及び前記第1の回路層に設けられ、前記第1の電気接触パッドが露出される第1の絶縁保護層と、
    前記第1の電気接触パッドの露出表面に形成される第1の表面処理層と、
    前記コア層の前記第2の表面及び前記第2の回路層に設けられ、前記第2の電気接触パッドが露出される第2の絶縁保護層と、
    前記第2の電気接触パッドの露出表面に形成される第2の表面処理層と、
    前記第1の絶縁保護層に接着層により結合される搭載部材と、
    を備えることを特徴とするパッケージ基板。
  2. 前記接着層の材質は、スーパーグルー又は離型剤であることを特徴とする請求項1に記載のパッケージ基板。
JP2014053501A 2014-03-17 2014-03-17 パッケージ基板 Expired - Fee Related JP6000297B2 (ja)

Priority Applications (1)

Application Number Priority Date Filing Date Title
JP2014053501A JP6000297B2 (ja) 2014-03-17 2014-03-17 パッケージ基板

Applications Claiming Priority (1)

Application Number Priority Date Filing Date Title
JP2014053501A JP6000297B2 (ja) 2014-03-17 2014-03-17 パッケージ基板

Related Parent Applications (1)

Application Number Title Priority Date Filing Date
JP2011276005A Division JP5536748B2 (ja) 2011-12-16 2011-12-16 パッケージ基板の製造方法

Publications (3)

Publication Number Publication Date
JP2014123772A true JP2014123772A (ja) 2014-07-03
JP2014123772A5 JP2014123772A5 (ja) 2014-12-04
JP6000297B2 JP6000297B2 (ja) 2016-09-28

Family

ID=51403966

Family Applications (1)

Application Number Title Priority Date Filing Date
JP2014053501A Expired - Fee Related JP6000297B2 (ja) 2014-03-17 2014-03-17 パッケージ基板

Country Status (1)

Country Link
JP (1) JP6000297B2 (ja)

Citations (6)

* Cited by examiner, † Cited by third party
Publication number Priority date Publication date Assignee Title
JP2003324276A (ja) * 2002-04-30 2003-11-14 Ngk Spark Plug Co Ltd 配線基板の製造方法
JP2004140254A (ja) * 2002-10-18 2004-05-13 Toray Ind Inc 多層回路基板用部材および多層回路基板の製造方法
JP2009212140A (ja) * 2008-02-29 2009-09-17 Shinko Electric Ind Co Ltd 配線基板の製造方法及び半導体パッケージの製造方法
JP2010239126A (ja) * 2009-03-09 2010-10-21 Shinko Electric Ind Co Ltd 半導体装置および半導体装置の製造方法
JP2011009686A (ja) * 2009-06-23 2011-01-13 Kinko Denshi Kofun Yugenkoshi パッケージ基板及びその製造方法、並びにその基材
JP2011119722A (ja) * 2009-11-09 2011-06-16 Hitachi Chem Co Ltd 多層配線基板及びその製造方法

Patent Citations (6)

* Cited by examiner, † Cited by third party
Publication number Priority date Publication date Assignee Title
JP2003324276A (ja) * 2002-04-30 2003-11-14 Ngk Spark Plug Co Ltd 配線基板の製造方法
JP2004140254A (ja) * 2002-10-18 2004-05-13 Toray Ind Inc 多層回路基板用部材および多層回路基板の製造方法
JP2009212140A (ja) * 2008-02-29 2009-09-17 Shinko Electric Ind Co Ltd 配線基板の製造方法及び半導体パッケージの製造方法
JP2010239126A (ja) * 2009-03-09 2010-10-21 Shinko Electric Ind Co Ltd 半導体装置および半導体装置の製造方法
JP2011009686A (ja) * 2009-06-23 2011-01-13 Kinko Denshi Kofun Yugenkoshi パッケージ基板及びその製造方法、並びにその基材
JP2011119722A (ja) * 2009-11-09 2011-06-16 Hitachi Chem Co Ltd 多層配線基板及びその製造方法

Also Published As

Publication number Publication date
JP6000297B2 (ja) 2016-09-28

Similar Documents

Publication Publication Date Title
TWI493671B (zh) 具有支撐體的封裝基板及其製法、具有支撐體的封裝結構及其製法
US20120049366A1 (en) Package structure having through-silicon-via (tsv) chip embedded therein and fabrication method thereof
TW201505507A (zh) 封裝基板、封裝結構以及封裝基板的製作方法
US20130075928A1 (en) Integrated circuit and method of making
TW200822830A (en) Circuit board structure and fabrication method thereof
CN118553709A (zh) 封装基板及其制法
CN104795356A (zh) 半导体封装件及其制法
US8828796B1 (en) Semiconductor package and method of manufacturing the same
US8628636B2 (en) Method of manufacturing a package substrate
KR101043328B1 (ko) 전자소자 내장형 인쇄회로기판 및 그 제조방법
JP5346388B2 (ja) パッケージ基板の製造方法
CN118553621B (zh) 封装基板的制法
CN103208429B (zh) 封装基板的制法
CN103066049B (zh) 封装基板及其制法
JP6000297B2 (ja) パッケージ基板
JP5536748B2 (ja) パッケージ基板の製造方法
CN104103602A (zh) 半导体封装件及其制法
US9084341B2 (en) Fabrication method of packaging substrate
KR101378311B1 (ko) 패키징 기판 및 그 제조 방법
TWI520276B (zh) 封裝基板及其製法
TWI558286B (zh) 封裝結構及其製法
TW201601224A (zh) 封裝基板結構及其製法
JP5934057B2 (ja) プリント回路基板
KR101299140B1 (ko) 패키지 기판 제조 방법
KR102117481B1 (ko) 인쇄회로기판 및 그 제조방법

Legal Events

Date Code Title Description
A521 Written amendment

Free format text: JAPANESE INTERMEDIATE CODE: A523

Effective date: 20141020

A621 Written request for application examination

Free format text: JAPANESE INTERMEDIATE CODE: A621

Effective date: 20141020

A977 Report on retrieval

Free format text: JAPANESE INTERMEDIATE CODE: A971007

Effective date: 20150710

A131 Notification of reasons for refusal

Free format text: JAPANESE INTERMEDIATE CODE: A131

Effective date: 20150721

RD02 Notification of acceptance of power of attorney

Free format text: JAPANESE INTERMEDIATE CODE: A7422

Effective date: 20150914

A521 Written amendment

Free format text: JAPANESE INTERMEDIATE CODE: A821

Effective date: 20150914

RD04 Notification of resignation of power of attorney

Free format text: JAPANESE INTERMEDIATE CODE: A7424

Effective date: 20151009

A521 Written amendment

Free format text: JAPANESE INTERMEDIATE CODE: A523

Effective date: 20151015

A131 Notification of reasons for refusal

Free format text: JAPANESE INTERMEDIATE CODE: A131

Effective date: 20160419

A521 Written amendment

Free format text: JAPANESE INTERMEDIATE CODE: A523

Effective date: 20160707

TRDD Decision of grant or rejection written
A01 Written decision to grant a patent or to grant a registration (utility model)

Free format text: JAPANESE INTERMEDIATE CODE: A01

Effective date: 20160809

A61 First payment of annual fees (during grant procedure)

Free format text: JAPANESE INTERMEDIATE CODE: A61

Effective date: 20160830

R150 Certificate of patent or registration of utility model

Ref document number: 6000297

Country of ref document: JP

Free format text: JAPANESE INTERMEDIATE CODE: R150

R250 Receipt of annual fees

Free format text: JAPANESE INTERMEDIATE CODE: R250

LAPS Cancellation because of no payment of annual fees