JP2013255449A - 魚介類養殖装置並びに養殖方法 - Google Patents
魚介類養殖装置並びに養殖方法 Download PDFInfo
- Publication number
- JP2013255449A JP2013255449A JP2012133141A JP2012133141A JP2013255449A JP 2013255449 A JP2013255449 A JP 2013255449A JP 2012133141 A JP2012133141 A JP 2012133141A JP 2012133141 A JP2012133141 A JP 2012133141A JP 2013255449 A JP2013255449 A JP 2013255449A
- Authority
- JP
- Japan
- Prior art keywords
- water
- oxygen
- fish
- fish tank
- water supply
- Prior art date
- Legal status (The legal status is an assumption and is not a legal conclusion. Google has not performed a legal analysis and makes no representation as to the accuracy of the status listed.)
- Granted
Links
Images
Landscapes
- Farming Of Fish And Shellfish (AREA)
Abstract
【解決手段】 複数の魚槽2、2、22に、それぞれポンプから循環給水路5と、魚槽からポンプの間に循環還水路6とを設け、循環還水路6に設けたスクリーンフィルタ装置7により、排水を継続的に濾過して魚糞・残餌を回収し、各魚槽内の飼育水を循環させるようにした装置において、各魚槽毎に酸素センサ20で酸素飽和度90%以下を検知したとき、自動制御装置21が検知に係わる魚槽の酸素水供給路3Aにおけるバルブ3Bを開放して、高濃度酸素水を、当該検知に係る魚槽の飼育水に供給し、飼育水の安定した酸素高濃度状態を維持させ、少ない水で多量の魚を養殖する。
【選択図】 図2
Description
また、養殖池或いは養殖槽に深い沈殿槽を設け、水に渦流を生じさせて、魚糞等を底に沈殿させ、沈殿槽の底のコックを開いて魚糞等を回収すること、また給水管中に酸素を溶かし込むことが、特許文献1に記載されている。
一般の養魚システムにおいては、広い用地と多量の水が必要であるが、そのためには多くの場合、傾斜地に多段の養魚池を形成し、不断に流下する水を利用している。
これを、沈殿槽に沈殿させるには、大きな槽と相当の時間を要するから、大規模の養殖では、その実施は非実用的である。
さらに、魚糞は微細であるため、水流により舞上って、容易に沈殿しにくく、流れる排水と共に排出されてしまい、その回収は困難である。
また給水路に酸素を投入する方式であるため、水量が多い時、全体の処理に長時間を要する。さらに、個々の魚槽に異種の魚を入れ、個別に酸素の量を変えて供給することはできず、停電等の事故が生じると、系統全体が打撃を受けることとなる。
一般に鮭鱒類の養魚システムにおいては、広い用地と多くの水量を必要とし、流水を要するために、傾斜地に養魚池を多段に形成している。
そのため、流速は速くて、魚糞の回収が困難であり、給餌した餌も流出してしまい、かならずしも餌の歩留まりは高くなく、また不安定である。
そのため、必然的に水量に対する放魚密度が小さくなり、更に、発眼卵から成魚となる歩留まりが約25%と小さく、また多くの労働力を必要としている。
本発明は、水温、溶存酸素量、溶存炭酸ガス、溶存アンモニア、pHなど、魚の生育に最適な環境を人工的に造り出し、少ない水量で、高密度の養魚と、高い歩留まりでの成魚が得られるようにした魚介類養殖装置並びに養殖方法を提供するものである。
各魚槽毎に、高濃度酸素水供給手段から、高濃度酸素水を直接供給する酸素水供給路が設けられていて、各魚槽毎に酸素センサを配設して、各魚槽毎に飼育水の酸素の飽和度が90%以下であると検知されると、自動制御装置により、検知に係る魚槽の酸素水供給路におけるバルブを自動的に開放して、高濃度酸素水を魚槽に供給するようにしてあるので、魚槽内の魚の種類、大きさ、水温、或いは水質(淡水・海水)が変化しても、飼育水中の酸素が消費されて溶存酸素量が低下すると、速やかに高濃度酸素水を供給して、各魚槽毎の酸素濃度を高濃度状態に維持することができるので、魚の成長を向上させる。
海水を使用する場合、海水内の溶存酸素は淡水よりも約20%ほど酸素量が少ないとされているが、この装置においては、そのまま対応することができる。
各魚槽毎の酸素濃度が一定の高さであることを酸素センサが検知すると、酸素水供給路におけるバルブを自動的に閉止させて、高濃度酸素水の供給は停止される。飼育水は循環しているので、酸素が高濃度のまま循環して供給されて来たときは、それが消費されて飽和度90%以下にならない限り、高濃度酸素水は供給されないので、酸素の無駄にならない。
そのために、魚槽は清潔で、病原菌の繁殖もなく、酸素が充分なため、養魚密度が高くても酸欠にならず、成魚の歩留まりが大きくなる。
各魚槽毎にスクリーンフィルタ装置の下流に流動床型生物膜処理装置が配設されているので、フィルタで捕捉出来なかった微細な魚糞微粉末は、流動床型生物膜処理装置における細菌により分解され、無害となって外部に排出され、環境汚染が防止される。出荷前の成魚は、清浄化魚槽で清浄化される。
また、海洋魚介類を陸地で容易に養殖することができるため、海洋における養殖によって海洋を汚染する事もなく、海洋魚介類を容易に養殖し安定して供給することができる。
また降砂や雨水が魚槽に入らず、悪天候の時にも全体の管理を容易にでき、衛生管理及び防疫管理が容易で完全である。
照明の照度と時間の調節により、魚の活動する時間をコントロールすることができ、成長を早め、或いは成熟をコントロールすることができる。また照明を暗くすることにより、水深のある環境に似た環境を造ることができる。
各魚槽毎に、高濃度酸素水供給手段から、高濃度酸素水を直接供給する酸素水供給路が設けられていて、各魚槽毎に酸素センサを配設して、各魚槽毎に飼育水の酸素が飽和度90%以下を検知されると、自動制御装置により、検知に係る魚槽の酸素水供給路におけるバルブを自動的に開放して、高濃度酸素水を魚槽に供給するようにしてあるので、魚槽内の魚の種類、大きさ、水温、或いは水質(淡水・海水)が変化しても、飼育水中の酸素が消費されて溶存酸素量が低下すると、速やかに高濃度酸素水を供給して、各魚槽毎の酸素濃度を高濃度に維持することができるので、魚の成長を向上させることができる。
各魚槽毎にスクリーンフィルタ装置の下流に流動床型生物膜処理装置が配設されているので、フィルタで捕捉出来なかった微細な魚糞微粉末は、流動床型生物膜処理装置によって細菌により分解され、無害となり、外部に排出され環境汚染が防止される。
出荷前の成魚は、清浄化魚槽で清浄化される。
また照明を暗くすることにより、水深のある環境に似た環境を造り、鯛など水深のある環境で育つ魚類を、浅い魚槽で養殖することができる。
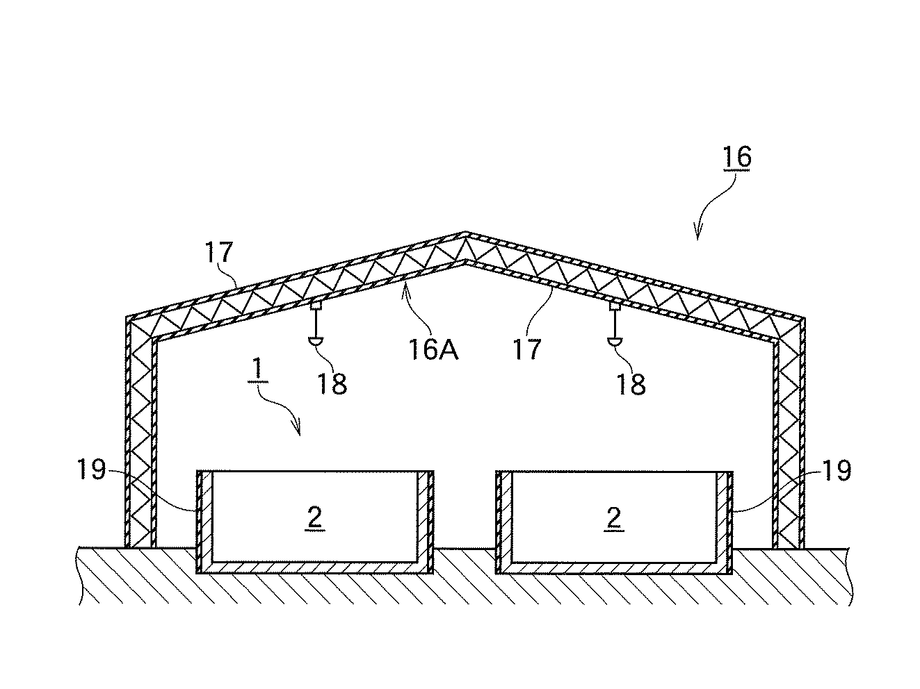
魚槽2の側壁外面には、厚み5cm前後の断熱材19を張設してあり、また図示しない自動温度調節器により、水温は一定以下、例えば18℃以下に管理されている。水温が一定温度、例えば20℃を越えると、一般に魚の採餌が低下するので、建物16内の室温を低く管理して、水温の上昇を制御する。
水に含まれている酸素は、約0.005%であるのに対して、空気中には、約21%の酸素が含まれているので、空気から酸素を得る方が効率的である。
これによって、各魚槽2内の魚種が異っていても、それに個別に対応した酸素供給をすることができる。
魚槽2に高濃度酸素水を1時間供給した時の数値16.12ppmは、1分間では約0.27ppmとなるので、20℃において、飽和度100%にするには約4分を要する。
回収した魚糞や残餌等は、給餌量に匹敵する多量であるが、別途乾燥処理して、ペレットなどに加工して有機肥料とすることができる。
この際、濾過後の水は、回送管6で炭酸ガス除去装置9に回送されて、炭酸ガスが分解され除去される。
その4は、ポンプ10Cで蛋白質除去装置12に送水され、蛋白質除去装置12における微細な気泡の界面によって、蛋白質が除去されて、排水管6Bにより外部へ放水される。
上記の養殖装置1において、新水補充量を毎分300リットルとし、虹鱒の稚魚(体長4mm程度)を、水1トンあたり最高100kgの割合で魚槽2に放流し、人工餌を月齢の変化に合わせて、図示しない完全自動給餌装置で自動的に給餌した。水温は18℃を超えないように管理した。
しかし本発明によると、密閉式の建物16内で温度管理をしているので、夏期においても、採餌が活発であり、成長は目覚ましいものであった。
この期間中に様々な原因で死に、発眼卵から成魚になる歩留りは、約25%とされているが、本発明方法においては、歩留まりは約80%であることを確認することが出来た。
しかし、従来の方法では、成魚歩留りが約25%であるのに対して、本発明では、成魚の歩留りが約80%もあることを考えると、従来方法に比べて、成魚売買益は約3.2倍となり、生産コストに大きな差が生じる。そのため、国内は勿論、諸外国との競争にも十分耐え得るものである。
機器類及び給餌は自動制御されるため、従来方法と比較して、労働力は約5分の1ですむ、という優れた利点が認められた。
3月目以降は、定量給餌量を20%増として給餌し、魚自身が採餌する自発給餌器を活用したところ、普通3年かかるところ、約12か月で出荷可能の2.8kg〜3.3kgの大きさに成長した。
2.魚槽
22.清浄化魚槽
3.高濃度酸素水供給手段
3A.供給管
3B.バルブ
4.酸素供給源
4A.酸素供給管
4B.緊急用酸素供給手段
4C.バルブ
5.循環給水路
6.循環還水路
6A.回送管
7.スクリーンフィルタ装置
8.流動床型生物膜処理装置
9.炭酸ガス除去装置
10.循環用ポンプ
10A〜10D.ポンプ
11.pH調節装置
12.蛋白質除去装置
13.清水供給手段
14.清水給水管
15.発電機
16.建物
16A.天井
17.断熱材
18.照明灯
19.断熱材
20.酸素センサ
21.自動制御装置
Claims (8)
- 複数の魚槽のそれぞれに、ポンプからの循環給水路を設けるとともに、魚槽からポンプに至る間に循環還水路を設け、循環還水路に設けたスクリーンフィルタ装置により、排水を継続的に濾過して、魚糞・残餌を回収し、各魚槽内の飼育水を循環させるようにした装置において、各魚槽毎に、循環水路とは別経路で、高濃度酸素水供給手段から、高濃度酸素水を直接供給する酸素水供給路を接続し、各魚槽内に、飼育水の溶存酸素量を検知する酸素センサを配設し、各魚槽の酸素センサが、酸素飽和度90%以下を検知したとき、これと連係した自動制御装置が、検知に係わる魚槽の酸素水供給路におけるバルブを開放して、高濃度酸素水を、当該検知に係る魚槽内の飼育水に供給して混合し、次に、飼育水が酸素過飽和となったことを酸素センサが検知した時に、自動制御装置が当該検知に係る魚槽の酸素水供給路のバルブを閉止させることを反復継続させることにより、飼育水の安定した酸素高濃度状態を維持させるようにしてなることを特徴とする魚介類の養殖装置。
- 前記スクリーンフィルタ装置の下流側の循環還水路に、濾過後の水を流動床生物膜反応により、更に濾過する流動床型生物膜処理装置に回送する経路を設け、その濾過後の排水を、化学反応によって炭酸ガスを除去し、浄化水とする炭酸ガス除去装置、及びその浄化水を循環給水路に還水する循環ポンプを循環還水路側に設け、浄化水を高濃度酸素水供給手段に供給する別経路、および酸素源から各魚槽に緊急時に酸素を魚槽に供給する緊急酸素供給手段を設け、出荷前の魚介類を養生させて、臭みを清浄化する清浄化魚槽に、清水を供給する清水供給手段、高濃度酸素水供給手段、並びに緊急酸素供給手段を連係さて魚槽で魚介類を養殖するようにしたことを特徴とする請求項1に記載の魚介類養殖装置。
- 前記各魚槽を循環する飼育水は、海水同等の塩水であることを特徴とする請求項1または2に記載の魚介類養殖装置。
- 前記各魚槽は、空調設備及び照明設備を備える密閉式建物内に設置されていることを特徴とする請求項1〜3のいずれかに記載の魚介類養殖装置。
- 複数の魚槽に、それぞれポンプからの循環給水路を設けるとともに、魚槽からポンプに至る間に循環還水路とを設け、循環還水路に設けたスクリーンフィルタ装置により、排水を継続的に濾過して魚糞・残餌を回収し、各魚槽内の飼育水を循環させるようにして魚介類を養殖する方法において、各魚槽毎に、循環水路とは別経路の酸素水供給路を介して高濃度酸素水供給手段から、高濃度酸素水を直接供給する工程で、各魚槽内に配設した、飼育水の溶存酸素量を検知する酸素センサが、酸素飽和度90%以下を検知したときに、これと連係する自動制御装置が、検知に係わる魚槽の酸素水供給路におけるバルブを開放して、高濃度酸素水を、当該検知に係る魚槽の飼育水に供給して混合させる工程と、次に、飼育水が酸素過飽和となったことを酸素センサが検知した時に、自動制御装置が当該検知に係る魚槽の酸素水供給路のバルブを閉止させることを反復継続させることにより、各魚槽の飼育水における安定した酸素高濃度状態を維持させて魚介類を養殖することを特徴とする魚介類養殖方法。
- 前記スクリーンフィルタ装置の下流側の循環還水路に設けた流動床型生物膜処理装置に濾過後の排水を投入し、流動床生物膜反応により更に濾過し、濾過後の排水を炭酸ガス除去装置において浄化し、これを循環給水路に還水させる工程と、浄化した水を別経路で高濃度酸素水供給手段に供給する工程と、前記魚槽に清浄化魚槽を併設し、これに清水と高濃度酸素水を供給して、出荷前の魚介類を養生し、その排出水をスクリーンフィルタで濾過して排水する工程とを付加してなることを特徴とする請求項5に記載の魚介類養殖方法。
- 前記各魚槽に循環させる飼育水は塩水とし、この魚槽で海水魚介を養殖することを特徴とする請求項5または6に記載の魚介類養殖方法。
- 前記各魚槽は、空調設備及び照明設備の備わった密閉式建物内に設置され、照明光の明暗調節により、魚の活動時間を任意に調節して養殖することを特徴とする請求項5〜7のいずれかに記載の魚介類養殖方法。
Priority Applications (1)
| Application Number | Priority Date | Filing Date | Title |
|---|---|---|---|
| JP2012133141A JP5629288B2 (ja) | 2012-06-12 | 2012-06-12 | 魚介類養殖装置並びに養殖方法 |
Applications Claiming Priority (1)
| Application Number | Priority Date | Filing Date | Title |
|---|---|---|---|
| JP2012133141A JP5629288B2 (ja) | 2012-06-12 | 2012-06-12 | 魚介類養殖装置並びに養殖方法 |
Publications (2)
| Publication Number | Publication Date |
|---|---|
| JP2013255449A true JP2013255449A (ja) | 2013-12-26 |
| JP5629288B2 JP5629288B2 (ja) | 2014-11-19 |
Family
ID=49952496
Family Applications (1)
| Application Number | Title | Priority Date | Filing Date |
|---|---|---|---|
| JP2012133141A Active JP5629288B2 (ja) | 2012-06-12 | 2012-06-12 | 魚介類養殖装置並びに養殖方法 |
Country Status (1)
| Country | Link |
|---|---|
| JP (1) | JP5629288B2 (ja) |
Cited By (11)
| Publication number | Priority date | Publication date | Assignee | Title |
|---|---|---|---|---|
| CN104221984A (zh) * | 2014-09-23 | 2014-12-24 | 象山红升水产养殖有限公司 | 一种育苗和养殖两用的工厂化循环水养殖系统 |
| JP2016093119A (ja) * | 2014-11-13 | 2016-05-26 | 株式会社林養魚場 | 植物栽培方法及び装置 |
| CN107969370A (zh) * | 2017-12-08 | 2018-05-01 | 中国水产科学研究院黑龙江水产研究所 | 鲑科鱼类繁殖行为观察装置 |
| WO2018151283A1 (ja) * | 2017-02-17 | 2018-08-23 | 日本水産株式会社 | 養殖システム |
| JP2018143195A (ja) * | 2017-03-08 | 2018-09-20 | 国立大学法人 鹿児島大学 | 水生生物の飼育システム及び水生生物の飼育方法 |
| JP2018191621A (ja) * | 2017-05-22 | 2018-12-06 | メタウォーター株式会社 | 溶存酸素濃度の調整方法 |
| KR20180132523A (ko) | 2017-06-02 | 2018-12-12 | 하야시 트라우트 팜 인코퍼레이티드 | 어개류 양식 장치 |
| CN111937789A (zh) * | 2020-07-22 | 2020-11-17 | 中国水产科学研究院东海水产研究所 | 一种绿鳍马面鲀防治淀粉卵涡鞭虫病的方法 |
| CN113475432A (zh) * | 2021-07-26 | 2021-10-08 | 董俊武 | 黄鳝养殖中野生苗种的驯化方法 |
| JP2022090291A (ja) * | 2020-12-07 | 2022-06-17 | 株式会社森機械製作所 | 気体噴射装置並びに気体噴射装置を備える気体混入装置及び海水供給システム |
| JP7174940B1 (ja) | 2021-05-14 | 2022-11-18 | 株式会社サイエンス・イノベーション | 陸上養殖システム、およびウナギの養殖方法 |
Families Citing this family (3)
| Publication number | Priority date | Publication date | Assignee | Title |
|---|---|---|---|---|
| CN104756934B (zh) * | 2015-04-15 | 2017-02-22 | 山东西霞口海珍品股份有限公司 | 一种全自动海参养殖池 |
| WO2017199927A2 (ja) * | 2016-05-15 | 2017-11-23 | 義夫 大山 | 良質な海洋環境を創出して海洋生態系の持続的保持を可能とする水生生物生産インフラシステム及び水生生物生産方法 |
| JP7051598B2 (ja) * | 2018-06-11 | 2022-04-11 | 三相電機株式会社 | 水生生物の育成装置 |
Citations (3)
| Publication number | Priority date | Publication date | Assignee | Title |
|---|---|---|---|---|
| JPH10295213A (ja) * | 1997-04-25 | 1998-11-10 | Yamaha Motor Co Ltd | 養殖システム |
| JP2003023914A (ja) * | 2001-07-16 | 2003-01-28 | Hazama Gumi Ltd | 水産物の養殖装置 |
| JP2011130686A (ja) * | 2009-12-22 | 2011-07-07 | Sea Plus Corp | 魚介類の循環式養殖装置及び養殖方法 |
-
2012
- 2012-06-12 JP JP2012133141A patent/JP5629288B2/ja active Active
Patent Citations (3)
| Publication number | Priority date | Publication date | Assignee | Title |
|---|---|---|---|---|
| JPH10295213A (ja) * | 1997-04-25 | 1998-11-10 | Yamaha Motor Co Ltd | 養殖システム |
| JP2003023914A (ja) * | 2001-07-16 | 2003-01-28 | Hazama Gumi Ltd | 水産物の養殖装置 |
| JP2011130686A (ja) * | 2009-12-22 | 2011-07-07 | Sea Plus Corp | 魚介類の循環式養殖装置及び養殖方法 |
Cited By (17)
| Publication number | Priority date | Publication date | Assignee | Title |
|---|---|---|---|---|
| CN104221984A (zh) * | 2014-09-23 | 2014-12-24 | 象山红升水产养殖有限公司 | 一种育苗和养殖两用的工厂化循环水养殖系统 |
| JP2016093119A (ja) * | 2014-11-13 | 2016-05-26 | 株式会社林養魚場 | 植物栽培方法及び装置 |
| US10952414B2 (en) | 2017-02-17 | 2021-03-23 | Nippon Suisan Kaisha, Ltd. | Aquaculture system |
| JP7263011B2 (ja) | 2017-02-17 | 2023-04-24 | 株式会社ニッスイ | 養殖システム |
| WO2018151283A1 (ja) * | 2017-02-17 | 2018-08-23 | 日本水産株式会社 | 養殖システム |
| JPWO2018151283A1 (ja) * | 2017-02-17 | 2019-12-12 | 日本水産株式会社 | 養殖システム |
| JP2018143195A (ja) * | 2017-03-08 | 2018-09-20 | 国立大学法人 鹿児島大学 | 水生生物の飼育システム及び水生生物の飼育方法 |
| JP2018191621A (ja) * | 2017-05-22 | 2018-12-06 | メタウォーター株式会社 | 溶存酸素濃度の調整方法 |
| KR20180132523A (ko) | 2017-06-02 | 2018-12-12 | 하야시 트라우트 팜 인코퍼레이티드 | 어개류 양식 장치 |
| CN107969370B (zh) * | 2017-12-08 | 2020-06-05 | 中国水产科学研究院黑龙江水产研究所 | 鲑科鱼类繁殖行为观察装置 |
| CN107969370A (zh) * | 2017-12-08 | 2018-05-01 | 中国水产科学研究院黑龙江水产研究所 | 鲑科鱼类繁殖行为观察装置 |
| CN111937789A (zh) * | 2020-07-22 | 2020-11-17 | 中国水产科学研究院东海水产研究所 | 一种绿鳍马面鲀防治淀粉卵涡鞭虫病的方法 |
| JP2022090291A (ja) * | 2020-12-07 | 2022-06-17 | 株式会社森機械製作所 | 気体噴射装置並びに気体噴射装置を備える気体混入装置及び海水供給システム |
| JP7174940B1 (ja) | 2021-05-14 | 2022-11-18 | 株式会社サイエンス・イノベーション | 陸上養殖システム、およびウナギの養殖方法 |
| JP2022176419A (ja) * | 2021-05-14 | 2022-11-29 | 株式会社サイエンス・イノベーション | 陸上養殖システム、およびウナギの養殖方法 |
| CN113475432A (zh) * | 2021-07-26 | 2021-10-08 | 董俊武 | 黄鳝养殖中野生苗种的驯化方法 |
| CN113475432B (zh) * | 2021-07-26 | 2024-01-05 | 董俊武 | 黄鳝养殖中野生苗种的驯化方法 |
Also Published As
| Publication number | Publication date |
|---|---|
| JP5629288B2 (ja) | 2014-11-19 |
Similar Documents
| Publication | Publication Date | Title |
|---|---|---|
| JP5629288B2 (ja) | 魚介類養殖装置並びに養殖方法 | |
| US12178195B1 (en) | Systems and methods of intensive recirculating aquaculture | |
| US10034461B2 (en) | Systems and methods of intensive recirculating aquaculture | |
| US5176100A (en) | Aquarium with closed water recirculatory system for culturing fish and shellfish | |
| US5778823A (en) | Method of raising fish by use of algal turf | |
| CN103999813B (zh) | 一种室内循环水立体多用途水产品生态养殖装置 | |
| CN103947591B (zh) | 日本囊对虾循环水多层养殖方法 | |
| JPH06105633A (ja) | 魚の養殖方法 | |
| JP2017148007A (ja) | 魚類種苗の育成システム | |
| TWI504345B (zh) | 多重立體式生態循環養殖系統 | |
| CN105638525B (zh) | 一种大泷六线鱼的封闭式循环水养殖方法 | |
| JPH11169011A (ja) | 甲殻類養殖システム及び方法 | |
| CN110959561A (zh) | 一种海水动物养殖的方法和系统 | |
| CN104430083A (zh) | 一种水循环水产育苗系统及其水产育苗的方法 | |
| CN102823521A (zh) | 半咸水人工湿地室内养殖对虾的方法 | |
| KR101170304B1 (ko) | 양식어류와 갯지렁이의 복합양식 시스템 및 방법 | |
| KR20170029280A (ko) | 먹이사슬 구조를 이용한 양식 시스템 | |
| CN114145260A (zh) | 一种生态养殖循环系统 | |
| WO2016094986A1 (pt) | Sistema e método automatizado e autosustentável para produção de derivados da aquicultura | |
| CN116616246A (zh) | 一种东风螺集约化高效养殖系统及方法 | |
| JP6973832B1 (ja) | 水棲動物の養殖装置、および養殖方法 | |
| CN220191842U (zh) | 一种可移动式鱼苗培育装置 | |
| CN113040068B (zh) | 一种潮间带生物的养殖系统及养殖方法 | |
| CN109329161A (zh) | 生态饵料的投放方法 | |
| CN210248005U (zh) | 一种海水鱼类育苗池装置 |
Legal Events
| Date | Code | Title | Description |
|---|---|---|---|
| A621 | Written request for application examination |
Free format text: JAPANESE INTERMEDIATE CODE: A621 Effective date: 20140324 |
|
| A871 | Explanation of circumstances concerning accelerated examination |
Free format text: JAPANESE INTERMEDIATE CODE: A871 Effective date: 20140612 |
|
| A975 | Report on accelerated examination |
Free format text: JAPANESE INTERMEDIATE CODE: A971005 Effective date: 20140723 |
|
| A131 | Notification of reasons for refusal |
Free format text: JAPANESE INTERMEDIATE CODE: A131 Effective date: 20140812 |
|
| A521 | Request for written amendment filed |
Free format text: JAPANESE INTERMEDIATE CODE: A523 Effective date: 20140821 |
|
| TRDD | Decision of grant or rejection written | ||
| A01 | Written decision to grant a patent or to grant a registration (utility model) |
Free format text: JAPANESE INTERMEDIATE CODE: A01 Effective date: 20140909 |
|
| A61 | First payment of annual fees (during grant procedure) |
Free format text: JAPANESE INTERMEDIATE CODE: A61 Effective date: 20141003 |
|
| R150 | Certificate of patent or registration of utility model |
Ref document number: 5629288 Country of ref document: JP Free format text: JAPANESE INTERMEDIATE CODE: R150 |
|
| R250 | Receipt of annual fees |
Free format text: JAPANESE INTERMEDIATE CODE: R250 |
|
| R250 | Receipt of annual fees |
Free format text: JAPANESE INTERMEDIATE CODE: R250 |
|
| R250 | Receipt of annual fees |
Free format text: JAPANESE INTERMEDIATE CODE: R250 |
|
| R250 | Receipt of annual fees |
Free format text: JAPANESE INTERMEDIATE CODE: R250 |
|
| R250 | Receipt of annual fees |
Free format text: JAPANESE INTERMEDIATE CODE: R250 |
|
| R250 | Receipt of annual fees |
Free format text: JAPANESE INTERMEDIATE CODE: R250 |
|
| R250 | Receipt of annual fees |
Free format text: JAPANESE INTERMEDIATE CODE: R250 |
|
| R250 | Receipt of annual fees |
Free format text: JAPANESE INTERMEDIATE CODE: R250 |
|
| R250 | Receipt of annual fees |
Free format text: JAPANESE INTERMEDIATE CODE: R250 |
|
| R250 | Receipt of annual fees |
Free format text: JAPANESE INTERMEDIATE CODE: R250 |
