JP2013110012A - 多方向操作型電子部品 - Google Patents

多方向操作型電子部品 Download PDF

Info

Publication number
JP2013110012A
JP2013110012A JP2011255120A JP2011255120A JP2013110012A JP 2013110012 A JP2013110012 A JP 2013110012A JP 2011255120 A JP2011255120 A JP 2011255120A JP 2011255120 A JP2011255120 A JP 2011255120A JP 2013110012 A JP2013110012 A JP 2013110012A
Authority
JP
Japan
Prior art keywords
electronic component
holding base
holding
swinging
operation knob
Prior art date
Legal status (The legal status is an assumption and is not a legal conclusion. Google has not performed a legal analysis and makes no representation as to the accuracy of the status listed.)
Granted
Application number
JP2011255120A
Other languages
English (en)
Other versions
JP5766101B2 (ja
Inventor
Yuki Nagai
祐樹 永井
Osamu Nomura
修 野村
Yoshiyuki Kawato
義之 川嶌
Current Assignee (The listed assignees may be inaccurate. Google has not performed a legal analysis and makes no representation or warranty as to the accuracy of the list.)
Teikoku Tsushin Kogyo Co Ltd
Original Assignee
Teikoku Tsushin Kogyo Co Ltd
Priority date (The priority date is an assumption and is not a legal conclusion. Google has not performed a legal analysis and makes no representation as to the accuracy of the date listed.)
Filing date
Publication date
Application filed by Teikoku Tsushin Kogyo Co Ltd filed Critical Teikoku Tsushin Kogyo Co Ltd
Priority to JP2011255120A priority Critical patent/JP5766101B2/ja
Publication of JP2013110012A publication Critical patent/JP2013110012A/ja
Application granted granted Critical
Publication of JP5766101B2 publication Critical patent/JP5766101B2/ja
Expired - Fee Related legal-status Critical Current
Anticipated expiration legal-status Critical

Links

Images

Landscapes

  • Switches With Compound Operations (AREA)

Abstract

【課題】操作つまみを略直交する二つの方向に向けて異なる操作感触にて操作できる多方向操作型電子部品を提供すること。
【解決手段】操作つまみ20を一定の方向Cに揺動することで出力信号を変化させる電子部品10と、電子部品10を載置する保持台本体部210と保持体本体部210の外周辺の対向する位置から突出する一対の可撓性を有するヒンジ部250とヒンジ部250の先端に取り付けられる取付部260とを有し一対のヒンジ部250を結ぶ軸を揺動軸Lとしてねじることで保持台本体部210を揺動させる保持台200と、保持台200の下面側であって保持台本体部210が揺動に伴って上下動する位置に配置される押圧式スイッチ340とを有する。操作つまみ20が揺動する向きCと、保持台本体部210が揺動する向きDとを略直交するように電子部品10を保持台本体部210上に設置する。
【選択図】図7

Description

本発明は、操作つまみを略直交する二つの方向に向けて操作することでその出力信号を変化させる多方向操作型電子部品に関するものである。
従来、例えば特許文献1に示すように、回転つまみ(10)を回転することでその出力信号を変化させ、一方回転つまみ(10)の上面の4か所をその上方から押圧することで回転つまみ(10)自体を揺動して押圧スイッチ(185)をオンする構造の多方向操作型電子部品がある。また例えば特許文献2に示すように、操作つまみ(50)を直交する4方向に揺動することで4つのスイッチ72をオンする構造の多方向操作型電子部品もある。
一方、例えば携帯型のビデオカメラのズーム操作用入力手段等に用いて好適な電子部品として、例えば特許文献3に示すように、つまみ(200)を揺動する揺動量に応じて出力信号を変化させる構造の電子部品がある。
特開2011−134574号公報 特開2006−331699号公報 特開2010−10384号公報
そして従来、操作つまみを直交する二つの方向に向けて操作することでその出力信号を変化させる多方向操作型電子部品であって、且つ操作つまみを一方の方向へ揺動させた際は移動量に応じた出力が得られ、直交するもう一方の方向へ揺動させた際はスイッチのオンオフ出力が得られる、構造の簡単な多方向操作型電子部品はなかった。
本発明は上述の点に鑑みてなされたものでありその目的は、操作つまみを略直交する二つの方向に向けて操作することでその出力信号を変化させることができ、且つ操作つまみを一方の方向へ操作した際の出力の状態ともう一方の方向へ操作した際の出力の状態とを容易に異ならせることができる、構造の簡単な多方向操作型電子部品を提供することにある。
本願請求項1に記載の発明は、操作つまみを一定の方向に揺動又は略直線移動することで出力信号を変化させる電子部品と、前記電子部品を載置する保持台本体部と保持体本体部の外周辺の対向する位置から突出する少なくとも一対の可撓性を有するヒンジ部とヒンジ部の先端側部分に取り付けられる取付部とを有しこれによって前記一対のヒンジ部を結ぶ軸を揺動軸として前記保持台本体部を揺動させる保持台と、前記保持台の前記電子部品を載置した反対面側であって前記保持台本体部が前記揺動に伴って上下動する位置に配置される押圧式スイッチと、を有し、前記操作つまみが揺動又は略直線移動する向きと、前記保持台本体部の揺動する向きとが略直交するように前記電子部品を保持台本体部上に設置し、前記操作つまみを揺動又は略直線移動して電子部品の出力信号を変化させる際は前記保持台本体部が静止し、一方前記操作つまみを前記揺動又は略直線移動方向に対して略直交する方向に揺動する際は前記保持台本体部がその揺動軸を中心に揺動して前記押圧式スイッチを押圧操作することを特徴とする多方向操作型電子部品にある。
本願請求項2に記載の発明は、請求項1に記載の多方向操作型電子部品であって、前記保持台の取付部と前記押圧式スイッチとを載置する基台をさらに有し、前記保持台本体部の前記基台を設置した側の面に、先端が前記基台に直接又は他の部材を介して対向して保持台本体部をその揺動方向に揺動自在に支持する支持突起を設けたことを特徴とする多方向操作型電子部品にある。
本願請求項3に記載の発明は、請求項2に記載の多方向操作型電子部品であって、前記押圧式スイッチは、前記揺動軸を挟んだ両側の対向する位置に一対設けられていることを特徴とする多方向操作型電子部品にある。
請求項1に記載の発明によれば、揺動式又はスライド式の電子部品の操作つまみを、通常の操作方向へ操作することによって出力信号が変化できると共に、前記操作方向に略直交する方向へ揺動操作することによって別の押圧式スイッチを操作できる。つまり揺動式又はスライド式の電子部品の操作つまみを略直交する二つの方向に移動することで、揺動式又はスライド式電子部品の出力と、押圧式スイッチの出力、即ち異なる種類の出力信号を得ることができる。さらに前記操作つまみの一方の方向への操作感触と、もう一方の方向への操作感触とを容易に異ならせることができる。
また請求項1に記載の発明によれば、上記機能を有する多方向操作型電子部品を、保持台と押圧式スイッチを追加するという簡単な構成で実現できる。
また請求項1に記載の発明によれば、操作つまみの揺動又は略直線移動する向きと、保持台本体部の揺動する向きとを略直交するように、電子部品を保持台本体部上に設置したので、別途特別の機構を設けなくても、操作つまみを揺動又は略直線移動して電子部品の出力信号を変化させる際は保持台本体部の揺動を防止でき、一方操作つまみの前記揺動又は略直線移動方向に略直交する方向に揺動して押圧式スイッチを押圧操作する際は操作つまみの前記揺動又は略直線移動を防止できる。
請求項2に記載の発明によれば、保持台本体部に支持突起を設けたので、保持台本体部の揺動方向への揺動動作がよりスムースに行えるようになる。
請求項3に記載の発明によれば、操作つまみの操作によって、左右一対の押圧式スイッチを操作することができる。
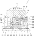
多方向操作型電子部品1の斜視図である。 多方向操作型電子部品1の分解斜視図(その上側の部品を示す)である。 多方向操作型電子部品1の分解斜視図(その下側の部品を示す)である。 操作つまみ20と第1保持体50と移動体100と第2保持体150とを下側から見た斜視図である。 保持台200を下側から見た斜視図である。 図1のA−A断面図である。 図1のB−B断面図である。 保持台200の他の実施形態を示す平面図である。
以下、本発明の実施形態を図面を参照して詳細に説明する。図1は本発明の1実施形態に係る多方向操作型電子部品1の斜視図、図2は多方向操作型電子部品1の分解斜視図(その上側の部品を示す)、図3は多方向操作型電子部品1の分解斜視図(その下側の部品を示す)、図4は多方向操作型電子部品1を構成する操作つまみ20と第1保持体50と移動体100と第2保持体150とを下側から見た斜視図、図5は保持台200を下側から見た斜視図、図6は図1のA−A断面図、図7は図1のB−B断面図である。なお以下の説明において、「上」とは保持台200から操作つまみ20を見る方向をいい、「下」とはその反対方向をいうものとする。
多方向操作型電子部品1は、図2、図3に示すように、基台350上に、回路基板(以下「フレキシブル回路基板」という)300と保持台200と電子部品10を設置して構成されている。また電子部品10は、操作つまみ20と第1保持体50と弾発手段80と移動体100と摺動子140と第2保持体150と第1回路基板部310とを具備して構成されている。第1保持体50と第2保持体150を合わせて保持体という。
操作つまみ20は合成樹脂(例えばABS樹脂製)の成形品であり、図2、図4に示すように、略矩形平板状の操作部21の下部中央から突出する支柱23の先端に平板を略円弧状に湾曲してなるつまみ基部25を取り付けて構成されている。つまみ基部25は操作つまみ20の移動方向(揺動方向)Cに対して上方向に凸となるように湾曲形成されている。つまみ基部25の下面の略中央には矩形状に突出する取付部29が設けられ、取付部29の両側(取付部29から見て移動方向Cに直交する方向の両側位置)には一対の移動体係止部31,37が設けられている。一方の移動体係止部31は略コ字状であり、内部に略矩形状の係止孔33を有している。もう一方の移動体係止部37は略平板状に下方に向かって突出し、その下部近傍部分に略矩形状の係止孔39を有している。
第1保持体50は合成樹脂(例えばABS樹脂)の成形品であり、略矩形状(略直方体形状)に構成されており、その上面51はその長手方向に対して上方向に凸となる円弧状の湾曲面となっている。第1保持体50の移動体100側を向く面には、移動体100を収納する空間からなる収納部53が設けられ、また上面51には長手方向に向かって切り欠いてなる開口部55が設けられている。収納部53内部の下面と上面はそれぞれ移動体ガイド面57,59となっている。移動体ガイド面57,59は何れも上方向に凸となるようにそれらの長手方向に向かって円弧状に湾曲する湾曲面である。収納部53内部の左右両側中央からは平板状のコイル係止部61,61が突出している。コイル係止部61,61は何れも上方向に凸となるように円弧状に湾曲している。また第1保持部50の第2保持体150側を向く面の両端部近傍には小突起状の取付部63が設けられている。また上面51の第2保持体150側を向く辺の開口部55の両側には、爪状に突出する一対の仮止め用係止片65,65が形成されている。また第1保持体50の背面には円弧状の貫通孔からなる挿通ガイド孔71が形成されている。また第1保持体50の底面の4か所には下方向に向かって突出する小突起からなる取付部67が設けられている。
弾発手段80は圧縮方向に弾発力を有する圧縮コイルバネであり、その両端には消音用の弾性体(この実施形態では合成ゴム)からなるバネ受け81が取り付けられている。
移動体100は合成樹脂(例えばPOM樹脂等)の成形品であり、略矩形状であって長手方向に略円弧状に湾曲させた形状であり、第1保持体50側を向く面に長手方向に向けて前記円弧に合わせて円弧状に湾曲する溝状のコイル収納部101を設けている。移動体100は第1保持体50の収納部53に収納され、その上下面が移動体ガイド面59,57にぴったり当接し、移動体100が移動体ガイド面59,57に沿って円弧状に左右に揺動する外形形状に形成されている。コイル収納部101の左右両端には第1保持体50のコイル係止部61をコイル収納部101内に挿入するためのスリット状の切り欠きからなる挿通部103が設けられている。一方移動体100の第2保持体150側を向く面は摺動子設置面105となっており、摺動子140を取り付けるための小突起107が設けられている。またコイル収納部101の下側の側面中央には略平板棒状に突出するガイド突起109が設けられ、摺動子設置部105の上部中央にも略平板棒状に突出するガイド突起111が設けられている。また移動体100の上面の略中央には前記操作つまみ20の取付部29を嵌合する略矩形状の穴からなる操作つまみ取付部113が設けられ、さらに移動体100の上面の長手方向に向かう位置には複数の浅い深さの矩形状の凹部からなるグリス充填部115が一列に並ぶように形成されている。
摺動子140は弾性金属板製の矩形状の摺動子基部141の1辺から2本の摺動接点143を突出し、それらの根元部分を摺動子基部141の一方の面側に折り返して構成されている。摺動子基部141には小孔145が設けられている。
第2保持体150は合成樹脂(例えばABS樹脂等)を略平板状に成形して構成されている。第2保持体150の外形形状は第1保持体50の収納部53側の面の外形形状と略同じ外形形状であり、第1保持体50の一対の取付部63に対向する位置にこれら取付部63を挿入する一対の貫通部151を設けている。また第2保持体150の前記移動体100のガイド突起111に対向する位置には円弧状の貫通孔からなる挿通ガイド孔153が形成されている。第2保持体150の第1保持体50と反対側を向く面の下辺近傍には、下辺に沿うように、平板状に突出する押え部155が形成され、また同じ面の前記挿通ガイド孔153の下辺に沿う位置には平板状に突出するガイド突起載置部157が形成されている。また第2保持体150の上辺の前記第1保持体50の一対の仮止め用係止片65に対向する位置には、これら仮止め用係止片65の先端の爪を係合する一対の凹部からなる係止片係止部159が形成されている。
保持台200は合成樹脂(例えばABS樹脂等)の成形品であり、前記電子部品10を載置する保持台本体部210と、保持体本体部210の外周辺の対向する位置から突出する一対の可撓性を有するヒンジ部250,250と、ヒンジ部250,250の先端側部分に取り付けられる取付部260,260とを有して構成されている。ここで一対のヒンジ部250,250を結ぶ軸を、保持台本体部210を揺動させる揺動軸Lとしている。
保持台本体部210は略平板矩形状であり、前記第1保持体50の底面の各取付部67に対向する位置には各取付部67を挿入する小孔からなる被取付部211が形成されている。保持台本体部210のヒンジ部250を取り付けた外周辺に直交する側の対向する外周辺近傍の上面には、それぞれ一対の立設部213,215が形成されている。立設部213は略矩形状であってその内側の面(もう一方の立設部215に対向する面)にはレール状に突出して上下に平行に延びる3本のガイド部217が形成されている。立設部215は挿通部219を挟んでその両側に一対設けられており、それぞれ横断面略L字の柱状に形成されている。両立設部215の上辺は押圧防止辺221となっている。挿通部219は下記するフレキシブル回路基板300の連結部305を挿通するために形成されている。また図5に示すように、保持台200の下面(保持台本体部210の基台350を設置する側の面)には一対の支持突起223と一対の押圧部225が設けられている。支持突起223は前記揺動軸Lの真下に位置し、且つ揺動軸Lに沿う方向に直線状に延びている。支持突起223は略半円柱状であって、先端(下端)は円弧状になっている。押圧部225は小突起状であり、前記揺動軸Lを挟んだ両側の揺動軸Lから等距離離れた対向する位置に設けられている。
ヒンジ部250,250は薄板平板状であって可撓性を有し、その厚みは揺動軸Lを中心にして所定角度ねじることができる厚みに形成されている。
取付部260は略矩形状であり、保持台本体部210側に対向する側面の中央に前記ヒンジ部250が接続している。両取付部260の下面の両側には下方向に突出する一対の小突起からなる取付突部261が形成されている。
フレキシブル回路基板300は、前記電子部品10の一部を構成する第1回路基板部310と、下記する一対の押圧式スイッチ340を設置する第2回路基板部330とを帯状の連結部305によって連結して構成されている。フレキシブル回路基板300は可撓性を有する合成樹脂フイルムからなるフレキシブル基板の表面に回路パターンを形成することで構成されている。第1回路基板部310は第2保持体150の外形寸法形状(但し挿通ガイド孔153よりも上部の部分を除く)と略同じ外形寸法形状を有しており、その両端部近傍(第2保持体150の各貫通部151に対向する位置)に一対の貫通孔311を設けている。第1回路基板部310の一方の面(第1保持体50側を向く面)には摺動子140の摺動接点143に摺接する摺接パターン313が形成されている。一方第2回路基板部330は略矩形状であって、前記保持台200の略全体を載置する外形寸法形状を有しており、保持台200の下面の一対の押圧部225に対向する位置にそれぞれ押圧式スイッチ340を設置し、またその四隅近傍の前記保持台200の各取付突部261に対向する位置に取付突部261を略ぴったり挿入する寸法の貫通孔331を設けている。押圧式スイッチ340は第2回路基板部330表面に形成した図示しない一対のスイッチ接点パターンの上に弾性金属板をドーム形状に形成してなる反転板(可動接点板)341を取り付けて構成されている。第2回路基板部330の外周には前記摺接パターン313と押圧式スイッチ340の出力を引き出す引出部333が接続されている。
基台350は合成樹脂(例えばABS樹脂等)を略矩形状に成形して構成されており、前記保持台200の各取付突部261に対向する位置に、これら各取付突部261を挿入する寸法形状の貫通孔からなる挿入固定部355を設けている。
次にこの多方向操作型電子部品1の組立方法を説明する。まず予め移動体100の摺動子設置部105に摺動子140を設置し、その際移動体100の小突起107を摺動子140の小孔145に挿入して小突起107の先端を熱かしめすることで移動体100に摺動子140を取り付ける。また移動体100の各グリス充填部115に図示しないグリスを充填しておく。
次に電子部品10を組み立てる。まず移動体100のコイル収納部101に、両端にバネ受け81を取り付けた弾発手段80を収納する。次にこの移動体100を第1保持体50の収納部53に収納する。このとき第1保持体50の各コイル係止部61の先端は移動体100の各挿通部103に挿入され、それらの先端はバネ受け81に当接する。またこのとき移動体100のガイド突起109を第1保持体50の挿通ガイド孔71に挿入する。次に第1保持体50の収納部53を塞ぐように第2保持体150を被せる。このとき第1保持体50の各取付部63を第2保持体150の各貫通部151に挿入し、同時に第1保持体50の一対の仮止め用係止片65を第2保持体150の一対の係止片係止部159に係合(仮止め用係止片65自体が撓むことによるスナップイン係合)する。これによって第1保持体50と第2保持体150間が仮止めされる。このように仮止めするのは、もし仮止めしないと、摺動子140の弾発力によって、第1保持体50と第2保持体150間が離れてしまい、これらを一体化したものを保持台200上に設置する際に、立設部213の内側に入りにくくなり、その設置が困難になる恐れがあるからである。またこのとき移動体100のガイド突起111が第2保持体150の挿通ガイド孔153に挿入される。このように第1,第2保持体50,150を接合することによって1つの保持体が形成され、この保持体の上面に形成される開口部55内に移動体100の操作つまみ取付部113が露出する。そして露出している操作つまみ取付部113に保持体50,150の上方から操作つまみ20の取付部29を嵌合して取り付ける。このとき移動体100の一対のガイド突起109,111がそれぞれ操作つまみ20の移動体係止部37の係止孔39と移動体係止部31の係止孔33に係合(移動体係止部37,31が撓むことによるスナップイン係合)する。これによって電子部品10の組み立てが完了する。
次に組み立てた電子部品10を、保持台200の保持台本体部210上に載置する。このとき第1保持体50の各取付部67を保持台本体部210の各被取付部211に挿入し、保持台本体部210の下面において各取付部67の先端を熱かしめによって取り付ける。その際立設部213の内側面に設けたガイド部217が第2保持体150の押え部155の先端辺に当接する。従って第1保持体50の取付部63の先端を熱かしめしなくても、第2保持体150は第1保持体50に押し付けられ、両者間が離間することはなく、その分組み立てが容易に行える(前記取付部63の熱かしめが不要になる)。
次に前記電子部品10から引き出されているフレキシブル回路基板300の連結部305を保持台本体部210の挿通部219に挿入して折り返し、第2回路基板部330を保持台200の下面側に設置する。同時に第2回路基板部330の下側に基台350を設置する。このとき保持台200下面の各取付突部261を、第2回路基板部330の各貫通孔331と基台350の各挿入固定部355に挿入し、基台350の下面において前記各取付突部261の先端を熱かしめする。これによって多方向操作型電子部品1の組み立てが完了する。なお上記組立手順はその一例であり、他の各種異なる組立手順を用いて組み立てても良いことはいうまでもない。
以上のようにして構成された多方向操作型電子部品1において、操作つまみ20及び移動体100は図7に示すように、弾発手段80によって中立位置、即ち中央位置に保持されている。またこのとき図7に示すように、保持台200の取付部260の下面が第2回路基板部330上に当接し、また保持台200の支持突起223の先端が第2回路基板部330上に当接又は隙間を介して対向し、さらに図6に示すように、保持台200の各押圧部225の先端がそれぞれ押圧式スイッチ340の反転板341上に当接している。
そして前記弾発手段80の弾発力に抗して操作つまみ20を図1に示す移動方向(揺動方向)Cに揺動すると、これと一体に移動体100及び摺動子140が揺動し、摺動子140の摺動接点143が第1回路基板部310の摺接パターン313上を摺動し、その出力信号が変化する。操作つまみ20を移動方向Cに揺動する際、両ヒンジ部250を結ぶ揺動軸L上を押圧することになるので、保持台本体部210が揺動することはない。前記操作つまみ20を揺動する力を解除すると、弾発手段80の弾発力によって操作つまみ20及び移動体100と摺動子140は元の中立位置に自動復帰する。
一方操作つまみ20の中立位置において、この操作つまみ20の操作部21上面の前記移動方向Cに直交する位置(操作部21を真上から見て揺動軸Lに直交する左右の位置)を押圧すると、保持台200の両ヒンジ部250がねじれることで、揺動軸Lを中心にして、保持台本体部210及び電子部品1全体が前記移動方向Cに直交する移動方向(揺動方向)Dに揺動し、この揺動によって下降した側の押圧部225が押圧式スイッチ340を押圧し、その反転板341を反転し、クリック感触を生じながらそのスイッチがオンする。操作つまみ20を移動方向Dに揺動する際、移動体100が揺動する移動方向Cとは直交しているので、操作つまみ20が電子部品10を操作する移動方向Cに向けて揺動することはない。前記押圧(揺動)を解除すれば、反転板341の弾性復帰力と、ねじれたヒンジ部250の元の形状に戻ろうとする復帰力によって、保持台本体部210は元の水平状態に揺動して戻り、同時に押圧式スイッチ340の押圧が解除されてそのスイッチがオフする。前記保持台本体部210の前記移動方向Dへの揺動時は、保持台本体部210に設けた支持突起223が第2回路基板部330上に当接して保持台本体部210の揺動を支えるので、保持台本体部210の移動方向Dへの揺動動作をよりスムースに行わせることができる。また支持突起223が第2回路基板部330上に当接することで、2つの押圧式スイッチ340が同時に押圧されることを防止できる。操作つまみ20の移動方向Dへの左右の移動操作によって、左右一対の押圧式スイッチ340を操作することができる。
以上説明したように多方向操作型電子部品1は、操作つまみ20を一定の方向Cに揺動することで出力信号を変化させる電子部品10と、電子部品10を載置する保持台本体部210と保持体本体部210の外周辺の対向する位置から突出する一対の可撓性を有するヒンジ部250とヒンジ部250の先端側部分に取り付けられる取付部260とを有しこれによって一対のヒンジ部250を結ぶ軸を揺動軸Lとしてねじることで保持台本体部210を揺動させる保持台200と、保持台200の電子部品10を載置した反対面側であって、保持台本体部210が前記揺動に伴って上下動する位置に配置される押圧式スイッチ340とを有し、前記操作つまみ20が揺動する向きCと、保持台本体部210の揺動する向きDとが略直交するように電子部品10を保持台本体部210上に設置し、操作つまみ20を揺動して電子部品10の出力信号を変化させる際は保持台本体部210が静止し、一方操作つまみ20を前記揺動方向Cに略直交する方向Dに揺動する際は保持台本体部210がその揺動軸Lを中心に揺動して押圧式スイッチ340を押圧操作するように構成されている。
このように多方向操作型電子部品1を構成することによって、揺動式の電子部品10の操作つまみ20を、通常の操作方向Cへ操作することによって出力信号が変化できると共に、前記操作方向Cに略直交する方向Dへ揺動操作することによって別の押圧式スイッチ340を操作できる。つまり揺動式の電子部品10の操作つまみ20を略直交する二つの方向に移動することで、それぞれ揺動式電子部品の出力と押圧式電子部品の出力、即ち異なる種類の出力信号を得ることができる。
即ち操作つまみ20を操作方向Dに移動した場合はスイッチをオンオフ動作させるが、操作つまみ20を操作方向Cに移動した場合は摺動子140の摺接パターン313への摺接による出力変化を出力させ、両者異なる形式の出力が得られる。従って例えば、操作つまみ20を操作方向Dに移動した場合はスイッチをオンさせるかオフさせるかだけの出力信号が得られるのに対し、操作つまみ20を操作方向Cに移動した場合はその揺動角度(移動量)に応じて異なる出力信号を得ることができる。これらのことから例えば、この多方向操作型電子部品1を携帯型のビデオカメラの操作パネルの入力手段の1つとして取り付け、その操作つまみ20を一方の方向Cに揺動する際は揺動量に応じて操作されるズーム用として用い、もう一方の方向Dに揺動する際は確定スイッチや機能切換スイッチ等の切換スイッチ用として用いることができる。
また操作つまみ20の一方の方向Cへの操作感触と、もう一方の方向Dへの操作感触は異なっている。即ち、操作つまみ20を電子部品10操作用の操作方向Cに揺動した場合は、操作つまみ20と移動体100が弾発手段80の弾発力に抗して移動するのに対し、操作つまみ20を押圧式スイッチ340操作用の操作方向Dに揺動した場合は、電子部品10全体と保持台本体部210がヒンジ部250のねじり力と反転板341の反転力に抗して移動する。従って操作つまみ20を操作方向Cに揺動操作する場合と、操作方向Dに揺動操作する場合とでは、両者の揺動半径が異なる上、揺動した際に加える力の状態も大きく異なる。このためこの多方向操作型電子部品1を操作する操作者に新しい好適な操作感触を与えることができる。これらの操作は通常指の感触だけで行われるので、両方向への操作感触が異なっている方が操作し易く、また操作ミスも生じない。
また上記多方向操作型電子部品1によれば、上記機能を有する多方向操作型電子部品1を保持台200と押圧式スイッチ340を追加するという簡単な構成で実現できる。また上記多方向操作型電子部品1によれば、操作つまみ20の揺動する向きCと、保持台本体部210の揺動する向きDとを略直交するように、電子部品10を保持台本体部210上に設置したので、別途特別の機構を設けなくても、操作つまみ20を揺動して電子部品10の出力信号を変化させる際は保持台本体部210の揺動を防止でき、一方操作つまみ20の前記揺動方向Cに略直交する方向Dに揺動する際は操作つまみ20の前記方向Cへの揺動を防止できる。
また上記多方向操作型電子部品1では、前記保持台200の取付部260と前記押圧式スイッチ340とを載置する基台350をさらに有し、前記保持台本体部210の前記基台350を設置した側の面に、先端が前記基台350に直接又は他の部材(第2回路基板部330)を介して対向して保持台本体部210をその揺動方向に揺動自在に支持する支持突起223を設けたので、保持台本体部210の揺動方向Dへの揺動動作がよりスムースに行えるようになる。
また上記多方向操作型電子部品1では、押圧式スイッチ340が揺動軸Lを挟んだ両側の対向する位置に一対設けられているので、操作つまみ20の操作によって、左右一対の押圧式スイッチ340を操作することができる。
ところで上記実施形態では電子部品10内の移動体100を揺動させるように構成したが、その代りに、移動体を略直線方向に移動することで電子部品の出力信号を変化させるように構成しても良い。つまり上記実施形態の電子部品10は揺動式電子部品であるが、その代りにスライド式電子部品を用いても良い。この場合も操作つまみを略直交する二つの方向に移動することで異なる出力信号が得られる。またこの実施形態の場合、操作つまみを一方の方向へは直線状に移動し、もう一方の方向へは揺動する方向に移動するので、両方向への操作感覚が大きく相違する。
以上本発明の実施形態を説明したが、本発明は上記実施形態に限定されるものではなく、特許請求の範囲、及び明細書と図面に記載された技術的思想の範囲内において種々の変形が可能である。なお直接明細書及び図面に記載がない何れの形状や構造や材質であっても、本願発明の作用・効果を奏する以上、本願発明の技術的思想の範囲内である。例えば、保持台200の取付部260の形状は種々の変更が可能であり、例えば図8(a)に示すように略U字形状に形成しても良いし、図8(b)に示すように略V字形状に形成しても良いし、図8(c)に示すように略コ字形状であって保持台本体部210の周囲を覆う形状に形成しても良い。
また例えば、摺接パターン313の種類を変更することで、電子部品10の出力を抵抗値を変化する出力としても良く、スイッチを切り換える出力としても良い。また上記実施形態では保持台200のヒンジ部250を一対設けたが、場合によっては二対以上設けても良い。また上記実施形態では押圧式スイッチ340を揺動軸Lを挟んだ両側の対向する位置に一対設けたが、2対以上設けても良く、または揺動軸Lの何れか一方の側のみに1つ以上設けても良い。また上記実施形態では保持台200の支持突起223を、基台350上に載置した第2回路基板部330上に対向させたが、第2回路基板部330を設置しないような場合は支持突起223の先端を直接基台350上に対向させても良い。また支持突起223の先端は、第2回路基板部330に(又は直接基台350に)当接するように対向させても良いし、隙間を介して対向させても良い。
また電子部品は上記構造の電子部品10に限定されず、他の各種構造の揺動式電子部品,スライド式電子部品であっても良い。要は操作つまみを一定の方向に揺動又は略直線移動することで出力信号を変化させる電子部品であればよい。また上記実施形態では保持台を構成する保持台本体部とヒンジ部と取付部とを一体成形品で構成したが、これら各部を別部品で構成しても良い。例えばヒンジ部を合成樹脂フイルムやゴム材で構成し、このヒンジ部を成形樹脂製の保持台本体部と取付部に固定(熱かしめやインサート成形による)しても良い。
1 多方向操作型電子部品
10 電子部品
20 操作つまみ
50 第1保持体(保持体)
80 弾発手段
100 移動体
140 摺動子
150 第2保持体(保持体)
200 保持台
223 支持突起
250 ヒンジ部
260 取付部
L 揺動軸
300 フレキシブル回路基板(回路基板)
310 第1回路基板部
330 第2回路基板部
340 押圧式スイッチ
350 基台

Claims (3)

  1. 操作つまみを一定の方向に揺動又は略直線移動することで出力信号を変化させる電子部品と、
    前記電子部品を載置する保持台本体部と、保持体本体部の外周辺の対向する位置から突出する少なくとも一対の可撓性を有するヒンジ部と、ヒンジ部の先端側部分に取り付けられる取付部とを有し、これによって前記一対のヒンジ部を結ぶ軸を揺動軸として前記保持台本体部を揺動させる保持台と、
    前記保持台の前記電子部品を載置した反対面側であって、前記保持台本体部が前記揺動に伴って上下動する位置に配置される押圧式スイッチと、を有し、
    前記操作つまみが揺動又は略直線移動する向きと、前記保持台本体部の揺動する向きとが略直交するように前記電子部品を保持台本体部上に設置し、
    前記操作つまみを揺動又は略直線移動して電子部品の出力信号を変化させる際は前記保持台本体部が静止し、一方前記操作つまみを前記揺動又は略直線移動方向に対して略直交する方向に揺動する際は前記保持台本体部がその揺動軸を中心に揺動して前記押圧式スイッチを押圧操作することを特徴とする多方向操作型電子部品。
  2. 請求項1に記載の多方向操作型電子部品であって、
    前記保持台の取付部と前記押圧式スイッチとを載置する基台をさらに有し、
    前記保持台本体部の前記基台を設置した側の面に、先端が前記基台に直接又は他の部材を介して対向して保持台本体部をその揺動方向に揺動自在に支持する支持突起を設けたことを特徴とする多方向操作型電子部品。
  3. 請求項2に記載の多方向操作型電子部品であって、
    前記押圧式スイッチは、前記揺動軸を挟んだ両側の対向する位置に一対設けられていることを特徴とする多方向操作型電子部品。
JP2011255120A 2011-11-22 2011-11-22 多方向操作型電子部品 Expired - Fee Related JP5766101B2 (ja)

Priority Applications (1)

Application Number Priority Date Filing Date Title
JP2011255120A JP5766101B2 (ja) 2011-11-22 2011-11-22 多方向操作型電子部品

Applications Claiming Priority (1)

Application Number Priority Date Filing Date Title
JP2011255120A JP5766101B2 (ja) 2011-11-22 2011-11-22 多方向操作型電子部品

Publications (2)

Publication Number Publication Date
JP2013110012A true JP2013110012A (ja) 2013-06-06
JP5766101B2 JP5766101B2 (ja) 2015-08-19

Family

ID=48706562

Family Applications (1)

Application Number Title Priority Date Filing Date
JP2011255120A Expired - Fee Related JP5766101B2 (ja) 2011-11-22 2011-11-22 多方向操作型電子部品

Country Status (1)

Country Link
JP (1) JP5766101B2 (ja)

Citations (2)

* Cited by examiner, † Cited by third party
Publication number Priority date Publication date Assignee Title
JPS60112037U (ja) * 1983-12-29 1985-07-29 クラリオン株式会社 ボタンスイツチ機構
JP2011034796A (ja) * 2009-07-31 2011-02-17 Alps Electric Co Ltd 入力制御装置

Patent Citations (2)

* Cited by examiner, † Cited by third party
Publication number Priority date Publication date Assignee Title
JPS60112037U (ja) * 1983-12-29 1985-07-29 クラリオン株式会社 ボタンスイツチ機構
JP2011034796A (ja) * 2009-07-31 2011-02-17 Alps Electric Co Ltd 入力制御装置

Also Published As

Publication number Publication date
JP5766101B2 (ja) 2015-08-19

Similar Documents

Publication Publication Date Title
JP2004171924A (ja) 多方向スライドスイッチ
JP5766101B2 (ja) 多方向操作型電子部品
JP2000260264A (ja) 複合操作型電気部品
JP2008305687A (ja) 多方向操作スイッチ
JP6813752B2 (ja) 押圧スイッチ付き回転式電子部品
US20080041706A1 (en) Operating button device
JP4334576B2 (ja) 二段押圧スイッチ及び回転式電子部品付き押圧スイッチ
JP4247312B2 (ja) 電子機器
JP6643137B2 (ja) クリック機構付き回転式電子部品
JP5722738B2 (ja) 多機能型電子部品
JP3931528B2 (ja) 押圧・回転操作型電子部品およびそれを用いた電子機器
JP6549979B2 (ja) 押圧スイッチ付き回転式電子部品
JP4013442B2 (ja) 押圧・回転操作型電子部品およびその装着方法
JP5323669B2 (ja) クリック機能付き電子部品
JP4846662B2 (ja) 多方向操作スイッチ
JP4601718B2 (ja) 多機能型電子部品
JP7033785B2 (ja) スイッチ機構
JP2005019314A (ja) 多方向押圧型スイッチ
JP2008282700A (ja) 電子部品
JP2007335191A (ja) 多機能型電子部品
JP2007141501A (ja) 電子部品のロック機構
JP4619196B2 (ja) 押圧スイッチ付き摺動式電子部品
JP3920567B2 (ja) 複合操作型電気部品
JP2005293885A (ja) 電子部品用操作板
JP2007053018A (ja) スライド式電子部品及びその組立方法

Legal Events

Date Code Title Description
A621 Written request for application examination

Free format text: JAPANESE INTERMEDIATE CODE: A621

Effective date: 20140227

A977 Report on retrieval

Free format text: JAPANESE INTERMEDIATE CODE: A971007

Effective date: 20141112

A131 Notification of reasons for refusal

Free format text: JAPANESE INTERMEDIATE CODE: A131

Effective date: 20141118

A521 Request for written amendment filed

Free format text: JAPANESE INTERMEDIATE CODE: A523

Effective date: 20150115

TRDD Decision of grant or rejection written
A01 Written decision to grant a patent or to grant a registration (utility model)

Free format text: JAPANESE INTERMEDIATE CODE: A01

Effective date: 20150609

A61 First payment of annual fees (during grant procedure)

Free format text: JAPANESE INTERMEDIATE CODE: A61

Effective date: 20150616

R150 Certificate of patent or registration of utility model

Ref document number: 5766101

Country of ref document: JP

Free format text: JAPANESE INTERMEDIATE CODE: R150

R250 Receipt of annual fees

Free format text: JAPANESE INTERMEDIATE CODE: R250

R250 Receipt of annual fees

Free format text: JAPANESE INTERMEDIATE CODE: R250

R250 Receipt of annual fees

Free format text: JAPANESE INTERMEDIATE CODE: R250

R250 Receipt of annual fees

Free format text: JAPANESE INTERMEDIATE CODE: R250

R250 Receipt of annual fees

Free format text: JAPANESE INTERMEDIATE CODE: R250

LAPS Cancellation because of no payment of annual fees