JP2013083323A - 電磁弁マニホールド - Google Patents
電磁弁マニホールド Download PDFInfo
- Publication number
- JP2013083323A JP2013083323A JP2011224250A JP2011224250A JP2013083323A JP 2013083323 A JP2013083323 A JP 2013083323A JP 2011224250 A JP2011224250 A JP 2011224250A JP 2011224250 A JP2011224250 A JP 2011224250A JP 2013083323 A JP2013083323 A JP 2013083323A
- Authority
- JP
- Japan
- Prior art keywords
- valve
- valve body
- axial direction
- end side
- hole
- Prior art date
- Legal status (The legal status is an assumption and is not a legal conclusion. Google has not performed a legal analysis and makes no representation as to the accuracy of the status listed.)
- Pending
Links
Images
Landscapes
- Valve Housings (AREA)
- Fluid-Driven Valves (AREA)
- Multiple-Way Valves (AREA)
- Magnetically Actuated Valves (AREA)
Abstract
【課題】電磁弁を介して給排される圧力流体の流量の大流量化を図ることのできる電磁弁マニホールドを提供する。
【解決手段】弁ボディ32の第1側面32bをスプール弁体の軸方向一端側よりも軸方向他端側の方が弁孔から離間するように形成するとともに、弁ボディ32の第2側面32cをスプール弁体の軸方向他端側よりも軸方向一端側の方が弁孔から離間するように形成した。そして、マニホールドベース2の前面2bに開口する第1出力流路14に接続される第1出力ポート38の対向面32aでの開口部38aを、第1排気ポート36の対向面32aでの開口部36aよりも第1側面32b側に膨出した形状に形成した。
【選択図】図3
【解決手段】弁ボディ32の第1側面32bをスプール弁体の軸方向一端側よりも軸方向他端側の方が弁孔から離間するように形成するとともに、弁ボディ32の第2側面32cをスプール弁体の軸方向他端側よりも軸方向一端側の方が弁孔から離間するように形成した。そして、マニホールドベース2の前面2bに開口する第1出力流路14に接続される第1出力ポート38の対向面32aでの開口部38aを、第1排気ポート36の対向面32aでの開口部36aよりも第1側面32b側に膨出した形状に形成した。
【選択図】図3
Description
本発明は、電磁弁マニホールドに関する。
従来、複数の流体圧機器(例えば、エアシリンダ等)の駆動を並行して制御することが可能な電磁弁マニホールドが知られている(例えば、特許文献1)。図9に示す例では、電磁弁マニホールド91は、マニホールドベース92の載置面92a上に複数の電磁弁93を一方向に配列することにより構成されている。電磁弁93には、パイロット流体によりスプール弁体94を往復動させるパイロット形電磁弁が採用されている。
詳しくは、図10及び図11に示すように、マニホールドベース92には、圧力流体の供給源(図示略)に接続される給気流路95と、第1及び第2排気流路96,97がスプール弁体94の軸方向と直交する幅方向に沿って延設されている。そして、給気流路95には、同給気流路95から分岐して載置面92aに開口する複数の給気連通流路95aが電磁弁93毎に形成されるとともに、第1及び第2排気流路96,97には、同第1及び第2排気流路96,97から分岐して載置面92aに開口する第1及び第2排気連通流路96a,97aが電磁弁93毎にそれぞれ形成されている。また、マニホールドベース92には、載置面92aに開口し、電磁弁93と流体圧機器とを接続する第1及び第2出力流路98,99が電磁弁93毎にそれぞれ形成されている。
一方、電磁弁93は、スプール弁体94が挿入される弁孔101が形成された略直方体状の弁ボディ102を備えている。弁ボディ102には、給気流路95に接続される給気ポート103と、第1及び第2排気流路96,97にそれぞれ接続される第1及び第2排気ポート104,105と、第1及び第2出力流路98,99にそれぞれ接続される第1及び第2出力ポート106,107が形成されている。各ポート103〜107は、弁孔101にそれぞれ連通するとともに、弁ボディ102におけるマニホールドベース92の載置面92aと対向する対向面102aに開口している。そして、パイロット弁部108を介して供給されるパイロット流体によりスプール弁体94が弁孔101内を往復動することで、各ポート103〜107間の連通が切り換えられるようになっている。
図9に示すように、弁ボディ102における幅方向両側の側面102bには、それぞれ凸部111及び凹部112が形成されており、弁ボディ102の凸部111と対応する位置には、取付孔113が形成されている。そして、各電磁弁93は、凸部111が隣接する電磁弁93の凹部112に嵌合した状態で取付孔113に取付ネジ114が挿通されることによりマニホールドベース92上に固定されている。このように凸部111に取付孔113を形成することで弁孔101の内径を大きくし、各電磁弁93を介して給排される圧力流体の大流量化が可能となっている。なお、凸部111を形成することで電磁弁93単体での幅は大きくなるものの、凸部111を隣接する電磁弁93の凹部112に嵌合させることで、隣接する電磁弁93間の間隔である所謂バルブピッチが大きくなることを防止できるため、電磁弁マニホールド91全体での大型化が抑制されている。
ところで、電磁弁マニホールド91の取付性等の観点から、多くの場合、第1及び第2出力流路98,99は、マニホールドベース92におけるスプール弁体94の軸方向一端側の前面92bに開口して形成される。そのため、図11に示すように、第1出力流路98と第1排気連通流路96aとは、互いに干渉することを避けるために幅方向に並べて形成されることになる。そのため、第1出力流路98におけるスプール弁体94の軸方向に沿った直線部98aと第1出力ポート106の開口部106aとが重なる面積、及び第1排気連通流路96aの開口面積(内径)の少なくとも一方を小さくせざるを得ず、圧力流体の流量が制限されてしまう虞があった。なお、説明の便宜上、図11では、右端の電磁弁93に接続される第1出力流路98の直線部98aのみを示し、他の直線部98a及び第2出力流路99の直線部を省略している。
本発明は、上記問題点を解決するためになされたものであって、その目的は、電磁弁を介して給排される圧力流体の流量の大流量化を図ることのできる電磁弁マニホールドを提供することにある。
上記目的を達成するため、請求項1に記載の発明は、複数の流路が形成されたマニホールドベースと、前記各流路に接続される複数のポートが形成された弁ボディ及び前記各ポート間の連通を切り換える軸状の主弁体を有する複数の電磁弁と、を備え、前記各流路の少なくとも1つは、前記マニホールドベースにおける前記電磁弁が載置される載置面及び前記主弁体の軸方向一端側の端面にそれぞれ開口し、前記弁ボディには、前記主弁体が挿入されるとともに前記各ポートが連通する弁孔が形成され、前記各電磁弁は、前記載置面上に前記軸方向と直交する幅方向に配列されてなる電磁弁マニホールドにおいて、前記弁ボディにおける前記幅方向一端側の第1側面は、前記軸方向一端側よりも前記軸方向他端側の方が前記弁孔から離間するように形成されるとともに、前記弁ボディにおける前記幅方向他端側の第2側面は、前記軸方向他端側よりも前記軸方向一端側の方が前記弁孔から離間するように形成され、前記載置面及び前記端面に開口する流路に接続される前記ポートは、前記弁ボディの前記載置面と対向する対向面での開口部が、当該ポートの前記軸方向一端側に配置される前記ポートの前記対向面での開口部よりも前記第1側面側へ膨出した形状に形成されたことを要旨とする。
請求項2に記載の発明は、請求項1に記載の電磁弁マニホールドにおいて、前記弁ボディには、前記電磁弁を前記載置面上に固定するための取付部材が挿通される取付孔が前記弁孔の軸方向他端部に対する前記第1側面側、及び前記弁孔の軸方向一端部に対する前記第2側面側にそれぞれ設けられたことを要旨とする。
請求項3に記載の発明は、請求項1又は2に記載の電磁弁マニホールドにおいて、前記電磁弁は、前記弁ボディにおける前記軸方向両端の少なくとも一方に連結され、前記主弁体の軸端部に設けられたピストンが往復動可能に収容されるピストン室を構成するピストンボディを有し、前記ピストン室へ供給されるパイロット流体により前記主弁体を往復動させるパイロット形電磁弁として構成されたものであって、前記ピストンボディには、手動操作により前記パイロット流体の前記ピストン室への供給を制御する手動操作弁部が前記ピストン室に対して前記幅方向に並置されたことを要旨とする。
本発明によれば、電磁弁を介して給排される圧力流体の流量の大流量化を図ることのできる電磁弁マニホールドを提供することができる。
以下、本発明を具体化した一実施形態を図面に従って説明する。
図1に示すように、電磁弁マニホールド1は、略直方体状のマニホールドベース2と、マニホールドベース2の載置面2a上に並設される複数の電磁弁3とを備えている。電磁弁3は、パイロット流体により主弁体としてのスプール弁体21を往復動させるパイロット形電磁弁として構成されている。そして、電磁弁マニホールド1は、電磁弁3の数に応じた複数の図示しない流体圧機器(例えば、エアシリンダ等)の駆動を並行して制御することが可能となっている。なお、以下の説明では、スプール弁体21の軸方向と直交するとともに電磁弁3が配列された方向(載置面2aと平行な方向)を幅方向とし、載置面2aと直交する方向を高さ方向とする。
図1に示すように、電磁弁マニホールド1は、略直方体状のマニホールドベース2と、マニホールドベース2の載置面2a上に並設される複数の電磁弁3とを備えている。電磁弁3は、パイロット流体により主弁体としてのスプール弁体21を往復動させるパイロット形電磁弁として構成されている。そして、電磁弁マニホールド1は、電磁弁3の数に応じた複数の図示しない流体圧機器(例えば、エアシリンダ等)の駆動を並行して制御することが可能となっている。なお、以下の説明では、スプール弁体21の軸方向と直交するとともに電磁弁3が配列された方向(載置面2aと平行な方向)を幅方向とし、載置面2aと直交する方向を高さ方向とする。
詳述すると、図2及び図3に示すように、マニホールドベース2には、圧力流体としての圧縮エアの供給源(図示略)に接続される給気流路11、及び第1及び第2排気流路12,13が幅方向にそれぞれ延設されている。給気流路11は、マニホールドベース2におけるスプール弁体21の軸方向中央付近に形成され、第1及び第2排気流路12,13は、給気流路11の両側に形成されている。そして、給気流路11には、同給気流路11から分岐して載置面2aに開口する複数の給気連通流路11aが電磁弁3毎に形成され、第1及び第2排気流路12,13には、同第1及び第2排気流路12,13から分岐して載置面2aに開口する第1及び第2排気連通流路12a,13aが電磁弁3毎にそれぞれ形成されている。
また、マニホールドベース2には、電磁弁3と流体圧機器とを接続する複数の第1及び第2出力流路14,15が電磁弁3毎に形成されている。第1及び第2出力流路14,15は、略L字状に形成されており、載置面2a及びスプール弁体21の軸方向一端側(図2における右側)の端面である前面2bにそれぞれ開口するように形成されている。詳しくは、第1及び第2出力流路14,15は、載置面2aにおいて給気連通流路11aと第1及び第2排気連通流路12a,13aとの間に開口するとともに、前面2bにおいて高さ方向にずれた位置に開口している。そして、第1出力流路14におけるスプール弁体21の軸方向に沿った直線部14aと第1排気連通流路12aとは、幅方向に並んで形成されている。
次に、電磁弁の構成について説明する。
図1及び図2に示すように、電磁弁3は、上記スプール弁体21及び同スプール弁体21を往復動可能に収容する略直方体状のバルブボディ22を有する主弁部23と、バルブボディ22におけるスプール弁体21の軸方向両側に設けられる一対のパイロット弁部24及び一対の手動操作弁部25とを備えている。
図1及び図2に示すように、電磁弁3は、上記スプール弁体21及び同スプール弁体21を往復動可能に収容する略直方体状のバルブボディ22を有する主弁部23と、バルブボディ22におけるスプール弁体21の軸方向両側に設けられる一対のパイロット弁部24及び一対の手動操作弁部25とを備えている。
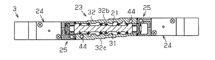
主弁部23のバルブボディ22は、スプール弁体21の軸方向両側に開口する弁孔31が形成された弁ボディ32と、弁ボディ32におけるスプール弁体21の軸方向両側にそれぞれ連結される略直方体状のピストンボディ33とを有している。弁ボディ32の弁孔31には、スプール弁体21が往復動可能に収容されている。一方、スプール弁体21には、軸方向において互いに離間するとともに圧縮エアの流路を切り換える複数の弁部21aが形成されている。各弁部21aの直径は、スプール弁体21の軸径よりも大きく形成されており、各弁部21aの外周面には、弁孔31との間をシールするパッキン34が装着されている。
図2に示すように、弁ボディ32には、給気連通流路11aに接続される給気ポート35と、第1及び第2排気連通流路12a,13aにそれぞれ接続される第1及び第2排気ポート36,37と、第1及び第2出力流路14,15にそれぞれ接続される第1及び第2出力ポート38,39が形成されている。上記各ポート35〜39は、弁孔31にそれぞれ連通するとともに、弁ボディ32におけるマニホールドベース2の載置面2aと対向する対向面32aに開口している。そして、給気ポート35は、弁ボディ32におけるスプール弁体21の軸方向中央付近に形成され、第1及び第2排気ポート36,37は、給気ポート35の両側にそれぞれ形成されている。また、第1及び第2出力ポート38,39は、給気ポート35と第1及び第2排気ポート36,37との間にそれぞれ形成されている。
本実施形態では、図1に示すように、弁ボディ32における幅方向一端側(図1における左側)の第1側面32bは、スプール弁体21の軸方向一端側(図1における下側)よりも他端側(図1における上側)の方が弁孔31から離間するように形成されている。また、弁ボディ32における幅方向他端側(図1における右側)の第2側面32cは、スプール弁体21の軸方向他端側よりも一端側の方が弁孔31から離間するように形成されるとともに、隣接する電磁弁3の第1側面32bとスプール弁体21の軸方向において重なり合うように形成されている。つまり、弁ボディ32は、電磁弁マニホールド1の平面視で、軸方向一端側と軸方向他端側とが幅方向にずれた略クランク形状に形成されている。
具体的には、第1側面32bは、スプール弁体21の軸方向一端側から他端側に向かって弁孔31から離間するように所定角度で傾斜した第1傾斜面41a、及び第1傾斜面41aにおける軸方向両端に連続して設けられる同軸方向と平行な第1平行面41bから構成されている。すなわち、第1側面32bは、任意の位置での弁孔31までの距離が該任意の位置よりもスプール弁体21の軸方向一端側の位置での弁孔31までの距離以上となるように形成されている。
また、第2側面32cは、スプール弁体21の軸方向一端側から他端側に向かって弁孔31に近接するように上記第1傾斜面41aと平行に傾斜した第2傾斜面42a、及び第2傾斜面42aにおける軸方向両端に連続して設けられる同軸方向と平行な第2平行面42bから構成されている。すなわち、第2側面32cは、任意の位置での弁孔31までの距離が該任意の位置よりもスプール弁体21の軸方向他端側の位置での弁孔31までの距離以上となるように形成されている。なお、第1傾斜面41aと第2傾斜面42a、各第1平行面41bと各第2平行面42bとは、同じ大きさに形成されており、各電磁弁3の第1側面32bは、隣接する電磁弁3の第2側面32cと略全面で接するようになっている。
そして、図3に示すように、弁ボディ32の載置面2aと対向する対向面32aにおいて、第1出力ポート38の開口部38aは、第1排気ポート36の開口部36aよりも第1側面32b側に膨出した形状に形成されている。また、給気ポート35の開口部35aは、第1出力ポート38の開口部38aよりも第1側面32b側に膨出した形状に形成されている。さらに、第2出力ポート39の開口部39aは、給気ポート35の開口部35aよりも第1側面32b側に膨出した形状に形成されている。つまり、載置面2a及び前面2bに開口する第1出力流路14に接続される第1出力ポート38の開口部38aは、対向面32aにおいて、第1出力ポート38におけるスプール弁体21の軸方向一端側に隣り合って配置される第1排気ポート36の開口部36aよりも第1側面32b側に膨出した形状に形成されている。
また、図1に示すように、弁ボディ32には、取付孔44が弁孔31の軸方向他端部に対する第1側面32b側、及び弁孔31の軸方向一端部に対する第2側面32c側にそれぞれ設けられている。そして、取付部材としての取付ネジ45が取付孔44に挿通されてマニホールドベース2のネジ孔(図示略)に螺合することにより、弁ボディ32(電磁弁3)が載置面2a上に固定される用になっている。なお、図2に示すように、マニホールドベース2と弁ボディ32との間には、載置面2aと対向面32aとの間をシールするシール部材46が介在されている。シール部材46には、各ポート35〜39の対向面32aでの開口形状と同一形状の開口部(図示略)が形成されている。
さらに、弁ボディ32には、スプール弁体21の位置と無関係に給気ポート35と連通する位置に開口するとともに、同弁ボディ32におけるスプール弁体21の軸方向両端面に開口する略T字状の給気通路48が形成されている。
図2及び図4に示すように、バルブボディ22を構成するピストンボディ33には、弁ボディ側端面33aに開口するとともに、高さ方向に長い長穴状のピストン室52が形成されている。ピストン室52には、スプール弁体21の軸端部21bに固定されたピストン53が往復動可能に収容されている。また、図2及び図5に示すように、ピストンボディ33には、ピストン室52及びピストンボディ33のパイロット弁側端面33bに開口し、パイロット弁部24を介して給気通路48に連通する連通流路55が形成されている。そして、パイロット弁部24又は手動操作弁部25の作動状態に応じて、圧縮エアが給気通路48から連通流路55を介してピストン室52に供給され、スプール弁体21が往復動するようになっている。つまり、本実施形態の圧縮エアはパイロット流体としても機能する。
次に、手動操作弁部及びパイロット弁部の構成について説明する。なお、一対の手動操作弁部25及び一対のパイロット弁部24は、同様に構成されている。
図1に示すように、パイロット弁部24は、弁ボディ32との間にピストンボディ33を挟み込むように同ピストンボディ33に固定されており、手動操作弁部25は、ピストンボディ33内においてピストン室52に幅方向に並置されている。つまり、ピストンボディ33は、手動操作弁部25のボディとしても機能している。
図1に示すように、パイロット弁部24は、弁ボディ32との間にピストンボディ33を挟み込むように同ピストンボディ33に固定されており、手動操作弁部25は、ピストンボディ33内においてピストン室52に幅方向に並置されている。つまり、ピストンボディ33は、手動操作弁部25のボディとしても機能している。
詳しくは、図1及び図6に示すように、ピストンボディ33には、その上面に開口し、高さ方向に延設される軸穴61が軸方向において取付孔44と対向する位置に形成されている。また、図6に示すように、ピストンボディ33には、軸穴61及びピストンボディ33の弁ボディ側端面33aに開口する手動給気流路62が形成されるとともに、図2に示すように、パイロット弁側端面33b及び弁ボディ側端面33aに開口するコイル給気流路63がピストン室52の下方に形成されている。図4に示すように、弁ボディ側端面33aには、手動給気流路62及びコイル給気流路63の各開口部が開口する連結凹部64が形成されている。連結凹部64は、弁ボディ32との間で手動給気流路62及びコイル給気流路63と弁ボディ32の給気通路48とを連通する流路を構成するように形成されている。なお、弁ボディ32とピストンボディ33との間には、連結凹部64を取り囲むとともに、同連結凹部64と分離させてピストン室52の開口部を取り囲むように形成されたシール部材65が介在されている。
また、図6に示すように、ピストンボディ33には、軸穴61及びパイロット弁側端面33bにそれぞれ開口する中継流路67及びコイル出力流路68が高さ方向に間隔を空けて形成されている。さらに、図5に示すように、ピストンボディ33には、パイロット弁側端面33b及び高さ方向下側の下面に開口するコイル排気流路69が形成されている。パイロット弁側端面33bには、幅方向に延びて連通流路55及び中継流路67の各開口部がそれぞれ開口する第1連通溝71、及び幅方向に延びてコイル出力流路68の開口部が開口する第2連通溝72が形成されている。なお、ピストンボディ33とパイロット弁部24との間には、第1及び第2連通溝71,72の周囲、コイル給気流路63の開口の周囲、及びコイル排気流路69をそれぞれ取り囲むシール部材73が介在されている。
図6に示すように、軸穴61には、軸状の手動軸74が高さ方向に沿って往復動可能に収容されるとともに、手動軸74を高さ方向上側に付勢する手動バネ76が収容されている。手動軸74は、軸状の軸部75と、軸部75の上端に設けられてピストンボディ33の上面から突出する操作部77とを有している。操作部77の側面には、高さ方向に延びる係止凹部78が形成されており、同係止凹部78には、ピストンボディ33に固定されたピン79の先端が挿入されている。軸部75には、高さ方向に間隔を空けて一対の弁部75aが形成されるとともに、各弁部75aの直径は軸部75の軸径よりも大きく形成されている。なお、各弁部75aの外周面には、軸穴61との間をシールするパッキン80が装着されている。そして、各弁部75aは、係止凹部78の下端にピン79が当接する第1位置に手動軸74が位置する状態で、中継流路67とコイル出力流路68とが連通する一方、手動軸74が押圧され、係止凹部78の上端にピン79が当接する第2位置に手動軸74が位置する状態で、中継流路67と手動給気流路62とが連通するように形成されている。
図2に示すように、パイロット弁部24は、ピストンボディ33のパイロット弁側端面33bに固定されるパイロットボディ81を備えている。パイロットボディ81上には、ソレノイドコイル82が固定されるとともに、ソレノイドコイル82内には、プランジャ83が往復動可能に支持されている。また、プランジャ83はソレノイドコイル82のヨークを支点とするコイルバネ84aの付勢力により、ソレノイドコイル82外に向かって付勢されている。そして、ソレノイドコイル82が励磁されると、プランジャ83はコイルバネ84aの付勢力に抗してソレノイドコイル82内に向かって移動するようになっている。
図2において拡大して示すように、パイロットボディ81内には弁室85が区画されるとともに、弁室85内にはゴム製のパイロット弁体86が配設されている。弁室85において、パイロット弁体86の一端面側(図2における上側)には第1弁座85aが設けられるとともに、パイロット弁体86の他端面側(図2における下側)には第2弁座85bが設けられている。パイロット弁体86の一端面と、この一端面に対向するプランジャ83との間には、弁ガイドが設けられるとともに、パイロット弁体86の他端面と、この他端面に対向する弁室85の内面との間には、コイルバネ84bが配設されている。
また、パイロットボディ81には、第1弁座85aの内側を貫通して弁室85に開口するとともに、ピストンボディ33のコイル給気流路63に接続される給気孔87が形成されている。また、パイロットボディ81には、第2弁座85bの内側を貫通して弁室85に開口するとともに、コイル排気流路69に接続される排気孔88が形成されている。さらに、パイロットボディ81には、弁室85に開口するとともに第2連通溝72を介してコイル出力流路68に接続される出力孔89が形成されている。
次に、電磁弁の動作について図7に従って説明する。なお、図7では、説明の便宜上、圧縮エアが供給されている領域を点ハッチングにより示す。
図7(a)に示すように、供給源からマニホールドベース2の給気流路11に圧縮エアが供給されると、電磁弁3の給気ポート35、給気通路48を介して手動給気流路62及びコイル給気流路63(給気孔87)に圧縮エアが流入する。この状態で、ソレノイドコイル82への通電が開始されると、プランジャ83がソレノイドコイル82内に移動し、第1弁座85aにパイロット弁体86が着座して給気孔87と出力孔89とが連通状態となる。すると、図7(b)に示すように、出力孔89から第2連通溝72、コイル出力流路68、軸穴61、中継流路67、第1連通溝71及び連通流路55を介してピストン室52に圧縮エアが供給される。一方、ソレノイドコイル82への通電が停止されると、第2弁座85bにパイロット弁体86が着座し、排気孔88と出力孔89とが連通状態となる。すると、排気孔88からコイル排気流路69を介してピストン室52の圧縮エアが外部に排出される。
図7(a)に示すように、供給源からマニホールドベース2の給気流路11に圧縮エアが供給されると、電磁弁3の給気ポート35、給気通路48を介して手動給気流路62及びコイル給気流路63(給気孔87)に圧縮エアが流入する。この状態で、ソレノイドコイル82への通電が開始されると、プランジャ83がソレノイドコイル82内に移動し、第1弁座85aにパイロット弁体86が着座して給気孔87と出力孔89とが連通状態となる。すると、図7(b)に示すように、出力孔89から第2連通溝72、コイル出力流路68、軸穴61、中継流路67、第1連通溝71及び連通流路55を介してピストン室52に圧縮エアが供給される。一方、ソレノイドコイル82への通電が停止されると、第2弁座85bにパイロット弁体86が着座し、排気孔88と出力孔89とが連通状態となる。すると、排気孔88からコイル排気流路69を介してピストン室52の圧縮エアが外部に排出される。
また、パイロット弁部24への通電を停止した状態であっても、手動操作弁部25の手動軸74を押圧操作すると、図7(c)に示すように、手動給気流路62と連通流路55が連通状態となる。これにより、手動給気流路62から、軸穴61、連通流路55を介してピストン室52に圧縮エアが供給される。
そして、パイロット弁部24又は手動操作弁部25の作動に応じて、スプール弁体21の軸方向一端側のピストン室52に圧縮エアが供給されるとともに、他端側のピストン室52から圧縮エアが排出されると、スプール弁体21が軸方向他端側に移動する。これにより、給気ポート35と第1出力ポート38とが連通状態になるとともに、第2出力ポート39と第2排気ポート37とが連通状態となる。これに対し、一端側のピストン室52から圧縮エアが排出されるとともに、他端側のピストン室52に圧縮エアが供給されると、スプール弁体21が軸方向一端側に移動することで、給気ポート35と第2出力ポート39とが連通状態になるとともに、第1出力ポート38と第1排気ポート36とが連通状態となる。
以上記述したように、本実施形態によれば、以下の作用効果を奏することができる。
(1)弁ボディ32の第1側面32bをスプール弁体21の軸方向一端側よりも軸方向他端側の方が弁孔31から離間するように形成するとともに、第2側面32cをスプール弁体21の軸方向他端側よりも軸方向一端側の方が弁孔31から離間するように形成した。そして、第1出力流路14に接続される第1出力ポート38の対向面32aでの開口部38aを、第1排気ポート36の対向面32aでの開口部36aよりも第1側面32b側に膨出した形状に形成した。
(1)弁ボディ32の第1側面32bをスプール弁体21の軸方向一端側よりも軸方向他端側の方が弁孔31から離間するように形成するとともに、第2側面32cをスプール弁体21の軸方向他端側よりも軸方向一端側の方が弁孔31から離間するように形成した。そして、第1出力流路14に接続される第1出力ポート38の対向面32aでの開口部38aを、第1排気ポート36の対向面32aでの開口部36aよりも第1側面32b側に膨出した形状に形成した。
上記構成によれば、第1及び第2側面32b,32cがスプール弁体21の軸方向に対して幅方向の一端側に傾斜した形状となるため、第1出力流路14に接続される第1出力ポート38の開口部38aを、第1排気連通流路12aに接続される第1排気ポート36の開口部36aに対して幅方向一端側に大きく膨出させて形成することができる。そのため、マニホールドベース2において、各電磁弁3に対応する第1出力流路14及び第1排気連通流路12aを形成するために使用することが可能な幅方向の範囲を大きくすることができる。したがって、高さ方向視で第1出力流路14の直線部14aと第1出力ポート38の開口部38aとが重なる面積、及び第1排気連通流路12aの載置面2aでの開口面積(内径)の少なくとも一方を大きくすることができ、各電磁弁3を介して給排される圧縮エアの大流量化を図ることができる。
(2)取付孔44を弁孔31の軸方向他端部に対する第1側面32b側、及び弁孔31の軸方向一端部に対する前記第2側面32c側にそれぞれ設けた。上記構成によれば、弁孔31の幅方向両側における肉厚の厚い部位に取付孔44が形成されるため、同取付孔44を形成するために弁孔31の内径を小さくすることを抑制でき、各電磁弁3を介して給排される圧力流体の大流量化をより一層図ることができる。
(3)バルブボディ22は、弁ボディ32における軸方向両端に連結され、スプール弁体21の軸端部21bに設けられたピストン53が往復動可能に収容されるピストン室52を構成するピストンボディ33を有し、電磁弁3をピストン室52へ供給されるパイロット流体によりスプール弁体21を往復動させるパイロット形電磁弁として構成した。そして、ピストンボディ33に、手動操作によりパイロット流体のピストン室52への供給を制御する手動操作弁部25をピストン室52に対して幅方向に並置したため、電磁弁3がスプール弁体21の軸方向に大型化することを抑制できる。
なお、上記実施形態は、これを適宜変更した以下の態様にて実施することもできる。
・上記実施形態では、第1及び第2側面32b,32cがそれぞれ第1及び第2平行面41b,42bを有したが、これに限らず、例えば第1側面32b及び第2側面32c全体を弁孔31に対して傾斜する形状としてもよい。また、例えば図8に示すように、第1側面32bを一端側から他端側に向かって段階的に弁孔31から離間するとともに、第2側面32cを他端側から一端側に向かって段階的に弁孔31から離間する形状としてもよい。さらに、第1及び第2側面32b,32cがスプール弁体21の軸方向に対して湾曲する形状としてもよい。
・上記実施形態では、第1及び第2側面32b,32cがそれぞれ第1及び第2平行面41b,42bを有したが、これに限らず、例えば第1側面32b及び第2側面32c全体を弁孔31に対して傾斜する形状としてもよい。また、例えば図8に示すように、第1側面32bを一端側から他端側に向かって段階的に弁孔31から離間するとともに、第2側面32cを他端側から一端側に向かって段階的に弁孔31から離間する形状としてもよい。さらに、第1及び第2側面32b,32cがスプール弁体21の軸方向に対して湾曲する形状としてもよい。
・上記実施形態において、第1出力ポート38の開口部38aが第1排気ポート36の開口部36aよりも第1側面32b側に膨出した形状となれば、例えば給気ポート35の開口部35aが第1出力ポート38の開口部38aよりも第1側面32b側に膨出した形状とならなくてもよい。
・上記実施形態では、取付孔44を弁孔31の一端部の第1側面32b側、及び他端部の第2側面32c側に形成したが、これに限らず、他の位置に形成してよい。
・上記実施形態では、ピストン室52を高さ方向に長い長穴状に形成し、ピストン53をピストン室52と対応する楕円柱状に形成したが、これに限らず、ピストン室52を丸穴状に形成し、ピストン53を円柱状に形成してもよい。
・上記実施形態では、ピストン室52を高さ方向に長い長穴状に形成し、ピストン53をピストン室52と対応する楕円柱状に形成したが、これに限らず、ピストン室52を丸穴状に形成し、ピストン53を円柱状に形成してもよい。
・上記実施形態では、手動操作弁部25をピストン室52に対して幅方向に並設したが、これに限らず、ピストン室52に対して軸方向に並設してもよい。
・上記実施形態では、電磁弁3に2つのパイロット弁部24が設けられた所謂ダブルパイロット型のものを採用したが、これに限らず、1つのパイロット弁部のみを有する所謂シングルパイロット型のものを採用してもよい。また、電磁弁3のポートの数が3つ、あるいは4つのもの等を採用してもよい。
・上記実施形態では、電磁弁3に2つのパイロット弁部24が設けられた所謂ダブルパイロット型のものを採用したが、これに限らず、1つのパイロット弁部のみを有する所謂シングルパイロット型のものを採用してもよい。また、電磁弁3のポートの数が3つ、あるいは4つのもの等を採用してもよい。
・上記実施形態では、圧力流体として圧縮エアを用いたが、これに限らず、他の流体を用いてもよい。
・上記実施形態では、本発明を電磁弁3がパイロット流体に基づいてスプール弁体21を駆動させるパイロット形電磁弁として構成された電磁弁マニホールド1に適用したが、これに限らず、例えば電磁弁3がソレノイドコイルの励磁によるプランジャの往復動に基づいて主弁体を駆動させるものにも適用できる。
・上記実施形態では、本発明を電磁弁3がパイロット流体に基づいてスプール弁体21を駆動させるパイロット形電磁弁として構成された電磁弁マニホールド1に適用したが、これに限らず、例えば電磁弁3がソレノイドコイルの励磁によるプランジャの往復動に基づいて主弁体を駆動させるものにも適用できる。
1…電磁弁マニホールド、2…マニホールドベース、2a…載置面、2b…軸方向一端側の端面としての前面、3…電磁弁、11…給気流路、11a…給気連通流路、12…第1排気流路、12a…第1排気連通流路、13…第2排気流路、13a…第2排気連通流路、14…第1出力流路、14a…直線部、15…第2出力流路、21…スプール弁体、21a…弁部、21b…軸端部、23…主弁部、24…パイロット弁部、25…手動操作弁部、31…弁孔、32…弁ボディ、32a…対向面、32b…第1側面、32c…第2側面、33…ピストンボディ、35…給気ポート、35a,36a,38a,39a…開口部、36…第1排気ポート、37…第2排気ポート、38…第1出力ポート、39…第2出力ポート、44…取付孔、45…取付部材としての取付ネジ、48…給気通路、52…ピストン室、53…ピストン、55…連通流路、61…軸穴、74…手動軸。
Claims (3)
- 複数の流路が形成されたマニホールドベースと、前記各流路に接続される複数のポートが形成された弁ボディ及び前記各ポート間の連通を切り換える軸状の主弁体を有する複数の電磁弁と、を備え、
前記各流路の少なくとも1つは、前記マニホールドベースにおける前記電磁弁が載置される載置面及び前記主弁体の軸方向一端側の端面にそれぞれ開口し、
前記弁ボディには、前記主弁体が挿入されるとともに前記各ポートが連通する弁孔が形成され、
前記各電磁弁は、前記載置面上に前記軸方向と直交する幅方向に配列されてなる電磁弁マニホールドにおいて、
前記弁ボディにおける前記幅方向一端側の第1側面は、前記軸方向一端側よりも前記軸方向他端側の方が前記弁孔から離間するように形成されるとともに、前記弁ボディにおける前記幅方向他端側の第2側面は、前記軸方向他端側よりも前記軸方向一端側の方が前記弁孔から離間するように形成され、
前記載置面及び前記端面に開口する流路に接続される前記ポートは、前記弁ボディの前記載置面と対向する対向面での開口部が、当該ポートの前記軸方向一端側に配置される前記ポートの前記対向面での開口部よりも前記第1側面側へ膨出した形状に形成されたことを特徴とする電磁弁マニホールド。 - 請求項1に記載の電磁弁マニホールドにおいて、
前記弁ボディには、前記電磁弁を前記載置面上に固定するための取付部材が挿通される取付孔が前記弁孔の軸方向他端部に対する前記第1側面側、及び前記弁孔の軸方向一端部に対する前記第2側面側にそれぞれ設けられたことを特徴とする電磁弁マニホールド。 - 請求項1又は2に記載の電磁弁マニホールドにおいて、
前記電磁弁は、前記弁ボディにおける前記軸方向両端の少なくとも一方に連結され、前記主弁体の軸端部に設けられたピストンが往復動可能に収容されるピストン室を構成するピストンボディを有し、前記ピストン室へ供給されるパイロット流体により前記主弁体を往復動させるパイロット形電磁弁として構成されたものであって、
前記ピストンボディには、手動操作により前記パイロット流体の前記ピストン室への供給を制御する手動操作弁部が前記ピストン室に対して前記幅方向に並置されたことを特徴とする電磁弁マニホールド。
Priority Applications (1)
| Application Number | Priority Date | Filing Date | Title |
|---|---|---|---|
| JP2011224250A JP2013083323A (ja) | 2011-10-11 | 2011-10-11 | 電磁弁マニホールド |
Applications Claiming Priority (1)
| Application Number | Priority Date | Filing Date | Title |
|---|---|---|---|
| JP2011224250A JP2013083323A (ja) | 2011-10-11 | 2011-10-11 | 電磁弁マニホールド |
Publications (1)
| Publication Number | Publication Date |
|---|---|
| JP2013083323A true JP2013083323A (ja) | 2013-05-09 |
Family
ID=48528706
Family Applications (1)
| Application Number | Title | Priority Date | Filing Date |
|---|---|---|---|
| JP2011224250A Pending JP2013083323A (ja) | 2011-10-11 | 2011-10-11 | 電磁弁マニホールド |
Country Status (1)
| Country | Link |
|---|---|
| JP (1) | JP2013083323A (ja) |
Cited By (4)
| Publication number | Priority date | Publication date | Assignee | Title |
|---|---|---|---|---|
| JP2014226547A (ja) * | 2013-05-22 | 2014-12-08 | ポール・コーポレーションPallCorporation | 連結システム |
| WO2017061400A1 (ja) * | 2015-10-05 | 2017-04-13 | Smc株式会社 | スプール弁 |
| WO2017061399A1 (ja) * | 2015-10-05 | 2017-04-13 | Smc株式会社 | 電磁弁及びマニホールド形電磁弁集合体 |
| TWI595177B (zh) * | 2014-11-10 | 2017-08-11 | Ckd Corp | Solenoid valve manifold |
-
2011
- 2011-10-11 JP JP2011224250A patent/JP2013083323A/ja active Pending
Cited By (14)
| Publication number | Priority date | Publication date | Assignee | Title |
|---|---|---|---|---|
| JP2014226547A (ja) * | 2013-05-22 | 2014-12-08 | ポール・コーポレーションPallCorporation | 連結システム |
| TWI595177B (zh) * | 2014-11-10 | 2017-08-11 | Ckd Corp | Solenoid valve manifold |
| US10400902B2 (en) | 2015-10-05 | 2019-09-03 | Smc Corporation | Spool valve |
| WO2017061399A1 (ja) * | 2015-10-05 | 2017-04-13 | Smc株式会社 | 電磁弁及びマニホールド形電磁弁集合体 |
| KR20180055828A (ko) * | 2015-10-05 | 2018-05-25 | 에스엠시 가부시키가이샤 | 전자밸브 및 매니폴드형 전자밸브 집합체 |
| CN108138980A (zh) * | 2015-10-05 | 2018-06-08 | Smc株式会社 | 电磁阀和歧管型电磁阀组件 |
| WO2017061400A1 (ja) * | 2015-10-05 | 2017-04-13 | Smc株式会社 | スプール弁 |
| CN108138980B (zh) * | 2015-10-05 | 2019-12-03 | Smc株式会社 | 电磁阀和歧管型电磁阀组件 |
| US10544875B2 (en) | 2015-10-05 | 2020-01-28 | Smc Corporation | Solenoid valve and manifold-type solenoid valve assembly |
| RU2722427C2 (ru) * | 2015-10-05 | 2020-05-29 | ЭсЭмСи КОРПОРЕЙШН | Электромагнитный клапан и узел электромагнитных клапанов коллекторного типа |
| TWI695947B (zh) * | 2015-10-05 | 2020-06-11 | 日商Smc股份有限公司 | 滑軸閥 |
| TWI698604B (zh) * | 2015-10-05 | 2020-07-11 | 日商Smc股份有限公司 | 電磁閥及匯流型電磁閥集合體 |
| KR102540683B1 (ko) * | 2015-10-05 | 2023-06-08 | 에스엠시 가부시키가이샤 | 전자밸브 및 매니폴드형 전자밸브 집합체 |
| DE112016004034B4 (de) * | 2015-10-05 | 2025-07-10 | Smc Corporation | Elektromagnetventil und Verteiler-Elektromagnetventilanordnung |
Similar Documents
| Publication | Publication Date | Title |
|---|---|---|
| KR101180065B1 (ko) | 펌프용 밸브본체 | |
| KR102540684B1 (ko) | 전자 밸브용 매니폴드 조립체 및 그것을 사용한 전자 밸브 집합체 | |
| TWI534380B (zh) | 高頻度開關閥 | |
| JP2013083323A (ja) | 電磁弁マニホールド | |
| TW201221810A (en) | Multiple manifold valve | |
| JP5464440B2 (ja) | 多連式電磁弁 | |
| KR102475548B1 (ko) | 전자밸브용 매니폴드 베이스 및 매니폴드형 전자밸브 | |
| KR102262070B1 (ko) | 전자 밸브 | |
| KR20180055825A (ko) | 스풀 밸브 | |
| US20020117217A1 (en) | Multiway valve for switching a flow of fluid under pressure with parallel disposition of valve bores, and valve assembly kit | |
| JP2013064498A (ja) | 単動形方向切換弁 | |
| JP3853700B2 (ja) | 電磁弁 | |
| KR101187454B1 (ko) | 에어 밸브, 멈치 및 퍼핏을 구비한 왕복식 피스톤 펌프 | |
| JP2009062942A (ja) | 電磁装置 | |
| JP6009249B2 (ja) | 切換弁、切換弁ユニット及び着脱部材 | |
| CN106122532A (zh) | 流动通道单元和切换阀 | |
| JP6205337B2 (ja) | 電磁弁マニホールド | |
| JP5234619B2 (ja) | エアコンプレッサ | |
| JP2605521Y2 (ja) | ダイヤフラムポンプ | |
| JP2012026505A (ja) | チェック弁、及びパイロット形電磁弁 | |
| WO2003104695A1 (ja) | 電磁弁 | |
| JP2014025354A (ja) | エア駆動式ダイヤフラムポンプ | |
| JPH112357A (ja) | パイロット式電磁弁 | |
| JP3854377B2 (ja) | パイロット式電磁弁 | |
| JP4602720B2 (ja) | 電磁弁マニホールド |