JP2012229751A - ディスクブレーキ装置 - Google Patents

ディスクブレーキ装置 Download PDF

Info

Publication number
JP2012229751A
JP2012229751A JP2011098331A JP2011098331A JP2012229751A JP 2012229751 A JP2012229751 A JP 2012229751A JP 2011098331 A JP2011098331 A JP 2011098331A JP 2011098331 A JP2011098331 A JP 2011098331A JP 2012229751 A JP2012229751 A JP 2012229751A
Authority
JP
Japan
Prior art keywords
brake pad
rotor
pad
brake device
disc brake
Prior art date
Legal status (The legal status is an assumption and is not a legal conclusion. Google has not performed a legal analysis and makes no representation as to the accuracy of the status listed.)
Granted
Application number
JP2011098331A
Other languages
English (en)
Other versions
JP5704536B2 (ja
Inventor
Daisuke Kobayashi
大介 小林
Current Assignee (The listed assignees may be inaccurate. Google has not performed a legal analysis and makes no representation or warranty as to the accuracy of the list.)
Akebono Brake Industry Co Ltd
Original Assignee
Akebono Brake Industry Co Ltd
Priority date (The priority date is an assumption and is not a legal conclusion. Google has not performed a legal analysis and makes no representation as to the accuracy of the date listed.)
Filing date
Publication date
Application filed by Akebono Brake Industry Co Ltd filed Critical Akebono Brake Industry Co Ltd
Priority to JP2011098331A priority Critical patent/JP5704536B2/ja
Priority to PCT/JP2012/061267 priority patent/WO2012147875A1/ja
Publication of JP2012229751A publication Critical patent/JP2012229751A/ja
Application granted granted Critical
Publication of JP5704536B2 publication Critical patent/JP5704536B2/ja
Expired - Fee Related legal-status Critical Current
Anticipated expiration legal-status Critical

Links

Images

Classifications

    • FMECHANICAL ENGINEERING; LIGHTING; HEATING; WEAPONS; BLASTING
    • F16ENGINEERING ELEMENTS AND UNITS; GENERAL MEASURES FOR PRODUCING AND MAINTAINING EFFECTIVE FUNCTIONING OF MACHINES OR INSTALLATIONS; THERMAL INSULATION IN GENERAL
    • F16DCOUPLINGS FOR TRANSMITTING ROTATION; CLUTCHES; BRAKES
    • F16D65/00Parts or details
    • F16D65/02Braking members; Mounting thereof
    • F16D65/04Bands, shoes or pads; Pivots or supporting members therefor
    • F16D65/092Bands, shoes or pads; Pivots or supporting members therefor for axially-engaging brakes, e.g. disc brakes
    • F16D65/095Pivots or supporting members therefor
    • F16D65/097Resilient means interposed between pads and supporting members or other brake parts
    • F16D65/0972Resilient means interposed between pads and supporting members or other brake parts transmitting brake reaction force, e.g. elements interposed between torque support plate and pad
    • FMECHANICAL ENGINEERING; LIGHTING; HEATING; WEAPONS; BLASTING
    • F16ENGINEERING ELEMENTS AND UNITS; GENERAL MEASURES FOR PRODUCING AND MAINTAINING EFFECTIVE FUNCTIONING OF MACHINES OR INSTALLATIONS; THERMAL INSULATION IN GENERAL
    • F16DCOUPLINGS FOR TRANSMITTING ROTATION; CLUTCHES; BRAKES
    • F16D65/00Parts or details
    • F16D65/02Braking members; Mounting thereof
    • F16D65/04Bands, shoes or pads; Pivots or supporting members therefor
    • F16D65/092Bands, shoes or pads; Pivots or supporting members therefor for axially-engaging brakes, e.g. disc brakes
    • F16D65/095Pivots or supporting members therefor
    • F16D65/097Resilient means interposed between pads and supporting members or other brake parts
    • F16D65/0973Resilient means interposed between pads and supporting members or other brake parts not subjected to brake forces
    • F16D65/0974Resilient means interposed between pads and supporting members or other brake parts not subjected to brake forces acting on or in the vicinity of the pad rim in a direction substantially transverse to the brake disc axis
    • F16D65/0977Springs made from sheet metal

Landscapes

  • Engineering & Computer Science (AREA)
  • General Engineering & Computer Science (AREA)
  • Mechanical Engineering (AREA)
  • Braking Arrangements (AREA)

Abstract

【課題】ロータの振れによってブレーキパッドに傾きが付与された際のブレーキパッド傾倒時における摺動抵抗の大幅な低減を図ることのできるディスクブレーキ装置を提供する。
【解決手段】ロータ30の軸方向に摺動可能なブレーキパッド32,34を備えたディスクブレーキ装置10であって、ブレーキパッド34における耳部38をロータ30の半径方向から挟着するパッドクリップ26を備え、耳部38には、ブレーキパッド34が垂直状態では対向位置に存在し、ブレーキパッド34が傾倒した際にはロータ30の軸方向にズレることにより、モーメントが働く一対の接触部39を設けたことを特徴とする。
【選択図】図1

Description

本発明は、ディスクブレーキ装置に係り、特にディスクブレーキ装置におけるブレーキパッドの保持形態に関する技術である。
昨今、環境問題や燃料高騰などの影響を受け、自動車や自動二輪車などには、走行距離に対する燃料消費量を低減した、いわゆる低燃費化の要請が高まっている。低燃費化の主体は現在、駆動系にガソリンエンジンと電動モータを用いたいわゆるハイブリッド化や、停車時のアイドリングストップ化、および軽量化などであるが、走行時における制動抵抗、すなわちブレーキにおける引き摺り抵抗も、燃費への影響があるとして注目を受けている。
このような背景を勘案し、引き摺り抵抗を低減すべく着目したのは、ロータの傾き(ロータ振れ・倒れ)に倣って配置形態を傾けるブレーキパッドによる抵抗である。図20、図21は、ディスクブレーキ装置におけるロータ1と、ロータ1のインナ側に配置されたブレーキパッド2の様子を示す側断面図である。ロータ1に振れや倒れが生ずるとブレーキパッド2は図21に示すように、ロータ1の傾きによる力Fを受け、ロータ1の傾きに倣うように傾く。
ディスクブレーキ装置におけるブレーキパッド2は通常、パッドクリップ(不図示)により耳部3が、ロータ1の半径方向に挟着されることで保持されている。このため、ブレーキパッド2に傾きが生じた場合には、ブレーキパッド2の上下(図21に示す例では耳部3におけるロータ1の半径方向内側と外側)に存在する接触部4は、その間隔がDからDへと狭まる方向へ移動することとなる。
このため、ロータ1によって傾けられたブレーキパッド2には、挟持状態における姿勢が安定する状態に戻ろうとする力が働き、ロータ1の傾きと反対方向に作用する回転モーメントが生ずる。このような回転モーメントの働きにより元の状態に戻ろうとするブレーキパッド2とロータ1との間には、引き摺りが生ずることとなり、引き摺り抵抗増大の一因となっていた。
このような問題に対し、ブレーキパッドがロータ振れ・倒れによる外力を受けた際、ブレーキパッドの傾倒に必要とする力を低減すると共に傾倒した姿勢の保持を図り、これにより引き摺り抵抗を低減するといった技術が、特許文献1に開示されている。
特許文献1に開示されている技術は、図22に示すようにブレーキパッド2における挟着部5(耳部3の端面)を円弧状に形成するという点を特徴としたものである。このような構成とすることで、図23に示すように、ブレーキパッド2が傾いた場合であっても、ブレーキパッド2の上下に位置する接触部4は、互いにロータ軸方向にずれる事が無く、安定した挟持状態が保たれる。
特許第3700064号公報
特許文献1に開示されているような構成を有するディスクブレーキ装置であれば、確かにロータの傾きによって生ずる摺動抵抗を低減することができると考えられる。しかし、特許文献1に開示されているディスクブレーキ装置ではブレーキパッドが傾く際、その傾きが安定状態に至るまでロータの傾きに対する反力(=抵抗)を生じさせていることに変わりは無い。
本発明では、ロータの振れによってブレーキパッドに傾きが付与された際、ブレーキパッドが傾きの入力方向に積極的に倒れ込む方向のモーメントを得て、ブレーキパッド傾倒時における摺動抵抗の大幅な低減を図ることのできるディスクブレーキ装置を提供することを目的とする。
上記目的を達成するための本発明に係るディスクブレーキ装置は、ロータの軸方向に摺動可能なブレーキパッドを備えたディスクブレーキ装置であって、前記ブレーキパッドにおける挟着部を前記ロータの半径方向から挟着する挟着手段を備え、前記挟着部には、前記ブレーキパッドが垂直状態では対向位置に存在し、前記ブレーキパッドが傾倒した際には前記ロータの軸方向にズレることにより、モーメントが働く一対の接触部を設けたことを特徴とする。
また、上記のような特徴を有するディスクブレーキ装置において前記接触部は、前記ロータの軸方向に平行に形成された面を持つ前記挟着部に、傾斜面または円弧面を設けることにより構成することが望ましい。このような構成とすることで、ブレーキパッドが傾倒した場合であっても挟着手段との接触点が接触部からずれることが無い。
また、上記のような特徴を有するディスクブレーキ装置において前記挟着部は、ブレーキパッドを構成するプレッシャプレートに凸設された耳部に設けると良い。耳部は、ブレーキパッドにおけるライニング添着面から離れた位置に存在する。このため、耳部の断面形状を変更した場合であっても、制動時における押圧のバランスやプレッシャプレートの強度に影響を与えない。
また、上記のような特徴を有するディスクブレーキ装置では、前記挟着部は、ブレーキパッドを構成するプレッシャプレートにおける前記ロータの半径方向内側と外側としても良い。このような構成とすることで、耳部を備え無いブレーキパッドに対しても、本発明を適用することが可能となる。
さらに、上記のような特徴を有するディスクブレーキ装置では、前記挟着手段による挟着力により前記ブレーキパッドが傾倒する方向に生ずる回転モーメントは、前記挟着部と前記挟着手段との間に生ずる摩擦力により相殺されるようにすると良い。このような構成とすることで、ロータの振れや倒れによるブレーキパッドに対する押し付け力が無くなった場合でも、ブレーキパッドは、傾いた状態を維持することができる。また、モーメントの作用によるブレーキパッドの傾き過多を抑制することができ、これによる摺動抵抗の増加も抑制することができる。
上記のような特徴を有するディスクブレーキ装置によれば、ロータの振れによってブレーキパッドに傾きが付与された際、ブレーキパッドが傾きの入力方向に積極的倒れ込む方向のモーメントを得ることができる。これにより、ブレーキパッド傾倒時における摺動抵抗の大幅な低減を図ることが可能となる。
ロータ振れ・倒れが生じた際のディスクブレーキ装置の側面構成を示す図である。 ロータ振れ・倒れが収まった際のディスクブレーキ装置の側面構成を示す図である。 キャリパを除くディスクブレーキ装置のインナ側正面の構成を示す図である。 キャリパを除くディスクブレーキ装置の斜視図である。 実施形態に適用可能な他の一例に係るサポートおよびパッドクリップの正面構成を示す図である。 実施形態に適用可能な他の一例に係るサポートおよびパッドクリップの平面形態を示す図である。 実施形態に適用可能な他の一例に係るサポートおよびパッドクリップの構成を示す斜視図である。 他の一例に係るサポートおよびパッドクリップの部分分解斜視図である。 定常状態におけるロータとインナ側ブレーキパッドと、パッドクリップによる荷重の関係を示す図である。 ロータ振れ・倒れが生じた際のロータとインナ側ブレーキパッドと、パッドクリップによる荷重、およびモーメントの関係を示す図である。 耳部の保持状態と作用する力の関係を説明するための図である。 パッドクリップの変更により、ブレーキパッドの保持形態を変化させたディスクブレーキ装置の例を示す図である。 ブレーキパッドにおける耳部の形態を半割りの長円状とした場合の例を示す図である。 ブレーキパッドにおける耳部の形態を台形とし、窄み方向を変えた場合の例を示す図である。 ブレーキパッドにおける耳部の形態を半割りの長円状とし、円弧部分の形成方向を変えた場合の例を示す図である。 ブレーキパッドにおける耳部の形態を六角形とした場合の例を示す図である。 ブレーキパッドにおける耳部の形態を、台形とし、かつロータの半径方向内側に位置する挟着部をロータの軸方向と平行にした場合の例を示す図である。 図17に示すブレーキパッドの傾倒方向と、傾倒時における挟着力(クリップ荷重)と回転モーメントの関係を示す図である。 ブレーキパッドに耳部が無い場合におけるパッドクリップによるブレーキパッドの挟着形態の例を示す図である。 従来のディスクブレーキ装置におけるロータと、ロータのインナ側に配置されたブレーキパッドの様子を示す側断面図である。 図20に示すディスクブレーキ装置におけるブレーキパッドの傾倒方向と傾倒時における挟着力(クリップ荷重)、および回転モーメントの関係を示す図である。 他の従来のディスクブレーキ装置におけるロータと、ロータのインナ側に配置されたブレーキパッドの様子を示す側断面図である。 図22に示すディスクブレーキ装置におけるブレーキパッドの傾倒方向と傾倒時における挟着力(クリップ荷重)、および回転モーメントの関係を示す図である。
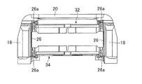
以下、本発明のディスクブレーキ装置に係る実施の形態について、図面を参照しつつ詳細に説明する。図1はロータ振れ・倒れが生じた際のディスクブレーキ装置の側面構成を示す図である。図2はロータ振れ・倒れが収まった際のディスクブレーキ装置の側面構成を示す図である。図3は、キャリパを除くディスクブレーキ装置のインナ側正面の構成を示す図である。図4は、キャリパを除くディスクブレーキ装置の斜視図である。図9は、定常状態におけるロータとインナ側ブレーキパッドと、パッドクリップによる荷重の関係を示す図である。図10は、ロータ振れ・倒れが生じた際のロータとインナ側ブレーキパッドと、パッドクリップによる荷重、およびモーメントの関係を示す図である。
本実施形態に係るディスクブレーキ装置10は、サポート12とロータ30、ブレーキパッド32,34、およびキャリパ42を基本構成とするものである。
本実施形態に係るディスクブレーキ装置10のサポート12は、トルク受け部14と、インナ側フレーム16、アウタ側フレーム20、およびサポートブリッジ18を主な構成要素としている。
トルク受け部14は、ロータ30のインナ側とアウタ側においてそれぞれ、ロータ30の回入側と回出側に対を成すように設けられ、制動時に生ずる摩擦力によってロータ30に供回りしようとするブレーキパッド32,34の回転力(制動トルク)を受け止める役割を担う。実施形態に係るトルク受け部14は、詳細を後述するブレーキパッド32,34との対向面に凸部22、および凹部24を有する。凹部24には、ブレーキパッド32,34を挟着保持すると共に、ブレーキパッド32,34のロータ軸方向への摺動性を向上させるためのパッドクリップ26が設けられている。
本実施形態では、パッドクリップ26は、トルク受け部14における凸部22を挟持することで固定され、ブレーキパッド32,34を凹部24の上辺に引き上げるように保持する挟着力(クリップ荷重)を生じさせる構成とされている。
インナ側フレーム16は、ロータ30のインナ側であって、ロータ30の回入側と回出側に位置するトルク受け部14を連結するフレームである。なお、インナ側フレーム16には、図示しない車両への取り付けを目的とした雌ネジ孔28が設けられている。
アウタ側フレーム20は、ロータ30のアウタ側であって、ロータ30の回入側と回出側に位置するトルク受け部14を連結するフレームである。
サポートブリッジ18は、ロータ30を跨いでインナ側に位置するトルク受け部14とアウタ側に位置するトルク受け部14とを連結する部位である。
ここで、上述したサポートやパッドクリップの形態は、本発明を実施する上での一例に過ぎない。本発明に適用可能なサポートおよびパッドクリップの他の一例として、図5〜図8に示すものを挙げることができる。なお、図5はブレーキパッドを組付けた状態の他の例に係るサポートおよびパッドクリップの構成を示す正面図である。また、図6は同平面(上面)図、図7は斜視図であり、図8はブレーキパッド、パッドクリップ、およびサポートの組付け部分を示す、部分分解斜視図である。
図5〜図8に示す形態のサポート12およびパッドクリップ26と、上述したサポート12およびパッドクリップ26との特徴的な相違点は、サポート12におけるトルク受け部14を構成する凸部22の形態と、この凸部22を挟持するパッドクリップ26における挟持部の形態にある。具体的には、サポート12の凸部22には、その上面に円形状の凹部22aが設けられている。また、パッドクリップ26における挟持部には、凸部22を挟持した際に、上面に形成された凹部22aに嵌り込む爪26aが形成されている。このような構成とすることで、トルク受け部14に組付けるパッドクリップ26の倒れ止めを図ることができる。
ブレーキパッド32,34は、本実施形態の場合、ロータ30のアウタ側に配置されるアウタ側ブレーキパッド32と、ロータのインナ側に配置されるインナ側ブレーキパッド34とが存在するが、その構成は、いずれも同様としている。よって、以下の説明においてブレーキパッドと称する場合、特別な指定が無い限りインナ側のブレーキパッド34を指すものとする。ブレーキパッド34は、プレッシャプレート35と、このプレッシャプレート35に添着された摩擦部材であるライニング40とを基本として構成される、実施形態に係るプレッシャプレート35は、ライニング40が添着されるプレート本体36(プレッシャプレート35における耳部38を除いた部分)と、プレート本体36を基準としてロータ30の回入側と回出側に設けられた凸設部である耳部38とを基本として構成されている。
本実施形態に係る耳部38は、側面形状を図9、図10に示すように、パッドクリップ26による挟着部であるロータの半径方向内側と外側に位置する辺に傾斜面38aを設けた台形状としている。傾斜面38aは、通常、ロータ30の軸方向と平行に形成される面を持つ挟着部に、ライニング添着面側の主面から反対側の主面にかけて、半径方向内側と外側に位置する挟着部間の距離が狭くなるように形成されている。このような構成とすることにより、挟着部では、傾斜面間の最も広い部位の直線(接触部39)のみがパッドクリップ26と接触することとなる。また、打ち抜きにより形成されるプレッシャプレート35においては、このような傾斜形態では、打ち抜きダレが生ずる面と同じ側が窄む(狭くなる)こととなる。このため、1度の打ち抜き加工により形状形成が可能となるため、加工コストの高騰を招く虞が無い。
傾斜面の傾斜角度θは、ブレーキパッド34に対して想定される傾き角度θよりも大きい角度とすると良い。このような構成とすることで、ブレーキパッド34が傾倒した場合であっても、接触部39のみがパッドクリップ26と接触している状態を維持することができる。これにより、ロータ振れ・倒れに起因してブレーキパッド34が傾倒した場合には、ロータ30の半径方向内側と外側に位置する接触部39がロータ30の軸方向に移動し、両者の間にシフト量Δdが生ずることとなる。
ここで、クリップ荷重をF(片側あたり1/2F)とすると、耳部38には、FΔdで示すことのできるモーメントMが生ずることとなる(図11参照)。このため、パッドクリップ26によって挟着力が付与された場合であっても、制動力解除時にブレーキパッド34が垂直状態に戻ろうとすることが無い。よって、ブレーキパッド34が垂直状態に戻ろうとする事に起因して生ずる引き摺り抵抗を低減することができる。
一方で、接触部39(本説明では説明を簡単化するためにロータ半径方向外側の接触部39を指すこととする)では、モーメントMを妨げる方向の力である摩擦力が生ずる。モーメントMについて、FΔdをFtanθlと変換すると、Ftanθに対する最大摩擦はFμと示すことができる。ここで、FtanθがFμよりも大きくなった場合には、モーメントMが0以上となり、ブレーキパッド34に余分な倒れ込みが発生し、ロータ半径方向内側の引き摺りが生じてしまう可能性がある。このため、本実施形態では、Ftanθ≦Fμの関係を保つようにFおよびθを調整している。これにより、ブレーキパッド34は、傾斜角度θの傾き状態を維持することが可能となる。
このような観点からは、傾斜面の傾斜角度θは、Ftanθ=Fμとなる傾き角度θと等しくしておくと良い。こうすることにより、傾倒過多によるブレーキパッド34の無用な倒れ込み(引き摺り)を防ぐことができるからである。
本実施形態に係るディスクブレーキ装置10におけるパッドクリップ26は、ブレーキパッド傾倒時に生ずるモーメントMが、耳部38とパッドクリップ26との間の摺動抵抗Fよりも小さく、あるいは同等となるように、ブレーキパッドに対する挟着力(クリップ荷重)が調整されている。このような構成とすることにより、ロータ30の振れや倒れによって傾けられたブレーキパッド34の姿勢を、摺動抵抗Fの力で保持することができる。これにより、ブレーキパッド34が過度に倒れ込むことによる引き摺り抵抗の発生を防ぐことができる。
なお、本実施形態に係るディスクブレーキ装置10では図3に示すように、ブレーキパッドをパッドクリップ26で挟着する際、ブレーキパッド34をトルク受け部14の凹部24の上辺に押し上げるような形態を採る旨説明したが、図12に示すように凹部24の下側にブレーキパッド34を押し下げる形態で挟着保持するパッドクリップ26aを採用しても良い。このような構成とした場合であっても、上記実施形態と同様な効果を奏することができるからである。
また、上記実施形態に係るディスクブレーキ装置10では、プレッシャプレート35の耳部38の形態を台形とし、ライニング添着面と反対側が窄むように傾斜面38aを設ける旨説明した。しかしながら本発明に係るディスクブレーキ装置10では、図13〜図17に示すような形態の耳部38を備えたブレーキパッドを採用することもできる。
図13に示す形態のブレーキパッド34aは、耳部38の断面形状を半割れの長円型としている。また、本形態では、長円の円弧部分をライニング添着面と反対の面側に向けており、上記実施形態におけるブレーキパッド34における耳部38の窄み方向と一致させている。耳部38の形態をこのようなものとした場合であっても、ロータ30の振れや倒れによってブレーキパッド34aが傾倒した場合には、ロータ30の半径方向内側と外側に位置する接触部39がロータ軸方向へ離間するようにシフトすることとなる。このため、上記実施形態に係るブレーキパッド34と同様に、傾倒時に傾倒方向と同一方向への回転モーメントを生じさせるといった効果を得ることができる。
また、図14に示す形態のブレーキパッド34bは、耳部38の断面形状を台形とする点で実施形態に係るブレーキパッド34と同様であるが、傾斜面38aの傾斜方向、すなわち窄みの方向を異ならせている。具体的には、ライニング添着面と反対側の面から、ライニング添着面へ向けて傾斜面間の距離が狭くなるように耳部38を形成し、ライニング添着面側に窄む形態としている。このような構成とした場合であっても、ブレーキパッド34bが傾倒する際には、ロータ30の半径方向内側と外側に位置する接触部39がロータ軸方向へ離間するようにシフトすることとなる。よって、上記実施形態に係るブレーキパッド34bと同様な効果を奏することができる。また、ディスクブレーキ装置におけるブレーキパッドは通常、サポート12(図4参照)に対してプレッシャプレート35側からライニング40側へ挿入して組付けが成される。このため、本形態のように耳部38の窄み方向をライニング添着面側とすることで、パッドクリップ26を備えたサポート12に対する組付け性を向上させることができる。
また、図15に示す形態のブレーキパッド34cは、耳部38の断面形状を図13に示すブレーキパッド34aと同様に、半割れの長円型とした上で、円弧部分をライニング添着面側に向けて配置する構成としている。このような形態であっても、上記実施形態に係るブレーキパッド34と同様な効果を奏することができる。
また、図16に示す形態のブレーキパッド34dは、耳部38の断面形状を六角形とし、ロータの半径方向内側と外側の対向位置にそれぞれ頂点、すなわち実施形態に係る接触部39が配置される形態としている。このように、挟着部の一部を凸とするようにして、半径方向内側と外側の対向位置に接触部39を設けることでも、ブレーキパッド傾倒時に接触部39がロータの軸方向に離間するようにシフトするといった作用を得ることができる。よって、上記実施形態に係るブレーキパッド34と同様な効果を奏することができる。
さらに、ブレーキパッドの傾倒方向が一定方向である場合(例えばブレーキパッドにおける半径方向外側がインナ側へ傾倒すると予め解っている場合)には、プレッシャプレート35における耳部38の断面形状を、図17に示すような形態としても良い。図17に示す形態のブレーキパッド34eは、耳部38の断面形状を台形としている点で上記実施形態に係るブレーキパッド34と同様であるが、ロータ30の半径方向内側に位置する挟着部をロータ軸方向と平行に形成し、半径方向外側に位置する挟着部に、ライニング添着面と反対方向へ向けて挟着部間の幅が広がる傾きを持った傾斜面38aを持たせている。このような形態のブレーキパッド34eでは、ブレーキパッド34eに傾きが付与されていない状態においては、ロータ30の半径方向内側に位置する挟着部には、ロータ30の軸方向全体に挟着力(クリップ荷重)が付与されることとなり、ロータ30の半径方向外側に位置する挟着部には、接触部39のみに挟着力(クリップ荷重)が付与されることとなる。
一方、ブレーキパッド34eに傾斜が付与されると図18に示すように、挟着力(クリップ荷重)はロータ30の半径方向外側に位置する接触部39と、半径方向内側におけるライニング添着面と反対側に位置する一点(線:接触部39)のみに付与されることとなり、上記実施形態に係るブレーキパッド34と同様な作用を得ることができる。
また、上記実施形態ではいずれも、パッドクリップ26,26aはブレーキパッド34のプレッシャプレート35に設けられた耳部38を挟着する旨記載した。しかしながら、本発明に係るディスクブレーキ装置は、パッドクリップによる挟着力を利用して、ブレーキパッドの傾倒方向と同一方向へ回転モーメントを生じさせる構成を持てば良い。このため、プレッシャプレート35に耳部を持たないブレーキパッドであっても、図19に示すように、ブレーキパッド34fの上下、すなわちブレーキパッド34fにおけるロータ30の半径方向内側と外側をパッドクリップ26bにより挟着する形態とした上で、挟着部に傾斜面(図9における耳部38に形成した傾斜面38aの形態に順ずる傾斜面)を形成して接触部を設けるようにすれば良い。
10………ディスクブレーキ装置、12………サポート、14………トルク受け部、16………インナ側フレーム、18………サポートブリッジ、20………アウタ側フレーム、22………凸部、24………凹部、26………パッドクリップ、28………雌ネジ孔、30………ロータ、32………ブレーキパッド、34………ブレーキパッド、35………プレッシャプレート、36………プレート本体、38………耳部、40………ライニング、42………キャリパ。

Claims (5)

  1. ロータの軸方向に摺動可能なブレーキパッドを備えたディスクブレーキ装置であって、
    前記ブレーキパッドにおける挟着部を前記ロータの半径方向から挟着する挟着手段を備え、
    前記挟着部には、前記ブレーキパッドが垂直状態では対向位置に存在し、前記ブレーキパッドが傾倒した際には前記ロータの軸方向にズレることにより、モーメントが働く一対の接触部を設けたことを特徴とするディスクブレーキ装置。
  2. 前記接触部は、前記ロータの軸方向に平行に形成された面を持つ前記挟着部に、傾斜面または円弧面を設けることにより構成したことを特徴とする請求項1に記載のディスクブレーキ装置。
  3. 前記挟着部は、ブレーキパッドを構成するプレッシャプレートに凸設された耳部に設けられることを特徴とする請求項1または2に記載のディスクブレーキ装置。
  4. 前記挟着部は、ブレーキパッドを構成するプレッシャプレートにおける前記ロータの半径方向内側と外側であることを特徴とする請求項1または2に記載のディスクブレーキ装置。
  5. 前記挟着手段による挟着力により前記ブレーキパッドが傾倒する方向に生ずる回転モーメントは、前記挟着部と前記挟着手段との間に生ずる摩擦力により相殺されることを特徴とする請求項1乃至4のいずれか1項に記載のディスクブレーキ装置。
JP2011098331A 2011-04-26 2011-04-26 ディスクブレーキ装置 Expired - Fee Related JP5704536B2 (ja)

Priority Applications (2)

Application Number Priority Date Filing Date Title
JP2011098331A JP5704536B2 (ja) 2011-04-26 2011-04-26 ディスクブレーキ装置
PCT/JP2012/061267 WO2012147875A1 (ja) 2011-04-26 2012-04-26 ディスクブレーキ装置

Applications Claiming Priority (1)

Application Number Priority Date Filing Date Title
JP2011098331A JP5704536B2 (ja) 2011-04-26 2011-04-26 ディスクブレーキ装置

Publications (2)

Publication Number Publication Date
JP2012229751A true JP2012229751A (ja) 2012-11-22
JP5704536B2 JP5704536B2 (ja) 2015-04-22

Family

ID=47072389

Family Applications (1)

Application Number Title Priority Date Filing Date
JP2011098331A Expired - Fee Related JP5704536B2 (ja) 2011-04-26 2011-04-26 ディスクブレーキ装置

Country Status (2)

Country Link
JP (1) JP5704536B2 (ja)
WO (1) WO2012147875A1 (ja)

Families Citing this family (1)

* Cited by examiner, † Cited by third party
Publication number Priority date Publication date Assignee Title
DE102018005036A1 (de) * 2018-06-25 2020-01-02 Lucas Automotive Gmbh Führungselement für eine Fahrzeugscheibenbremse

Citations (1)

* Cited by examiner, † Cited by third party
Publication number Priority date Publication date Assignee Title
JP2006170251A (ja) * 2004-12-13 2006-06-29 Toyota Motor Corp ディスクブレーキ

Family Cites Families (5)

* Cited by examiner, † Cited by third party
Publication number Priority date Publication date Assignee Title
JPS57100634U (ja) * 1980-12-12 1982-06-21
JP2587547Y2 (ja) * 1993-03-18 1998-12-16 トキコ株式会社 ディスクブレーキ
JP3700064B2 (ja) * 1994-09-28 2005-09-28 株式会社日立製作所 ディスクブレーキ
JPH08232991A (ja) * 1995-02-28 1996-09-10 Nissan Motor Co Ltd ディスクブレーキ装置
JP2008095816A (ja) * 2006-10-11 2008-04-24 Toyota Motor Corp ディスクブレーキ装置

Patent Citations (1)

* Cited by examiner, † Cited by third party
Publication number Priority date Publication date Assignee Title
JP2006170251A (ja) * 2004-12-13 2006-06-29 Toyota Motor Corp ディスクブレーキ

Also Published As

Publication number Publication date
JP5704536B2 (ja) 2015-04-22
WO2012147875A1 (ja) 2012-11-01

Similar Documents

Publication Publication Date Title
CN103797264B (zh) 机动车的盘式制动器和制动衬片
JP5512337B2 (ja) 鉄道車両用ブレーキライニング
US10724589B2 (en) Brake pad retention system of a disc brake of a motor vehicle
CN104662323A (zh) 盘式制动器
CN102705404A (zh) 车辆用盘式制动器
JP2011529162A (ja) ブレーキキャリパー用パッド及びディスクブレーキ用ブレーキキャリパー
WO2013150881A1 (ja) ディスクブレーキ用摩擦パッド組立て体
EP3351818B1 (en) Friction pad assembly for disc brakes
WO2014065400A1 (ja) ディスクブレーキ装置及びディスクブレーキ装置用ブレーキパッド
JP2012510036A (ja) 自然に通風されるブレーキディスク
KR20120128751A (ko) 이종재질의 브레이크 디스크
JP5704536B2 (ja) ディスクブレーキ装置
CN103380310B (zh) 衬块夹具的安装结构
JP2008157267A (ja) ディスクブレーキ装置
JP2014101998A (ja) ディスクブレーキ装置
JP2005249133A (ja) ディスクブレーキ
CN103384776B (zh) 盘形制动器装置
US20230151857A1 (en) Brake pad for a disk brake system and disk brake system
WO2012111827A1 (ja) ディスクブレーキ装置用ブレーキパッド
KR20230112519A (ko) 디스크 브레이크 시스템용 패드 스프링을 갖는 브레이크 패드 어셈블리 및 디스크 브레이크 시스템
CN210087883U (zh) 一种减少拖滞力矩的制动钳用弹簧片及制动钳总成
US20190383339A1 (en) Disc brake pad and disc brake device
JP2010048363A (ja) ブレーキキャリパ
JP2007024286A (ja) ディスクブレーキパッド
CN207661025U (zh) 一种带支撑弹簧钢丝的摩擦片

Legal Events

Date Code Title Description
A621 Written request for application examination

Free format text: JAPANESE INTERMEDIATE CODE: A621

Effective date: 20140331

A131 Notification of reasons for refusal

Free format text: JAPANESE INTERMEDIATE CODE: A131

Effective date: 20141201

A521 Request for written amendment filed

Free format text: JAPANESE INTERMEDIATE CODE: A523

Effective date: 20141218

TRDD Decision of grant or rejection written
A01 Written decision to grant a patent or to grant a registration (utility model)

Free format text: JAPANESE INTERMEDIATE CODE: A01

Effective date: 20150121

A61 First payment of annual fees (during grant procedure)

Free format text: JAPANESE INTERMEDIATE CODE: A61

Effective date: 20150216

R150 Certificate of patent or registration of utility model

Ref document number: 5704536

Country of ref document: JP

Free format text: JAPANESE INTERMEDIATE CODE: R150

R250 Receipt of annual fees

Free format text: JAPANESE INTERMEDIATE CODE: R250

LAPS Cancellation because of no payment of annual fees