JP2012176552A - タイヤ加硫装置 - Google Patents

タイヤ加硫装置 Download PDF

Info

Publication number
JP2012176552A
JP2012176552A JP2011040720A JP2011040720A JP2012176552A JP 2012176552 A JP2012176552 A JP 2012176552A JP 2011040720 A JP2011040720 A JP 2011040720A JP 2011040720 A JP2011040720 A JP 2011040720A JP 2012176552 A JP2012176552 A JP 2012176552A
Authority
JP
Japan
Prior art keywords
platen
divided
tire
plate
vulcanizing apparatus
Prior art date
Legal status (The legal status is an assumption and is not a legal conclusion. Google has not performed a legal analysis and makes no representation as to the accuracy of the status listed.)
Granted
Application number
JP2011040720A
Other languages
English (en)
Other versions
JP5725906B2 (ja
Inventor
Koji Shintani
幸司 新谷
Current Assignee (The listed assignees may be inaccurate. Google has not performed a legal analysis and makes no representation or warranty as to the accuracy of the list.)
Mitsubishi Heavy Industries Ltd
Original Assignee
Mitsubishi Heavy Industries Ltd
Priority date (The priority date is an assumption and is not a legal conclusion. Google has not performed a legal analysis and makes no representation as to the accuracy of the date listed.)
Filing date
Publication date
Priority to JP2011040720A priority Critical patent/JP5725906B2/ja
Application filed by Mitsubishi Heavy Industries Ltd filed Critical Mitsubishi Heavy Industries Ltd
Priority to PCT/JP2011/060741 priority patent/WO2012114542A1/ja
Priority to EP11817288.1A priority patent/EP2679367B1/en
Priority to KR1020127004462A priority patent/KR101356815B1/ko
Priority to CN201180003486.9A priority patent/CN102869486B/zh
Priority to HRP20170048TT priority patent/HRP20170048T1/hr
Priority to US13/391,612 priority patent/US8591212B2/en
Priority to TW100122611A priority patent/TWI428227B/zh
Publication of JP2012176552A publication Critical patent/JP2012176552A/ja
Application granted granted Critical
Publication of JP5725906B2 publication Critical patent/JP5725906B2/ja
Active legal-status Critical Current
Anticipated expiration legal-status Critical

Links

Images

Classifications

    • BPERFORMING OPERATIONS; TRANSPORTING
    • B29WORKING OF PLASTICS; WORKING OF SUBSTANCES IN A PLASTIC STATE IN GENERAL
    • B29CSHAPING OR JOINING OF PLASTICS; SHAPING OF MATERIAL IN A PLASTIC STATE, NOT OTHERWISE PROVIDED FOR; AFTER-TREATMENT OF THE SHAPED PRODUCTS, e.g. REPAIRING
    • B29C33/00Moulds or cores; Details thereof or accessories therefor
    • B29C33/02Moulds or cores; Details thereof or accessories therefor with incorporated heating or cooling means
    • B29C33/04Moulds or cores; Details thereof or accessories therefor with incorporated heating or cooling means using liquids, gas or steam
    • BPERFORMING OPERATIONS; TRANSPORTING
    • B29WORKING OF PLASTICS; WORKING OF SUBSTANCES IN A PLASTIC STATE IN GENERAL
    • B29CSHAPING OR JOINING OF PLASTICS; SHAPING OF MATERIAL IN A PLASTIC STATE, NOT OTHERWISE PROVIDED FOR; AFTER-TREATMENT OF THE SHAPED PRODUCTS, e.g. REPAIRING
    • B29C33/00Moulds or cores; Details thereof or accessories therefor
    • B29C33/02Moulds or cores; Details thereof or accessories therefor with incorporated heating or cooling means
    • BPERFORMING OPERATIONS; TRANSPORTING
    • B29WORKING OF PLASTICS; WORKING OF SUBSTANCES IN A PLASTIC STATE IN GENERAL
    • B29CSHAPING OR JOINING OF PLASTICS; SHAPING OF MATERIAL IN A PLASTIC STATE, NOT OTHERWISE PROVIDED FOR; AFTER-TREATMENT OF THE SHAPED PRODUCTS, e.g. REPAIRING
    • B29C33/00Moulds or cores; Details thereof or accessories therefor
    • B29C33/20Opening, closing or clamping
    • BPERFORMING OPERATIONS; TRANSPORTING
    • B29WORKING OF PLASTICS; WORKING OF SUBSTANCES IN A PLASTIC STATE IN GENERAL
    • B29CSHAPING OR JOINING OF PLASTICS; SHAPING OF MATERIAL IN A PLASTIC STATE, NOT OTHERWISE PROVIDED FOR; AFTER-TREATMENT OF THE SHAPED PRODUCTS, e.g. REPAIRING
    • B29C35/00Heating, cooling or curing, e.g. crosslinking or vulcanising; Apparatus therefor
    • B29C35/02Heating or curing, e.g. crosslinking or vulcanizing during moulding, e.g. in a mould
    • BPERFORMING OPERATIONS; TRANSPORTING
    • B29WORKING OF PLASTICS; WORKING OF SUBSTANCES IN A PLASTIC STATE IN GENERAL
    • B29CSHAPING OR JOINING OF PLASTICS; SHAPING OF MATERIAL IN A PLASTIC STATE, NOT OTHERWISE PROVIDED FOR; AFTER-TREATMENT OF THE SHAPED PRODUCTS, e.g. REPAIRING
    • B29C35/00Heating, cooling or curing, e.g. crosslinking or vulcanising; Apparatus therefor
    • B29C35/02Heating or curing, e.g. crosslinking or vulcanizing during moulding, e.g. in a mould
    • B29C35/04Heating or curing, e.g. crosslinking or vulcanizing during moulding, e.g. in a mould using liquids, gas or steam
    • BPERFORMING OPERATIONS; TRANSPORTING
    • B29WORKING OF PLASTICS; WORKING OF SUBSTANCES IN A PLASTIC STATE IN GENERAL
    • B29DPRODUCING PARTICULAR ARTICLES FROM PLASTICS OR FROM SUBSTANCES IN A PLASTIC STATE
    • B29D30/00Producing pneumatic or solid tyres or parts thereof
    • B29D30/06Pneumatic tyres or parts thereof (e.g. produced by casting, moulding, compression moulding, injection moulding, centrifugal casting)
    • B29D30/0601Vulcanising tyres; Vulcanising presses for tyres
    • B29D30/0662Accessories, details or auxiliary operations
    • BPERFORMING OPERATIONS; TRANSPORTING
    • B29WORKING OF PLASTICS; WORKING OF SUBSTANCES IN A PLASTIC STATE IN GENERAL
    • B29DPRODUCING PARTICULAR ARTICLES FROM PLASTICS OR FROM SUBSTANCES IN A PLASTIC STATE
    • B29D30/00Producing pneumatic or solid tyres or parts thereof
    • B29D30/06Pneumatic tyres or parts thereof (e.g. produced by casting, moulding, compression moulding, injection moulding, centrifugal casting)
    • B29D30/0601Vulcanising tyres; Vulcanising presses for tyres
    • B29D30/0662Accessories, details or auxiliary operations
    • B29D2030/0666Heating by using fluids
    • B29D2030/0674Heating by using non-fluid means, e.g. electrical heating
    • BPERFORMING OPERATIONS; TRANSPORTING
    • B29WORKING OF PLASTICS; WORKING OF SUBSTANCES IN A PLASTIC STATE IN GENERAL
    • B29LINDEXING SCHEME ASSOCIATED WITH SUBCLASS B29C, RELATING TO PARTICULAR ARTICLES
    • B29L2030/00Pneumatic or solid tyres or parts thereof

Landscapes

  • Engineering & Computer Science (AREA)
  • Mechanical Engineering (AREA)
  • Physics & Mathematics (AREA)
  • Health & Medical Sciences (AREA)
  • Oral & Maxillofacial Surgery (AREA)
  • Thermal Sciences (AREA)
  • Heating, Cooling, Or Curing Plastics Or The Like In General (AREA)
  • Moulds For Moulding Plastics Or The Like (AREA)

Abstract

【課題】電気加熱式プラテンが有するタイヤ加硫時の変形やプラテン交換に関する問題を解決したタイヤ加硫装置を提供する。
【解決手段】外金型内に収容された生タイヤを、当該生タイヤの外側及び内側から加熱して加硫成形するタイヤ加硫装置であって、生タイヤを充填するコンテナの上下に接して、またはコンテナの上下部分に内蔵した状態に配設され、加硫時に外金型の外側から生タイヤを加熱するプラテン10を電気式とし、ドーナツ型円盤としたプラテン10の周方向が複数に分割されている。
【選択図】図1

Description

本発明は、生タイヤを加硫成形するタイヤ加硫装置に関する。
従来、生タイヤを加硫成形するタイヤ加硫装置では、内部に生タイヤが充填された外金型(モールド)を加熱するとともに、生タイヤの内部空間(プラダ内)に高温、高圧の加熱媒体を供給し、タイヤ内壁面を加熱しながら外金型方向に押圧する。そして、加熱された外金型と生タイヤの内部空間に供給された加熱媒体とにより、生タイヤを外側及び内側から加熱することにより加硫が行われる。
なお、従来のタイヤ加硫装置において、生タイヤの内部空間については、加熱媒体として蒸気が供給・循環されるとともに、窒素ガスや温水等の加熱、加圧媒体が密封されるようになっている。
上述したタイヤ加硫装置において、生タイヤを外側から加熱する従来技術としては、たとえば下記の特許文献1及び2に開示されているように、熱媒体を使用するものがある。この従来技術は、生タイヤが収容された外金型の上下にプラテン(熱板)を配設し、両プラテンの内部に熱媒体として蒸気を供給することにより、外金型の外側から生タイヤに熱を伝えるものである。
一方、近年のタイヤ加硫装置においては、省エネルギー等の観点から、上述した熱媒体に代えて電気式プラテンを用いて加熱する技術が提案されている。
電気式プラテンに適用される電気式加熱としては、プラテンに埋設した棒状または面状の電気ヒータ(たとえば、下記の特許文献3を参照)による加熱や、電磁コイルによる誘導加熱(たとえば、下記の特許文献4を参照)が知られている。
また、上述した従来のプラテンは、熱媒体流路の形成や金型取付等のため、ドーナツ型円盤形状の一体構造となっている。しかし、たとえば下記の特許文献5には、タイヤ全体にわたって均一な加硫度を得るため、プラテンを径方向に分割して加熱部の温度上昇速度を異ならせたタイヤ加硫用金型装置が開示されている。
特開平5−200754号公報 特開平8−238626号公報 特開2002−36243号公報 特開2008−100513号公報 特開平8−174554号公報
たとえば図10に示す外観図のように、電気式加熱を行う従来のプラテン5は、中央部に円形の貫通孔6を形成したドーナツ型円盤形状とされ、内部に棒状ヒータ等の発熱部7が埋設された構造となっている。このため、省エネルギー等の観点から電気式プラテンに変換する場合には、プラテン5がドーナツ型円盤形状の一体構造であるため、下記のような問題が生じてくる。
第1の問題は、タイヤ加硫時において、円形のプラテンに変形(撓み)が発生しやすいことである。このため、プラテンの内部に埋設された電気ヒータ等の発熱部や取付部材等は、応力発生の影響を受けて寿命が短くなる。また、プラテンの変形は、外金型と発熱部との接触面積が減少することを意味するため、熱伝達性(加熱効率)を低下させる。さらに、外金型と発熱部との間で熱伝達性が低下すると、予期せぬ高温まで温度上昇することにより、発熱部の熱寿命が短縮される。
第2の問題は、メンテナンス時等におけるプラテンの交換に関するものであり、一体形状のプラテンを交換する作業は、取り外しや取り付けの調整に多大の時間を要している。また、故障等によりプラテンを交換する場合には、プラテン全体を一括して交換するしかないため、コスト面で不利になる。
本発明は、上記の事情に鑑みてなされたものであり、その目的とするところは、電気加熱式プラテンが有するタイヤ加硫時の変形やプラテン交換に関する問題を解決したタイヤ加硫装置を提供することにある。
本発明は、上記の課題を解決するため、下記の手段を採用した。
本発明に係るタイヤ加硫装置は、外金型内に収容された生タイヤを、当該生タイヤの外側及び内側から加熱して加硫成形するタイヤ加硫装置であって、前記生タイヤを充填するコンテナの上下に接して、または前記コンテナの上下部分に内蔵した状態に配設され、加硫時に前記外金型の外側から前記生タイヤを加熱するプラテンを電気式とし、ドーナツ型円盤とした前記プラテンの周方向が複数に分割されていることを特徴とするものである。
このような本発明のタイヤ加硫装置によれれば、生タイヤを充填するコンテナの上下に接して、または前記コンテナの上下部分に内蔵した状態に配設され、加硫時に外金型の外側から生タイヤを加熱するプラテンを電気式とし、ドーナツ型円盤としたプラテンの周方向が複数に分割されているので、タイヤ加硫時のプラテンに変形が生じにくくなる。
上記発明のタイヤ加硫装置において、前記プラテンの半径方向が複数に分割されるとともに、最も内側の周方向を連結してドーナツ型円盤にすることが好ましく、これにより、タイヤ加硫時のプラテン変形はより一層生じにくくなる。この場合、最も内側の中心部に形成されたドーナツ型円盤の分割プラテンは、プラテン中心部に形成された小径の円になるため、取付時の芯出しに使用できる。
上記発明のタイヤ加硫装置において、前記プラテンは、複数に分割されて隣接する分割プラテン間が互いの凹凸部を係合させて接続及び位置決めされる凹凸係合部を備えていることが好ましい。
また、上記発明のタイヤ加硫装置において、前記プラテンは、複数に分割されて隣接する分割プラテン間が締結部材により接続及び位置決めされる締結接続部を備えたものでもよい。
また、上記発明のタイヤ加硫装置において、前記プラテンは、複数に分割されて隣接する分割プラテン間が板状部材を介して互いに接続及び位置決めされるプレート接続部を備えたものでもよい。
あるいは、上記発明のタイヤ加硫装置において、前記プラテンは、複数に分割されて隣接する分割プラテン間が、前記凹凸係合部、前記締結接続部及び前記プレート接続部の二つ以上を備えたものでもよい。
上述した凹凸係合部、締結接続部、プレート接続部及びこれらの組み合わせにより、分割プラテン間の位置決め及び接続を容易に実施することができる。
上記発明のタイヤ加硫装置において、前記プレート接続部は、前記プラテンの上面または下面に設けた凹凸部と、前記板状部材の下面または上面に設けた凹凸部とを係合させて接続及び位置決めしてもよいし、あるいは、前記分割プラテンと前記板状部材との間が締結部材を介して接続及び位置決めされるようにしてもよい。
上述した本発明によれば、タイヤ加硫装置の電気加熱式プラテンは、周方向を複数に分割した構造としたので、タイヤ加硫時の荷重による変形を発生しにくくなり、この結果、加熱効率、耐久性及び信頼性が向上する。そして、電気加熱式プラテンの周方向を複数に分割した構造は、プラテンの取付け/取外しや交換の作業を容易にするので、メンテナンス性の向上にも有効である。
また、電気加熱式プラテンを交換する場合には、分割プラテン単位での交換が可能になるため、部品交換に要するコストを低減できる。
そして、電気加熱式プラテンを複数に分割した構造は、加硫機の構造、タイヤ金型及び加熱仕様に合わせて最適な分割形状の選択が可能になるため、装置設計上の自由度向上に有効である。すなわち、棒状ヒータや面状ヒータを組み合わせた電気式加熱が容易になるだけでなく、電気式加熱と熱媒体式加熱との組合せも容易になるため、タイヤ加熱温度の均一化や最適化が可能となり、加熱ランニングコストの低減及び加熱温度のコントロール精度向上により、高品質のタイヤ製造が可能なタイヤ加硫装置となる。
本発明に係るタイヤ加硫装置の一実施形態としてプラテン(熱板)の構造を示す図で、(a)は平面図、(b)は(a)の縦断面図(A−A断面図)である。 図1に示したプラテンを備えているタイヤ加硫装置の構成例を示す縦断面図である。 図1に示したプラテンの第1変形例を示す平面図である。 図1に示したプラテンの第2変形例を示す平面図である。 凹凸係合部の構造例を示す図で、(a)及び(b)は隣接する分割プラテンの端部で上下面を重ね合わせて係合させた構造例、(c)及び(d)は隣接する分割プラテンの端面どうしを係合させた構造例である。 締結接続部の構造例を示す図で、(a)は隣接する分割プラテンの端部に形成した凹凸面を上下に重ね合わせてボルト締結した構造例、(b)は隣接する分割プラテンの端部に形成した凹凸を係合させて通しボルトで締結した構造例である。 分割プラテンが板状部材を介して接続されたプラテンの外観を示す正面図である。 プレート接続部の構造例を示す図で、(a)はプレート接続部の一例を示す縦断面図、(b)及び(c)は分割プラテンの凹凸部配置例を示す平面図である。 プレート接続部の構造例を示す図で、(a)は分割プラテン及び板状部材を上下方向のボルトで締結した構造例、(b)は分割プラテン及び板状部材を水平方向のボルトで締結した構造例である。 タイヤ加硫装置に用いられるプラテンの外観を示す図で、(a)は平面図、(b)は(a)の正面図である。
以下、本発明に係るタイヤ加硫装置の一実施形態を図面に基づいて説明する。
図2に示すタイヤ加硫機1は、コンテナ(金型)2の内部で生タイヤTを加熱して加硫成形する装置である。コンテナ2は、内部に生タイヤTを充填する外金型(モールド)3と、タイヤの内部空間を形成するプラダ4とを具備して構成される。
なお、上述した外金型3は、生タイヤTの充填や加硫後のタイヤ取り出しを可能にするため、複数部材に分割されている。
タイヤ加硫装置1では、内部に生タイヤTが充填された外金型3を加熱するとともに、生タイヤTの内部空間を形成するプラダ4内に高温・高圧の加熱媒体を供給し、生タイヤTの内壁面を加熱しながら外金型3の方向に押圧する。この結果、加熱された外金型3とプラダ4内に供給された加熱媒体とにより、生タイヤTを外側及び内側から加熱して加硫成形が行われる。
図2に示すタイヤ加硫機1の場合、外金型3の内部に収容された生タイヤTの加熱は、コンテナ2の上下に配設された別体のプラテン(熱板)10により行われるが、プラテン10をコンテナ2の上部または下部に内蔵した構造としてもよい。このプラテン10は、ドーナツ型円盤形状の本体11に棒状ヒータや面状ヒータ等の発熱部12を埋設した電気式とされる。なお、以下の説明では、コンテナ2の上面に配設されるプラテン10を例示するが、下面に配設されるものやコンテナ2に内蔵するものについても、実質的に基本構造は同じで上下が逆転するだけである。
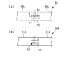
図1に示すプラテン10のドーナツ型円盤形状は、本体11を円形とし、その中心部に同心円の貫通孔13を設けたものである。そして、プラテン10の本体11は、周方向が90度ピッチに4分割されている。
以下の説明では、プラテン10を周方向に4分割した部分について、分割プラテン11Aと呼ぶことにする。すなわち、図示のプラテン10は、各々独立した発熱部12が埋設された4つの分割プラテン11Aを凹凸係合部40(図5参照)等により接続することにより、換言すれば、発熱部12を埋設した略1/4円形状の分割プラテン11Aを一体に接続することにより、中心部に芯出し用の貫通孔13が形成されたドーナツ型円盤形状となる。
また、図中の符号14は、プラテン10をコンテナ2に接続するための鍔部であり、図示の構成例では、4分割した分割プラテン11A毎に設けられている。このような鍔部14を設けることにより、分割プラテン11Aを一体に接続して形成されるプラテン10の貫通孔13により、外金型3の設置位置が芯出しされる分割プラテン11Aの位置決め精度はより一層向上する。
このように構成されたタイヤ加硫装置1は、生タイヤTを充填するコンテナ2の上下に分割プラテン11Aを接続してなるプラテン10が配設されており、加硫時には、コンテナ2及び外金型3の外側から各分割プラテン11A内に埋設された電気式の発熱部12が生タイヤTを加熱するので、加硫時の荷重を受けてもプラテン10に変形が生じにくくなる。すなわち、プラテン10は、周方向の分割構造により変形しにくくなり、高い応力が発生しにくくなる。
なお、プラテン10の周方向分割数については、上述した4分割に限定されることはなく、2分割や3分割は勿論のこと、加硫するタイヤサイズ等に応じて5分割以上の複数に分割してもよい。
ところで、上述した実施形態のプラテン10は、円周方向のみを4分割した分割プラテン11Aを接続してドーナツ型円盤形状とするが、図3に示す第1変形例や図4に示す第2変形例のように、周方向に加えて半径方向も複数に分割してもよい。
この場合、最も内側については、すなわち、貫通孔13が形成される中心部側については、周方向を連結してドーナツ型とすることが望ましい。
以下、図3に示す第1変形例のプラテン20について、具体的に説明する。このプラテン20は、本体21の中心部に貫通孔13を形成する内側リング22を残して、外周側が周方向に4分割された分割プラテン21Aとなっている。すなわち、図示のプラテン20は、周方向が4分割された分割プラテン21Aと、内側リング22との間が、半径方向に分割された分割構造となっている。この結果、周方向に加えて半径方向も分割したプラテン20は、タイヤ加硫時のプラテン変形がより一層生じにくくなる。
また、最も内側の中心部に形成されたドーナツ型円盤の分割プラテンである内側リング22は、貫通孔13がプラテン中心部に形成された小径の円になるため、プラテン20を外金型3に取り付ける際の芯出しに使用できる。すなわち、周方向の分割がない内側リング22を設けたことにより、より一層高い芯出し精度を得ることができる。
また、図4に示す第2変形例のプラテン30は、図3に示すプラテン20の外周側についても半径方向に分割したものである。すなわち、図示のプラテン30は、本体31が、周方向を4分割した分割プラテン31Aと、内側リング32と、外側リング33とに分割された分割構造となっている。なお、半径方向の分割については、内側リング32及び外側リング33に限定されることはなく、たとえば分割プラテン31Aについても半径方向を複数に分割するなど、適宜変更可能である。
この場合、たとえばプラテン30の径がコンテナ2より大きくなるような場合には、最も外周側となる外側リング33の発熱体が不要になる場合もあり、また、プラテン30の分割部分毎に発熱体の種類や加熱温度を適宜変更することも可能になるので、発熱体の配置や選択等に関する設計自由度を増すことができる。
続いて、周方向及び半径方向に分割した分割プラテン11A,21A,31A、内側リング22,32及び外側リング33について、隣接する分割リング間を接続及び位置決めする接続構造を説明する。すなわち、図4のB−B断面、C−C断面及びD−D断面の構造について、その接続構造例を図面に基づいて説明する。
図5は、凹凸係合部の構造例を示しており、(a)及び(b)は隣接する分割プラテンの端部で上下面を重ね合わせて係合させた構造例、(c)及び(d)は隣接する分割プラテンの端面どうしを係合させた構造例である。
ここで、図5(a)に示す凹凸係合部40が図4のD−D断面である場合、隣接する分割プラテン31A,31Aの上面及び下面には、上下方向から重ね合わせるようにして、互いに係合する凹部41及び凸部42が設けられている。この凹凸部41,42は、分割プラテン31A,31Aの端部に段差面43を設けて相対する凹凸部41,42を形成したものであり、互いの凹凸部41,42を係合させて接続した状態では、円盤形状となるプラテン30の表裏面はいずれも平面を維持するとともに、水平方向の移動(位置ずれ)が生じないようになっている。
上述したように、凹凸部41,42は段差面43の中央付近に1箇所ずつ形成してもよいし、あるいは図5(b)に示す凹凸係合部40Aのように、互いの端部に形成した凹凸部41,42を係合させるものなど、特に限定されることはない。
また、図5(c)及び(d)に示すように、隣接する分割プラテン31A,31Aの端面44に水平方向から係合する1または複数の凹凸部45,46を設けた凹凸係合部40B,40Cでもよい。この場合、側面から水平方向にスライドさせて凹凸部45,46を係合させることになり、係合状態では上下方向の移動が生じなくなる。
次に、締結接続部の構造例を図6に示して説明する。
図6(a)に示す締結構造部50は、隣接する分割プラテン31A,31Aの端部に各々段差面51,52を形成し、締結部材のボルト53を用いて機械的に結合する構造である。また、図6(b)に示す締結構造部50Aは、隣接する分割プラテン31A,31Aの端部に凹凸係合部54を形成し、この凹凸係合部54を貫通する締結部材の通しボルト55を用いて機械的に結合する構造である。
このような締結構造部50,50Aを採用すれば、締結部材による機械的な接続がなされるので、分割プラテン31Aを位置決めして確実な接続による一体化が可能になる。
最後に、プレート接続部の構造例を図7〜図9に示して説明する。
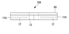
図7に示すプラテン10Aは、図1に示すプラテン10の分割プラテン11Aが、板上部材60により接続及び位置決めされて一体化したものである。この場合、板状部材60は、たとえばプラテン10Aのドーナツ型円盤形状に合わせ、連続するリング形状の板材が使用される。
上述した板状部材60は、たとえば図8(a)に示すように、プレート接続部61において分割プラテン11Aと凹凸係合部62により接続される。この凹凸係合部62は、板状部材60及び分割プラテン11Aの接触面に、互いに契合する凹部及び凸部を設けて係合させたものである。この場合、凹凸係合部62の凹部を板状部材60に設けて分割プラテン11Aに凸部を設けてもよいし、その逆でもよい。
また、凹凸係合部62の位置は、たとえば図8(b)に示すように、分割プラテン11Aの両端部付近に一対設けてもよいし、あるいは、たとえば図8(c)に示すように、分割プラテン11Aの中心部付近に一箇所設けてもよい。
また、上述した板状部材60は、たとえば図9に示すように、分割プラテン11Aと板状部材60との間をボルト等の締結部材を用いて位置決め及び接続してもよい。
図9(a)に示すプレート接続部61の構造例では、分割プラテン11Aと板状部材60との間が上下方向のボルト63で締結され、図9(b)に示すプレート接続部61Bの構造例では、分割プラテン11Aと板状部材60との間が水平方向のボルト64で締結されている。
さて、上述したタイヤ加硫装置1において、プラテン10,20,30は、複数に分割されて隣接する分割プラテン11A,21A,31A及び内側リング22,32及び外側リング33間が、凹凸係合部40、締結接続部50及びプレート接続部61の二つ以上を備えたものでもよい。すなわち、複数の分割プラテンを接続して一体化するプラテンは、凹凸係合部40、締結接続部50及びプレート接続部61を適宜組み合わせた接続構造が可能であり、接続構造の最適化により分割プラテン間の位置決め及び接続を容易に実施することができる。
このように、上述した本実施形態のタイヤ加硫装置1によれば、電気加熱方式のプラテンについて、円板一体型形状から周方向を複数に分割した分割型形状のプラテン10,20,30としたので、下記のような作用効果を得ることができる。
1)タイヤ加硫時にプラテンの変形(撓み)が発生しにくくなり、発熱部や取付部材(たとえば鍔部、上下プレートとボルト等の締結部材)等の寿命が向上する。
2)変形しにくいプラテンは、発熱部との接触面積が減少しにくくなるため、熱伝達性能の低下がなくなり、良好な加熱効率が得られるとともに熱寿命が向上する。
3)プラテンを交換する場合、取り外しや取り付けの調整が容易になるため、メンテナンス性が向上する。
4)プラテンは、分割プラテン毎の部分的な交換が可能になるので、コスト低減に有効である。
5)プラテンは、タイヤ加硫装置の構造、コンテナの金型構造及び加熱仕様に合わせた最適な分割形状を選択可能になる。
6)プラテンは、分割プラテン毎に、電気ヒータ(棒状及び面状の組合せを含む)や誘導加熱のように電気式加熱方式の種類が異なる組合せや、電気式加熱方式と熱媒体加熱方式との組合せが容易になる。このため、タイヤ加熱温度の均一化や最適化が可能となり、加熱ランニングコストの低減、加熱温度のコントロール精度向上により、高品質のタイヤ製造が可能となる。
このように、上述した実施形態のタイヤ加硫装置1は、電気加熱式のプラテンが有するタイヤ加硫時の変形やプラテン交換に関する問題を解決することができる。
なお、本発明は上述した実施形態に限定されることはなく、その要旨を逸脱しない範囲内において適宜変更することができる。
1 タイヤ加硫装置
2 コンテナ(金型)
3 外金型(モールド)
4 プラダ
10,20,30 プラテン
11A,21A,31A 分割プラテン
12 発熱体
13 貫通孔
14 鍔部
40 凹凸係合部
50 締結構造部
60 板状部材
61 プレート接続部

Claims (8)

  1. 外金型内に収容された生タイヤを、当該生タイヤの外側及び内側から加熱して加硫成形するタイヤ加硫装置であって、
    前記生タイヤを充填するコンテナの上下に接して、または前記コンテナの上下部分に内蔵した状態に配設され、加硫時に前記外金型の外側から前記生タイヤを加熱するプラテンを電気式とし、ドーナツ型円盤とした前記プラテンの周方向が複数に分割されていることを特徴とするタイヤ加硫装置。
  2. 前記プラテンの半径方向が複数に分割されるとともに、最も内側の周方向を連結してドーナツ型円盤にしたことを特徴とする請求項1に記載のタイヤ加硫装置。
  3. 前記プラテンは、複数に分割されて隣接する分割プラテン間が互いの凹凸部を係合させて接続及び位置決めされる凹凸係合部を備えていることを特徴とする請求項1または2に記載のタイヤ加硫装置。
  4. 前記プラテンは、複数に分割されて隣接する分割プラテン間が締結部材により接続及び位置決めされる締結接続部を備えていることを特徴とする請求項1または2に記載のタイヤ加硫装置。
  5. 前記プラテンは、複数に分割されて隣接する分割プラテン間が板状部材を介して互いに接続及び位置決めされるプレート接続部を備えていることを特徴とする請求項1または2に記載のタイヤ加硫装置。
  6. 前記プラテンは、複数に分割されて隣接する分割プラテン間が、前記凹凸係合部、前記締結接続部及び前記プレート接続部の二つ以上を備えていることを特徴とする請求項1または2に記載のタイヤ加硫装置。
  7. 前記プレート接続部は、前記プラテンの上面または下面に設けた凹凸部と、前記板状部材の下面または上面に設けた凹凸部とを係合させて接続及び位置決めされることを特徴とする請求項5または6に記載のタイヤ加硫装置。
  8. 前記プレート接続部は、前記分割プラテンと前記板状部材との間が締結部材を介して接続及び位置決めされていることを特徴とする請求項5または6に記載のタイヤ加硫装置。
JP2011040720A 2011-02-25 2011-02-25 タイヤ加硫装置 Active JP5725906B2 (ja)

Priority Applications (8)

Application Number Priority Date Filing Date Title
JP2011040720A JP5725906B2 (ja) 2011-02-25 2011-02-25 タイヤ加硫装置
EP11817288.1A EP2679367B1 (en) 2011-02-25 2011-05-10 Tire vulcanization device
KR1020127004462A KR101356815B1 (ko) 2011-02-25 2011-05-10 타이어 가류 장치
CN201180003486.9A CN102869486B (zh) 2011-02-25 2011-05-10 轮胎硫化装置
PCT/JP2011/060741 WO2012114542A1 (ja) 2011-02-25 2011-05-10 タイヤ加硫装置
HRP20170048TT HRP20170048T1 (hr) 2011-02-25 2011-05-10 Uređaj za vulkanizaciju guma
US13/391,612 US8591212B2 (en) 2011-02-25 2011-05-10 Tire vulcanizer
TW100122611A TWI428227B (zh) 2011-02-25 2011-06-28 Tire vulcanizing device

Applications Claiming Priority (1)

Application Number Priority Date Filing Date Title
JP2011040720A JP5725906B2 (ja) 2011-02-25 2011-02-25 タイヤ加硫装置

Publications (2)

Publication Number Publication Date
JP2012176552A true JP2012176552A (ja) 2012-09-13
JP5725906B2 JP5725906B2 (ja) 2015-05-27

Family

ID=46720353

Family Applications (1)

Application Number Title Priority Date Filing Date
JP2011040720A Active JP5725906B2 (ja) 2011-02-25 2011-02-25 タイヤ加硫装置

Country Status (8)

Country Link
US (1) US8591212B2 (ja)
EP (1) EP2679367B1 (ja)
JP (1) JP5725906B2 (ja)
KR (1) KR101356815B1 (ja)
CN (1) CN102869486B (ja)
HR (1) HRP20170048T1 (ja)
TW (1) TWI428227B (ja)
WO (1) WO2012114542A1 (ja)

Families Citing this family (4)

* Cited by examiner, † Cited by third party
Publication number Priority date Publication date Assignee Title
JP2015020331A (ja) * 2013-07-18 2015-02-02 株式会社ジェイテクト ゴムの加硫装置および加硫方法
US9452579B2 (en) * 2014-02-07 2016-09-27 Mitsubishi Heavy Industries Machinery Technology Corporation Mold heating device and tire vulcanizer
DE102023209752A1 (de) * 2023-10-05 2025-04-10 Continental Reifen Deutschland Gmbh Heizpresse
CN117359846A (zh) * 2023-11-27 2024-01-09 山东驰骋凯旋科技有限公司 一种便于组装的轮胎硫化机电磁加热装置

Citations (4)

* Cited by examiner, † Cited by third party
Publication number Priority date Publication date Assignee Title
US2024554A (en) * 1933-01-03 1935-12-17 Vogt Leslie Thomas Apparatus for vulcanizing tires and other articles
JPH0180306U (ja) * 1988-11-17 1989-05-30
JPH08174554A (ja) * 1994-12-20 1996-07-09 Sumitomo Rubber Ind Ltd タイヤ加硫用金型装置
JP2010000715A (ja) * 2008-06-20 2010-01-07 Sumitomo Rubber Ind Ltd タイヤ加硫装置

Family Cites Families (12)

* Cited by examiner, † Cited by third party
Publication number Priority date Publication date Assignee Title
US1682620A (en) * 1922-01-10 1928-08-28 Budd Edward G Mfg Co Apparatus for electrical vulcanizing
US2456063A (en) * 1944-07-24 1948-12-14 Harold V James Tire retreading device
IT1189673B (it) * 1986-05-20 1988-02-04 Firestone Int Dev Spa Impianto di vulcanizzazione di pneumatici
JP2505675B2 (ja) 1992-01-24 1996-06-12 三菱重工業株式会社 タイヤ加硫プレス
IT1257245B (it) * 1992-07-01 1996-01-10 Firestone Int Dev Spa Reattore di vulcanizzazione per pneumatici di veicoli stradali.
JP3254097B2 (ja) 1995-03-07 2002-02-04 三菱重工業株式会社 タイヤ加硫用金型組立体
JP2001079851A (ja) * 1999-09-17 2001-03-27 Kobe Steel Ltd 加硫機
JP3828726B2 (ja) 2000-07-31 2006-10-04 株式会社神戸製鋼所 加硫機
CN100513115C (zh) * 2005-03-26 2009-07-15 桂林橡胶机械厂 硫化机电加热装置
CN101100094A (zh) * 2006-07-05 2008-01-09 天津市橡塑机械研究所有限公司 巨型工程轮胎液压罐式硫化装置
JP4786620B2 (ja) 2006-09-21 2011-10-05 株式会社神戸製鋼所 加熱ユニット及びタイヤ加熱装置
US8941036B2 (en) * 2006-09-21 2015-01-27 Kobe Steel, Ltd. Heating unit, tire heating apparatus, and method for remodeling tire mold

Patent Citations (4)

* Cited by examiner, † Cited by third party
Publication number Priority date Publication date Assignee Title
US2024554A (en) * 1933-01-03 1935-12-17 Vogt Leslie Thomas Apparatus for vulcanizing tires and other articles
JPH0180306U (ja) * 1988-11-17 1989-05-30
JPH08174554A (ja) * 1994-12-20 1996-07-09 Sumitomo Rubber Ind Ltd タイヤ加硫用金型装置
JP2010000715A (ja) * 2008-06-20 2010-01-07 Sumitomo Rubber Ind Ltd タイヤ加硫装置

Also Published As

Publication number Publication date
EP2679367A1 (en) 2014-01-01
US8591212B2 (en) 2013-11-26
EP2679367B1 (en) 2016-10-19
WO2012114542A1 (ja) 2012-08-30
KR101356815B1 (ko) 2014-01-28
TW201235182A (en) 2012-09-01
TWI428227B (zh) 2014-03-01
KR20120139658A (ko) 2012-12-27
CN102869486A (zh) 2013-01-09
EP2679367A4 (en) 2014-02-19
CN102869486B (zh) 2015-06-17
HRP20170048T1 (hr) 2017-03-10
JP5725906B2 (ja) 2015-05-27
US20130017287A1 (en) 2013-01-17

Similar Documents

Publication Publication Date Title
EP2960031B1 (en) Method for producing a tire-vulcanizing mold and tire-vulcanizing mold
JP5725906B2 (ja) タイヤ加硫装置
JP6123753B2 (ja) ゴムパッキンの成形・加硫用電磁誘導加熱式金型装置
JPWO2015118655A1 (ja) 金型加熱装置、タイヤ加硫機
CN101462318A (zh) 轮胎模具
JP5607432B2 (ja) ゴム成形体の製造方法及びトランスファー成形用金型
US9796149B2 (en) Mold with sectors for a tire including insulating supporting plates, and associated molding method
CN102990814B (zh) 隔震橡胶支座的组合模具
CN104684717A (zh) 用于轮胎的具有可径向移动部段的硫化设备
CN103648756B (zh) 使用刚性芯的轮胎制造方法
CN108000913B (zh) 一种分段加热轮胎模具
KR101796030B1 (ko) 타이어 패턴 형성 불량방지용 가압장치
CN113815157B (zh) 一种橡胶轮胎一体成型的电加热模具
CN104290224A (zh) 橡胶的硫化装置以及硫化方法
JP2011226599A (ja) ゴム支承体の製造方法
CN203651015U (zh) 高性能子午线轮胎鼓式硫化装置
CN214820108U (zh) 一种轮胎硫化环片模具
JP5512451B2 (ja) 台タイヤの加硫成型装置
JP7207005B2 (ja) タイヤ加硫機
JP2017217781A (ja) タイヤ加硫用コンテナ
CN106660283A (zh) 具有最佳闭合的轮胎硫化模具
CN108237176A (zh) 一种核聚变真空室壳体冷成型模具
CN103660100A (zh) 高性能子午线轮胎鼓式硫化装置
KR20250072246A (ko) 타이어 성형 금형 장치, 이를 포함하는 타이어 가류 몰드 시스템 및 이를 제조하는 제조 방법
JP2021178444A (ja) タイヤ加硫装置および方法

Legal Events

Date Code Title Description
A711 Notification of change in applicant

Free format text: JAPANESE INTERMEDIATE CODE: A712

Effective date: 20120824

A625 Written request for application examination (by other person)

Free format text: JAPANESE INTERMEDIATE CODE: A625

Effective date: 20130418

A131 Notification of reasons for refusal

Free format text: JAPANESE INTERMEDIATE CODE: A131

Effective date: 20140701

A521 Request for written amendment filed

Free format text: JAPANESE INTERMEDIATE CODE: A523

Effective date: 20140901

TRDD Decision of grant or rejection written
A01 Written decision to grant a patent or to grant a registration (utility model)

Free format text: JAPANESE INTERMEDIATE CODE: A01

Effective date: 20150303

A61 First payment of annual fees (during grant procedure)

Free format text: JAPANESE INTERMEDIATE CODE: A61

Effective date: 20150331

R150 Certificate of patent or registration of utility model

Ref document number: 5725906

Country of ref document: JP

Free format text: JAPANESE INTERMEDIATE CODE: R150

S111 Request for change of ownership or part of ownership

Free format text: JAPANESE INTERMEDIATE CODE: R313111

R350 Written notification of registration of transfer

Free format text: JAPANESE INTERMEDIATE CODE: R350