JP2012144284A - 梱包構造及びそれに用いられる緩衝材 - Google Patents

梱包構造及びそれに用いられる緩衝材 Download PDF

Info

Publication number
JP2012144284A
JP2012144284A JP2011005028A JP2011005028A JP2012144284A JP 2012144284 A JP2012144284 A JP 2012144284A JP 2011005028 A JP2011005028 A JP 2011005028A JP 2011005028 A JP2011005028 A JP 2011005028A JP 2012144284 A JP2012144284 A JP 2012144284A
Authority
JP
Japan
Prior art keywords
claw
slit
folded
cushioning
cushioning material
Prior art date
Legal status (The legal status is an assumption and is not a legal conclusion. Google has not performed a legal analysis and makes no representation as to the accuracy of the status listed.)
Withdrawn
Application number
JP2011005028A
Other languages
English (en)
Inventor
Masahiro Kawagoe
政廣 川越
Toru Oda
徹 小田
Current Assignee (The listed assignees may be inaccurate. Google has not performed a legal analysis and makes no representation or warranty as to the accuracy of the list.)
Toho Kogyo Co Ltd
Sharp Corp
Original Assignee
Toho Kogyo Co Ltd
Sharp Corp
Priority date (The priority date is an assumption and is not a legal conclusion. Google has not performed a legal analysis and makes no representation as to the accuracy of the date listed.)
Filing date
Publication date
Application filed by Toho Kogyo Co Ltd, Sharp Corp filed Critical Toho Kogyo Co Ltd
Priority to JP2011005028A priority Critical patent/JP2012144284A/ja
Publication of JP2012144284A publication Critical patent/JP2012144284A/ja
Withdrawn legal-status Critical Current

Links

Images

Landscapes

  • Packaging Of Machine Parts And Wound Products (AREA)
  • Buffer Packaging (AREA)

Abstract

【課題】開梱時において、緩衝材から連結材を容易に分離することができる梱包構造を提供する。
【解決手段】弾性を有する板材から成り、側壁6bの端縁の一部が折り返されて形成された折返し爪6cを有する連結材6と、連結材6の側壁6b、折返し爪6cが差し込まれるスリット11と、スリット11に連通し、開梱者の指を挿入可能な指挿入凹部12を有する緩衝材3を備える。緩衝材3に形成された爪収容部14に落ち込んだ折返し爪6cの先端が緩衝材3の段部15に係合して緩衝材3と連結材6が結合される。指挿入凹部12から挿入した指で折返し爪6cを側壁6bの方向に押圧することにより、折返し爪6cの先端と段部15との係合が解かれる。
【選択図】図6

Description

本発明は、液晶テレビジョン受像機等の薄型電子機器の梱包に適した梱包構造及びそれに用いられる緩衝材に関する。
従来から、電子機器の梱包には、軽量で衝撃吸収性に優れた発泡樹脂性の緩衝材が使用されている。近年においては、発泡樹脂の使用量を削減するため、種々の提案がなされている。例えば、特許文献1には、複数個の緩衝材を部分的に配置し、それらをダンボール板から成る連結材によって連結する梱包構造が開示されている。
このような梱包構造を電子機器の上部に適用する場合、商品の輸送時などにおいて中央に配置された緩衝材が左右方向(連結材の長手方向)に移動することを防止する必要がある。そこで、上記特許文献1に示された梱包構造において、緩衝材と連結材との接合には、舌片上のタブと凹部からなる接合構造が適用されている。すなわち、連結材から切り起こされたタブが緩衝材に設けられている凹部に嵌合される構造である。この構造にあっても、緩衝材の移動を確実に防止するために、タブと凹部とを強固に嵌合する必要がある。
特開2006−273357号公報
上述したように、緩衝材と連結材とは、通常、異なる材料が用いられているため、開梱後は分別して処理する必要がある。ところが、上記特許文献1に示された梱包構造においては、タブと凹部との嵌合を強固にする必要上、緩衝材から連結材を分離する作業に支障を来たすことがあり、作業者に過度の負担を強いていた。このような作業性の悪化は、被梱包物である電子機器の大型化が進むほど顕著となる。
本発明は、上記課題を解決するためになされたものであり、開梱時において、緩衝材から連結材を容易に分離することができる梱包構造を提供することを目的とする。
上記目的を達成するために本発明は、被梱包物と当接し、該被梱包物を支持する複数の緩衝材と、前記複数の緩衝材を連結する連結材を備えた梱包構造において、前記連結材は、弾性を有する板材から成り、本体部と、該本体部の端縁の一部が折り返されて形成された折返し爪を有し、前記緩衝材は、前記連結材の本体部の端縁及び折返し爪が差し込まれるスリットと、該スリットに連通し、開梱者の指を挿入可能な指挿入凹部を有することを特徴とする。
この梱包構造において、前記緩衝材は、前記連結材の折返し爪が弾性によって復元する方向に退避された爪収容部と、該爪収容部に収容された前記折返し部の先端と係合する段部をさらに有することが好ましい。
この梱包構造において、前記連結材の長手方向の先端には、係合爪が形成され、
前記連結材の長手方向の先端に結合される前記緩衝材には、前記スリットに連通して、前記係合爪に対応する係合凹部が形成されていることが好ましい。
この梱包構造において、前記緩衝材のスリット及び指挿入凹部は、被梱包物が当接される側とは反対側の面に形成されていることが好ましい。
この梱包構造において、横倒しに寝かされて前記緩衝材及び連結材が装着された被梱包物が載置される第1ケースと、該第1ケースの上方から装着される第2ケースをさらに備えることが好ましい。
また、本発明は、端縁の一部が折り返されて形成された折返し爪を有する連結材によって、相互に連結されて被梱包物に装着される緩衝材において、前記被梱包物の一部が嵌挿される嵌挿孔と、前記端縁及び折返し爪が差し込まれるスリットと、該スリットに連通し開梱者の指を挿入可能な指挿入凹部を有することを特徴とする。
この緩衝材において、前記連結材の折返し爪が弾性によって復元する方向に退避された爪収容部と、該爪収容部に落ち込んだ前記折返し部の先端と係合する段部をさらに有することが好ましい。
この緩衝材において、前記嵌挿孔と、スリットと、指挿入凹部とは、それぞれ深さ方向が平行に形成されていることが好ましい。
請求項1の発明によれば、開梱者が指挿入凹部に指を挿入して折返し爪を連結材の本体部の側に押圧することにより、折返し爪とスリットとの間に隙間を生じさせることができる。これにより、緩衝材から連結材を容易に分離することができる。
また、梱包時に連結材の折返し爪が弾性によって復元すると、その先端が緩衝材に形成された爪収容部に落ち込んで段部と係合するので、緩衝材と連結材を強固に結合させて、連結材から緩衝材が脱落することを防止することができる。なお、開梱時には、指挿入凹部に指を挿入して折返し爪を連結材の本体部の側に押圧することにより、折返し爪の先端と段部との係合を解くことができるので、上記と同様に緩衝材から連結材を容易に分離することができる。
また、連結材の長手方向の先端に形成された係合爪と、緩衝材のスリットに連通して形成された係合凹部の係合によって、折返し爪の先端と段部との係合と相まって、連結材に対する緩衝材の回転を防止することができる。緩衝材と連結材とをより強固に結合させることができる。
また、緩衝材のスリット及び指挿入凹部は、被梱包物が当接される側とは反対側の面に形成されているので、開梱時に被梱包物とは反対の側から連結材を取外すことができる。これにより、緩衝材から連結材をより一層容易に分離できるようになる。
また、被梱包物を寝かした姿勢で梱包することができるので、特に薄型の被梱包材の梱包において、安定して作業を進めることができる。
また、嵌挿孔と、スリットと、指挿入凹部とは、それぞれ深さ方向が平行に形成されているので、緩衝材を金型によって成形する場合、その金型構造を簡素にすることができ、ひいては緩衝材の製造コストの低減を図ることができる。
本発明の一実施形態による梱包構造を示す斜視図。 同構造の緩衝材と連結材の構成を示す斜視図。 (a)は同分解斜視図、(b)はその折返し爪を拡大して示した斜視図、(c)は折返し爪の断面図。 同平面図。 同拡大平面図。 (a)は図5におけるA−A線断面図、(b)は図5におけるB−B線断面図。 (a)は緩衝材に連結材を装着する要領を示すA−A線断面図、(b)は同B−B線断面図。 図7に続き、緩衝材に連結材を装着する要領を示す断面図。 図8に続き、緩衝材に連結材を装着する要領を示す断面図。 連結材から緩衝材を分離する要領を時系列で示すA−A線断面図。 緩衝材の構成を示す拡大平面図。 (a)は図11におけるC−C線断面図、(b)は図5におけるD−D線断面図。 緩衝材に連結材を装着する要領を時系列で示す斜視図。 図13に続き、緩衝材に連結材を装着する要領を時系列で示す斜視図。
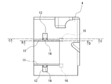
本発明の一実施形態による梱包構造について図面を参照して説明する。図1は液晶テレビジョン受像機の梱包構造を示す。梱包構造は、第1ケース1と、第2ケース2と、緩衝材3,4,5と、連結材6等によって構成されている。液晶テレビジョン受像機7は、画面を下向きに、横倒しに寝かされた姿勢でスタンド8と共に梱包される。
第1ケース1は、緩衝材3,4,5及び連結材6が装着された液晶テレビジョン受像機7が載置されて、液晶テレビジョン受像機7の画面等を保護する。第2ケース2は、第1ケース1の上方から装着されて液晶テレビジョン受像機7の背面等を保護する。緩衝材3,4,5によって、第1ケース1及び第2ケース2の内部で液晶テレビジョン受像機7が支持される。緩衝材3は、液晶テレビジョン受像機7の上端縁の中央部に装着・当接される。緩衝材4,5は、液晶テレビジョン受像機7の上端縁の両端及び下端縁の両端、すなわち液晶テレビジョン受像機7の4隅に装着・当接される。連結材6は、緩衝材3,4,5を相互に連結する。図1においては、下端側の緩衝材3は省略されているが、必要に応じて追加してもよい。
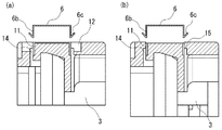
図2乃至図4は、緩衝材3,4,5及び連結材6を示す。連結材6は、弾性を有する板材、例えば紙製ダンボール、プラスチックダンボール等を断面がコの字状になるように折り曲げることによって形成され、天壁6aと2つの側壁6bからなる本体部と、折返し爪6cと係合爪6dを有する。折返し爪6cは、緩衝材3,4,5のそれぞれに2箇所ずつ対応するように6個設けられ、側壁6bの端縁の一部が鋭角に折り返されて形成されている。係合爪6dは、側壁6bの先端部の下端縁が連結材6の長手方向に延伸されて形成されている。
緩衝材3,4,5は、発泡ポリスチレン等の発泡材によって形成されている。緩衝材3,4,5は、スリット11と、指挿入凹部12とを有する。スリット11は、連結材6の側壁6bに対応して形成され、側壁6b及び折返し爪6cが差し込まれる。従って、スリット11の幅は、側壁6bの厚みと折返し爪6cの厚みを加えたものと略等しく設定されている。指挿入凹部12は、スリット11に連通し、開梱者の指を挿入可能に形成されている。スリット11及び指挿入凹部12は、液晶テレビジョン受像機7が当接される嵌挿孔13が形成されている側とは反対側の面に形成されている。
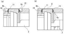
図5は、緩衝材3及び連結材6を拡大して示す。また、図6において(a)は、図5におけるA−A線断面、(b)は、図5におけるB−B線断面を示す。緩衝材3は、嵌挿孔13、爪収容部14及び段部15をさらに有する。嵌挿孔13は、図1に示すように、液晶テレビジョン受像機7の上端縁の中央部が嵌挿される。スリット11と、指挿入凹部12と、嵌挿孔13とは、それぞれ深さ方向が平行に形成されている。図5及び図6に示すように、爪収容部14は、その中央部分において指挿入凹部12と連通されている。また、図6に示すように、爪収容部14は、スリット11と連通し、スリット11から連結材6の折返し爪6cが弾性によって復元する方向に退避されて形成されている。段部15は、爪収容部14に落ち込んで収容された折返し爪6cの先端と係合するように、指挿入凹部12の(連結材6の長手方向の)両端において爪収容部14の上方に突出して形成されている。爪収容部14に落ち込んだ折返し爪6cの先端が段部15と係合することにより、緩衝材3と連結材6が強固に結合される。
図7乃至図9は、緩衝材3に連結材6を装着する要領を示している。図7乃至図9において、(a)は、図5におけるA−A線断面、(b)は、図5におけるB−B線断面を示す。図7及び図8に示すように、連結材6は、その側壁6b及び折返し爪6cが緩衝材3のスリット11に挿入されることにより、緩衝材3に装着される。図8に示した状態では、折返し爪6cがスリット11の側壁によって側壁6bの方向に押圧されながら、スリット11を下方に進入する。さらに、図9に示した状態までスリット11が進入すると、爪収容部14に折返し爪6cの先端が落ち込んで収容され、折返し爪6cの先端と段部15が係合する。このとき、仮に連結材6を緩衝材3から引き抜こうとしても、折返し爪6cの先端と段部15が係合しているため、連結材6が緩衝材3から容易に引き抜かれることはない。
このように緩衝材3に装着された連結材6の折返し爪6cの中央部は、図5に示すように、指挿入凹部12から臨むことができる。そして、本実施形態の梱包構造においては、開梱時に作業者(開梱者)が、指挿入凹部12から指などを挿入して、折返し爪6cを側壁6bの方向に押圧することにより、折返し爪6cと段部15の係合を解いて容易に緩衝材3から連結材6を分離することができる。
図10は、開梱時において、連結材6から緩衝材3を分離する要領を示している。この図10において、(a)乃至(d)は、図5におけるA−A線断面を示す。開梱者は、(a)に示すように指Fなどを緩衝材3の指挿入凹部12に挿入し、(b)に示すように連結材6の折返し爪6cを側壁6bの方向に押圧する。これにより、折返し爪6cの先端と段部15との係合が解かれる。さらに開梱者は、(c)に示すように連結材6を上方に引き上げると、側壁6b及び折返し爪6cがスリット11の上方に移動し、(d)に示すように連結材6から緩衝材3を分離することができる。このとき、折返し爪6cを側壁6bの方向に押圧し続けることにより、折返し爪6cとスリット11との間に隙間が生じて、連結材6から緩衝材3を容易に分離することができる。
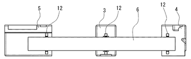
図11及び図12は、緩衝材4を示す。図12において、(a)は、図11におけるC−C線断面、(b)は、図11におけるD−D線断面を示す。緩衝材4は、スリット11、指挿入凹部12、嵌挿孔13、爪収容部14及び段部15の他、係合凹部16をさらに有する。スリット11、指挿入凹部12、嵌挿孔13、爪収容部14及び段部15の構成は、緩衝材3に形成されているものと同等である。係合凹部16は、スリット11に連通して係合爪6dに対応する形状に形成されている。なお、緩衝材5についても緩衝材4と同等の構成であるため、以下は緩衝材4についてのみ説明する。
図13及び図14は、緩衝材4に連結材6を装着する要領を示している。図13において、(a)、(b)に示すように、まず、連結材6の係合爪6dを緩衝材4のスリット11に斜め方向に挿入し、連結材6を緩衝材4に押し込む。これにより、係合爪6dの先端が係合凹部16と係合することとなるが、この段階では、折返し爪6cは爪収容部14に落ち込んでいない。そして、図14において、(a)に示すように係合凹部16に係合している係合爪6dの先端を中心に連結材6を回動させると、(b)に示すように折返し爪6cは爪収容部14に落ち込んで収容され、折返し爪6cの先端と段部15が係合する。連結材6から緩衝材4を分離する際には、図13、図14に示した作業を逆に実行すればよい。すなわち、指挿入凹部12に指を挿入して折返し爪6cを連結材6の側壁6bの側に押圧することにより、折返し爪6cの先端と段部15との係合を解いた後、図14(a)の逆方向に連結材6を回動させ、図13(b)の逆方向に連結材6を引き抜けばよい。
以上のように、本実施形態の梱包構造によれば、開梱者が指挿入凹部12に指を挿入して折返し爪6cを連結材6の側壁6bの側に押圧することにより、折返し爪6cとスリット11との間に隙間を生じさせることができる。これにより、緩衝材3から連結材6を容易に分離することができる。
また、梱包時に連結材6の折返し爪6cが弾性によって復元すると、その先端が緩衝材3に形成された爪収容部14に落ち込んで段部15と係合するので、緩衝材3と連結材6を強固に結合させて、連結材6から緩衝材3が脱落することを防止することができる。なお、開梱時には、指挿入凹部12に指を挿入して折返し爪6cを連結材6の側壁6bの側に押圧することにより、折返し爪6cの先端と段部15との係合を解くことができるので、上記と同様に緩衝材3から連結材6を容易に分離することができる。
また、連結材6の長手方向の先端に形成された係合爪6dと、緩衝材4,5のスリット11に連通して形成された係合凹部16の係合によって、折返し爪6cの先端と段部15との係合と相まって、連結材6に対する緩衝材4,5の回転を防止することができる。これにより、緩衝材3対する上記効果に加えて、連結材6と緩衝材4,5とをより強固に結合させることができる。
また、緩衝材3,4,5のスリット11及び指挿入凹部12は、被梱包物たる液晶テレビジョン受像機7が当接される側とは反対側の面に形成されているので、開梱時に液晶テレビジョン受像機7とは反対の側から連結材6を取外すことができる。これにより、緩衝材3から連結材6をより一層容易に分離できるようになる。
また、スリット11と、指挿入凹部12と、嵌挿孔13とは、それぞれ深さ方向が平行に形成されているので、緩衝材3,4,5を金型によって成形する場合、その金型構造を簡素にすることができ、ひいては緩衝材3,4,5の製造コストの低減を図ることができる。
また、液晶テレビジョン受像機7などの薄型で重量の大きな電子機器を被梱包物として適用する場合、被梱包物を寝かした姿勢で梱包することができるので、安定して作業を進めることができる。
なお、本発明は上記実施形態の構成に限られることなく、少なくとも弾性を有する板材から成り、側壁6bの端縁の一部が折り返されて形成された折返し爪6cを有する連結材6と、連結材6の側壁6b、折返し爪6cが差し込まれるスリット11と、スリット11に連通し、開梱者の指を挿入可能な指挿入凹部12を有する緩衝材3を備えて構成されていればよい。また、本発明は種々の変形が可能であり、例えば、緩衝材3,4,5及び連結材6による構成は、特許文献1に示されるような薄型の被梱包物を起立姿勢で梱包する梱包構造にも広く適用することができる。
1 第1ケース
2 第2ケース
3,4,5 緩衝材
6 連結材
6c 折返し爪
6d 係合爪
7 液晶テレビジョン受像機(被梱包物)
11 スリット
12 指挿入凹部
13 嵌挿孔
14 爪収容部
15 段部
16 係合凹部

Claims (8)

  1. 被梱包物と当接し、該被梱包物を支持する複数の緩衝材と、前記複数の緩衝材を連結する連結材を備えた梱包構造において、
    前記連結材は、弾性を有する板材から成り、本体部と、該本体部の端縁の一部が折り返されて形成された折返し爪を有し、
    前記緩衝材は、前記連結材の本体部の端縁及び折返し爪が差し込まれるスリットと、該スリットに連通し、開梱者の指を挿入可能な指挿入凹部を有することを特徴とする梱包構造。
  2. 前記緩衝材は、前記連結材の折返し爪が弾性によって復元する方向に退避された爪収容部と、該爪収容部に収容された前記折返し部の先端と係合する段部をさらに有することを特徴とする請求項1に記載の梱包構造。
  3. 前記連結材の長手方向の先端には、係合爪が形成され、
    前記連結材の長手方向の先端に結合される前記緩衝材には、前記スリットに連通して、前記係合爪に対応する係合凹部が形成されていることを特徴とする請求項1又は請求項2に記載の梱包構造。
  4. 前記緩衝材のスリット及び指挿入凹部は、被梱包物が当接される側とは反対側の面に形成されていることを特徴とする請求項1乃至請求項3のいずれか一項に記載の梱包構造。
  5. 横倒しに寝かされて前記緩衝材及び連結材が装着された被梱包物が載置される第1ケースと、該第1ケースの上方から装着される第2ケースをさらに備えたことを特徴とする請求項1乃至請求項4のいずれか一項に記載の梱包構造。
  6. 端縁の一部が折り返されて形成された折返し爪を有する連結材によって、相互に連結されて被梱包物に装着される緩衝材において、
    前記被梱包物の一部が嵌挿される嵌挿孔と、前記端縁及び折返し爪が差し込まれるスリットと、該スリットに連通し開梱者の指を挿入可能な指挿入凹部を有することを特徴とする緩衝材。
  7. 前記連結材の折返し爪が弾性によって復元する方向に退避された爪収容部と、該爪収容部に落ち込んだ前記折返し部の先端と係合する段部をさらに有することを特徴とする請求項6に記載の緩衝材。
  8. 前記嵌挿孔と、スリットと、指挿入凹部とは、それぞれ深さ方向が平行に形成されていることを特徴とする請求項7に記載の緩衝材。
JP2011005028A 2011-01-13 2011-01-13 梱包構造及びそれに用いられる緩衝材 Withdrawn JP2012144284A (ja)

Priority Applications (1)

Application Number Priority Date Filing Date Title
JP2011005028A JP2012144284A (ja) 2011-01-13 2011-01-13 梱包構造及びそれに用いられる緩衝材

Applications Claiming Priority (1)

Application Number Priority Date Filing Date Title
JP2011005028A JP2012144284A (ja) 2011-01-13 2011-01-13 梱包構造及びそれに用いられる緩衝材

Publications (1)

Publication Number Publication Date
JP2012144284A true JP2012144284A (ja) 2012-08-02

Family

ID=46788297

Family Applications (1)

Application Number Title Priority Date Filing Date
JP2011005028A Withdrawn JP2012144284A (ja) 2011-01-13 2011-01-13 梱包構造及びそれに用いられる緩衝材

Country Status (1)

Country Link
JP (1) JP2012144284A (ja)

Similar Documents

Publication Publication Date Title
JP4920747B2 (ja) 物品運送用梱包具
JP4429192B2 (ja) 物品運送用梱包具
JP5955265B2 (ja) 包装ケース及び梱包体
JP2008222263A (ja) 包装装置
JP6890961B2 (ja) ブランク及びカートン
JP3155097U (ja) コーナー用緩衝体
KR200493805Y1 (ko) 포장 박스
JP5038287B2 (ja) 包装容器及び包装体
JP2006273357A (ja) 梱包装置
JP2012144284A (ja) 梱包構造及びそれに用いられる緩衝材
JP3142537B2 (ja) 紙製緩衝体
JP3189377U (ja) 緩衝用物品収納体
JP2002145338A (ja) 包装用パッド及び梱包装置
JP3162704U (ja) 梱包容器
JP3286695B2 (ja) 緩衝包装材
JP2015174688A (ja) 梱包対象物の固定部材
JP2018034883A (ja) 梱包箱、テレビジョン装置、及び梱包方法
JP3194333U (ja) 内装用梱包具
JP4578636B2 (ja) クッション材
JP5701586B2 (ja) 梱包装置
JP3193598U (ja) 梱包構造
JP2018065582A (ja) 包装部材
JP5099189B2 (ja) 梱包装置
JP4272569B2 (ja) 包装用緩衝体
JP2007276808A (ja) 梱包構造

Legal Events

Date Code Title Description
A300 Withdrawal of application because of no request for examination

Free format text: JAPANESE INTERMEDIATE CODE: A300

Effective date: 20140401