JP2011190880A - 動力伝達装置 - Google Patents
動力伝達装置 Download PDFInfo
- Publication number
- JP2011190880A JP2011190880A JP2010058059A JP2010058059A JP2011190880A JP 2011190880 A JP2011190880 A JP 2011190880A JP 2010058059 A JP2010058059 A JP 2010058059A JP 2010058059 A JP2010058059 A JP 2010058059A JP 2011190880 A JP2011190880 A JP 2011190880A
- Authority
- JP
- Japan
- Prior art keywords
- bevel
- drive gear
- gear
- drive shaft
- shaft
- Prior art date
- Legal status (The legal status is an assumption and is not a legal conclusion. Google has not performed a legal analysis and makes no representation as to the accuracy of the status listed.)
- Abandoned
Links
- 230000005540 biological transmission Effects 0.000 title claims abstract description 36
- 230000003247 decreasing effect Effects 0.000 abstract 1
- 238000012546 transfer Methods 0.000 description 42
- 230000002093 peripheral effect Effects 0.000 description 6
- 238000000034 method Methods 0.000 description 4
- 238000010586 diagram Methods 0.000 description 3
- 238000003780 insertion Methods 0.000 description 3
- 230000037431 insertion Effects 0.000 description 3
- 238000012545 processing Methods 0.000 description 3
- 238000004519 manufacturing process Methods 0.000 description 2
- 206010044565 Tremor Diseases 0.000 description 1
- 239000003638 chemical reducing agent Substances 0.000 description 1
- 238000007796 conventional method Methods 0.000 description 1
- 230000000694 effects Effects 0.000 description 1
- 230000001629 suppression Effects 0.000 description 1
Images
Classifications
-
- F—MECHANICAL ENGINEERING; LIGHTING; HEATING; WEAPONS; BLASTING
- F16—ENGINEERING ELEMENTS AND UNITS; GENERAL MEASURES FOR PRODUCING AND MAINTAINING EFFECTIVE FUNCTIONING OF MACHINES OR INSTALLATIONS; THERMAL INSULATION IN GENERAL
- F16H—GEARING
- F16H1/00—Toothed gearings for conveying rotary motion
- F16H1/02—Toothed gearings for conveying rotary motion without gears having orbital motion
- F16H1/04—Toothed gearings for conveying rotary motion without gears having orbital motion involving only two intermeshing members
- F16H1/12—Toothed gearings for conveying rotary motion without gears having orbital motion involving only two intermeshing members with non-parallel axes
- F16H1/14—Toothed gearings for conveying rotary motion without gears having orbital motion involving only two intermeshing members with non-parallel axes comprising conical gears only
-
- B—PERFORMING OPERATIONS; TRANSPORTING
- B60—VEHICLES IN GENERAL
- B60K—ARRANGEMENT OR MOUNTING OF PROPULSION UNITS OR OF TRANSMISSIONS IN VEHICLES; ARRANGEMENT OR MOUNTING OF PLURAL DIVERSE PRIME-MOVERS IN VEHICLES; AUXILIARY DRIVES FOR VEHICLES; INSTRUMENTATION OR DASHBOARDS FOR VEHICLES; ARRANGEMENTS IN CONNECTION WITH COOLING, AIR INTAKE, GAS EXHAUST OR FUEL SUPPLY OF PROPULSION UNITS IN VEHICLES
- B60K17/00—Arrangement or mounting of transmissions in vehicles
- B60K17/34—Arrangement or mounting of transmissions in vehicles for driving both front and rear wheels, e.g. four wheel drive vehicles
- B60K17/344—Arrangement or mounting of transmissions in vehicles for driving both front and rear wheels, e.g. four wheel drive vehicles having a transfer gear
-
- Y—GENERAL TAGGING OF NEW TECHNOLOGICAL DEVELOPMENTS; GENERAL TAGGING OF CROSS-SECTIONAL TECHNOLOGIES SPANNING OVER SEVERAL SECTIONS OF THE IPC; TECHNICAL SUBJECTS COVERED BY FORMER USPC CROSS-REFERENCE ART COLLECTIONS [XRACs] AND DIGESTS
- Y10—TECHNICAL SUBJECTS COVERED BY FORMER USPC
- Y10T—TECHNICAL SUBJECTS COVERED BY FORMER US CLASSIFICATION
- Y10T74/00—Machine element or mechanism
- Y10T74/19—Gearing
- Y10T74/19642—Directly cooperating gears
- Y10T74/1966—Intersecting axes
- Y10T74/19665—Bevel gear type
Landscapes
- Engineering & Computer Science (AREA)
- General Engineering & Computer Science (AREA)
- Mechanical Engineering (AREA)
- Arrangement And Driving Of Transmission Devices (AREA)
- Gears, Cams (AREA)
- Gear Transmission (AREA)
Abstract
【課題】傘歯ドライブギヤと傘歯ドリブンギヤとの良好な噛み合い状態を確保することで騒音の抑制を図りつつ、部品点数と組立工数を低減することでコストの低減に貢献する。
【解決手段】傘歯ドライブギヤ27を、スプライン部40とインロー部42とを介して第1駆動軸22に嵌合し、スプライン部40とインロー部42との間に、第1駆動軸22と傘歯ドライブギヤ27との軸方向の相対移動を規制するように第1駆動軸22と傘歯ドライブギヤ27とを当接させる当たり面52を設け、第1駆動軸22または傘歯ドライブギヤ27のいずれか一方に、第1駆動軸22と傘歯ドライブギヤ27との前記当たり面52とは反対側への軸方向の相対移動を規制するように第1駆動軸22または傘歯ドライブギヤ27のいずれか他方に当接させるスナップリング54を装着する。
【選択図】図3
【解決手段】傘歯ドライブギヤ27を、スプライン部40とインロー部42とを介して第1駆動軸22に嵌合し、スプライン部40とインロー部42との間に、第1駆動軸22と傘歯ドライブギヤ27との軸方向の相対移動を規制するように第1駆動軸22と傘歯ドライブギヤ27とを当接させる当たり面52を設け、第1駆動軸22または傘歯ドライブギヤ27のいずれか一方に、第1駆動軸22と傘歯ドライブギヤ27との前記当たり面52とは反対側への軸方向の相対移動を規制するように第1駆動軸22または傘歯ドライブギヤ27のいずれか他方に当接させるスナップリング54を装着する。
【選択図】図3
Description
本発明は、2つの駆動軸間で傘歯歯車機構を介して動力を伝達する動力伝達装置に関し、該動力伝達装置の製造技術の分野に属する。
車体前部に横置き式のエンジンを搭載した4輪駆動車には、エンジンの出力を変速する変速機と、該変速後の出力を前輪用ドライブシャフトに伝達する前輪用差動装置とからなるトランスアクスルが搭載されることがある。
この種の車両では、トランスアクスルに組み込まれた車幅方向に延びる出力軸(第1駆動軸)から、車両前後方向に延びて後輪用差動装置に至るプロペラ軸(第2駆動軸)へ、傘歯歯車機構を介して動力伝達されることにより、変速機から後輪への動力伝達がなされる。
この種の動力伝達装置の一例が特許文献1に開示されている。特許文献1の動力伝達装置では、トランスアクスルに、車幅方向に延びる中空の出力軸が組み込まれている。該出力軸は、前輪用差動装置から車幅方向に延びる一方の前輪用ドライブシャフトに外嵌されるともに、前輪用差動装置のデフケースにスプライン嵌合している。よって、変速機の出力ギヤから前輪用差動装置のリングギヤに動力が伝達されると、前記出力軸はデフケースと共に回転駆動される。
この特許文献1の出力軸には、後輪側へ動力伝達するための傘歯ドライブギヤが結合されている。具体的に、該傘歯ドライブギヤは、前記出力軸の外周面に設けられたフランジ部に複数のボルトを用いて固定されている。
特許文献1の技術の他にも、同様の中空の出力軸に傘歯ドライブギヤをスプライン嵌合し、該出力軸の端部からナット又はボルトを締め込んで該傘歯ドライブギヤを固定する技術が知られている。
しかし、特許文献1の技術では、傘歯ドライブギヤの固定に複数のボルトが用いられるため、部品点数および組立工数が増大し、コストの増大を招いてしまう。
また、上記のように出力軸の端部からナット又はボルトを締め込んで傘歯ドライブギヤを固定する場合、該ナット又はボルトの緩み止め機構が別途必要となるため、やはり部品点数および組立工数が増大してしまう。
さらに、傘歯歯車機構においては、傘歯ドライブギヤと傘歯ドリブンギヤとの歯当たりが悪い場合、ギヤノイズが発生するという問題もある。
そこで、本発明は、傘歯ドライブギヤと傘歯ドリブンギヤとの良好な噛み合い状態を確保することで騒音の抑制を図りつつ、部品点数と組立工数を低減することでコストの低減に貢献できる動力伝達装置を提供することを課題とする。
前記課題を解決するため、本発明に係る動力伝達装置は、次のように構成したことを特徴とする。
まず、本願の請求項1に記載の発明は、第1駆動軸と、該第1駆動軸とは異なる方向に延びる第2駆動軸と、前記第1駆動軸に設けられた傘歯ドライブギヤと、前記第2駆動軸に設けられ前記傘歯ドライブギヤに噛み合う傘歯ドリブンギヤと、を備えた動力伝達装置であって、前記傘歯ドライブギヤは、スプライン部とインロー部とを介して前記第1駆動軸に嵌合されており、前記スプライン部と前記インロー部との間に、前記第1駆動軸と前記傘歯ドライブギヤとの軸方向の相対移動を規制するように前記第1駆動軸と前記傘歯ドライブギヤとを当接させる当たり面が設けられ、前記第1駆動軸または前記傘歯ドライブギヤのいずれか一方に、前記第1駆動軸と前記傘歯ドライブギヤとの前記当たり面とは反対側への軸方向の相対移動を規制するように前記第1駆動軸または前記傘歯ドライブギヤのいずれか他方に当接させるスナップリングが装着されていることを特徴とする。
また、請求項2に記載の発明は、前記請求項1に記載の発明において、前記スナップリングは、前記傘歯ドライブギヤに設けられたインロー穴部の内周面に形成された周溝に、拡径方向に付勢された状態で装着され、前記周溝に、前記スナップリングの付勢力によって該スナップリングを前記当たり面側に押圧するスラスト力を発生させるテーパ面が設けられていることを特徴とする。
さらに、請求項3に記載の発明は、前記請求項1または請求項2に記載の発明において、前記インロー部は前記スプライン部よりも大径であり、軸方向において、前記傘歯ドライブギヤの歯面側から、前記スプライン部、前記インロー部の順で配置されていることを特徴とする。
またさらに、請求項4に記載の発明は、前記請求項1から請求項3のいずれか1項に記載の発明において、前記インロー部は、前記傘歯ドライブギヤに前記第1駆動軸が圧入嵌合される圧入嵌合部を有し、前記第1駆動軸と前記傘歯ドライブギヤとは、該傘歯ドライブギヤの前記第1駆動軸への嵌合組み付け時、前記スプライン部における噛み合いが開始された後に前記圧入嵌合部における圧入嵌合が開始されるように寸法設計されていることを特徴とする。
まず、請求項1に記載の発明によれば、傘歯ドライブギヤがスプライン部とインロー部とを介して第1駆動軸に嵌合されているため、スプライン部におけるスプライン嵌合により第1駆動軸から傘歯ドライブギヤへの確実な動力伝達を実現しつつ、インロー部における圧入嵌合により傘歯ドライブギヤの径方向の位置精度を良好に確保することができる。
また、第1駆動軸と傘歯ドライブギヤとの当たり面と、第1駆動軸または傘歯ドライブギヤのいずれか一方に装着されたスナップリングとにより、第1駆動軸と傘歯ドライブギヤとの軸方向の相対移動が規制されるため、軸方向についても傘歯ドライブギヤの位置精度を良好に確保することができる。そのため、傘歯ドライブギヤとこれに噛み合う傘歯ドリブンギヤとの歯当たりを良好に維持することができ、ギヤノイズを抑制することができる。
さらに、第1駆動軸への傘歯ドライブギヤの固定には、1つのスナップリングを用いるだけで済むため、例えば複数のボルトを用いて締結するなどしていた従来技術に比べて、部品点数を低減できるとともに、組み付け作業を容易にすることができる。したがって、コストの低減を図ることができる。
また、請求項2に記載の発明によれば、スナップリングは、傘歯ドライブギヤのインロー穴部の内周面に形成された周溝に、拡径方向に付勢された状態で装着されるため、該装着部には、スナップリングの拡径方向の付勢力と遠心力とが作用し、これにより、スナップリングの脱落を抑制することができる。さらに、周溝のテーパ面で発生するスラスト力により、前記当たり面とスナップリングとの間にインロー部またはスプライン部を強固に挟持することができるため、傘歯ドライブギヤの軸方向のがたつきを確実に防止することができ、傘歯ドライブギヤの軸方向の位置精度を一層高めることができる。
さらに、請求項3に記載の発明によれば、インロー部がスプライン部よりも大径であり、軸方向において、傘歯ドライブギヤの歯面側から、スプライン部、インロー部の順で配置されているため、傘歯ドライブギヤからのスラスト力をインロー部側の当たり面で受けることができる。そのため、スプライン部側の当たり面で受ける場合に比べて、当該スラスト力を確実に受けることができ、傘歯ドライブギヤの高い取付強度を得ることができる。また、インロー部がスプライン部に比べて大径であるため、インロー穴部とインロー軸部とのセンタリングの精度が高まると共に、加工時においてインロー穴部およびインロー軸部の径の精度が高められる。よって、傘歯ドライブギヤの径方向の位置精度を一層高めることができ、傘歯ドライブギヤを径方向にがたつき無く取り付けることができる。
また、請求項4に記載の発明によれば、傘歯ドライブギヤの第1駆動軸への嵌合組み付けの際、スプライン部における噛み合いが開始された後にインロー部における圧入嵌合が開始されるため、インロー部における圧入開始後にスプライン部の噛み合わせを行う場合に比べて、傘歯ドライブギヤの嵌合作業を容易に行うことができる。
以下、本発明の実施形態について説明する。
[第1の実施形態]
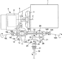
図1は、第1の実施形態に係る4輪駆動車の動力伝達経路を示す骨子図である。なお、図1における三角形は軸受を示している。
図1は、第1の実施形態に係る4輪駆動車の動力伝達経路を示す骨子図である。なお、図1における三角形は軸受を示している。
図1に示す4輪駆動車では、車体前部のエンジンルーム内に、車幅方向に延びるクランクシャフト2を備えた横置き式のエンジン1が搭載されている。
クランクシャフト2にはトルクコンバータ3が直列に連結されている。このトルクコンバータ3のタービンシャフト4には自動変速機6が直列に連結されている。この変速機6の出力軸7は車幅方向に延設され、この出力軸7に出力ギヤ8が設けられている。減速機6により減速された動力は、出力ギヤ8を介して前輪用差動装置(フロントデフ)10に伝達されるようになっている。なお、本実施形態では、変速機6として自動変速機が用いられるが、変速機6は自動変速機に限定されるものでなく、手動変速機または無段変速機であってもよい。
図1と図2を併せて参照しながら、フロントデフ10の構成について説明する。フロントデフ10はデフケース11を有し、このデフケース11に組み付けられたリングギヤ12が、変速機6の上記出力ギヤ8に噛合している。デフケース11には、該デフケース11に収容された左右のサイドギヤ13L,13Rに対応して、左右のシャフト挿通部18L,18Rが設けられている。左右のシャフト挿通部18L,18Rには、それぞれ車幅方向に延びる前輪用ドライブシャフト14L,14Rが挿通されており、これら左右のドライブシャフト14L,14Rの一端部が、それぞれ対応するサイドギヤ13L,13Rにスプライン嵌合されている。また、左右のドライブシャフト14L,14Rの他端部にはそれぞれ自在継手15L,15Rを介して前輪用車軸16L,16Rが連結されており、各前輪用車軸16L,16Rの先端に図示しない車輪が接続されている。
なお、上記変速機6と上記フロントデフ10とからなるトランスアクスル5と、上記トルクコンバータ3とは、共にトランスアクスルケース9に収容されている。
フロントデフ10の右側シャフト挿通部18Rには、車幅方向に延びる中空の出力軸(第1駆動軸)22がスプライン嵌合されている。なお、該出力軸22は、フロントデフ10の出力軸としての機能と、トランスファ20の入力軸としての機能とを兼ね備えているため、以下の説明においてはトランスファ入力軸ともいう。
トランスファ20は、トランスファ入力軸22と、該トランスファ入力軸22に設けられた傘歯ドライブギヤ27と、車両前後方向に延びるトランスファ出力軸(第2駆動軸)25と、該トランスファ出力軸25の前端部に設けられた傘歯ドリブンギヤ28とを有する。傘歯ドライブギヤ27は、環状に形成されており、トランスファ入力軸22に外嵌された状態で該トランスファ入力軸22に結合されている。また、本実施形態では、傘歯ドライブギヤ27及び傘歯ドリブンギヤ28として、相互の軸心が上下方向にオフセットされたハイポイドギヤが用いられており、これにより、ギヤノイズ抑制および強度向上の面で有利となっている。ただし、本発明において、傘歯ドライブギヤ27及び傘歯ドリブンギヤ28として、ハイポイドギヤ以外の傘歯歯車を用いてもよい。
なお、トランスファ20を構成する各種部材はトランスファケース21に収容されている。
トランスファ出力軸25の後端部には、自在継手31を介してプロペラシャフト32が連結されており、これにより、トランスファ20の出力がプロペラシャフト32を介して後輪側へ伝達されるようになっている。
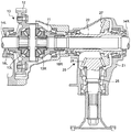
図3の拡大図を参照しながら、トランスファ入力軸22に対する傘歯ドライブギヤ27の取付構造について具体的に説明する。
傘歯ドライブギヤ27は、スプライン部40とインロー部42とを介してトランスファ入力軸22に嵌合されている。
スプライン部40では、傘歯ドライブギヤ27とトランスファ入力軸22とがスプライン嵌合しているため、トランスファ入力軸22から傘歯ドライブギヤ27へ動力が確実に伝達されるようになっている。
インロー部42は、傘歯ドライブギヤ27の内周面に設けられたインロー穴部44と、トランスファ入力軸22の外周面に設けられたインロー軸部46とで構成されている。
インロー穴部44の内径は、軸方向の略全幅に亘って等しくなっている。そのため、該インロー穴部44は、加工時における傘歯ドライブギヤ27の各種寸法の基準として好適に利用される。
インロー軸部46は、トランスファ入力軸22の外周面に形成されたフランジ状の突出部で構成されている。インロー軸部46では、軸方向におけるスプライン部40側の端部から中央部までの部分の外径がインロー穴部44の内径よりも僅かに小さくなっており、これにより、インロー穴部44にインロー軸部46が遊嵌される遊嵌部48が形成されている。また、インロー軸部46では、軸方向における中央部からスプライン部40とは反対側の端部までの部分の外径がインロー穴部44の内径に比べて略等しいか又は僅かに大きくなっており、これにより、インロー穴部44にインロー軸部46が圧入嵌合される圧入嵌合部50が形成されている。このように、インロー部42には圧入嵌合部50が設けられているため、傘歯ドライブギヤ27の径方向の位置精度が良好に確保される。
インロー部42はスプライン部40よりも大径である。そのため、インロー穴部44とインロー軸部46とのセンタリングの精度が高まると共に、加工時においてインロー穴部44およびインロー軸部46の径の精度が高められる。よって、傘歯ドライブギヤ27の径方向の位置精度を一層高めることができ、傘歯ドライブギヤ27を径方向にがたつき無く取り付けることができる。
また、スプライン部40とインロー部42との間には、トランスファ入力軸22と傘歯ドライブギヤ27との軸方向の相対移動を規制するようにトランスファ入力軸22と傘歯ドライブギヤ27とを当接させる当たり面52が設けられている。該当たり面52は、軸方向に対して略垂直に設けられている。
さらに、軸方向において、傘歯ドライブギヤ27の歯面側から、スプライン部40、インロー部42の順で配置されている。そのため、傘歯ドライブギヤ27からのスラスト力をインロー部42側の当たり面52で受けることができる。したがって、スプライン部40側の当たり面52で受ける場合に比べて、当該スラスト力を確実に受けることができ、傘歯ドライブギヤ27の高い取付強度を得ることができる。
また、傘歯ドライブギヤ27には、トランスファ入力軸22と傘歯ドライブギヤ27との前記当たり面52とは反対側への軸方向の相対移動を規制するようにトランスファ入力軸22に当接させるスナップリング54が装着されている。そのため、前記当たり面52とスナップリング54とにより、トランスファ入力軸22と傘歯ドライブギヤ27との軸方向の相対移動が規制され、これにより、軸方向についても傘歯ドライブギヤ27の位置精度を良好に確保することができる。したがって、傘歯ドライブギヤ27とこれに噛み合う傘歯ドリブンギヤ27との歯当たりを良好に維持することができ、ギヤノイズを抑制することができる。
インロー穴部44の内周面には、スナップリング54を装着するための周溝56が形成されている。周溝56は、スナップリング54の後述の付勢力によってスナップリング54を前記当たり面52側に押圧するスラスト力を発生させるテーパ面58を有する。該テーパ面58は、前記当たり面52から遠い側の周溝56の側面において、軸方向の当たり面52側に向かって拡径するように設けられている。
スナップリング54は、前記周溝56への装着時よりも未装着時の方が大径とされている。そして、スナップリング54の装着は、スナップリング54を縮径した状態でインロー穴部44に挿入した後、該スナップリング54を拡径しながら前記周溝56に嵌め込むことで行われる。これにより、スナップリング54は、拡径方向に付勢された状態で周溝56に装着される。
また、動力伝達中においてスナップリング54には拡径方向の遠心力が生じる。したがって、スナップリング54の装着部には、スナップリング54の拡径方向の付勢力と遠心力とが作用し、これにより、スナップリング54の脱落が防止される。
装着状態のスナップリング54は、周溝56のテーパ面58に当接し、且つ、周溝56の底面には当接しないようになっている。そのため、スナップリング54の拡径方向の付勢力は、全て周溝56のテーパ面58で受けられるため、該テーパ面58は、上記付勢力によって、前記当たり面52側へのスラスト方向の反力を確実に発生させることができる。また、装着状態のスナップリング54は、軸方向におけるインロー軸部46の前記当たり面52とは反対側の面に当接し、且つ、テーパ面58に対向する周溝56の側面に当接しないようになっている。そのため、周溝56のテーパ面58で発生したスラスト力は、スナップリング54とインロー軸部46との当接面において該インロー軸部46へ確実に伝達される。そのため、当該スラスト力により、当たり面52とスナップリング54との間にインロー軸部46を強固に挟持することができる。よって、傘歯ドライブギヤ27の軸方向のがたつきを確実に防止することができ、傘歯ドライブギヤ27の軸方向の位置精度を一層高めることができる。
このように、傘歯ドライブギヤ27は、1つのスナップリング54のみを用いてトランスファ入力軸22に固定されているため、例えば複数のボルトを用いて締結するなどしていた従来技術に比べて、部品点数を低減できるとともに、組み付け作業を容易にすることができる。したがって、コストの低減を図ることができる。
また、トランスファ入力軸22と傘歯ドライブギヤ27とは、該傘歯ドライブギヤ27のトランスファ入力軸22への嵌合組み付け時、スプライン部40における噛み合いが開始された後にインロー部42の圧入嵌合部50における圧入嵌合が開始されるように寸法設計されている。
これにより、図4に示すように、トランスファ入力軸22に傘歯ドライブギヤ27を嵌合する際はまず、スプライン部40におけるトランスファ入力軸22と傘歯ドライブギヤ27とのスプライン嵌合が開始される。このとき、インロー部42では、圧入嵌合部50の嵌合は開始されず、遊嵌部48の嵌合のみが開始されるようになっている。そのため、スプライン部40の噛み合わせを簡単かつ確実に行うことができる。よって、インロー部42における圧入開始後にスプライン部40の噛み合わせを行う場合に比べて、傘歯ドライブギヤ27の嵌合作業を容易に行うことができる。
[第2の実施形態]
図5は、第2の実施形態に係る4輪駆動車の動力伝達経路を示す骨子図である。なお、図1と同様、図5における三角形は軸受を示している。また、図5において、第1の実施形態と同様の構成からなる部材には、図1と同符号を付している。
図5は、第2の実施形態に係る4輪駆動車の動力伝達経路を示す骨子図である。なお、図1と同様、図5における三角形は軸受を示している。また、図5において、第1の実施形態と同様の構成からなる部材には、図1と同符号を付している。
第2の実施形態では、トランスファ20の構成が第1の実施形態と異なっており、その他の構成は第1の実施形態と同様である。
第2の実施形態に係るトランスファ20は、トランスファ入力軸22及びトランスファ出力軸25の他に、車幅方向に延びるアイドル軸24を有する。アイドル軸24には、トランスファ入力軸22に設けられた駆動ギヤ23に噛合する従動ギヤ26と、トランスファ出力軸25に設けられた傘歯ドリブンギヤ28に噛合する傘歯ドライブギヤ27とが設けられている。
つまり、トランスファ入力軸22に入力された動力は、駆動ギヤ23及び従動ギヤ26を介してアイドル軸24に伝達され、該アイドル軸24に伝達された動力は、傘歯ドライブギヤ27及び傘歯ドリブンギヤ28を介してトランスファ出力軸25に伝達される。
そして、傘歯ドライブギヤ27は、第1の実施形態におけるトランスファ入力軸22に対する取付構造と同様の構造で、アイドル軸24に取り付けられており、これにより、第1の実施形態と同様の効果を得られるようになっている。
以上、上述の実施形態を挙げて本発明を説明したが、本発明は上述の実施形態に限定されるものではない。
例えば、上述の実施形態では、傘歯ドライブギヤ27に装着したスナップリング54を第1駆動軸(トランスファ入力軸22又はアイドル軸24)に当接させることで、スナップリング54と当たり面52とによりインロー部42を挟持する構成について説明したが、本発明はこれに限定されるものでない。すなわち、本発明は、例えば、図6(a)に示すように第1駆動軸22(24)に装着したスナップリング54を傘歯ドライブギヤ27に当接させることで、スナップリング54と当たり面52とによりインロー部42を挟持する構成、図6(b)に示すように第1駆動軸22(24)に装着したスナップリング54を傘歯ドライブギヤ27に当接させることで、スナップリング54と当たり面52とによりスプライン部40を挟持する構成、及び、図6(c)に示すように傘歯ドライブギヤ27に装着したスナップリング54を第1駆動軸22(24)に当接させることで、スナップリング54と当たり面52とによりスプライン部40を挟持する構成を含むものとする。
以上のように、本発明によれば、傘歯ドライブギヤと傘歯ドリブンギヤとの良好な噛み合い状態を確保することで騒音の抑制を図りつつ、部品点数と組立工数を低減することでコストの低減に貢献することが可能となるから、傘歯歯車機構を介して車幅方向に延びる駆動軸から車両前後方向に延びる駆動軸へ動力を伝達する機構を備えた車両(例えば4輪駆動車)の製造業分野において好適に利用される可能性がある。
1 エンジン
5 トランスアクスル
6 自動変速機
10 フロントデフ
22 トランスファ入力軸(第1駆動軸)
24 アイドル軸(第1駆動軸)
25 トランスファ出力軸(第2駆動軸)
27 傘歯ドライブギヤ
28 傘歯ドリブンギヤ
40 スプライン部
42 インロー部
44 インロー穴部
46 インロー軸部
48 遊嵌部
50 圧入嵌合部
52 当たり面
54 スナップリング
56 周溝
58 テーパ面
5 トランスアクスル
6 自動変速機
10 フロントデフ
22 トランスファ入力軸(第1駆動軸)
24 アイドル軸(第1駆動軸)
25 トランスファ出力軸(第2駆動軸)
27 傘歯ドライブギヤ
28 傘歯ドリブンギヤ
40 スプライン部
42 インロー部
44 インロー穴部
46 インロー軸部
48 遊嵌部
50 圧入嵌合部
52 当たり面
54 スナップリング
56 周溝
58 テーパ面
Claims (4)
- 第1駆動軸と、
該第1駆動軸とは異なる方向に延びる第2駆動軸と、
前記第1駆動軸に設けられた傘歯ドライブギヤと、
前記第2駆動軸に設けられ、前記傘歯ドライブギヤに噛み合う傘歯ドリブンギヤと、を備えた動力伝達装置であって、
前記傘歯ドライブギヤは、スプライン部とインロー部とを介して前記第1駆動軸に嵌合されており、
前記スプライン部と前記インロー部との間に、前記第1駆動軸と前記傘歯ドライブギヤとの軸方向の相対移動を規制するように前記第1駆動軸と前記傘歯ドライブギヤとを当接させる当たり面が設けられ、
前記第1駆動軸または前記傘歯ドライブギヤのいずれか一方に、前記第1駆動軸と前記傘歯ドライブギヤとの前記当たり面とは反対側への軸方向の相対移動を規制するように前記第1駆動軸または前記傘歯ドライブギヤのいずれか他方に当接させるスナップリングが装着されていることを特徴とする動力伝達装置。 - 前記スナップリングは、前記傘歯ドライブギヤに設けられたインロー穴部の内周面に形成された周溝に、拡径方向に付勢された状態で装着され、
前記周溝に、前記スナップリングの付勢力によって該スナップリングを前記当たり面側に押圧するスラスト力を発生させるテーパ面が設けられていることを特徴とする請求項1に記載の動力伝達装置。 - 前記インロー部は前記スプライン部よりも大径であり、
軸方向において、前記傘歯ドライブギヤの歯面側から、前記スプライン部、前記インロー部の順で配置されていることを特徴とする請求項1または請求項2に記載の動力伝達装置。 - 前記インロー部は、前記傘歯ドライブギヤに前記第1駆動軸が圧入嵌合される圧入嵌合部を有し、
前記第1駆動軸と前記傘歯ドライブギヤとは、該傘歯ドライブギヤの前記第1駆動軸への嵌合組み付け時、前記スプライン部における噛み合いが開始された後に前記圧入嵌合部における圧入嵌合が開始されるように寸法設計されていることを特徴とする請求項1から請求項3のいずれか1項に記載の動力伝達装置。
Priority Applications (3)
| Application Number | Priority Date | Filing Date | Title |
|---|---|---|---|
| JP2010058059A JP2011190880A (ja) | 2010-03-15 | 2010-03-15 | 動力伝達装置 |
| US12/938,293 US20110219897A1 (en) | 2010-03-15 | 2010-11-02 | Power transmission apparatus |
| CN201120004888.8U CN202029699U (zh) | 2010-03-15 | 2011-01-10 | 动力变速装置 |
Applications Claiming Priority (1)
| Application Number | Priority Date | Filing Date | Title |
|---|---|---|---|
| JP2010058059A JP2011190880A (ja) | 2010-03-15 | 2010-03-15 | 動力伝達装置 |
Publications (1)
| Publication Number | Publication Date |
|---|---|
| JP2011190880A true JP2011190880A (ja) | 2011-09-29 |
Family
ID=44558667
Family Applications (1)
| Application Number | Title | Priority Date | Filing Date |
|---|---|---|---|
| JP2010058059A Abandoned JP2011190880A (ja) | 2010-03-15 | 2010-03-15 | 動力伝達装置 |
Country Status (3)
| Country | Link |
|---|---|
| US (1) | US20110219897A1 (ja) |
| JP (1) | JP2011190880A (ja) |
| CN (1) | CN202029699U (ja) |
Cited By (1)
| Publication number | Priority date | Publication date | Assignee | Title |
|---|---|---|---|---|
| KR101755195B1 (ko) * | 2015-10-06 | 2017-07-20 | 현대 파워텍 주식회사 | 자동변속기의 윤활장치 |
Families Citing this family (4)
| Publication number | Priority date | Publication date | Assignee | Title |
|---|---|---|---|---|
| CN102705478A (zh) * | 2012-06-19 | 2012-10-03 | 无锡市百顺机械厂 | 七辊初矫机同步齿轮 |
| JP6088395B2 (ja) * | 2013-10-10 | 2017-03-01 | 住友重機械工業株式会社 | 減速装置のシリーズ |
| US11193556B1 (en) * | 2020-07-21 | 2021-12-07 | Edward Norbert Endebrock | Transmission for tensioning device |
| CN113154013A (zh) * | 2021-05-11 | 2021-07-23 | 中国航发沈阳发动机研究所 | 一种航空发动机中央传动锥齿轮分扭输出功率装置 |
Family Cites Families (9)
| Publication number | Priority date | Publication date | Assignee | Title |
|---|---|---|---|---|
| JPH01170760A (ja) * | 1987-12-26 | 1989-07-05 | Mitsubishi Electric Corp | スタータモータのピニオンストッパ装置 |
| JPH03282034A (ja) * | 1990-03-28 | 1991-12-12 | Tochigi Fuji Ind Co Ltd | 歯車装置 |
| US6308588B1 (en) * | 1999-09-09 | 2001-10-30 | Gkn Walterscheid Gmbh | Angle drive having an integrated coupling with rotational play |
| DE10013785A1 (de) * | 2000-03-20 | 2001-10-18 | Sew Eurodrive Gmbh & Co | Getriebebaukasten |
| JP4453227B2 (ja) * | 2000-10-20 | 2010-04-21 | 株式会社デンソー | スタータ |
| CN2570542Y (zh) * | 2002-09-12 | 2003-09-03 | 新疆升晟股份有限公司 | 独立四驱差速分动装置 |
| US20040123594A1 (en) * | 2002-12-30 | 2004-07-01 | Williams Douglas G. | Hydrostatic transmission having a hydraulic dampening and neutral bleed mechanism |
| JP2005121106A (ja) * | 2003-10-15 | 2005-05-12 | Musashi Seimitsu Ind Co Ltd | かさ歯車 |
| JP2006097766A (ja) * | 2004-09-29 | 2006-04-13 | Musashi Seimitsu Ind Co Ltd | 歯車伝動装置 |
-
2010
- 2010-03-15 JP JP2010058059A patent/JP2011190880A/ja not_active Abandoned
- 2010-11-02 US US12/938,293 patent/US20110219897A1/en not_active Abandoned
-
2011
- 2011-01-10 CN CN201120004888.8U patent/CN202029699U/zh not_active Expired - Fee Related
Cited By (1)
| Publication number | Priority date | Publication date | Assignee | Title |
|---|---|---|---|---|
| KR101755195B1 (ko) * | 2015-10-06 | 2017-07-20 | 현대 파워텍 주식회사 | 자동변속기의 윤활장치 |
Also Published As
| Publication number | Publication date |
|---|---|
| US20110219897A1 (en) | 2011-09-15 |
| CN202029699U (zh) | 2011-11-09 |
Similar Documents
| Publication | Publication Date | Title |
|---|---|---|
| JP5366938B2 (ja) | 伝動装置のジャーナルを駆動軸の駆動継手の継手本体に相対回動不能に結合するための装置 | |
| KR20060061202A (ko) | 일체형 센서 탑재부 및 센서 표적물을 구비하는 차축 | |
| JP2016188657A (ja) | 伝動装置 | |
| WO2014136626A1 (ja) | プロペラシャフト及びプロペラシャフト用アダプタ部材 | |
| WO2009113257A1 (ja) | ピニオンギヤを支持するキャリア組立体 | |
| JP2011190880A (ja) | 動力伝達装置 | |
| KR20140069451A (ko) | 자동차 프로펠러 샤프트 연결구조 | |
| JP5844655B2 (ja) | 動力伝達装置及びトランスファ装置 | |
| KR20000010586A (ko) | 자동차 변속기용 중간 샤프트, 대응 변속 장치, 및자동차용 변속기 | |
| US10315515B2 (en) | Power transfer unit pinion shaft and propeller shaft coupling member for a vehicle, and methods of use and manufacture thereof | |
| JP2020090980A (ja) | 推進軸 | |
| JP7456243B2 (ja) | 動力伝達装置 | |
| US20100154575A1 (en) | Drive pinion | |
| JP2007292123A (ja) | デファレンシャルとドライブシャフトとの連結構造 | |
| JP4501384B2 (ja) | 終減速機のドライブピニオン支持構造 | |
| JP4103366B2 (ja) | 4輪駆動装置 | |
| JP2022048011A (ja) | プロペラシャフト | |
| US12392402B1 (en) | Vehicle power transmission assembly and assembly method thereof | |
| JPH1035304A (ja) | プロペラシャフトの衝撃吸収構造 | |
| JP4549483B2 (ja) | 歯車伝達装置 | |
| JP4313578B2 (ja) | トルク伝達装置 | |
| JP2519730Y2 (ja) | ディファレンシャル装置 | |
| JP4645277B2 (ja) | 4輪駆動装置 | |
| JP6181516B2 (ja) | 流体式伝動装置 | |
| JP2008208947A (ja) | 歯車装置 |
Legal Events
| Date | Code | Title | Description |
|---|---|---|---|
| A621 | Written request for application examination |
Free format text: JAPANESE INTERMEDIATE CODE: A621 Effective date: 20130118 |
|
| A762 | Written abandonment of application |
Free format text: JAPANESE INTERMEDIATE CODE: A762 Effective date: 20130705 |