JP2010540192A - 手動解放付電気自己駆動式手術器具 - Google Patents

手動解放付電気自己駆動式手術器具 Download PDF

Info

Publication number
JP2010540192A
JP2010540192A JP2010528199A JP2010528199A JP2010540192A JP 2010540192 A JP2010540192 A JP 2010540192A JP 2010528199 A JP2010528199 A JP 2010528199A JP 2010528199 A JP2010528199 A JP 2010528199A JP 2010540192 A JP2010540192 A JP 2010540192A
Authority
JP
Japan
Prior art keywords
motor
gear
instrument
pinion
staple
Prior art date
Legal status (The legal status is an assumption and is not a legal conclusion. Google has not performed a legal analysis and makes no representation as to the accuracy of the status listed.)
Granted
Application number
JP2010528199A
Other languages
English (en)
Other versions
JP5524066B2 (ja
Inventor
スミス,ケビン,ダブリュ.
バレス,トーマス
ドゥビル,デレク,ディー
リヴェラ,カルロス
パーマー,マシュー,エイ.
Original Assignee
エシコン エンド−サージェリー,インク.
Priority date (The priority date is an assumption and is not a legal conclusion. Google has not performed a legal analysis and makes no representation as to the accuracy of the date listed.)
Filing date
Publication date
Application filed by エシコン エンド−サージェリー,インク. filed Critical エシコン エンド−サージェリー,インク.
Publication of JP2010540192A publication Critical patent/JP2010540192A/ja
Application granted granted Critical
Publication of JP5524066B2 publication Critical patent/JP5524066B2/ja
Active legal-status Critical Current
Anticipated expiration legal-status Critical

Links

Images

Classifications

    • AHUMAN NECESSITIES
    • A61MEDICAL OR VETERINARY SCIENCE; HYGIENE
    • A61BDIAGNOSIS; SURGERY; IDENTIFICATION
    • A61B17/00Surgical instruments, devices or methods
    • A61B17/068Surgical staplers, e.g. containing multiple staples or clamps
    • A61B17/072Surgical staplers, e.g. containing multiple staples or clamps for applying a row of staples in a single action, e.g. the staples being applied simultaneously
    • A61B17/07207Surgical staplers, e.g. containing multiple staples or clamps for applying a row of staples in a single action, e.g. the staples being applied simultaneously the staples being applied sequentially
    • AHUMAN NECESSITIES
    • A61MEDICAL OR VETERINARY SCIENCE; HYGIENE
    • A61BDIAGNOSIS; SURGERY; IDENTIFICATION
    • A61B17/00Surgical instruments, devices or methods
    • A61B17/11Surgical instruments, devices or methods for performing anastomosis; Buttons for anastomosis
    • A61B17/115Staplers for performing anastomosis, e.g. in a single operation
    • AHUMAN NECESSITIES
    • A61MEDICAL OR VETERINARY SCIENCE; HYGIENE
    • A61BDIAGNOSIS; SURGERY; IDENTIFICATION
    • A61B17/00Surgical instruments, devices or methods
    • A61B17/11Surgical instruments, devices or methods for performing anastomosis; Buttons for anastomosis
    • A61B17/115Staplers for performing anastomosis, e.g. in a single operation
    • A61B17/1155Circular staplers comprising a plurality of staples
    • AHUMAN NECESSITIES
    • A61MEDICAL OR VETERINARY SCIENCE; HYGIENE
    • A61BDIAGNOSIS; SURGERY; IDENTIFICATION
    • A61B17/00Surgical instruments, devices or methods
    • A61B2017/00017Electrical control of surgical instruments
    • AHUMAN NECESSITIES
    • A61MEDICAL OR VETERINARY SCIENCE; HYGIENE
    • A61BDIAGNOSIS; SURGERY; IDENTIFICATION
    • A61B17/00Surgical instruments, devices or methods
    • A61B2017/00367Details of actuation of instruments, e.g. relations between pushing buttons, or the like, and activation of the tool, working tip, or the like
    • A61B2017/00398Details of actuation of instruments, e.g. relations between pushing buttons, or the like, and activation of the tool, working tip, or the like using powered actuators, e.g. stepper motors, solenoids
    • AHUMAN NECESSITIES
    • A61MEDICAL OR VETERINARY SCIENCE; HYGIENE
    • A61BDIAGNOSIS; SURGERY; IDENTIFICATION
    • A61B17/00Surgical instruments, devices or methods
    • A61B2017/00681Aspects not otherwise provided for
    • A61B2017/00734Aspects not otherwise provided for battery operated
    • AHUMAN NECESSITIES
    • A61MEDICAL OR VETERINARY SCIENCE; HYGIENE
    • A61BDIAGNOSIS; SURGERY; IDENTIFICATION
    • A61B17/00Surgical instruments, devices or methods
    • A61B17/28Surgical forceps
    • A61B17/29Forceps for use in minimally invasive surgery
    • A61B2017/2926Details of heads or jaws
    • A61B2017/2927Details of heads or jaws the angular position of the head being adjustable with respect to the shaft
    • AHUMAN NECESSITIES
    • A61MEDICAL OR VETERINARY SCIENCE; HYGIENE
    • A61BDIAGNOSIS; SURGERY; IDENTIFICATION
    • A61B17/00Surgical instruments, devices or methods
    • A61B17/28Surgical forceps
    • A61B17/29Forceps for use in minimally invasive surgery
    • A61B2017/2926Details of heads or jaws
    • A61B2017/2931Details of heads or jaws with releasable head
    • AHUMAN NECESSITIES
    • A61MEDICAL OR VETERINARY SCIENCE; HYGIENE
    • A61BDIAGNOSIS; SURGERY; IDENTIFICATION
    • A61B17/00Surgical instruments, devices or methods
    • A61B17/32Surgical cutting instruments
    • A61B2017/320052Guides for cutting instruments
    • YGENERAL TAGGING OF NEW TECHNOLOGICAL DEVELOPMENTS; GENERAL TAGGING OF CROSS-SECTIONAL TECHNOLOGIES SPANNING OVER SEVERAL SECTIONS OF THE IPC; TECHNICAL SUBJECTS COVERED BY FORMER USPC CROSS-REFERENCE ART COLLECTIONS [XRACs] AND DIGESTS
    • Y02TECHNOLOGIES OR APPLICATIONS FOR MITIGATION OR ADAPTATION AGAINST CLIMATE CHANGE
    • Y02ATECHNOLOGIES FOR ADAPTATION TO CLIMATE CHANGE
    • Y02A90/00Technologies having an indirect contribution to adaptation to climate change
    • Y02A90/10Information and communication technologies [ICT] supporting adaptation to climate change, e.g. for weather forecasting or climate simulation

Landscapes

  • Health & Medical Sciences (AREA)
  • Life Sciences & Earth Sciences (AREA)
  • Surgery (AREA)
  • Heart & Thoracic Surgery (AREA)
  • Engineering & Computer Science (AREA)
  • Biomedical Technology (AREA)
  • Nuclear Medicine, Radiotherapy & Molecular Imaging (AREA)
  • Medical Informatics (AREA)
  • Molecular Biology (AREA)
  • Animal Behavior & Ethology (AREA)
  • General Health & Medical Sciences (AREA)
  • Public Health (AREA)
  • Veterinary Medicine (AREA)
  • Surgical Instruments (AREA)

Abstract

電気駆動式の手術器具が、作動時、外科処置を行う作動アセンブリと、アセンブリを作動させるためのエンドエフェクタに連結されるハンドルとを有する手術用エンドエフェクタを含む。アセンブリの一部分は、開始位置と十分に作動した位置との間を動く。ハンドルは、自立型の電源と、ハンドル内に全体が配置される駆動アセンブリとを有する。駆動アセンブリは、電気的に駆動されたモータと、電源とモータとに電気的に接続されたコントローラとを有する。コントローラは、モータを選択的に操作する。変速機は、モータを可動部分に機械的に連結し、モータが作動すると、開始位置と十分に伸長した位置との間のどこかに可動部分を選択的に配置する。手動解放は、変速機に機械的に接続され、変速機を選択的に中断させ、この中断中に、モータの動作から独立して、可動部分を開始位置の方へ配置する。
【選択図】図44

Description

本発明は手術器具の分野に関し、特に、限定しないが、ステープル装置に関する。本願に記載するステープル装置は、手持ち式で、完全に電気自己駆動式の、手動解放機能付の、制御された手術用ステープラである。
従来も医療用ステープル装置は存在する。Ethicon Endo-Surgery, Inc. (ジョンソン&ジョンソンの会社:以下「エチコン」と称す。)が、このようなステープル装置を製造販売している。エチコンが製造する円形ステープル装置は、取引名がPROXIMATE(登録商標)PPH,CDH,ILSとして参照され、エチコンが製造する線形ステープラは取引名CONTOURおよびPROXIMATEで参照される。これらの手術用ステープラの例ではいずれも、ステープルが出る際に組織がステープルカートリッジとアンビルとの間で圧迫され、圧迫された組織が切れてしまうこともある。施術者により結合された特定の組織によっては、組織の圧迫が少なすぎたり(組織内で血液の色が見えるくらい)、組織の圧迫が強すぎたり(組織が破壊されるくらい)、あるいは正しく圧迫される(組織から液体が除去され、乾燥または漂白状態として参照される)。
供給されるステープルは、与えられた長さであり、カートリッジとアンビルが許容されるステープル射出距離内にある必要があり、これによってステープルが射出されると正しく閉じる。このため、これらのステープラは、2つの面の間の相対距離と、この距離がステープルの長さの射出範囲内か否かを示す装置を具える。このようなインジケータは機械的であり、ウィンドウの後ろのスライドバーの形をなし、そこには安全なステープル射出範囲が示されている。これらのステープラはすべて手動であり、換言すれば、アンビルとステープラカートリッジを組織の周りに位置させ、留めおよび/または切って、アンビルとステープラカートリッジを互いに閉じ、および、ステープルを組織に射出し固定する(および/または組織を切る)ために、利用者/施術者による物理的な操作が必要である。ステープルを射出させるのに必要な長さ方向の力はステープルカートリッジで通常250ポンドのオーダーであるため、従来技術のステープラでは、電気駆動でこれらの操作の各々を実現するものはなかった。さらに、このようなステープラは、留められる組織に作用する力を最適化するための如何なる種類の圧迫作用インジケータもなく、組織の分解(degradation)が生じない。
片手駆動の、管内の(intraluminal)吻合円形ステープラが、例えばMainらからエチコンに譲渡された米国特許第5,104,025号に記載されている。Mainらは参照により全体としてここに組み込まれている。図7の分解図に最も明確に示すように、Mainらでは、トロカールシャフト22が遠位のギザギザ21と、アンビル内で前記トロカールシャフト22を鋸歯29に整列させるいくつかの凹部28とを具え、これによりアンビル34内でステープルが整列する。トロカールのチップ26は、圧力を加えると組織を穿刺することができる。Mainらの図3乃至6には、円形ステープラ10がどのように機能して2つの組織を結合させるかが示されている。アンビル30がヘッド20の近くに移動すると、特に図5、6で示されるように、間に挟まれた組織がその間で圧迫される。この組織が過度に圧迫されると、外科的ステープル処置は成功しない。このため、組織の許容最大圧縮力を超えないことが望まれる。間に挟まれる組織は、施術の際に許容しうる範囲の圧縮力にさらすことができる。この範囲は、最適組織圧縮(optimal tissue compression)またはOTCとして知られ、ステープルされる組織の種類による。Mainらのステープラは、利用者にアンビルとステープルカートリッジ間の安全なステープル射出距離を示すバーインジケータを有さないため、ステープルの前に利用者にどのようなレベルの圧縮力がかかっているかを示すことができない。このような表示を提供し、組織の過度の圧迫を防止することが望まれている。
本発明は、医療処置を及ぼすのに自己電力を用いる電気自己駆動式の手術用装置を提供することにより、上記および他の従来技術の困難性を解消するものである。例えば、線形エンドカッタにおいて、電気内蔵電力により、ステープルおよび/または切開される組織の周りでアンビルとステープラカートリッジを互いに位置決め可能であり、アンビルおよびステープラカートリッジを互いに閉じた後、ステープルを前記組織に射出し固定する(および/または前記組織を切除する)。さらに、電気自己駆動式の手術用装置は、利用者にステープルを射出する前に利用者が予め設定した組織に加わる圧縮力のレベルを示すことができる。本発明はまた、最適組織圧縮(OTC)が存在する場合に電気式手術用ステープル装置を操作してステープルする方法を提供する。さらに、部分作動やジャムから復旧可能な手動解放装置を提供する。
2つのアンビルとステープル射出サブアセンブリのオフセット軸の構成は、利用者の手に快適にフィットするよう寸法調整されうる装置を作成する。それはまた、以前は必要だったネストされた(同軸)中空軸を除去することにより、製造の困難性を低減させる。ステープル射出サブアセンブリからオフセットされたアンビルサブアセンブリの軸により、アンビルを伸長および後退させるためのねじ切りされたロッドの長さを約2インチ縮小することができ、これにより製造コストを削減し、縦の寸法を短くする。
電気ステープラを用いる例示的な方法は、テスト目的の手動モードへ入ることができる電源オン特性を含む。外科的処置において、ステープラは一方向の装置である。テストモードでは、しかしながら、利用者は思い通りにトロカールを前後させることができる。このテストモードは解除可能であり、ステープラはパッケージや輸送のためユーザモードにリセットされる。パッケージのため、アンビルはステープルカートリッジから離しておくことが望ましい(必須ではない)。このため、ホーミングシーケンスをプログラミングして、パッケージや輸送のため電力を切る前に、アンビルをステープルカートリッジから(例えば)1cm離して配置するようにする。使用前に、トロカールは伸長され、アンビルは取り外される。例えばステープラが結腸を切開するのに用いられる場合、トロカールはハンドルに引き戻され、ハンドルが肛門経由で結腸内に、切開部の下流側へと挿入され、一方でアンビルは腹腔鏡用切開部から切開部の上流側へ挿入される。アンビルがトロカールに取り付けられ、ステープルが準備できるまで、これら2つのパーツがハンドルの方へ引き戻される。ステープル射出シーケンスが開始されるが、それは中断可能であり、切開をステープル留めすると同時に切開の中央で組織を切除し、ステープルの円形リングの真ん中の開口を切除する。圧迫が所望の圧力範囲、つまり最適組織圧縮(OTC)範囲である場合にのみステープルが射出されるように、ステープル射出シーケンスはOTC測定およびフィードバック制御機構を具える。この範囲または値は、アンビルおよびステープルカートリッジ間で圧迫される組織の周知の性質に基づき、既に周知である。
電気ステープラが利用できる処置のいくつかの例は、結腸の切開や胃バイパス手術を含む。この電気ステープラは、様々な異なる技術分野で多くの他の使用例がある。
本発明により、前述および他の目的の範囲内で、電気的に駆動される手術器具が提供され、ハンドルと、作動時に、外科処置を行うのに操作可能な作動アセンブリを有する手術用エンドエフェクタとを具え、作動アセンブリの一部は、開始位置と十分に作動した位置との間を動くよう動作可能である。ハンドルは、作動アセンブリを作動させるためのエンドエフェクタに接続される。このハンドルは、ハンドル内に全体が配置される自立型の電源と、ハンドル内に全体が配置され、電気駆動式モータと、電源とモータに電気的に接続され、モータを選択的に動作させるコントローラとを有する駆動アセンブリと、モータを可動部分に機械的に接続し、モータが作動すると、可動部分を開始位置と十分に伸長した位置の間のどこかに、選択的に配置するよう操作可能な変速機と、変速機に機械的に連結され、変速機を選択的に中断させ、この中断中に、モータの動作から独立して、可動部分を開始位置の方へ配置する手動解放とを有する。
本発明の別の態様により、手術用エンドエフェクタは、手術用線形ステープルエンドカッタであり、可動部分は、少なくともステープル作動および繊維切開スライドを含む。
本発明のさらなる態様により、駆動アセンブリと変速機は、エンドカッタのステープル切開機能を作動させるよう操作可能である。
本発明のさらなる態様により、電源は、少なくとも1のバッテリを含む取り外し可能なバッテリパックである。
本発明のさらなる態様により、電源は、4乃至6のCR123またはCR2のパワーセルの直列接続である。
本発明の別の態様により、コントローラは、スイッチが第1の状態にあるとき、モータを順方向に回転させ、スイッチが第2の状態にあるとき、モータを逆方向に回転させるよう操作可能なマルチステートスイッチを含む。
本発明のさらなる態様により、変速機はモータドライブ側と作動ドライブ側とを有し、手動解放はその間に連結される。
本発明のさらなる態様により、手動解放は、変速機に機械的に配置される。
本発明のさらなる態様により、モータドライブ側は、最終ギアを含む一連の回転減少ギアを有し、作動ドライブ側は、少なくとも1のギアと、少なくとも1のギアに連結され、可動部分の少なくとも一部に直接連結されるラックアンドピニオンアセンブリとを有し、手動解放は、少なくとも1のギアと最終ギアとの間に機械的に連結される。
本発明の別の態様により、モータは出力ギアを有し、一連のギアは、出力ギアに連結される第1段を有する。
本発明のさらなる態様により、一連のギアは、第1、第2および第3段と、モータドライブ側から作動ドライブ側へわたるシャフトを有するクロスオーバギアとを具え、クロスオーバギアは、第3段に連結される。
本発明のさらなる態様により、一連のギアは、モータドライブ側から作動ドライブ側へわたるクロスオーバシャフトを有するクロスオーバギアを有し、クロスオーバギアは、一連のギアに連結され、キャッスルギアが、クロスオーバシャフトの周りに回転可能に連結固定され、その上を長手方向に移動可能であり、キャッスルギアは、作動ドライブ側の方へ伸長する胸壁を有し、作動ドライブ側の少なくとも1のギアは、胸壁と合致するよう形成される胸壁スロットを有する第1のピニオンを含み、バイアス装置が、クロスオーバギアとキャッスルギアとの間に配置され、作動ドライブ側の方へキャッスルギアにバイアスを付与して、キャッスルギアの第1のピニオンへの選択的な係合を可能にし、これにより、係合時、シャフトの回転で第1のピニオンを回転させ、手動解放は、バイアスを越える反力をキャッスルギアに提供し、手動解放が少なくとも部分的に作動すると、第1のピニオンからキャッスルギアを解放するよう形成され、配置された解放部分を有する。
本発明のさらなる態様により、作動ドライブ側の少なくとも1のギアは、第2のピニオンシャフトを有する第2のピニオン段と、第1のピニオンに連結され、第2のピニオンシャフトに回転固定される第2のピニオンギアと、第2のピニオンシャフトに回転可能に取り付けられる第3のピニオンとを有し、第3のピニオンは、ラックアンドピニオンアセンブリのピニオンであって、回転時、そのラックを長手方向に動かす。
本発明の別の態様により、手動解放は、解放部分がバイアスより小さい反力をキャッスルギアに提供している休止状態と、解放部分がバイアスより大きい反力をキャッスルギアに提供し、胸壁を胸壁スロットの外に動かす第1の部分作動状態と、手動解放がピニオンを回転させ、ラックを退避方向へ長手方向に動かす第2の部分作動状態とを有する。
本発明のさらなる態様により、作動駆動側の少なくとも1のギアは、少なくとも1の解放ギアを具え、第1のピニオンは、少なくとも1の解放ギアに直接接続され、回転時、少なくとも1の解放ギアを回転させる。
本発明のさらなる態様により、作動駆動側の少なくとも1のギアは、第1段および第2段の解放ギアを具え、第1のピニオンは、第1段の解放ギアに直接接続され、回転時、第1および第2の解放ギアを回転させる。
本発明に付随する態様により、手動解放は、ハンドルに回転可能に接続される手動解放レバーを具え、一方向ラチェットアセンブリを有し、少なくとも1の解放ギアが、ラチェットアセンブリに直接接続されるシャフトを有し、レバーが少なくとも部分的に作動されると、レバーに対応して回転し、レバーが作動されないと、レバーとは独立して回転する。
本発明の目的とともに、手術器具を操作するための方法がまた提供され、ハンドル内に全体が配置される自立型の電源を有する手術器具の変速機に、手動解放を機械的に連結するステップを含み、変速機は、ハンドル内の電気駆動式モータの動作を、ハンドルに連結される手術用エンドエフェクタの一部の動作に変換し、一部は、開始位置と十分に作動した位置の間のどこかに動くよう操作可能であり;手動解放を用いて、変速機を選択的に中断させ、この部分をモータ動作と独立して、開始位置の方へ動かすステップとを含む。
本発明により、前述および他の目的の範囲内で、手術器具が提供され、手術器具を操作する方法を含み、手術器具ハンドルの遠心端に手術用エンドエフェクタを提供するステップを含み、前記エンドエフェクタは、作動時、外科処置を行うよう操作可能な作動アセンブリを有し、前記作動アセンブリは、開始位置と十分に作動した位置との間を動くよう操作可能な部分を有し、ハンドル内に全体が配置される自立型の電源と電気的に駆動されたモータとを配置し、モータとコントローラを選択的に操作するためにモータコントローラをモータと電源に連結するステップと、モータが操作された場合に、開始位置と十分に伸長した位置の間のどこかに可動部分を選択的に配置するよう操作可能な変速機を介して、モータを可動部に機械的に連結させ、変速機を選択的に中断させ、この中断中に、モータ動作と独立して、可動部分を開始位置の方へ配置するステップとを含む。
本発明の特徴として考えられる別の構成が、添付のクレームに記載されている。
以下に本発明を可換部品の暗号認証を用いた電気自己駆動式手術器具として図示し説明するが、これに拘わらず、図示された詳細に限定されるべきではなく、本発明の範囲およびクレームの均等の目的や範囲を逸脱することなく、様々な変形および構造的な変更を施すことが可能である。
本発明の構造および動作方法は、しかしながら、その付加的な目的およびその利点とともに、添付の図面を参照した場合に、以下の実施例の説明により最もよく理解されるであろう。
本発明の実施例の利点が、添付の図面を参照しながら、好適な実施例についての以下の詳細な説明から明らかとなる。
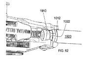
図1は、本発明にかかる電気ステープラの例示的実施例の側部からみた斜視図である。 図2は、図1のステープラの側部断面図であり、ハンドル本体の右半分と近位の基幹プレートが除去された状態を示す。 図3は、図1のステープラのアンビル制御アセンブリの分解斜視図である。 図4は、図3のアンビル制御アセンブリの拡大分解断面斜視図である。 図5は、図1のステープラのステープル射出制御アセンブリをその後側から見た部分斜視図である。 図6は、図1のステープラのステープル射出制御アセンブリの分解斜視図である。 図7は、図6のステープル射出制御アセンブリの拡大分解部分斜視図である。 図8は、図1のステープラのハンドル本体部の下から見たアンビル制御アセンブリの部分水平断面図である。 図9は、図8のアンビル制御アセンブリの近位部から見た部分拡大水平断面図である。 図10は、図8のアンビル制御アセンブリの中間部の下から見た部分拡大水平断面図である。 図11は、図8のアンビル制御アセンブリの遠位部の下から見た部分拡大水平断面図である。 図12は、図1のステープラのハンドル本体部の右側から見た部分垂直断面図である。 図13は、図12のステープラの近位ハンドル本体部の右側から見た部分拡大垂直断面図である。 図14は、図12のステープラの中間ハンドル本体部の右側から見た部分拡大垂直断面図である。 図15は、図14のステープラの中間ハンドル本体部の右側から見たさらに拡大した部分垂直断面図である。 図16は、図12のステープラの遠位ハンドル本体部の右側から見た部分拡大垂直断面図である。 図17は、図1のステープラのアンビルの一部の斜視図である。 図18は、図1のステープラの、アンビルと、ステープルカートリッジと、フォーススイッチと、着脱式カートリッジ取付アセンブリとを具える着脱型ステープラアセンブリの部分断面図である。 図19は、図1のステープラのハンドル本体部の上から見たアンビル制御アセンブリの部分水平断面図であり、アンビルロッドが十分に伸長した位置にある状態を示す。 図20は、図1のステープラのハンドル本体部の、ハンドル本体部の左側から見た側面図であり、左ハンドル本体と回路ボードを取りのぞかれアンビルロッドが完全に伸ばした位置にある状態を示す。 図21は、図20のステープラのハンドル本体部の側面図であり、アンビルロッドが1cmのアンビル閉じ位置にある状態を示す。 図22は、図1のステープラのハンドル本体部の上から見たアンビル制御アセンブリの部分水平断面図であり、アンビルロッドが安全ステープル射出位置にある状態を示す。 図23は、図1のステープラのハンドル部の上から見たアンビル制御アセンブリの部分水平断面図であり、アンビルロッドを完全に引っ込めた位置にある状態を示す。 図24は、図1のステープラのハンドル本体部の上から見た射出制御アセンブリの部分水平断面図である。 図25は、図24の射出制御アセンブリの近位部の上から見た部分拡大水平断面図である。 図26は、図24の射出制御アセンブリの中間部の上から見た部分拡大水平断面図である。 図27は、図24の射出制御アセンブリの遠位部の上から見た部分拡大水平断面図である。 図28は、図1のステープラのステープルカートリッジ取り外しアセンブリの、陰影付の一部透過した部分拡大図である。 図29は、図1のステープラのステープルカートリッジ取り外しアセンブリの、陰影付の一部透過した部分拡大図である。 図30は、本発明にかかる医療器具の可換部品用の暗号化回路の一例の概略回路図である。 図31は、多様な負荷において図32のピニオンがラックを動かすスピードを示すバーグラフである。 図32は、ギアボックスとラックの間の本発明にかかるギアトレインの簡略化した例示部分の部分斜視図である。 図33は、エンドエフェクタの例示的実施例の間接部の遠位端部の部分垂直長手断面図であり、内側チューブ、プッシュロッドブレードサポート、アンビル、閉鎖リング、およびステープルスレッドの約半分を取り除いた状態を示す。 図34は、本発明にかかる電源用のスイッチングアセンブリの一例の概略回路図を示す。 図35は、本発明にかかるモータの前進および後退制御用のスイッチングアセンブリの一例の概略回路図を示す。 図36は、本発明にかかる、電源とモータの前進および後退制御用のスイッチングアセンブリの別の例の概略回路図である。 図37は、本発明にかかる装置の左側面図であり、外側シェルが除去された状態を示す。 図38は、図37の装置の一部の拡大左側面図であり、左側フレームが除去された状態を示す。 図39は、図37の装置の右側面図である。 図40は、図38の装置の一部の拡大右側面図であり、右側フレームが除去された状態を示す。 図41は、図40の装置の一部の右後方から見た斜視図である。 図42は、図40の装置の一部の背面図である。 図43は、図40の装置の一部の左後方から見た斜視図であり、第1乃至第3のステージカバーが除去された状態を示す。 図44は、図40の装置の一部の右側上方から見た斜視図であり、電源が除去された状態を示す。 図45は、図44の装置の一部の斜視図であり、第1の中間部分での手動解放レバーと分離位置でのキャッスルギアを示す。 図46は、図45の装置の一部の斜視図であり、第2の中間部分での手動解放レバーを示す。 図47は、図46の装置の一部の上面図であり、第3の中間部分での手動解放レバーを示す。 図48は、手動解放アセンブリの右側から見た拡大斜視図であり、第2のステージ解放ギア、2つのカムプレート、および上方の歯止めされない位置で爪が外された爪ばねを示す。 図49は、正面右側の下から見た手動解放レバーの斜視図である。 図50は、右後方側の下から見た手動解放レバーの斜視図である。 図51は、左後方側の下から見た手動開放レバーの斜視図である。 図52は、左側から見たカムプレートの斜視図である。 図53は、右側から見たキャッスルギアの斜視図である。 図54は、左側から見た4段ピニオンの斜視図である。 図55は、図44の装置の一部の正面右側上方から見た斜視図であり、爪カムに対する爪を示す。 図56は、図55の装置の一部の斜視図であり、爪カムから外され、ラチェットギアに対向させた爪と、分離位置でのキャッスルギアとを示す。 図57は、図44の装置の一部の正面左側上方から見た斜視図であり、中間位置での手動解放を示す。 図58は、図57の装置の一部の斜視図であり、別の中間位置での手動解放を示す。 図59は、図40の装置の一部の拡大右側正面図であり、非作動位置でのエンドエフェクタ制御装置を示す。 図60は、図59の装置の一部の拡大右側正面図であり、部分的に作動された位置でのエンドエフェクタ制御ハンドルを示す。 図61は、図37の装置の一部の軸接続部分の正面右側上方から見た拡大斜視図であり、フレームに固定される取り外し可能なエンドエフェクタを示す。 図62は、図61の軸接続部分の拡大斜視図であり、フレームからエンドエフェクタシャフトを取り外せるよう取り外された軸固定装置を示す。 図63は、図37の装置の外側シェルの左半分の内側の側面図である。 図64は、図37の装置の外側シェルの右半分の内側の側面図である。 図65は、図37の装置の外側シェルの右半分の外側の側面図である。 図66は、図37の装置の外側シェルの左半分の外側の側面図である。
本発明の複数の態様が、本発明の特定の実施例にかかる以下の説明および関連する図面に開示される。本発明の目的または範囲を逸脱することなく、代替的な実施例を考案することもできる、さらに、本発明の実施例における公知の要素は、本発明の重要な詳細部がぼやけないよう詳細に説明しないかすることとする。
本発明を開示し説明する前に、ここに使用される用語は、特定の実施例を説明するためだけであって、限定するものではないことを理解されたい、本明細書および添付のクレームにおいて、単数形「1の(a)(an)」および「前記(the)」は、文脈が違う意味を明確に示していない限り複数形も含むものとする。
本明細書では、クレームとともに本発明の新規と思われる特徴を規定していくが、これは添付の図面に関する以下の説明とともに考慮した場合により理解されるものであり、ここでは同じ参照番号が持ち越されるものとする。図面における図は、縮尺通り描かれていない。さらに、これらの図は、コンピュータ援用デザインのコンピュータプログラムを用いて作成されている。このプログラムは、影付または着色された図からワイヤフレーム図へと、何度も特定の構造線および/または面を除去する。したがって、図面は概略として扱われるべきであって、本発明の特徴の説明のために用いられる。
図面を詳細に参照すると、最初に、特に図1、2において、電気式手術用円形ステープラ1の実施例が示されている。本出願では、理解の容易のために、電気駆動式のハンドルを円形手術用ステープルヘッドに付けている。本発明は円形ステープラに限定するものではなく、例えば線形ステープル装置など、様々な手術用ステープルヘッドに適用することができる。このような例示的な実施例は、特に、図37以降に記載されている。
電気ステープラ1は、3つのスイッチを有するハンドル本体10を具えている:アンビル開スイッチ20と、アンビル閉スイッチ21と、ステープル射出スイッチ22とである。これらの各スイッチは、ステープラ1のステープル機能を実現するよう回路設計された回路ボード500(図12参照)に電気的に接続されている。この回路ボード500は、ハンドル本体10に内蔵された電源600に電気的に接続されている。一実施例では、電源600として2−6個のリチウムCR123またはCR2電池を用いる。例えば充電式バッテリや、送電線に接続された電力コンバータなど、他の電源の実施例も可能である(後者の実施例では、ステープラは自家動力または自己独立式ではない)。ここで用いられる用語「自家動力」または「自己独立式」は、電源(600)について用いられる場合は交換可能であり、この電源が完全かつ独立したユニットであってそれ自体が外部電源を用いることなく自力で動作可能であることを意味する。例えば、使用中、送電線にプラグされた電気コードを有する電源は、自家動力でも自己独立式でもない。
図に示す回路ボード500の導電ワイヤまたは導電配線は、例えばオン/オフスイッチ12、組織圧迫インジケータ14、アンビルおよび射出スイッチ20、21、22、回路ボード500、および電源600など、ステープラ1のすべての電子パーツを接続する。しかしながら、これらのワイヤおよび導電体は、理解と明確化のため図示しない。
ハンドル本体10の遠位端部は、剛性アンビルネック30の近位端部に連結されている。この連結の反対側、アンビルネック30の遠位端部には、ステープルカートリッジ50とアンビル60をここに着脱可能に取り付ける連結具40がある。代替的に、ステープルカートリッジ50は、ステープラ1の使い捨て構造として着脱可能でなくてもよい。これらの連結について、以下により詳細に説明する。
図2は、ハンドル本体10の右半分13と回路ボード500を除去したハンドル本体10を示す。以下に説明するように、近位の基幹プレート70も図2で除去されており、右側から見たハンドル本体10の内部要素が見えるようになっている。図2で見えるものは、ハンドル本体10内に2つの内部要素の軸があることである。第1の軸は、図2において比較的水平方向のステープル制御軸80である。このステープル制御軸80は、ステープルの動作を制御する要素が位置する中心線である。第2の軸はアンビル制御軸90であり、前記ステープル制御軸80に所定の角度で配置される。このアンビル制御軸90は、アンビルの動作を制御する要素の中心軸である。これらの軸80、90を分けることにより、電気ステープラ1が、手術者の手におさまるのに十分に小さく、必要なすべての方向や向きの移動から手術者の制限となるような多くのスペースを占めるものではないハンドル本体10を用いて駆動可能である。
ハンドル本体10の内部には、すべての電機部品の電力(例えばバッテリ電力)を制御するオン/オフスイッチ12(例えば、グレネードピン)と、組織圧迫インジケータ14とが示されている。この組織圧迫インジケータ14は、以下により詳細に示すように、施術者にアンビル60とステープルカートリッジ50の間の組織の圧迫が予め設定された圧迫力を超えたか否かを示す。このインジケータ14は、2006年5月19日に出願され継続中の米国暫定特許出願第60/801,989号、名称「フォーススイッチ」(その全体が参照として本書に組み込まれている)に開示されたフォーススイッチ400に付随している。
アンビル制御軸90に沿った要素は、アンビル制御アセンブリ100を構成する。アンビル制御フレーム110がアンビル制御軸90に整列しており、アンビル制御アセンブリ100の様々な部品をそこに収容および/または固定している。このアンビル制御フレーム110は、近位のマウント112と、中間マウント114と、遠位のマウント116とを具える。これらのマウント112、114、116はそれぞれ、制御フレーム110に取付可能または一体構成である。例示的実施例では、製造の容易性のために、近位のマウント112は2つの半分からなりフレーム110と別であり、中間マウント114はフレーム110とは別である。
アンビル制御アセンブリ100の近位端部には、アンビルモータ120がある。このアンビルモータ120は、駆動モータと、本来のモータ回転スピードを所望の出力駆動軸スピードに変換するのに必要なギアボックスとを具える。この例では、駆動モータは本来のスピードが約10,000rpmであり、ギアボックスはこのスピードを、アンビルモータ120の遠位端部から延びる駆動軸122において約50乃至70rpmに下げる。このアンビルモータ120は、近位のマウント112の内部で長さ方向および回転方向ともに固定されている。
モータシャフトカプラ130が、駆動軸122を回転可能に固定しており、駆動軸122の回転がモータカプラ130の対応する回転へと変換される。
カプラ130の遠位には、回転ナットアセンブリ140が位置している。このナットアセンブリ140は、本実施例では、近位の半ナット141と、この近位の半ナット141に超軸方向に固定される回転可能な遠位の半ナット142の2つの部品でなる。これらの半ナット141、142は、望む場合は一体であってもよい。ここで、製造の容易さのために2つの半分として図示している。このナットアセンブリ140の近位端部は、カプラ130の遠位端部に回転可能に固定されている。これら2つの連結部品を長さ方向に通る長さ方向に回転するサポートが、中間マウント114および遠位のマウント116に支持されている。
近位のナットブシュ150(図3参照)が中間マウント114と近位の半ナット141の間に配置され、遠位のナットブシュ160が遠位のマウント116と遠位の半ナット142の間に配置され、これらの部位に効果的にスピンしハンドル本体10とアンビル制御フレーム110内で摩擦がないようにしている。これらのブシュ150、160は、様々なベアリング材料であってもよく、例えば、青銅などの金属やナイロンなどの重合体であってもよい。回転するナットアセンブリ140とカプラ130の長手方向の摩擦をさらに低減すべく、近位のブシュ150と近位の半ナット141の間にスラストワッシャ170が配置されている。
カプラ130とナットアセンブリ140の回転は、ネジロッド180の前進および収縮に用いられ、これがアンビル60を伸ばしたり縮めたりする。このネジロッド180は、図3、4にさらに詳細に分解図で示され、以下により詳細に説明される。ロッドサポート190がアンビル制御フレーム110の遠位端部に取り付けられており、これがナットアセンブリ140の支持面を伸ばしてアンビル制御軸90に整列しているロッド180が保持される。ロッドサポート190は、これを通るロッド180の部分の外面形状に対応する平滑な内面形状を有する。このように形状を合わせると、ロッド180がサポート190を通ってほぼ摩擦なく近位側や遠位側へ移動可能となる。ロッド180がサポート190を摩擦なく通るのを改善すべく、例示的実施例では、円筒形のロッドブシュ192がサポート190とロッド180の間に配置される。このロッドブシュ192は、サポート190の内部に収まっているため図2では見えない。しかしながら、このロッドブシュ192は、図3、4の分解図では見える。ロッドブシュ192が正しい位置にあると、サポート190の内面形状がロッドブシュ192の外面形状に対応し、ロッドブシュ192の内面形状がこれを通るロッド180の部分の外面形状に対応する。このロッドブシュ192は、例えば、青銅などの金属や、ナイロンなどの重合体とすることができる。
ステープル制御軸80に沿った要素は、ステープル制御アセンブリ200を構成する。ステープル制御アセンブリ200は、図5に近位側斜め上から見た斜視図を示す。このステープル制御アセンブリ200の近位端部は、ステープルモータ210を具える。このステープルモータ210は、駆動モータと、本来のモータ回転スピードを所望の回転スピードに変換するのに必要なギアボックスとを具える。この例では、駆動モータは本来のスピードが約20,000rpmであり、ギアボックスはこのスピードを、ギアボックスの遠位端部の出力駆動軸において約200rpmに下げる。この駆動軸212は図5には現れていないが、図6、7の分解図に示されている。
ステープルモータ210は、長手方向と回転方向ともにモータマウント220に固定されている。モータマウント220の遠位端部は、中間連結マウント230となっている。この連結マウント230は、例えば図6に示す遠位プレート232を具える。遠位プレート232は、連結マウント230から移動可能であり、回転スクリュ250がこれらの間に保持されている。この回転スクリュ250がステープルカートリッジ50からステープルを射出する駆動力として作用する。駆動軸212の回転運動を回転スクリュ250に変換する効率は、ステープラ1が必要とする250ポンド以上の縦のステープル射出力を供給するための能力を実質的に低減する要素となる。したがって、スクリュ250の実施例は、アクメ形状ネジを有する。
ここで、駆動軸212からスクリュ250の回転を効率的に結合するのに2つの例示的な方法がある。第1は、ステープルモータ210が「ゆるく」ハンドル本体10に規定されるチャンバ内に収容されており、回転しないが半径方向に動くことができ、したがって長手方向に安定しているが自由に動くことができる。この構成では、ステープルモータ210は、「自力で中心を探し」て駆動軸212の軸をスクリュ250の軸に整列させ、本実施例ではこれもまたステープル制御軸80である。
駆動軸212とスクリュ250を整列させる第2の実施例が、例えば図1乃至5に示されている。本実施例では、フレキシブル結合部240の近位の端部が、(長手方向および回転方向ともに)駆動軸212に固定されている。この連結は、駆動軸212の遠位端部をフレキシブル結合部240の近位ボア241内にはめ込むことで達成される。図12を参照されたい。次に駆動軸212は、近位の止めネジ213でそこに固定される。このスクリュ250は、フレキシブル結合部240の遠位ボア242内に適合し遠位の止めネジ252でそこに固定される近位の伸長部251を具える。これらの図面は、フレキシブル結合部240がその中間部に凸部を設けて示すことに留意されたい。連結部240の一実施例では、この部品はアルミニウムまたは成型プラスチックであり、その中央部分の周囲に螺旋形またはへリックス形の切り欠きを有する。この構成において、連結部240の一端部は他端に対していかなる放射方向(360度)に動かすことができ(ジンバル内のように)、これにより駆動軸212とスクリュ250の中心軸を効果的に整列させるべく望み通り曲げることができる。
スクリュ250の近位の伸長部251は、中間の連結マウント230内にあり、これを通るボア231の直径より実質的に小さい径を有する。このボア231は、その遠位側に直径が2段階大きくなっている。最初の直径が大きくなる段階は、近位の半径スクリュブシュ260に適合するサイズであり、中間連結マウント230より軟質な材料で形成される。この近位の半径スクリュブシュ260は、スクリュ250を軸的に整列させるのみであり、長手方向の推力を吸収したり伝達したりするものではない。第2の直径が大きくなる段階は、スクリュ250用の近位のスラストベアリング270に適合するサイズである。このスラストベアリング270の一実施例では、近位と遠位のプレートで、ベアリングボール保持プレートとベアリングボールを挟んでいる。このスラストベアリング270は、ステープルカートリッジ50内のステープルを射出するときに長手方向に250ポンドまでの力がかかる際に、駆動軸212の方にかかる長手方向の推力のすべてを吸収する。スクリュ250の近位の伸長部251は、スクリュブシュ260とスラストベアリング270の各内面ごとに直径サイズが異なる。モータマウント220と連結マウント230は、したがって、フレキシブル連結部240を間に保持する2つの装置を形成する。
回転スクリュ250は、近位の半径スクリュブシュ260と似た遠位の半径スクリュブシュ280とともに、遠位プレート232内に保持されている。このため、スクリュ250は遠位プレート232内で回転自在である。スクリュ250の回転を線形の遠位動作へと変換すべく、スクリュ250は移動ナット290にねじ込まれる。このナット290の動きは、ステープルの動作完了に必要な移動量に制限されており、換言すれば、ナット290はステープルカートリッジ50とアンビル60との間で閉じたステープルを形成するとともに、もしあれば、ステープルカートリッジ50内で切断ブレードを伸長させ、さらにこれを引っ込めるのに十分な距離だけ移動する必要がある。ナット290が最も近位の位置にあるとき(例えば図12参照)、ステープルは射出できる状態で静止している。ナット290が最も遠位の位置にあるとき、ステープルは、ステープルカートリッジ50とアンビルの間に挟まれた組織を通ってこれを留め、もしあればナイフが、切断すべき組織を完全に通過する。ナット290の最も遠位の位置は、遠位プレート232の位置により制限される。したがって、スクリュ250のネジの長手方向の長さと、遠位プレート232の位置が、ナット290の遠位の動きを制限する。
スクリュ250とナット290の摩擦を低減すると、カートリッジプランジャ320を介してステープルカートリッジ50へ伝達される力の合計ポンドが有意に低減するのに寄与する。このため、スクリュ250およびナット290の材料と、スクリュ250のピッチとを最適なように選択することが望ましい。ナット290の製造に低摩擦ポリマを使用すると、カートリッジプランジャ320の遠位端部に、ステープルを有効に出すのに必要な力の量である、約250ポンドの長手方向の力を伝達するのに十分な摩擦が低減される。この所望の特性を示す2つの特定の材料の例は、この技術分野でDELRIN(登録商標)AF混合Acetal(TEFLON(登録商標)繊維をDELRIN(登録商標)アセタール樹脂に均一に分散させたものを組み合わせた熱塑性材料)と、RULON(登録商標)(TFEフルオロカーボンから合成される)または他の同様の低摩擦ポリマである。
ナット結合ブラケット300が、長さ方向にナット290に固定されており、これはナット290と一緒に移動する。このナット結合ブラケット300は、比較的ソフトで、つるつるしたナット材料に支持を提供する。図示する実施例では、このブラケット300は、ナット290の外形に対応する形状の内部空洞を有する。したがって、ナット290は結合ブラケット300にぴったりと嵌り、ナット290の動きはナット結合ブラケット300の対応する動きへと伝達される。ナット結合ブラケット300の形状は、本実施例では、これを取り囲む要素や、伝達すべき長手方向の力によって決定する。例えば、ナット290の遠位には、内部に遠位プレート232を受ける形状の内部空洞302がある。このナット結合ブラケット300はまた、強化ロッド310を内部に受ける遠位のハウジング304を具える。この強化ロッド310は、長手方向の指示を増大し、ナット290とカートリッジプランジャ320(図5参照)の連結の一部を構成し、これはハンドル本体10とステープルカートリッジ50の間の最後の可動リンクである。ナット結合ブラケット300の遠位端部と強化ロッド310の間に配置された射出ブラケット330が、ナット結合ブラケット300とロッド310の連結を強化している。
ステープラ1の多様な要素が互いに連結されて、主軸または脊椎部を構成する。この主軸は、多方面への安定性を提供するフレームであって、(近位から遠位まで)4つの主たる部品からなる:アンビル制御フレーム110と、近位の主軸プレート70と(図3、4、6、7に示す)、遠位の主軸プレート340と、アンビルネック30とである。これら4つの部品はそれぞれ、長さ方向と回転方向ともに互いに固定されており、この順番でハンドル要素の残りが取り付けられる骨格を構成する。これらの要素の縦の支持はハンドル本体10の内面輪郭により達成され、一実施例においてこれは左半分11と右半分13の2つの半分で構成される。代替的に、支持は、打ち抜かれるかハンドル半分11、13と組み合わさった単一のフレームであってもよい。
アンビル制御アセンブリ100の機能が、図17乃至27に関連して開示されている。図17に示すように、ステープラ1でステープル処置を行うには、アンビル60全体をステープラ1から取り外す。アンビル開スイッチ20を押すと、ステープルカートリッジ内に収容されスクリュ250に長さ方向に固定的に連結されたトロカールチップ410の遠位端部が伸びる。すると、トロカールチップ410の頂部が、留められる組織を貫通あるいは穿刺する。この時点で利用者は、アンビル60を組織の反対側からトロカールチップ410に付け替えて、そこにアンビル60を固定することができる(図18参照)。アンビル閉スイッチ22は、アンビル60をステープルカートリッジ50に対して閉じるのを開始し、その間のアンビルカートリッジギャップ62に組織を挟むように作動する。
アンビル60のトロカールチップ制御動作が行われるかを説明するために、図8乃至10、14、15、18を参照されたい。図15の点線で示すように、ロッドガイドピン143が遠位の半ナット142の中央ボア144内に位置づけられる。ネジロッド180が回転ナット140、141、142、に螺入するにつれ、ピン143はネジ182の近位端部を捕らえて内部にピン143を取り囲む。これにより、ナット140がネジ182内のピン143とともに回転すると、ナットの回転方向により、ロッド180が近位側または遠位側に移動する。ネジ182は図14、15に示すように可変ピッチを有し、アンビル60を異なる長手方向の速度で進ませる。ピン143が長い(低い)ピッチのネジ部183内にあるとき、アンビル60は長さ方向に早く移動する。これと対象に、ピン143が短い(高い)ピッチのネジ部184内にあるとき、アンビル60は長さ方向にゆっくり進む。ピン143は、長いピッチのネジ部183内でネジ182が接触する唯一の部分であることに留意されたい。このように、ピン143は、この時点ではロッド180に作用する長手方向の力全体にさらされる。このピン143は、このような力に耐えるのに十分な強度があるが、アンビル60が間の組織の周りで閉じる際に生じるすべての長さ方向の力に耐えるほどではない。
図14に示すように、ピッチが短いネジ部184に、近位の半ナット141の中央ボア144の近位端部の対応する内側ネジ145と係合するよう、ロッド180が設けられている。ピッチが短いネジ部184が内側ネジ145に係合すると、ネジ部184の側面全体が内側ネジ145に接触する。この接触面は、ピン143とネジ182のいかなる部分との接触よりも大きく、このため、アンビル60が閉じる際、特にアンビル60が組織の周りでステープル射出状態にあるときに発生する長さ方向の力のすべてに耐えることができる。例えば、本実施例では、ピン143は約30乃至50ポンドの長さ方向の力を受ける。これは、400ポンドまでの長さ方向の力に耐えうるネジと比較すると、約10対1の差がある。
アンビル制御アセンブリ100の代替的な実施例では、ロッド180の複合的なネジ全体が取り除かれる。このような場合、ロッド180は単一のネジピッチであり、アンビルモータ120が単一ネジロッド180の長さ方向の位置によって、(回路ボード500の関連するプログラミングを通じて)異なる速度で駆動される。
モータ120、210を駆動する様々な実施例で、制御プログラムは様々な形態をとりうる。一実施例では、バッテリ駆動回路ボード500のマイクロコントローラがパルス変調(例えばパルス幅、パルス周波数)をかけて、いずれかまたは双方のモータを駆動してもよい。さらに、ステープラ1はデューティサイクルが低い装置であり、または使い捨て装置であるため、構成要素を許容の製造スペックを超えて駆動することができる。例えば、ギアボックスはその指定速度より上のトルクをかけることができる。また、例えば6ボルトモータなどの駆動モータを、例えば12ボルトで駆動してもよい。
アンビル60が伸びた位置から組織を圧迫しないか僅かに圧迫する位置への閉動作は、挟まれた組織にダメージを与えることなく迅速に行われる。このため、ピッチの長いネジ部分183により、利用者はアンビル60を組織へと、組織圧迫前状態に素早く閉じることができる。その後、好ましくは組織をゆっくりと圧迫し、これにより利用者が組織を過度に圧迫してしまうのを回避することができる。このようにして、この後者の動作範囲において短いピッチのネジ部184を利用して、利用者が大きな度合いで制御することができる。この圧迫中、図18に示し継続中の米国暫定出願番号第60/801,989号で説明されているフォーススイッチ400を用いて、組織圧迫インジケータ14(および/または回路ボード500の制御回路へ)を介して利用者に組織がフォーススイッチ400内のスプリング420の予荷重より大きな力で圧迫されているかを示すことができる。図18は、米国暫定出願番号第60/801,989号の第1実施例に記載された通常は開いた状態のフォーススイッチ400の実施例を示すことに注意されたい。組織の圧迫を測定するのにひずみゲージを用いてもよい。
図19乃至23は、アンビル伸長位置(図19乃至20参照)から1cm閉鎖距離位置(図21参照)、ステープル射出可能位置(図22参照)、および最終的にアンビル完全閉鎖位置(図23参照)へのロッド180の動作を示す。ロッド180の移動は、ロッド180のカム面アクチュエータ185の一部と、ハンドル本体10内に位置された一連のマイクロスイッチの動作レバーまたはボタンとの間の接触により、(回路ボード500を介して)電気的に制御されている。
ロッド180(およびそれ故アンビル60)が完全に伸びた位置にあるとき、ロッド完全伸長スイッチ610の動作レバーをアクチュエータ185が押すように、ロッド完全伸長スイッチ610(図19参照)がハンドル本体10の遠位部に配置されている。1cmスイッチ612がハンドル本体10の中間位置に配置され(図20、21参照)、ロッド180(およびそれ故アンビル60)が完全閉鎖位置の1cm以内にある場合に、ロッド180の1cmカム面部分186が1cmスイッチ612の動作ボタンを押さないようにしている。図22に示すように、1cm閉鎖距離を経た後、カム面アクチュエータ185はステープル射出可能スイッチ614に接触する。アクチュエータ185の下端部は、図22乃至23に示すように、ステープル射出可能スイッチ614のボタンに対して前後両方の側に傾斜しており、このボタンを動作させる2つの傾斜の部分の間の距離(あるいは、その平坦な部分のみ)は、ステープルカートリッジ50内におけるステープルの許容しうるステープル形成範囲(すなわち安全射出長さ)に対応する。したがって、ステープル射出可能スイッチ614のボタンが最初に押されるとき、アンビル60とステープルカートリッジ50の間の距離は、ステープルを成功裏に射出して閉じる最大範囲である。このボタンが押されると、アンビル60の分離距離62(図18参照)は、安全ステープル射出範囲内に留まる。しかしながら、アクチュエータ185がボタンの近くに位置してステープル射出可能スイッチ614のボタンが最早押されなくなった場合、ステープル治療には距離が短すぎるため、ステープルは射出されない。図23は、ロッド180が最も近位の位置にある状態であり、アクチュエータ185の上端部がロッド完全引き戻しスイッチ616のレバーを閉じることにより示されている。このスイッチ616が作動すると、回路ボード500のプログラムが、モータ120がロッド引き戻し方向に切り替わるのを防ぎ、換言すると、これはロッド180が近位の方向に引き戻される場合の止めスイッチとなる。
図2、3、11、12、16は、遠位端部が他の装置に接続されていないロッド180の遠位端部を示す(このためフォーススイッチ400の近位端部に接触する)。連結バンドまたは、ロッド180の遠位端部とフォーススイッチ400の近位端部の間のバンドは、明確化のためにのみ図示しない。一実施例では、このプルバンドは平坦で、アンビルネック30を通りフォーススイッチ400の近位端部までカートリッジプランジャ320の湾曲した下側を横切るべく柔軟である。もちろん、フォーススイッチ400がない場合、このバンドはアンビル60の近位端部に着脱可能に接続するトロカールチップ410の近位端部に連結される。
ステープル制御アセンブリ200の機能が、図12乃至16、図24乃至27、特に図24を参照して説明される。ステープルモータ210が、モータベアリング222とモータシャフトカバー224との間に保持される。ステープルモータ210の駆動軸212が回転可能にフレキシブル結合部240の近位端部に連結され、このフレキシブル結合部240の遠位端部が回転可能にスクリュ250の近位端部に連結され、これがベアリング260、270、280上で回転する。長手方向に移動するナット290が、結合マウント230と遠位プレート232との間のスクリュ250に螺合している。これにより、駆動軸212の回転が、スクリュ250の対応する回転へと伝達される。
ナット結合ブラケット300は、ナット290、強化ロッド310、および射出ブラケット330に長さ方向に固定されている。この射出ブラケット330は、(図示しないステープルドライバを通り)ステープルカートリッジ50(またはステープル)まで延在するカートリッジプランジャ320に長さ方向に固定されている。この連結により、ナット290の長さ方向の動きが、カートリッジプランジャ320の対応する長さ方向の移動に変換される。したがって、ステープル射出スイッチ22が作動すると、ステープルモータ210が十分な回数だけ回転され、ステープルがステープルカートリッジ50から完全に射出される(そして、もしあれば切断ブレードが伸長されアンビル60とステープルカートリッジ50の間の組織を完全に切断する)。後述するように、回路のプログラムは、カートリッジプランジャ320を射出後に引き戻し、アンビルとカートリッジ間の隙間62からステープル射出部品および/またはステープルカートリッジ50のブレードのすべての部分を取り除く。
このステープル動作の制御は、再び、回路ボード500にワイヤなどの電機接続を介して連結されたマイクロスイッチを通じて行われる。これらの制御スイッチの最初は、近位のステープルスイッチ618であり、ステープル制御アセンブリ200の引き戻しを制御してこのアセンブリ200の最も近位の位置を規定する。このスイッチを作動させるには、ナット結合ブラケット300の側部に隣接するように、動作プレート306を取り付ける。例えば図6、24を参照されたい。このようにして、ナット290が近位に移動してナット結合ブラケット300上のプレート306が近位のステープルスイッチ618を作動させると、ステープルモータ210への電力が取り除かれてステープル制御アセンブリ200の近位方向へのさらなる移動が阻止される。
ステープル制御アセンブリ200の動きを制御する第2のスイッチは、強化ロッド310の遠位の側面の反対側に配置されている。図27を参照されたい。この面において、遠位のステープルスイッチ620と接触する長さ方向に調整可能なカム部材312が設けられている。一実施例では、このカム部材312は、強化ロッド310の遠位のボアに螺合するスクリュである。したがって、ナット290が遠位方向に動いてロッド310のカム部材312が遠位のステープルスイッチ620を作動させると、ステープルモータ210への電力が取り除かれてステープル制御アセンブリ200の遠位方向へのさらなる移動が阻止される。
図28、29は、アンビル30の遠位端部の異なるステープルカートリッジ60の取り替えが可能な取り外し可能な連結アセンブリを示す。
ハンドル本体10の最も近位のチャンバは、内部に電源600を保持するための空洞を規定している。この電源600は、回路ボード500を介してモータ120、210、およびステープラ1の他の電機部品へと接続されている。
ステープラ1の電機部品は、回路ボード500を介した制御に関して説明した。電気ステープラ1は、上述したように、一実施例では、バッテリ駆動されプッシュボタン20、21、22で制御される2つの駆動モータ120、210を具える。各モータ120、210の移動範囲は、移動の端部と移動に沿った中間位置612、614でリミットスイッチ610、616、618、620により制限される。モータ120、210の制御ロジックは、いくつかの方法で実現することができる。例えば、リレーまたはラダーロジックを用いて、モータ120、210とスイッチ610、612、614、616、618、620の制御アルゴリズムを規定することができる。このような構成は単純だが、制限された制御方法である。より柔軟な方法は、マイクロプロセッサ式制御システムを用いてスイッチ入力を検知し、スイッチをロックし、インジケータライトを作動させ、データを記録し、可聴フィードバックを提供し、視覚ディスプレイを駆動し、同定装置(例えば周波数識別装置(RFID)または暗号識別装置)に問い合わせ、力を感知し、外部装置と交信し、バッテリ寿命を監視したりすることである。このマイクロプロセッサは、特に複合電子機械システムのインタフェース用に特別に構築された一体型回路の一部であってもよい。このようなチップの例は、Atmelによる例えばMega128か、PICによる例えばPIC16F684を含む。
このようなプロセッサへ制御命令を出すソフトウェアが必要である。全体を開発したら、プログラムをプロセッサに書き込み永久的に書き込む。このようなシステムは、制御アルゴリズムの変更が比較的少ない:アップロードされるソフトウェアへの変更は、記述や装置の機械レイアウトを変更することなく、制御とユーザインタフェースを調整する。
使い捨て可能な装置では、電源オンの事象は一度きり発生する。このケースにおいて電源オンは、永久的に装置から取り除かれるタブまたは解除具を引っ張ることにより実現する。この取り外しによりバッテリが接触し、装置の電源が入る。
装置のいかなる実施例でも、装置の電源が入ると、制御プログラムが実行を開始し、装置を使用可能とする前に、射出サブアセンブリの伸長/収縮および射出の実際の位置の検知を確実にするルーチンに移行し、これはホーミングルーチンと呼ばれる。このホーミングルーチンは、製造者が利用者に輸送する前に実行されてもよい。この場合、ホーミングルーチンが実行され、アセンブリの位置がセットされ、装置が使用可能な状態で利用者に配送される。電源投入時、装置はその位置を確認し、使用可能となる。
視覚インジケータ(例えばLED)を用いて、利用者にフィードバックを提供する。プッシュボタンスイッチ20、21、22の場合、作動時に点灯(またはバックライト)され、非作動時に消灯するようにしてもよい。このインジケータは、さらなる情報を利用者に伝達すべく点滅してもよい。ボタン押下後の遅延応答の場合、例えば応答差し迫っている場合に、設定された光の点滅速度を段々早くしてもよい。インジケータはまた、様々な状態を示すために異なる色の光で点灯させることもできる。
ステープラ1において、プロセッサに位置情報を提供するリミットスイッチを作動させるためのカムが様々な箇所に用いられている。多様な長さの線形カムを用いると、位置の範囲を設定することができる。代替的に、リミットスイッチの代わりにエンコーダを用いてもよい(絶対的かつ増分のポジショニング)。リミットスイッチは、オフとオンの2値であってもよい。位置情報の2値入力の代わりに、(光エンコーダなどの)エンコーダを用いて、位置情報を提供してもよい。位置フィードバックを提供する他の方法は、サブアセンブリを駆動するモータの端部にパルス発生器を搭載することである。パルスをカウントし、モータの回転から線形移動への変換率を知ることにより、絶対的な位置を得ることができる。
プロセッサを用いると、保存データの有用性が生まれる。例えば、装置製造番号やソフトウェアの改訂などの重要な、プレロードされた情報を保存することができる。メモリはまた、ステープラ1の使用におけるデータを記録するのに用いてもよい。すべてのボタン押下、すべてのリミットスイッチの遷移、すべての無駄打ち、すべての完了打ちなどを、後に回収して分析するために保存してもよい。データは、プログラミングポートまたはワイヤレスで取得することができる。一実施例では、一連のボタン押下によって装置を診断モードにすることができる。この診断モードでは、技術者がステープラ1の特定のデータを問い合わせたり、特定のデータを伝送/出力させることができる。このような問い合わせへのステープラ1の応答は、LEDの点滅や、ディスプレイ付きの装置の場合は視覚的な文字データ、あるいは電子データの形態とすることができる。上述したように、ひずみゲージを用いてアナログ出力したり利用可能な歪みバンドを設けてもよい。代替的に、付加的な第2のスプリングと支持部材によりこのバンドを機械的に設定してもよい。
シングル射出ステープラ1の制御アルゴリズムの例は、以下のステップを含む:
・電源オン
・ホームポジションを確認し、必要/所望の場合にホームポジションへ移動
・伸長/収縮ボタンをエネイブル(点灯)にし、ステープル射出ボタンをディセーブル(消灯)にする
・ステープル射出ボタンを完全に伸ばした(アンビルが取り去られた)後にのみエネイブルにし、伸長/収縮ボタンをエネイブルにしたままその後収縮させる。
・ステープル射出ボタンの作動時、フォーススイッチが作動するまでアンビルを引き戻す。
・ボタンLEDの点滅により秒読みを開始し、射出サイクルが切迫するごとに点滅速度を速くする。継続的にフォーススイッチを監視し、アンビルを引き戻してフォーススイッチが作動したままとする。
・ステープル射出サイクルの間は、どのボタン押下もステープル射出ルーチンを打ち切る。
・ステープル射出モータの作動前に打ち切りが生じたら、射出サイクルは停止し、アンビルがホームポジションに伸ばされ、ステープル射出ボタンはアクティブのままで再発射可能となる。
・あるいは、射出モータの作動時に打ち切りが生じたら、射出サイクルは停止し、射出モータは引き戻され、アンビルがホームポジションに戻り、射出ボタンは非アクティブとなる。したがって、ステープラ(またはステープルカートリッジ)は使用不可となる。
・射出の秒読みが終了したら、ステープル範囲制限スイッチの位置が確認される。ステープル範囲制限スイッチが作動したら、それはアンビルが良好なステープル射出範囲にあることを意味し、ステープル射出モータが作動して射出サイクルが進められる。ステープル範囲制限スイッチが作動しない場合、射出サイクルは打ち切られ、アンビルはホームポジションに戻り、ステープル射出ボタンはアクティブのままで再発射可能となる。
・ステープル射出が完了したら、アンビルは閉じ位置に維持され、伸長ボタンのみがアクティブのままとなる。アンビルが少なくともホームポジションまで伸びたら、伸長ボタンと収縮ボタンの双方をアクティブにする。ステープル射出ボタンは、ステープル射出が完了したら非アクティブに維持される。
上記サイクル例を通して、ボタン押下、スイッチ位置、打ち切り、および/または射出を記録してもよい。
外科的処置において、ステープラは1方向デバイスである。しかしながらテストモードでは、テストユーザがトロカール410とアンビル60を望むまま前後させられることが必要となる。電源オン構造により、利用者がテスト目的のマニュアルモードにできるようになる。このテストモードは解除可能であり、ステープラは使用モードにリセットされてパッケージングや輸送される。
パッケージングでは、アンビル60をステープルカートリッジ50から離して位置させることが望ましい(不可欠ではない)。このため、パッケージや輸送のために電源を落とす前に、アンビル60をステープルカートリッジ50から(例えば)1cm離すホーミングシーケンスを設定してもよい。
この電気ステープラが荷解きされ手術に利用可能となった場合、利用者はステープラの電源をオンにする(スイッチ12)。ステープル射出位置となり所望の組織圧迫状態となる前にステープルは射出されない。したがって、アンビル/トロカールの伸長/収縮機能は唯一使える機能である。この場合、伸長ボタン20と収縮ボタン21が点灯し、射出スイッチ22は点灯しない(すなわちディセーブルである)。
患者に使用する前に、トロカール410を伸ばしてアンビル60が取り外される。ステープラが結腸の吻合に使用される場合、例えば、トロカール410がアンビルネック30に引き戻され、ステープルカートリッジ50とアンビルネック30が肛門経由で結腸内へと、切開部の下流側へと挿入される。アンビル60は、反対に、上流側の腹腔鏡用切開部から挿入され、切開部の上流側に配置される。アンビル60はトロカール410に取り付けられ、2つの部品はステープル可能状態となるまでステープルカートリッジ50の方へ引き戻される。上述のように、アンビルは実質的に間の組織を圧迫せず、特に、乾燥(desiccate)させない距離まで移動する。この地点で、望んだときにステープル射出が生じる。
ステープル射出シーケンスは、ステープル射出スイッチ22を作動させることで開始する。ステープル射出は、射出シーケンス中はいつでも打ち切ることができ、これは動作前(漂白サイクル中)や動作中(ステープル形成の有無に拘わらず)であってもである。ステープル射出が行われる前に組織を圧迫して乾燥させる必要があることが判明しているため、ソフトウェアは、ステープル射出の秒読みシーケンスを開始するようプログラムされている。このため、ステープル射出スイッチ22の作動後、アンビル60が間の組織の上に閉じ、この組織の圧迫を開始する。このステープル射出シーケンスは、最適組織圧迫(OTC)測定とフィードバック制御を有し、OTC範囲として参照される所望の圧力範囲に圧迫された場合であって、十分な時間が経って圧迫された組織から水分が除去された場合にのみステープルが射出されるようにする。OTCの範囲は、アンビル60とステープルカートリッジ50の間で圧迫される組織を公知の特性に基づいて予め分かっている(フォーススイッチは、異なる組織OTC範囲用に調整することができる)。フォーススイッチ400は、OTCの測定値を提供し、マイクロプロセッサに特定の組織用のOTCに達したことを示す情報を供給する。OTCの状況は、利用者に例えばLEDで示される。
射出シーケンスが開始すると、ステープル射出スイッチ22は設定速度で点滅し、その後例えば射出が行われるまで段々早く点滅する。この待ち時間の間に打ち切りが生じなければ、OTC状態が設定された乾燥期間だけ維持され、秒読みの完了後にステープル射出が行われる。円形ステープラで結腸を吻合する例では、切開部のステープル留めは、切開部中央の切開と同時に行われる。この切開はステープルの円形リングの中央の空いた開口が、手術完了後に通常の結腸の動作となるよう開口を設けるのに十分となることを保証する。
挟まれた組織から水分が除去されたら、組織の圧迫力は自然に低減する。少しの間、この低減はOTC状態が設定範囲外となりうる。このため、プログラムは、フォーススイッチ400から提供される連続的な測定値に依存する閉ループアンビル圧迫制御を有する。このフィードバックにより、圧迫された組織が処置の間と乾燥してからも暫くOTC範囲内に維持される。
ステープル射出サイクルの間、利用者による制御スイッチのいかなる操作もステープル射出ルーチンの打ち切りとなるようプログラムされてもよい。ステープル射出モータ210の作動前に打ち切りが生じたら、射出サイクルは停止し、アンビル60はホームポジションへと伸長され、ステープル射出スイッチ22はアクティブに維持され必要に応じて再発射可能である。あるいは、ステープル射出モータ210の動作中に打ち切りが生じたら、射出サイクルは停止しステープル射出モータ210がアンビル60をそのホームポジションまで伸ばす。この時点で、ステープル射出スイッチ22は非アクティブとされる。したがって、ステープラ(または特にステープルカートリッジ)は最早(ステープルカートリッジを交換するまで)使用されない。
ステープル射出が実行される前に、ステープル範囲制限スイッチでステープルカートリッジ50とアンビル60の相対位置が確認される。ステープル範囲制限スイッチが作動したら、それはアンビル60が良好なステープル射出範囲にあることを意味し、ステープル射出モータ210が作動して射出サイクルが進められる。ステープル範囲制限スイッチが作動しない場合、射出サイクルは打ち切られ、アンビル60はホームポジションに戻り、ステープル射出スイッチ22はアクティブのままで再発射可能となる。
モータの駆動(または、作動、駆動、制御、動作として参照される)および/または、エンドエフェクタ(例えばアンビルまたはステープラ/カッター)の様々な部分のドライブトレインを説明する。このような駆動は利用者による作動ボタンの単一押下や、電源によるモータの単一励起に限るモータ駆動に限る必要はない。装置内の様々なモータの制御は、利用者が作動ボタンを何回も押す必要があり、例えば、1回目はエンドエフェクタの一部の最初の3つの動作を作動させ、2回目は次の3つの動作、3回目は最後の3回の動作用である。手術用ステープラの具体例では、第1の作動例でステープルスレッドまたはブレードがロックアウト解除され、第2の作動例で部品が組織の上に移動し、第3の作動例でスレッドがすべてのステープルを超えてステープルカートリッジの端部まで移動する。同様に、モータ駆動は一定である必要はなく、例えば、ブレードがその動作点の端部に到達するまでの移動を開始する時間から一定に駆動される。代わりに、モータはパルスモードで駆動されてもよく、第1の例はエンドエフェクタ機能の作動時に電源からモータに供給される電力の間欠オンオフスイッチングを含む。より具体的にステープラでは、ステープル/カッターがその近位/スタート位置から最も遠位の位置に移動するまで、モータは10回/秒間パルス制御される。このパルス制御は、マイクロプロセッサにより直接制御または制御され、これらのいずれもパルスレートは調整可能である。代替的に、あるいは付加的に、モータはパルス変調駆動され(パルス幅またはパルス周期)、ここではパルスが非常に短い期間で生じる(例えば、一秒に数十、数百、数千、あるいは数百万)。したがって、本書に記載の電源、モータ、および/またはドライブトレインが駆動されると、これらの、および他の可能な動作モードが想定され包含される。
ステープル射出が完了したら、アンビル60は閉じ位置に維持され、伸長スイッチ20のみがアクティブのままとなる(他のスイッチはすべて非アクティブ)。アンビル60が少なくともホームポジションまで伸びたら、伸長スイッチ20と収縮スイッチ21の双方がアクティブにされるが、収縮スイッチ21はアンビル60がホームポジションを越えて閉じるのを防止する。ステープル射出スイッチ22は、ステープル射出が完了したら非アクティブに維持される。
上述したように、アンビルネック30は、トロカール410に連結された線形フォーススイッチ400を収容する。このスイッチ400は、所定の引っ張り負荷がかけられると応答(calibrate)する。この所定の負荷は、ステープルが行われる前に特定の組織にかけられる所望の圧力に対応するよう設定される。このスイッチ400とプロセッサのインタフェースは、確実にOTC範囲内でのみステープル射出が行われるようにする。
以下のテキストは、上述した本発明にかかる方法を実現するプログラムリストの一実施例である。以下のテキストは例示であり、当業者であれば本発明にかかる方法のプログラミングが、多くの異なる形式で同じ機能を実現しうることを理解するであろう。
rev3cボード(cb280チップセット)V8.03(CS−3c−080306.CUL)を用いた円形ステープラ用プログラム
'8-3-06
'Modified program to abort with only fire button, added pbcount variable
'Added PWM ramping
'7-28-06
'final tweaks - stan is now an integer etc.
'7-17-06 This version written for the 3c board.
'7-14 DEBUGGING VERSION
'Program written for 3c board using the Cubloc 280 chipset
'Note: this program is a modified version of the ones noted below. All changes not related to the addition of the E/R limit switches
'apply. The programs below were written to deal with the "gray logic" of the 1 cm switch. This version uses
'a limit switch at either end of the extend/retract stage.
'V6.20 Final Version of Gray Logic program as used in prototype 0, serial number 100
'V6.05
'modified the extend to cm 1 and retract to cm 1 routines to make sure that when they are called that they move the motor until the cm
'switch is closed; ie: When the anvil is all the way out and the retract button is pressed, retract the anvil until the cm limit switch
'is closed regardless of whether the retract button is released before the cm switch is closed. Same change for when the anvil is
'extended from the 1 cm position.
'made changes to comments in the extend/retract routines

'V6.02
'added loop requiring the release of both buttons to exit jog routine, and a 1 second delay at the end of jog subroutine before
'going back to main routine
'reformatted datadump labels
'added variables for high and low speed pwm values
'added extend only capability at end of completed fire to prevent crushing stapled tissue
'NOT WORKING- REMOVED added checks To ensure 1 cm switch Is made when extending Or retracting from the 1 cm And fully extended positions respectively
'V6.01
'All prior versions were made for testing the program on the Cubloc development board. All outputs were pulled LOW. The actual device
'requires all the outputs to be pulled high (+5V). This version is set-up to run on the actual device.
'limited the values of the EEPROM data to 255 max
'added delays before changes in motor direction, made program run smoother
'removed pwmoff commands. They were not allowing the motors to stay on when changing subroutines (for some reason)
'V5.27
'added the recording of jog routine button presses
'added the recording of datadump requests
'V5.26
'added the recording of Extend/Retract button presses
'added serial number field in eeprom
'the datadump routine now keeps running total of data as it is read from eeprom
'V5.25 (circular-staρler-5-25.cul)
'added code to allow storage of data each power on cycle in eeprom
'V5.24 works well, no known bugs (circular-stapler-5-24.cul)

'KMS Medical LLC (c) 2006
'MAP

'P10 Extend Button
'P11 Retract Button
'P12 Fire Button
'P13 Extend Limit
'P14 Retract Limit
'P15 Fire Forward Limit
'Pl6 Fire Back Limit
'P17 1 cm Limit Switch
'P18 Staple Range Limit Switch
'P19 Force Switch
'P20 Extend Button LED
'P21 Retract Button LED
'P22 Fire Button LED
'P23 Force LED (blue)
'P24 Not USED
'P25 Not USED
'P26 Not USED
'P27 Not USED
'P28 Not USED
'P29 Staple Range LED (green)

Const Device=cb280 'Comfile Tech. Cubloc CB280 chipset
Dim ver As String*7
ver="3C-8.03" 'set software version here
Dim extendbutton As Byte
Dim retractbutton As Byte
Dim firebutton As Byte
Dim firstout As Byte
Dim firstback As Byte
Dim cmstatus As Byte
'lcm limit switch status
Dim srstatus As Byte 'staplerange limit switch status
Dim x As Integer
Dim powerons As Byte 'store in eeprom address 2
Dim cycnumfires As Byte 'store in eeprom (powerons* 5)
Dim cycabortfires As Byte 'store in eeprom (powerons*5)+l
Dim cycers As Byte 'store in eeprom, number of cycle extend/retract presses
Dim cycjogs As Byte
Dim arm As Byte
Dim completefire As Byte
Dim staplerangestatus As Byte
Dim bail As Byte
Dim ds As Integer 'eeprom data start location for individual cycle data writing
Dim fast As Integer
Dim slow As Integer
Dim extendonly As Byte
Dim extlimit As Byte
Dim retlimit As Byte
Dim speed As Integer
Dim dracula As Byte

'initalize outputs

Out 20,0 'extend button LED
Out 21,0 'retract button led
Out 22,0 'fire button led
Out 23,0 'force led
Out 29,0 'staple range led

'initialize variables
firstout=0
firstback=0
completefire=0
arm=0
bail=0
cycnumfires=0
cycabortfires=0
cycers=0
cycjogs=0
extendonly=0

'CHANGE PWM VALUES HERE
fast=60000 'highspeed pwm value
slow=60000 'lowspeed pwm value
speed=0

Output 5 'turns on pwm output for PINCH
Output 6 'turns on pwm output for FIRE

'read totals from eeprom
powerons=Eeread(2, 1 )

Incr powerons 'increment total power on number
If powerons>=255 Then powerons=255 limit number of recorded powerons to an integer of one byte max
Eewrite 2,powerons,l 'write total power on number to eeprom
ds=powerons*5

'JOG and DATADUMP Check
'push any button within 2 (or so) seconds to go to jog routine
'hold all three buttons on at startup to dump the data
For x=l To 50
If Keyin(10,20)=0 And Keyin(11,20)=0 And Keyin(12,20)=0 Then
datadump 'write all stored data to the debug screen
Exit For
Elseif Keyin(10,20)=0 Or Keyin(11,20)=O Or Keyin(12,20)=0 Then 'either e/r button or the fire button pressed
jog
Exit For
End If
Delay 20
Next

'ホーミングシーケンス

cmstatus=Keyin(17,20) 'read the status of the lcm limit switch

If cmstatus=0 Then
homeretract
Elseif cmstatus=l Then
homeextend
End If

'Return fire motor to back position
homefire 'this returns the fire motor to the full retracted condition (P6 limit switch)

**********
'メインループ
**********
Do
'Debug "Main Loop",Cr
'Delay 1000

cmstatus=Keyin(17,20) 'read the 1 cm switch
'staplerangestatus=Keyin(5,20) 'read the staplerange limit switch

extendbutton=Keyin(10,20)
retractbutton=Keyin(11,20)
firebutton=Keyin(12,20)

If cmstatus=0 And Keyin(13,20)<>0 Then
Out 20,1 'turn extend led on
Out 21,1 'turn retract led on
Elseif cmstatus=0 And Keyin(13,20)=O Then
Out 20,0 'turn off extend led because extend limit met
Out 21,1 'turn on retract limit
Elseif cmstatus=l Then
Out 20,1
Out 21,0
End If

'check firebutton led status
If firstout=l And firstback=l And arm=l And completefire<>l And cmstatus<>0 Then
Out 22,1 'turn on fire button led
Else
Out 22,0 'turn off fire led
End If

'check for extend retract button press
If extendbutton=0 And cmstatus=0 Then
extend
Elseif cmstatus=l And extendbutton=0 Then
extend
End If

If retractbutton=0 And cmstatus=0 Then 'And extendonly=0
retract
End If

'check for firebutton press
If firebutton=0 And firstout=l And firstback=l And arm=l And completefire<>l And cmstatus<>0 Then initialfire

Loop 'keep looping til powerdown
End 'End of program

************
サブルーチン
************

'ホーム:cmスイッチまで引き戻す=押下なし

Sub homeretract() 'retract until 1 cm switch is open
'Debug "Homeretract",Cr
'Delay 1000
Pwm 0,slow,60000
Do Until Keyin(17,20)=l 'retract until 1 cm switch is open
Out 31,1 'ER motor reverse
Loop
Out 31,0 'er motor off
Out 21 ,0 'turn retract led Off
Out 20,1 'turn extend led On
Pwmoff 0 'turn pwm off
End Sub
'
'ホーム:cmスイッチまで伸長=押下あり

Sub homeextend() 'extend until 1 cm switch is closed
'Debug 'Ηomextend",Cr
'Delay 1000

Pwm 0,slow,60000
If Keyin(17,20)=l Then
Do Until Keyin(17,20)=0 'now the 1 cm switch is pressed
Out 30, l 'ER motor forward DDD
Loop
End If
Out 30,0 'DDD
Pwmoff O
Delay 300
homeretract 'once the switch is made, call homeretract
End Sub

'射出モータホーミングルーチン

Sub homefire()
'Debug "Homefire",Cr
'Delay 1000

Pwm l,slow,60000
Do Until Keyin(16,20)=0 'retract firing stage until back switch is closed
Out 33,1
Loop
Out 33,0
Pwmoff 1
End Sub

'JOG ルーチン

Sub jog()
Out 20,1
Out 21,1
Do
Delay 25
If Keyin(10,20)=0 And Keyin(11,20)=O Then Exit Do 'if both buttons pressed, exit jog routine and start homing routine after 1 second delay

If Keyin(10,20)=0 And Keyin(11,20)<>0 And Keyin(12,20)<>0 Then
Pwm 0,slow,60000
Out 30,1 'extend motor forward
Do Until Keyin(10,20)<>0 Or Keyin(13,20)=0
Out 30,1 'extend motor on forward DDD
Loop
Out 30,0 'extend motor off forward DDD
Pwmoff 0
Incr cycjogs
If cycjogs>=255 Then cycjogs=255
Eewrite ds+3,cycjogs,l
End If

If Keyin(11,20)=O And Keyin(10,20)<>0 And Keyin(12,20)<>0 Then
Pwm 0,slow,60000
Do Until Keyin(11,20)<>0 Or Keyin(14,20)=0
Out 31,1 'extend motor reverse
Loop
Out 31,0 'extend motor off reverse
Pwmoff0
Incr cycjogs
If cycjogs>=255 Then cycjogs=255
Eewrite ds+3,cycjogs,l
End If

If Keyin(12,20)=0 And Keyin(10,20)=0 Then 'jog the fire motor forward
Pwm l,slow,60000
Do Until Keyin(10,20)<>0 Or Keyin(12,20)<>0 Or Keyin(15,20)=0
Out 32,1 'fire motor forward
Loop
Out 32,0 'fire motor off forward
Pwmoff 1
Incr cycjogs
If cycjogs>=255 Then cycjogs=255
Eewrite ds+3,cycjogs,l
End If

If Keyin(12,20)=0 And Keyin(11,20)=O Then 'jog the fire motor reverse
Pwm l,slow,60000
Do Until Keyin(11,20)<>0 Or Keyin(12,20)<>0 Or Keyin(16,20)=0
Out 33,1 'fire motor reverse
Loop
Out 33,0 'fire motor off reverse
Pwmoff 1
Incr cycjogs
If cycjogs>=255 Then cycjogs=255
Eewrite ds+3,cycjogs,l
End If

Loop

Do Until Keyin(10,20)=I And Keyin(11,20)=I 'let off both buttons before exiting jog routine
Delay 10
Loop
Out 20,0 'turn on e/r button leds
Out 21,0
Delay 1000
End Sub

'伸長制限を満たすまで伸長する

Sub extend()
Out 22,0 'turn off fire button led while extending
Out 21,0 'turn off retract button led while extending

Pwm 0,fast,60000
Do Until Keyin(l0,20)=1 Or Keyin(l3,20)=0 'extend until either the extend limit is closed or the extend button is released
Out 30,1 'ER motor forward DDD
Loop
Out 30,0 'DDD

If firstout=0 Then 'this will keep the extend motor going on the first extension until the anvil is all the way out
Do Until Keyin(l3,20)=0
Out 30,l 'DDD
Loop
End If
Out 30,0 'DDD
Pwmoff 0
Incr cycers
If cycers>=255 Then cycers=255
Eewrite ds+2, cycers, 1
If Keyin(l3,20)=0 Then
firstout=l 'set the firstout flag to enable fire button
Out 20,0 'turn off extend led
End If
End Sub

'cmスイッチが開になるまで収縮

Sub retract()
Out 22,0 'turn off fire button led while retracting
Out 20,0 'turn off extend button led while retracting

Pwm 0,fast,60000
Do Until Keyin(11,20)=1 Or Keyin(17,20)=l 'retract until either the lcm switch goes open or the extend button is released
Out 31,1 'ER motor reverse
Loop
Out 31,0
Pwmoff 0
Incr cycers
If cycers>=255 Then cycers=255
Eewrite ds+2, cycers, 1
If Keyin(17,20)=l Then
firstback=l
Out 21,0 'turn retract led off
End If
If firstout=l And firstback=l Then arm=l 'set the arm flag to arm the fire button
End Sub

'DATADUMP ルーチン

Sub datadump()
Dim chef As Byte
Dim tf As Byte 'total fires
Dim ta As Byte 'total aborts
Dim ers As Integer
Dim tj As Byte
Dim tdd As Byte
Dim stan As Integer
Dim kyle As Byte
Dim token As Byte
Dim ike As Byte
Dim kenny As Byte
Dim sn As Byte

tf=0
ta=0
ers=0
tj=0
tdd=0

Eewrite ds+4,1,1 'write 1 to the ds+4 eeprom register denoting that datadump was accessed
Delay 1000
sn=Eeread(0,l)
Debug "Circular Stapler Stored Data",Cr
Debug "Version ",ver,Cr
Debug "KMS Medical LLC",Cr
Debug "-----------------------",Cr
Debug Cr
Debug "Serial Number: ",Dec sn,Cr
powerons=Eeread(2,1)
If powerons>=255 Then powerons=255
Debug "Total Cycles: ",Dec powerons,Cr
Debug Cr
Debug "----------------------------",Cr
Debug Cr
For stan=5 To (powerons*5) Step 5
Debug "Cycle ",Dec (stan/5),Cr
Debug "-----------------------------",Cr
chef=Eeread(stan, 1)
tf=chef+tf
Debug "Completed Fires: ",Dec chef,Cr
kyle=Eeread(stan+ 1,1)
ta=kyle+ta
Debug "Aborted Fires: ",Dec kyle,Cr
token=Eeread(stan+2 , 1)
ers=token+ers
Debug "E/Rs: ",Dec token,Cr
ike=Eeread(stan+3 , 1)
tj=ike+tj
Debug "Jogs: ",Dec ike,Cr
kenny=Eeread(stan+4, 1)
tdd=kenny+tdd
Debug "Datadumps: ",Dec kenny,Cr
Debug Cr
Next 'stan

Debug "--------------------------------------",Cr
Debug "Cycle Totals",Cr
Debug Cr
Debug "Completed Fires: ",Dec tf,Cr
Debug "Aborted Fires: ",Dec ta,Cr
Debug "E/R Presses: ",Dec ers,Cr
Debug "Jog Presses: ",Dec tj,Cr
Debug "Datadumps: ",Dec tdd,Cr
Debug Cr

Delay 1000
For x=l To tf'blink the number of completed firing cycles
Out 22,1
Delay 500
Out 22,0
Delay 500
Next 'x
Do Until Adin(0)>800 And Keyin(3,20)=l 'wait until datadump buttons are released
Loop
End Sub

'最初の射出

Sub initialfire()
Dim f As Integer
Dim p As Integer
Dim t As Integer
Dim y As Integer
Dim z As Integer
Dim q As Integer
Dim timmy As Integer
Dim butter As Integer
Dim numblinks As Integer
Dim fbcount As Integer

Debug clr,Cr

'turn off extend and retract buttons to show that they are not active for abort?
Out 20,0 'extend button
Out 21,0 'retract button

bail=0
t=15 'total blink time
p=3 'number of blink periods
Pwm 0,fast,60000
'start blink and adjust pinch motor to force
f=(t*1000)/p
fbcount=0

If Keyin(12,20)=l Then fbcount=l

For y=l To p
numblinks= (t*y)/p

For z=l To numblinks
timmy=f/numblinks
butter=timmy/50 'calibrate this to seconds

If timmy=0 Then timmy=l
If Keyin(12,20)=0 And fbcount=l Then
bail=l 'set abortfire flag
Exit For
End If
If Keyin(12,20)=l Then fbcount=l
Do Until Keyin(19,20)=0 Or Keyin(14,20)=0 'retract until force switch met or retract limit met
Out 31,1
If Keyin(12,20)=0 And fbcount= 1 Then
bail=l 'set abortfire flag
Exit Do
End If
If Keyin(12,20)=l Then fbcount=l
Loop
If bail=1 Then Exit For
Out 31,0
Out 23,1 'force led
Out 22,1 'fire button led
For q=0 To butter
Delay 10
If Keyin(12,20)=0 And fbcount=l Then
bail=l 'set abortfire flag
Exit For
End If
If Keyin(12,20)=l Then fbcount=l
If Keyin(19,20)=l Then Out 23,0
Next 'q
If bail=l Then Exit For
Do Until Keyin(19,20)=0 Or Keyin(14,20)=0 'retract until force switch met or retract limit met
Out 31,1
If Keyin(12,20)=0 And fbcount=l Then
bail=l 'set abortfire flag
Exit Do
End If
IfKeyin(12,20)=l Then fbcount=l
Loop
Out 31,0
Out 23,1

If Keyin(12,20)=0 And fbcount=l Then
bail=l 'set abortfire flag
Exit For
End If
If Keyin(12,20)= 1 Then fbcount= 1

Out 22,0
For q=0 To butter
Delay 10
If Keyin(12,20)=0 And fbcount=l Then
bail=l 'set abortfire flag
Exit For
End If
If Keyin(12,20)=l Then fbcount=l

If Keyin(l9,20)=1 Then Out 23,0
Next 'q
If bail=l Then Exit For
Next 'z
'Debug Dec? fbcount,Cr
If bail=l Then Exit For

Next 'y
Pwmoff 0
If bail=l Then
abortfire
Else
'staplerangecheck
finalfire
End If
End Sub

'ステープル範囲確認ルーチン

Sub staplerangecheck()
srstatus=Keyin(29,20) 'read the staplerange limit switch
If srstatus=0 Then
finalfire
Else
abortfire
End If
End Sub

'最終射出ルーチン

Sub finalfire()
Out 23,0 'turn force led off
Out 20,0 'turn extend led off
Out 21,0 'turn retract led off
Out 22,1 'Turn on fire led to signify final fire abort ready
Pwmoff 1
'Pwm l,fast,60000
'Out 32,1 'fire motor forward DDD
completefire=l
Do Until Keyin(15,20)=0 'fire forward until forward limit is met
If speed>=60000 Then speed=60000
If speed<60000 Then
speed=speed+10000
End If
Pwm l,speed,60000
Out 32,1
Delay 50
If Keyin(12,20)=0 Then 'Or Keyin(10,20)=0 Or Keyin(11,20)=0
bail=l
Exit Do
End If
Loop
Out 32,0 'fire motor fwd off DDD

speed=0

Delay 250
Do Until Keyin(16,20)=0 'retract fire motor
If speed>=60000 Then speed=60000
If speed<60000 Then
speed=speed+10000
End If
Pwm l,speed,60000
Out 33,1
Delay 50
Loop
speed=0
Out 33,0
Pwmoff l
Out 22,0 'turn fire led off
Out 21,0 'turn off retract led
extendonly=l
Incr cycnumfires
If cycnumfires>=255 Then cycnumfires=255
Eewrite ds,cycnumfires,l 'write the current cycle number of fires to the eeprom
Delay 200
End Sub 'return to the main routine

'射出打ち切り

Sub abortfire()
'Debug "Fire aborted before firing! !",Cr
Out 31 ,0 'turn retract motor off
Out 32,0 'turn fire forward off DDD
Out 23,0 'turn force led off
Pwm l,fast,60000
Delay 250
Do Until Keyin(16,20)=O 'retract fire motor
Out 33,1
Loop
Out 33,0
Pwmoff 1
Out 22,0 'turn fire led off
Incr cycabortfires
If cycabortfires>=255 Then cycabortfires=255
Eewrite ds+1, cycabortfires, 1 'write the current cycle abortfires to the eeprom
Delay 200
homeextend 'extend to lcm
End Sub
上記には、エンドエフェクタの着脱可能および/または交換可能な部分を具える同定装置を用いる可能性も開示されている。このような識別装置は、例えば、追跡用法または(track usage and inventory)として用いることができる。
識別装置の一例は、無線周波数を用い、RFIDとして呼ばれるものである。医療用ステープラが、本書に開示するような再装填可能で交換可能なステープルカートリッジを用いる場合、RFIDをステープルカートリッジに装填して、特定のステープラと、ハンドルに付属しうる可換ステープルカートリッジを検知するRFIDをステープルカートリッジリーダとの互換性を確かめてもよい。このような構成において、リーダはカートリッジに装填されたRFIDをステープルカートリッジに呼びかけ信号を送る。RFIDはステープラを照合するユニークなコードで応答する。ステープラカートリッジが照合通りのラベルである場合、ステープラはアクティブとなり、使用可能となる。しかしながらカートリッジが拒否された場合、ステープラは拒否表示を出す(例えば、LED点滅、可聴音、視覚表示)。近くのカートリッジの偶発的または不正確な読み込みを避けるために、RFIDリーダのアンテナは、ステープルカートリッジがステープラに搭載されるか非常に近い場合のRFIDのみを読み込む(最適には、装置の遠位端部で)。RFIDの使用は、機械的ロックアウトと組み合わせて、確実にステープルカートリッジごとに1の射出サイクルのみが行われるようにする。RFIDは、リーダが高価で、アンテナを比較的大きくする必要があり、読み取り距離が比較的狭く、通常は数センチメートルという不都合がある。
他のワイヤレス認証を用いてもよい。アクティブRFIDを用いてもよい。同様に、赤外線(IR)通信装置を用いてもよい。しかしながら、これらはいずれも受信端で電力を生成する必要があり、これがコストとサイズの不利益となる。
他の認証装置の例は、暗号化である。暗号化により数字の処理が必要となり、これらの計算に伴って処理チップ(例えばマイクロプロセッサ)が使用され、これらのいずれかはステープルカートリッジや可換型エンドエフェクタシャフトなどの可換部品の上に配置される。このような暗号化チップは、本発明の手術器具の最適化を分析する特定の特性を有する。第1に、可換部品用の別の電源は必要ない。このような電源を追加するコストのみならず、望まない重量までが追加され、他の部品または必要のない空間が占められる。このように、部品用の電源は、ハンドル内の既存の電源からとられるべきである。また、電源供給は常時保証されるべきである。可換部品は比較的小さく、これに対応して暗号化チップも小さい。さらに、ハンドルや可換部品の双方が使い捨て可能に構成されると、それ故、双方の暗号化プロセッサに使い捨てとするコストがかかる。最後に、可換部品の暗号化装置と、対応するハンドルの暗号化装置は小型化されるべきである。後述するように、本発明にかかる暗号化装置は、これらの望ましい特性のすべてを提供し望まない特性を制限するものである。
暗号化認証装置は、商業的に入手可能である。このような暗号化装置の一つは、Dallas Semiconductorで製造され、DS2432チップとして参照される。このDS2432チップは、リーダとトランスポンダ間の暗号化認証を行うのみならず、装置特性情報を保存するのに用いるメモリを具え、これらの情報および使用については後に詳述する。DS2432の有利な特性は、1ワイヤ装置であることである。これは、電力と入力および出力信号の双方が同じ配線で送られることを意味する。このDS2432のような1ワイヤ装置では、ハンドルとエンドエフェクタ間を接続するのに、ハンドル本体10からアンビルネック30を通って可換ステープルカートリッジ50へ単一の配線が延びるだけでよい。この構成は、電機接続を最小限の量とする特性を満たし、これに対応して製造コストが低減する。DS2432チップはアースする必要があるが、金属のアンビルネック30が導電性であり、装置1のアースに接続されており、このためDS2432チップのアース接続の一実施例は、リードからネック30への直接接続により達成することができる。
暗号化回路の一実施例は、第1の暗号化チップを可換部品(例えばステープルカートリッジ)に設けている。第1の暗号化チップのアースは可換部品の金属部分へと電気的に接続され、これが装置のアース、例えばネック30へと電気的に接続されている。DS2432チップの1ワイヤ接続は、可換部品のどこかであるがアースから電気的に遮断された部分に電気的に接続される。例えば、可換部品が60mm線形ステープルカートリッジである場合、DS2432は最後のステープルセットの遠位部と電気的に絶縁されたカートリッジの遠位端部に取り付けられるか埋め込まれる。この暗号化チップは、カートリッジのステープルが出るのと反対側に埋め込まれ、使用時に作業面にも曝された組織にも面しない。DS2432チップのアース線は、ステープルカートリッジの金属外側フレームに電気的に接続され、これがステープラのアースに電気的に接続されている。1ワイヤのリードは第1の導電装置(例えばパッド、リード、または双方)に電気的に接続され、これはカートリッジの金属フレームから電気的に絶縁されている。単一の導電性であるが絶縁された配線が、近位端部から回路ボードまたは装置のハンドル内の適切な制御電子部品に接続されている。この配線は、ステープラの他の部分、特にアースフレームとの電気接触から遮断されており、ハンドルからネックを通り可換部品の受けチャンバまで延びている。遠位端部において、絶縁配線は第2の導電装置(例えばパッド、リード、または双方)に曝されて電気的に接続され、これはカートリッジがエンドエフェクタ内で定位置にロックされたときに第1の導電装置と積極的に接触する形状である。このような構成により、2つの導電装置は可換部品(例えばステープルカートリッジ)がエンドエフェクタに挿入される度に直接的な電気接続を形成し、ある特定の実施例では、部品が正しく挿入された場合のみ接触が実現する。
DS2432はまた、面積が数mm四方であり、ステープルカートリッジといった小型の可換部品にチップを容易に取り付け可能とすると同時に、例えば小型化要求にも応えている。DS2432チップは、比較的安価であることに留意されたい。DS2432チップによるすべての通信を外部検査から隠れた状態に維持するには、DS2460(これもまたDallas Semiconductor が製造)を、DS2432から受信する暗号送信を内部で計算した期待される答えと比較するのに用いることができる。これら両方のチップの特性が、Dallas Semiconductors社のアプリケーションノート3675に開示されており、これは本書に全体として参照により組み込まれている。DS2460チップは、DS2432チップより実質的に割高であるが、ハンドルとともに使い捨てとしうる程度に廉価である。医療器具(例えば本発明の手術器具)の使い捨ての可換部品の数は、通常、この可換部品を受けるハンドルの数を相当上回る。したがって、DS2432チップが交換可能な部品に設けられ、DS2460チップをハンドルに設けると、低コストでの暗号化特性が満足される。アプリケーションノート3675の図2に説明される2つのDS2432チップを用いた代替的な回路構成も存在し、ここで回路はローカルのマイクロプロセッサ(例えばマイクロプロセッサ2000)で比較を実行することにより、高価なDS2460チップを不要としている。このような構成では、装置1に暗号化を付加するコストが低減するが、説明したように、この構成は比較される双方の数字を検査できるようにすることによってセキュリティ面を捨象する。
暗号化を用いる医療器具の可換部品の電子認証プロセスを、DS2432チップを1つとDS2460チップを1つ有する実施例で説明する。この暗号化装置の制御回路の例が、図30に示されている。この実施例は、マイクロプロセッサ2000を有する回路ボードが組み込まれたハンドルを具える線形ステープラを用いる。マイクロプロセッサ2000の1の自由なI/Oピン2010がDS2460の第1のリード2110に接続され、別のI/Oピン2020が第2のリード2120に接続されている。各可換部品2200には、DS2432チップが設けられ、1ワイヤリードがマイクロプロセッサ2000の第3のI/Oピン2030に接続されている。
処理を開始するには、可換部品2200を装置に接続し、アースと1ワイヤリードに電気的に接続する。マイクロプロセッサ2000が、装置1に新しい部品2200が接続されたことを検知したら、認証ルーチンを実行する。最初に、マイクロプロセッサ2000は、第1の通信ピン2010でランダム番号要求をDS2460に出す。DS2460は予めプログラムされたシークレット番号を有し、これは可換部品2200に含まれる各DS2432チップに登録されたシークレット番号と同じである。したがって、DS2432とDS2460チップの双方に設けられたランダム番号が同じであれば、2つのチップからそれぞれ出力される結果は同一となる。DS2460はランダム番号を作成し、第2のピン2020を介してマイクロプロセッサ2000に送り、これがピン2030を介して1ワイヤリードを超えてDS2432に送られる。DS2432がこのランダム番号を受信したら、自身のSHA−1アルゴリズム(全国化学技術情報システム(NIST)が開発)にかけて、暗号のハシュコード応答を生成する。このハシュコード応答は、1ワイヤリードを超えてマイクロプロセッサ2000に返送され、ピン2010または2020のいずれかを介してDS2460に送られる。この期間中、DS2460はまた、自身でハシュコード応答を算出する。最初に、DS2460は、内部的にDS2432に送ったのと同じランダム番号を自身のSHA−1アルゴリズムにかけて、内部的に、生成したハシュコード応答を保存する。このDS2460はまた、DS2432からマイクロプロセッサ2000を通じて送信されたハシュコード応答を保存する。双方のハシュコード応答が照合され、これらが同一である場合、可換部品2200は確認され承認される。これらのハシュコード応答が相違する場合、部品2200は拒否され、装置は部品2200が使えない状態か、特定の防衛手段が施されてからのみ使用可能とする状態となる。例えば、時間、日付、環境等に関するデータや、未承認の部品の特性を保存して、後に製造者(または販売店)へ一斉送信して、ユーザが装置に未承認の部品2200を使用しようとしているか既に使用したことを製造者に通知するようにしてもよい。メッセージが暗号化されない場合、認証メッセージは傍受され偽造され、盗まれ、または部品2200を認可された業者から購入せずに未承認の部品2200が使用されてしまう。本書における一実施例では、ラインを横切って送信される情報で試験しうる唯一のものは、単一のランダム番号と単一のハシュコード応答である。このSHA−1で生成した応答を解読するには数百年かかると言われており、これによりリバースエンジニアリングの動機が低減される。
本例で使用するチップはいずれも、認証が成立した場合にアクセス可能となる安全なメモリを有し、それぞれがメモリ内に保存される複数のシークレットキーを持つようプログラムされてもよい。例えば、DS2460は内部に複数のキーが保存されており、部品2200はそれぞれこれらに保存されセットの複数のキーから選択される唯一のキーを有する場合、DS2460は、部品2200の「通常の」単一のキーに対する「マスター」キーとして作用する。
本発明の手術器具の可換部品を認証すると、多くの肯定的な効果を得ることができる。第1に、装備の製造者はユーザが未承認部品を使用するのを防止することができ、これにより承認された部品のみを確実に使用させることができる。これは製造者が可換部品の売上げからロイヤリティを受け取れることを保証するばかりでなく、製造者は手術器具の高度な品質を保証することができる。暗号化回路を具えるメモリを有することにより、本発明による利益が飛躍的に増大する。例えば、線形ステープラの1のエンドエフェクタが30mm、60mm、120mmのステープルカートリッジを収容する場合、例えば、カートリッジの各サイズに個別のキーが付与されるとともに、ハンドルはこれらの3つのキーをそれぞれ保存し利用するようプログラムすることができる。他の2つとは異なるいずれか1に対応する内部演算されたハシュコード応答を受信すると、ハンドルはどの種類のカートリッジが装置に挿入されたかを判別することができる。各カートリッジはメモリ内に、例えば多様なカートリッジサイズによって異なるステープルスレッド動作長などカートリッジ特有のパラメータを有してもよく、これにより検出されるカートリッジによってハンドルが異なる動作をしてもよい。確認されたパラメータは、特定の部品の改訂レベルを示してもよい。例えば、第1版のカートリッジはいくつかの使用パラメータを有し、このカートリッジを検出した場合に、ハンドルが第1版のカートリッジを使用せずに第2版のカートリッジを使用するようにしたり、その逆としたりすることができる。
暗号化チップにメモリを具えると、このカートリッジは他の種類のデータを追跡できるようになる。例えば、カートリッジは過去に連結された各ハンドルの識別子、カートリッジから射出したハンドルの識別子、時間、日付、他の使用および/または接続されたときの時間データ、カートリッジを射出するまでにかかった時間、ステープル射出に射出トリガが何回作動したか、および他の類似のパラメータを保存してもよい。具体的には1のパラメータはカートリッジが誤動作したときのデータを記録してもよい。これにより製造者は、カートリッジの誤作動またはユーザエラーが生じたときに、例えば、後に検証して利用者に改善策や他の訓練を施す助けとすることができる。ハンドルに利用可能なメモリを設けると、他例えば各処置の長さ、各ステープル射出の速度、各射出で生成されるトルク、および/または各射出を通してかかる負荷などのハンドル関連パラメータを保存することができる。このメモリは、単にハンドルにあるリチウム電池で何年も駆動することができる。したがって、ハンドルのデータの長寿は保証されている。このメモリは、利用者によるこのハンドルの使用をすべて、対応する日付データとともに保存することができる。例えば、ハンドルが一度の手術処置での利用のみ承認されているが、このハンドルが数日または数週間あけてステープルカートリッジが射出されたデータがある場合、これが最終的にリサイクルのために製造者に戻されたとき、製造者はこの利用者(病院、医師、クリニック等)がハンドルを不適切に、そしておそらくは危険な状態で使用したことを検出できる。暗号認証は、着脱式電池パックにも同様に利用できる。さらに、装置の様々な部分にセンサを設けて暗号化チップのメモリ内に格納される情報を送るようにしてもよい。例えば、温度センサがカートリッジが射出される際の手術室の温度を送信するようにしてもよい。この測定温度は、手術中の不適切な温度管理により後に感染症が生じた場合に用いることができる(例えば、空調が使えない国など)。
ステープラが使用中に動作不良となるような好ましくない場合のために、機械的補助手動装置またはベイルアウトを設けて、手で患者から装置を取り外せるようにする。すべてのベイルアウトの使用は、これらの暗号化チップにあるメモリに記録することができる。さらに、なぜベイルアウトが必要となったのかを示すデータも保存して、後に確認できるようにする。品質維持のため、ベイルアウトが検出されたら、ハンドルは顧客/利用者にベイルアウトの使用を伝える証明書が送られるようプログラムしてもよい。
上述の通り、本発明は上記実施例で用いたような円形ステープラに限らず、例えば線形ステープル装置などの様々な手術用のステープルヘッドに適用することができる。したがって、以下の多くの説明の実施例で線形ステープラが使用される。しかしながら、本書における線形ステープラの使用はそれに限定されると解釈されてはならない。
上述した構成要素は、線形および円形ステープラのステープル制御軸80の周囲に存在するものであり、これらの要素はステープル制御アセンブリ200を構成する。上述したように、正しくステープルを出して組織を切開するのに必要な力は200ポンド以上であり、好ましくは250ポンド以下である。人体組織(例えば、結腸組織)の手術用線形ステープラで所望のステープルおよび切開機能を実現するのに最低限の要求は:
1)約3秒以内で約60mm(〜2.4”)のストロークに約54.5kg(120ポンド)をかける、
2)約8秒以内で約60mm(〜2.4”)のストロークに約82kg(180ポンド)をかけるものである。
本発明の電気駆動式ハンドヘルド型手術用線形ステープル装置は、後述するように新規な方法で最適化され、これらの要求を満たすことができる。
上述した要求を満たすのに必要な力を生成すべく、機械的アセンブリの最大出力(ワット)は、これらの要求の最大リミットに基づいて計算される必要がある:82kg超60mmで3秒。これらの特徴の数学的変換は、ドライブトレインの出力に必要な最大約16ワットの動力を生成する。モータの効率は100%未満であり、ドライブトレインの効率もまた100%未満であるため、電力から動力への変換は1:1ではない。これら2つの効率の積が、全体の効率を構成する。16ワットの動力を生成するのに必要な電力は、全体効率の逆関数により16ワットより大きくなる。必要な電力が定まったら、最低限の電力要求を満たすかについて利用可能な電源が確認される。その後、尾となる電源の確認と最適化が行われる。この分析は後の記載で詳述する。
電源とモータのマッチングと最適化は、双方の個々の特性に着目することを含む。電気モータの特性を確認するとき、大きなモータは、小さなモータより高い効率で所定量の作業を実行する。希土類磁石またはコアなし構造のモータは、小さな寸法で同じ出力が出せるが、コスト高である。さらに、通常は、所定時間で同じ出力を出すよう設計された場合には大きなモータの方が小さなモータよりコストが低い。しかしながら大きなモータは、手術用ステープル装置に用いた場合には、配置されるハンドルのサイズが施術者の手のサイズに制限されるため、望ましくない特性となる。施術者は装置が小さく軽量であることを望み、大きく重いことを望まない。これらを考慮して、本発明の手術用ステープラハンドルに用いる場合のコスト、サイズ、重量が最適化される。
施術者の手の中で用いるのに利用可能なモータは、比較的安価なセラミック磁石を用いるモータや、比較的高価な希土類磁石(例えばネオジム)を用いるモータを含む。しかしながら、後者の出力増加を前者と比較すると、後者のコスト増加に実質的に見合うほど十分に大きくない。したがって、ハンドル内に使用するにはセラミック磁石モータを選択できる。モータの実施例は例えば標準サイズ(直径)が27.5mmまたは24mmである。これらのモータの効率は約60%である(サイズと負荷により30%以下まで下がる)。これらのモータの速度は無負荷で約30,000rpmである(20,000乃至40,000rpm)。
このような従来のモータを使用しても、さらにサイズを小さくすることが望まれる。このため、発明者は同様の出力だがサイズをかなり小さくしたコアレス、ブラシタイプ、DCモータを開発した。例えば、17mm直径のコアレスモータは、24mm直径のモータと殆ど同じ出力を出すことができる。通常のモータと異なり、このコアレスモータの効率は80%以上である。コアレスモータの殆どは、希土類磁石を用いる。
このように制限された大きさと得られる動力では、効率の大きな機械的ギアトレインを選択することが望まれる。最終的なドライブトレイン制御段階でラックアンドピニオンアセンブリを配置すると、通常はラックアンドピニオンの効率が約95%であり、スクリュドライブの効率が約80%であるため、スクリュドライブと比較して最終段階で高効率となる。線形電気ステープラの場合、ステープラが60mmカートリッジを有する場合にはステープル/切開機構には60mmの移動範囲がある(30乃至100mmの範囲のカートリッジを用いることができるが、説明目的で60mmを用いた例とする)。この移動範囲は、3秒で、全体を移動する場合のラックアンドピニオンの秒速は0.8インチである。これを妥当なサイズのラックアンドピニオンアセンブリで実現しようとすると、ギアトレインはモータ出力を約60rpmに落とす必要がある。モータの出力速度が約30,000rpmであるとすると、ドライブトレインの速度低下は約500:1となる。このモータでこの低減を実現するには、5段階のドライブトレインを選択する。このようなドライブトレインの効率は各段階で約97%であることが知られている。したがって、約95%の効率を組み合わせたラックアンドピニオンの全体効率は、(0.95)(0.97)すなわち82%である。この82%にモータ効率60%を組み合わせると、ドライブトレインの効率は、電気的なものから機械的な効率全体で、約49.2%を生ずる。この全体効率を知ると、所望の条件下でステープラに必要な電力量を算出すると、ステープル/切開する力を生成するのに算出した値の約2倍が必要となる。
上述した要求を満たすのに必要な力を生成するには、機械アセンブリの出力(ワット)は、82kgで60mmを3秒が約16ワットに基づいて算出することができる。全体の機械効率は49.2%であることが分かるため、電源からは32.5ワットが必要となる(機械的16ワット〜電気的32.5ワット。ワットx0.492全体効率)。この電力の最低要求で、ステープラを励起する電池の種類が特定され、これはこの場合で高出力リチウム一次電池を含む。高出力リチウム電池(例えばCR123やCR2電池)の公知の特性で、電池毎に5ピークワットを生成することがある。したがって、少なくとも6つの電池を直列にすると、およそ32.5ワットの要求された電力を生成し、これが16ワットの動力に変換される。製造される各種の高出力リチウム電池が、ピーク出力供給において異なる特性を有しこれらの特性はかかる負荷により異なるため、最適化はここで終わりではない。
第1の製造元の1の電池を第2の製造元の別の電池と区別する多様な特性の相違が存在する。比較しうる有意な電池特性は、1の電池から得られる出力を制限するものであり、これは以下のいくつかを含む:
・セル内の電解質の種類
・電解質の濃度および化学組成
・陽極と陰極がどうやって作られているか(化学的あるいは機械的構造の両方)
・PTC(抵抗の正温度係数)装置の種類と構造
これらの特性の1またはそれ以上を試験すると、ステープル装置への使用に最も望ましい電池を選択するのに価値ある情報を与えてくれる。最後の特性、すなわちPTC装置の動作の試験により、望む作業を行う電池種類の最適化が実現する。
大多数の電源が、長時間にわたって、相対的に安定かつ効率的に動作することが求められている。電源を設計・構成する場合、通常は少ない回数の使用のために寿命の短い電源を選択することはない。しかしながら、電気ステープル装置の電源はほんの数回、短期間のみ使用される。使用の都度、モータはピーク負荷に耐えてエラーなく動作する必要がある。これはつまり、手術用ステープラでは、ステープル/切開機能は単一の医療処置で行われ、最大使用が10から20のサイクルカウントで、各回で可能な限りの装置のピーク負荷に対処するよう求められる。この1の処置の後、装置は使用不能となり破棄される。このため、本発明のための電源は、他の従来の電源とは異なる構造である必要がある。
本発明にかかる装置は、装置内で使用されない場合の電池に求められる寿命と比較して、制限された寿命をもたせて構成される。このように構成すると、装置はこの規定された「寿命」の後には殆ど作動しない。電池などの内蔵型電源は、ある種の使用後に回復する機能がある。本発明への最適化では、装置は、規定された処置において、処置後に使用時間が経過したら継続処置が制限されるかできなくなるよう構成される。装置が回復して別の処置に再使用可能であっても、装置は予定される1回の使用期間または使用時間の集合範囲の外では電源が強化レベルで作動できなくなるよう設計される。これを念頭に、この装置電源の寿命または臨床上の寿命が規定され、この寿命は使用意志として説明されてもよい。この利用可能/臨床上の寿命は、装置が予想通り作動するかを確認する試験期間中の使用の期間または事象を含まない。この寿命はまた、装置が予定された処置以外で作動した、すなわち手術処置に関連して作動されなかった他の回数を含まない。
市場で入手可能な従来の電池は、2種類の使用のために設計されている:(1)短期間でかなり大きな出力(例えばカメラのような大放出デジタル装置)、または(2)長期にわたって少ない出力(例えばコンピュータのクロックバックアップ)。これらの動作のいずれかでなければ、電池はヒートアップを開始する。これをチェックせず放置したら、電池は化学作用で例えば爆発するなどの有意な損傷を引きおこす場合がある。明らかに、電池の爆発は避けるべきである。このような極端な状態は、今までの電池でPTC装置−電池の温度が上がるにつれ電池の伝導を制限するよう構成された装置(正温度係数抵抗)を設けることにより回避している。このPTC装置は、電池および/または回路を過電流や過熱状態から保護する。重要なことは、PTC装置は電池を外部の回路短絡から保護するとともに、短絡回路が除去された後も電池が継続機能できるようにする。いくつかの電池では、ワンタイムヒューズを用いて回路短絡および/または過熱保護を保護している。しかしながら、ヒューズ付きの電池で偶発的な回路短絡があるとヒューズが開放され、電池が使用不能となる。PTCで保護された電池は、ヒューズ式電池に比べると、短絡回路が除去されたら自動的にリセットして電池の通常動作を可能とするため利点がある。モータは何回か従来の一般的な高出力アプリケーションより大きい電流を流すため、このPTC装置の特性の理解は本発明で重要となる。
PTC装置は陽極および陰極と直列的に設けられ、例えば一部導電層を2つの導電層で挟んで構成される。この装置は、通常動作の温度(装置が適用される回路の状態によるが、例えば、室温から40°Cまで)では低抵抗状態である。例えば回路短絡の形成または過度の放電(装置が適用される回路の状態によるが、例えば60°Cから130°C)などにより異常な大電流が生じると、このPTC装置は極高抵抗モードに切り替わる。設置するだけでPTC装置は回路に含まれて、この回路に異常な電流が流れて装置が高温状態となると、これにより高抵抗状態となり回路を流れる電流を最低限のレベルに低減して、回路と電池の電気素子を保護する。最低レベル(例えばピーク電流の約20%)では、電池は「安全」レベルまで冷却され、大きな出力を供給できるようになる。このPTC装置の部分導電層は、例えば、カーボンパウダーとポリオレフィン樹脂で構成される。これらの装置はこの分野で説明されよく知られているため、これ以上の説明は不要である。
異なる製造元のPTC回路は異なる特性で動作するため、本発明はこれを役立てて特定のモータと特定の使用に適合する特定の電池を選択する最適化を行うことができる。PTC装置が高抵抗状態に切り替わった時間の確認を、特定のモータと電池へのドライブトレインを最適化する目安として用いることができる。いつPTC装置が切り替わるかを知ることが望ましく、これにより通常のステープラ使用においてPTC装置がこの変化を起こさなくなる。
電池の実施例は、約3アンペアから約8アンペアまでの多様なレベルで用いられる。ハイエンドでは、PTC装置はほぼ即座に高抵抗状態へと変化して、標準的なCR123電池にこの電流レベルは高すぎるとする。4−6アンペアでは、ある製造元の電池は他の製造元の電池より早くPTCが作動することが判明している。第2の製造元のPTC移行期間は4アンペアで3分以上、5アンペアで約2分、6アンペアで約50秒である。これらの期間はいずれも、8秒ピーク負荷要求よりかなり大きい。したがって、第2の製造元の電池が、第1の製造元の電池と比較してピークアンペアでの使用に最適であることが判明する。
当初は、低いか一定の出夏で高いアンペアとすると、電池から高出力が生成されると推測されていた。6セル直列構成に基づくと、ピーク電圧は18ボルトでピーク電流は6アンペアしかない。電池を並列とすると、理論的には、ピークアンペアが高くなり、3x2構成(3つの電池の直列セットを2つ並列にする)では、ピークで9ボルトでピークで12アンペアとなる。
異なる多くの電池を検証したうえで、比較的低い電圧(約1.5−2ボルト)で約4−6アンペアとすると、最大のワット出力が生成されることが判明した。2つの6電池構成を確認してみた:6x1の直列接続と、3x2の並列接続である。3x2構成は、約10アンペアと大きなピークアンペアを生成した。6x1構成は、ピークアンペアがおよそ6であり、単一の電池ではPTC装置が状態を変える前にピークで5−6アンペアが可能であった。この情報は、使用時に直列グループの様々な個々の電池がそのPTC装置を作動させ、これによりグループ全体の電池を流れる電流が制限される。したがって、低い電圧でピークアンペアを生ずる暫定的な結論は、3x2構成が支持される。
4x1、6x1、3x2の3つの異なるCR123電池構成で、所定の通常のギア構成で120#と180#の負荷でピニオンがラックを動かす早さが試験された(毎秒インチ(「IPS」))。この現実の動的負荷試験の結果が、図31のチャートに示されている。120#負荷について、
・4x1電池パックでは、約2.5アンペア、約8ボルトで、負荷を約0.6IPSで駆動した。
・6x1電池パックでは、約2.5アンペア、約13ボルトで、負荷を約0.9IPSで駆動した。
・3x2電池パックでは、約2.5アンペア、約6ボルトで、負荷を約0.4IPSで駆動した。
180#負荷について、
・4x1電池パックでは、約4アンペア、約7.5ボルトで、負荷を約0.65IPSで駆動した。
・6x1電池パックでは、約4アンペア、約12ボルトで、負荷を約0.9IPSで駆動した。
・3x2電池パックでは、約4アンペア、約7ボルトで、負荷を約0.4IPSで駆動した。
明確に、ピーク電流は制限され、この限界は負荷に依存する。この実験は、所定の負荷では電源に拘わらず電流は同じとなるが、電池構成によって電圧は変化することを示している。各負荷について、予想通り、6x1構成で出力が大きく、3x2構成で少なかった。ここから、電池パックの合計出力は電流ではなく電圧により変化し、このため、並列構成(3x2)はこの電源を最適化する方法ではない。
従来は、モータの仕様を設計する際に、モータの巻線は当該モータが駆動する予想電圧に適合される。このマッチングは個々のサイクルの期間と製品に望む全体寿命とを勘案する。電気ステープル装置の場合、モータは非常に短いサイクルかつ非常に短い寿命でのみ使用され、従来の適合方法では最適とならない。モータの製造元は、巻線の巻数に応じてモータの定格電圧を決定している。巻数が少なければ、定格電圧も低い。所定のモータ巻線のサイズ内では、巻数が少ないとワイヤを多く使用することができ、巻数が少ないと巻線の抵抗が小さくなり、巻数が多いと抵抗が大きくなる。これらの特性は、このモータがオーバードライブした場合に熱とダメージの多くを生成するモータの最大電流を制限する。本発明において望ましい構成は、巻線の抵抗が最小で、電源(すなわち電池パック)から最大電流を出すものである。モータの定格より高い電圧でモータを駆動すると、同じサイズのモータでも有意に大きな出力を出す。この特性は、巻線抵抗(すなわち巻数)が異なる以外は殆ど同一のコアレスモータを試験して得られる。例えば、6つの電池(すなわち、19.2ボルトで)で12ボルトと6ボルト定格のモータを駆動する。12ボルト定格のモータは、0.7アンペアを出すときに電圧降下が僅か18ボルトでピーク出力が4ワットである。比較すると、6ボルト定格で電圧降下が15ボルトのモータは出力15ワットだが、電流2アンペアである。このように、抵抗の低い巻線を選択して電池の出力を十分に引き出すようにする。モータ巻線は特定の電池パックとバランスさせるべきであり、失速状態ではモータはPTCを作動させるのに十分な電流を電池から引き出さず、この状態では手術中に手術用電気ステープラを使用するのに許されない遅延例が生じる。
6x1の電池構成が、電気ステープル装置の要求を満たすのに十二分であることが分かる。それにも拘わらず、この時点で、要求される作業を行うのに6つの電池が必要なのかを確認すべく電池をさらに最適化することができる。4つの電池で試して、120#負荷の下で、モータ/ドライブトレインは60mmスパン以上のラックを3秒以内に動かせなかった。6つの電池で試して、120#負荷の下で、モータ/ドライブトレインは60mmスパン以上のラックを、要求される3秒よりかなり早い2.1秒で動かせることが確認された。さらに、180#負荷の下では、モータ/ドライブトレインは60mmスパン以上のラックを、要求される8秒よりはるかに早い2.5秒で動かせることが確認された。この時点で、「制御不能の(runaway)」ステープル/切開が生じないように電源および機械レイアウトを最適化することが望ましく、換言すれば、負荷が要求される最大180#またはさらに最大120#より有意に小さい場合、ラックはあまり早く動かない方が望ましい。
ギアの減速比および駆動システムは、射出ストローク間にモータがピーク効率近くを維持するよう最適化される必要がある。3秒で60mmの望ましいストロークは、最小ラック速度が20mm/秒(〜0.8インチ/秒)を意味する。最適化処理の変数の数を減らすために、ギアボックス内で基本の減速が333:1にセットされる。これはギアボックスの出力シャフト214とラック217間に存在するギアで行われる最終的な減速を残しており、ここでギアは例えばベベルギア215と(ラックを駆動する)ピニオン216とを具え、その簡単な例が図32に示されている。
これらの変数は、333:1ギアボックスの出力シャフト214の1回転で移動するラックのインチ数へと組み込むことができる。ギアボックスの出力(rpm)が変化しない場合、出力シャフトの回転(「IPR」)ごとに移動するラックのインチを出力rpmに合わせる簡単な機能で、以下に示す所望の速度を得ることができる:
(60rpm→1回転/秒(rps);1rps@0.8IPR→0.8インチ/秒)
このような理想化されたケースでは、速度に対してIPRをプロットすると、真っ直ぐな線が出来上がる。固定の距離に対する速度は、さらに射出時間まで低減することができる。したがって、IPRに対する射出時間のプロットもこの理想的なケースでは真っ直ぐな線となる。しかしながら、モータの出力(rpm)と、それ故ギアボックスの出力は、負荷によって変化するため一定ではない。負荷の程度により、モータが出力しうる出力量が決定される。負荷が増えると、rpmが減り効率が変化する。負荷を変化させた効率試験によると、効率のピークは丁度60%以上と判明している。しかしながら、このピーク効率における対応する電圧とアンペアは、出力のピーク時点と同じではない。負荷が増大するのに伴い、電力の増加速度より効率の定価が早くなるまで電力は増え続ける。IPRが増大すると、速度が増加することが見込まれるが、IPRの増加に対応して機械的利益は低くなり、したがって負荷が増大する。この負荷が増大すると、段々増える高い負荷に応じて効率が落ちることは、IPRが大きくなってもラックからの出力速度が大きくならなくなる点が存在することを意味する。この性質は、IPRに対する射出時間(秒)のプロットにおける予測される真っ直ぐな線からの偏向として反映される。本発明のシステムの実験は、不要な機械的利益と不十分な機械的利益が約0.4IPRで生じることを示している。
このIPRの値から、ベベルギア215の最終ギアの比を出力シャフトのスプロケットより約3倍大きくなるよう選択することが可能となる(3:1)。この比は約0.4のIPRに変換される。
ここでベベルギアが最適化されたら、電池パックを再び試験して6つの電池を5つやさらに4つまで減らして、費用を節約するとともにハンドル内における電源に必要な容量をかなり減らすことができるかを判定する。約120#の一定の負荷を最適化されたモータ、ドライブトレイン、ベベルギア、およびラックアンドピニオンに適用し、4つの電池を用いるとラックを60mm動かすのに約5秒間かかる結果となった。電池5つでは、この自家は約3.5秒に減った。6つの電池構成では、この時間は2.5秒であった。したがって、この曲線を補完した結果は、最低5.5の電池構成となる。電池は整数でのみ供給される事実から、電気ステープル装置の要求に合うには6つの電池構成が必要となることが分かる。
このように、同じ電力特性を出すのに異なるサイズの電池を用いない限り、最小の電源量が固定値として算出される。CR2として参照されるリチウム電池は、CR123と似た電力特性を有するが、より小さい。このため、CR2で6つの電池の電源とすると、スペースの要求が17%以上低減される。
上記詳述したように、電源(すなわち電池)、ドライブトレイン、およびモータは、手術処置を完了するために必要な時間枠内で所望の出力を供給する全体効率のために最適化される。各種の電源、ドライブトレイン、およびモータが試験され、その後電源、ドライブトレイン、およびモータの種類が、前記試験に基づいて所望期間だけ最大出力を供給するように選択された。すなわち、最大電力条件(電圧と電流)が所定期間(例えば約15秒間)PTCを作動させずに存立しうるかが試験された。本発明は、電池がモータを駆動することにより力を抽出する方法を最適化する電圧−電流−電力の値を確認する。この最適化の後でも、電気ステープラ1の特性を改善する他の変更がなされてもよい。
他の種類の電源を用いてもよく、これは本書で「ハイブリッド」電池と呼ぶ。この構成では、再充電可能なリチウムイオンまたはリチウムポリマ電池が1またはそれ以上の上述の最適化された電池(またはサイズが小さいが電圧が同等または高い他の一次電池)に接続されている。この構成では、1のCR2電池に含まれる合計エネルギがリチウムイオン電池を何回も充電するのに十分であるため、リチウムイオン電池がステープル/切開モータを駆動するが、一次電池は供給に限界がある。リチウムイオン電池やリチウムポリマ電池は内部抵抗が非常に低く、短期間で非常に高い電流供給が可能である。この有利な特性を活用すべく、一次電池(例えば、CR123、CR2または他の電池)は10乃至30秒間二次電池を充電し、これが射出時にモータの追加の電源を構成するようにしてもよい。リチウムイオン電池の代替例としてコンデンサの使用があるが、コンデンサは容量が不十分である。そうであっても、超コンデンサ(super capacitor)をモータ駆動システム内に設けてもよい;これはオペレータが追加の電力が必要と判断するまでここから電気的に分離されていてもよい。このようなとき、オペレータはコンデンサを追加のエネルギ「ブースト」として接続する。
上述したように、モータの負荷が所定の値を超えて増大した場合、効率は下がり始める。このような場合、複合比トランスミッションを用いて供給電力を所望期間変化させてもよい。効率が落ちるほど負荷が大きくなりすぎたら、複合比トランスミッションを用いてギア比を切り替えて、モータを例えば少なくとも180#の力を供給しうる高効率の地点まで戻す。ただし、本発明のモータは前後方向の双方で動作する必要があることに留意されたい。後者の動作モードでは、組織を挟んで「からまった」状況からモータはステープル/切開器具から切り離せる必要がある。このため、前進ギアより大きな力を生じるリバースギアが有利となる。
例えば低ポンドから180ポンドまで大きく変化する負荷において、負荷範囲の下端部では駆動アセンブリが強力すぎてしまう可能性がある。このため、本発明は速度制御装置を具えてもよい。考えられる制御装置は、散逸(能動)制御器と、受動制御器がある。受動制御器の一例はフライホイールであり、例えばPalmerらの米国特許出願番号第2005/0277955号に開示されたエネルギ保存素子56、456がある。別の受動制御器として「フライ」車輪がある。このようなアセンブリは、回転速度が高くなるほど力を吸収する風力抵抗を速度管理に用いており、このためモータが早くなりすぎた場合に速度管理機能を発揮する。他の種類の制御器は、モータがゆっくりと圧縮状態に圧縮する圧縮バネがある。作動が必要な場合、圧縮されたバネが解放され、比較的短期間にすべてのエネルギがドライブへ伝達される。さらなる制御器の例は、各ステージがそれぞれ多様な電池のサブセットに接続されたマルチステージスイッチがある。低い電力が欲しい場合、第1のスイッチまたはスイッチの第1の部分が作動して、電源回路における電池のいくつかのみが接続される。より多くの電力が求められるに伴い、利用者(または自動化されたコンピュータ装置)が以降の追加の電池を電源回路に接続する。例えば、6つの電池構成では、スイッチの第1の部分では最初の4つの電池を電源回路に接続し、スイッチの第2の部分で5つめの電池を接続し、スイッチの第3の部分で6つめの電池を接続する。
電気モータおよび付属のギアボックスは、使用時に一定のノイズを生じる。本発明のステープラは、ハンドルからモータおよび/またはモータのドライブトレインを分離して音声と振動特性の双方を低減し、したがって運用時に生じるノイズ全体を低減している。第1の実施例では、ハンドル本体とモータおよびドライブトレインの双方との間にダンパ材が設けられている。この材料は、ラテックス、ポリエステル、植物性の、ポリエーテル、ポリエーテルイミド、ポリイミド、ポリオレフィン、ポリプロピレン、石灰酸、ポリイソシアネート、ポリウレタン、シリコン、ビニル、エチレン共重合体、伸張ポリエチレン、フルオロポリマー、またはスチロフォームなどの発泡体とすることができる。この材料は、シリコン、ポリウレタン、クロロプレン、ブチル、ポリブタジエン、ネオプレン、天然ラバー、またはイソプレンなどのエラストマであってもよい。発泡体は、閉細胞、開細胞、軟質、網状、またはシンタクチックであってもよい。この材料は、ハンドルとモータ/ギアボックスとの間の所定位置に配置されるか、モータ/ギアボックスを取り巻くチャンバ全体に充填されてもよい。第2の実施例では、モータとドライブトレインは、たまに「中華ボックス」または「ロシアのネスト人形」などと称されるネスト状の筐体構造内に隔離されてもよい。このような構成では、ダンパ材料はモータ/ギアボックスの周囲に配置され、これら2つはギアボックスシャフトが突出する第1の筐体内に配置される。その後、この第1の筐体が「第2の筐体」すなわちハンドル本体に搭載され、ダンパ材料は第1の筐体とハンドル内側の間に配置される。
本発明の電気ステープラは、手術に用いることができる。多くのステープル装置は一度のみ使用可能である。コストが比較的低いため、これらは1の医療処置の後に廃棄することができる。しかしながら、電気式の手術用ステープラはコストが高く、少なくともハンドルを1より多い医療処置に使用することが望ましい。したがって、ハンドル部品の使用後の殺菌が問題となる。使用前の殺菌も重要である。電気ステープラは、通常の殺菌処理(すなわちスチームやガンマ照射)に一般に耐えられない電気要素を含むため、このステープラは、例えば酸化エチレンガスなど他に考えうるより高価な手段で殺菌する必要がある。しかしながら、ガスによる殺菌にかかる費用を低減するため、ステープラがガンマ照射による殺菌を可能とすることが望ましい。電子部品は宇宙で使用可能であることが知られており、それはこれらの電子部品がガンマ照射に晒される環境である。このような例では、しかしながら、電子部品は晒されながら動作する必要がある。対照的に、電気ステープラはガンマ殺菌照射に晒されている間に動作する必要はない。半導体を用いる場合、電子部品への電源が落とされていても、ガンマ照射は保存されたメモリに悪影響を及ぼす。これらの部品は、この照射に耐える必要があり、晒された後も使用可能となる必要がある。これをふまえて、ハンドル内の電子部品をガンマ殺菌しうる多様な基準がある。第1に、MOSFETメモリを使用する代わりに、ヒューズ可能リンクメモリを使用することができる。このようなメモリでは、ヒューズがプログラムされる(焼かれる)と、メモリは永久的にとなりガンマ殺菌に耐えられる。第2に、メモリをマスクプログラムする。メモリにマスクを用いてハードプログラムすると、医療殺菌レベルのガンマ照射ではプログラムに悪影響は及ぼさない。第3に、揮発性メモリが空の間だけ殺菌を行い、殺菌後に様々な測定を通じてメモリにプログラミングを行い、例えば赤外線、無線、超音波、ブルートゥース通信を含むワイヤレスリンクを用いることができる。付加的あるいは代替的に、外部電極を清潔な環境で接触させてこれらの導電体がメモリをプログラミングしてもよい。最後に、放射線不透過性シールド(例えばモリブデンまたはタングステンで作成)をガンマ照射に敏感な部品の周りに設けて、これらの部品にダメージを与える可能性のある照射に晒されるのを防いでもよい。
上述したように、電池、ドライブトレイン、およびモータの特性は試験され、電気ステープル用途のために最適化される。電池の特定の設計(すなわち過科学的およびPTC)により、供給される電流量および/または一定期間で生成される電力量が決定される。通常のアルカリ電池では、短期間で電気ステープル装置を作動させるのに必要な高い電力を生成する能力がない。また、いくつかのリチウム−二酸化マンガン電池も、ステープル装置を作動させる要求を満たすことができない。このため、例えば電解質や正の温度係数など、特定のリチウム−二酸化マンガン電池の特性を試験した。
従来のリチウム−二酸化マンガン電池(例えば、CR123やCR2)は、長期の負荷用に設計されていると理解される。例えば、SUREFIRE(登録商標)はフラッシュ光源やこのような電池で売られており、フラッシュ光の最大出力ルーメンで電池が20分から数時間(3乃至6)持つと述べている。この期間の電池の負荷は電池の電力容量と離れており、このため、電池の危機的な電流レートには届かず、過熱や爆発の危険はない。このような利用が連続しなければ、電池はこの同じ最大出力で多くのサイクル(数百)を通じて長持ちする。
簡単に言うと、このような電池は10秒またはそれ以下、例えば5秒の期間の負荷用に設計されておらず、また例えば15回などの少ない回数の使用のために設計されていない。本発明は、電源、ドライブトレイン、およびモータが、少ない使用回数でそれぞれの使用が10秒以下で負荷が定格よりかなり高い場合の電源(すなわち電池)を最適化するよう構成する。
テストしたすべての一次電池は、各々のPTC装置および/または化学的性質と内部構造で規定される臨界電流をもつ。この臨界電流レートより上で所定期間使用されると、電池は過熱し、爆発するかもしれない。少ないサイクル数で非常に高い電力要求(PTC閾値に近い)に晒されると、電圧と電流のプロファイルは従来の通常使用と同じふるまいでなくなる。いくつかの電池は、本発明のステープラが要求する電力の生成を妨げるPTC装置を具えるが、他の電池はこの電気ステープル装置に電力供給するのに必要な電力を生成することができる(所望の電圧で電流を供給できる)。これは臨界電流レートが特定の化学的性質、構造、および/または電池のPTCによって異なることを意味する。
本発明は、電源が臨界電流レートより上の範囲で動作するよう構成しており、これを本書で「超臨界電流レート」と称する。超臨界電流レートの定義には、電源から供給される臨界電流レートより上の変調電流の平均化が含まれることに留意されたい。超臨界電流レートで電力供給を行うと電池は長持ちしないため、その使用期間は短くなる。この電池が超臨界電流レートで駆動できる短い期間を本書で「超臨界パルス放出期間」と称し、電源が作動する期間全体を「パルス放出期間」と称する。換言すれば、超臨界パルス放出期間はパルス放出期間と同じか短い時間であり、電流レートが電池の臨界電流レートより大きい期間である。本発明における超臨界パルス放出期間は約16秒より短く、言い換えると約半分から15秒の範囲であり、例えば2乃至4秒であり、より具体的には約3秒である。この電源は、ステープル装置の寿命内で、例えば臨床処置の時間内で1回以上20回以下、例えば約5乃至15回、より具体的には10乃至15回を5分以内で、パルス放出期間において超臨界電流レートにかけられる。このため、電源の通常の適用時間に比べて、本発明は集中した使用となり、これを集中パルス時間といい、多くの場合に約200乃至300秒であり、具体的には約225秒である。器具に設けられる負荷は具体的な臨床アプリケーションに依存するため(すなわち、いくつかの組織は他より密集しており、組織密度が高いと装置にかかる負荷が大きくなる)、作動中、装置が所定の処置において超臨界電流レートを超えるか常に超えることは必要でない。しかしながら、手術処置での使用時にステープラは何回か超臨界電流レートを超えられるように設計される。超臨界パルス放出期間の動作では、装置は所望の手術処置を完了すべく十分な回数だけ動作可能であるが、電池は大きな電流で動作するよう求められるためあまり多くはない。
増大させた範囲で動作するとき、例えば電気ステープラ1の装置が生成する力は、既存の手動ステープラよりかなり大きくなる。事実、この力はかなり大きくステープラ自身にダメージを与える場合もある。使用の一態様では、モータおよび駆動アセンブリは、ステープルカートリッジがないかステープルカートリッジホルダ1030に直前に射出されたステープルカートリッジがある場合にナイフブレード1060が前進するのを防ぐ安全機構である、ナイフブレードロックアウト機能を損傷するまで作動してもよい。この構造が図33に示されている。上述したように、ナイフブレード1060は射出可能位置にステープルスレッド102がある場合、すなわちスレッド102が図33に示す位置にある場合にのみ遠位方向に移動可能とするべきである。スレッド102がその位置にない場合、2つの場合があり、ホルダ1030内にステープルカートリッジがないか、スレッド102が既に遠位方向に移動しているかであり、すなわちロードされたステープルカートリッジで射出が部分的または完全に生じていることを意味する。このため、ブレード1060は動いてはならず、またはその動きが制限されるべきである。したがって、スレッド102が射出段階でブレード1060を支えられるよう、スレッド102はロックアウト接触面104を具え、ブレード1060には対応する形状の接触ノーズ1069が設けられている。この地点で、ブレード1060がエッジ1035を超えて遠位方向に移動しない限り、下側ガイドウィング1065はカートリッジホルダ1030のフロア1034に対して静止しない。このような構成により、スレッド102がノーズ1069を支持すべくブレード1060の遠位端部にない場合、下側ガイドウィング1065はエッジ1035の近くまで凹部1037に追随し、そしてフロア1034上で前進する代わりにエッジ1035に当たりブレード1060のさらなる前進移動が防止される。スレッド102がない場合(「ロックアウト」と称す)にこの接触を補助するために、ステープルカートリッジ1030はブレード1060を付勢する(1以上のリベット1036でそこに取り付けられた)プレートバネ1090を具える。プレートバネ1090が上側に曲がり、フランジ1067を(フランジ1067がプレートバネ1090の遠位端部の遠位側にくるまで)下側に押すと、下側に向いた力はブレード1060にかけられウィング1065を下側に凹部1037内へと押す。これにより、ブレード1060はスレッド102がなくても遠位側に進み、ウィング1065は凹部1037の下側カーブに沿って移動し、ウィング1065の遠位端縁がエッジ1035に当たるとさらなる遠位移動が止まる。
この安全構造は、ナイフブレード1062からブレード1060に伝わる力がブレード1060から下側ガイドウィング1065を切り取るのに不十分である限り、上述のように動作する。本発明の電源、モータ、およびドライブトレインで生成しうる力により、ブレード1060は遠位側に強く押されてウィング1065が引きはがされる。これが生じると、ブレード1060またはスレッド102の遠位側への移動を防ぐ手段はない。したがって、本発明は、ウィング1065がエッジ1035を超える前に、ここにかけられる力を低減する方法を提供する。換言すると、ブレード1060にかけることができる力の上限は、(エッジ1035を超える)ブレード移動の第1の部分では低減され、ウィング1065がエッジ1035を一掃してフロア1034上で静止した後に増大する。より具体的には、これらの2つの部分の力発生リミッタの第1実施例は、ステープル/切開ストロークの第1の部分で電源における1かもう少しのみの電池をモータに接続し、ステープル/切開ストロークの第2の部分で電源における大部分または全部の電池をモータに接続する回路の形をとる。このような回路の第1実施例が図34に示されている。この第1実施例では、スイッチ1100が「A」の位置にある場合、モータ(例えばステープルモータ210)は(本実施例で利用可能な4つのうち)1の電池602のみで駆動される。しかしながら、スイッチ1100が「B」の位置にある場合、モータは電源600の4つ全部の電池602で 駆動され、これによりブレード1060にかかる力の量が増大する。スイッチ1100をAとBの位置で制御するには、第2のスイッチをブレード制御アセンブリのどこかまたはスレッド102に沿って配設し、この第2のスイッチがウィング1065がエッジ1035を通り過ぎたら制御部に信号を送るようにする。この制御回路の第1実施例は単なる例示であり、同じ機能のアセンブリを装置のロックアウト保護に用意することが可能であり、これには例えば図36に示す第2実施例がある。
モータの前後制御回路の第1の実施例が、図35に示されている。この第1実施例は二極双投スイッチ1200を用いる。このスイッチ1200は通常、両極がオフとなるセンター位置にバネ付勢されている。図示するモータMは、例えば、本発明のステープルモータ210を表すものである。図示するように、装置をオンにするにはパワーオンスイッチ1210を閉じる必要がある。もちろん、このスイッチは任意である。モータMの前進駆動を望む場合、スイッチ1200は図35に示すように右の位置に配置され、これによりモータを第1の方向に駆動するようにモータに電力が供給され、これは電池の「+」がモータMの「+」に接続されるため前進方向として規定される。この前進スイッチ位置では、モータMはブレード1060を遠位方向に駆動する。ブレード1060またはスレッド102の所望位置の最前部に適切なセンサまたはスイッチを設けると、モータMの電力供給を遮断する前進移動リミットスイッチ1220を制御して、このスイッチ1220が開いている限りさらなる前進移動を防止することができる。このスイッチ1220が閉じて回路が完成しないよう、あるいは例えば新たなステープルカートリッジが装填された場合にスイッチ1220のリセットのみを許可するよう、回路をプログラムすることができる。
モータMの後進駆動を望む場合、スイッチ1200は図35に示す左の位置に配置され、これによりモータを第2の方向に駆動するようにモータに電力が供給され、これは電池の「−」がモータMの「+」に接続されるため後進方向として規定される。この後進スイッチ位置では、モータMはブレード1060を近位方向に駆動する。ブレード1060またはスレッド102の所望位置の最後部に適切なセンサまたはスイッチを設けると、モータMの電力供給を遮断する後進移動リミットスイッチ1230を制御して、このスイッチ1230が開いている限りさらなる後進移動を防止することができる。他のスイッチ(点線矢印で示す)を回路内に設けて、リミットスイッチ1220、1230とは別にどちらの方向への移動も選択的に制限してもよいことに留意されたい。
モータはかなり大きな力でギアトレインを駆動することができ、これが高い回転慣性に変換される。このようにして、図34、35で説明したどのスイッチをモータのオフ切換に用いた場合でも、ギアは直ちに止まらない場合がある。代わりに、例えばモータへの電力が遮断された場合でもラック217が回転慣性によりそれまで移動していた方向に進み続ける。この動作は多くの理由で不利益となる。電源とモータを適切に構成することにより、このような遮断後の動作をほぼなくした回路を構成することができ、これにより利用者が動作をより制御できるようになる。
図36は、前進または後進制御が遮断されたときにさらなる回転を阻止するモータ(例えばステープルモータ210)の一実施例を示す。図36も、前進/後進制御とマルチステージ電源の代替実施例を示す図である。図36の回路は、電気モータの短絡回路特性を用いるモータ沮止サブ回路を具える。より具体的には、電気モータMが短絡回路に配置され、電気的に生成された磁界が永久磁界と対立して生じ、これにより回転を続けるモータの速度を低下させ、慣性によるオーバーストロークが実質的に回避される。図36の回路がどのようにモータMを制動するかを説明するために、前進/後進スイッチ1300の一例が提供されている。図示するように、前進/後進スイッチ1300は、図35のスイッチ1200と同様に、3つのポジションがある。右の位置にある場合、モータMは後進回転方向に駆動される。スイッチ1300が作動していない場合、図36に示すように、モータMは回路短絡する。この回路短絡がスイッチ1300の上側部分により概略的に示されている。制動スイッチにおける切換プロセスは時間遅延方式で実現されることが望ましく、これはブレークビフォアメークスイッチング構成とも呼ばれる。モータMの動作をモータMを制動するよう切り換えると、モータの回路短絡が作用する前に前進/後進スイッチ1300の二極双投部分が開放される。逆に、モータMのブレーキ状態からモータMを駆動する場合、スイッチ1300がモータを作動させる前に短絡回路が開放される。これにより、運用では、利用者が3ウェイスイッチ1300を前進または後進位置から解除すると、モータMが回路短絡して迅速に制動される。
図36における他の構造は、図35に関連して説明されている。例えば、オン/オフスイッチ1210が設けられている。電力ロックアウトスイッチ1100もあり、動作の所定部分で1の電池602’のみでモータ駆動し(ストロークの最初または他の所望部分で生じる)、動作の他の部分で全部の電池602(ここでは6つの電池)でモータMを駆動する。
後進および前進リミットスイッチ1320、1330の新たな構成により、前進リミットスイッチ1320が作動した後にモータMのさらなる前進駆動が防止される。このリミットに達したら、前進リミットスイッチ1320が作動して、スイッチが第2の位置に切り替わる。この状態では、モータに前進駆動させる電力が入らないが、後進駆動させる電力は供給することができる。この前進リミットスイッチは、所定のステープルカートリッジ用にトグルまたはワンタイム使用となるようプログラムすることができる。より具体的には、スイッチ1320は、ステープルカートリッジを新たなものと交換するようリセットされるまで第2の位置を保持する。したがって、交換されるまでは、モータMは後進方向にのみ駆動しうる。スイッチが単なるトグルである場合、スイッチ1320の作動から動作の一部が退かれた場合にのみ、追加のさらなる動作用に電力が復元される。
後進リミットスイッチ1330も同様に構成することができる。後進リミットに達したら、スイッチ1330が第2の位置に切り替わり、リセットされるまでこれを保持する。この位置では、モータMは回路短絡しており、いずれの方向にもモータは駆動しない。この構成により、ステープラの動作は前進リミットまでの一度のストロークと、後進リミットまでの一度の引き戻しに限定される。両方が起こった場合、モータMは2つのスイッチ1320がリセットされるまで使用不能となる。
ここで図面を詳細に、特に、図37乃至40を参照すると、本発明にかかる電気手術器具1000の例示的な実施例が示されており、この実施例では電気手術用線形ステープラである。図37は装置1000の左側を示しており、ハンドルの外側シェル1001と1002が除去されている。同様に図39は装置1000の右側を示しており、ハンドルの外側シェルが除去されている。外形シェル1001と1002の2半分(two halves)は、図63乃至66に示されており、内側アセンブリを明確に示している。これらには示されていないが、以降の図はエンドエフェクタである。線形ステープルエンドエフェクタの例示的な実施例が、2005年7月26日に出願された継続中の米国暫定特許出願整理番号第60/702,643号、2006年1月18日に出願された第60/760,000号、および2006年6月8日に出願された第60/811,950号と、2006年7月24日に出願された米国特許出願番号第11/491,626号、2006年9月29日出願された第11/540,255号と第11/541,105号、および2007年8月24日出願された第11/844,406号を含む、共有および同時係属中のファミリーに詳細に記載されている。この出願のファミリーの公開全文は、全体を参照することによりここに組み込まれる。
図38は装置1000の機械的アセンブリを示しており、左側フレーム1010が除去されている。図40は、比較的に、左、右側のフレーム1010、1020の双方が除去された機械的アセンブリを示している。
図37はギアカバープレート1105を示しており、モータトラスミッションアセンブリの1、2、3段ギア1110、1120、1130である。また、図37に示されているのはエンドエフェクタクロージングアセンブリ1400である。このエンドエフェクタクロージングアセンブリ1400は図59乃至60に詳細に図示されている。
図37乃至38はまた、電気駆動および駆動制御アセンブリを示している。この例示的な実施例での電気駆動アセンブリ1500は、1以上のバッテリ1510を含む取り外し可能なバッテリパックである。上述のように、一の例示的な電源はCR123またはCR2電池の4乃至6の直列接続である。ここでは、6つのバッテリ1510がある。これらのバッテリ1510aのうち図37の上部左側にある1つは、電気的に切り離し可能に構成されていて、電力がモータ1520に選択的に、単一の電池1510aか6つのバッテリ1510の全セットのどちらか一方を通って供給されるよう設けられている。これは、わずかな電力しか必要としない場所または全トルクの禁止が望まれる場所でのアプリケーションにおいて便利である。このような禁止の一例が、ステープルスレッドまたはブレードがロックアウトを越えて動くこととして上述されている。例示的な回路は、ステープル/切開ストロークの第1部の間、この1の電池1510aをモータ1520に接続し、ステープル/切開ストロークの第2部の間、電源供給における電池1510、1510aの全てがモータ1520に接続される。図34を参照されたい。
例示的な実施例での電源制御アセンブリ1600は、ロッカースイッチ1610の形態をとる。ロッカースイッチ1610の1の作動方向において、モータ1520は第1の方向、例えば前方へ回転し、ロッカースイッチ1610の別の作動方向において、モータ1520は反対の第2の方向、例えば後方に回転する。
例示的な実施例での電気駆動式ドライブトレインは、線形カッター/ステープラの一形態を駆動すべく用いられる。ここでは、ドライブトレインは、ステープル/切開動作を実行すべく用いられる。このためドライブトレインは、線形アクチュエータ1700に接続され、本実施例では、ラックガイド1720に沿って遠位および近位に移動する歯付のラックの形態である。図38に示されているように、ラック1700は相対的に近位位置にある。近位端部(図38の右側)でシェル1001、1002のサイズを最小にするために、ラック1700は、回転部1710がラックガイド1720内に含まれない場合、(図38で見られるような)下向きに自由に回転する回転部1710を有する。ラック1700が遠位(図38で左側)に動くとき、回転部1710の底部はラックガイド1720の近位端部に接触し、ラックガイド1720の形状のため、ラック1700の残りの部分とほぼ同軸である位置へと上方に回転する。ラックガイド1720の近位端部は図41で見られる。
ラック1700の歯1702は、ラックアンドピニオン構造におけるドライブトレインの最終段と相互作用するよう形成されている。ドライブトレインの様々な形態が、実際には図37乃至47のすべてで見ることができるが、ドライブトレインの詳細は、特に図43および46を参照して容易に見ることができる。多くの図に見られる変速段のいくつかは歯を持たないことに注目されたい。これは、これらのギアが単に具体的な実施例の概略図であるからである。このように、歯がない場合や、歯の数やサイズが存在する場合でも、限定または固定と解されるべきではない。さらに、図示されるギアの多くは、歯の内側に配置された中央バンドを有する。このバンドは、装置1000の一部と見なされるべきではなく、単にこのアプリケーションの図を作成するのに用いられたソフトウェアの限定である。
ドライブトレインの説明はモータ1520から始まる。モータ1520の出力ギア1522が変速機の1段1110、2段1120、および3段1130に接続される。3段1130は、装置1000の左側に存在する最終段に接続される。この接続は内部配置のため、全ての図で見ることは困難である。図55乃至56は、しかしながら、3段1130から4段のクロスオーバーギア1140への接続を示す。上述のように、3段1130の出力は、歯がない円筒として概略的に図示されている。続けて図46を見ると、クロスオーバーギア1140は4段軸1142に回転接続され、その軸1142は装置1000の左側から右側へとラック1700を横切る。軸1142の右側は、右側のギアのいずれにも回転形態で直接接続されていない。代わりに、右側フレーム1020内の対応するポケット内に嵌合するシャフトベアリング1144内で回転し、ここでフレーム1020は図46では除去されており、右側ドライブトレインを見ることができる。
キャッスルギア1146(図53に単独で示されている)は、クロスオーバーシャフト1142上に配置され、ともに回転するよう固定されているが、縦にしか動くことができない。このような接続を可能にするために、軸1142は図示されない内部スロットを有し、キャッスルギア1146の2つの対向するポート11462を通る図示されないピンが配置されている。ピンをキャッスルギア1146にしっかり固定することにより、軸1142の回転によりキャッスルギア1146に付随する回転が生じるが、未だキャッスルギア1146は、少なくとも軸1142のスロットまで軸1142の縦軸に沿って自由に動くことができる。図46に見られるように、キャッスルギア1146の右側の胸壁11464は、図54に単独で示されている4段ピニオン1148の左側の対応する胸壁スロット11482の間に嵌合するよう形成されている。キャッスルギア1146が4段ピニオン1148に確実に接合される必要があるため、右側の付勢力Fが必要となる。この付勢力を供給するため、図示しない圧縮バネを、例えば、一端部がクロスオーバーギア1140の右側面へ接触し、他方の端部がキャッスルギア1146の外側円筒面から放射状に離れて突出する中央フランジ11468の左側面へ接触するように設けてもよい。(このフランジ11468は、装置1000の手動解放特性に関してより詳細に後述される。)様々な別の同様に機能する付勢装置が、例示したバネの代わりに用いられてもよい。このような構成は、キャッスルギア1146を4段ピニオン1148に選択的、回転的に係合可能にする。より具体的には、キャッスルギア1146が付勢装置の力F以外のいかなる力も受けない場合、胸壁11464は胸壁スロット11482と合致し、軸1142の回転が4段ピニオン1148の回転を起こさせる。しかしながら、付勢力Fに対向し、越える力がかかる場合、胸壁11464は胸壁スロット11482から出て、軸1142の回転は4段ピニオン1148にまったく影響を与えない。この選択的な係合により、手動解放を実現することができる。このような開放を説明する前に、右側ドライブトレインが説明される。
4段ピニオン1148はドライブトレインの5段1150に直接接続され、これは5段軸1152と、5段軸1152に回転固定される5段入力ギア1154と、5段軸1152にまた回転固定される5段ピニオン1156とを具える。5段ピニオン1156の歯はラック1700の歯1702に直接接続される。こうして、5段入力ギア1154の回転により、5段ピニオンの回転およびラック1700の縦の動きが生じる。図46の例示的な実施例に見られるように、5段入力ギア1154の時計回りの回転は、ラック1700(後退)に近位方向の動きを起こさせ、5段入力ギア1154の反時計回りの回転は、ラック1700(伸長)に遠位方向の動きを起こさせる。
上記ドライブトレインの5段の接続によると、モータ軸の一方向の回転はラック1700に縦の動きを起こさせるが、これはキャッスルギア1146が4段ピニオン1148と係合される場合のみである。キャッスルギア1146が4段ピニオン1148と係合されない場合は、モータの回転はラック1700に影響を与えない。この2つのギア1146と1148が非接続状態となると、ラック1700の手動解放が実現する。
装置1000の運用において、ラック1700はエンドエフェクタのいくつかの部分を作動させるように遠位方向に動く(伸長する)。線形ステープル/切除装置の実施例において、ラック1700が遠位に動くと、ステープル留めおよび切開を起こさせるスレッドは、ステープル留めおよび切開の双方を実行すべく遠位方向に動く。エンドエフェクタの顎部の間に配置される組織は、実際には各手術処置で異なるので、施術者は、(ステープリングアクチュエータおよび切断ブレードを担持する)スレッドが何らかの理由で引っかかったり動かなくなる回数を予測できない。このような場合、スレッドは、モータを使用することなく遠位に引き戻す必要がある。また、電力を損失したりモータは壊損により出力シャフトが固定される可能性もある。スレッドが遠位位置にある場合にこれが起こると、エンドエフィクタの顎部は間に組織を挟んで閉じたままになり、したがって、顎部が開き、組織が解放される前に、スレッドを近位に移動させなければならない。このような場合において、モータを使用することなく、ラック1700は遠位に後退する必要がある。これらの所望の機能を有効にするために、本発明は手動解放アセンブリ1800を提供する。
図37乃至44、55および59乃至62の各々において、手動解放レバー1810は非作動(例えば下)位置にある。図45および57において、手動解放レバー1810は中間位置にある。図46、47、56、および58において、手動解放レバー1810は、完全に作動(例えば上)位置にある。
図44に見られるように、手動解放レバー1810が非作動位置にある場合、キャッスルギア1146は4段ピニオン1148に係合される。これによりモータ1520の出力ギア1522の回転が、ラック1700を動かす。しかしながら、4段ピニオン1148は5段入力ギア1154に直接接続されるだけではない。4段ピニオン1148は、1段解放ギア1820にも直接接続され、これが2段解放ギア1830に直接接続される。こうして、4段ピニオン1148の回転が、必然的に2段解放ギア1830を回転させる(その方向は、その間にあるギアの数による)。このギア1830の軸が手動解放レバー1810に直接接続される場合、レバー1810は4段ピニオン1148が回転する度に回転する。4段ピニオン1148が1回転以上回転すると、レバー1810は360度完全に回転することが可能である。予想されるように、手動解放レバー1810を2段解放ギア1830(以下の図48の説明を参照)に連結する一方向ギアアセンブリがあるため、これは起こらない。1段解放ギア1820は、そこから同軸上に延びる歯付軸1822を有することに注目されたい。この歯付軸1822はインジケータホイール1840に直接連結される。ホイール1840の右側面は、ホイール1840の軸の周りに直線的に延びる湾曲形状となっており、表面の残りの部分と異なる色を有する。右側シェル1002(図64乃至65を参照)にある窓1004に連結される場合、色の着いた形状は、完全な近位(すなわち後退した)位置から動いたラック1700の直線距離に対応する線形様式で、よりよく見えるようになる。
手動解放レバー1810を2段解放ギア1830に連結する一方向ギアアセンブリは、図48に示されている。このアセンブリは、レバー1810の回動点で中心付けされたラチェットギア1850を設け、当該ラチェットギア1850の軸1852を2段解放ギア1830の中心ボア1832の中を通って伸長させることによって形成される。このように軸1852を2段解放ギア1830のボア1832に固定すると、2段解放ギア1830の回転により、対応してラチェットギア1850が回転する。しかし、単にこのラチェットギア1850を2段解放ギア1830とともに回転させるだけでは、モータ1520がドライブトレインに電力を供給していない場合にラック1700の手動解放をアシストしない。
手動解放機能を作り出すには2つの要素がある。まず、右側ギアトレインを左側ギアトレインおよびモータから切り離す装置である。これにより、手動開放を作動させるときに、モータ1520および左側トレインのギアの双方によって生じる抵抗を乗り越えなくてもよくなる。この切り離しは、キャッスルギア1146が4段ピニオン1148から離れる場合に起こる。この切り離しを起こすために、カムプレート1860がラチェットギア1850と2段解放ギア1830のとの間に配置され、軸1852に回転固定される。カムプレート1860は、図52に示されている。カムプレート1860には、キャッスルギア1146の中央フランジ11468と相互作用するよう配置される傾斜カム面1862が設けられている。カムプレート1860と中央フランジ11468との相互作用は、図44乃至47および図57乃至58の工程で見られる。
図44では、手動解放レバー1810は非作動位置にあり、これはキャッスルギア1146が4段ピニオン1148に回転可能に接続されることが望まれることを意味する。この方法において、モータ1520の回転は、4段ピニオン1148の回転およびラック1700の動きに変換される。図45乃至47および57乃至58において、手動解放レバー1810は複数の作動位置のうちの1つにあり、これらはそれぞれ、カムプレート1860を回転させて、これにより傾斜したカム面1862がキャッスルギア1146の中央フランジ11468に接触し、十分にキャッスルギア1146を左側に押しやって胸壁11464が4段ピニオン1148の胸壁スロット11482から分離するよう図示されている。この位置において、キャッスルギア1146は、4段ピニオン1148から回転的に切り離されている。このように、モータ1520の回転(または左側トレインのギア)は右側ギアトレインから完全に独立し、こうしてモータ1520の回転によってラック1700が動かないようにしている。
右側ギアトレインが右側モータおよびギアトレインから回転可能に独立し、手動ラック解放機能を持つようになった後、ラック1700は近位方向に動く必要がある。この動きをもたらすために、第2の手動解放装置が設けられる。この第2の手動解放装置はラチェットギア1850の歯1832と相互作用し、手動解放レバー1810の反時計回りの回転が(装置1000の右側から見た場合)ラチェットギア1850を時計回りに回転させ(この向きは、この回転が5段ピニオン1156を時計回りに回転させるので、例示的な実施例で所望される)、これはラック1700の近位の動き(すなわち後退)に相当する回転である。ラチェットギア1850をこの時計回りのレバー1810の動きを用いて制御するために、本発明はレバー1810のロッキングボス1814に回転可能に取り付けられるラチェット爪1870を提供する。この構成は図48にうまく例示されている。図示しない板バネがレバー1810のスプリングチャネル1816に固定され、ラチェットギア1850に向かう方向Dに爪1870を付勢する。爪1870が何らかの方法で抑止されない場合、爪1870は常にラチェットギア1850の歯1852に接触し、本実施例においてキャッスルギア1146および4段ピニオン1148が互いに係合し(すなわち図44を参照)共に回転する場合に生じるギア1850の時計周りの回転を防ぐことに注目されたい。この状態を防ぐために図44および55に示されているように、爪1870の遠位端部は爪キャビティ1818から2段解放ギア1830へと伸長する拡大部1872を有する。2段解放ギア1830とカムプレート1870の間に第2のカムプレート1880があるため、爪カム1882を拡大部1872の底面に接触するよう配置して、レバー1810がホームまたは非作動位置にある場合に、(Dと反対向きで、板バネの付勢に反する力を提供することにより)爪1870を爪キャビティ1818に保持することができる。爪1870と爪カム1882間の接触は、図44および55に示されている。したがって、レバー1810が作動されない場合、爪1870はラチェットギア1850の歯1852と接触しない。これに対し、手動解放が4段ピニオン1148からラチェットギア1850を離すのに十分な位置を過ぎて回転した場合、爪1870の底面はもはや回転していないカムプレート1880の爪カム1882と接触せず、したがって、時計回りに回転する場合、(板バネの付勢力によって)Dの向きに自由に動いてラチェットギア1850の歯1852に係合する。このように、時計回りに回転する場合、爪1870は歯1852の上面に対して歯止めされる。
レバー1810を例えば約15度動かした後、爪1870は、もはや爪カム1882と接触せず、キャッスルギア1146の胸壁11464は、もはや4段ピニオン1148の胸壁スロット11482と係合しない。このポイントにおいて、爪1870は軸1852の方へ動くことができ、ラチェットギア1850の歯1852の1つと係合する。さらに、レバー1810の反時計回りの動きがラチェットギア1850を回転させ、これに応じて2段解放ギア1830が時計回りに回転する。順に、2段解放ギア1830の回転は1段解放ギア1820を時計回りに回転させ、4段ピニオン1148を反時計回りに回転させ、5段入力ギア1154を時計回りにそれぞれ回転させる。上述のように、5段入力ギア1154の時計回りの回転により、ラック1700の近位の動きが生じ、これはラック1700に接続されるエンドエフェクタ特性の手動解放において望まれる移動方向である。レバー1810が解放されると、戻りバイアス1890はレバー1810を非作動位置(図44を参照)に戻し、これにより爪カム1882が爪1870を、ラチェットギア1850の歯1852から外される爪キャビティ1818の上部位置に戻す。爪カム1882と拡大部1872の下面間の接触は、爪カム1882の各上部正面と上部後面および拡大部1872の底部正面と底部後面を成形することによりスムースになることに注目されたい。さらに、例えばコイルバネといった、戻りバイアス1890が図46、57、および58に示されており、その一端はレバー1810に固定されるボルト周りに巻かれ、反対の他端はシェル1001、1002の一部に固定されるシャフトであり、図63乃至66に示されている。コイルバネ1890の反対の軸は、描画プログラムの限界のため図のみで動く。この動きは本発明では生じない。
上述のように、本発明の装置1000のためのエンドエフェクタの一実施例は、その間に配置される組織上で閉じる一組の顎部と、切開される組織の2つの側部を互いに固定するステープラ/カッターとを具える。上記の手動解放はステープラ/カッターに取り付け可能であり、エンドエフェクタクロージングアセンブリ1400は、作動時に、顎部を一緒に閉じるために顎部に取り付け可能である。図59乃至60は、顎部とエンドエフェクタクロージングアセンブリ1400の取り付けの一実施例を図示する。ここで、エンドエフェクタクロージングアセンブリ1400はレバーサポート1412を有し、ハンドルピボット1414周りに回転するハンドル1410を具える。このレバーサポート1412はリンク1420の第1の端部に回転接続される。リンク1420の反対の第2の端部は、スライダシャフト1430に回転接続される。エンドエフェクタシャフトアセンブリ1900は外側シャフト1910と内側シャフト1920を具える。内側シャフト1910はフレーム1010、1020およびエンドエフェクタの下顎に縦に固定され、このため、エンドエフェクタに縦に固定された要素となる。外側シャフト1920は内側シャフト1910に連結され、そこで縦に動く。エンドエフェクタの上顎は下顎に関して回転する。回転させるために、外側シャフト1920は、図59に示されている近位位置から、図60に示されている遠位位置に伸長される。外側シャフト1920が内側シャフトを囲むので、一部分(例えば上部)が、上顎ピボットの近位位置である開口した上顎の近位端部に接触する。外側シャフト1920がさらに遠位に動くとき、上顎は固定ピボット位置のため遠位に動くことができないが、そのピボットの周りを回転可能である。したがって、上顎は、縦に固定された下の顎の上に閉じる。換言すると、図59乃至図60の工程で見られるように、ハンドル1410が電気アセンブリ1500に向かって動くと、スライダ1430は図59の近位位置から図60の遠位位置へと縦方向に動く。この従来技術の顎アセンブリは、Echelon EC60によって製造された線形ステープラに存在する。
エンドエフェクタシャフトアセンブリ1900のこの例示的な構成は、2007年8月24日に出願された米国特許出願番号第11/844,406号を含む同時係属中のファミリーに示されたエンドエフェクタの動作と反対であることに注目されたい。この出願に示されているように、図39および40では、下顎/ステープルカートリッジホルダ1030は隙間1031上を近位方向に動く際、上部アンビル1020の近位上端が縦に固定されたドラムスリーブ1040に対して押圧されるので、上部アンビル1020は下方に回転する。
上述のEchelon EC60といった従来の様々な従来技術の線形ステープラは、同じエンドエフェクタおよび軸を用いている。したがって、本発明の装置1000は、これら従来のエンドエフェクタアセンブリを内部に嵌合しうることが望ましい。このことは、例えば、図61乃至62に示されているような左右フレーム1010、1020を構成することにより達成される。これらのフレーム1010、1020は、図62に示されているような一側(上側)の開口で形成されている。この構成において、従来のエンドエフェクタシャフトアセンブリの内側シャフト1910の近位端部は、そこで内側シャフト1910(全アセンブリ)を縦に固定するように、各タブ1012、1022間に単に隣接させ、その方向を除いた全ての半径方向間で内側シャフト1910を横に固定し、内側シャフト1910がフレーム1010、1020間の開口に挿入される。この開口を閉じるために、シャフトプラグ1930は、例えば図61に示されているようなボルトを用いて、タブ1012、1022間に固定される。別の代替的な実施例において、シャフトプラグ1930は、左右のフレーム1010、1020の遠位端部を伸長させることにより完全に無視され、それらを一緒に設けて二枚貝のデザインに形成し、内側シャフト1910周りに固定する。
上記の説明や添付の図面は、本発明の原理と、好適な実施例と、動作モードとを示す。より具体的には、本発明の最適化された電源、モータ、およびドライブトレインは、手術用ステープラに関して説明されている。しかしながら、本発明は上述した具体的な実施例に限定されると解釈されてはならない。当業者であれば、上述した実施例のさらなる変更を理解することができ、電力または出力電流が制限された電池で短く限られた時間だけ大きな電力または出力電流を必要とする手術デバイス以外の応用例も同様である。図示し説明したように、本発明の最適化によれば、限られた電源で、例えば82kg以上のおよその重量を持ち上げ、押し、引き、引きずり、引き戻し、または他の種類の力を供給することができる。
上述した実施例は、説明のためであって限定するものではない。したがって、当業者であれば添付のクレームに規定された本発明の範囲を逸脱することなく、これらの実施例の変形例を理解することができる。

Claims (19)

  1. 電気駆動式の手術器具であって:
    作動時、外科処置を行うために操作可能な作動アセンブリを有する手術用エンドエフェクタを具え、前記作動アセンブリの一部は、開始位置と十分に作動した位置との間を動くよう動作可能であり;
    前記作動アセンブリを作動させるために前記エンドエフェクタに接続されるハンドルを具え、前記ハンドルが:
    前記ハンドル内に全体が配置される自立型の電源と;
    前記ハンドル内に全体が配置された駆動アセンブリであって:
    電気的に駆動されるモータと;
    前記電源と前記モータとに電気的に接続され、前記モータを選択的に作動させるコントローラとを有する駆動アセンブリと;
    前記モータを前記可動部分に機械的に接続し、前記モータが動作すると、前記可動部分を前記開始位置と十分に伸長した位置の間のどこかに、選択的に配置するよう操作可能な変速機と;
    前記変速機に機械的に接続され、前記変速機を選択的に中断させ、この中断中に、前記モータの動作から独立して、前記可動部分を前記開始位置の方へ配置する手動解放と、を有することを特徴とする手術器具。
  2. 請求項1に記載の器具において:
    前記手術用エンドエフェクタは、手術用線形ステープルエンドカッタであって;
    前記可動部分は、少なくともステープル作動および組織切開スライドを含むことを特徴とする器具。
  3. 請求項2に記載の器具において、前記駆動アセンブリと前記変速機は、前記エンドカッタのステープル切開機能を作動させるよう操作可能であることを特徴とする器具。
  4. 請求項1に記載の器具において、前記電源は、少なくとも1のバッテリを含む取り外し可能なバッテリパックであることを特徴とする器具。
  5. 請求項4に記載の器具において、前記電源は4乃至6のCR123またはCR2のパワーセルの直列接続であることを特徴とする器具。
  6. 請求項1に記載の器具において、前記コントローラは、前記スイッチが第1の状態にあるとき、前記モータを順方向に回転させ、前記スイッチが第2の状態にあるとき、前記モータを逆方向に回転させるよう操作可能なマルチステートスイッチを含むことを特徴とする器具。
  7. 請求項1に記載の器具において、前記変速機は、モータドライブ側と作動ドライブ側とを有し、前記手動解放はその間に連結されることを特徴とする器具。
  8. 請求項1に記載の器具において、前記手動解放は、前記変速機内に機械的に配置されることを特徴とする器具。
  9. 請求項7に記載の器具において:
    前記モータドライブ側は、最終ギアを含む一連の回転減少ギアを有し;
    前記作動ドライブ側は:
    少なくとも1のギアと;
    前記少なくとも1のギアに連結され、前記可動部分の少なくとも一部に直接連結されるラックアンドピニオンアセンブリとを有し;
    前記手動解放は、前記少なくとも1のギアと前記最終ギアとの間に機械的に連結されることを特徴とする器具。
  10. 請求項9に記載の器具において:
    前記モータは出力ギアを有し;
    前記一連のギアは、前記出力ギアに連結される第1段を有することを特徴とする器具。
  11. 請求項10に記載の器具において:
    前記一連のギアは、第1、第2および第3段と、前記モータドライブ側から前記作動ドライブ側にわたるシャフトを有するクロスオーバギアとを具え;
    前記クロスオーバギアは、前記第3段に連結されることを特徴とする器具。
  12. 請求項9に記載の器具において:
    前記一連のギアは、前記モータドライブ側から前記作動ドライブ側にわたるクロスオーバシャフトを有するクロスオーバギアを有し;
    前記クロスオーバギアは、前記一連のギアに連結され;
    キャッスルギアが、前記クロスオーバシャフトの周りに回転可能に連結固定され、その上を長手方向に移動可能であり、前記キャッスルギアは、前記作動ドライブ側の方へ伸長する胸壁を有し;
    前記作動ドライブ側の少なくとも1のギアは、前記胸壁と合致するよう形成される胸壁スロットを有する第1のピニオンを含み;
    バイアス装置が、前記クロスオーバギアと前記キャッスルギアとの間に配置され、前記作動ドライブ側の方へ前記キャッスルギアにバイアスを付与し、前記キャッスルギアの前記第1のピニオンへの選択的な係合を可能にし、これにより、係合時、前記シャフトの回転で前記第1のピニオンを回転させ;
    前記手動解放は、前記バイアスを越える反力を前記キャッスルギアに提供し、前記手動解放が少なくとも部分的に作動すると、前記第1のピニオンから前記キャッスルギアを解放するよう形成され、配置された解放部分を有することを特徴とする器具。
  13. 請求項12に記載の器具において、前記作動駆動側の少なくとも1のギアは、第2のピニオン段を具え、この第2のピニオン段が:
    第2のピニオンシャフトと;
    前記第1のピニオンに連結され、前記第2のピニオンシャフトに回転可能に取り付けられる第2のピニオンギアと;
    前記第2のピニオンシャフトに回転可能に取り付けられる第3のピニオンとを有し、前記第3のピニオンは、前記ラックアンドピニオンアセンブリのピニオンであって、回転時、そのラックを長手方向に動かすことを特徴とする器具。
  14. 請求項12に記載の器具において、前記手動解放は:
    前記解放部分が、前記バイアスより小さい反力を前記キャッスルギアに提供している休止状態と;
    前記解放部分が、前記バイアスより大きい反力を前記キャッスルギアに提供し、前記胸壁を前記胸壁スロットの外へ動かす第1の部分作動状態と;
    前記手動解放が、前記ピニオンを回転させ、前記ラックを退避方向へ長手方向に動かす第2の部分作動状態とを有することを特徴とする器具。
  15. 請求項12に記載の器具において:
    前記作動ドライブ側の少なくとも1のギアは、少なくとも1の解放ギアを具え;
    前記第1のピニオンは、前記少なくとも1の解放ギアに直接接続され、回転時、前記少なくとも1の解放ギアを回転させることを特徴とする器具。
  16. 請求項12に記載の器具において:
    前記作動ドライブ側の少なくとも1のギアは、第1段および第2段の解放ギアを具え;
    前記第1のピニオンは、前記第1段の解放ギアに直接接続され、回転時、前記第1および第2の解放ギアを回転させることを特徴とする器具。
  17. 請求項15に記載の器具において:
    前記手動解放は、手動解放レバーを具え、この手動解放レバーが:
    前記ハンドルに回転可能に接続され;
    一方向ラチェットアセンブリを有し;
    前記少なくとも1の解放ギアが、前記ラチェットアセンブリに直接接続されるシャフトを有し、前記レバーが少なくとも部分的に作動されると、前記レバーに対応して回転し、前記レバーが作動されないと、前記レバーとは独立して回転することを特徴とする器具。
  18. 手術器具を操作する方法であって:
    ハンドル内にその全体が配置される自立型の電源を有する手術器具の変速機に、手動解放を機械的に連結させるステップであって、前記変速機は、前記ハンドル内の電気的に駆動されたモータの動作を、前記ハンドルに連結される手術用エンドエフェクタの一部分の動作に変換し、前記一部分は、開始位置と十分に作動した位置の間のどこかに動くよう操作可能であるステップと;
    前記手動解放を用いて、前記変速機を選択的に中断させ、この部分をモータの動作と独立して、前記開始位置の方へ動かすステップとを具えることを特徴とする器具。
  19. 手術器具を操作する方法であって:
    手術器具ハンドルの遠位端に手術用エンドエフェクタを設けるステップであって、前記エンドエフェクタは、作動時、外科処置を行うよう操作可能な作動アセンブリを有し、前記作動アセンブリは、開始位置と十分に作動された位置の間を動くよう操作可能な部分を有するステップと;
    ハンドル内に全体が配置される自立型の電源と、電気的に駆動されたモータとを配置し、コントローラを用いて前記モータを選択的に操作するためにモータコントローラを前記モータと前記電源とに連結するステップと;
    前記モータが操作された場合に、前記開始位置と十分に伸長した位置との間のどこかに可動部分を選択的に配置するよう操作可能な変速機を介して、前記モータを前記可動部分に機械的に連結するステップと;
    前記変速機を選択的に中断させ、この中断中に、モータ動作と独立して、前記可動部分を前記開始位置の方へ配置するステップを含むことを特徴とする器具。
JP2010528199A 2007-10-04 2008-10-04 手動解放付電気自己駆動式手術器具 Active JP5524066B2 (ja)

Applications Claiming Priority (5)

Application Number Priority Date Filing Date Title
US97748907P 2007-10-04 2007-10-04
US60/977,489 2007-10-04
US12/245,017 US7959050B2 (en) 2005-07-26 2008-10-03 Electrically self-powered surgical instrument with manual release
US12/245,017 2008-10-03
PCT/US2008/078876 WO2009046394A1 (en) 2007-10-04 2008-10-04 Electrically self-powered surgical instrument with manual release

Related Child Applications (1)

Application Number Title Priority Date Filing Date
JP2014008906A Division JP5854293B2 (ja) 2007-10-04 2014-01-21 手動解放付電気自己駆動式手術器具

Publications (2)

Publication Number Publication Date
JP2010540192A true JP2010540192A (ja) 2010-12-24
JP5524066B2 JP5524066B2 (ja) 2014-06-18

Family

ID=40526717

Family Applications (6)

Application Number Title Priority Date Filing Date
JP2010528199A Active JP5524066B2 (ja) 2007-10-04 2008-10-04 手動解放付電気自己駆動式手術器具
JP2014008906A Active JP5854293B2 (ja) 2007-10-04 2014-01-21 手動解放付電気自己駆動式手術器具
JP2015229267A Active JP6067827B2 (ja) 2007-10-04 2015-11-25 手動解放付電気自己駆動式手術器具
JP2016247411A Active JP6336023B2 (ja) 2007-10-04 2016-12-21 手動解放付電気自己駆動式手術器具
JP2018087958A Active JP6510706B2 (ja) 2007-10-04 2018-05-01 手動解放付電気自己駆動式手術器具
JP2019071753A Active JP6841861B2 (ja) 2007-10-04 2019-04-04 手動解放付電気自己駆動式手術器具

Family Applications After (5)

Application Number Title Priority Date Filing Date
JP2014008906A Active JP5854293B2 (ja) 2007-10-04 2014-01-21 手動解放付電気自己駆動式手術器具
JP2015229267A Active JP6067827B2 (ja) 2007-10-04 2015-11-25 手動解放付電気自己駆動式手術器具
JP2016247411A Active JP6336023B2 (ja) 2007-10-04 2016-12-21 手動解放付電気自己駆動式手術器具
JP2018087958A Active JP6510706B2 (ja) 2007-10-04 2018-05-01 手動解放付電気自己駆動式手術器具
JP2019071753A Active JP6841861B2 (ja) 2007-10-04 2019-04-04 手動解放付電気自己駆動式手術器具

Country Status (8)

Country Link
US (2) US7959050B2 (ja)
EP (3) EP2197361B1 (ja)
JP (6) JP5524066B2 (ja)
CN (2) CN103908314B (ja)
AU (1) AU2008308496B2 (ja)
BR (1) BRPI0817866B8 (ja)
CA (3) CA2925484C (ja)
WO (1) WO2009046394A1 (ja)

Cited By (211)

* Cited by examiner, † Cited by third party
Publication number Priority date Publication date Assignee Title
JP2013034832A (ja) * 2011-08-04 2013-02-21 Olympus Corp 手術器具およびその制御方法
JP2013543390A (ja) * 2010-09-17 2013-12-05 エシコン・エンド−サージェリィ・インコーポレイテッド 外科用器具及び外科用器具のための電池
JP2015037551A (ja) * 2013-08-16 2015-02-26 コヴィディエン リミテッド パートナーシップ 再使用可能な外科手術器具のためのチップアセンブリ
JP2015527711A (ja) * 2012-08-29 2015-09-17 ジャイラス・エーシーエムアイ・インコーポレーテッド 破壊式バッテリークロージャ
US9282962B2 (en) 2010-09-30 2016-03-15 Ethicon Endo-Surgery, Llc Adhesive film laminate
US9289206B2 (en) 2007-03-15 2016-03-22 Ethicon Endo-Surgery, Llc Lateral securement members for surgical staple cartridges
US9301753B2 (en) 2010-09-30 2016-04-05 Ethicon Endo-Surgery, Llc Expandable tissue thickness compensator
US9307986B2 (en) 2013-03-01 2016-04-12 Ethicon Endo-Surgery, Llc Surgical instrument soft stop
US9320520B2 (en) 2006-01-31 2016-04-26 Ethicon Endo-Surgery, Inc. Surgical instrument system
US9326769B2 (en) 2006-01-31 2016-05-03 Ethicon Endo-Surgery, Llc Surgical instrument
US9326768B2 (en) 2005-08-31 2016-05-03 Ethicon Endo-Surgery, Llc Staple cartridges for forming staples having differing formed staple heights
US9332984B2 (en) 2013-03-27 2016-05-10 Ethicon Endo-Surgery, Llc Fastener cartridge assemblies
US9332987B2 (en) 2013-03-14 2016-05-10 Ethicon Endo-Surgery, Llc Control arrangements for a drive member of a surgical instrument
US9332974B2 (en) 2010-09-30 2016-05-10 Ethicon Endo-Surgery, Llc Layered tissue thickness compensator
US9345481B2 (en) 2013-03-13 2016-05-24 Ethicon Endo-Surgery, Llc Staple cartridge tissue thickness sensor system
US9351730B2 (en) 2011-04-29 2016-05-31 Ethicon Endo-Surgery, Llc Tissue thickness compensator comprising channels
US9358005B2 (en) 2010-09-30 2016-06-07 Ethicon Endo-Surgery, Llc End effector layer including holding features
US9364230B2 (en) 2012-06-28 2016-06-14 Ethicon Endo-Surgery, Llc Surgical stapling instruments with rotary joint assemblies
US9364233B2 (en) 2010-09-30 2016-06-14 Ethicon Endo-Surgery, Llc Tissue thickness compensators for circular surgical staplers
US9370364B2 (en) 2008-10-10 2016-06-21 Ethicon Endo-Surgery, Llc Powered surgical cutting and stapling apparatus with manually retractable firing system
US9370358B2 (en) 2006-01-31 2016-06-21 Ethicon Endo-Surgery, Llc Motor-driven surgical cutting and fastening instrument with tactile position feedback
US9386985B2 (en) 2012-10-15 2016-07-12 Ethicon Endo-Surgery, Llc Surgical cutting instrument
US9393015B2 (en) 2009-02-06 2016-07-19 Ethicon Endo-Surgery, Llc Motor driven surgical fastener device with cutting member reversing mechanism
US9408604B2 (en) 2006-09-29 2016-08-09 Ethicon Endo-Surgery, Llc Surgical instrument comprising a firing system including a compliant portion
US9445813B2 (en) 2013-08-23 2016-09-20 Ethicon Endo-Surgery, Llc Closure indicator systems for surgical instruments
JP2016530062A (ja) * 2013-09-23 2016-09-29 エシコン・エンド−サージェリィ・エルエルシーEthicon Endo−Surgery, LLC トグル機能を有する駆動組立体を備える外科用ステープル留め器具
JP2016530948A (ja) * 2013-08-23 2016-10-06 エシコン・エンド−サージェリィ・エルエルシーEthicon Endo−Surgery, LLC 動力付き外科用器具のための発射部材後退装置
US9480476B2 (en) 2010-09-30 2016-11-01 Ethicon Endo-Surgery, Llc Tissue thickness compensator comprising resilient members
US9486214B2 (en) 2009-02-06 2016-11-08 Ethicon Endo-Surgery, Llc Motor driven surgical fastener device with switching system configured to prevent firing initiation until activated
US9492167B2 (en) 2006-03-23 2016-11-15 Ethicon Endo-Surgery, Llc Articulatable surgical device with rotary driven cutting member
US9498219B2 (en) 2008-02-14 2016-11-22 Ethicon Endo-Surgery, Llc Detachable motor powered surgical instrument
US9522029B2 (en) 2008-02-14 2016-12-20 Ethicon Endo-Surgery, Llc Motorized surgical cutting and fastening instrument having handle based power source
US9549735B2 (en) 2013-12-23 2017-01-24 Ethicon Endo-Surgery, Llc Fastener cartridge comprising a firing member including fastener transfer surfaces
US9561032B2 (en) 2005-08-31 2017-02-07 Ethicon Endo-Surgery, Llc Staple cartridge comprising a staple driver arrangement
US9572577B2 (en) 2013-03-27 2017-02-21 Ethicon Endo-Surgery, Llc Fastener cartridge comprising a tissue thickness compensator including openings therein
US9574644B2 (en) 2013-05-30 2017-02-21 Ethicon Endo-Surgery, Llc Power module for use with a surgical instrument
US9585658B2 (en) 2007-06-04 2017-03-07 Ethicon Endo-Surgery, Llc Stapling systems
US9585657B2 (en) 2008-02-15 2017-03-07 Ethicon Endo-Surgery, Llc Actuator for releasing a layer of material from a surgical end effector
US9585660B2 (en) 2010-01-07 2017-03-07 Ethicon Endo-Surgery, Llc Method for testing a surgical tool
US9585663B2 (en) 2004-07-28 2017-03-07 Ethicon Endo-Surgery, Llc Surgical stapling instrument configured to apply a compressive pressure to tissue
US9592053B2 (en) 2010-09-30 2017-03-14 Ethicon Endo-Surgery, Llc Staple cartridge comprising multiple regions
US9592052B2 (en) 2005-08-31 2017-03-14 Ethicon Endo-Surgery, Llc Stapling assembly for forming different formed staple heights
US9592054B2 (en) 2011-09-23 2017-03-14 Ethicon Endo-Surgery, Llc Surgical stapler with stationary staple drivers
US9597075B2 (en) 2010-07-30 2017-03-21 Ethicon Endo-Surgery, Inc. Tissue acquisition arrangements and methods for surgical stapling devices
US9603598B2 (en) 2007-01-11 2017-03-28 Ethicon Endo-Surgery, Llc Surgical stapling device with a curved end effector
US9603991B2 (en) 2004-07-28 2017-03-28 Ethicon Endo-Surgery, Llc Surgical stapling instrument having a medical substance dispenser
US9629814B2 (en) 2010-09-30 2017-04-25 Ethicon Endo-Surgery, Llc Tissue thickness compensator configured to redistribute compressive forces
US9629629B2 (en) 2013-03-14 2017-04-25 Ethicon Endo-Surgey, LLC Control systems for surgical instruments
US9642620B2 (en) 2013-12-23 2017-05-09 Ethicon Endo-Surgery, Llc Surgical cutting and stapling instruments with articulatable end effectors
US9649110B2 (en) 2013-04-16 2017-05-16 Ethicon Llc Surgical instrument comprising a closing drive and a firing drive operated from the same rotatable output
US9655614B2 (en) 2008-09-23 2017-05-23 Ethicon Endo-Surgery, Llc Robotically-controlled motorized surgical instrument with an end effector
US9662110B2 (en) 2007-06-22 2017-05-30 Ethicon Endo-Surgery, Llc Surgical stapling instrument with an articulatable end effector
JP2017513560A (ja) * 2014-03-26 2017-06-01 エシコン・エンド−サージェリィ・エルエルシーEthicon Endo−Surgery, LLC 外科用器具の手動脱出システムのフィードバックアルゴリズム
US9681870B2 (en) 2013-12-23 2017-06-20 Ethicon Llc Articulatable surgical instruments with separate and distinct closing and firing systems
US9690362B2 (en) 2014-03-26 2017-06-27 Ethicon Llc Surgical instrument control circuit having a safety processor
US9692036B2 (en) 2012-08-29 2017-06-27 Gyrus Acmi, Inc. Destructive battery closure
US9687236B2 (en) 2010-10-01 2017-06-27 Ethicon Endo-Surgery, Inc. Surgical instrument having a power control circuit
US9687237B2 (en) 2011-09-23 2017-06-27 Ethicon Endo-Surgery, Llc Staple cartridge including collapsible deck arrangement
US9687231B2 (en) 2008-02-13 2017-06-27 Ethicon Llc Surgical stapling instrument
US9693777B2 (en) 2014-02-24 2017-07-04 Ethicon Llc Implantable layers comprising a pressed region
US9724094B2 (en) 2014-09-05 2017-08-08 Ethicon Llc Adjunct with integrated sensors to quantify tissue compression
US9724098B2 (en) 2012-03-28 2017-08-08 Ethicon Endo-Surgery, Llc Staple cartridge comprising an implantable layer
US9724092B2 (en) 2013-12-23 2017-08-08 Ethicon Llc Modular surgical instruments
US9730697B2 (en) 2012-02-13 2017-08-15 Ethicon Endo-Surgery, Llc Surgical cutting and fastening instrument with apparatus for determining cartridge and firing motion status
US9743929B2 (en) 2014-03-26 2017-08-29 Ethicon Llc Modular powered surgical instrument with detachable shaft assemblies
US9757123B2 (en) 2007-01-10 2017-09-12 Ethicon Llc Powered surgical instrument having a transmission system
US9775614B2 (en) 2011-05-27 2017-10-03 Ethicon Endo-Surgery, Llc Surgical stapling instruments with rotatable staple deployment arrangements
US9795382B2 (en) 2005-08-31 2017-10-24 Ethicon Llc Fastener cartridge assembly comprising a cam and driver arrangement
US9795384B2 (en) 2013-03-27 2017-10-24 Ethicon Llc Fastener cartridge comprising a tissue thickness compensator and a gap setting element
US9801628B2 (en) 2014-09-26 2017-10-31 Ethicon Llc Surgical staple and driver arrangements for staple cartridges
US9808246B2 (en) 2015-03-06 2017-11-07 Ethicon Endo-Surgery, Llc Method of operating a powered surgical instrument
US9814462B2 (en) 2010-09-30 2017-11-14 Ethicon Llc Assembly for fastening tissue comprising a compressible layer
US9820738B2 (en) 2014-03-26 2017-11-21 Ethicon Llc Surgical instrument comprising interactive systems
US9826978B2 (en) 2010-09-30 2017-11-28 Ethicon Llc End effectors with same side closure and firing motions
US9833242B2 (en) 2010-09-30 2017-12-05 Ethicon Endo-Surgery, Llc Tissue thickness compensators
US9833241B2 (en) 2014-04-16 2017-12-05 Ethicon Llc Surgical fastener cartridges with driver stabilizing arrangements
US9839429B2 (en) 2008-02-15 2017-12-12 Ethicon Endo-Surgery, Llc Stapling system comprising a lockout
US9839427B2 (en) 2005-08-31 2017-12-12 Ethicon Llc Fastener cartridge assembly comprising a fixed anvil and a staple driver arrangement
US9839428B2 (en) 2013-12-23 2017-12-12 Ethicon Llc Surgical cutting and stapling instruments with independent jaw control features
US9844375B2 (en) 2014-12-18 2017-12-19 Ethicon Llc Drive arrangements for articulatable surgical instruments
US9844374B2 (en) 2014-12-18 2017-12-19 Ethicon Llc Surgical instrument systems comprising an articulatable end effector and means for adjusting the firing stroke of a firing member
US9844376B2 (en) 2014-11-06 2017-12-19 Ethicon Llc Staple cartridge comprising a releasable adjunct material
US9861359B2 (en) 2006-01-31 2018-01-09 Ethicon Llc Powered surgical instruments with firing system lockout arrangements
US9867618B2 (en) 2008-02-14 2018-01-16 Ethicon Llc Surgical stapling apparatus including firing force regulation
US9895148B2 (en) 2015-03-06 2018-02-20 Ethicon Endo-Surgery, Llc Monitoring speed control and precision incrementing of motor for powered surgical instruments
US9895147B2 (en) 2005-11-09 2018-02-20 Ethicon Llc End effectors for surgical staplers
US9901342B2 (en) 2015-03-06 2018-02-27 Ethicon Endo-Surgery, Llc Signal and power communication system positioned on a rotatable shaft
US9907620B2 (en) 2012-06-28 2018-03-06 Ethicon Endo-Surgery, Llc Surgical end effectors having angled tissue-contacting surfaces
US9913648B2 (en) 2011-05-27 2018-03-13 Ethicon Endo-Surgery, Llc Surgical system
US9913642B2 (en) 2014-03-26 2018-03-13 Ethicon Llc Surgical instrument comprising a sensor system
US9918704B2 (en) 2011-03-14 2018-03-20 Ethicon Llc Surgical instrument
US9924944B2 (en) 2014-10-16 2018-03-27 Ethicon Llc Staple cartridge comprising an adjunct material
US9924961B2 (en) 2015-03-06 2018-03-27 Ethicon Endo-Surgery, Llc Interactive feedback system for powered surgical instruments
US9931118B2 (en) 2015-02-27 2018-04-03 Ethicon Endo-Surgery, Llc Reinforced battery for a surgical instrument
US9943309B2 (en) 2014-12-18 2018-04-17 Ethicon Llc Surgical instruments with articulatable end effectors and movable firing beam support arrangements
US9962161B2 (en) 2014-02-12 2018-05-08 Ethicon Llc Deliverable surgical instrument
US9962158B2 (en) 2008-02-14 2018-05-08 Ethicon Llc Surgical stapling apparatuses with lockable end effector positioning systems
US9987000B2 (en) 2014-12-18 2018-06-05 Ethicon Llc Surgical instrument assembly comprising a flexible articulation system
US9993248B2 (en) 2015-03-06 2018-06-12 Ethicon Endo-Surgery, Llc Smart sensors with local signal processing
US9993258B2 (en) 2015-02-27 2018-06-12 Ethicon Llc Adaptable surgical instrument handle
US10004498B2 (en) 2006-01-31 2018-06-26 Ethicon Llc Surgical instrument comprising a plurality of articulation joints
US10028744B2 (en) 2015-08-26 2018-07-24 Ethicon Llc Staple cartridge assembly including staple guides
US10039529B2 (en) 2010-09-17 2018-08-07 Ethicon Llc Power control arrangements for surgical instruments and batteries
US10045781B2 (en) 2014-06-13 2018-08-14 Ethicon Llc Closure lockout systems for surgical instruments
US10045776B2 (en) 2015-03-06 2018-08-14 Ethicon Llc Control techniques and sub-processor contained within modular shaft with select control processing from handle
US10052044B2 (en) 2015-03-06 2018-08-21 Ethicon Llc Time dependent evaluation of sensor data to determine stability, creep, and viscoelastic elements of measures
US10052102B2 (en) 2015-06-18 2018-08-21 Ethicon Llc Surgical end effectors with dual cam actuated jaw closing features
US10058963B2 (en) 2006-01-31 2018-08-28 Ethicon Llc Automated end effector component reloading system for use with a robotic system
US10064688B2 (en) 2006-03-23 2018-09-04 Ethicon Llc Surgical system with selectively articulatable end effector
US10064621B2 (en) 2012-06-15 2018-09-04 Ethicon Llc Articulatable surgical instrument comprising a firing drive
US10076325B2 (en) 2014-10-13 2018-09-18 Ethicon Llc Surgical stapling apparatus comprising a tissue stop
US10076326B2 (en) 2015-09-23 2018-09-18 Ethicon Llc Surgical stapler having current mirror-based motor control
US10085748B2 (en) 2014-12-18 2018-10-02 Ethicon Llc Locking arrangements for detachable shaft assemblies with articulatable surgical end effectors
US10085751B2 (en) 2015-09-23 2018-10-02 Ethicon Llc Surgical stapler having temperature-based motor control
US10105139B2 (en) 2015-09-23 2018-10-23 Ethicon Llc Surgical stapler having downstream current-based motor control
US10117649B2 (en) 2014-12-18 2018-11-06 Ethicon Llc Surgical instrument assembly comprising a lockable articulation system
US10172620B2 (en) 2015-09-30 2019-01-08 Ethicon Llc Compressible adjuncts with bonding nodes
US10172619B2 (en) 2015-09-02 2019-01-08 Ethicon Llc Surgical staple driver arrays
US10180463B2 (en) 2015-02-27 2019-01-15 Ethicon Llc Surgical apparatus configured to assess whether a performance parameter of the surgical apparatus is within an acceptable performance band
US10188385B2 (en) 2014-12-18 2019-01-29 Ethicon Llc Surgical instrument system comprising lockable systems
US10206676B2 (en) 2008-02-14 2019-02-19 Ethicon Llc Surgical cutting and fastening instrument
US10211586B2 (en) 2017-06-28 2019-02-19 Ethicon Llc Surgical shaft assemblies with watertight housings
US10213201B2 (en) 2015-03-31 2019-02-26 Ethicon Llc Stapling end effector configured to compensate for an uneven gap between a first jaw and a second jaw
US10226249B2 (en) 2013-03-01 2019-03-12 Ethicon Llc Articulatable surgical instruments with conductive pathways for signal communication
US10238386B2 (en) 2015-09-23 2019-03-26 Ethicon Llc Surgical stapler having motor control based on an electrical parameter related to a motor current
US10245029B2 (en) 2016-02-09 2019-04-02 Ethicon Llc Surgical instrument with articulating and axially translatable end effector
US10245033B2 (en) 2015-03-06 2019-04-02 Ethicon Llc Surgical instrument comprising a lockable battery housing
US10258336B2 (en) 2008-09-19 2019-04-16 Ethicon Llc Stapling system configured to produce different formed staple heights
US10258331B2 (en) 2016-02-12 2019-04-16 Ethicon Llc Mechanisms for compensating for drivetrain failure in powered surgical instruments
US10258418B2 (en) 2017-06-29 2019-04-16 Ethicon Llc System for controlling articulation forces
US10265068B2 (en) 2015-12-30 2019-04-23 Ethicon Llc Surgical instruments with separable motors and motor control circuits
US10271851B2 (en) 2016-04-01 2019-04-30 Ethicon Llc Modular surgical stapling system comprising a display
US10271849B2 (en) 2015-09-30 2019-04-30 Ethicon Llc Woven constructs with interlocked standing fibers
US10278780B2 (en) 2007-01-10 2019-05-07 Ethicon Llc Surgical instrument for use with robotic system
USD847989S1 (en) 2016-06-24 2019-05-07 Ethicon Llc Surgical fastener cartridge
US10285705B2 (en) 2016-04-01 2019-05-14 Ethicon Llc Surgical stapling system comprising a grooved forming pocket
US10292704B2 (en) 2015-12-30 2019-05-21 Ethicon Llc Mechanisms for compensating for battery pack failure in powered surgical instruments
US10299878B2 (en) 2015-09-25 2019-05-28 Ethicon Llc Implantable adjunct systems for determining adjunct skew
JP2019513471A (ja) * 2016-04-12 2019-05-30 アプライド メディカル リソーシーズ コーポレイション 電動ハンドル付き外科用ステープラ
US10307159B2 (en) 2016-04-01 2019-06-04 Ethicon Llc Surgical instrument handle assembly with reconfigurable grip portion
USD850617S1 (en) 2016-06-24 2019-06-04 Ethicon Llc Surgical fastener cartridge
US10307170B2 (en) 2017-06-20 2019-06-04 Ethicon Llc Method for closed loop control of motor velocity of a surgical stapling and cutting instrument
US10314589B2 (en) 2006-06-27 2019-06-11 Ethicon Llc Surgical instrument including a shifting assembly
USD851762S1 (en) 2017-06-28 2019-06-18 Ethicon Llc Anvil
US10327769B2 (en) 2015-09-23 2019-06-25 Ethicon Llc Surgical stapler having motor control based on a drive system component
US10327767B2 (en) 2017-06-20 2019-06-25 Ethicon Llc Control of motor velocity of a surgical stapling and cutting instrument based on angle of articulation
US10335145B2 (en) 2016-04-15 2019-07-02 Ethicon Llc Modular surgical instrument with configurable operating mode
USD854151S1 (en) 2017-06-28 2019-07-16 Ethicon Llc Surgical instrument shaft
US10357247B2 (en) 2016-04-15 2019-07-23 Ethicon Llc Surgical instrument with multiple program responses during a firing motion
US10363037B2 (en) 2016-04-18 2019-07-30 Ethicon Llc Surgical instrument system comprising a magnetic lockout
US10363036B2 (en) 2015-09-23 2019-07-30 Ethicon Llc Surgical stapler having force-based motor control
US10368864B2 (en) 2017-06-20 2019-08-06 Ethicon Llc Systems and methods for controlling displaying motor velocity for a surgical instrument
US10368865B2 (en) 2015-12-30 2019-08-06 Ethicon Llc Mechanisms for compensating for drivetrain failure in powered surgical instruments
US10390841B2 (en) 2017-06-20 2019-08-27 Ethicon Llc Control of motor velocity of a surgical stapling and cutting instrument based on angle of articulation
US10398433B2 (en) 2007-03-28 2019-09-03 Ethicon Llc Laparoscopic clamp load measuring devices
US10398434B2 (en) 2017-06-29 2019-09-03 Ethicon Llc Closed loop velocity control of closure member for robotic surgical instrument
US10405859B2 (en) 2016-04-15 2019-09-10 Ethicon Llc Surgical instrument with adjustable stop/start control during a firing motion
US10413294B2 (en) 2012-06-28 2019-09-17 Ethicon Llc Shaft assembly arrangements for surgical instruments
US10420549B2 (en) 2008-09-23 2019-09-24 Ethicon Llc Motorized surgical instrument
US10426467B2 (en) 2016-04-15 2019-10-01 Ethicon Llc Surgical instrument with detection sensors
US10426471B2 (en) 2016-12-21 2019-10-01 Ethicon Llc Surgical instrument with multiple failure response modes
US10426463B2 (en) 2006-01-31 2019-10-01 Ehticon LLC Surgical instrument having a feedback system
US10426481B2 (en) 2014-02-24 2019-10-01 Ethicon Llc Implantable layer assemblies
US10441285B2 (en) 2012-03-28 2019-10-15 Ethicon Llc Tissue thickness compensator comprising tissue ingrowth features
US10448950B2 (en) 2016-12-21 2019-10-22 Ethicon Llc Surgical staplers with independently actuatable closing and firing systems
US10448948B2 (en) 2016-02-12 2019-10-22 Ethicon Llc Mechanisms for compensating for drivetrain failure in powered surgical instruments
US10456137B2 (en) 2016-04-15 2019-10-29 Ethicon Llc Staple formation detection mechanisms
US10463370B2 (en) 2008-02-14 2019-11-05 Ethicon Llc Motorized surgical instrument
US10485536B2 (en) 2010-09-30 2019-11-26 Ethicon Llc Tissue stapler having an anti-microbial agent
US10492785B2 (en) 2016-12-21 2019-12-03 Ethicon Llc Shaft assembly comprising a lockout
US10499890B2 (en) 2006-01-31 2019-12-10 Ethicon Llc Endoscopic surgical instrument with a handle that can articulate with respect to the shaft
US10517594B2 (en) 2014-10-29 2019-12-31 Ethicon Llc Cartridge assemblies for surgical staplers
US10517596B2 (en) 2016-12-21 2019-12-31 Ethicon Llc Articulatable surgical instruments with articulation stroke amplification features
US10517590B2 (en) 2007-01-10 2019-12-31 Ethicon Llc Powered surgical instrument having a transmission system
US10542979B2 (en) 2016-06-24 2020-01-28 Ethicon Llc Stamped staples and staple cartridges using the same
US10568625B2 (en) 2016-12-21 2020-02-25 Ethicon Llc Staple cartridges and arrangements of staples and staple cavities therein
US10568652B2 (en) 2006-09-29 2020-02-25 Ethicon Llc Surgical staples having attached drivers of different heights and stapling instruments for deploying the same
US10575868B2 (en) 2013-03-01 2020-03-03 Ethicon Llc Surgical instrument with coupler assembly
US10617412B2 (en) 2015-03-06 2020-04-14 Ethicon Llc System for detecting the mis-insertion of a staple cartridge into a surgical stapler
US10660640B2 (en) 2008-02-14 2020-05-26 Ethicon Llc Motorized surgical cutting and fastening instrument
US10675035B2 (en) 2010-09-09 2020-06-09 Ethicon Llc Surgical stapling head assembly with firing lockout for a surgical stapler
US10687806B2 (en) 2015-03-06 2020-06-23 Ethicon Llc Adaptive tissue compression techniques to adjust closure rates for multiple tissue types
US10695053B2 (en) 2006-09-29 2020-06-30 Ethicon Llc Surgical end effectors with staple cartridges
US10716614B2 (en) 2017-06-28 2020-07-21 Ethicon Llc Surgical shaft assemblies with slip ring assemblies with increased contact pressure
US10736636B2 (en) 2014-12-10 2020-08-11 Ethicon Llc Articulatable surgical instrument system
US10736628B2 (en) 2008-09-23 2020-08-11 Ethicon Llc Motor-driven surgical cutting instrument
US10758233B2 (en) 2009-02-05 2020-09-01 Ethicon Llc Articulatable surgical instrument comprising a firing drive
US10765429B2 (en) 2017-09-29 2020-09-08 Ethicon Llc Systems and methods for providing alerts according to the operational state of a surgical instrument
US10796471B2 (en) 2017-09-29 2020-10-06 Ethicon Llc Systems and methods of displaying a knife position for a surgical instrument
US10811816B2 (en) 2013-08-16 2020-10-20 Covidien Lp Chip assembly for reusable surgical instruments
US10828028B2 (en) 2016-04-15 2020-11-10 Ethicon Llc Surgical instrument with multiple program responses during a firing motion
US10835249B2 (en) 2015-08-17 2020-11-17 Ethicon Llc Implantable layers for a surgical instrument
US10856868B2 (en) 2016-12-21 2020-12-08 Ethicon Llc Firing member pin configurations
US10881396B2 (en) 2017-06-20 2021-01-05 Ethicon Llc Surgical instrument with variable duration trigger arrangement
US10945727B2 (en) 2016-12-21 2021-03-16 Ethicon Llc Staple cartridge with deformable driver retention features
US10973516B2 (en) 2016-12-21 2021-04-13 Ethicon Llc Surgical end effectors and adaptable firing members therefor
US10980539B2 (en) 2015-09-30 2021-04-20 Ethicon Llc Implantable adjunct comprising bonded layers
US11039836B2 (en) 2007-01-11 2021-06-22 Cilag Gmbh International Staple cartridge for use with a surgical stapling instrument
US11141153B2 (en) 2014-10-29 2021-10-12 Cilag Gmbh International Staple cartridges comprising driver arrangements
US11179150B2 (en) 2016-04-15 2021-11-23 Cilag Gmbh International Systems and methods for controlling a surgical stapling and cutting instrument
US11213293B2 (en) 2016-02-09 2022-01-04 Cilag Gmbh International Articulatable surgical instruments with single articulation link arrangements
US11224426B2 (en) 2016-02-12 2022-01-18 Cilag Gmbh International Mechanisms for compensating for drivetrain failure in powered surgical instruments
US11272927B2 (en) 2008-02-15 2022-03-15 Cilag Gmbh International Layer arrangements for surgical staple cartridges
US11284890B2 (en) 2016-04-01 2022-03-29 Cilag Gmbh International Circular stapling system comprising an incisable tissue support
JP2022538615A (ja) * 2019-06-28 2022-09-05 シラグ・ゲーエムベーハー・インターナショナル 適切なアンビル取り付け外科用ステープル留めヘッドアセンブリのための機構
US11517325B2 (en) 2017-06-20 2022-12-06 Cilag Gmbh International Closed loop feedback control of motor velocity of a surgical stapling and cutting instrument based on measured displacement distance traveled over a specified time interval
JP2022553596A (ja) * 2019-07-31 2022-12-26 コヴィディエン リミテッド パートナーシップ 手持ち電気機械式手術器具
US11564686B2 (en) 2017-06-28 2023-01-31 Cilag Gmbh International Surgical shaft assemblies with flexible interfaces
US11622766B2 (en) 2012-06-28 2023-04-11 Cilag Gmbh International Empty clip cartridge lockout
US12161328B2 (en) 2016-06-24 2024-12-10 Cilag Gmbh International Staple cartridge comprising wire staples and stamped staples
US12433590B2 (en) 2016-06-24 2025-10-07 Cilag Gmbh International Stapling system for use with wire staples and stamped staples

Families Citing this family (820)

* Cited by examiner, † Cited by third party
Publication number Priority date Publication date Assignee Title
US11229472B2 (en) 2001-06-12 2022-01-25 Cilag Gmbh International Modular battery powered handheld surgical instrument with multiple magnetic position sensors
US10041822B2 (en) 2007-10-05 2018-08-07 Covidien Lp Methods to shorten calibration times for powered devices
US9113880B2 (en) 2007-10-05 2015-08-25 Covidien Lp Internal backbone structural chassis for a surgical device
US8182501B2 (en) 2004-02-27 2012-05-22 Ethicon Endo-Surgery, Inc. Ultrasonic surgical shears and method for sealing a blood vessel using same
US11998198B2 (en) 2004-07-28 2024-06-04 Cilag Gmbh International Surgical stapling instrument incorporating a two-piece E-beam firing mechanism
US8905977B2 (en) 2004-07-28 2014-12-09 Ethicon Endo-Surgery, Inc. Surgical stapling instrument having an electroactive polymer actuated medical substance dispenser
US11896225B2 (en) 2004-07-28 2024-02-13 Cilag Gmbh International Staple cartridge comprising a pan
BRPI0518171B8 (pt) 2004-10-08 2021-06-22 Ethicon Endo Surgery Inc aparelho coagulador de pinça ultra-sônico
US8573462B2 (en) 2006-05-19 2013-11-05 Ethicon Endo-Surgery, Inc. Electrical surgical instrument with optimized power supply and drive
US8627995B2 (en) * 2006-05-19 2014-01-14 Ethicon Endo-Sugery, Inc. Electrically self-powered surgical instrument with cryptographic identification of interchangeable part
US7959050B2 (en) * 2005-07-26 2011-06-14 Ethicon Endo-Surgery, Inc Electrically self-powered surgical instrument with manual release
US7479608B2 (en) 2006-05-19 2009-01-20 Ethicon Endo-Surgery, Inc. Force switch
US8579176B2 (en) 2005-07-26 2013-11-12 Ethicon Endo-Surgery, Inc. Surgical stapling and cutting device and method for using the device
US11751873B2 (en) * 2005-07-26 2023-09-12 Cilag Gmbh International Electrically powered surgical instrument with manual release
US10314583B2 (en) 2005-07-26 2019-06-11 Ethicon Llc Electrically self-powered surgical instrument with manual release
US11484312B2 (en) 2005-08-31 2022-11-01 Cilag Gmbh International Staple cartridge comprising a staple driver arrangement
US11246590B2 (en) 2005-08-31 2022-02-15 Cilag Gmbh International Staple cartridge including staple drivers having different unfired heights
US8800838B2 (en) 2005-08-31 2014-08-12 Ethicon Endo-Surgery, Inc. Robotically-controlled cable-based surgical end effectors
US20070191713A1 (en) 2005-10-14 2007-08-16 Eichmann Stephen E Ultrasonic device for cutting and coagulating
US7621930B2 (en) 2006-01-20 2009-11-24 Ethicon Endo-Surgery, Inc. Ultrasound medical instrument having a medical ultrasonic blade
US11793518B2 (en) 2006-01-31 2023-10-24 Cilag Gmbh International Powered surgical instruments with firing system lockout arrangements
US20110024477A1 (en) 2009-02-06 2011-02-03 Hall Steven G Driven Surgical Stapler Improvements
US11224427B2 (en) 2006-01-31 2022-01-18 Cilag Gmbh International Surgical stapling system including a console and retraction assembly
US8763879B2 (en) 2006-01-31 2014-07-01 Ethicon Endo-Surgery, Inc. Accessing data stored in a memory of surgical instrument
US8161977B2 (en) 2006-01-31 2012-04-24 Ethicon Endo-Surgery, Inc. Accessing data stored in a memory of a surgical instrument
US11278279B2 (en) 2006-01-31 2022-03-22 Cilag Gmbh International Surgical instrument assembly
US7552854B2 (en) 2006-05-19 2009-06-30 Applied Medical Resources Corporation Surgical stapler with firing lock mechanism
US7740159B2 (en) 2006-08-02 2010-06-22 Ethicon Endo-Surgery, Inc. Pneumatically powered surgical cutting and fastening instrument with a variable control of the actuating rate of firing with mechanical power assist
US11980366B2 (en) 2006-10-03 2024-05-14 Cilag Gmbh International Surgical instrument
US11291441B2 (en) 2007-01-10 2022-04-05 Cilag Gmbh International Surgical instrument with wireless communication between control unit and remote sensor
US7954682B2 (en) * 2007-01-10 2011-06-07 Ethicon Endo-Surgery, Inc. Surgical instrument with elements to communicate between control unit and end effector
US8459520B2 (en) 2007-01-10 2013-06-11 Ethicon Endo-Surgery, Inc. Surgical instrument with wireless communication between control unit and remote sensor
US8142461B2 (en) 2007-03-22 2012-03-27 Ethicon Endo-Surgery, Inc. Surgical instruments
US8911460B2 (en) 2007-03-22 2014-12-16 Ethicon Endo-Surgery, Inc. Ultrasonic surgical instruments
US20080234709A1 (en) 2007-03-22 2008-09-25 Houser Kevin L Ultrasonic surgical instrument and cartilage and bone shaping blades therefor
US8226675B2 (en) 2007-03-22 2012-07-24 Ethicon Endo-Surgery, Inc. Surgical instruments
US8057498B2 (en) 2007-11-30 2011-11-15 Ethicon Endo-Surgery, Inc. Ultrasonic surgical instrument blades
US8157145B2 (en) 2007-05-31 2012-04-17 Ethicon Endo-Surgery, Inc. Pneumatically powered surgical cutting and fastening instrument with electrical feedback
US7832408B2 (en) 2007-06-04 2010-11-16 Ethicon Endo-Surgery, Inc. Surgical instrument having a directional switching mechanism
US11857181B2 (en) 2007-06-04 2024-01-02 Cilag Gmbh International Robotically-controlled shaft based rotary drive systems for surgical instruments
US7905380B2 (en) 2007-06-04 2011-03-15 Ethicon Endo-Surgery, Inc. Surgical instrument having a multiple rate directional switching mechanism
US8534528B2 (en) 2007-06-04 2013-09-17 Ethicon Endo-Surgery, Inc. Surgical instrument having a multiple rate directional switching mechanism
US7753245B2 (en) 2007-06-22 2010-07-13 Ethicon Endo-Surgery, Inc. Surgical stapling instruments
US11849941B2 (en) 2007-06-29 2023-12-26 Cilag Gmbh International Staple cartridge having staple cavities extending at a transverse angle relative to a longitudinal cartridge axis
US20090025982A1 (en) * 2007-07-26 2009-01-29 Hall David R Stabilizer Assembly
US8523889B2 (en) 2007-07-27 2013-09-03 Ethicon Endo-Surgery, Inc. Ultrasonic end effectors with increased active length
US8882791B2 (en) 2007-07-27 2014-11-11 Ethicon Endo-Surgery, Inc. Ultrasonic surgical instruments
US8348967B2 (en) 2007-07-27 2013-01-08 Ethicon Endo-Surgery, Inc. Ultrasonic surgical instruments
US8808319B2 (en) 2007-07-27 2014-08-19 Ethicon Endo-Surgery, Inc. Surgical instruments
US8512365B2 (en) 2007-07-31 2013-08-20 Ethicon Endo-Surgery, Inc. Surgical instruments
US8252012B2 (en) 2007-07-31 2012-08-28 Ethicon Endo-Surgery, Inc. Ultrasonic surgical instrument with modulator
US9044261B2 (en) 2007-07-31 2015-06-02 Ethicon Endo-Surgery, Inc. Temperature controlled ultrasonic surgical instruments
US8430898B2 (en) 2007-07-31 2013-04-30 Ethicon Endo-Surgery, Inc. Ultrasonic surgical instruments
US20110022032A1 (en) * 2007-10-05 2011-01-27 Tyco Healthcare Group Lp Battery ejection design for a surgical device
US8012170B2 (en) 2009-04-27 2011-09-06 Tyco Healthcare Group Lp Device and method for controlling compression of tissue
US10271844B2 (en) * 2009-04-27 2019-04-30 Covidien Lp Surgical stapling apparatus employing a predictive stapling algorithm
US8960520B2 (en) * 2007-10-05 2015-02-24 Covidien Lp Method and apparatus for determining parameters of linear motion in a surgical instrument
US8623027B2 (en) 2007-10-05 2014-01-07 Ethicon Endo-Surgery, Inc. Ergonomic surgical instruments
US8967443B2 (en) * 2007-10-05 2015-03-03 Covidien Lp Method and apparatus for determining parameters of linear motion in a surgical instrument
US7901423B2 (en) * 2007-11-30 2011-03-08 Ethicon Endo-Surgery, Inc. Folded ultrasonic end effectors with increased active length
US10010339B2 (en) 2007-11-30 2018-07-03 Ethicon Llc Ultrasonic surgical blades
US8540133B2 (en) 2008-09-19 2013-09-24 Ethicon Endo-Surgery, Inc. Staple cartridge
US7766209B2 (en) 2008-02-13 2010-08-03 Ethicon Endo-Surgery, Inc. Surgical stapling instrument with improved firing trigger arrangement
US8453908B2 (en) 2008-02-13 2013-06-04 Ethicon Endo-Surgery, Inc. Surgical stapling instrument with improved firing trigger arrangement
US8348129B2 (en) 2009-10-09 2013-01-08 Ethicon Endo-Surgery, Inc. Surgical stapler having a closure mechanism
US8758391B2 (en) 2008-02-14 2014-06-24 Ethicon Endo-Surgery, Inc. Interchangeable tools for surgical instruments
US11986183B2 (en) 2008-02-14 2024-05-21 Cilag Gmbh International Surgical cutting and fastening instrument comprising a plurality of sensors to measure an electrical parameter
US8622274B2 (en) 2008-02-14 2014-01-07 Ethicon Endo-Surgery, Inc. Motorized cutting and fastening instrument having control circuit for optimizing battery usage
US7793812B2 (en) 2008-02-14 2010-09-14 Ethicon Endo-Surgery, Inc. Disposable motor-driven loading unit for use with a surgical cutting and stapling apparatus
US8584919B2 (en) 2008-02-14 2013-11-19 Ethicon Endo-Sugery, Inc. Surgical stapling apparatus with load-sensitive firing mechanism
US8459525B2 (en) 2008-02-14 2013-06-11 Ethicon Endo-Sugery, Inc. Motorized surgical cutting and fastening instrument having a magnetic drive train torque limiting device
US8752749B2 (en) 2008-02-14 2014-06-17 Ethicon Endo-Surgery, Inc. Robotically-controlled disposable motor-driven loading unit
US8608044B2 (en) 2008-02-15 2013-12-17 Ethicon Endo-Surgery, Inc. Feedback and lockout mechanism for surgical instrument
US20090206142A1 (en) * 2008-02-15 2009-08-20 Ethicon Endo-Surgery, Inc. Buttress material for a surgical stapling instrument
US7980443B2 (en) 2008-02-15 2011-07-19 Ethicon Endo-Surgery, Inc. End effectors for a surgical cutting and stapling instrument
US9089360B2 (en) 2008-08-06 2015-07-28 Ethicon Endo-Surgery, Inc. Devices and techniques for cutting and coagulating tissue
US8058771B2 (en) 2008-08-06 2011-11-15 Ethicon Endo-Surgery, Inc. Ultrasonic device for cutting and coagulating with stepped output
US8083120B2 (en) * 2008-09-18 2011-12-27 Ethicon Endo-Surgery, Inc. End effector for use with a surgical cutting and stapling instrument
US20100069942A1 (en) * 2008-09-18 2010-03-18 Ethicon Endo-Surgery, Inc. Surgical instrument with apparatus for measuring elapsed time between actions
PL3476312T3 (pl) 2008-09-19 2024-03-11 Ethicon Llc Stapler chirurgiczny z urządzeniem do dopasowania wysokości zszywek
US9050083B2 (en) 2008-09-23 2015-06-09 Ethicon Endo-Surgery, Inc. Motorized surgical instrument
US11648005B2 (en) 2008-09-23 2023-05-16 Cilag Gmbh International Robotically-controlled motorized surgical instrument with an end effector
US8231042B2 (en) 2008-11-06 2012-07-31 Tyco Healthcare Group Lp Surgical stapler
US8281974B2 (en) 2009-01-14 2012-10-09 Tyco Healthcare, Group LP Surgical stapler with suture locator
US8414577B2 (en) 2009-02-05 2013-04-09 Ethicon Endo-Surgery, Inc. Surgical instruments and components for use in sterile environments
US8397971B2 (en) 2009-02-05 2013-03-19 Ethicon Endo-Surgery, Inc. Sterilizable surgical instrument
US8485413B2 (en) 2009-02-05 2013-07-16 Ethicon Endo-Surgery, Inc. Surgical stapling instrument comprising an articulation joint
BRPI1008667A2 (pt) * 2009-02-06 2016-03-08 Ethicom Endo Surgery Inc aperfeiçoamento do grampeador cirúrgico acionado
US8066167B2 (en) * 2009-03-23 2011-11-29 Ethicon Endo-Surgery, Inc. Circular surgical stapling instrument with anvil locking system
US9700339B2 (en) 2009-05-20 2017-07-11 Ethicon Endo-Surgery, Inc. Coupling arrangements and methods for attaching tools to ultrasonic surgical instruments
US8319400B2 (en) 2009-06-24 2012-11-27 Ethicon Endo-Surgery, Inc. Ultrasonic surgical instruments
US8146790B2 (en) 2009-07-11 2012-04-03 Tyco Healthcare Group Lp Surgical instrument with safety mechanism
US9017326B2 (en) 2009-07-15 2015-04-28 Ethicon Endo-Surgery, Inc. Impedance monitoring apparatus, system, and method for ultrasonic surgical instruments
US8663220B2 (en) 2009-07-15 2014-03-04 Ethicon Endo-Surgery, Inc. Ultrasonic surgical instruments
US8461744B2 (en) 2009-07-15 2013-06-11 Ethicon Endo-Surgery, Inc. Rotating transducer mount for ultrasonic surgical instruments
US10441345B2 (en) 2009-10-09 2019-10-15 Ethicon Llc Surgical generator for ultrasonic and electrosurgical devices
US10172669B2 (en) 2009-10-09 2019-01-08 Ethicon Llc Surgical instrument comprising an energy trigger lockout
US9060775B2 (en) 2009-10-09 2015-06-23 Ethicon Endo-Surgery, Inc. Surgical generator for ultrasonic and electrosurgical devices
US11090104B2 (en) 2009-10-09 2021-08-17 Cilag Gmbh International Surgical generator for ultrasonic and electrosurgical devices
USRE47996E1 (en) 2009-10-09 2020-05-19 Ethicon Llc Surgical generator for ultrasonic and electrosurgical devices
US9168054B2 (en) 2009-10-09 2015-10-27 Ethicon Endo-Surgery, Inc. Surgical generator for ultrasonic and electrosurgical devices
US8899466B2 (en) 2009-11-19 2014-12-02 Ethicon Endo-Surgery, Inc. Devices and methods for introducing a surgical circular stapling instrument into a patient
US8136712B2 (en) 2009-12-10 2012-03-20 Ethicon Endo-Surgery, Inc. Surgical stapler with discrete staple height adjustment and tactile feedback
US8220688B2 (en) * 2009-12-24 2012-07-17 Ethicon Endo-Surgery, Inc. Motor-driven surgical cutting instrument with electric actuator directional control assembly
US8851354B2 (en) 2009-12-24 2014-10-07 Ethicon Endo-Surgery, Inc. Surgical cutting instrument that analyzes tissue thickness
US8267300B2 (en) 2009-12-30 2012-09-18 Ethicon Endo-Surgery, Inc. Dampening device for endoscopic surgical stapler
US8419759B2 (en) 2010-02-11 2013-04-16 Ethicon Endo-Surgery, Inc. Ultrasonic surgical instrument with comb-like tissue trimming device
US8951272B2 (en) 2010-02-11 2015-02-10 Ethicon Endo-Surgery, Inc. Seal arrangements for ultrasonically powered surgical instruments
US8486096B2 (en) 2010-02-11 2013-07-16 Ethicon Endo-Surgery, Inc. Dual purpose surgical instrument for cutting and coagulating tissue
US8323302B2 (en) 2010-02-11 2012-12-04 Ethicon Endo-Surgery, Inc. Methods of using ultrasonically powered surgical instruments with rotatable cutting implements
US8961547B2 (en) 2010-02-11 2015-02-24 Ethicon Endo-Surgery, Inc. Ultrasonic surgical instruments with moving cutting implement
US8382782B2 (en) 2010-02-11 2013-02-26 Ethicon Endo-Surgery, Inc. Ultrasonic surgical instruments with partially rotating blade and fixed pad arrangement
US9259234B2 (en) 2010-02-11 2016-02-16 Ethicon Endo-Surgery, Llc Ultrasonic surgical instruments with rotatable blade and hollow sheath arrangements
US8531064B2 (en) 2010-02-11 2013-09-10 Ethicon Endo-Surgery, Inc. Ultrasonically powered surgical instruments with rotating cutting implement
US8579928B2 (en) 2010-02-11 2013-11-12 Ethicon Endo-Surgery, Inc. Outer sheath and blade arrangements for ultrasonic surgical instruments
US8469981B2 (en) 2010-02-11 2013-06-25 Ethicon Endo-Surgery, Inc. Rotatable cutting implement arrangements for ultrasonic surgical instruments
GB2480498A (en) 2010-05-21 2011-11-23 Ethicon Endo Surgery Inc Medical device comprising RF circuitry
US8795327B2 (en) 2010-07-22 2014-08-05 Ethicon Endo-Surgery, Inc. Electrosurgical instrument with separate closure and cutting members
US9192431B2 (en) 2010-07-23 2015-11-24 Ethicon Endo-Surgery, Inc. Electrosurgical cutting and sealing instrument
US20120029272A1 (en) 2010-07-30 2012-02-02 Shelton Iv Frederick E Apparatus and methods for protecting adjacent structures during the insertion of a surgical instrument into a tubular organ
US8789740B2 (en) 2010-07-30 2014-07-29 Ethicon Endo-Surgery, Inc. Linear cutting and stapling device with selectively disengageable cutting member
US20120078244A1 (en) 2010-09-24 2012-03-29 Worrell Barry C Control features for articulating surgical device
US8733613B2 (en) 2010-09-29 2014-05-27 Ethicon Endo-Surgery, Inc. Staple cartridge
US11298125B2 (en) 2010-09-30 2022-04-12 Cilag Gmbh International Tissue stapler having a thickness compensator
US11812965B2 (en) 2010-09-30 2023-11-14 Cilag Gmbh International Layer of material for a surgical end effector
US12213666B2 (en) 2010-09-30 2025-02-04 Cilag Gmbh International Tissue thickness compensator comprising layers
US10945731B2 (en) 2010-09-30 2021-03-16 Ethicon Llc Tissue thickness compensator comprising controlled release and expansion
US9314246B2 (en) 2010-09-30 2016-04-19 Ethicon Endo-Surgery, Llc Tissue stapler having a thickness compensator incorporating an anti-inflammatory agent
US8474677B2 (en) 2010-09-30 2013-07-02 Ethicon Endo-Surgery, Inc. Fastener system comprising a retention matrix and a cover
US9307989B2 (en) 2012-03-28 2016-04-12 Ethicon Endo-Surgery, Llc Tissue stapler having a thickness compensator incorportating a hydrophobic agent
US11925354B2 (en) 2010-09-30 2024-03-12 Cilag Gmbh International Staple cartridge comprising staples positioned within a compressible portion thereof
US8893949B2 (en) 2010-09-30 2014-11-25 Ethicon Endo-Surgery, Inc. Surgical stapler with floating anvil
US9301752B2 (en) 2010-09-30 2016-04-05 Ethicon Endo-Surgery, Llc Tissue thickness compensator comprising a plurality of capsules
US9597143B2 (en) 2010-11-05 2017-03-21 Ethicon Endo-Surgery, Llc Sterile medical instrument charging device
US9089338B2 (en) 2010-11-05 2015-07-28 Ethicon Endo-Surgery, Inc. Medical device packaging with window for insertion of reusable component
US9421062B2 (en) 2010-11-05 2016-08-23 Ethicon Endo-Surgery, Llc Surgical instrument shaft with resiliently biased coupling to handpiece
US9000720B2 (en) 2010-11-05 2015-04-07 Ethicon Endo-Surgery, Inc. Medical device packaging with charging interface
US9017849B2 (en) 2010-11-05 2015-04-28 Ethicon Endo-Surgery, Inc. Power source management for medical device
US9017851B2 (en) 2010-11-05 2015-04-28 Ethicon Endo-Surgery, Inc. Sterile housing for non-sterile medical device component
US9375255B2 (en) 2010-11-05 2016-06-28 Ethicon Endo-Surgery, Llc Surgical instrument handpiece with resiliently biased coupling to modular shaft and end effector
US9381058B2 (en) 2010-11-05 2016-07-05 Ethicon Endo-Surgery, Llc Recharge system for medical devices
US9782214B2 (en) 2010-11-05 2017-10-10 Ethicon Llc Surgical instrument with sensor and powered control
US9247986B2 (en) 2010-11-05 2016-02-02 Ethicon Endo-Surgery, Llc Surgical instrument with ultrasonic transducer having integral switches
US9011471B2 (en) 2010-11-05 2015-04-21 Ethicon Endo-Surgery, Inc. Surgical instrument with pivoting coupling to modular shaft and end effector
US20120116265A1 (en) 2010-11-05 2012-05-10 Houser Kevin L Surgical instrument with charging devices
US9510895B2 (en) 2010-11-05 2016-12-06 Ethicon Endo-Surgery, Llc Surgical instrument with modular shaft and end effector
US9039720B2 (en) 2010-11-05 2015-05-26 Ethicon Endo-Surgery, Inc. Surgical instrument with ratcheting rotatable shaft
US9782215B2 (en) 2010-11-05 2017-10-10 Ethicon Endo-Surgery, Llc Surgical instrument with ultrasonic transducer having integral switches
US10660695B2 (en) 2010-11-05 2020-05-26 Ethicon Llc Sterile medical instrument charging device
US10085792B2 (en) 2010-11-05 2018-10-02 Ethicon Llc Surgical instrument with motorized attachment feature
US9649150B2 (en) 2010-11-05 2017-05-16 Ethicon Endo-Surgery, Llc Selective activation of electronic components in medical device
US9072523B2 (en) 2010-11-05 2015-07-07 Ethicon Endo-Surgery, Inc. Medical device with feature for sterile acceptance of non-sterile reusable component
US20120116381A1 (en) 2010-11-05 2012-05-10 Houser Kevin L Surgical instrument with charging station and wireless communication
US9161803B2 (en) 2010-11-05 2015-10-20 Ethicon Endo-Surgery, Inc. Motor driven electrosurgical device with mechanical and electrical feedback
US10881448B2 (en) 2010-11-05 2021-01-05 Ethicon Llc Cam driven coupling between ultrasonic transducer and waveguide in surgical instrument
US9526921B2 (en) * 2010-11-05 2016-12-27 Ethicon Endo-Surgery, Llc User feedback through end effector of surgical instrument
US10959769B2 (en) 2010-11-05 2021-03-30 Ethicon Llc Surgical instrument with slip ring assembly to power ultrasonic transducer
JP2012130980A (ja) * 2010-12-21 2012-07-12 Makita Corp コードレス電動工具
US20120211542A1 (en) 2011-02-23 2012-08-23 Tyco Healthcare Group I.P Controlled tissue compression systems and methods
US8800841B2 (en) 2011-03-15 2014-08-12 Ethicon Endo-Surgery, Inc. Surgical staple cartridges
US8926598B2 (en) 2011-03-15 2015-01-06 Ethicon Endo-Surgery, Inc. Surgical instruments with articulatable and rotatable end effector
US9044229B2 (en) 2011-03-15 2015-06-02 Ethicon Endo-Surgery, Inc. Surgical fastener instruments
US8968293B2 (en) 2011-04-12 2015-03-03 Covidien Lp Systems and methods for calibrating power measurements in an electrosurgical generator
US9566048B1 (en) 2011-04-26 2017-02-14 Cardica, Inc. Surgical instrument with discrete cammed articulation
US9474527B1 (en) * 2011-04-26 2016-10-25 Bryan D. Knodel Surgical instrument with discrete articulation
US11207064B2 (en) 2011-05-27 2021-12-28 Cilag Gmbh International Automated end effector component reloading system for use with a robotic system
JP6038901B2 (ja) * 2011-05-31 2016-12-07 インテュイティブ サージカル オペレーションズ, インコーポレイテッド 検出された故障状態のための制御を有する手術器具
US9364288B2 (en) 2011-07-06 2016-06-14 Ethicon Endo-Surgery, Llc Sterile battery containment
US9259265B2 (en) 2011-07-22 2016-02-16 Ethicon Endo-Surgery, Llc Surgical instruments for tensioning tissue
JP6005950B2 (ja) 2011-08-04 2016-10-12 オリンパス株式会社 手術支援装置及びその制御方法
JP6000641B2 (ja) 2011-08-04 2016-10-05 オリンパス株式会社 マニピュレータシステム
JP6081061B2 (ja) 2011-08-04 2017-02-15 オリンパス株式会社 手術支援装置
JP5936914B2 (ja) 2011-08-04 2016-06-22 オリンパス株式会社 操作入力装置およびこれを備えるマニピュレータシステム
JP6009840B2 (ja) 2011-08-04 2016-10-19 オリンパス株式会社 医療機器
WO2013018861A1 (ja) 2011-08-04 2013-02-07 オリンパス株式会社 医療用マニピュレータおよびその制御方法
JP6021484B2 (ja) 2011-08-04 2016-11-09 オリンパス株式会社 医療用マニピュレータ
WO2013018908A1 (ja) 2011-08-04 2013-02-07 オリンパス株式会社 医療用マニピュレータおよび手術支援装置
JP5953058B2 (ja) 2011-08-04 2016-07-13 オリンパス株式会社 手術支援装置およびその着脱方法
US9161772B2 (en) 2011-08-04 2015-10-20 Olympus Corporation Surgical instrument and medical manipulator
JP6021353B2 (ja) 2011-08-04 2016-11-09 オリンパス株式会社 手術支援装置
JP5931497B2 (ja) 2011-08-04 2016-06-08 オリンパス株式会社 手術支援装置およびその組立方法
USD700966S1 (en) 2011-08-23 2014-03-11 Covidien Ag Portable surgical device
US8956342B1 (en) * 2011-09-01 2015-02-17 Microaire Surgical Instruments Llc Method and device for ergonomically and ambidextrously operable surgical device
US8789739B2 (en) 2011-09-06 2014-07-29 Ethicon Endo-Surgery, Inc. Continuous stapling instrument
US9050125B2 (en) 2011-10-10 2015-06-09 Ethicon Endo-Surgery, Inc. Ultrasonic surgical instrument with modular end effector
US8734476B2 (en) 2011-10-13 2014-05-27 Ethicon Endo-Surgery, Inc. Coupling for slip ring assembly and ultrasonic transducer in surgical instrument
US8708212B2 (en) 2011-10-18 2014-04-29 Covidien Lp Tilt top anvil with torsion spring
USD687549S1 (en) 2011-10-24 2013-08-06 Ethicon Endo-Surgery, Inc. Surgical instrument
US9414880B2 (en) 2011-10-24 2016-08-16 Ethicon Endo-Surgery, Llc User interface in a battery powered device
US9016547B2 (en) 2011-10-26 2015-04-28 Covidien Lp EEA tilt top anvil with ratchet/locking mechanism
AU2015201050B2 (en) * 2011-10-27 2016-06-09 Covidien Lp System and method of using simulation reload to optimize staple formation
US9364231B2 (en) * 2011-10-27 2016-06-14 Covidien Lp System and method of using simulation reload to optimize staple formation
US9168042B2 (en) 2012-01-12 2015-10-27 Covidien Lp Circular stapling instruments
US9010605B2 (en) 2012-01-12 2015-04-21 Covidien Lp Sliding sleeve for circular stapling instrument reloads
DE102012100308A1 (de) * 2012-01-13 2013-07-18 Technische Universität Berlin Vorrichtung zum Applizieren eines Wirkstoffes auf oder in ein organisches Gewebe und Verfahren
US9038882B2 (en) 2012-02-03 2015-05-26 Covidien Lp Circular stapling instrument
JP6165780B2 (ja) 2012-02-10 2017-07-19 エシコン・エンド−サージェリィ・インコーポレイテッドEthicon Endo−Surgery,Inc. ロボット制御式の手術器具
US9022274B2 (en) 2012-02-15 2015-05-05 Covidien Lp Circular stapler with increased lumen diameter
US9078653B2 (en) 2012-03-26 2015-07-14 Ethicon Endo-Surgery, Inc. Surgical stapling device with lockout system for preventing actuation in the absence of an installed staple cartridge
US9198662B2 (en) 2012-03-28 2015-12-01 Ethicon Endo-Surgery, Inc. Tissue thickness compensator having improved visibility
MX358135B (es) 2012-03-28 2018-08-06 Ethicon Endo Surgery Inc Compensador de grosor de tejido que comprende una pluralidad de capas.
US9439668B2 (en) 2012-04-09 2016-09-13 Ethicon Endo-Surgery, Llc Switch arrangements for ultrasonic surgical instruments
US9724118B2 (en) 2012-04-09 2017-08-08 Ethicon Endo-Surgery, Llc Techniques for cutting and coagulating tissue for ultrasonic surgical instruments
US9237921B2 (en) 2012-04-09 2016-01-19 Ethicon Endo-Surgery, Inc. Devices and techniques for cutting and coagulating tissue
US9226766B2 (en) 2012-04-09 2016-01-05 Ethicon Endo-Surgery, Inc. Serial communication protocol for medical device
US9241731B2 (en) 2012-04-09 2016-01-26 Ethicon Endo-Surgery, Inc. Rotatable electrical connection for ultrasonic surgical instruments
US9186141B2 (en) 2012-04-12 2015-11-17 Covidien Lp Circular anastomosis stapling apparatus utilizing a two stroke firing sequence
US9351734B2 (en) 2012-06-19 2016-05-31 Covidien Lp Spring loaded anvil retainer
US9119657B2 (en) 2012-06-28 2015-09-01 Ethicon Endo-Surgery, Inc. Rotary actuatable closure arrangement for surgical end effector
US11197671B2 (en) 2012-06-28 2021-12-14 Cilag Gmbh International Stapling assembly comprising a lockout
US20140005705A1 (en) 2012-06-29 2014-01-02 Ethicon Endo-Surgery, Inc. Surgical instruments with articulating shafts
US9028494B2 (en) 2012-06-28 2015-05-12 Ethicon Endo-Surgery, Inc. Interchangeable end effector coupling arrangement
US9101385B2 (en) 2012-06-28 2015-08-11 Ethicon Endo-Surgery, Inc. Electrode connections for rotary driven surgical tools
US8747238B2 (en) 2012-06-28 2014-06-10 Ethicon Endo-Surgery, Inc. Rotary drive shaft assemblies for surgical instruments with articulatable end effectors
EP2866686A1 (en) 2012-06-28 2015-05-06 Ethicon Endo-Surgery, Inc. Empty clip cartridge lockout
US9125662B2 (en) 2012-06-28 2015-09-08 Ethicon Endo-Surgery, Inc. Multi-axis articulating and rotating surgical tools
BR112014032776B1 (pt) 2012-06-28 2021-09-08 Ethicon Endo-Surgery, Inc Sistema de instrumento cirúrgico e kit cirúrgico para uso com um sistema de instrumento cirúrgico
US20140005718A1 (en) 2012-06-28 2014-01-02 Ethicon Endo-Surgery, Inc. Multi-functional powered surgical device with external dissection features
US12383267B2 (en) 2012-06-28 2025-08-12 Cilag Gmbh International Robotically powered surgical device with manually-actuatable reversing system
US9561038B2 (en) 2012-06-28 2017-02-07 Ethicon Endo-Surgery, Llc Interchangeable clip applier
US9072536B2 (en) 2012-06-28 2015-07-07 Ethicon Endo-Surgery, Inc. Differential locking arrangements for rotary powered surgical instruments
US9198714B2 (en) 2012-06-29 2015-12-01 Ethicon Endo-Surgery, Inc. Haptic feedback devices for surgical robot
US20140005702A1 (en) 2012-06-29 2014-01-02 Ethicon Endo-Surgery, Inc. Ultrasonic surgical instruments with distally positioned transducers
US9820768B2 (en) 2012-06-29 2017-11-21 Ethicon Llc Ultrasonic surgical instruments with control mechanisms
US9283045B2 (en) 2012-06-29 2016-03-15 Ethicon Endo-Surgery, Llc Surgical instruments with fluid management system
US9326788B2 (en) 2012-06-29 2016-05-03 Ethicon Endo-Surgery, Llc Lockout mechanism for use with robotic electrosurgical device
US9226767B2 (en) 2012-06-29 2016-01-05 Ethicon Endo-Surgery, Inc. Closed feedback control for electrosurgical device
US9408622B2 (en) 2012-06-29 2016-08-09 Ethicon Endo-Surgery, Llc Surgical instruments with articulating shafts
US9393037B2 (en) 2012-06-29 2016-07-19 Ethicon Endo-Surgery, Llc Surgical instruments with articulating shafts
US9351754B2 (en) 2012-06-29 2016-05-31 Ethicon Endo-Surgery, Llc Ultrasonic surgical instruments with distally positioned jaw assemblies
US10213205B2 (en) 2012-07-06 2019-02-26 Covidien Lp T-slot tilt anvil for circular stapling instrument
US9347533B2 (en) * 2012-07-25 2016-05-24 Cook Medical Technologies Llc Rotational drive system for a biopsy member
IN2015DN02432A (ja) 2012-09-28 2015-09-04 Ethicon Endo Surgery Inc
US9675359B2 (en) 2012-10-10 2017-06-13 Covidien Lp Surgical instrument with preload assembly
US10201365B2 (en) 2012-10-22 2019-02-12 Ethicon Llc Surgeon feedback sensing and display methods
US9095367B2 (en) 2012-10-22 2015-08-04 Ethicon Endo-Surgery, Inc. Flexible harmonic waveguides/blades for surgical instruments
US9572572B2 (en) 2012-11-09 2017-02-21 Covidien Lp Circular stapler mechanical lockout
US20140135804A1 (en) 2012-11-15 2014-05-15 Ethicon Endo-Surgery, Inc. Ultrasonic and electrosurgical devices
US9532783B2 (en) 2012-12-17 2017-01-03 Ethicon Endo-Surgery, Llc Circular stapler with selectable motorized and manual control, including a control ring
US9351724B2 (en) 2013-01-11 2016-05-31 Covidien Lp Circular stapling instrument
RU2653808C2 (ru) * 2013-01-18 2018-05-14 Этикон Эндо-Серджери, Инк. Хирургический инструмент с электроприводом
US9386984B2 (en) 2013-02-08 2016-07-12 Ethicon Endo-Surgery, Llc Staple cartridge comprising a releasable cover
US10092292B2 (en) 2013-02-28 2018-10-09 Ethicon Llc Staple forming features for surgical stapling instrument
ES2699982T3 (es) 2013-03-14 2019-02-13 Applied Med Resources Grapadora quirúrgica con cavidades parciales
US9592056B2 (en) 2013-03-14 2017-03-14 Covidien Lp Powered stapling apparatus
US10226273B2 (en) 2013-03-14 2019-03-12 Ethicon Llc Mechanical fasteners for use with surgical energy devices
KR20250154547A (ko) 2013-03-15 2025-10-28 어플라이드 메디컬 리소시스 코포레이션 회전가능 샤프트를 구비한 구동 메커니즘을 갖는 수술용 스테이플러
US9241728B2 (en) 2013-03-15 2016-01-26 Ethicon Endo-Surgery, Inc. Surgical instrument with multiple clamping mechanisms
CN104042292A (zh) 2013-03-15 2014-09-17 柯惠Lp公司 包括可重复利用的组件的手术吻合装置
KR20250085850A (ko) 2013-03-15 2025-06-12 어플라이드 메디컬 리소시스 코포레이션 확장가능 조를 갖는 수술용 스테이플러
BR112015026109B1 (pt) 2013-04-16 2022-02-22 Ethicon Endo-Surgery, Inc Instrumento cirúrgico
AT513482B1 (de) * 2013-04-22 2014-05-15 Dominik Kovács Vorrichtung zur Herstellung von Anastomosen
US9532780B2 (en) 2013-06-12 2017-01-03 Covidien Lp EEA anvil snap ring activator
US9668740B2 (en) 2013-06-14 2017-06-06 Covidien Lp Anvil assembly with sliding sleeve
CA2911179C (en) 2013-06-17 2022-03-29 Covidien Lp Surgical instrument with lockout mechanism
US9750503B2 (en) * 2013-07-11 2017-09-05 Covidien Lp Methods and devices for performing a surgical anastomosis
RU2685464C2 (ru) 2013-08-23 2019-04-18 ЭТИКОН ЭНДО-СЕРДЖЕРИ, ЭлЭлСи Хирургические инструменты (варианты) и система электропитания для подачи электропитания на хирургический инструмент
US9693773B2 (en) 2013-09-11 2017-07-04 Covidien Lp Anvil assembly with sliding sleeve
US9814514B2 (en) 2013-09-13 2017-11-14 Ethicon Llc Electrosurgical (RF) medical instruments for cutting and coagulating tissue
US20140171986A1 (en) 2013-09-13 2014-06-19 Ethicon Endo-Surgery, Inc. Surgical Clip Having Comliant Portion
US9713469B2 (en) * 2013-09-23 2017-07-25 Ethicon Llc Surgical stapler with rotary cam drive
US10709452B2 (en) 2013-09-23 2020-07-14 Ethicon Llc Methods and systems for performing circular stapling
US20150083772A1 (en) 2013-09-23 2015-03-26 Ethicon Endo-Surgery, Inc. Surgical stapler with rotary cam drive and return
US10463365B2 (en) * 2013-10-17 2019-11-05 Covidien Lp Chip assembly for surgical instruments
US9265926B2 (en) 2013-11-08 2016-02-23 Ethicon Endo-Surgery, Llc Electrosurgical devices
US9554802B2 (en) 2013-11-13 2017-01-31 Covidien Lp Anvil assembly with frangible retaining member
US9517070B2 (en) 2013-11-13 2016-12-13 Covidien Lp Anvil assembly and delivery system
GB2521229A (en) 2013-12-16 2015-06-17 Ethicon Endo Surgery Inc Medical device
GB2521228A (en) 2013-12-16 2015-06-17 Ethicon Endo Surgery Inc Medical device
CN110179511B (zh) 2013-12-17 2022-04-19 标准肥胖病学股份有限公司 用于医疗手术的切除线引导件及其使用方法
US20150173756A1 (en) 2013-12-23 2015-06-25 Ethicon Endo-Surgery, Inc. Surgical cutting and stapling methods
US9795436B2 (en) 2014-01-07 2017-10-24 Ethicon Llc Harvesting energy from a surgical generator
US9554854B2 (en) 2014-03-18 2017-01-31 Ethicon Endo-Surgery, Llc Detecting short circuits in electrosurgical medical devices
BR112016021943B1 (pt) 2014-03-26 2022-06-14 Ethicon Endo-Surgery, Llc Instrumento cirúrgico para uso por um operador em um procedimento cirúrgico
US12232723B2 (en) 2014-03-26 2025-02-25 Cilag Gmbh International Systems and methods for controlling a segmented circuit
US10092310B2 (en) 2014-03-27 2018-10-09 Ethicon Llc Electrosurgical devices
US10463421B2 (en) 2014-03-27 2019-11-05 Ethicon Llc Two stage trigger, clamp and cut bipolar vessel sealer
AU2015241267A1 (en) 2014-03-29 2016-10-20 Standard Bariatrics, Inc. End effectors, surgical stapling devices, and methods of using same
WO2015153340A2 (en) 2014-03-29 2015-10-08 Standard Bariatrics, Inc. End effectors surgical stapling devices, and methods of using same
US9737355B2 (en) 2014-03-31 2017-08-22 Ethicon Llc Controlling impedance rise in electrosurgical medical devices
US9913680B2 (en) 2014-04-15 2018-03-13 Ethicon Llc Software algorithms for electrosurgical instruments
BR112016023807B1 (pt) 2014-04-16 2022-07-12 Ethicon Endo-Surgery, Llc Conjunto de cartucho de prendedores para uso com um instrumento cirúrgico
BR112016023825B1 (pt) 2014-04-16 2022-08-02 Ethicon Endo-Surgery, Llc Cartucho de grampos para uso com um grampeador cirúrgico e cartucho de grampos para uso com um instrumento cirúrgico
CN106456176B (zh) 2014-04-16 2019-06-28 伊西康内外科有限责任公司 包括具有不同构型的延伸部的紧固件仓
US20150297225A1 (en) 2014-04-16 2015-10-22 Ethicon Endo-Surgery, Inc. Fastener cartridges including extensions having different configurations
US9913643B2 (en) 2014-05-09 2018-03-13 Covidien Lp Interlock assemblies for replaceable loading unit
EP3154449B1 (en) 2014-06-11 2019-08-14 Applied Medical Resources Corporation Surgical stapler with circumferential firing
US10507022B2 (en) 2014-06-12 2019-12-17 Covidien Lp Surgical stapling apparatus
US9861367B2 (en) 2014-06-24 2018-01-09 Covidien Lp Anvil assembly delivery systems
US9867619B2 (en) 2014-06-24 2018-01-16 Covidien Lp System for delivering an anvil assembly to a surgical site
JP6405041B2 (ja) 2014-07-04 2018-10-17 コヴィディエン リミテッド パートナーシップ 外科手術ステープリングデバイスのための送り出し部材を備えた装填ユニット
US9757133B2 (en) 2014-07-09 2017-09-12 Covidien Lp Methods and devices for performing a surgical anastomosis
US10285724B2 (en) 2014-07-31 2019-05-14 Ethicon Llc Actuation mechanisms and load adjustment assemblies for surgical instruments
US10743960B2 (en) 2014-09-04 2020-08-18 AtaCor Medical, Inc. Cardiac arrhythmia treatment devices and delivery
US10328268B2 (en) 2014-09-04 2019-06-25 AtaCor Medical, Inc. Cardiac pacing
ES2781976T3 (es) * 2014-09-04 2020-09-09 Atacor Medical Inc Receptáculo para cable del marcapasos
US10470911B2 (en) 2014-09-05 2019-11-12 Standard Bariatrics, Inc. Sleeve gastrectomy calibration tube and method of using same
BR112017004361B1 (pt) 2014-09-05 2023-04-11 Ethicon Llc Sistema eletrônico para um instrumento cirúrgico
US11311294B2 (en) 2014-09-05 2022-04-26 Cilag Gmbh International Powered medical device including measurement of closure state of jaws
KR102773368B1 (ko) 2014-09-15 2025-02-27 어플라이드 메디컬 리소시스 코포레이션 자동-조정 스테이플 높이를 가진 수술용 스테이플러
US10105142B2 (en) 2014-09-18 2018-10-23 Ethicon Llc Surgical stapler with plurality of cutting elements
US11523821B2 (en) 2014-09-26 2022-12-13 Cilag Gmbh International Method for creating a flexible staple line
JP6648119B2 (ja) 2014-09-26 2020-02-14 エシコン エルエルシーEthicon LLC 外科ステープル留めバットレス及び付属物材料
US10136938B2 (en) 2014-10-29 2018-11-27 Ethicon Llc Electrosurgical instrument with sensor
US11097109B2 (en) 2014-11-24 2021-08-24 AtaCor Medical, Inc. Cardiac pacing sensing and control
US10639092B2 (en) 2014-12-08 2020-05-05 Ethicon Llc Electrode configurations for surgical instruments
US10085744B2 (en) 2014-12-08 2018-10-02 Covidien Lp Loading unit attachment band for surgical stapling instrument
US9855045B2 (en) 2014-12-09 2018-01-02 Covidien Lp Anvil assembly delivery system
WO2016090600A1 (en) 2014-12-11 2016-06-16 Covidien Lp Stapler with auto-matic lockout mechanism
WO2016090594A1 (en) 2014-12-11 2016-06-16 Covidien Lp Surgical stapling loading unit
EP3232946A1 (en) 2014-12-17 2017-10-25 Covidien LP Surgical stapling device with firing indicator
RU2703684C2 (ru) 2014-12-18 2019-10-21 ЭТИКОН ЭНДО-СЕРДЖЕРИ, ЭлЭлСи Хирургический инструмент с упором, который выполнен с возможностью избирательного перемещения относительно кассеты со скобами вокруг дискретной неподвижной оси
US10159524B2 (en) 2014-12-22 2018-12-25 Ethicon Llc High power battery powered RF amplifier topology
US10117656B2 (en) 2015-01-07 2018-11-06 Covidien Lp Loading unit locking collar
US10039549B2 (en) 2015-01-07 2018-08-07 Covidien Lp Loading unit retention clip for surgical stapling instrument
US10022126B2 (en) 2015-01-07 2018-07-17 Covidien Lp Loading unit locking collar
US10245095B2 (en) 2015-02-06 2019-04-02 Ethicon Llc Electrosurgical instrument with rotation and articulation mechanisms
JP2018504987A (ja) 2015-02-15 2018-02-22 コヴィディエン リミテッド パートナーシップ 一体構造の発射インディケータを有する外科手術用ステープリングデバイス
US10130367B2 (en) * 2015-02-26 2018-11-20 Covidien Lp Surgical apparatus
US11154301B2 (en) 2015-02-27 2021-10-26 Cilag Gmbh International Modular stapling assembly
US10441279B2 (en) 2015-03-06 2019-10-15 Ethicon Llc Multiple level thresholds to modify operation of powered surgical instruments
JP2020121162A (ja) 2015-03-06 2020-08-13 エシコン エルエルシーEthicon LLC 測定の安定性要素、クリープ要素、及び粘弾性要素を決定するためのセンサデータの時間依存性評価
US10190888B2 (en) * 2015-03-11 2019-01-29 Covidien Lp Surgical stapling instruments with linear position assembly
US10342602B2 (en) 2015-03-17 2019-07-09 Ethicon Llc Managing tissue treatment
US10321950B2 (en) 2015-03-17 2019-06-18 Ethicon Llc Managing tissue treatment
US10595929B2 (en) 2015-03-24 2020-03-24 Ethicon Llc Surgical instruments with firing system overload protection mechanisms
US10314638B2 (en) 2015-04-07 2019-06-11 Ethicon Llc Articulating radio frequency (RF) tissue seal with articulating state sensing
US10881408B2 (en) 2015-04-22 2021-01-05 Covidien Lp Interlock assembly for replaceable loading units
US10426480B2 (en) 2015-04-29 2019-10-01 Covidien Lp Cutting ring assembly with rigid cutting member
US9987001B2 (en) 2015-06-12 2018-06-05 Covidien Lp Surgical anastomosis apparatus
US10034684B2 (en) 2015-06-15 2018-07-31 Ethicon Llc Apparatus and method for dissecting and coagulating tissue
US11020140B2 (en) 2015-06-17 2021-06-01 Cilag Gmbh International Ultrasonic surgical blade for use with ultrasonic surgical instruments
US10517602B2 (en) 2015-06-26 2019-12-31 Ethicon Llc Surgical stapler with reversible polarity
US10265066B2 (en) * 2015-06-26 2019-04-23 Ethicon Llc Surgical stapler with incomplete firing indicator
US10456134B2 (en) * 2015-06-26 2019-10-29 Ethicon Llc Surgical stapler with reversible motor
US10188386B2 (en) * 2015-06-26 2019-01-29 Ethicon Llc Surgical stapler with anvil state indicator
US10405855B2 (en) * 2015-06-26 2019-09-10 Ethicon Llc Firing circuit for surgical stapler
US10034704B2 (en) 2015-06-30 2018-07-31 Ethicon Llc Surgical instrument with user adaptable algorithms
US11051873B2 (en) 2015-06-30 2021-07-06 Cilag Gmbh International Surgical system with user adaptable techniques employing multiple energy modalities based on tissue parameters
US10357303B2 (en) 2015-06-30 2019-07-23 Ethicon Llc Translatable outer tube for sealing using shielded lap chole dissector
US11129669B2 (en) 2015-06-30 2021-09-28 Cilag Gmbh International Surgical system with user adaptable techniques based on tissue type
US10898256B2 (en) 2015-06-30 2021-01-26 Ethicon Llc Surgical system with user adaptable techniques based on tissue impedance
US11141213B2 (en) 2015-06-30 2021-10-12 Cilag Gmbh International Surgical instrument with user adaptable techniques
US10154852B2 (en) 2015-07-01 2018-12-18 Ethicon Llc Ultrasonic surgical blade with improved cutting and coagulation features
US9974536B2 (en) 2015-07-02 2018-05-22 Covidien Lp Anvil assemblies and delivery systems
US10111668B2 (en) 2015-07-02 2018-10-30 Covidien Lp Anvil assembly with snap backup ring
US10117655B2 (en) 2015-07-22 2018-11-06 Covidien Lp Loading unit locking band for surgical stapling instrument
US10085756B2 (en) 2015-07-24 2018-10-02 Covidien Lp Anvil assembly and anvil assembly delivery system
US10117675B2 (en) 2015-07-28 2018-11-06 Covidien Lp Trocar tip protector
EP3331455B1 (en) 2015-08-06 2019-10-09 Applied Medical Resources Corporation Surgical stapler having locking articulation joint
RU2725747C2 (ru) 2015-08-26 2020-07-03 ЭТИКОН ЭлЭлСи Узел кассеты со скобами, содержащий различные зазоры для сжатия ткани и зазоры для формирования скоб
MX2022009705A (es) 2015-08-26 2022-11-07 Ethicon Llc Metodo para formar una grapa contra un yunque de un instrumento de engrapado quirurgico.
MX2018002388A (es) 2015-08-26 2018-08-01 Ethicon Llc Tiras de grapas quirurgicas para permitir propiedades variables de la grapa y facilitar la carga del cartucho.
MX2022006189A (es) 2015-09-02 2022-06-16 Ethicon Llc Configuraciones de grapas quirurgicas con superficies de leva situadas entre porciones que soportan grapas quirurgicas.
US10285837B1 (en) 2015-09-16 2019-05-14 Standard Bariatrics, Inc. Systems and methods for measuring volume of potential sleeve in a sleeve gastrectomy
US9980730B2 (en) 2015-09-21 2018-05-29 Covidien Lp Loading unit locking collar with rotational actuated release
US10111684B2 (en) 2015-09-25 2018-10-30 Covidien Lp Adapter assembly including a removable trocar assembly
US11890015B2 (en) 2015-09-30 2024-02-06 Cilag Gmbh International Compressible adjunct with crossing spacer fibers
US11058475B2 (en) 2015-09-30 2021-07-13 Cilag Gmbh International Method and apparatus for selecting operations of a surgical instrument based on user intention
US10959771B2 (en) 2015-10-16 2021-03-30 Ethicon Llc Suction and irrigation sealing grasper
US10595930B2 (en) 2015-10-16 2020-03-24 Ethicon Llc Electrode wiping surgical device
US10542992B2 (en) 2015-10-19 2020-01-28 Covidien Lp Loading unit with stretchable bushing
US10973522B2 (en) 2015-10-20 2021-04-13 Covidien Lp Circular stapler with tissue gap indicator assembly
US10842495B2 (en) 2015-10-21 2020-11-24 Covidien Lp Annular knife for a surgical stapler
US10512466B2 (en) 2015-11-05 2019-12-24 Covidien Lp Adapter assembly for surgical device
CN108289683B (zh) 2015-11-13 2021-06-25 柯惠有限合伙公司 具有可听指示器机构的圆形钉合器
EP3386401B1 (en) 2015-12-07 2020-08-26 Covidien LP Anvil assembly and delivery system
US10390835B2 (en) 2015-12-10 2019-08-27 Covidien Lp Surgical fastener apparatus with linear position sensor
US10959806B2 (en) 2015-12-30 2021-03-30 Ethicon Llc Energized medical device with reusable handle
US10179022B2 (en) 2015-12-30 2019-01-15 Ethicon Llc Jaw position impedance limiter for electrosurgical instrument
US10575892B2 (en) 2015-12-31 2020-03-03 Ethicon Llc Adapter for electrical surgical instruments
FR3046543B1 (fr) * 2016-01-07 2018-02-02 Robocath Module robotisable d'entrainement d'un organe medical souple allonge, robot medical et systeme comprenant un tel module
US10524797B2 (en) 2016-01-13 2020-01-07 Covidien Lp Adapter assembly including a removable trocar assembly
US11129670B2 (en) 2016-01-15 2021-09-28 Cilag Gmbh International Modular battery powered handheld surgical instrument with selective application of energy based on button displacement, intensity, or local tissue characterization
US10716615B2 (en) 2016-01-15 2020-07-21 Ethicon Llc Modular battery powered handheld surgical instrument with curved end effectors having asymmetric engagement between jaw and blade
US11058448B2 (en) 2016-01-15 2021-07-13 Cilag Gmbh International Modular battery powered handheld surgical instrument with multistage generator circuits
US12193698B2 (en) 2016-01-15 2025-01-14 Cilag Gmbh International Method for self-diagnosing operation of a control switch in a surgical instrument system
US11229471B2 (en) 2016-01-15 2022-01-25 Cilag Gmbh International Modular battery powered handheld surgical instrument with selective application of energy based on tissue characterization
EP3410957B1 (en) 2016-02-04 2020-06-03 Covidien LP Circular stapler with visual indicator mechanism
CN108882932B (zh) 2016-02-09 2021-07-23 伊西康有限责任公司 具有非对称关节运动构造的外科器械
US10398439B2 (en) 2016-02-10 2019-09-03 Covidien Lp Adapter, extension, and connector assemblies for surgical devices
US10603042B2 (en) 2016-02-10 2020-03-31 Covidien Lp Flexible circular stapler
US10555769B2 (en) 2016-02-22 2020-02-11 Ethicon Llc Flexible circuits for electrosurgical instrument
US10617413B2 (en) 2016-04-01 2020-04-14 Ethicon Llc Closure system arrangements for surgical cutting and stapling devices with separate and distinct firing shafts
CN109219405B (zh) * 2016-04-01 2022-05-24 伊西康有限责任公司 外科缝合系统
JP7010838B2 (ja) 2016-04-01 2022-01-26 エシコン エルエルシー 外科用ステープル留め器具
JP6941117B2 (ja) 2016-04-12 2021-09-29 アプライド メディカル リソーシーズ コーポレイション 外科用ステープラのための取替式シャフト組立体
KR102457727B1 (ko) 2016-04-12 2022-10-21 어플라이드 메디컬 리소시스 코포레이션 관절 메커니즘을 갖는 수술용 스테이플러
US10492783B2 (en) 2016-04-15 2019-12-03 Ethicon, Llc Surgical instrument with improved stop/start control during a firing motion
US11607239B2 (en) 2016-04-15 2023-03-21 Cilag Gmbh International Systems and methods for controlling a surgical stapling and cutting instrument
US20170296173A1 (en) 2016-04-18 2017-10-19 Ethicon Endo-Surgery, Llc Method for operating a surgical instrument
US11317917B2 (en) 2016-04-18 2022-05-03 Cilag Gmbh International Surgical stapling system comprising a lockable firing assembly
US10646269B2 (en) 2016-04-29 2020-05-12 Ethicon Llc Non-linear jaw gap for electrosurgical instruments
US10987156B2 (en) 2016-04-29 2021-04-27 Ethicon Llc Electrosurgical instrument with electrically conductive gap setting member and electrically insulative tissue engaging members
US10856934B2 (en) 2016-04-29 2020-12-08 Ethicon Llc Electrosurgical instrument with electrically conductive gap setting and tissue engaging members
US10485607B2 (en) 2016-04-29 2019-11-26 Ethicon Llc Jaw structure with distal closure for electrosurgical instruments
US10702329B2 (en) 2016-04-29 2020-07-07 Ethicon Llc Jaw structure with distal post for electrosurgical instruments
US10456193B2 (en) 2016-05-03 2019-10-29 Ethicon Llc Medical device with a bilateral jaw configuration for nerve stimulation
US10595871B2 (en) 2016-05-10 2020-03-24 Covidien Lp Insertion instrument, adapter assemblies and protector assemblies for a flexible circular stapler
USD822206S1 (en) 2016-06-24 2018-07-03 Ethicon Llc Surgical fastener
USD826405S1 (en) 2016-06-24 2018-08-21 Ethicon Llc Surgical fastener
US11141162B2 (en) 2016-07-08 2021-10-12 Covidien Lp Loading unit locking collar with linearly actuated release
US10245064B2 (en) 2016-07-12 2019-04-02 Ethicon Llc Ultrasonic surgical instrument with piezoelectric central lumen transducer
US10893883B2 (en) 2016-07-13 2021-01-19 Ethicon Llc Ultrasonic assembly for use with ultrasonic surgical instruments
US10842522B2 (en) 2016-07-15 2020-11-24 Ethicon Llc Ultrasonic surgical instruments having offset blades
US10383631B2 (en) 2016-08-04 2019-08-20 Covidien Lp Variable speed control of powered surgical device
US10376305B2 (en) 2016-08-05 2019-08-13 Ethicon Llc Methods and systems for advanced harmonic energy
US10285723B2 (en) 2016-08-09 2019-05-14 Ethicon Llc Ultrasonic surgical blade with improved heel portion
US11452522B2 (en) 2016-08-15 2022-09-27 Covidien Lp Circular stapling device with articulating anvil retainer assembly
USD847990S1 (en) 2016-08-16 2019-05-07 Ethicon Llc Surgical instrument
US10548673B2 (en) 2016-08-16 2020-02-04 Ethicon Llc Surgical tool with a display
US10952759B2 (en) 2016-08-25 2021-03-23 Ethicon Llc Tissue loading of a surgical instrument
US11350959B2 (en) 2016-08-25 2022-06-07 Cilag Gmbh International Ultrasonic transducer techniques for ultrasonic surgical instrument
US10751117B2 (en) 2016-09-23 2020-08-25 Ethicon Llc Electrosurgical instrument with fluid diverter
US10426470B2 (en) 2016-11-04 2019-10-01 Covidien Lp Stapling device with releasable knife carrier
US10499922B2 (en) 2016-11-04 2019-12-10 Covidien Lp Stapling device with self-releasing knife carrier pusher
US10603064B2 (en) 2016-11-28 2020-03-31 Ethicon Llc Ultrasonic transducer
US11266430B2 (en) 2016-11-29 2022-03-08 Cilag Gmbh International End effector control and calibration
US10405932B2 (en) 2016-12-20 2019-09-10 Ethicon Llc Robotic endocutter drivetrain with bailout and manual opening
US10398460B2 (en) 2016-12-20 2019-09-03 Ethicon Llc Robotic endocutter drivetrain with bailout and manual opening
US11684367B2 (en) 2016-12-21 2023-06-27 Cilag Gmbh International Stepped assembly having and end-of-life indicator
US11134942B2 (en) 2016-12-21 2021-10-05 Cilag Gmbh International Surgical stapling instruments and staple-forming anvils
US10888322B2 (en) 2016-12-21 2021-01-12 Ethicon Llc Surgical instrument comprising a cutting member
US10687810B2 (en) 2016-12-21 2020-06-23 Ethicon Llc Stepped staple cartridge with tissue retention and gap setting features
US10667809B2 (en) 2016-12-21 2020-06-02 Ethicon Llc Staple cartridge and staple cartridge channel comprising windows defined therein
JP7010957B2 (ja) 2016-12-21 2022-01-26 エシコン エルエルシー ロックアウトを備えるシャフトアセンブリ
US20180168647A1 (en) 2016-12-21 2018-06-21 Ethicon Endo-Surgery, Llc Surgical stapling instruments having end effectors with positive opening features
JP2020501815A (ja) 2016-12-21 2020-01-23 エシコン エルエルシーEthicon LLC 外科用ステープル留めシステム
JP7010956B2 (ja) 2016-12-21 2022-01-26 エシコン エルエルシー 組織をステープル留めする方法
US10624635B2 (en) 2016-12-21 2020-04-21 Ethicon Llc Firing members with non-parallel jaw engagement features for surgical end effectors
BR112019011947A2 (pt) 2016-12-21 2019-10-29 Ethicon Llc sistemas de grampeamento cirúrgico
US20180168625A1 (en) 2016-12-21 2018-06-21 Ethicon Endo-Surgery, Llc Surgical stapling instruments with smart staple cartridges
US20180168615A1 (en) 2016-12-21 2018-06-21 Ethicon Endo-Surgery, Llc Method of deforming staples from two different types of staple cartridges with the same surgical stapling instrument
US11419606B2 (en) 2016-12-21 2022-08-23 Cilag Gmbh International Shaft assembly comprising a clutch configured to adapt the output of a rotary firing member to two different systems
US10682138B2 (en) 2016-12-21 2020-06-16 Ethicon Llc Bilaterally asymmetric staple forming pocket pairs
US10675026B2 (en) 2016-12-21 2020-06-09 Ethicon Llc Methods of stapling tissue
MX2019007295A (es) 2016-12-21 2019-10-15 Ethicon Llc Sistema de instrumento quirúrgico que comprende un bloqueo del efector de extremo y un bloqueo de la unidad de disparo.
JP6983893B2 (ja) 2016-12-21 2021-12-17 エシコン エルエルシーEthicon LLC 外科用エンドエフェクタ及び交換式ツールアセンブリのためのロックアウト構成
US10993715B2 (en) 2016-12-21 2021-05-04 Ethicon Llc Staple cartridge comprising staples with different clamping breadths
US11241232B2 (en) 2017-01-24 2022-02-08 Covidien Lp Surgical stapling device with resettable anvil assembly
US11678885B2 (en) 2017-01-25 2023-06-20 Covidien Lp Circular stapling device and method of use
US11020171B2 (en) 2017-02-01 2021-06-01 Ethicon Llc Electrosurgical instrument with passive articulation and thermal insulation
US11033325B2 (en) 2017-02-16 2021-06-15 Cilag Gmbh International Electrosurgical instrument with telescoping suction port and debris cleaner
US10542993B2 (en) 2017-02-24 2020-01-28 Covidien Lp Anvil assembly of circular stapling device including alignment splines
WO2018161314A1 (en) 2017-03-09 2018-09-13 Covidien Lp Surgical stapling device with audible indicator mechanism
WO2018161301A1 (en) 2017-03-09 2018-09-13 Covidien Lp End effector assembly for circular stapler apparatus
US10799284B2 (en) 2017-03-15 2020-10-13 Ethicon Llc Electrosurgical instrument with textured jaws
US10342534B2 (en) 2017-03-23 2019-07-09 Covidien Lp Surgical stapling device with releasable knife carrier
CN110461253B (zh) 2017-03-23 2023-03-10 柯惠有限合伙公司 具有对准花键的圆形缝合装置
US11497546B2 (en) 2017-03-31 2022-11-15 Cilag Gmbh International Area ratios of patterned coatings on RF electrodes to reduce sticking
US10881409B2 (en) 2017-05-02 2021-01-05 Covidien Lp Rotation assembly for a surgical device
AU2018202813A1 (en) 2017-05-03 2018-11-22 Covidien Lp Surgical stapling apparatus employing a predictive stapling algorithm
US11596400B2 (en) 2017-06-09 2023-03-07 Covidien Lp Handheld electromechanical surgical system
US11045199B2 (en) 2017-06-09 2021-06-29 Covidien Lp Handheld electromechanical surgical system
US10932784B2 (en) 2017-06-09 2021-03-02 Covidien Lp Handheld electromechanical surgical system
US11382638B2 (en) 2017-06-20 2022-07-12 Cilag Gmbh International Closed loop feedback control of motor velocity of a surgical stapling and cutting instrument based on measured time over a specified displacement distance
US10881399B2 (en) 2017-06-20 2021-01-05 Ethicon Llc Techniques for adaptive control of motor velocity of a surgical stapling and cutting instrument
USD879808S1 (en) 2017-06-20 2020-03-31 Ethicon Llc Display panel with graphical user interface
US10980537B2 (en) 2017-06-20 2021-04-20 Ethicon Llc Closed loop feedback control of motor velocity of a surgical stapling and cutting instrument based on measured time over a specified number of shaft rotations
US11090046B2 (en) 2017-06-20 2021-08-17 Cilag Gmbh International Systems and methods for controlling displacement member motion of a surgical stapling and cutting instrument
US11653914B2 (en) 2017-06-20 2023-05-23 Cilag Gmbh International Systems and methods for controlling motor velocity of a surgical stapling and cutting instrument according to articulation angle of end effector
US11071554B2 (en) 2017-06-20 2021-07-27 Cilag Gmbh International Closed loop feedback control of motor velocity of a surgical stapling and cutting instrument based on magnitude of velocity error measurements
US10779820B2 (en) 2017-06-20 2020-09-22 Ethicon Llc Systems and methods for controlling motor speed according to user input for a surgical instrument
USD890784S1 (en) 2017-06-20 2020-07-21 Ethicon Llc Display panel with changeable graphical user interface
USD879809S1 (en) 2017-06-20 2020-03-31 Ethicon Llc Display panel with changeable graphical user interface
US10624633B2 (en) 2017-06-20 2020-04-21 Ethicon Llc Systems and methods for controlling motor velocity of a surgical stapling and cutting instrument
US10813639B2 (en) 2017-06-20 2020-10-27 Ethicon Llc Closed loop feedback control of motor velocity of a surgical stapling and cutting instrument based on system conditions
US10646220B2 (en) 2017-06-20 2020-05-12 Ethicon Llc Systems and methods for controlling displacement member velocity for a surgical instrument
US10888321B2 (en) 2017-06-20 2021-01-12 Ethicon Llc Systems and methods for controlling velocity of a displacement member of a surgical stapling and cutting instrument
US10993716B2 (en) 2017-06-27 2021-05-04 Ethicon Llc Surgical anvil arrangements
US10772629B2 (en) 2017-06-27 2020-09-15 Ethicon Llc Surgical anvil arrangements
US11266405B2 (en) 2017-06-27 2022-03-08 Cilag Gmbh International Surgical anvil manufacturing methods
US11324503B2 (en) 2017-06-27 2022-05-10 Cilag Gmbh International Surgical firing member arrangements
US10987103B2 (en) * 2017-06-27 2021-04-27 Ethicon Llc Powered surgical instrument with latching feature preventing removal of battery pack
US20180368844A1 (en) 2017-06-27 2018-12-27 Ethicon Llc Staple forming pocket arrangements
US10856869B2 (en) 2017-06-27 2020-12-08 Ethicon Llc Surgical anvil arrangements
US10603117B2 (en) 2017-06-28 2020-03-31 Ethicon Llc Articulation state detection mechanisms
US11259805B2 (en) 2017-06-28 2022-03-01 Cilag Gmbh International Surgical instrument comprising firing member supports
USD869655S1 (en) 2017-06-28 2019-12-10 Ethicon Llc Surgical fastener cartridge
US10903685B2 (en) 2017-06-28 2021-01-26 Ethicon Llc Surgical shaft assemblies with slip ring assemblies forming capacitive channels
USD906355S1 (en) 2017-06-28 2020-12-29 Ethicon Llc Display screen or portion thereof with a graphical user interface for a surgical instrument
US10695057B2 (en) 2017-06-28 2020-06-30 Ethicon Llc Surgical instrument lockout arrangement
US11000279B2 (en) 2017-06-28 2021-05-11 Ethicon Llc Surgical instrument comprising an articulation system ratio
EP3420947B1 (en) 2017-06-28 2022-05-25 Cilag GmbH International Surgical instrument comprising selectively actuatable rotatable couplers
US11246592B2 (en) 2017-06-28 2022-02-15 Cilag Gmbh International Surgical instrument comprising an articulation system lockable to a frame
US10765427B2 (en) 2017-06-28 2020-09-08 Ethicon Llc Method for articulating a surgical instrument
US10932772B2 (en) 2017-06-29 2021-03-02 Ethicon Llc Methods for closed loop velocity control for robotic surgical instrument
US11007022B2 (en) 2017-06-29 2021-05-18 Ethicon Llc Closed loop velocity control techniques based on sensed tissue parameters for robotic surgical instrument
US10898183B2 (en) 2017-06-29 2021-01-26 Ethicon Llc Robotic surgical instrument with closed loop feedback techniques for advancement of closure member during firing
US10820920B2 (en) 2017-07-05 2020-11-03 Ethicon Llc Reusable ultrasonic medical devices and methods of their use
US10987107B2 (en) 2017-07-05 2021-04-27 Covidien Lp Surgical stapling device
US11974742B2 (en) 2017-08-03 2024-05-07 Cilag Gmbh International Surgical system comprising an articulation bailout
US11304695B2 (en) 2017-08-03 2022-04-19 Cilag Gmbh International Surgical system shaft interconnection
US11944300B2 (en) 2017-08-03 2024-04-02 Cilag Gmbh International Method for operating a surgical system bailout
US11471155B2 (en) 2017-08-03 2022-10-18 Cilag Gmbh International Surgical system bailout
US11090054B2 (en) 2017-08-07 2021-08-17 Covidien Lp Stapling device with resettable tilt anvil assembly
US10828026B2 (en) 2017-08-08 2020-11-10 Covidien Lp Tiltable anvil assembly
WO2019036490A1 (en) 2017-08-14 2019-02-21 Standard Bariatrics, Inc. END EFFECTORS, SURGICAL STAPLING DEVICES, AND METHODS OF USE THEREOF
US10695069B2 (en) 2017-08-23 2020-06-30 Covidien Lp Circular stapling device with offset spline tip
WO2019041315A1 (en) 2017-09-01 2019-03-07 Covidien Lp CIRCULAR STAPLING DEVICE WITH POSITIONING RIBS
US11331099B2 (en) 2017-09-01 2022-05-17 Rev Medica, Inc. Surgical stapler with removable power pack and interchangeable battery pack
US10966720B2 (en) 2017-09-01 2021-04-06 RevMedica, Inc. Surgical stapler with removable power pack
US10695060B2 (en) 2017-09-01 2020-06-30 RevMedica, Inc. Loadable power pack for surgical instruments
US10835256B2 (en) * 2017-09-27 2020-11-17 Ethicon Llc Circular stapling instrument with firing trigger having integral resilient features
US11399829B2 (en) 2017-09-29 2022-08-02 Cilag Gmbh International Systems and methods of initiating a power shutdown mode for a surgical instrument
US11484358B2 (en) 2017-09-29 2022-11-01 Cilag Gmbh International Flexible electrosurgical instrument
USD907648S1 (en) 2017-09-29 2021-01-12 Ethicon Llc Display screen or portion thereof with animated graphical user interface
US10743872B2 (en) 2017-09-29 2020-08-18 Ethicon Llc System and methods for controlling a display of a surgical instrument
USD917500S1 (en) 2017-09-29 2021-04-27 Ethicon Llc Display screen or portion thereof with graphical user interface
US11490951B2 (en) 2017-09-29 2022-11-08 Cilag Gmbh International Saline contact with electrodes
USD907647S1 (en) 2017-09-29 2021-01-12 Ethicon Llc Display screen or portion thereof with animated graphical user interface
US10729501B2 (en) 2017-09-29 2020-08-04 Ethicon Llc Systems and methods for language selection of a surgical instrument
US11033323B2 (en) 2017-09-29 2021-06-15 Cilag Gmbh International Systems and methods for managing fluid and suction in electrosurgical systems
US11090075B2 (en) 2017-10-30 2021-08-17 Cilag Gmbh International Articulation features for surgical end effector
US11134944B2 (en) 2017-10-30 2021-10-05 Cilag Gmbh International Surgical stapler knife motion controls
US10842490B2 (en) 2017-10-31 2020-11-24 Ethicon Llc Cartridge body design with force reduction based on firing completion
US10779903B2 (en) 2017-10-31 2020-09-22 Ethicon Llc Positive shaft rotation lock activated by jaw closure
US11324507B2 (en) 2017-11-03 2022-05-10 Covidien Lp Device and method for attachment of a stomal sleeve
US11589871B2 (en) 2017-11-10 2023-02-28 Cilag Gmbh International Laparoscopic stapler with flippable housing assembly and flippable anvil assembly
US10779825B2 (en) 2017-12-15 2020-09-22 Ethicon Llc Adapters with end effector position sensing and control arrangements for use in connection with electromechanical surgical instruments
US10687813B2 (en) 2017-12-15 2020-06-23 Ethicon Llc Adapters with firing stroke sensing arrangements for use in connection with electromechanical surgical instruments
US10743875B2 (en) 2017-12-15 2020-08-18 Ethicon Llc Surgical end effectors with jaw stiffener arrangements configured to permit monitoring of firing member
US11033267B2 (en) 2017-12-15 2021-06-15 Ethicon Llc Systems and methods of controlling a clamping member firing rate of a surgical instrument
US11006955B2 (en) 2017-12-15 2021-05-18 Ethicon Llc End effectors with positive jaw opening features for use with adapters for electromechanical surgical instruments
US11071543B2 (en) 2017-12-15 2021-07-27 Cilag Gmbh International Surgical end effectors with clamping assemblies configured to increase jaw aperture ranges
US10966718B2 (en) 2017-12-15 2021-04-06 Ethicon Llc Dynamic clamping assemblies with improved wear characteristics for use in connection with electromechanical surgical instruments
US10743874B2 (en) 2017-12-15 2020-08-18 Ethicon Llc Sealed adapters for use with electromechanical surgical instruments
US10828033B2 (en) 2017-12-15 2020-11-10 Ethicon Llc Handheld electromechanical surgical instruments with improved motor control arrangements for positioning components of an adapter coupled thereto
US11197670B2 (en) 2017-12-15 2021-12-14 Cilag Gmbh International Surgical end effectors with pivotal jaws configured to touch at their respective distal ends when fully closed
US10869666B2 (en) 2017-12-15 2020-12-22 Ethicon Llc Adapters with control systems for controlling multiple motors of an electromechanical surgical instrument
US10779826B2 (en) 2017-12-15 2020-09-22 Ethicon Llc Methods of operating surgical end effectors
US11045270B2 (en) 2017-12-19 2021-06-29 Cilag Gmbh International Robotic attachment comprising exterior drive actuator
US11020112B2 (en) 2017-12-19 2021-06-01 Ethicon Llc Surgical tools configured for interchangeable use with different controller interfaces
US10716565B2 (en) 2017-12-19 2020-07-21 Ethicon Llc Surgical instruments with dual articulation drivers
USD910847S1 (en) 2017-12-19 2021-02-16 Ethicon Llc Surgical instrument assembly
US10835330B2 (en) 2017-12-19 2020-11-17 Ethicon Llc Method for determining the position of a rotatable jaw of a surgical instrument attachment assembly
US10729509B2 (en) 2017-12-19 2020-08-04 Ethicon Llc Surgical instrument comprising closure and firing locking mechanism
US11311290B2 (en) 2017-12-21 2022-04-26 Cilag Gmbh International Surgical instrument comprising an end effector dampener
US11883019B2 (en) 2017-12-21 2024-01-30 Cilag Gmbh International Stapling instrument comprising a staple feeding system
US11076853B2 (en) 2017-12-21 2021-08-03 Cilag Gmbh International Systems and methods of displaying a knife position during transection for a surgical instrument
US11129680B2 (en) 2017-12-21 2021-09-28 Cilag Gmbh International Surgical instrument comprising a projector
US12336705B2 (en) 2017-12-21 2025-06-24 Cilag Gmbh International Continuous use self-propelled stapling instrument
KR20250038836A (ko) 2018-02-27 2025-03-19 어플라이드 메디컬 리소시스 코포레이션 전동 핸들을 갖는 수술용 스테이플러
US11497501B2 (en) 2018-03-26 2022-11-15 Covidien Lp Circular stapling device with A-frame splines
ES2986729T3 (es) * 2018-04-09 2024-11-12 Conmed Corp Accionador de cable con empuñadura de lápiz accionado con un actuador situado distalmente
US10952734B2 (en) 2018-04-23 2021-03-23 Covidien Lp Stapling device with cut ring biasing member
US10905416B2 (en) 2018-04-23 2021-02-02 Covidien Lp Over-molded connector for surgical instruments
US11197676B2 (en) 2018-06-28 2021-12-14 Covidien Lp Tie-down method for anvil assembly delivery system
US11241234B2 (en) 2018-08-14 2022-02-08 Covidien Lp Anvil assembly with self-retaining backup member
US11253256B2 (en) 2018-08-20 2022-02-22 Cilag Gmbh International Articulatable motor powered surgical instruments with dedicated articulation motor arrangements
US20200054321A1 (en) 2018-08-20 2020-02-20 Ethicon Llc Surgical instruments with progressive jaw closure arrangements
US10779821B2 (en) 2018-08-20 2020-09-22 Ethicon Llc Surgical stapler anvils with tissue stop features configured to avoid tissue pinch
US10912559B2 (en) 2018-08-20 2021-02-09 Ethicon Llc Reinforced deformable anvil tip for surgical stapler anvil
US11324501B2 (en) 2018-08-20 2022-05-10 Cilag Gmbh International Surgical stapling devices with improved closure members
US11039834B2 (en) 2018-08-20 2021-06-22 Cilag Gmbh International Surgical stapler anvils with staple directing protrusions and tissue stability features
US11291440B2 (en) 2018-08-20 2022-04-05 Cilag Gmbh International Method for operating a powered articulatable surgical instrument
US10842492B2 (en) 2018-08-20 2020-11-24 Ethicon Llc Powered articulatable surgical instruments with clutching and locking arrangements for linking an articulation drive system to a firing drive system
US11207065B2 (en) 2018-08-20 2021-12-28 Cilag Gmbh International Method for fabricating surgical stapler anvils
USD914878S1 (en) 2018-08-20 2021-03-30 Ethicon Llc Surgical instrument anvil
US10856870B2 (en) 2018-08-20 2020-12-08 Ethicon Llc Switching arrangements for motor powered articulatable surgical instruments
US11083458B2 (en) 2018-08-20 2021-08-10 Cilag Gmbh International Powered surgical instruments with clutching arrangements to convert linear drive motions to rotary drive motions
US11045192B2 (en) 2018-08-20 2021-06-29 Cilag Gmbh International Fabricating techniques for surgical stapler anvils
EP3840669B1 (en) 2018-08-24 2024-04-17 Covidien LP Powered circular stapling device
US11510669B2 (en) * 2020-09-29 2022-11-29 Covidien Lp Hand-held surgical instruments
US10973544B2 (en) 2018-10-02 2021-04-13 Covidien Lp Retaining mechanism for trocar assembly
US11141163B2 (en) 2018-10-04 2021-10-12 Covidien Lp Circular stapling device with anvil rotation locking structure
CN112912018A (zh) 2018-10-16 2021-06-04 柯惠有限合伙公司 具有动力手柄组件的外科缝合装置
US11065005B2 (en) 2018-11-07 2021-07-20 Covidien Lp Reload assembly for a circular stapling device
US11147561B2 (en) 2018-11-28 2021-10-19 Covidien Lp Reload assembly for a circular stapling device
US11389263B2 (en) 2018-12-13 2022-07-19 Covidien Lp Lockout mechanisms for surgical instruments
CN111345864B (zh) * 2018-12-24 2025-01-24 北京博辉瑞进生物科技有限公司 单电机电动手术器械
CN111345863B (zh) * 2018-12-24 2025-04-25 北京博辉瑞进生物科技有限公司 电动手术器械
US11166728B2 (en) 2019-02-08 2021-11-09 Covidien Lp Reload assembly for a circular stapling device
US11547411B2 (en) 2019-02-22 2023-01-10 Covidien Lp Anastomosis wound protector
US11529144B2 (en) 2019-02-22 2022-12-20 Covidien Lp Encapsulated plug assembly for electromechanical surgical devices
AU2020227757B2 (en) 2019-02-27 2025-07-24 Applied Medical Resources Corporation Surgical stapling instrument having a two-position lockout mechanism
US11331782B2 (en) 2019-03-01 2022-05-17 Covidien Lp Reload assembly for a circular stapling device
US11337701B2 (en) 2019-03-01 2022-05-24 Covidien Lp Devices and methods for assembling adapter assemblies
US11172929B2 (en) 2019-03-25 2021-11-16 Cilag Gmbh International Articulation drive arrangements for surgical systems
US11696761B2 (en) 2019-03-25 2023-07-11 Cilag Gmbh International Firing drive arrangements for surgical systems
US11147551B2 (en) 2019-03-25 2021-10-19 Cilag Gmbh International Firing drive arrangements for surgical systems
US11147553B2 (en) 2019-03-25 2021-10-19 Cilag Gmbh International Firing drive arrangements for surgical systems
US11457921B2 (en) 2019-03-26 2022-10-04 Covidien Lp Anvil assembly for surgical stapling instrument
EP3946079A1 (en) 2019-03-29 2022-02-09 Applied Medical Resources Corporation Reload cover for surgical stapling system
US11596410B2 (en) * 2019-04-05 2023-03-07 Covidien Lp Surgical stapling device
US11534164B2 (en) 2019-04-05 2022-12-27 Covidien Lp Strain gauge stabilization in a surgical device
US11660116B2 (en) 2019-04-16 2023-05-30 Covidien Lp Trocar assemblies for adapter assemblies for surgical stapling instruments
US11317945B2 (en) 2019-04-16 2022-05-03 Covidien Lp Trocar assemblies for adapter assemblies for surgical stapling instruments
US11344330B2 (en) 2019-04-16 2022-05-31 Covidien Lp Trocar assemblies for adapter assemblies for surgical stapling instruments
US11419631B2 (en) 2019-04-16 2022-08-23 Covidien Lp Trocar assemblies for adapter assemblies for surgical stapling instruments
US11839378B2 (en) 2019-04-19 2023-12-12 Covidien Lp Circular stapling instruments
US11399838B2 (en) 2019-04-22 2022-08-02 Covidien Lp Reload assembly for circular stapling devices
US11246599B2 (en) 2019-04-25 2022-02-15 Covidien Lp End effector for circular stapling instrument
US11253254B2 (en) 2019-04-30 2022-02-22 Cilag Gmbh International Shaft rotation actuator on a surgical instrument
US11471157B2 (en) 2019-04-30 2022-10-18 Cilag Gmbh International Articulation control mapping for a surgical instrument
US11648009B2 (en) 2019-04-30 2023-05-16 Cilag Gmbh International Rotatable jaw tip for a surgical instrument
US11903581B2 (en) * 2019-04-30 2024-02-20 Cilag Gmbh International Methods for stapling tissue using a surgical instrument
US11452528B2 (en) 2019-04-30 2022-09-27 Cilag Gmbh International Articulation actuators for a surgical instrument
US20200345359A1 (en) 2019-04-30 2020-11-05 Ethicon Llc Tissue stop for a surgical instrument
US11432816B2 (en) 2019-04-30 2022-09-06 Cilag Gmbh International Articulation pin for a surgical instrument
US11426251B2 (en) 2019-04-30 2022-08-30 Cilag Gmbh International Articulation directional lights on a surgical instrument
IL320610A (en) * 2019-05-01 2025-07-01 Fulbright Medical Inc Propulsion device, surgical instrument, and method of operating it
US12208260B2 (en) 2019-05-29 2025-01-28 Kurin, Inc. Implantable electrical leads and electrodes
AU2019448247A1 (en) 2019-05-31 2021-12-16 Covidien Lp Circular stapling device
CN110293407B (zh) * 2019-06-12 2021-03-09 叶玉芳 一种量产螺纹杆自动加工设备
US11690624B2 (en) * 2019-06-21 2023-07-04 Covidien Lp Reload assembly injection molded strain gauge
US11446035B2 (en) 2019-06-24 2022-09-20 Covidien Lp Retaining mechanisms for trocar assemblies
US11123101B2 (en) 2019-07-05 2021-09-21 Covidien Lp Retaining mechanisms for trocar assemblies
US11523822B2 (en) 2019-06-28 2022-12-13 Cilag Gmbh International Battery pack including a circuit interrupter
US12004740B2 (en) 2019-06-28 2024-06-11 Cilag Gmbh International Surgical stapling system having an information decryption protocol
US11627959B2 (en) 2019-06-28 2023-04-18 Cilag Gmbh International Surgical instruments including manual and powered system lockouts
US11219455B2 (en) 2019-06-28 2022-01-11 Cilag Gmbh International Surgical instrument including a lockout key
US11361176B2 (en) 2019-06-28 2022-06-14 Cilag Gmbh International Surgical RFID assemblies for compatibility detection
US11660163B2 (en) 2019-06-28 2023-05-30 Cilag Gmbh International Surgical system with RFID tags for updating motor assembly parameters
US11376098B2 (en) 2019-06-28 2022-07-05 Cilag Gmbh International Surgical instrument system comprising an RFID system
US11224497B2 (en) 2019-06-28 2022-01-18 Cilag Gmbh International Surgical systems with multiple RFID tags
US11553971B2 (en) 2019-06-28 2023-01-17 Cilag Gmbh International Surgical RFID assemblies for display and communication
US11298132B2 (en) 2019-06-28 2022-04-12 Cilag GmbH Inlernational Staple cartridge including a honeycomb extension
US11259803B2 (en) * 2019-06-28 2022-03-01 Cilag Gmbh International Surgical stapling system having an information encryption protocol
US11638587B2 (en) * 2019-06-28 2023-05-02 Cilag Gmbh International RFID identification systems for surgical instruments
US11853835B2 (en) * 2019-06-28 2023-12-26 Cilag Gmbh International RFID identification systems for surgical instruments
US20200405307A1 (en) * 2019-06-28 2020-12-31 Ethicon Llc Control circuit comprising a coating
US11291451B2 (en) 2019-06-28 2022-04-05 Cilag Gmbh International Surgical instrument with battery compatibility verification functionality
US11241235B2 (en) 2019-06-28 2022-02-08 Cilag Gmbh International Method of using multiple RFID chips with a surgical assembly
US11298127B2 (en) 2019-06-28 2022-04-12 Cilag GmbH Interational Surgical stapling system having a lockout mechanism for an incompatible cartridge
US11771419B2 (en) * 2019-06-28 2023-10-03 Cilag Gmbh International Packaging for a replaceable component of a surgical stapling system
US11051807B2 (en) 2019-06-28 2021-07-06 Cilag Gmbh International Packaging assembly including a particulate trap
US20200405306A1 (en) * 2019-06-28 2020-12-31 Ethicon Llc Surgical instrument including a firing system bailout
US11684434B2 (en) 2019-06-28 2023-06-27 Cilag Gmbh International Surgical RFID assemblies for instrument operational setting control
US11464601B2 (en) 2019-06-28 2022-10-11 Cilag Gmbh International Surgical instrument comprising an RFID system for tracking a movable component
US11478241B2 (en) 2019-06-28 2022-10-25 Cilag Gmbh International Staple cartridge including projections
US11399837B2 (en) 2019-06-28 2022-08-02 Cilag Gmbh International Mechanisms for motor control adjustments of a motorized surgical instrument
US11246678B2 (en) * 2019-06-28 2022-02-15 Cilag Gmbh International Surgical stapling system having a frangible RFID tag
US11497492B2 (en) 2019-06-28 2022-11-15 Cilag Gmbh International Surgical instrument including an articulation lock
US11357509B2 (en) 2019-07-11 2022-06-14 Covidien Lp Reload assembly for a circular stapling device
US11192227B2 (en) 2019-07-16 2021-12-07 Covidien Lp Reload assembly for circular stapling devices
US12290257B2 (en) 2019-07-19 2025-05-06 RevMedica, Inc. Surgical clip applier with removable power pack
US12279771B2 (en) 2019-07-19 2025-04-22 RevMedica, Inc. Power pack for activating surgical instruments and providing user feedback
WO2023219917A1 (en) 2022-05-13 2023-11-16 RevMedica, Inc. Power pack for activating surgical instruments and providing user feedback
US12279770B2 (en) 2019-07-19 2025-04-22 RevMedica, Inc. Power pack for activating surgical instruments and providing user feedback
WO2021016006A1 (en) 2019-07-19 2021-01-28 RevMedica, Inc. Surgical stapler with removable power pack
US11253255B2 (en) 2019-07-26 2022-02-22 Covidien Lp Knife lockout wedge
US11464510B2 (en) 2019-07-26 2022-10-11 Covidien Lp Reload assembly with knife carrier lockout
US11399825B2 (en) 2019-10-28 2022-08-02 Covidien Lp Reload assembly with knife carrier lockout
MX2022005311A (es) 2019-11-04 2022-05-26 Standard Bariatrics Inc Sistemas y metodos de realizacion de la cirugia mediante el uso de la retraccion de la tension de la ley de laplace durante la cirugia.
US12274635B2 (en) 2019-11-04 2025-04-15 Standard Bariatrics, Inc. Systems and methods of performing surgery using laplace's law tension retraction during surgery
US11553918B2 (en) 2019-12-16 2023-01-17 Covidien Lp Reload assembly with knife carrier lockout
US11291447B2 (en) 2019-12-19 2022-04-05 Cilag Gmbh International Stapling instrument comprising independent jaw closing and staple firing systems
US11911032B2 (en) 2019-12-19 2024-02-27 Cilag Gmbh International Staple cartridge comprising a seating cam
US11464512B2 (en) 2019-12-19 2022-10-11 Cilag Gmbh International Staple cartridge comprising a curved deck surface
US11607219B2 (en) 2019-12-19 2023-03-21 Cilag Gmbh International Staple cartridge comprising a detachable tissue cutting knife
US12035913B2 (en) 2019-12-19 2024-07-16 Cilag Gmbh International Staple cartridge comprising a deployable knife
US11304696B2 (en) 2019-12-19 2022-04-19 Cilag Gmbh International Surgical instrument comprising a powered articulation system
US11844520B2 (en) 2019-12-19 2023-12-19 Cilag Gmbh International Staple cartridge comprising driver retention members
US11529139B2 (en) 2019-12-19 2022-12-20 Cilag Gmbh International Motor driven surgical instrument
US11504122B2 (en) 2019-12-19 2022-11-22 Cilag Gmbh International Surgical instrument comprising a nested firing member
US11559304B2 (en) 2019-12-19 2023-01-24 Cilag Gmbh International Surgical instrument comprising a rapid closure mechanism
US11576672B2 (en) 2019-12-19 2023-02-14 Cilag Gmbh International Surgical instrument comprising a closure system including a closure member and an opening member driven by a drive screw
US11931033B2 (en) 2019-12-19 2024-03-19 Cilag Gmbh International Staple cartridge comprising a latch lockout
US11529137B2 (en) 2019-12-19 2022-12-20 Cilag Gmbh International Staple cartridge comprising driver retention members
US11234698B2 (en) 2019-12-19 2022-02-01 Cilag Gmbh International Stapling system comprising a clamp lockout and a firing lockout
US11701111B2 (en) 2019-12-19 2023-07-18 Cilag Gmbh International Method for operating a surgical stapling instrument
US11446029B2 (en) 2019-12-19 2022-09-20 Cilag Gmbh International Staple cartridge comprising projections extending from a curved deck surface
US11660089B2 (en) 2019-12-30 2023-05-30 Cilag Gmbh International Surgical instrument comprising a sensing system
US11707318B2 (en) 2019-12-30 2023-07-25 Cilag Gmbh International Surgical instrument with jaw alignment features
US11779329B2 (en) 2019-12-30 2023-10-10 Cilag Gmbh International Surgical instrument comprising a flex circuit including a sensor system
US11589916B2 (en) 2019-12-30 2023-02-28 Cilag Gmbh International Electrosurgical instruments with electrodes having variable energy densities
US11812957B2 (en) 2019-12-30 2023-11-14 Cilag Gmbh International Surgical instrument comprising a signal interference resolution system
US12082808B2 (en) 2019-12-30 2024-09-10 Cilag Gmbh International Surgical instrument comprising a control system responsive to software configurations
US12023086B2 (en) 2019-12-30 2024-07-02 Cilag Gmbh International Electrosurgical instrument for delivering blended energy modalities to tissue
US11779387B2 (en) 2019-12-30 2023-10-10 Cilag Gmbh International Clamp arm jaw to minimize tissue sticking and improve tissue control
US11696776B2 (en) 2019-12-30 2023-07-11 Cilag Gmbh International Articulatable surgical instrument
US11911063B2 (en) 2019-12-30 2024-02-27 Cilag Gmbh International Techniques for detecting ultrasonic blade to electrode contact and reducing power to ultrasonic blade
US12343063B2 (en) 2019-12-30 2025-07-01 Cilag Gmbh International Multi-layer clamp arm pad for enhanced versatility and performance of a surgical device
US11937866B2 (en) 2019-12-30 2024-03-26 Cilag Gmbh International Method for an electrosurgical procedure
US11944366B2 (en) 2019-12-30 2024-04-02 Cilag Gmbh International Asymmetric segmented ultrasonic support pad for cooperative engagement with a movable RF electrode
US12053224B2 (en) 2019-12-30 2024-08-06 Cilag Gmbh International Variation in electrode parameters and deflectable electrode to modify energy density and tissue interaction
US11986201B2 (en) * 2019-12-30 2024-05-21 Cilag Gmbh International Method for operating a surgical instrument
US12262937B2 (en) 2019-12-30 2025-04-01 Cilag Gmbh International User interface for surgical instrument with combination energy modality end-effector
US11786291B2 (en) 2019-12-30 2023-10-17 Cilag Gmbh International Deflectable support of RF energy electrode with respect to opposing ultrasonic blade
US12076006B2 (en) 2019-12-30 2024-09-03 Cilag Gmbh International Surgical instrument comprising an orientation detection system
US11986234B2 (en) 2019-12-30 2024-05-21 Cilag Gmbh International Surgical system communication pathways
US12336747B2 (en) 2019-12-30 2025-06-24 Cilag Gmbh International Method of operating a combination ultrasonic / bipolar RF surgical device with a combination energy modality end-effector
US11452525B2 (en) 2019-12-30 2022-09-27 Cilag Gmbh International Surgical instrument comprising an adjustment system
US11950797B2 (en) 2019-12-30 2024-04-09 Cilag Gmbh International Deflectable electrode with higher distal bias relative to proximal bias
US11937863B2 (en) 2019-12-30 2024-03-26 Cilag Gmbh International Deflectable electrode with variable compression bias along the length of the deflectable electrode
US12064109B2 (en) 2019-12-30 2024-08-20 Cilag Gmbh International Surgical instrument comprising a feedback control circuit
US12114912B2 (en) 2019-12-30 2024-10-15 Cilag Gmbh International Non-biased deflectable electrode to minimize contact between ultrasonic blade and electrode
US20210196358A1 (en) 2019-12-30 2021-07-01 Ethicon Llc Electrosurgical instrument with electrodes biasing support
US11963711B2 (en) 2019-12-31 2024-04-23 Applied Medical Resources Corporation Electrosurgical system with tissue and maximum current identification
US11730481B2 (en) 2020-01-06 2023-08-22 Covidien Lp Assemblies for retaining a trocar assembly
US11517317B2 (en) 2020-01-06 2022-12-06 Covidien Lp Trocar release assemblies for a surgical stapler
US11911038B2 (en) 2020-01-13 2024-02-27 Covidien Lp Cut optimization for excessive tissue conditions
US11523828B2 (en) 2020-01-28 2022-12-13 Covidien Lp Sealed reload assembly for stapling device
US11622767B2 (en) 2020-02-19 2023-04-11 Covidien Lp Sealed trocar assembly for stapling device
US11547438B2 (en) 2020-02-24 2023-01-10 Covidien Lp Tip protector for ensuring trocar insertion
US11382630B2 (en) 2020-02-25 2022-07-12 Covidien Lp Surgical stapling device with two part knife assembly
US11779343B2 (en) 2020-02-26 2023-10-10 Covidien Lp Staple reload assembly with releasable knife
US11298152B2 (en) 2020-02-28 2022-04-12 Covidien Lp Trocar retaining mechanism including band support
US11272998B2 (en) 2020-03-04 2022-03-15 Covidien Lp Strain gage fixation in tension
US11426170B2 (en) 2020-03-24 2022-08-30 Covidien Lp Retaining mechanisms for trocar assemblies
US11350939B2 (en) 2020-03-24 2022-06-07 Covidien Lp Retaining mechanisms for trocar assemblies
US11426169B2 (en) 2020-03-24 2022-08-30 Covidien Lp Retaining mechanisms for trocar assemblies
US11690694B2 (en) 2020-05-19 2023-07-04 Covidien Lp Powered surgical instruments and methods of identifying tissue types therewith
US11653925B2 (en) 2020-05-21 2023-05-23 Covidien Lp Tissue relaxation monitoring for optimized tissue stapling
US11547405B2 (en) 2020-05-22 2023-01-10 Covidien Lp Surgical stapling device
US11666771B2 (en) 2020-05-29 2023-06-06 AtaCor Medical, Inc. Implantable electrical leads and associated delivery systems
USD974560S1 (en) 2020-06-02 2023-01-03 Cilag Gmbh International Staple cartridge
USD966512S1 (en) 2020-06-02 2022-10-11 Cilag Gmbh International Staple cartridge
USD975851S1 (en) 2020-06-02 2023-01-17 Cilag Gmbh International Staple cartridge
USD967421S1 (en) 2020-06-02 2022-10-18 Cilag Gmbh International Staple cartridge
USD975278S1 (en) 2020-06-02 2023-01-10 Cilag Gmbh International Staple cartridge
USD975850S1 (en) 2020-06-02 2023-01-17 Cilag Gmbh International Staple cartridge
USD976401S1 (en) 2020-06-02 2023-01-24 Cilag Gmbh International Staple cartridge
KR20230029856A (ko) 2020-06-30 2023-03-03 스탠다드 베리에트릭스, 인크. 복강경 수술 절차 도중에 취입의 손실을 방지하거나 감소시키기 위한 시스템, 장치 및 방법
US12245767B2 (en) 2020-07-13 2025-03-11 Covidien Lp Handheld electromechanical surgical system
US11553921B2 (en) 2020-07-15 2023-01-17 Covidien Lp Surgical stapling device with flexible shaft
US11547412B2 (en) 2020-07-22 2023-01-10 Covidien Lp Surgical instruments and methods of assembly
US11883024B2 (en) 2020-07-28 2024-01-30 Cilag Gmbh International Method of operating a surgical instrument
US11877744B2 (en) 2020-08-14 2024-01-23 Covidien Lp Low-cost powered stapler with end stop selection
US11627966B2 (en) 2020-08-26 2023-04-18 Covidien Lp Surgical stapling device
US11801054B2 (en) 2020-09-22 2023-10-31 Covidien Lp Surgical stapler with oval tool assembly
US11712509B2 (en) 2020-10-02 2023-08-01 Covidien Lp Seal assembly for circular stapling instrument
US11896217B2 (en) 2020-10-29 2024-02-13 Cilag Gmbh International Surgical instrument comprising an articulation lock
AU2021369828A1 (en) 2020-10-29 2023-06-01 Applied Medical Resources Corporation Surgical stapler having a powered handle
US12053175B2 (en) 2020-10-29 2024-08-06 Cilag Gmbh International Surgical instrument comprising a stowed closure actuator stop
US11617577B2 (en) 2020-10-29 2023-04-04 Cilag Gmbh International Surgical instrument comprising a sensor configured to sense whether an articulation drive of the surgical instrument is actuatable
USD980425S1 (en) 2020-10-29 2023-03-07 Cilag Gmbh International Surgical instrument assembly
US11717289B2 (en) 2020-10-29 2023-08-08 Cilag Gmbh International Surgical instrument comprising an indicator which indicates that an articulation drive is actuatable
US11517390B2 (en) 2020-10-29 2022-12-06 Cilag Gmbh International Surgical instrument comprising a limited travel switch
US11779330B2 (en) 2020-10-29 2023-10-10 Cilag Gmbh International Surgical instrument comprising a jaw alignment system
US11534259B2 (en) 2020-10-29 2022-12-27 Cilag Gmbh International Surgical instrument comprising an articulation indicator
JP2023547909A (ja) 2020-10-29 2023-11-14 アプライド メディカル リソーシーズ コーポレイション 手術器具のための材料組合せ及び加工方法
US11844518B2 (en) 2020-10-29 2023-12-19 Cilag Gmbh International Method for operating a surgical instrument
US11931025B2 (en) 2020-10-29 2024-03-19 Cilag Gmbh International Surgical instrument comprising a releasable closure drive lock
US11452526B2 (en) 2020-10-29 2022-09-27 Cilag Gmbh International Surgical instrument comprising a staged voltage regulation start-up system
WO2022094227A1 (en) 2020-10-29 2022-05-05 Applied Medical Resources Corporation Actuation shaft retention mechanism for surgical stapler
USD1013170S1 (en) 2020-10-29 2024-01-30 Cilag Gmbh International Surgical instrument assembly
US11627967B2 (en) 2020-11-23 2023-04-18 Covidien Lp Trans-anastomotic insertion device
US11653915B2 (en) 2020-12-02 2023-05-23 Cilag Gmbh International Surgical instruments with sled location detection and adjustment features
US12471982B2 (en) 2020-12-02 2025-11-18 Cilag Gmbh International Method for tissue treatment by surgical instrument
US11849943B2 (en) 2020-12-02 2023-12-26 Cilag Gmbh International Surgical instrument with cartridge release mechanisms
US11737751B2 (en) 2020-12-02 2023-08-29 Cilag Gmbh International Devices and methods of managing energy dissipated within sterile barriers of surgical instrument housings
US11890010B2 (en) 2020-12-02 2024-02-06 Cllag GmbH International Dual-sided reinforced reload for surgical instruments
US11744581B2 (en) 2020-12-02 2023-09-05 Cilag Gmbh International Powered surgical instruments with multi-phase tissue treatment
US11653920B2 (en) 2020-12-02 2023-05-23 Cilag Gmbh International Powered surgical instruments with communication interfaces through sterile barrier
US11627960B2 (en) 2020-12-02 2023-04-18 Cilag Gmbh International Powered surgical instruments with smart reload with separately attachable exteriorly mounted wiring connections
US11678882B2 (en) 2020-12-02 2023-06-20 Cilag Gmbh International Surgical instruments with interactive features to remedy incidental sled movements
US11944296B2 (en) 2020-12-02 2024-04-02 Cilag Gmbh International Powered surgical instruments with external connectors
US12310591B2 (en) 2020-12-15 2025-05-27 Covidien Lp Surgical stapling device with flexible shaft
JP2024503085A (ja) 2021-01-14 2024-01-24 アプライド メディカル リソーシーズ コーポレイション シャフト認識機構を有する手術ステープラー
US11877750B2 (en) 2021-01-21 2024-01-23 Covidien Lp Surgical stapler with powered and manual functions
US11986187B2 (en) 2021-01-29 2024-05-21 Covidien Lp Circular stapling device with integrated visualization device
US11786241B2 (en) 2021-02-16 2023-10-17 Covidien Lp Surgical stapling device including a hydraulic staple formation mechanism
US12108951B2 (en) 2021-02-26 2024-10-08 Cilag Gmbh International Staple cartridge comprising a sensing array and a temperature control system
US11793514B2 (en) 2021-02-26 2023-10-24 Cilag Gmbh International Staple cartridge comprising sensor array which may be embedded in cartridge body
US11701113B2 (en) 2021-02-26 2023-07-18 Cilag Gmbh International Stapling instrument comprising a separate power antenna and a data transfer antenna
US11950777B2 (en) 2021-02-26 2024-04-09 Cilag Gmbh International Staple cartridge comprising an information access control system
US11950779B2 (en) 2021-02-26 2024-04-09 Cilag Gmbh International Method of powering and communicating with a staple cartridge
US11730473B2 (en) 2021-02-26 2023-08-22 Cilag Gmbh International Monitoring of manufacturing life-cycle
US11751869B2 (en) 2021-02-26 2023-09-12 Cilag Gmbh International Monitoring of multiple sensors over time to detect moving characteristics of tissue
US11812964B2 (en) 2021-02-26 2023-11-14 Cilag Gmbh International Staple cartridge comprising a power management circuit
US12324580B2 (en) 2021-02-26 2025-06-10 Cilag Gmbh International Method of powering and communicating with a staple cartridge
US11980362B2 (en) 2021-02-26 2024-05-14 Cilag Gmbh International Surgical instrument system comprising a power transfer coil
US11696757B2 (en) 2021-02-26 2023-07-11 Cilag Gmbh International Monitoring of internal systems to detect and track cartridge motion status
US11925349B2 (en) 2021-02-26 2024-03-12 Cilag Gmbh International Adjustment to transfer parameters to improve available power
US11723657B2 (en) 2021-02-26 2023-08-15 Cilag Gmbh International Adjustable communication based on available bandwidth and power capacity
US11744583B2 (en) 2021-02-26 2023-09-05 Cilag Gmbh International Distal communication array to tune frequency of RF systems
US11749877B2 (en) 2021-02-26 2023-09-05 Cilag Gmbh International Stapling instrument comprising a signal antenna
EP4301247A4 (en) 2021-03-01 2025-01-22 Revmedica, Inc. POWER SUPPLY FOR ACTIVATION OF SURGICAL INSTRUMENTS
US11826042B2 (en) 2021-03-22 2023-11-28 Cilag Gmbh International Surgical instrument comprising a firing drive including a selectable leverage mechanism
US11826012B2 (en) 2021-03-22 2023-11-28 Cilag Gmbh International Stapling instrument comprising a pulsed motor-driven firing rack
US11806011B2 (en) 2021-03-22 2023-11-07 Cilag Gmbh International Stapling instrument comprising tissue compression systems
US11717291B2 (en) 2021-03-22 2023-08-08 Cilag Gmbh International Staple cartridge comprising staples configured to apply different tissue compression
US11723658B2 (en) 2021-03-22 2023-08-15 Cilag Gmbh International Staple cartridge comprising a firing lockout
US11759202B2 (en) 2021-03-22 2023-09-19 Cilag Gmbh International Staple cartridge comprising an implantable layer
US11737749B2 (en) 2021-03-22 2023-08-29 Cilag Gmbh International Surgical stapling instrument comprising a retraction system
WO2022204078A1 (en) 2021-03-23 2022-09-29 Standard Bariatrics, Inc. Systems and methods for preventing tissue migration in surgical staplers
US11786239B2 (en) 2021-03-24 2023-10-17 Cilag Gmbh International Surgical instrument articulation joint arrangements comprising multiple moving linkage features
US11793516B2 (en) 2021-03-24 2023-10-24 Cilag Gmbh International Surgical staple cartridge comprising longitudinal support beam
US11849945B2 (en) 2021-03-24 2023-12-26 Cilag Gmbh International Rotary-driven surgical stapling assembly comprising eccentrically driven firing member
US12102323B2 (en) 2021-03-24 2024-10-01 Cilag Gmbh International Rotary-driven surgical stapling assembly comprising a floatable component
US11896218B2 (en) 2021-03-24 2024-02-13 Cilag Gmbh International Method of using a powered stapling device
US11896219B2 (en) 2021-03-24 2024-02-13 Cilag Gmbh International Mating features between drivers and underside of a cartridge deck
US11944336B2 (en) 2021-03-24 2024-04-02 Cilag Gmbh International Joint arrangements for multi-planar alignment and support of operational drive shafts in articulatable surgical instruments
US11857183B2 (en) 2021-03-24 2024-01-02 Cilag Gmbh International Stapling assembly components having metal substrates and plastic bodies
US11744603B2 (en) 2021-03-24 2023-09-05 Cilag Gmbh International Multi-axis pivot joints for surgical instruments and methods for manufacturing same
US11786243B2 (en) 2021-03-24 2023-10-17 Cilag Gmbh International Firing members having flexible portions for adapting to a load during a surgical firing stroke
US11832816B2 (en) 2021-03-24 2023-12-05 Cilag Gmbh International Surgical stapling assembly comprising nonplanar staples and planar staples
US11903582B2 (en) 2021-03-24 2024-02-20 Cilag Gmbh International Leveraging surfaces for cartridge installation
US11931063B2 (en) 2021-03-24 2024-03-19 Medtronic Vascular, Inc. Tissue-removing catheter with torque control
US11849944B2 (en) 2021-03-24 2023-12-26 Cilag Gmbh International Drivers for fastener cartridge assemblies having rotary drive screws
US11553920B2 (en) 2021-05-03 2023-01-17 Covidien Lp Trocar retainer assembly for surgical stapler
US11490894B1 (en) 2021-05-12 2022-11-08 Covidien Lp Surgical device with grease filter
US11642131B2 (en) 2021-05-17 2023-05-09 Covidien Lp Devices and methods for shortening a rectal stump during a lower anterior resection procedure
US12357312B2 (en) 2021-05-24 2025-07-15 Covidien Lp Anvil and delivery system assembly with automatic retaining suture release
US11612400B2 (en) 2021-05-24 2023-03-28 Covidien Lp Trocar assembly with bearing assembly for load sharing
US20220378426A1 (en) 2021-05-28 2022-12-01 Cilag Gmbh International Stapling instrument comprising a mounted shaft orientation sensor
WO2022257040A1 (en) 2021-06-09 2022-12-15 Covidien Lp Retractable trocar for circular stapling instruments
US11819208B2 (en) 2021-08-05 2023-11-21 Covidien Lp Handheld electromechanical surgical device with strain gauge drift detection
US11737759B2 (en) 2021-08-05 2023-08-29 Covidien Lp Surgical stapling device accommodating prolapsed tissue
US11744592B2 (en) 2021-08-05 2023-09-05 Covidien Lp Handheld electromechanical stapler with tissue thickness detection
US11883028B2 (en) 2021-09-08 2024-01-30 Covidien Lp Systems and methods for post-operative anastomotic leak detection
US11717299B2 (en) 2021-10-12 2023-08-08 Covidien Lp Surgical stapling device with probiotics
US12279845B2 (en) 2021-10-18 2025-04-22 Cilag Gmbh International Cable-driven actuation system for robotic surgical tool attachment
US11957337B2 (en) 2021-10-18 2024-04-16 Cilag Gmbh International Surgical stapling assembly with offset ramped drive surfaces
US12239317B2 (en) 2021-10-18 2025-03-04 Cilag Gmbh International Anvil comprising an arrangement of forming pockets proximal to tissue stop
US11877745B2 (en) 2021-10-18 2024-01-23 Cilag Gmbh International Surgical stapling assembly having longitudinally-repeating staple leg clusters
US11980363B2 (en) 2021-10-18 2024-05-14 Cilag Gmbh International Row-to-row staple array variations
US12251105B2 (en) 2021-10-20 2025-03-18 Cilag Gmbh International Lockout arrangements for surgical instruments
US12432790B2 (en) 2021-10-28 2025-09-30 Cilag Gmbh International Method and device for transmitting UART communications over a security short range wireless communication
US12089841B2 (en) 2021-10-28 2024-09-17 Cilag CmbH International Staple cartridge identification systems
US11937816B2 (en) 2021-10-28 2024-03-26 Cilag Gmbh International Electrical lead arrangements for surgical instruments
US11957342B2 (en) 2021-11-01 2024-04-16 Cilag Gmbh International Devices, systems, and methods for detecting tissue and foreign objects during a surgical operation
WO2023095036A1 (en) 2021-11-24 2023-06-01 AtaCor Medical, Inc. Implantable electrical leads and associated delivery and control systems
US12213674B2 (en) 2021-12-08 2025-02-04 Covidien Lp Determination of premature staple ejection
US12268388B2 (en) 2022-03-15 2025-04-08 Cilag Gmbh International Surgical stapler cartridge with integrated RFID feature
CN119183365A (zh) * 2022-05-18 2024-12-24 柯惠Lp公司 包括无绳手术器械、通信中枢以及一个或多个所连接的装置的手术系统
WO2023225866A1 (en) * 2022-05-24 2023-11-30 Covidien Lp Powered stapling device with manual override mechanism
WO2024224333A2 (en) * 2023-04-28 2024-10-31 Covidien Lp Powered stapling device with manual override mechanism

Citations (6)

* Cited by examiner, † Cited by third party
Publication number Priority date Publication date Assignee Title
JPH06304174A (ja) * 1993-04-27 1994-11-01 Olympus Optical Co Ltd 縫合結紮装置
JPH08182684A (ja) * 1994-10-07 1996-07-16 United States Surgical Corp 外科用ファスナをつけるための自家動力付き外科装置
JP2002543911A (ja) * 1998-06-19 2002-12-24 ボストン サイエンティフィック リミテッド 器官の全厚を切除する方法およびデバイス
JP2003523255A (ja) * 2000-02-22 2003-08-05 パワー メディカル インターベンションズ,インコーポレイテッド 電子機械ドライバおよびコンピュータ制御能力を有する遠隔外科器具アタッチメント
WO2004032760A2 (en) * 2002-10-04 2004-04-22 Tyco Healthcare Group, Lp Pneumatic powered surgical stapling device
JP2005502441A (ja) * 2001-09-25 2005-01-27 クンツ,ライナー 微小侵襲手術で用いるための多機能器具

Family Cites Families (110)

* Cited by examiner, † Cited by third party
Publication number Priority date Publication date Assignee Title
US2588006A (en) * 1947-04-21 1952-03-04 Fred M Hufnagel Dental and surgical percussion tool
US2770694A (en) * 1952-07-12 1956-11-13 Mercier Jean Pressure switch
US2770964A (en) 1953-10-19 1956-11-20 American Hardware Corp Adapter housing for door locks
US4255698A (en) * 1979-01-26 1981-03-10 Raychem Corporation Protection of batteries
US4278091A (en) * 1980-02-01 1981-07-14 Howmedica, Inc. Soft tissue retainer for use with bone implants, especially bone staples
US4475679A (en) * 1981-08-07 1984-10-09 Fleury Jr George J Multi-staple cartridge for surgical staplers
DE3480971D1 (de) * 1983-08-16 1990-02-08 Omron Tateisi Electronics Co Elektrischer schalter.
US4857818A (en) * 1988-05-03 1989-08-15 Hobbs Taz D Electric motor brake
US4979497A (en) * 1989-06-06 1990-12-25 Olympus Optical Co., Ltd. Endoscope
EP0438827A1 (en) 1990-01-19 1991-07-31 Koninklijke Philips Electronics N.V. Apparatus comprising an electric motor having a variable motor power
US5431645A (en) 1990-05-10 1995-07-11 Symbiosis Corporation Remotely activated endoscopic tools such as endoscopic biopsy forceps
US5104025A (en) * 1990-09-28 1992-04-14 Ethicon, Inc. Intraluminal anastomotic surgical stapler with detached anvil
US5268622A (en) 1991-06-27 1993-12-07 Stryker Corporation DC powered surgical handpiece having a motor control circuit
US5350104A (en) * 1991-08-23 1994-09-27 Ethicon, Inc. Sealing means for endoscopic surgical anastomosis stapling instrument
GR920100358A (el) * 1991-08-23 1993-06-07 Ethicon Inc Οργανο συρραφής χειρουργικής αναστομώσεως.
US5383880A (en) 1992-01-17 1995-01-24 Ethicon, Inc. Endoscopic surgical system with sensing means
US5433721A (en) 1992-01-17 1995-07-18 Ethicon, Inc. Endoscopic instrument having a torsionally stiff drive shaft for applying fasteners to tissue
US5626595A (en) 1992-02-14 1997-05-06 Automated Medical Instruments, Inc. Automated surgical instrument
US5255698A (en) * 1992-04-13 1993-10-26 Orville Riley Collapsible tent frame
US5467911A (en) * 1993-04-27 1995-11-21 Olympus Optical Co., Ltd. Surgical device for stapling and fastening body tissues
US5792165A (en) * 1993-07-21 1998-08-11 Charles H. Klieman Endoscopic instrument with detachable end effector
US5709680A (en) 1993-07-22 1998-01-20 Ethicon Endo-Surgery, Inc. Electrosurgical hemostatic device
US5810811A (en) * 1993-07-22 1998-09-22 Ethicon Endo-Surgery, Inc. Electrosurgical hemostatic device
US5503320A (en) 1993-08-19 1996-04-02 United States Surgical Corporation Surgical apparatus with indicator
US5779623A (en) 1993-10-08 1998-07-14 Leonard Medical, Inc. Positioner for medical instruments
US5472427A (en) 1993-10-22 1995-12-05 Rammler; David H. Trocar device
US5743456A (en) * 1993-12-16 1998-04-28 Stryker Corporation Hand actuable surgical handpiece
JP2762033B2 (ja) * 1994-01-28 1998-06-04 株式会社キッツ バルブ用アクチュエータの手動操作装置
US5465895A (en) * 1994-02-03 1995-11-14 Ethicon Endo-Surgery, Inc. Surgical stapler instrument
CA2148667A1 (en) * 1994-05-05 1995-11-06 Carlo A. Mililli Self-contained powered surgical apparatus
US5779130A (en) 1994-08-05 1998-07-14 United States Surgical Corporation Self-contained powered surgical apparatus
US5868760A (en) * 1994-12-07 1999-02-09 Mcguckin, Jr.; James F. Method and apparatus for endolumenally resectioning tissue
US5575799A (en) 1995-03-30 1996-11-19 United States Surgical Corporation Articulating surgical apparatus
DE69632687T2 (de) * 1995-08-07 2005-06-09 Tyco Electronics Raychem K.K., Kawasaki Ptc-vorrichtung und batteriesatz, der diese verwendet
EP0762521B1 (en) * 1995-09-06 1999-03-10 Fuji Photo Film Co., Ltd. Lithium ion secondary battery
US5796188A (en) * 1995-10-05 1998-08-18 Xomed Surgical Products, Inc. Battery-powered medical instrument with power booster
US5747953A (en) 1996-03-29 1998-05-05 Stryker Corporation Cordless, battery operated surical tool
US6338737B1 (en) * 1997-07-17 2002-01-15 Haviv Toledano Flexible annular stapler for closed surgery of hollow organs
JPH1154110A (ja) 1997-07-31 1999-02-26 N Ii C Mori Energ Kk 正特性温度素子を備えた電池保護装置
US6434507B1 (en) * 1997-09-05 2002-08-13 Surgical Navigation Technologies, Inc. Medical instrument and method for use with computer-assisted image guided surgery
WO1999017672A1 (en) 1997-10-06 1999-04-15 Somnus Medical Technologies, Inc. Electro-surgical instrument with a graphical user interface
US8075570B2 (en) 2001-11-28 2011-12-13 Aptus Endosystems, Inc. Intraluminal prosthesis attachment systems and methods
US6084366A (en) 1998-08-20 2000-07-04 Nuell, Inc. DC powered hand tools with automatic braking system
US6076018A (en) * 1998-09-04 2000-06-13 Woodside Biomedical, Inc Method and apparatus for low power regulated output in battery powered electrotherapy devices
WO2000019455A1 (en) * 1998-09-25 2000-04-06 Bourns, Inc. Two-step process for preparing positive temperature coefficient polymer materials
US20010047183A1 (en) * 2000-04-05 2001-11-29 Salvatore Privitera Surgical device for the collection of soft tissue
US6887244B1 (en) 1998-12-16 2005-05-03 Medtronic, Inc. Cordless surgical handpiece with disposable battery; and method
US6127811A (en) * 1999-01-12 2000-10-03 Vlsi Technology, Inc. Micro-electromechanical system and voltage shifter, method of synchronizing an electronic system and a micromechanical system of a micro-electromechanical system
JP2005243652A (ja) 1999-04-23 2005-09-08 Sony Chem Corp 過電流保護装置
US6793652B1 (en) * 1999-06-02 2004-09-21 Power Medical Interventions, Inc. Electro-mechanical surgical device
US6981941B2 (en) * 1999-06-02 2006-01-03 Power Medical Interventions Electro-mechanical surgical device
US6517565B1 (en) * 1999-06-02 2003-02-11 Power Medical Interventions, Inc. Carriage assembly for controlling a steering wire steering mechanism within a flexible shaft
US6264087B1 (en) * 1999-07-12 2001-07-24 Powermed, Inc. Expanding parallel jaw device for use with an electromechanical driver device
US7303570B2 (en) * 1999-07-28 2007-12-04 Cardica, Inc. Anastomosis tool having a connector holder
US6676600B1 (en) 1999-09-03 2004-01-13 Tensys Medical, Inc. Smart physiologic parameter sensor and method
US6340878B1 (en) * 1999-10-22 2002-01-22 Motorola, Inc. Silicon equivalent PTC circuit
US6533157B1 (en) * 2000-02-22 2003-03-18 Power Medical Interventions, Inc. Tissue stapling attachment for use with an electromechanical driver device
DE10029133A1 (de) * 2000-06-14 2002-01-03 Hilti Ag Elektrohandwerkzeuggerät mit Werkzeug
US7273483B2 (en) * 2000-10-20 2007-09-25 Ethicon Endo-Surgery, Inc. Apparatus and method for alerting generator functions in an ultrasonic surgical system
US6679899B2 (en) 2000-10-20 2004-01-20 Ethicon Endo-Surgery, Inc. Method for detecting transverse vibrations in an ultrasonic hand piece
US6908472B2 (en) 2000-10-20 2005-06-21 Ethicon Endo-Surgery, Inc. Apparatus and method for altering generator functions in an ultrasonic surgical system
US6645663B2 (en) * 2001-03-28 2003-11-11 Hewlett-Packard Development Company, L.P. Life extending battery adapter for multi-chemistry battery systems
JP2003024336A (ja) * 2001-07-16 2003-01-28 Hitachi Ltd 術具装置
EP2305143B1 (en) * 2001-08-08 2016-11-09 Stryker Corporation Motorized surgical handpiece that drives a cutting accessory and that includes a coil for reading data from the accessory
US7464847B2 (en) * 2005-06-03 2008-12-16 Tyco Healthcare Group Lp Surgical stapler with timer and feedback display
US20030092364A1 (en) 2001-11-09 2003-05-15 International Business Machines Corporation Abrasive fluid jet cutting composition, method and apparatus
US7223272B2 (en) 2004-06-14 2007-05-29 Ethicon Endo-Surgery, Inc. Endoscopic clip applier with hermaphroditic jaws mounted on non-collinear axes
JP4078518B2 (ja) 2001-12-11 2008-04-23 株式会社コーナン・メディカル 医療用顕微鏡
AU2003245246B2 (en) * 2002-04-25 2009-01-08 Covidien Lp Surgical instruments including micro-electromechanical systems (MEMS)
US7967839B2 (en) 2002-05-20 2011-06-28 Rocky Mountain Biosystems, Inc. Electromagnetic treatment of tissues and cells
JP3830433B2 (ja) * 2002-07-16 2006-10-04 ジヤトコ株式会社 自動変速機用歯車変速装置
US7887559B2 (en) * 2002-08-08 2011-02-15 Stryker Corporation Surgical cutting accessory with encapsulated RFID chip
GB0220460D0 (en) 2002-09-03 2002-10-09 Acrobot Company The Ltd Robot head
US7023159B2 (en) * 2002-10-18 2006-04-04 Black & Decker Inc. Method and device for braking a motor
US7075257B2 (en) * 2002-10-18 2006-07-11 Black & Decker Inc. Method and device for braking a motor
US6846996B2 (en) * 2002-12-17 2005-01-25 Medconx, Inc. Pushbutton mechanical limiter switch including movable contact with conductive radial segment located in serrated housing passageway
JP2004260980A (ja) 2003-02-28 2004-09-16 Hitachi Printing Solutions Ltd 定電圧ステッピングモータ駆動回路の異常検出方法
JP2004274928A (ja) 2003-03-11 2004-09-30 Asmo Co Ltd アクチュエータの制御装置
ES2354613T3 (es) * 2003-03-26 2011-03-16 Tyco Healthcare Group Lp Energía almacenada en un resorte con liberación controlada.
US7044352B2 (en) 2003-05-20 2006-05-16 Ethicon Endo-Surgery, Inc. Surgical stapling instrument having a single lockout mechanism for prevention of firing
US7140528B2 (en) * 2003-05-20 2006-11-28 Ethicon Endo-Surgery, Inc. Surgical stapling instrument having an electroactive polymer actuated single lockout mechanism for prevention of firing
US7168604B2 (en) * 2003-06-20 2007-01-30 Tyco Healthcare Group Lp Surgical stapling device
JP2005094128A (ja) 2003-09-12 2005-04-07 Matsushita Electric Ind Co Ltd 認証システム
GB0403020D0 (en) 2004-02-11 2004-03-17 Pa Consulting Services Portable charging device
US8317074B2 (en) * 2004-07-28 2012-11-27 Ethicon Endo-Surgery, Inc. Electroactive polymer-based articulation mechanism for circular stapler
US7143926B2 (en) * 2005-02-07 2006-12-05 Ethicon Endo-Surgery, Inc. Surgical stapling instrument incorporating a multi-stroke firing mechanism with return spring rotary manual retraction system
US7487899B2 (en) * 2004-07-28 2009-02-10 Ethicon Endo-Surgery, Inc. Surgical instrument incorporating EAP complete firing system lockout mechanism
US7143925B2 (en) * 2004-07-28 2006-12-05 Ethicon Endo-Surgery, Inc. Surgical instrument incorporating EAP blocking lockout mechanism
US7128254B2 (en) * 2004-09-07 2006-10-31 Ethicon Endo-Surgery, Inc. Surgical stapling instrument incorporating a multistroke firing mechanism having a rotary slip-clutch transmission
US20060095096A1 (en) 2004-09-09 2006-05-04 Debenedictis Leonard C Interchangeable tips for medical laser treatments and methods for using same
WO2006050377A2 (en) 2004-11-01 2006-05-11 Superior Tool Corporation Powered hand held devices
US7784663B2 (en) * 2005-03-17 2010-08-31 Ethicon Endo-Surgery, Inc. Surgical stapling instrument having load sensing control circuitry
US7717312B2 (en) 2005-06-03 2010-05-18 Tyco Healthcare Group Lp Surgical instruments employing sensors
WO2006132992A2 (en) * 2005-06-03 2006-12-14 Tyco Healthcare Group Lp Battery powered surgical instrument
US20060282084A1 (en) * 2005-06-03 2006-12-14 Ken Blier System and method for sealing tissue
US7959050B2 (en) * 2005-07-26 2011-06-14 Ethicon Endo-Surgery, Inc Electrically self-powered surgical instrument with manual release
US8579176B2 (en) * 2005-07-26 2013-11-12 Ethicon Endo-Surgery, Inc. Surgical stapling and cutting device and method for using the device
US7479608B2 (en) 2006-05-19 2009-01-20 Ethicon Endo-Surgery, Inc. Force switch
US8627995B2 (en) * 2006-05-19 2014-01-14 Ethicon Endo-Sugery, Inc. Electrically self-powered surgical instrument with cryptographic identification of interchangeable part
US8096459B2 (en) 2005-10-11 2012-01-17 Ethicon Endo-Surgery, Inc. Surgical stapler with an end effector support
US7246734B2 (en) * 2005-12-05 2007-07-24 Ethicon Endo-Surgery, Inc. Rotary hydraulic pump actuated multi-stroke surgical instrument
US7644848B2 (en) * 2006-01-31 2010-01-12 Ethicon Endo-Surgery, Inc. Electronic lockouts and surgical instrument including same
US7845537B2 (en) * 2006-01-31 2010-12-07 Ethicon Endo-Surgery, Inc. Surgical instrument having recording capabilities
US8062236B2 (en) * 2006-02-02 2011-11-22 Tyco Healthcare Group, Lp Method and system to determine an optimal tissue compression time to implant a surgical element
US20070213692A1 (en) * 2006-03-09 2007-09-13 Timo Neubauer Force action feedback in surgical instruments
JP5085996B2 (ja) * 2006-10-25 2012-11-28 テルモ株式会社 マニピュレータシステム
US8459520B2 (en) * 2007-01-10 2013-06-11 Ethicon Endo-Surgery, Inc. Surgical instrument with wireless communication between control unit and remote sensor
US7862627B2 (en) 2007-04-27 2011-01-04 Front Edge Technology, Inc. Thin film battery substrate cutting and fabrication process
US8157145B2 (en) 2007-05-31 2012-04-17 Ethicon Endo-Surgery, Inc. Pneumatically powered surgical cutting and fastening instrument with electrical feedback
US8012170B2 (en) 2009-04-27 2011-09-06 Tyco Healthcare Group Lp Device and method for controlling compression of tissue

Patent Citations (6)

* Cited by examiner, † Cited by third party
Publication number Priority date Publication date Assignee Title
JPH06304174A (ja) * 1993-04-27 1994-11-01 Olympus Optical Co Ltd 縫合結紮装置
JPH08182684A (ja) * 1994-10-07 1996-07-16 United States Surgical Corp 外科用ファスナをつけるための自家動力付き外科装置
JP2002543911A (ja) * 1998-06-19 2002-12-24 ボストン サイエンティフィック リミテッド 器官の全厚を切除する方法およびデバイス
JP2003523255A (ja) * 2000-02-22 2003-08-05 パワー メディカル インターベンションズ,インコーポレイテッド 電子機械ドライバおよびコンピュータ制御能力を有する遠隔外科器具アタッチメント
JP2005502441A (ja) * 2001-09-25 2005-01-27 クンツ,ライナー 微小侵襲手術で用いるための多機能器具
WO2004032760A2 (en) * 2002-10-04 2004-04-22 Tyco Healthcare Group, Lp Pneumatic powered surgical stapling device

Cited By (556)

* Cited by examiner, † Cited by third party
Publication number Priority date Publication date Assignee Title
US9844379B2 (en) 2004-07-28 2017-12-19 Ethicon Llc Surgical stapling instrument having a clearanced opening
US10485547B2 (en) 2004-07-28 2019-11-26 Ethicon Llc Surgical staple cartridges
US9737302B2 (en) 2004-07-28 2017-08-22 Ethicon Llc Surgical stapling instrument having a restraining member
US9737303B2 (en) 2004-07-28 2017-08-22 Ethicon Llc Articulating surgical stapling instrument incorporating a two-piece E-beam firing mechanism
US10383634B2 (en) 2004-07-28 2019-08-20 Ethicon Llc Stapling system incorporating a firing lockout
US9603991B2 (en) 2004-07-28 2017-03-28 Ethicon Endo-Surgery, Llc Surgical stapling instrument having a medical substance dispenser
US10314590B2 (en) 2004-07-28 2019-06-11 Ethicon Llc Articulating surgical stapling instrument incorporating a two-piece e-beam firing mechanism
US9585663B2 (en) 2004-07-28 2017-03-07 Ethicon Endo-Surgery, Llc Surgical stapling instrument configured to apply a compressive pressure to tissue
US10293100B2 (en) 2004-07-28 2019-05-21 Ethicon Llc Surgical stapling instrument having a medical substance dispenser
US10292707B2 (en) 2004-07-28 2019-05-21 Ethicon Llc Articulating surgical stapling instrument incorporating a firing mechanism
US10278702B2 (en) 2004-07-28 2019-05-07 Ethicon Llc Stapling system comprising a firing bar and a lockout
US10245035B2 (en) 2005-08-31 2019-04-02 Ethicon Llc Stapling assembly configured to produce different formed staple heights
US10278697B2 (en) 2005-08-31 2019-05-07 Ethicon Llc Staple cartridge comprising a staple driver arrangement
US10463369B2 (en) 2005-08-31 2019-11-05 Ethicon Llc Disposable end effector for use with a surgical instrument
US10420553B2 (en) 2005-08-31 2019-09-24 Ethicon Llc Staple cartridge comprising a staple driver arrangement
US10321909B2 (en) 2005-08-31 2019-06-18 Ethicon Llc Staple cartridge comprising a staple including deformable members
US9795382B2 (en) 2005-08-31 2017-10-24 Ethicon Llc Fastener cartridge assembly comprising a cam and driver arrangement
US9592052B2 (en) 2005-08-31 2017-03-14 Ethicon Endo-Surgery, Llc Stapling assembly for forming different formed staple heights
US9848873B2 (en) 2005-08-31 2017-12-26 Ethicon Llc Fastener cartridge assembly comprising a driver and staple cavity arrangement
US10070863B2 (en) 2005-08-31 2018-09-11 Ethicon Llc Fastener cartridge assembly comprising a fixed anvil
US10729436B2 (en) 2005-08-31 2020-08-04 Ethicon Llc Robotically-controlled surgical stapling devices that produce formed staples having different lengths
US10932774B2 (en) 2005-08-31 2021-03-02 Ethicon Llc Surgical end effector for forming staples to different heights
US9561032B2 (en) 2005-08-31 2017-02-07 Ethicon Endo-Surgery, Llc Staple cartridge comprising a staple driver arrangement
US10271845B2 (en) 2005-08-31 2019-04-30 Ethicon Llc Fastener cartridge assembly comprising a cam and driver arrangement
US10271846B2 (en) 2005-08-31 2019-04-30 Ethicon Llc Staple cartridge for use with a surgical stapler
US9326768B2 (en) 2005-08-31 2016-05-03 Ethicon Endo-Surgery, Llc Staple cartridges for forming staples having differing formed staple heights
US10245032B2 (en) 2005-08-31 2019-04-02 Ethicon Llc Staple cartridges for forming staples having differing formed staple heights
US10869664B2 (en) 2005-08-31 2020-12-22 Ethicon Llc End effector for use with a surgical stapling instrument
US9839427B2 (en) 2005-08-31 2017-12-12 Ethicon Llc Fastener cartridge assembly comprising a fixed anvil and a staple driver arrangement
US10159482B2 (en) 2005-08-31 2018-12-25 Ethicon Llc Fastener cartridge assembly comprising a fixed anvil and different staple heights
US10842488B2 (en) 2005-08-31 2020-11-24 Ethicon Llc Fastener cartridge assembly comprising a fixed anvil and different staple heights
US10842489B2 (en) 2005-08-31 2020-11-24 Ethicon Llc Fastener cartridge assembly comprising a cam and driver arrangement
US10149679B2 (en) 2005-11-09 2018-12-11 Ethicon Llc Surgical instrument comprising drive systems
US9968356B2 (en) 2005-11-09 2018-05-15 Ethicon Llc Surgical instrument drive systems
US9895147B2 (en) 2005-11-09 2018-02-20 Ethicon Llc End effectors for surgical staplers
US10028742B2 (en) 2005-11-09 2018-07-24 Ethicon Llc Staple cartridge comprising staples with different unformed heights
US10653417B2 (en) 2006-01-31 2020-05-19 Ethicon Llc Surgical instrument
US10278722B2 (en) 2006-01-31 2019-05-07 Ethicon Llc Motor-driven surgical cutting and fastening instrument
US10463383B2 (en) 2006-01-31 2019-11-05 Ethicon Llc Stapling instrument including a sensing system
US9326770B2 (en) 2006-01-31 2016-05-03 Ethicon Endo-Surgery, Llc Surgical instrument
US9370358B2 (en) 2006-01-31 2016-06-21 Ethicon Endo-Surgery, Llc Motor-driven surgical cutting and fastening instrument with tactile position feedback
US10463384B2 (en) 2006-01-31 2019-11-05 Ethicon Llc Stapling assembly
US9517068B2 (en) 2006-01-31 2016-12-13 Ethicon Endo-Surgery, Llc Surgical instrument with automatically-returned firing member
US10893853B2 (en) 2006-01-31 2021-01-19 Ethicon Llc Stapling assembly including motor drive systems
US10098636B2 (en) 2006-01-31 2018-10-16 Ethicon Llc Surgical instrument having force feedback capabilities
US10743849B2 (en) 2006-01-31 2020-08-18 Ethicon Llc Stapling system including an articulation system
US10426463B2 (en) 2006-01-31 2019-10-01 Ehticon LLC Surgical instrument having a feedback system
US10058963B2 (en) 2006-01-31 2018-08-28 Ethicon Llc Automated end effector component reloading system for use with a robotic system
US10993717B2 (en) 2006-01-31 2021-05-04 Ethicon Llc Surgical stapling system comprising a control system
US9451958B2 (en) 2006-01-31 2016-09-27 Ethicon Endo-Surgery, Llc Surgical instrument with firing actuator lockout
US9326769B2 (en) 2006-01-31 2016-05-03 Ethicon Endo-Surgery, Llc Surgical instrument
US11051811B2 (en) 2006-01-31 2021-07-06 Ethicon Llc End effector for use with a surgical instrument
US9320520B2 (en) 2006-01-31 2016-04-26 Ethicon Endo-Surgery, Inc. Surgical instrument system
US10052100B2 (en) 2006-01-31 2018-08-21 Ethicon Llc Surgical instrument system configured to detect resistive forces experienced by a tissue cutting implement
US10052099B2 (en) 2006-01-31 2018-08-21 Ethicon Llc Surgical instrument system comprising a firing system including a rotatable shaft and first and second actuation ramps
US10299817B2 (en) 2006-01-31 2019-05-28 Ethicon Llc Motor-driven fastening assembly
US10010322B2 (en) 2006-01-31 2018-07-03 Ethicon Llc Surgical instrument
US10342533B2 (en) 2006-01-31 2019-07-09 Ethicon Llc Surgical instrument
US10201363B2 (en) 2006-01-31 2019-02-12 Ethicon Llc Motor-driven surgical instrument
US9861359B2 (en) 2006-01-31 2018-01-09 Ethicon Llc Powered surgical instruments with firing system lockout arrangements
US10004498B2 (en) 2006-01-31 2018-06-26 Ethicon Llc Surgical instrument comprising a plurality of articulation joints
US10485539B2 (en) 2006-01-31 2019-11-26 Ethicon Llc Surgical instrument with firing lockout
US10842491B2 (en) 2006-01-31 2020-11-24 Ethicon Llc Surgical system with an actuation console
US10499890B2 (en) 2006-01-31 2019-12-10 Ethicon Llc Endoscopic surgical instrument with a handle that can articulate with respect to the shaft
US10335144B2 (en) 2006-01-31 2019-07-02 Ethicon Llc Surgical instrument
US11058420B2 (en) 2006-01-31 2021-07-13 Cilag Gmbh International Surgical stapling apparatus comprising a lockout system
US10213262B2 (en) 2006-03-23 2019-02-26 Ethicon Llc Manipulatable surgical systems with selectively articulatable fastening device
US9492167B2 (en) 2006-03-23 2016-11-15 Ethicon Endo-Surgery, Llc Articulatable surgical device with rotary driven cutting member
US10070861B2 (en) 2006-03-23 2018-09-11 Ethicon Llc Articulatable surgical device
US10064688B2 (en) 2006-03-23 2018-09-04 Ethicon Llc Surgical system with selectively articulatable end effector
US10314589B2 (en) 2006-06-27 2019-06-11 Ethicon Llc Surgical instrument including a shifting assembly
US10420560B2 (en) 2006-06-27 2019-09-24 Ethicon Llc Manually driven surgical cutting and fastening instrument
US10595862B2 (en) 2006-09-29 2020-03-24 Ethicon Llc Staple cartridge including a compressible member
US10568652B2 (en) 2006-09-29 2020-02-25 Ethicon Llc Surgical staples having attached drivers of different heights and stapling instruments for deploying the same
US9408604B2 (en) 2006-09-29 2016-08-09 Ethicon Endo-Surgery, Llc Surgical instrument comprising a firing system including a compliant portion
US11406379B2 (en) 2006-09-29 2022-08-09 Cilag Gmbh International Surgical end effectors with staple cartridges
US10695053B2 (en) 2006-09-29 2020-06-30 Ethicon Llc Surgical end effectors with staple cartridges
US10172616B2 (en) 2006-09-29 2019-01-08 Ethicon Llc Surgical staple cartridge
US10448952B2 (en) 2006-09-29 2019-10-22 Ethicon Llc End effector for use with a surgical fastening instrument
US9603595B2 (en) 2006-09-29 2017-03-28 Ethicon Endo-Surgery, Llc Surgical instrument comprising an adjustable system configured to accommodate different jaw heights
US9706991B2 (en) 2006-09-29 2017-07-18 Ethicon Endo-Surgery, Inc. Staple cartridge comprising staples including a lateral base
US10342541B2 (en) 2006-10-03 2019-07-09 Ethicon Llc Surgical instruments with E-beam driver and rotary drive arrangements
US10433918B2 (en) 2007-01-10 2019-10-08 Ethicon Llc Surgical instrument system configured to evaluate the load applied to a firing member at the initiation of a firing stroke
US11064998B2 (en) 2007-01-10 2021-07-20 Cilag Gmbh International Surgical instrument with wireless communication between a control unit of a robotic system and remote sensor
US9757123B2 (en) 2007-01-10 2017-09-12 Ethicon Llc Powered surgical instrument having a transmission system
US10278780B2 (en) 2007-01-10 2019-05-07 Ethicon Llc Surgical instrument for use with robotic system
US10751138B2 (en) 2007-01-10 2020-08-25 Ethicon Llc Surgical instrument for use with a robotic system
US10517682B2 (en) 2007-01-10 2019-12-31 Ethicon Llc Surgical instrument with wireless communication between control unit and remote sensor
US10441369B2 (en) 2007-01-10 2019-10-15 Ethicon Llc Articulatable surgical instrument configured for detachable use with a robotic system
US11000277B2 (en) 2007-01-10 2021-05-11 Ethicon Llc Surgical instrument with wireless communication between control unit and remote sensor
US11006951B2 (en) 2007-01-10 2021-05-18 Ethicon Llc Surgical instrument with wireless communication between control unit and sensor transponders
US12004743B2 (en) 2007-01-10 2024-06-11 Cilag Gmbh International Staple cartridge comprising a sloped wall
US10517590B2 (en) 2007-01-10 2019-12-31 Ethicon Llc Powered surgical instrument having a transmission system
US9775613B2 (en) 2007-01-11 2017-10-03 Ethicon Llc Surgical stapling device with a curved end effector
US9724091B2 (en) 2007-01-11 2017-08-08 Ethicon Llc Surgical stapling device
US9655624B2 (en) 2007-01-11 2017-05-23 Ethicon Llc Surgical stapling device with a curved end effector
US9675355B2 (en) 2007-01-11 2017-06-13 Ethicon Llc Surgical stapling device with a curved end effector
US11039836B2 (en) 2007-01-11 2021-06-22 Cilag Gmbh International Staple cartridge for use with a surgical stapling instrument
US9700321B2 (en) 2007-01-11 2017-07-11 Ethicon Llc Surgical stapling device having supports for a flexible drive mechanism
US9603598B2 (en) 2007-01-11 2017-03-28 Ethicon Endo-Surgery, Llc Surgical stapling device with a curved end effector
US9730692B2 (en) 2007-01-11 2017-08-15 Ethicon Llc Surgical stapling device with a curved staple cartridge
US10912575B2 (en) 2007-01-11 2021-02-09 Ethicon Llc Surgical stapling device having supports for a flexible drive mechanism
US9750501B2 (en) 2007-01-11 2017-09-05 Ethicon Endo-Surgery, Llc Surgical stapling devices having laterally movable anvils
US9999431B2 (en) 2007-01-11 2018-06-19 Ethicon Endo-Surgery, Llc Surgical stapling device having supports for a flexible drive mechanism
US9757130B2 (en) 2007-02-28 2017-09-12 Ethicon Llc Stapling assembly for forming different formed staple heights
US9289206B2 (en) 2007-03-15 2016-03-22 Ethicon Endo-Surgery, Llc Lateral securement members for surgical staple cartridges
US9872682B2 (en) 2007-03-15 2018-01-23 Ethicon Llc Surgical stapling instrument having a releasable buttress material
US10398433B2 (en) 2007-03-28 2019-09-03 Ethicon Llc Laparoscopic clamp load measuring devices
US9750498B2 (en) 2007-06-04 2017-09-05 Ethicon Endo Surgery, Llc Drive systems for surgical instruments
US10363033B2 (en) 2007-06-04 2019-07-30 Ethicon Llc Robotically-controlled surgical instruments
US10368863B2 (en) 2007-06-04 2019-08-06 Ethicon Llc Robotically-controlled shaft based rotary drive systems for surgical instruments
US10299787B2 (en) 2007-06-04 2019-05-28 Ethicon Llc Stapling system comprising rotary inputs
US10327765B2 (en) 2007-06-04 2019-06-25 Ethicon Llc Drive systems for surgical instruments
US10441280B2 (en) 2007-06-04 2019-10-15 Ethicon Llc Robotically-controlled shaft based rotary drive systems for surgical instruments
US9987003B2 (en) 2007-06-04 2018-06-05 Ethicon Llc Robotic actuator assembly
US9585658B2 (en) 2007-06-04 2017-03-07 Ethicon Endo-Surgery, Llc Stapling systems
US9795381B2 (en) 2007-06-04 2017-10-24 Ethicon Endo-Surgery, Llc Robotically-controlled shaft based rotary drive systems for surgical instruments
US9662110B2 (en) 2007-06-22 2017-05-30 Ethicon Endo-Surgery, Llc Surgical stapling instrument with an articulatable end effector
US10765424B2 (en) 2008-02-13 2020-09-08 Ethicon Llc Surgical stapling instrument
US9687231B2 (en) 2008-02-13 2017-06-27 Ethicon Llc Surgical stapling instrument
US9867618B2 (en) 2008-02-14 2018-01-16 Ethicon Llc Surgical stapling apparatus including firing force regulation
US9877723B2 (en) 2008-02-14 2018-01-30 Ethicon Llc Surgical stapling assembly comprising a selector arrangement
US9980729B2 (en) 2008-02-14 2018-05-29 Ethicon Endo-Surgery, Llc Detachable motor powered surgical instrument
US10660640B2 (en) 2008-02-14 2020-05-26 Ethicon Llc Motorized surgical cutting and fastening instrument
US10463370B2 (en) 2008-02-14 2019-11-05 Ethicon Llc Motorized surgical instrument
US10307163B2 (en) 2008-02-14 2019-06-04 Ethicon Llc Detachable motor powered surgical instrument
US9962158B2 (en) 2008-02-14 2018-05-08 Ethicon Llc Surgical stapling apparatuses with lockable end effector positioning systems
US9999426B2 (en) 2008-02-14 2018-06-19 Ethicon Llc Detachable motor powered surgical instrument
US9872684B2 (en) 2008-02-14 2018-01-23 Ethicon Llc Surgical stapling apparatus including firing force regulation
US9522029B2 (en) 2008-02-14 2016-12-20 Ethicon Endo-Surgery, Llc Motorized surgical cutting and fastening instrument having handle based power source
US10265067B2 (en) 2008-02-14 2019-04-23 Ethicon Llc Surgical instrument including a regulator and a control system
US10470763B2 (en) 2008-02-14 2019-11-12 Ethicon Llc Surgical cutting and fastening instrument including a sensing system
US10004505B2 (en) 2008-02-14 2018-06-26 Ethicon Llc Detachable motor powered surgical instrument
US9498219B2 (en) 2008-02-14 2016-11-22 Ethicon Endo-Surgery, Llc Detachable motor powered surgical instrument
US10238387B2 (en) 2008-02-14 2019-03-26 Ethicon Llc Surgical instrument comprising a control system
US10238385B2 (en) 2008-02-14 2019-03-26 Ethicon Llc Surgical instrument system for evaluating tissue impedance
US9901346B2 (en) 2008-02-14 2018-02-27 Ethicon Llc Stapling assembly
US9901345B2 (en) 2008-02-14 2018-02-27 Ethicon Llc Stapling assembly
US10206676B2 (en) 2008-02-14 2019-02-19 Ethicon Llc Surgical cutting and fastening instrument
US9901344B2 (en) 2008-02-14 2018-02-27 Ethicon Llc Stapling assembly
US10779822B2 (en) 2008-02-14 2020-09-22 Ethicon Llc System including a surgical cutting and fastening instrument
US9913647B2 (en) 2008-02-15 2018-03-13 Ethicon Llc Disposable loading unit for use with a surgical instrument
US11272927B2 (en) 2008-02-15 2022-03-15 Cilag Gmbh International Layer arrangements for surgical staple cartridges
US9839429B2 (en) 2008-02-15 2017-12-12 Ethicon Endo-Surgery, Llc Stapling system comprising a lockout
US10856866B2 (en) 2008-02-15 2020-12-08 Ethicon Llc Surgical end effector having buttress retention features
US9770245B2 (en) 2008-02-15 2017-09-26 Ethicon Llc Layer arrangements for surgical staple cartridges
US10058327B2 (en) 2008-02-15 2018-08-28 Ethicon Llc End effector coupling arrangements for a surgical cutting and stapling instrument
US11058418B2 (en) 2008-02-15 2021-07-13 Cilag Gmbh International Surgical end effector having buttress retention features
US10390823B2 (en) 2008-02-15 2019-08-27 Ethicon Llc End effector comprising an adjunct
US9585657B2 (en) 2008-02-15 2017-03-07 Ethicon Endo-Surgery, Llc Actuator for releasing a layer of material from a surgical end effector
US10258336B2 (en) 2008-09-19 2019-04-16 Ethicon Llc Stapling system configured to produce different formed staple heights
US10898184B2 (en) 2008-09-23 2021-01-26 Ethicon Llc Motor-driven surgical cutting instrument
US10736628B2 (en) 2008-09-23 2020-08-11 Ethicon Llc Motor-driven surgical cutting instrument
US10045778B2 (en) 2008-09-23 2018-08-14 Ethicon Llc Robotically-controlled motorized surgical instrument with an end effector
US10485537B2 (en) 2008-09-23 2019-11-26 Ethicon Llc Motorized surgical instrument
US10105136B2 (en) 2008-09-23 2018-10-23 Ethicon Llc Robotically-controlled motorized surgical instrument with an end effector
US10456133B2 (en) 2008-09-23 2019-10-29 Ethicon Llc Motorized surgical instrument
US10130361B2 (en) 2008-09-23 2018-11-20 Ethicon Llc Robotically-controller motorized surgical tool with an end effector
US10765425B2 (en) 2008-09-23 2020-09-08 Ethicon Llc Robotically-controlled motorized surgical instrument with an end effector
US10420549B2 (en) 2008-09-23 2019-09-24 Ethicon Llc Motorized surgical instrument
US9655614B2 (en) 2008-09-23 2017-05-23 Ethicon Endo-Surgery, Llc Robotically-controlled motorized surgical instrument with an end effector
US11617575B2 (en) 2008-09-23 2023-04-04 Cilag Gmbh International Motor-driven surgical cutting instrument
US10238389B2 (en) 2008-09-23 2019-03-26 Ethicon Llc Robotically-controlled motorized surgical instrument with an end effector
US10149683B2 (en) 2008-10-10 2018-12-11 Ethicon Llc Powered surgical cutting and stapling apparatus with manually retractable firing system
US9370364B2 (en) 2008-10-10 2016-06-21 Ethicon Endo-Surgery, Llc Powered surgical cutting and stapling apparatus with manually retractable firing system
US10758233B2 (en) 2009-02-05 2020-09-01 Ethicon Llc Articulatable surgical instrument comprising a firing drive
US11129615B2 (en) 2009-02-05 2021-09-28 Cilag Gmbh International Surgical stapling system
US9393015B2 (en) 2009-02-06 2016-07-19 Ethicon Endo-Surgery, Llc Motor driven surgical fastener device with cutting member reversing mechanism
US10420550B2 (en) 2009-02-06 2019-09-24 Ethicon Llc Motor driven surgical fastener device with switching system configured to prevent firing initiation until activated
US9486214B2 (en) 2009-02-06 2016-11-08 Ethicon Endo-Surgery, Llc Motor driven surgical fastener device with switching system configured to prevent firing initiation until activated
US9585660B2 (en) 2010-01-07 2017-03-07 Ethicon Endo-Surgery, Llc Method for testing a surgical tool
US10470770B2 (en) 2010-07-30 2019-11-12 Ethicon Llc Circular surgical fastening devices with tissue acquisition arrangements
US9597075B2 (en) 2010-07-30 2017-03-21 Ethicon Endo-Surgery, Inc. Tissue acquisition arrangements and methods for surgical stapling devices
US10675035B2 (en) 2010-09-09 2020-06-09 Ethicon Llc Surgical stapling head assembly with firing lockout for a surgical stapler
US9289212B2 (en) 2010-09-17 2016-03-22 Ethicon Endo-Surgery, Inc. Surgical instruments and batteries for surgical instruments
US10188393B2 (en) 2010-09-17 2019-01-29 Ethicon Llc Surgical instrument battery comprising a plurality of cells
US10039529B2 (en) 2010-09-17 2018-08-07 Ethicon Llc Power control arrangements for surgical instruments and batteries
US10595835B2 (en) 2010-09-17 2020-03-24 Ethicon Llc Surgical instrument comprising a removable battery
US10492787B2 (en) 2010-09-17 2019-12-03 Ethicon Llc Orientable battery for a surgical instrument
JP2013543390A (ja) * 2010-09-17 2013-12-05 エシコン・エンド−サージェリィ・インコーポレイテッド 外科用器具及び外科用器具のための電池
US9833242B2 (en) 2010-09-30 2017-12-05 Ethicon Endo-Surgery, Llc Tissue thickness compensators
US9592050B2 (en) 2010-09-30 2017-03-14 Ethicon Endo-Surgery, Llc End effector comprising a distal tissue abutment member
US10398436B2 (en) 2010-09-30 2019-09-03 Ethicon Llc Staple cartridge comprising staples positioned within a compressible portion thereof
US10405854B2 (en) 2010-09-30 2019-09-10 Ethicon Llc Surgical stapling cartridge with layer retention features
US10149682B2 (en) 2010-09-30 2018-12-11 Ethicon Llc Stapling system including an actuation system
US10182819B2 (en) 2010-09-30 2019-01-22 Ethicon Llc Implantable layer assemblies
US10194910B2 (en) 2010-09-30 2019-02-05 Ethicon Llc Stapling assemblies comprising a layer
US10363031B2 (en) 2010-09-30 2019-07-30 Ethicon Llc Tissue thickness compensators for surgical staplers
US9566061B2 (en) 2010-09-30 2017-02-14 Ethicon Endo-Surgery, Llc Fastener cartridge comprising a releasably attached tissue thickness compensator
US10136890B2 (en) 2010-09-30 2018-11-27 Ethicon Llc Staple cartridge comprising a variable thickness compressible portion
US9924947B2 (en) 2010-09-30 2018-03-27 Ethicon Llc Staple cartridge comprising a compressible portion
US9833238B2 (en) 2010-09-30 2017-12-05 Ethicon Endo-Surgery, Llc Retainer assembly including a tissue thickness compensator
US10213198B2 (en) 2010-09-30 2019-02-26 Ethicon Llc Actuator for releasing a tissue thickness compensator from a fastener cartridge
US9833236B2 (en) 2010-09-30 2017-12-05 Ethicon Llc Tissue thickness compensator for surgical staplers
US9282962B2 (en) 2010-09-30 2016-03-15 Ethicon Endo-Surgery, Llc Adhesive film laminate
US9572574B2 (en) 2010-09-30 2017-02-21 Ethicon Endo-Surgery, Llc Tissue thickness compensators comprising therapeutic agents
US9301753B2 (en) 2010-09-30 2016-04-05 Ethicon Endo-Surgery, Llc Expandable tissue thickness compensator
US9700317B2 (en) 2010-09-30 2017-07-11 Ethicon Endo-Surgery, Llc Fastener cartridge comprising a releasable tissue thickness compensator
US9592053B2 (en) 2010-09-30 2017-03-14 Ethicon Endo-Surgery, Llc Staple cartridge comprising multiple regions
US10335148B2 (en) 2010-09-30 2019-07-02 Ethicon Llc Staple cartridge including a tissue thickness compensator for a surgical stapler
US9844372B2 (en) 2010-09-30 2017-12-19 Ethicon Llc Retainer assembly including a tissue thickness compensator
US9826978B2 (en) 2010-09-30 2017-11-28 Ethicon Llc End effectors with same side closure and firing motions
US9480476B2 (en) 2010-09-30 2016-11-01 Ethicon Endo-Surgery, Llc Tissue thickness compensator comprising resilient members
US9364233B2 (en) 2010-09-30 2016-06-14 Ethicon Endo-Surgery, Llc Tissue thickness compensators for circular surgical staplers
US10335150B2 (en) 2010-09-30 2019-07-02 Ethicon Llc Staple cartridge comprising an implantable layer
US10588623B2 (en) 2010-09-30 2020-03-17 Ethicon Llc Adhesive film laminate
US9788834B2 (en) 2010-09-30 2017-10-17 Ethicon Llc Layer comprising deployable attachment members
US9358005B2 (en) 2010-09-30 2016-06-07 Ethicon Endo-Surgery, Llc End effector layer including holding features
US10463372B2 (en) 2010-09-30 2019-11-05 Ethicon Llc Staple cartridge comprising multiple regions
US10028743B2 (en) 2010-09-30 2018-07-24 Ethicon Llc Staple cartridge assembly comprising an implantable layer
US9795383B2 (en) 2010-09-30 2017-10-24 Ethicon Llc Tissue thickness compensator comprising resilient members
US10258330B2 (en) 2010-09-30 2019-04-16 Ethicon Llc End effector including an implantable arrangement
US10485536B2 (en) 2010-09-30 2019-11-26 Ethicon Llc Tissue stapler having an anti-microbial agent
US9801634B2 (en) 2010-09-30 2017-10-31 Ethicon Llc Tissue thickness compensator for a surgical stapler
US9848875B2 (en) 2010-09-30 2017-12-26 Ethicon Llc Anvil layer attached to a proximal end of an end effector
US9808247B2 (en) 2010-09-30 2017-11-07 Ethicon Llc Stapling system comprising implantable layers
US9629814B2 (en) 2010-09-30 2017-04-25 Ethicon Endo-Surgery, Llc Tissue thickness compensator configured to redistribute compressive forces
US9332974B2 (en) 2010-09-30 2016-05-10 Ethicon Endo-Surgery, Llc Layered tissue thickness compensator
US10064624B2 (en) 2010-09-30 2018-09-04 Ethicon Llc End effector with implantable layer
US9883861B2 (en) 2010-09-30 2018-02-06 Ethicon Llc Retainer assembly including a tissue thickness compensator
US10265072B2 (en) 2010-09-30 2019-04-23 Ethicon Llc Surgical stapling system comprising an end effector including an implantable layer
US10265074B2 (en) 2010-09-30 2019-04-23 Ethicon Llc Implantable layers for surgical stapling devices
US9861361B2 (en) 2010-09-30 2018-01-09 Ethicon Llc Releasable tissue thickness compensator and fastener cartridge having the same
US9814462B2 (en) 2010-09-30 2017-11-14 Ethicon Llc Assembly for fastening tissue comprising a compressible layer
US9615826B2 (en) 2010-09-30 2017-04-11 Ethicon Endo-Surgery, Llc Multiple thickness implantable layers for surgical stapling devices
US10258332B2 (en) 2010-09-30 2019-04-16 Ethicon Llc Stapling system comprising an adjunct and a flowable adhesive
US9687236B2 (en) 2010-10-01 2017-06-27 Ethicon Endo-Surgery, Inc. Surgical instrument having a power control circuit
US9918704B2 (en) 2011-03-14 2018-03-20 Ethicon Llc Surgical instrument
US9974529B2 (en) 2011-03-14 2018-05-22 Ethicon Llc Surgical instrument
US10588612B2 (en) 2011-03-14 2020-03-17 Ethicon Llc Collapsible anvil plate assemblies for circular surgical stapling devices
US10045769B2 (en) 2011-03-14 2018-08-14 Ethicon Llc Circular surgical staplers with foldable anvil assemblies
US9980713B2 (en) 2011-03-14 2018-05-29 Ethicon Llc Anvil assemblies with collapsible frames for circular staplers
US10130352B2 (en) 2011-03-14 2018-11-20 Ethicon Llc Surgical bowel retractor devices
US10117652B2 (en) 2011-04-29 2018-11-06 Ethicon Llc End effector comprising a tissue thickness compensator and progressively released attachment members
US9351730B2 (en) 2011-04-29 2016-05-31 Ethicon Endo-Surgery, Llc Tissue thickness compensator comprising channels
US9775614B2 (en) 2011-05-27 2017-10-03 Ethicon Endo-Surgery, Llc Surgical stapling instruments with rotatable staple deployment arrangements
US10524790B2 (en) 2011-05-27 2020-01-07 Ethicon Llc Robotically-controlled surgical stapling devices that produce formed staples having different lengths
US9913648B2 (en) 2011-05-27 2018-03-13 Ethicon Endo-Surgery, Llc Surgical system
US10420561B2 (en) 2011-05-27 2019-09-24 Ethicon Llc Robotically-driven surgical instrument
US10004506B2 (en) 2011-05-27 2018-06-26 Ethicon Llc Surgical system
US10335151B2 (en) 2011-05-27 2019-07-02 Ethicon Llc Robotically-driven surgical instrument
US10383633B2 (en) 2011-05-27 2019-08-20 Ethicon Llc Robotically-driven surgical assembly
US10231794B2 (en) 2011-05-27 2019-03-19 Ethicon Llc Surgical stapling instruments with rotatable staple deployment arrangements
US10071452B2 (en) 2011-05-27 2018-09-11 Ethicon Llc Automated end effector component reloading system for use with a robotic system
US10130366B2 (en) 2011-05-27 2018-11-20 Ethicon Llc Automated reloading devices for replacing used end effectors on robotic surgical systems
US10426478B2 (en) 2011-05-27 2019-10-01 Ethicon Llc Surgical stapling systems
US10485546B2 (en) 2011-05-27 2019-11-26 Ethicon Llc Robotically-driven surgical assembly
JP2013034832A (ja) * 2011-08-04 2013-02-21 Olympus Corp 手術器具およびその制御方法
US9592054B2 (en) 2011-09-23 2017-03-14 Ethicon Endo-Surgery, Llc Surgical stapler with stationary staple drivers
US9687237B2 (en) 2011-09-23 2017-06-27 Ethicon Endo-Surgery, Llc Staple cartridge including collapsible deck arrangement
US9730697B2 (en) 2012-02-13 2017-08-15 Ethicon Endo-Surgery, Llc Surgical cutting and fastening instrument with apparatus for determining cartridge and firing motion status
US9974538B2 (en) 2012-03-28 2018-05-22 Ethicon Llc Staple cartridge comprising a compressible layer
US9724098B2 (en) 2012-03-28 2017-08-08 Ethicon Endo-Surgery, Llc Staple cartridge comprising an implantable layer
US9918716B2 (en) 2012-03-28 2018-03-20 Ethicon Llc Staple cartridge comprising implantable layers
US10441285B2 (en) 2012-03-28 2019-10-15 Ethicon Llc Tissue thickness compensator comprising tissue ingrowth features
US10064621B2 (en) 2012-06-15 2018-09-04 Ethicon Llc Articulatable surgical instrument comprising a firing drive
US9907620B2 (en) 2012-06-28 2018-03-06 Ethicon Endo-Surgery, Llc Surgical end effectors having angled tissue-contacting surfaces
US10639115B2 (en) 2012-06-28 2020-05-05 Ethicon Llc Surgical end effectors having angled tissue-contacting surfaces
US10413294B2 (en) 2012-06-28 2019-09-17 Ethicon Llc Shaft assembly arrangements for surgical instruments
US11058423B2 (en) 2012-06-28 2021-07-13 Cilag Gmbh International Stapling system including first and second closure systems for use with a surgical robot
US10383630B2 (en) 2012-06-28 2019-08-20 Ethicon Llc Surgical stapling device with rotary driven firing member
US9408606B2 (en) 2012-06-28 2016-08-09 Ethicon Endo-Surgery, Llc Robotically powered surgical device with manually-actuatable reversing system
US11622766B2 (en) 2012-06-28 2023-04-11 Cilag Gmbh International Empty clip cartridge lockout
US10420555B2 (en) 2012-06-28 2019-09-24 Ethicon Llc Hand held rotary powered surgical instruments with end effectors that are articulatable about multiple axes
US10258333B2 (en) 2012-06-28 2019-04-16 Ethicon Llc Surgical fastening apparatus with a rotary end effector drive shaft for selective engagement with a motorized drive system
US9364230B2 (en) 2012-06-28 2016-06-14 Ethicon Endo-Surgery, Llc Surgical stapling instruments with rotary joint assemblies
US10687812B2 (en) 2012-06-28 2020-06-23 Ethicon Llc Surgical instrument system including replaceable end effectors
US10874391B2 (en) 2012-06-28 2020-12-29 Ethicon Llc Surgical instrument system including replaceable end effectors
US10485541B2 (en) 2012-06-28 2019-11-26 Ethicon Llc Robotically powered surgical device with manually-actuatable reversing system
US9692036B2 (en) 2012-08-29 2017-06-27 Gyrus Acmi, Inc. Destructive battery closure
JP2015527711A (ja) * 2012-08-29 2015-09-17 ジャイラス・エーシーエムアイ・インコーポレーテッド 破壊式バッテリークロージャ
US9386985B2 (en) 2012-10-15 2016-07-12 Ethicon Endo-Surgery, Llc Surgical cutting instrument
US9307986B2 (en) 2013-03-01 2016-04-12 Ethicon Endo-Surgery, Llc Surgical instrument soft stop
US9554794B2 (en) 2013-03-01 2017-01-31 Ethicon Endo-Surgery, Llc Multiple processor motor control for modular surgical instruments
US10575868B2 (en) 2013-03-01 2020-03-03 Ethicon Llc Surgical instrument with coupler assembly
US9358003B2 (en) 2013-03-01 2016-06-07 Ethicon Endo-Surgery, Llc Electromechanical surgical device with signal relay arrangement
US10285695B2 (en) 2013-03-01 2019-05-14 Ethicon Llc Articulatable surgical instruments with conductive pathways
US9326767B2 (en) 2013-03-01 2016-05-03 Ethicon Endo-Surgery, Llc Joystick switch assemblies for surgical instruments
US9700309B2 (en) 2013-03-01 2017-07-11 Ethicon Llc Articulatable surgical instruments with conductive pathways for signal communication
US10226249B2 (en) 2013-03-01 2019-03-12 Ethicon Llc Articulatable surgical instruments with conductive pathways for signal communication
US9782169B2 (en) 2013-03-01 2017-10-10 Ethicon Llc Rotary powered articulation joints for surgical instruments
US9398911B2 (en) 2013-03-01 2016-07-26 Ethicon Endo-Surgery, Llc Rotary powered surgical instruments with multiple degrees of freedom
US9468438B2 (en) 2013-03-01 2016-10-18 Eticon Endo-Surgery, LLC Sensor straightened end effector during removal through trocar
US9345481B2 (en) 2013-03-13 2016-05-24 Ethicon Endo-Surgery, Llc Staple cartridge tissue thickness sensor system
US9629623B2 (en) 2013-03-14 2017-04-25 Ethicon Endo-Surgery, Llc Drive system lockout arrangements for modular surgical instruments
US9808244B2 (en) 2013-03-14 2017-11-07 Ethicon Llc Sensor arrangements for absolute positioning system for surgical instruments
US9332987B2 (en) 2013-03-14 2016-05-10 Ethicon Endo-Surgery, Llc Control arrangements for a drive member of a surgical instrument
US10470762B2 (en) 2013-03-14 2019-11-12 Ethicon Llc Multi-function motor for a surgical instrument
US9629629B2 (en) 2013-03-14 2017-04-25 Ethicon Endo-Surgey, LLC Control systems for surgical instruments
US10238391B2 (en) 2013-03-14 2019-03-26 Ethicon Llc Drive train control arrangements for modular surgical instruments
US9687230B2 (en) 2013-03-14 2017-06-27 Ethicon Llc Articulatable surgical instrument comprising a firing drive
US9888919B2 (en) 2013-03-14 2018-02-13 Ethicon Llc Method and system for operating a surgical instrument
US9883860B2 (en) 2013-03-14 2018-02-06 Ethicon Llc Interchangeable shaft assemblies for use with a surgical instrument
US9351727B2 (en) 2013-03-14 2016-05-31 Ethicon Endo-Surgery, Llc Drive train control arrangements for modular surgical instruments
US9351726B2 (en) 2013-03-14 2016-05-31 Ethicon Endo-Surgery, Llc Articulation control system for articulatable surgical instruments
US9795384B2 (en) 2013-03-27 2017-10-24 Ethicon Llc Fastener cartridge comprising a tissue thickness compensator and a gap setting element
US9572577B2 (en) 2013-03-27 2017-02-21 Ethicon Endo-Surgery, Llc Fastener cartridge comprising a tissue thickness compensator including openings therein
US9332984B2 (en) 2013-03-27 2016-05-10 Ethicon Endo-Surgery, Llc Fastener cartridge assemblies
US9867612B2 (en) 2013-04-16 2018-01-16 Ethicon Llc Powered surgical stapler
US10405857B2 (en) 2013-04-16 2019-09-10 Ethicon Llc Powered linear surgical stapler
US10136887B2 (en) 2013-04-16 2018-11-27 Ethicon Llc Drive system decoupling arrangement for a surgical instrument
US10149680B2 (en) 2013-04-16 2018-12-11 Ethicon Llc Surgical instrument comprising a gap setting system
US9801626B2 (en) 2013-04-16 2017-10-31 Ethicon Llc Modular motor driven surgical instruments with alignment features for aligning rotary drive shafts with surgical end effector shafts
US9649110B2 (en) 2013-04-16 2017-05-16 Ethicon Llc Surgical instrument comprising a closing drive and a firing drive operated from the same rotatable output
US9844368B2 (en) 2013-04-16 2017-12-19 Ethicon Llc Surgical system comprising first and second drive systems
US9826976B2 (en) 2013-04-16 2017-11-28 Ethicon Llc Motor driven surgical instruments with lockable dual drive shafts
US9814460B2 (en) 2013-04-16 2017-11-14 Ethicon Llc Modular motor driven surgical instruments with status indication arrangements
US9574644B2 (en) 2013-05-30 2017-02-21 Ethicon Endo-Surgery, Llc Power module for use with a surgical instrument
JP2015037551A (ja) * 2013-08-16 2015-02-26 コヴィディエン リミテッド パートナーシップ 再使用可能な外科手術器具のためのチップアセンブリ
US10811816B2 (en) 2013-08-16 2020-10-20 Covidien Lp Chip assembly for reusable surgical instruments
US9924942B2 (en) 2013-08-23 2018-03-27 Ethicon Llc Motor-powered articulatable surgical instruments
US9700310B2 (en) 2013-08-23 2017-07-11 Ethicon Llc Firing member retraction devices for powered surgical instruments
US10624634B2 (en) 2013-08-23 2020-04-21 Ethicon Llc Firing trigger lockout arrangements for surgical instruments
JP2016530948A (ja) * 2013-08-23 2016-10-06 エシコン・エンド−サージェリィ・エルエルシーEthicon Endo−Surgery, LLC 動力付き外科用器具のための発射部材後退装置
US9510828B2 (en) 2013-08-23 2016-12-06 Ethicon Endo-Surgery, Llc Conductor arrangements for electrically powered surgical instruments with rotatable end effectors
US10828032B2 (en) 2013-08-23 2020-11-10 Ethicon Llc End effector detection systems for surgical instruments
US9808249B2 (en) 2013-08-23 2017-11-07 Ethicon Llc Attachment portions for surgical instrument assemblies
US9775609B2 (en) 2013-08-23 2017-10-03 Ethicon Llc Tamper proof circuit for surgical instrument battery pack
US10441281B2 (en) 2013-08-23 2019-10-15 Ethicon Llc surgical instrument including securing and aligning features
US10201349B2 (en) 2013-08-23 2019-02-12 Ethicon Llc End effector detection and firing rate modulation systems for surgical instruments
US9987006B2 (en) 2013-08-23 2018-06-05 Ethicon Llc Shroud retention arrangement for sterilizable surgical instruments
US9445813B2 (en) 2013-08-23 2016-09-20 Ethicon Endo-Surgery, Llc Closure indicator systems for surgical instruments
JP2016530062A (ja) * 2013-09-23 2016-09-29 エシコン・エンド−サージェリィ・エルエルシーEthicon Endo−Surgery, LLC トグル機能を有する駆動組立体を備える外科用ステープル留め器具
US10265065B2 (en) 2013-12-23 2019-04-23 Ethicon Llc Surgical staples and staple cartridges
US9968354B2 (en) 2013-12-23 2018-05-15 Ethicon Llc Surgical staples and methods for making the same
US9681870B2 (en) 2013-12-23 2017-06-20 Ethicon Llc Articulatable surgical instruments with separate and distinct closing and firing systems
US9585662B2 (en) 2013-12-23 2017-03-07 Ethicon Endo-Surgery, Llc Fastener cartridge comprising an extendable firing member
US9549735B2 (en) 2013-12-23 2017-01-24 Ethicon Endo-Surgery, Llc Fastener cartridge comprising a firing member including fastener transfer surfaces
US9839428B2 (en) 2013-12-23 2017-12-12 Ethicon Llc Surgical cutting and stapling instruments with independent jaw control features
US9724092B2 (en) 2013-12-23 2017-08-08 Ethicon Llc Modular surgical instruments
US9642620B2 (en) 2013-12-23 2017-05-09 Ethicon Endo-Surgery, Llc Surgical cutting and stapling instruments with articulatable end effectors
US9763662B2 (en) 2013-12-23 2017-09-19 Ethicon Llc Fastener cartridge comprising a firing member configured to directly engage and eject fasteners from the fastener cartridge
US9962161B2 (en) 2014-02-12 2018-05-08 Ethicon Llc Deliverable surgical instrument
US9839422B2 (en) 2014-02-24 2017-12-12 Ethicon Llc Implantable layers and methods for altering implantable layers for use with surgical fastening instruments
US9757124B2 (en) 2014-02-24 2017-09-12 Ethicon Llc Implantable layer assemblies
US10426481B2 (en) 2014-02-24 2019-10-01 Ethicon Llc Implantable layer assemblies
US9775608B2 (en) 2014-02-24 2017-10-03 Ethicon Llc Fastening system comprising a firing member lockout
US9884456B2 (en) 2014-02-24 2018-02-06 Ethicon Llc Implantable layers and methods for altering one or more properties of implantable layers for use with fastening instruments
US9693777B2 (en) 2014-02-24 2017-07-04 Ethicon Llc Implantable layers comprising a pressed region
US9839423B2 (en) 2014-02-24 2017-12-12 Ethicon Llc Implantable layers and methods for modifying the shape of the implantable layers for use with a surgical fastening instrument
US10136889B2 (en) 2014-03-26 2018-11-27 Ethicon Llc Systems and methods for controlling a segmented circuit
US11497488B2 (en) 2014-03-26 2022-11-15 Cilag Gmbh International Systems and methods for controlling a segmented circuit
US9743929B2 (en) 2014-03-26 2017-08-29 Ethicon Llc Modular powered surgical instrument with detachable shaft assemblies
US9750499B2 (en) 2014-03-26 2017-09-05 Ethicon Llc Surgical stapling instrument system
US10013049B2 (en) 2014-03-26 2018-07-03 Ethicon Llc Power management through sleep options of segmented circuit and wake up control
US10201364B2 (en) 2014-03-26 2019-02-12 Ethicon Llc Surgical instrument comprising a rotatable shaft
US10004497B2 (en) 2014-03-26 2018-06-26 Ethicon Llc Interface systems for use with surgical instruments
US9804618B2 (en) 2014-03-26 2017-10-31 Ethicon Llc Systems and methods for controlling a segmented circuit
US10028761B2 (en) 2014-03-26 2018-07-24 Ethicon Llc Feedback algorithms for manual bailout systems for surgical instruments
US9913642B2 (en) 2014-03-26 2018-03-13 Ethicon Llc Surgical instrument comprising a sensor system
US9826977B2 (en) 2014-03-26 2017-11-28 Ethicon Llc Sterilization verification circuit
US10117653B2 (en) 2014-03-26 2018-11-06 Ethicon Llc Systems and methods for controlling a segmented circuit
US9690362B2 (en) 2014-03-26 2017-06-27 Ethicon Llc Surgical instrument control circuit having a safety processor
US9820738B2 (en) 2014-03-26 2017-11-21 Ethicon Llc Surgical instrument comprising interactive systems
JP2017513560A (ja) * 2014-03-26 2017-06-01 エシコン・エンド−サージェリィ・エルエルシーEthicon Endo−Surgery, LLC 外科用器具の手動脱出システムのフィードバックアルゴリズム
US9730695B2 (en) 2014-03-26 2017-08-15 Ethicon Endo-Surgery, Llc Power management through segmented circuit
US9733663B2 (en) 2014-03-26 2017-08-15 Ethicon Llc Power management through segmented circuit and variable voltage protection
US11517315B2 (en) 2014-04-16 2022-12-06 Cilag Gmbh International Fastener cartridges including extensions having different configurations
US10299792B2 (en) 2014-04-16 2019-05-28 Ethicon Llc Fastener cartridge comprising non-uniform fasteners
US10010324B2 (en) 2014-04-16 2018-07-03 Ethicon Llc Fastener cartridge compromising fastener cavities including fastener control features
US9833241B2 (en) 2014-04-16 2017-12-05 Ethicon Llc Surgical fastener cartridges with driver stabilizing arrangements
US10542988B2 (en) 2014-04-16 2020-01-28 Ethicon Llc End effector comprising an anvil including projections extending therefrom
US9844369B2 (en) 2014-04-16 2017-12-19 Ethicon Llc Surgical end effectors with firing element monitoring arrangements
US10470768B2 (en) 2014-04-16 2019-11-12 Ethicon Llc Fastener cartridge including a layer attached thereto
US10327776B2 (en) 2014-04-16 2019-06-25 Ethicon Llc Surgical stapling buttresses and adjunct materials
US11185330B2 (en) 2014-04-16 2021-11-30 Cilag Gmbh International Fastener cartridge assemblies and staple retainer cover arrangements
US9877721B2 (en) 2014-04-16 2018-01-30 Ethicon Llc Fastener cartridge comprising tissue control features
US10045781B2 (en) 2014-06-13 2018-08-14 Ethicon Llc Closure lockout systems for surgical instruments
US9757128B2 (en) 2014-09-05 2017-09-12 Ethicon Llc Multiple sensors with one sensor affecting a second sensor's output or interpretation
US9737301B2 (en) 2014-09-05 2017-08-22 Ethicon Llc Monitoring device degradation based on component evaluation
US9724094B2 (en) 2014-09-05 2017-08-08 Ethicon Llc Adjunct with integrated sensors to quantify tissue compression
US10135242B2 (en) 2014-09-05 2018-11-20 Ethicon Llc Smart cartridge wake up operation and data retention
US10016199B2 (en) 2014-09-05 2018-07-10 Ethicon Llc Polarity of hall magnet to identify cartridge type
JP2017530841A (ja) * 2014-09-05 2017-10-19 エシコン エルエルシーEthicon LLC 組織パラメータ安定化の局所的ディスプレイ
US10111679B2 (en) 2014-09-05 2018-10-30 Ethicon Llc Circuitry and sensors for powered medical device
US9788836B2 (en) 2014-09-05 2017-10-17 Ethicon Llc Multiple motor control for powered medical device
US10206677B2 (en) 2014-09-26 2019-02-19 Ethicon Llc Surgical staple and driver arrangements for staple cartridges
US10426477B2 (en) 2014-09-26 2019-10-01 Ethicon Llc Staple cartridge assembly including a ramp
US10327764B2 (en) 2014-09-26 2019-06-25 Ethicon Llc Method for creating a flexible staple line
US10426476B2 (en) 2014-09-26 2019-10-01 Ethicon Llc Circular fastener cartridges for applying radially expandable fastener lines
US9801627B2 (en) 2014-09-26 2017-10-31 Ethicon Llc Fastener cartridge for creating a flexible staple line
US9801628B2 (en) 2014-09-26 2017-10-31 Ethicon Llc Surgical staple and driver arrangements for staple cartridges
US10076325B2 (en) 2014-10-13 2018-09-18 Ethicon Llc Surgical stapling apparatus comprising a tissue stop
US10052104B2 (en) 2014-10-16 2018-08-21 Ethicon Llc Staple cartridge comprising a tissue thickness compensator
US9924944B2 (en) 2014-10-16 2018-03-27 Ethicon Llc Staple cartridge comprising an adjunct material
US10517594B2 (en) 2014-10-29 2019-12-31 Ethicon Llc Cartridge assemblies for surgical staplers
US11141153B2 (en) 2014-10-29 2021-10-12 Cilag Gmbh International Staple cartridges comprising driver arrangements
US9844376B2 (en) 2014-11-06 2017-12-19 Ethicon Llc Staple cartridge comprising a releasable adjunct material
US10736636B2 (en) 2014-12-10 2020-08-11 Ethicon Llc Articulatable surgical instrument system
US10188385B2 (en) 2014-12-18 2019-01-29 Ethicon Llc Surgical instrument system comprising lockable systems
US9844375B2 (en) 2014-12-18 2017-12-19 Ethicon Llc Drive arrangements for articulatable surgical instruments
US10004501B2 (en) 2014-12-18 2018-06-26 Ethicon Llc Surgical instruments with improved closure arrangements
US10085748B2 (en) 2014-12-18 2018-10-02 Ethicon Llc Locking arrangements for detachable shaft assemblies with articulatable surgical end effectors
US9943309B2 (en) 2014-12-18 2018-04-17 Ethicon Llc Surgical instruments with articulatable end effectors and movable firing beam support arrangements
US9968355B2 (en) 2014-12-18 2018-05-15 Ethicon Llc Surgical instruments with articulatable end effectors and improved firing beam support arrangements
US9844374B2 (en) 2014-12-18 2017-12-19 Ethicon Llc Surgical instrument systems comprising an articulatable end effector and means for adjusting the firing stroke of a firing member
US10117649B2 (en) 2014-12-18 2018-11-06 Ethicon Llc Surgical instrument assembly comprising a lockable articulation system
US10245027B2 (en) 2014-12-18 2019-04-02 Ethicon Llc Surgical instrument with an anvil that is selectively movable about a discrete non-movable axis relative to a staple cartridge
US9987000B2 (en) 2014-12-18 2018-06-05 Ethicon Llc Surgical instrument assembly comprising a flexible articulation system
US10159483B2 (en) 2015-02-27 2018-12-25 Ethicon Llc Surgical apparatus configured to track an end-of-life parameter
US10045779B2 (en) 2015-02-27 2018-08-14 Ethicon Llc Surgical instrument system comprising an inspection station
US9931118B2 (en) 2015-02-27 2018-04-03 Ethicon Endo-Surgery, Llc Reinforced battery for a surgical instrument
US10226250B2 (en) 2015-02-27 2019-03-12 Ethicon Llc Modular stapling assembly
US10321907B2 (en) 2015-02-27 2019-06-18 Ethicon Llc System for monitoring whether a surgical instrument needs to be serviced
US10180463B2 (en) 2015-02-27 2019-01-15 Ethicon Llc Surgical apparatus configured to assess whether a performance parameter of the surgical apparatus is within an acceptable performance band
US10182816B2 (en) 2015-02-27 2019-01-22 Ethicon Llc Charging system that enables emergency resolutions for charging a battery
US10245028B2 (en) 2015-02-27 2019-04-02 Ethicon Llc Power adapter for a surgical instrument
US9993258B2 (en) 2015-02-27 2018-06-12 Ethicon Llc Adaptable surgical instrument handle
US9901342B2 (en) 2015-03-06 2018-02-27 Ethicon Endo-Surgery, Llc Signal and power communication system positioned on a rotatable shaft
US10687806B2 (en) 2015-03-06 2020-06-23 Ethicon Llc Adaptive tissue compression techniques to adjust closure rates for multiple tissue types
US9924961B2 (en) 2015-03-06 2018-03-27 Ethicon Endo-Surgery, Llc Interactive feedback system for powered surgical instruments
US9808246B2 (en) 2015-03-06 2017-11-07 Ethicon Endo-Surgery, Llc Method of operating a powered surgical instrument
US10548504B2 (en) 2015-03-06 2020-02-04 Ethicon Llc Overlaid multi sensor radio frequency (RF) electrode system to measure tissue compression
US10052044B2 (en) 2015-03-06 2018-08-21 Ethicon Llc Time dependent evaluation of sensor data to determine stability, creep, and viscoelastic elements of measures
US10045776B2 (en) 2015-03-06 2018-08-14 Ethicon Llc Control techniques and sub-processor contained within modular shaft with select control processing from handle
US10245033B2 (en) 2015-03-06 2019-04-02 Ethicon Llc Surgical instrument comprising a lockable battery housing
US10617412B2 (en) 2015-03-06 2020-04-14 Ethicon Llc System for detecting the mis-insertion of a staple cartridge into a surgical stapler
US9993248B2 (en) 2015-03-06 2018-06-12 Ethicon Endo-Surgery, Llc Smart sensors with local signal processing
US10729432B2 (en) 2015-03-06 2020-08-04 Ethicon Llc Methods for operating a powered surgical instrument
US10206605B2 (en) 2015-03-06 2019-02-19 Ethicon Llc Time dependent evaluation of sensor data to determine stability, creep, and viscoelastic elements of measures
US9895148B2 (en) 2015-03-06 2018-02-20 Ethicon Endo-Surgery, Llc Monitoring speed control and precision incrementing of motor for powered surgical instruments
US10213201B2 (en) 2015-03-31 2019-02-26 Ethicon Llc Stapling end effector configured to compensate for an uneven gap between a first jaw and a second jaw
US10433844B2 (en) 2015-03-31 2019-10-08 Ethicon Llc Surgical instrument with selectively disengageable threaded drive systems
US10390825B2 (en) 2015-03-31 2019-08-27 Ethicon Llc Surgical instrument with progressive rotary drive systems
US10052102B2 (en) 2015-06-18 2018-08-21 Ethicon Llc Surgical end effectors with dual cam actuated jaw closing features
US11058425B2 (en) 2015-08-17 2021-07-13 Ethicon Llc Implantable layers for a surgical instrument
US10835249B2 (en) 2015-08-17 2020-11-17 Ethicon Llc Implantable layers for a surgical instrument
US10470769B2 (en) 2015-08-26 2019-11-12 Ethicon Llc Staple cartridge assembly comprising staple alignment features on a firing member
US10213203B2 (en) 2015-08-26 2019-02-26 Ethicon Llc Staple cartridge assembly without a bottom cover
US11103248B2 (en) 2015-08-26 2021-08-31 Cilag Gmbh International Surgical staples for minimizing staple roll
US10980538B2 (en) 2015-08-26 2021-04-20 Ethicon Llc Surgical stapling configurations for curved and circular stapling instruments
US10166026B2 (en) 2015-08-26 2019-01-01 Ethicon Llc Staple cartridge assembly including features for controlling the rotation of staples when being ejected therefrom
US10028744B2 (en) 2015-08-26 2018-07-24 Ethicon Llc Staple cartridge assembly including staple guides
US10188394B2 (en) 2015-08-26 2019-01-29 Ethicon Llc Staples configured to support an implantable adjunct
US10390829B2 (en) 2015-08-26 2019-08-27 Ethicon Llc Staples comprising a cover
US10433845B2 (en) 2015-08-26 2019-10-08 Ethicon Llc Surgical staple strips for permitting varying staple properties and enabling easy cartridge loading
US10357251B2 (en) 2015-08-26 2019-07-23 Ethicon Llc Surgical staples comprising hardness variations for improved fastening of tissue
US10098642B2 (en) 2015-08-26 2018-10-16 Ethicon Llc Surgical staples comprising features for improved fastening of tissue
US11058426B2 (en) 2015-08-26 2021-07-13 Cilag Gmbh International Staple cartridge assembly comprising various tissue compression gaps and staple forming gaps
US10517599B2 (en) 2015-08-26 2019-12-31 Ethicon Llc Staple cartridge assembly comprising staple cavities for providing better staple guidance
US10238390B2 (en) 2015-09-02 2019-03-26 Ethicon Llc Surgical staple cartridges with driver arrangements for establishing herringbone staple patterns
US10314587B2 (en) 2015-09-02 2019-06-11 Ethicon Llc Surgical staple cartridge with improved staple driver configurations
US10172619B2 (en) 2015-09-02 2019-01-08 Ethicon Llc Surgical staple driver arrays
US10357252B2 (en) 2015-09-02 2019-07-23 Ethicon Llc Surgical staple configurations with camming surfaces located between portions supporting surgical staples
US10251648B2 (en) 2015-09-02 2019-04-09 Ethicon Llc Surgical staple cartridge staple drivers with central support features
US10076326B2 (en) 2015-09-23 2018-09-18 Ethicon Llc Surgical stapler having current mirror-based motor control
US10238386B2 (en) 2015-09-23 2019-03-26 Ethicon Llc Surgical stapler having motor control based on an electrical parameter related to a motor current
US10327769B2 (en) 2015-09-23 2019-06-25 Ethicon Llc Surgical stapler having motor control based on a drive system component
US10363036B2 (en) 2015-09-23 2019-07-30 Ethicon Llc Surgical stapler having force-based motor control
US10105139B2 (en) 2015-09-23 2018-10-23 Ethicon Llc Surgical stapler having downstream current-based motor control
US10085751B2 (en) 2015-09-23 2018-10-02 Ethicon Llc Surgical stapler having temperature-based motor control
US10299878B2 (en) 2015-09-25 2019-05-28 Ethicon Llc Implantable adjunct systems for determining adjunct skew
US11690623B2 (en) 2015-09-30 2023-07-04 Cilag Gmbh International Method for applying an implantable layer to a fastener cartridge
US10524788B2 (en) 2015-09-30 2020-01-07 Ethicon Llc Compressible adjunct with attachment regions
US10561420B2 (en) 2015-09-30 2020-02-18 Ethicon Llc Tubular absorbable constructs
US10478188B2 (en) 2015-09-30 2019-11-19 Ethicon Llc Implantable layer comprising a constricted configuration
US10285699B2 (en) 2015-09-30 2019-05-14 Ethicon Llc Compressible adjunct
US10980539B2 (en) 2015-09-30 2021-04-20 Ethicon Llc Implantable adjunct comprising bonded layers
US10307160B2 (en) 2015-09-30 2019-06-04 Ethicon Llc Compressible adjunct assemblies with attachment layers
US10433846B2 (en) 2015-09-30 2019-10-08 Ethicon Llc Compressible adjunct with crossing spacer fibers
US10327777B2 (en) 2015-09-30 2019-06-25 Ethicon Llc Implantable layer comprising plastically deformed fibers
US10172620B2 (en) 2015-09-30 2019-01-08 Ethicon Llc Compressible adjuncts with bonding nodes
US10271849B2 (en) 2015-09-30 2019-04-30 Ethicon Llc Woven constructs with interlocked standing fibers
US12324579B2 (en) 2015-12-30 2025-06-10 Cilag Gmbh International Mechanisms for compensating for battery pack failure in powered surgical instruments
US10265068B2 (en) 2015-12-30 2019-04-23 Ethicon Llc Surgical instruments with separable motors and motor control circuits
US10292704B2 (en) 2015-12-30 2019-05-21 Ethicon Llc Mechanisms for compensating for battery pack failure in powered surgical instruments
US10368865B2 (en) 2015-12-30 2019-08-06 Ethicon Llc Mechanisms for compensating for drivetrain failure in powered surgical instruments
US11213293B2 (en) 2016-02-09 2022-01-04 Cilag Gmbh International Articulatable surgical instruments with single articulation link arrangements
US10470764B2 (en) 2016-02-09 2019-11-12 Ethicon Llc Surgical instruments with closure stroke reduction arrangements
US10433837B2 (en) 2016-02-09 2019-10-08 Ethicon Llc Surgical instruments with multiple link articulation arrangements
US10245030B2 (en) 2016-02-09 2019-04-02 Ethicon Llc Surgical instruments with tensioning arrangements for cable driven articulation systems
US10245029B2 (en) 2016-02-09 2019-04-02 Ethicon Llc Surgical instrument with articulating and axially translatable end effector
US10413291B2 (en) 2016-02-09 2019-09-17 Ethicon Llc Surgical instrument articulation mechanism with slotted secondary constraint
US10653413B2 (en) 2016-02-09 2020-05-19 Ethicon Llc Surgical instruments with an end effector that is highly articulatable relative to an elongate shaft assembly
US11224426B2 (en) 2016-02-12 2022-01-18 Cilag Gmbh International Mechanisms for compensating for drivetrain failure in powered surgical instruments
US10258331B2 (en) 2016-02-12 2019-04-16 Ethicon Llc Mechanisms for compensating for drivetrain failure in powered surgical instruments
US10448948B2 (en) 2016-02-12 2019-10-22 Ethicon Llc Mechanisms for compensating for drivetrain failure in powered surgical instruments
US10456140B2 (en) 2016-04-01 2019-10-29 Ethicon Llc Surgical stapling system comprising an unclamping lockout
US10675021B2 (en) 2016-04-01 2020-06-09 Ethicon Llc Circular stapling system comprising rotary firing system
US10413293B2 (en) 2016-04-01 2019-09-17 Ethicon Llc Interchangeable surgical tool assembly with a surgical end effector that is selectively rotatable about a shaft axis
US10271851B2 (en) 2016-04-01 2019-04-30 Ethicon Llc Modular surgical stapling system comprising a display
US10413297B2 (en) 2016-04-01 2019-09-17 Ethicon Llc Surgical stapling system configured to apply annular rows of staples having different heights
US10314582B2 (en) 2016-04-01 2019-06-11 Ethicon Llc Surgical instrument comprising a shifting mechanism
US11045191B2 (en) 2016-04-01 2021-06-29 Cilag Gmbh International Method for operating a surgical stapling system
US10357246B2 (en) 2016-04-01 2019-07-23 Ethicon Llc Rotary powered surgical instrument with manually actuatable bailout system
US10420552B2 (en) 2016-04-01 2019-09-24 Ethicon Llc Surgical stapling system configured to provide selective cutting of tissue
US10709446B2 (en) 2016-04-01 2020-07-14 Ethicon Llc Staple cartridges with atraumatic features
US11284890B2 (en) 2016-04-01 2022-03-29 Cilag Gmbh International Circular stapling system comprising an incisable tissue support
US10682136B2 (en) 2016-04-01 2020-06-16 Ethicon Llc Circular stapling system comprising load control
US10531874B2 (en) 2016-04-01 2020-01-14 Ethicon Llc Surgical cutting and stapling end effector with anvil concentric drive member
US10485542B2 (en) 2016-04-01 2019-11-26 Ethicon Llc Surgical stapling instrument comprising multiple lockouts
US10285705B2 (en) 2016-04-01 2019-05-14 Ethicon Llc Surgical stapling system comprising a grooved forming pocket
US10433849B2 (en) 2016-04-01 2019-10-08 Ethicon Llc Surgical stapling system comprising a display including a re-orientable display field
US10342543B2 (en) 2016-04-01 2019-07-09 Ethicon Llc Surgical stapling system comprising a shiftable transmission
US10307159B2 (en) 2016-04-01 2019-06-04 Ethicon Llc Surgical instrument handle assembly with reconfigurable grip portion
US10376263B2 (en) 2016-04-01 2019-08-13 Ethicon Llc Anvil modification members for surgical staplers
JP7631424B2 (ja) 2016-04-12 2025-02-18 アプライド メディカル リソーシーズ コーポレイション 電動ハンドル付き外科用ステープラ
JP2023130373A (ja) * 2016-04-12 2023-09-20 アプライド メディカル リソーシーズ コーポレイション 電動ハンドル付き外科用ステープラ
JP2022023885A (ja) * 2016-04-12 2022-02-08 アプライド メディカル リソーシーズ コーポレイション 電動ハンドル付き外科用ステープラ
JP2019513471A (ja) * 2016-04-12 2019-05-30 アプライド メディカル リソーシーズ コーポレイション 電動ハンドル付き外科用ステープラ
JP7301927B2 (ja) 2016-04-12 2023-07-03 アプライド メディカル リソーシーズ コーポレイション 電動ハンドル付き外科用ステープラ
US10335145B2 (en) 2016-04-15 2019-07-02 Ethicon Llc Modular surgical instrument with configurable operating mode
US10357247B2 (en) 2016-04-15 2019-07-23 Ethicon Llc Surgical instrument with multiple program responses during a firing motion
US11179150B2 (en) 2016-04-15 2021-11-23 Cilag Gmbh International Systems and methods for controlling a surgical stapling and cutting instrument
US10456137B2 (en) 2016-04-15 2019-10-29 Ethicon Llc Staple formation detection mechanisms
US10828028B2 (en) 2016-04-15 2020-11-10 Ethicon Llc Surgical instrument with multiple program responses during a firing motion
US10405859B2 (en) 2016-04-15 2019-09-10 Ethicon Llc Surgical instrument with adjustable stop/start control during a firing motion
US10426467B2 (en) 2016-04-15 2019-10-01 Ethicon Llc Surgical instrument with detection sensors
US10433840B2 (en) 2016-04-18 2019-10-08 Ethicon Llc Surgical instrument comprising a replaceable cartridge jaw
US10363037B2 (en) 2016-04-18 2019-07-30 Ethicon Llc Surgical instrument system comprising a magnetic lockout
US10368867B2 (en) 2016-04-18 2019-08-06 Ethicon Llc Surgical instrument comprising a lockout
US10478181B2 (en) 2016-04-18 2019-11-19 Ethicon Llc Cartridge lockout arrangements for rotary powered surgical cutting and stapling instruments
US10426469B2 (en) 2016-04-18 2019-10-01 Ethicon Llc Surgical instrument comprising a primary firing lockout and a secondary firing lockout
US10702270B2 (en) 2016-06-24 2020-07-07 Ethicon Llc Stapling system for use with wire staples and stamped staples
US12433590B2 (en) 2016-06-24 2025-10-07 Cilag Gmbh International Stapling system for use with wire staples and stamped staples
US11000278B2 (en) 2016-06-24 2021-05-11 Ethicon Llc Staple cartridge comprising wire staples and stamped staples
US10542979B2 (en) 2016-06-24 2020-01-28 Ethicon Llc Stamped staples and staple cartridges using the same
US12161328B2 (en) 2016-06-24 2024-12-10 Cilag Gmbh International Staple cartridge comprising wire staples and stamped staples
USD847989S1 (en) 2016-06-24 2019-05-07 Ethicon Llc Surgical fastener cartridge
US10675024B2 (en) 2016-06-24 2020-06-09 Ethicon Llc Staple cartridge comprising overdriven staples
USD850617S1 (en) 2016-06-24 2019-06-04 Ethicon Llc Surgical fastener cartridge
US10448950B2 (en) 2016-12-21 2019-10-22 Ethicon Llc Surgical staplers with independently actuatable closing and firing systems
US10603036B2 (en) 2016-12-21 2020-03-31 Ethicon Llc Articulatable surgical instrument with independent pivotable linkage distal of an articulation lock
US10517596B2 (en) 2016-12-21 2019-12-31 Ethicon Llc Articulatable surgical instruments with articulation stroke amplification features
US10517595B2 (en) 2016-12-21 2019-12-31 Ethicon Llc Jaw actuated lock arrangements for preventing advancement of a firing member in a surgical end effector unless an unfired cartridge is installed in the end effector
US10973516B2 (en) 2016-12-21 2021-04-13 Ethicon Llc Surgical end effectors and adaptable firing members therefor
US11160551B2 (en) 2016-12-21 2021-11-02 Cilag Gmbh International Articulatable surgical stapling instruments
US10945727B2 (en) 2016-12-21 2021-03-16 Ethicon Llc Staple cartridge with deformable driver retention features
US10918385B2 (en) 2016-12-21 2021-02-16 Ethicon Llc Surgical system comprising a firing member rotatable into an articulation state to articulate an end effector of the surgical system
US11191539B2 (en) 2016-12-21 2021-12-07 Cilag Gmbh International Shaft assembly comprising a manually-operable retraction system for use with a motorized surgical instrument system
US10893864B2 (en) 2016-12-21 2021-01-19 Ethicon Staple cartridges and arrangements of staples and staple cavities therein
US10492785B2 (en) 2016-12-21 2019-12-03 Ethicon Llc Shaft assembly comprising a lockout
US10568625B2 (en) 2016-12-21 2020-02-25 Ethicon Llc Staple cartridges and arrangements of staples and staple cavities therein
US10856868B2 (en) 2016-12-21 2020-12-08 Ethicon Llc Firing member pin configurations
US10426471B2 (en) 2016-12-21 2019-10-01 Ethicon Llc Surgical instrument with multiple failure response modes
US11571210B2 (en) 2016-12-21 2023-02-07 Cilag Gmbh International Firing assembly comprising a multiple failed-state fuse
US10390841B2 (en) 2017-06-20 2019-08-27 Ethicon Llc Control of motor velocity of a surgical stapling and cutting instrument based on angle of articulation
US10327767B2 (en) 2017-06-20 2019-06-25 Ethicon Llc Control of motor velocity of a surgical stapling and cutting instrument based on angle of articulation
US11517325B2 (en) 2017-06-20 2022-12-06 Cilag Gmbh International Closed loop feedback control of motor velocity of a surgical stapling and cutting instrument based on measured displacement distance traveled over a specified time interval
US10307170B2 (en) 2017-06-20 2019-06-04 Ethicon Llc Method for closed loop control of motor velocity of a surgical stapling and cutting instrument
US10368864B2 (en) 2017-06-20 2019-08-06 Ethicon Llc Systems and methods for controlling displaying motor velocity for a surgical instrument
US10881396B2 (en) 2017-06-20 2021-01-05 Ethicon Llc Surgical instrument with variable duration trigger arrangement
USD851762S1 (en) 2017-06-28 2019-06-18 Ethicon Llc Anvil
US10211586B2 (en) 2017-06-28 2019-02-19 Ethicon Llc Surgical shaft assemblies with watertight housings
US10716614B2 (en) 2017-06-28 2020-07-21 Ethicon Llc Surgical shaft assemblies with slip ring assemblies with increased contact pressure
US11564686B2 (en) 2017-06-28 2023-01-31 Cilag Gmbh International Surgical shaft assemblies with flexible interfaces
USD854151S1 (en) 2017-06-28 2019-07-16 Ethicon Llc Surgical instrument shaft
US10398434B2 (en) 2017-06-29 2019-09-03 Ethicon Llc Closed loop velocity control of closure member for robotic surgical instrument
US10258418B2 (en) 2017-06-29 2019-04-16 Ethicon Llc System for controlling articulation forces
US10796471B2 (en) 2017-09-29 2020-10-06 Ethicon Llc Systems and methods of displaying a knife position for a surgical instrument
US10765429B2 (en) 2017-09-29 2020-09-08 Ethicon Llc Systems and methods for providing alerts according to the operational state of a surgical instrument
JP7520901B2 (ja) 2019-06-28 2024-07-23 シラグ・ゲーエムベーハー・インターナショナル 適切なアンビル取り付け外科用ステープル留めヘッドアセンブリのための機構
JP2022538615A (ja) * 2019-06-28 2022-09-05 シラグ・ゲーエムベーハー・インターナショナル 適切なアンビル取り付け外科用ステープル留めヘッドアセンブリのための機構
JP7417704B2 (ja) 2019-07-31 2024-01-18 コヴィディエン リミテッド パートナーシップ 手持ち電気機械式手術器具
US11839376B2 (en) 2019-07-31 2023-12-12 Covidien Lp Hand-held electromechanical surgical instruments
JP2022553596A (ja) * 2019-07-31 2022-12-26 コヴィディエン リミテッド パートナーシップ 手持ち電気機械式手術器具

Also Published As

Publication number Publication date
US20090057369A1 (en) 2009-03-05
CN103908314A (zh) 2014-07-09
AU2008308496A1 (en) 2009-04-09
EP3034010A1 (en) 2016-06-22
CA2925484C (en) 2019-02-19
CA2699481A1 (en) 2009-04-09
EP2197361B1 (en) 2016-03-30
BRPI0817866B8 (pt) 2021-06-22
EP3034010B1 (en) 2017-08-16
US7959050B2 (en) 2011-06-14
CA3026522A1 (en) 2009-04-09
AU2008308496B2 (en) 2012-04-05
CA2925484A1 (en) 2009-04-09
JP2018149323A (ja) 2018-09-27
CN102083373A (zh) 2011-06-01
WO2009046394A1 (en) 2009-04-09
JP2017074440A (ja) 2017-04-20
JP2014158694A (ja) 2014-09-04
JP5524066B2 (ja) 2014-06-18
CA3026522C (en) 2021-10-19
JP6336023B2 (ja) 2018-06-06
EP2197361A1 (en) 2010-06-23
US20110210156A1 (en) 2011-09-01
CN102083373B (zh) 2014-05-07
BRPI0817866B1 (pt) 2019-12-24
CN103908314B (zh) 2016-06-15
EP3243445A1 (en) 2017-11-15
JP6841861B2 (ja) 2021-03-10
JP6067827B2 (ja) 2017-01-25
EP2197361A4 (en) 2012-01-04
CA2699481C (en) 2017-02-14
JP6510706B2 (ja) 2019-05-08
JP2019162434A (ja) 2019-09-26
JP2016041343A (ja) 2016-03-31
US8672951B2 (en) 2014-03-18
BRPI0817866A2 (pt) 2015-03-31
JP5854293B2 (ja) 2016-02-09

Similar Documents

Publication Publication Date Title
JP6581168B2 (ja) 手術器具
JP6336023B2 (ja) 手動解放付電気自己駆動式手術器具
JP6231174B2 (ja) 電気式手術器具
JP5646658B2 (ja) 電気式手術器具
JP2009539420A5 (ja)
AU2012203402B2 (en) Electrically self-powered surgical instrument with cryptographic identification of interchangeable part
AU2014262234A1 (en) Electrically self-powered surgical instrument with manual release

Legal Events

Date Code Title Description
A621 Written request for application examination

Free format text: JAPANESE INTERMEDIATE CODE: A621

Effective date: 20110930

A521 Request for written amendment filed

Free format text: JAPANESE INTERMEDIATE CODE: A523

Effective date: 20120810

A131 Notification of reasons for refusal

Free format text: JAPANESE INTERMEDIATE CODE: A131

Effective date: 20130305

A131 Notification of reasons for refusal

Free format text: JAPANESE INTERMEDIATE CODE: A131

Effective date: 20131022

A521 Request for written amendment filed

Free format text: JAPANESE INTERMEDIATE CODE: A523

Effective date: 20140121

TRDD Decision of grant or rejection written
A01 Written decision to grant a patent or to grant a registration (utility model)

Free format text: JAPANESE INTERMEDIATE CODE: A01

Effective date: 20140311

A61 First payment of annual fees (during grant procedure)

Free format text: JAPANESE INTERMEDIATE CODE: A61

Effective date: 20140409

R150 Certificate of patent or registration of utility model

Ref document number: 5524066

Country of ref document: JP

Free format text: JAPANESE INTERMEDIATE CODE: R150

R250 Receipt of annual fees

Free format text: JAPANESE INTERMEDIATE CODE: R250

R250 Receipt of annual fees

Free format text: JAPANESE INTERMEDIATE CODE: R250

R250 Receipt of annual fees

Free format text: JAPANESE INTERMEDIATE CODE: R250

R250 Receipt of annual fees

Free format text: JAPANESE INTERMEDIATE CODE: R250

R250 Receipt of annual fees

Free format text: JAPANESE INTERMEDIATE CODE: R250

R250 Receipt of annual fees

Free format text: JAPANESE INTERMEDIATE CODE: R250

R250 Receipt of annual fees

Free format text: JAPANESE INTERMEDIATE CODE: R250

R250 Receipt of annual fees

Free format text: JAPANESE INTERMEDIATE CODE: R250

R250 Receipt of annual fees

Free format text: JAPANESE INTERMEDIATE CODE: R250