JP2010142530A - 車両用シート - Google Patents
車両用シート Download PDFInfo
- Publication number
- JP2010142530A JP2010142530A JP2008324942A JP2008324942A JP2010142530A JP 2010142530 A JP2010142530 A JP 2010142530A JP 2008324942 A JP2008324942 A JP 2008324942A JP 2008324942 A JP2008324942 A JP 2008324942A JP 2010142530 A JP2010142530 A JP 2010142530A
- Authority
- JP
- Japan
- Prior art keywords
- seat
- backboard
- seat back
- load
- vehicle seat
- Prior art date
- Legal status (The legal status is an assumption and is not a legal conclusion. Google has not performed a legal analysis and makes no representation as to the accuracy of the status listed.)
- Pending
Links
- 230000005489 elastic deformation Effects 0.000 claims description 13
- 229920003002 synthetic resin Polymers 0.000 claims description 6
- 239000000057 synthetic resin Substances 0.000 claims description 6
- 230000001771 impaired effect Effects 0.000 description 4
- 239000000463 material Substances 0.000 description 4
- 230000000694 effects Effects 0.000 description 2
- 238000009958 sewing Methods 0.000 description 2
- JOYRKODLDBILNP-UHFFFAOYSA-N Ethyl urethane Chemical compound CCOC(N)=O JOYRKODLDBILNP-UHFFFAOYSA-N 0.000 description 1
- 239000004743 Polypropylene Substances 0.000 description 1
- 239000004744 fabric Substances 0.000 description 1
- 239000006260 foam Substances 0.000 description 1
- 239000010985 leather Substances 0.000 description 1
- 239000002184 metal Substances 0.000 description 1
- 239000004745 nonwoven fabric Substances 0.000 description 1
- -1 polypropylene Polymers 0.000 description 1
- 229920001155 polypropylene Polymers 0.000 description 1
Images
Landscapes
- Chair Legs, Seat Parts, And Backrests (AREA)
Abstract
【課題】 シートバックを構成するバックボードにバネ性を持たせることにより、従来必要としていたバネ部材を省略し、乗り心地を損なうことなく、構造の簡略化を図る。
【解決手段】 シートバック2の背面にバックボード7が設けられた構造の車両用シートにおいて、前記バックボード7に、前記シートバック2に対して背面側に向かう荷重がかかった時に弾性変形して前記荷重を吸収する弾性変形構造8を一体に設けて、シートバック2に対して背面側に向かう荷重がかかった時の荷重を吸収することができるようにしている。
【選択図】 図2
【解決手段】 シートバック2の背面にバックボード7が設けられた構造の車両用シートにおいて、前記バックボード7に、前記シートバック2に対して背面側に向かう荷重がかかった時に弾性変形して前記荷重を吸収する弾性変形構造8を一体に設けて、シートバック2に対して背面側に向かう荷重がかかった時の荷重を吸収することができるようにしている。
【選択図】 図2
Description
本願発明は、車両用シートに関し、さらに詳しくはシートバックの背面を構成するバックボードの構造に関するものである。
この種の車両用シートとしては、シートバックの背面に合成樹脂製あるいは木製のバックボードを備えたものが知られており、シートバックに対して背面側に向かう荷重がかかった時には、シートバックにおけるパッドと前記バックボードとの間に介設されたバネ部材(例えば、ネット等)で前記荷重を吸収する構成とされている(例えば、特許文献1参照)。
しかしながら、上記特許文献1に開示されている車両用シートの場合、シートバックにおけるパッドと前記バックボードとの間に介設されるバネ部材(例えば、ネット等)やバネ部材の取付構造が必要となり、シートバックの構造が複雑化するとともに、シートバックの厚さ(換言すれば、パッドの厚さ)も必要となる。
本願発明は、上記の点に鑑みてなされたもので、シートバックを構成するバックボードにバネ性を持たせることにより、従来必要としていたバネ部材を省略し、乗り心地を損なうことなく、構造の簡略化を図ることを目的としている。
本願発明では、上記課題を解決するための第1の手段として、シートバックの背面にバックボードが設けられた構造の車両用シートにおいて、前記バックボードに、前記シートバックに対して背面側に向かう荷重がかかった時に弾性変形して前記荷重を吸収する弾性変形構造を一体に設けている。
上記のように構成したことにより、バックボードに設けられた弾性変形構造により、シートバックに対して背面側に向かう荷重がかかった時の荷重を吸収することができることとなり、従来必要としていたバネ部材を省略することができる。従って、パッドを薄くしても乗り心地性能が損なわれることがなくなる。また、シートバックの重量低減およびコスト低減にも寄与することとなる。
本願発明では、さらに、上記課題を解決するための第2の手段として、上記第1の手段を備えた車両用シートにおいて、前記バックボードを合成樹脂の一体成形品により構成するとともに、前記弾性変形構造を、前記バックボードにおける乗員の背中が当接される部分に対応する部分を前面側に切り起こして形成され且つその天面に多数の小開口を形成した切り起こし部により構成することもでき、そのように構成した場合、バックボードの構造変更のみで、従来必要としていたバネ部材を省略することができる。
本願発明の第1の手段によれば、シートバックの背面にバックボードが設けられた構造の車両用シートにおいて、前記バックボードに、前記シートバックに対して背面側に向かう荷重がかかった時に弾性変形して前記荷重を吸収する弾性変形構造を一体に設けて、バックボードに設けられた弾性変形構造により、シートバックに対して背面側に向かう荷重がかかった時の荷重を吸収することができるようにしたので、従来必要としていたバネ部材を省略することができることとなり、パッドを薄くしても乗り心地性能が損なわれることがなくなるという効果がある。また、シートバックの重量低減およびコスト低減にも寄与することとなるという効果もある。
本願発明の第2の手段におけるように、上記第1の手段を備えた車両用シートにおいて、前記バックボードを合成樹脂の一体成形品により構成するとともに、前記弾性変形構造を、前記バックボードにおける乗員の背中が当接される部分に対応する部分を前面側に切り起こして形成され且つその天面に多数の小開口を形成した切り起こし部により構成することもでき、そのように構成した場合、バックボードの構造変更にみで、従来必要としていたバネ部材を省略することができる。
以下、添付の図面を参照して、本願発明の好適な実施の形態について説明する。
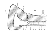
この車両用シートは、図1に示すように、シートクッション1とシートバック2とからなっており、前記シートバック2は、リクライニング装置(図示省略)の操作によって前後方向への傾動角度の調整、あるいは倒し込みが可能となっている。なお、シートクッション1およびシートバック2の基本構造は、個々の金属フレームに発泡ウレタンなどのパッドが被せ付けられ、それぞれのパッド表面が皮革や布などを縫製して作られたシート表皮3,4で被われている。
前記シートバック2のパッド5は、図2に示すように、シートバック2の背面側では開放されており、該パッド5の表面は、シート表皮4で被われ、該パッド5の裏面には、不織布などを用いた裏面材6が貼り付けられている。シート表皮4において、シートバック2の前面側を被っている前面部分4aと、サイドを被っているサイド部分4bとの縫い付け部分については、シートバック2の内部側に引き込まれ、それによって意匠的な見切り線を出している。
前記シートバック2の背面は、パッド5の開放側をバックボード7で閉塞することによって意匠面が構成されている。このバックボード7は、合成樹脂(例えば、発泡ポリプロピレン)の一体成形品からなっており、前記バックボード7には、前記シートバック2に対して背面側に向かう荷重がかかった時に弾性変形して前記荷重を吸収する弾性変形構造8が一体に設けられている。該弾性変形構造8は、前記バックボード7における乗員の背中が当接される部分に対応する部分を前面側に切り起こして形成され且つその天面に多数の小開口10,10・・を形成した切り起こし部9により構成されている(図3参照)。
また、前記バックボード7は、前記シート表皮4と同じ材質および柄の表皮材11で被った構成とされており、該表皮材11は、その左右両縁を上下方向に沿ってバックボード7に縫い付けることにより一体化されている。
上記のように構成したことにより、バックボード7に設けられた弾性変形構造8により、シートバック2に対して背面側に向かう荷重(即ち、図2に矢印で示す方向の荷重)がかかった時の荷重を、図2の仮想線で示すように、変形吸収することができることとなり、従来必要としていたバネ部材を省略することができる。従って、パッド5を薄くしても乗り心地性能が損なわれることがなくなる。また、シートバック2の重量低減およびコスト低減にも寄与することとなる。
しかも、前記バックボード7を合成樹脂の一体成形品により構成するとともに、前記弾性変形構造8を、前記バックボード7における乗員の背中が当接される部分に対応する部分を前面側に切り起こして形成され且つその天面に多数の小開口10,10・・を形成した切り起こし部9により構成したことにより、バックボード7の構造変更のみで、従来必要としていたバネ部材を省略することができる。
本願発明は、上記実施の形態に限定されるものではなく、発明の要旨を逸脱しない範囲において適宜設計変更可能なことは勿論である。
1はシートクッション
2はシートバック
5はパッド
7はバックボード
8は弾性変形構造
9は切り起こし部
10は小開口
2はシートバック
5はパッド
7はバックボード
8は弾性変形構造
9は切り起こし部
10は小開口
Claims (2)
- シートバックの背面にバックボードが設けられた構造の車両用シートであって、前記バックボードには、前記シートバックに対して背面側に向かう荷重がかかった時に弾性変形して前記荷重を吸収する弾性変形構造を一体に設けたことを特徴とする車両用シート。
- 前記バックボードを合成樹脂の一体成形品により構成するとともに、前記弾性変形構造を、前記バックボードにおける乗員の背中が当接される部分に対応する部分を前面側に切り起こして形成され且つその天面に多数の小開口を形成した切り起こし部により構成したことを特徴とする請求項1記載の車両用シート。
Priority Applications (1)
| Application Number | Priority Date | Filing Date | Title |
|---|---|---|---|
| JP2008324942A JP2010142530A (ja) | 2008-12-22 | 2008-12-22 | 車両用シート |
Applications Claiming Priority (1)
| Application Number | Priority Date | Filing Date | Title |
|---|---|---|---|
| JP2008324942A JP2010142530A (ja) | 2008-12-22 | 2008-12-22 | 車両用シート |
Publications (1)
| Publication Number | Publication Date |
|---|---|
| JP2010142530A true JP2010142530A (ja) | 2010-07-01 |
Family
ID=42563564
Family Applications (1)
| Application Number | Title | Priority Date | Filing Date |
|---|---|---|---|
| JP2008324942A Pending JP2010142530A (ja) | 2008-12-22 | 2008-12-22 | 車両用シート |
Country Status (1)
| Country | Link |
|---|---|
| JP (1) | JP2010142530A (ja) |
Cited By (4)
| Publication number | Priority date | Publication date | Assignee | Title |
|---|---|---|---|---|
| US8979204B2 (en) | 2011-06-16 | 2015-03-17 | Toyota Jidosha Kabushiki Kaisha | Seat backboard and vehicle seat |
| EP2796316A4 (en) * | 2011-12-21 | 2015-05-27 | Toyo Seat Co Ltd | VEHICLE SEAT REST |
| US9073467B2 (en) | 2010-08-10 | 2015-07-07 | Toyota Jidosha Kabushiki Kaisha | Vehicle seat and seat back board |
| US9108552B2 (en) | 2011-10-25 | 2015-08-18 | Toyota Jidosha Kabushiki Kaisha | Vehicle seat and resin seatback spring |
-
2008
- 2008-12-22 JP JP2008324942A patent/JP2010142530A/ja active Pending
Cited By (5)
| Publication number | Priority date | Publication date | Assignee | Title |
|---|---|---|---|---|
| US9073467B2 (en) | 2010-08-10 | 2015-07-07 | Toyota Jidosha Kabushiki Kaisha | Vehicle seat and seat back board |
| US8979204B2 (en) | 2011-06-16 | 2015-03-17 | Toyota Jidosha Kabushiki Kaisha | Seat backboard and vehicle seat |
| US9108552B2 (en) | 2011-10-25 | 2015-08-18 | Toyota Jidosha Kabushiki Kaisha | Vehicle seat and resin seatback spring |
| EP2796316A4 (en) * | 2011-12-21 | 2015-05-27 | Toyo Seat Co Ltd | VEHICLE SEAT REST |
| US9580000B2 (en) | 2011-12-21 | 2017-02-28 | Toyo Seat Co., Ltd. | Seat back for vehicles |
Similar Documents
| Publication | Publication Date | Title |
|---|---|---|
| JP6179458B2 (ja) | 乗物用シート | |
| JP6475278B2 (ja) | 車両用シート | |
| JP2016117360A (ja) | 車両用シート | |
| JP6098616B2 (ja) | 車両用シート | |
| JP6356882B1 (ja) | シートへのセンサーの配置構造 | |
| US20140028074A1 (en) | Vehicular seats | |
| US20140292043A1 (en) | Conveyance seat | |
| JP5361321B2 (ja) | 車両用シート | |
| WO2020255754A1 (ja) | 乗物用シート | |
| JP6085546B2 (ja) | 車両用シート及びトリムカバー | |
| JP2010142530A (ja) | 車両用シート | |
| JP5834314B2 (ja) | シートのシートバック構造 | |
| JP6103474B2 (ja) | シートクッション | |
| JP2012239495A (ja) | シートカバー | |
| JP4417220B2 (ja) | 車両用シート | |
| JP5994674B2 (ja) | 車両用シート | |
| JP5913768B2 (ja) | 自動車シートに用いるシート・クッション・トリム・カバー | |
| JP2012171610A (ja) | 自動車用シート | |
| JP7735203B2 (ja) | 車両用のシートクッション及び車両用シート | |
| JP6492918B2 (ja) | 乗物用シートのシートカバーおよび乗物用シート | |
| JP2010142571A (ja) | シート用クッション体並びに乗り物用シート | |
| JP2010012093A (ja) | シートバック構造 | |
| JP2010012094A (ja) | 車両用シートのシートクッション構造 | |
| JP7200050B2 (ja) | シートバック | |
| JP2005211251A (ja) | 車両用シートクッションパッド |