JP2010103484A - 半導体デバイス、その製造装置及び製造方法 - Google Patents
半導体デバイス、その製造装置及び製造方法 Download PDFInfo
- Publication number
- JP2010103484A JP2010103484A JP2009186634A JP2009186634A JP2010103484A JP 2010103484 A JP2010103484 A JP 2010103484A JP 2009186634 A JP2009186634 A JP 2009186634A JP 2009186634 A JP2009186634 A JP 2009186634A JP 2010103484 A JP2010103484 A JP 2010103484A
- Authority
- JP
- Japan
- Prior art keywords
- gas
- based gas
- semiconductor device
- wafer
- chamber
- Prior art date
- Legal status (The legal status is an assumption and is not a legal conclusion. Google has not performed a legal analysis and makes no representation as to the accuracy of the status listed.)
- Pending
Links
- 238000000034 method Methods 0.000 title claims abstract description 64
- 238000004519 manufacturing process Methods 0.000 title claims abstract description 60
- 239000004065 semiconductor Substances 0.000 title claims abstract description 48
- XUIMIQQOPSSXEZ-UHFFFAOYSA-N Silicon Chemical compound [Si] XUIMIQQOPSSXEZ-UHFFFAOYSA-N 0.000 claims abstract description 39
- 229910052710 silicon Inorganic materials 0.000 claims abstract description 39
- 239000010703 silicon Substances 0.000 claims abstract description 38
- 238000012545 processing Methods 0.000 claims abstract description 37
- 239000007789 gas Substances 0.000 claims description 384
- IJGRMHOSHXDMSA-UHFFFAOYSA-N Atomic nitrogen Chemical compound N#N IJGRMHOSHXDMSA-UHFFFAOYSA-N 0.000 claims description 69
- 229910052757 nitrogen Inorganic materials 0.000 claims description 32
- 238000010438 heat treatment Methods 0.000 claims description 17
- 230000005284 excitation Effects 0.000 claims description 14
- 239000011261 inert gas Substances 0.000 claims description 12
- 239000001257 hydrogen Substances 0.000 claims description 10
- 229910052739 hydrogen Inorganic materials 0.000 claims description 10
- UFHFLCQGNIYNRP-UHFFFAOYSA-N Hydrogen Chemical compound [H][H] UFHFLCQGNIYNRP-UHFFFAOYSA-N 0.000 claims description 9
- 238000000354 decomposition reaction Methods 0.000 claims description 9
- 229910052736 halogen Inorganic materials 0.000 claims description 7
- 150000002367 halogens Chemical class 0.000 claims description 7
- XLYOFNOQVPJJNP-UHFFFAOYSA-N water Chemical compound O XLYOFNOQVPJJNP-UHFFFAOYSA-N 0.000 claims description 6
- 238000013461 design Methods 0.000 claims description 4
- 238000009835 boiling Methods 0.000 claims description 3
- 238000005192 partition Methods 0.000 claims description 3
- OAKJQQAXSVQMHS-UHFFFAOYSA-N Hydrazine Chemical compound NN OAKJQQAXSVQMHS-UHFFFAOYSA-N 0.000 abstract description 13
- PZPGRFITIJYNEJ-UHFFFAOYSA-N disilane Chemical compound [SiH3][SiH3] PZPGRFITIJYNEJ-UHFFFAOYSA-N 0.000 abstract description 10
- BLRPTPMANUNPDV-UHFFFAOYSA-N Silane Chemical compound [SiH4] BLRPTPMANUNPDV-UHFFFAOYSA-N 0.000 abstract description 3
- 229910000077 silane Inorganic materials 0.000 abstract description 3
- SEEPANYCNGTZFQ-UHFFFAOYSA-N sulfadiazine Chemical compound C1=CC(N)=CC=C1S(=O)(=O)NC1=NC=CC=N1 SEEPANYCNGTZFQ-UHFFFAOYSA-N 0.000 abstract description 2
- 150000004767 nitrides Chemical class 0.000 abstract 2
- QGZKDVFQNNGYKY-UHFFFAOYSA-O Ammonium Chemical compound [NH4+] QGZKDVFQNNGYKY-UHFFFAOYSA-O 0.000 abstract 1
- 125000003277 amino group Chemical group 0.000 abstract 1
- 125000002147 dimethylamino group Chemical group [H]C([H])([H])N(*)C([H])([H])[H] 0.000 abstract 1
- 125000000031 ethylamino group Chemical group [H]C([H])([H])C([H])([H])N([H])[*] 0.000 abstract 1
- 235000012431 wafers Nutrition 0.000 description 123
- VYPSYNLAJGMNEJ-UHFFFAOYSA-N silicon dioxide Inorganic materials O=[Si]=O VYPSYNLAJGMNEJ-UHFFFAOYSA-N 0.000 description 31
- 239000010453 quartz Substances 0.000 description 29
- 238000000137 annealing Methods 0.000 description 17
- SSCVMVQLICADPI-UHFFFAOYSA-N n-methyl-n-[tris(dimethylamino)silyl]methanamine Chemical compound CN(C)[Si](N(C)C)(N(C)C)N(C)C SSCVMVQLICADPI-UHFFFAOYSA-N 0.000 description 14
- 238000004518 low pressure chemical vapour deposition Methods 0.000 description 12
- 239000000758 substrate Substances 0.000 description 12
- 229910004298 SiO 2 Inorganic materials 0.000 description 11
- LXEXBJXDGVGRAR-UHFFFAOYSA-N trichloro(trichlorosilyl)silane Chemical compound Cl[Si](Cl)(Cl)[Si](Cl)(Cl)Cl LXEXBJXDGVGRAR-UHFFFAOYSA-N 0.000 description 11
- 238000010586 diagram Methods 0.000 description 10
- 238000012546 transfer Methods 0.000 description 9
- 239000003990 capacitor Substances 0.000 description 8
- 239000000460 chlorine Substances 0.000 description 8
- 239000011521 glass Substances 0.000 description 8
- FZHAPNGMFPVSLP-UHFFFAOYSA-N silanamine Chemical compound [SiH3]N FZHAPNGMFPVSLP-UHFFFAOYSA-N 0.000 description 7
- GIRKRMUMWJFNRI-UHFFFAOYSA-N tris(dimethylamino)silicon Chemical compound CN(C)[Si](N(C)C)N(C)C GIRKRMUMWJFNRI-UHFFFAOYSA-N 0.000 description 7
- XKRFYHLGVUSROY-UHFFFAOYSA-N Argon Chemical compound [Ar] XKRFYHLGVUSROY-UHFFFAOYSA-N 0.000 description 6
- 239000002210 silicon-based material Substances 0.000 description 6
- 238000005755 formation reaction Methods 0.000 description 5
- QSHDDOUJBYECFT-UHFFFAOYSA-N mercury Chemical compound [Hg] QSHDDOUJBYECFT-UHFFFAOYSA-N 0.000 description 5
- 229910052753 mercury Inorganic materials 0.000 description 5
- 229910052814 silicon oxide Inorganic materials 0.000 description 5
- -1 alkylamino silanes Chemical class 0.000 description 4
- 238000000151 deposition Methods 0.000 description 4
- 230000008021 deposition Effects 0.000 description 4
- 229910001873 dinitrogen Inorganic materials 0.000 description 4
- 230000000694 effects Effects 0.000 description 4
- 239000012535 impurity Substances 0.000 description 4
- 239000012212 insulator Substances 0.000 description 4
- QGZKDVFQNNGYKY-UHFFFAOYSA-N Ammonia Chemical compound N QGZKDVFQNNGYKY-UHFFFAOYSA-N 0.000 description 3
- 229910021417 amorphous silicon Inorganic materials 0.000 description 3
- 229910052786 argon Inorganic materials 0.000 description 3
- 230000015572 biosynthetic process Effects 0.000 description 3
- 125000000484 butyl group Chemical group [H]C([*])([H])C([H])([H])C([H])([H])C([H])([H])[H] 0.000 description 3
- 238000004140 cleaning Methods 0.000 description 3
- 239000006185 dispersion Substances 0.000 description 3
- 125000005843 halogen group Chemical group 0.000 description 3
- 239000001307 helium Substances 0.000 description 3
- 229910052734 helium Inorganic materials 0.000 description 3
- SWQJXJOGLNCZEY-UHFFFAOYSA-N helium atom Chemical compound [He] SWQJXJOGLNCZEY-UHFFFAOYSA-N 0.000 description 3
- 125000005647 linker group Chemical group 0.000 description 3
- 239000004973 liquid crystal related substance Substances 0.000 description 3
- 238000002161 passivation Methods 0.000 description 3
- 229910021420 polycrystalline silicon Inorganic materials 0.000 description 3
- 229920005591 polysilicon Polymers 0.000 description 3
- 239000005046 Chlorosilane Substances 0.000 description 2
- 229910052581 Si3N4 Inorganic materials 0.000 description 2
- 229910003691 SiBr Inorganic materials 0.000 description 2
- GJWAPAVRQYYSTK-UHFFFAOYSA-N [(dimethyl-$l^{3}-silanyl)amino]-dimethylsilicon Chemical compound C[Si](C)N[Si](C)C GJWAPAVRQYYSTK-UHFFFAOYSA-N 0.000 description 2
- QVGXLLKOCUKJST-UHFFFAOYSA-N atomic oxygen Chemical compound [O] QVGXLLKOCUKJST-UHFFFAOYSA-N 0.000 description 2
- KOPOQZFJUQMUML-UHFFFAOYSA-N chlorosilane Chemical compound Cl[SiH3] KOPOQZFJUQMUML-UHFFFAOYSA-N 0.000 description 2
- DDSWIYVVHBOISO-UHFFFAOYSA-N ctk0i1982 Chemical class N[SiH](N)N DDSWIYVVHBOISO-UHFFFAOYSA-N 0.000 description 2
- AWFPGKLDLMAPMK-UHFFFAOYSA-N dimethylaminosilicon Chemical compound CN(C)[Si] AWFPGKLDLMAPMK-UHFFFAOYSA-N 0.000 description 2
- 238000005530 etching Methods 0.000 description 2
- 230000005281 excited state Effects 0.000 description 2
- 230000001678 irradiating effect Effects 0.000 description 2
- 229910052751 metal Inorganic materials 0.000 description 2
- 239000002184 metal Substances 0.000 description 2
- OOXOBWDOWJBZHX-UHFFFAOYSA-N n-(dimethylaminosilyl)-n-methylmethanamine Chemical compound CN(C)[SiH2]N(C)C OOXOBWDOWJBZHX-UHFFFAOYSA-N 0.000 description 2
- 229910052760 oxygen Inorganic materials 0.000 description 2
- 239000001301 oxygen Substances 0.000 description 2
- 238000000206 photolithography Methods 0.000 description 2
- 239000002243 precursor Substances 0.000 description 2
- VUEONHALRNZYJM-UHFFFAOYSA-N silanetetramine Chemical compound N[Si](N)(N)N VUEONHALRNZYJM-UHFFFAOYSA-N 0.000 description 2
- HQVNEWCFYHHQES-UHFFFAOYSA-N silicon nitride Chemical compound N12[Si]34N5[Si]62N3[Si]51N64 HQVNEWCFYHHQES-UHFFFAOYSA-N 0.000 description 2
- CMQUQOHNANGDOR-UHFFFAOYSA-N 2,3-dibromo-4-(2,4-dibromo-5-hydroxyphenyl)phenol Chemical compound BrC1=C(Br)C(O)=CC=C1C1=CC(O)=C(Br)C=C1Br CMQUQOHNANGDOR-UHFFFAOYSA-N 0.000 description 1
- TYWKXSGKUGRATI-UHFFFAOYSA-N BrC1C(C(C(C=C1)([SiH]([SiH3])C1=CC=CC=C1)Br)(Br)Br)(Br)Br Chemical compound BrC1C(C(C(C=C1)([SiH]([SiH3])C1=CC=CC=C1)Br)(Br)Br)(Br)Br TYWKXSGKUGRATI-UHFFFAOYSA-N 0.000 description 1
- MPYOCTOEFUCGSD-UHFFFAOYSA-N CCCN(CCC)[SiH2]Cl Chemical compound CCCN(CCC)[SiH2]Cl MPYOCTOEFUCGSD-UHFFFAOYSA-N 0.000 description 1
- GXWVPPAINCVSEX-UHFFFAOYSA-N CCN(CC)[SiH2]Cl Chemical compound CCN(CC)[SiH2]Cl GXWVPPAINCVSEX-UHFFFAOYSA-N 0.000 description 1
- OKTJSMMVPCPJKN-UHFFFAOYSA-N Carbon Chemical compound [C] OKTJSMMVPCPJKN-UHFFFAOYSA-N 0.000 description 1
- ZAMOUSCENKQFHK-UHFFFAOYSA-N Chlorine atom Chemical compound [Cl] ZAMOUSCENKQFHK-UHFFFAOYSA-N 0.000 description 1
- MYMOFIZGZYHOMD-UHFFFAOYSA-N Dioxygen Chemical compound O=O MYMOFIZGZYHOMD-UHFFFAOYSA-N 0.000 description 1
- DGAQECJNVWCQMB-PUAWFVPOSA-M Ilexoside XXIX Chemical compound C[C@@H]1CC[C@@]2(CC[C@@]3(C(=CC[C@H]4[C@]3(CC[C@@H]5[C@@]4(CC[C@@H](C5(C)C)OS(=O)(=O)[O-])C)C)[C@@H]2[C@]1(C)O)C)C(=O)O[C@H]6[C@@H]([C@H]([C@@H]([C@H](O6)CO)O)O)O.[Na+] DGAQECJNVWCQMB-PUAWFVPOSA-M 0.000 description 1
- AAIOMABGQIWKQQ-UHFFFAOYSA-N N-[di(propan-2-yl)amino]silyl-N-propan-2-ylpropan-2-amine Chemical compound CC(C)N([SiH2]N(C(C)C)C(C)C)C(C)C AAIOMABGQIWKQQ-UHFFFAOYSA-N 0.000 description 1
- HLWJNXGOCQNLOY-UHFFFAOYSA-N N-bis[di(propan-2-yl)amino]silyl-N-propan-2-ylpropan-2-amine Chemical compound C(C)(C)N(C(C)C)[SiH](N(C(C)C)C(C)C)N(C(C)C)C(C)C HLWJNXGOCQNLOY-UHFFFAOYSA-N 0.000 description 1
- BIVNKSDKIFWKFA-UHFFFAOYSA-N N-propan-2-yl-N-silylpropan-2-amine Chemical compound CC(C)N([SiH3])C(C)C BIVNKSDKIFWKFA-UHFFFAOYSA-N 0.000 description 1
- AONUAFPCQVNGCO-UHFFFAOYSA-N N-propan-2-yl-N-tris[di(propan-2-yl)amino]silylpropan-2-amine Chemical compound C(C)(C)N(C(C)C)[Si](N(C(C)C)C(C)C)(N(C(C)C)C(C)C)N(C(C)C)C(C)C AONUAFPCQVNGCO-UHFFFAOYSA-N 0.000 description 1
- CBENFWSGALASAD-UHFFFAOYSA-N Ozone Chemical compound [O-][O+]=O CBENFWSGALASAD-UHFFFAOYSA-N 0.000 description 1
- 229910008072 Si-N-Si Inorganic materials 0.000 description 1
- 229910003902 SiCl 4 Inorganic materials 0.000 description 1
- 239000007983 Tris buffer Substances 0.000 description 1
- 238000010521 absorption reaction Methods 0.000 description 1
- 230000002411 adverse Effects 0.000 description 1
- 230000004075 alteration Effects 0.000 description 1
- PNEYBMLMFCGWSK-UHFFFAOYSA-N aluminium oxide Inorganic materials [O-2].[O-2].[O-2].[Al+3].[Al+3] PNEYBMLMFCGWSK-UHFFFAOYSA-N 0.000 description 1
- 229910021529 ammonia Inorganic materials 0.000 description 1
- 125000004429 atom Chemical group 0.000 description 1
- 230000008033 biological extinction Effects 0.000 description 1
- 239000000872 buffer Substances 0.000 description 1
- 229910052799 carbon Inorganic materials 0.000 description 1
- 239000012159 carrier gas Substances 0.000 description 1
- 238000006243 chemical reaction Methods 0.000 description 1
- 238000005229 chemical vapour deposition Methods 0.000 description 1
- 229910052801 chlorine Inorganic materials 0.000 description 1
- SLLGVCUQYRMELA-UHFFFAOYSA-N chlorosilicon Chemical compound Cl[Si] SLLGVCUQYRMELA-UHFFFAOYSA-N 0.000 description 1
- 238000004891 communication Methods 0.000 description 1
- 230000001276 controlling effect Effects 0.000 description 1
- FIRQYUPQXNPTKO-UHFFFAOYSA-N ctk0i2755 Chemical class N[SiH2]N FIRQYUPQXNPTKO-UHFFFAOYSA-N 0.000 description 1
- 238000002484 cyclic voltammetry Methods 0.000 description 1
- KSFBTBXTZDJOHO-UHFFFAOYSA-N diaminosilicon Chemical compound N[Si]N KSFBTBXTZDJOHO-UHFFFAOYSA-N 0.000 description 1
- FXOCTISBMXDWGP-UHFFFAOYSA-N dichloro(silyl)silane Chemical compound [SiH3][SiH](Cl)Cl FXOCTISBMXDWGP-UHFFFAOYSA-N 0.000 description 1
- MROCJMGDEKINLD-UHFFFAOYSA-N dichlorosilane Chemical compound Cl[SiH2]Cl MROCJMGDEKINLD-UHFFFAOYSA-N 0.000 description 1
- WZUCGJVWOLJJAN-UHFFFAOYSA-N diethylaminosilicon Chemical compound CCN([Si])CC WZUCGJVWOLJJAN-UHFFFAOYSA-N 0.000 description 1
- 238000010790 dilution Methods 0.000 description 1
- 239000012895 dilution Substances 0.000 description 1
- 229910001882 dioxygen Inorganic materials 0.000 description 1
- 238000005401 electroluminescence Methods 0.000 description 1
- 125000001495 ethyl group Chemical group [H]C([H])([H])C([H])([H])* 0.000 description 1
- 150000004820 halides Chemical class 0.000 description 1
- 150000002431 hydrogen Chemical class 0.000 description 1
- 125000004435 hydrogen atom Chemical group [H]* 0.000 description 1
- 238000003384 imaging method Methods 0.000 description 1
- 238000010348 incorporation Methods 0.000 description 1
- 230000010365 information processing Effects 0.000 description 1
- 125000000959 isobutyl group Chemical group [H]C([H])([H])C([H])(C([H])([H])[H])C([H])([H])* 0.000 description 1
- 125000001449 isopropyl group Chemical group [H]C([H])([H])C([H])(*)C([H])([H])[H] 0.000 description 1
- 238000012423 maintenance Methods 0.000 description 1
- 238000005259 measurement Methods 0.000 description 1
- 229910001507 metal halide Inorganic materials 0.000 description 1
- 150000005309 metal halides Chemical class 0.000 description 1
- 125000002496 methyl group Chemical group [H]C([H])([H])* 0.000 description 1
- OWKFQWAGPHVFRF-UHFFFAOYSA-N n-(diethylaminosilyl)-n-ethylethanamine Chemical compound CCN(CC)[SiH2]N(CC)CC OWKFQWAGPHVFRF-UHFFFAOYSA-N 0.000 description 1
- QKCGXXHCELUCKW-UHFFFAOYSA-N n-[4-[4-(dinaphthalen-2-ylamino)phenyl]phenyl]-n-naphthalen-2-ylnaphthalen-2-amine Chemical compound C1=CC=CC2=CC(N(C=3C=CC(=CC=3)C=3C=CC(=CC=3)N(C=3C=C4C=CC=CC4=CC=3)C=3C=C4C=CC=CC4=CC=3)C3=CC4=CC=CC=C4C=C3)=CC=C21 QKCGXXHCELUCKW-UHFFFAOYSA-N 0.000 description 1
- NCAKWMZPHTZJOT-UHFFFAOYSA-N n-[bis(diethylamino)silyl]-n-ethylethanamine Chemical compound CCN(CC)[SiH](N(CC)CC)N(CC)CC NCAKWMZPHTZJOT-UHFFFAOYSA-N 0.000 description 1
- YLZCZVGQEADVNK-UHFFFAOYSA-N n-[chloro-bis(dimethylamino)silyl]-n-methylmethanamine Chemical compound CN(C)[Si](Cl)(N(C)C)N(C)C YLZCZVGQEADVNK-UHFFFAOYSA-N 0.000 description 1
- SJHDWSADDRUNNE-UHFFFAOYSA-N n-[dichloro(diethylamino)silyl]-n-ethylethanamine Chemical compound CCN(CC)[Si](Cl)(Cl)N(CC)CC SJHDWSADDRUNNE-UHFFFAOYSA-N 0.000 description 1
- IBYYZDHAJZICKQ-UHFFFAOYSA-N n-[dichloro(dimethylamino)silyl]-n-methylmethanamine Chemical compound CN(C)[Si](Cl)(Cl)N(C)C IBYYZDHAJZICKQ-UHFFFAOYSA-N 0.000 description 1
- GGAWFVQAEAHNGN-UHFFFAOYSA-N n-chlorosilyl-n-methylmethanamine Chemical compound CN(C)[SiH2]Cl GGAWFVQAEAHNGN-UHFFFAOYSA-N 0.000 description 1
- GURMJCMOXLWZHZ-UHFFFAOYSA-N n-ethyl-n-[tris(diethylamino)silyl]ethanamine Chemical compound CCN(CC)[Si](N(CC)CC)(N(CC)CC)N(CC)CC GURMJCMOXLWZHZ-UHFFFAOYSA-N 0.000 description 1
- SVHQXUKYPYRNEC-UHFFFAOYSA-N n-ethyl-n-trichlorosilylethanamine Chemical compound CCN(CC)[Si](Cl)(Cl)Cl SVHQXUKYPYRNEC-UHFFFAOYSA-N 0.000 description 1
- NEMUVWSQFWIZKP-UHFFFAOYSA-N n-methyl-n-trichlorosilylmethanamine Chemical compound CN(C)[Si](Cl)(Cl)Cl NEMUVWSQFWIZKP-UHFFFAOYSA-N 0.000 description 1
- 229910052754 neon Inorganic materials 0.000 description 1
- GKAOGPIIYCISHV-UHFFFAOYSA-N neon atom Chemical compound [Ne] GKAOGPIIYCISHV-UHFFFAOYSA-N 0.000 description 1
- 125000004433 nitrogen atom Chemical group N* 0.000 description 1
- QJGQUHMNIGDVPM-UHFFFAOYSA-N nitrogen group Chemical group [N] QJGQUHMNIGDVPM-UHFFFAOYSA-N 0.000 description 1
- 230000003287 optical effect Effects 0.000 description 1
- 239000002245 particle Substances 0.000 description 1
- 238000009832 plasma treatment Methods 0.000 description 1
- 230000001737 promoting effect Effects 0.000 description 1
- 125000001436 propyl group Chemical group [H]C([*])([H])C([H])([H])C([H])([H])[H] 0.000 description 1
- 238000010926 purge Methods 0.000 description 1
- 239000002994 raw material Substances 0.000 description 1
- 239000012495 reaction gas Substances 0.000 description 1
- 230000001105 regulatory effect Effects 0.000 description 1
- 150000004756 silanes Chemical class 0.000 description 1
- FDNAPBUWERUEDA-UHFFFAOYSA-N silicon tetrachloride Chemical compound Cl[Si](Cl)(Cl)Cl FDNAPBUWERUEDA-UHFFFAOYSA-N 0.000 description 1
- CFTHARXEQHJSEH-UHFFFAOYSA-N silicon tetraiodide Chemical compound I[Si](I)(I)I CFTHARXEQHJSEH-UHFFFAOYSA-N 0.000 description 1
- 229910052708 sodium Inorganic materials 0.000 description 1
- 239000011734 sodium Substances 0.000 description 1
- 238000005507 spraying Methods 0.000 description 1
- 239000000126 substance Substances 0.000 description 1
- VYFXMIAQVGXIIN-UHFFFAOYSA-N trichloro(chlorosilyl)silane Chemical compound Cl[SiH2][Si](Cl)(Cl)Cl VYFXMIAQVGXIIN-UHFFFAOYSA-N 0.000 description 1
- ZDHXKXAHOVTTAH-UHFFFAOYSA-N trichlorosilane Chemical compound Cl[SiH](Cl)Cl ZDHXKXAHOVTTAH-UHFFFAOYSA-N 0.000 description 1
- 239000005052 trichlorosilane Substances 0.000 description 1
- 238000007740 vapor deposition Methods 0.000 description 1
Images
Classifications
-
- C—CHEMISTRY; METALLURGY
- C23—COATING METALLIC MATERIAL; COATING MATERIAL WITH METALLIC MATERIAL; CHEMICAL SURFACE TREATMENT; DIFFUSION TREATMENT OF METALLIC MATERIAL; COATING BY VACUUM EVAPORATION, BY SPUTTERING, BY ION IMPLANTATION OR BY CHEMICAL VAPOUR DEPOSITION, IN GENERAL; INHIBITING CORROSION OF METALLIC MATERIAL OR INCRUSTATION IN GENERAL
- C23C—COATING METALLIC MATERIAL; COATING MATERIAL WITH METALLIC MATERIAL; SURFACE TREATMENT OF METALLIC MATERIAL BY DIFFUSION INTO THE SURFACE, BY CHEMICAL CONVERSION OR SUBSTITUTION; COATING BY VACUUM EVAPORATION, BY SPUTTERING, BY ION IMPLANTATION OR BY CHEMICAL VAPOUR DEPOSITION, IN GENERAL
- C23C16/00—Chemical coating by decomposition of gaseous compounds, without leaving reaction products of surface material in the coating, i.e. chemical vapour deposition [CVD] processes
- C23C16/22—Chemical coating by decomposition of gaseous compounds, without leaving reaction products of surface material in the coating, i.e. chemical vapour deposition [CVD] processes characterised by the deposition of inorganic material, other than metallic material
- C23C16/30—Deposition of compounds, mixtures or solid solutions, e.g. borides, carbides, nitrides
- C23C16/34—Nitrides
- C23C16/345—Silicon nitride
-
- H—ELECTRICITY
- H01—ELECTRIC ELEMENTS
- H01L—SEMICONDUCTOR DEVICES NOT COVERED BY CLASS H10
- H01L21/00—Processes or apparatus adapted for the manufacture or treatment of semiconductor or solid state devices or of parts thereof
- H01L21/02—Manufacture or treatment of semiconductor devices or of parts thereof
- H01L21/02104—Forming layers
- H01L21/02107—Forming insulating materials on a substrate
- H01L21/02109—Forming insulating materials on a substrate characterised by the type of layer, e.g. type of material, porous/non-porous, pre-cursors, mixtures or laminates
- H01L21/02112—Forming insulating materials on a substrate characterised by the type of layer, e.g. type of material, porous/non-porous, pre-cursors, mixtures or laminates characterised by the material of the layer
- H01L21/02123—Forming insulating materials on a substrate characterised by the type of layer, e.g. type of material, porous/non-porous, pre-cursors, mixtures or laminates characterised by the material of the layer the material containing silicon
- H01L21/0217—Forming insulating materials on a substrate characterised by the type of layer, e.g. type of material, porous/non-porous, pre-cursors, mixtures or laminates characterised by the material of the layer the material containing silicon the material being a silicon nitride not containing oxygen, e.g. SixNy or SixByNz
-
- H—ELECTRICITY
- H01—ELECTRIC ELEMENTS
- H01L—SEMICONDUCTOR DEVICES NOT COVERED BY CLASS H10
- H01L21/00—Processes or apparatus adapted for the manufacture or treatment of semiconductor or solid state devices or of parts thereof
- H01L21/02—Manufacture or treatment of semiconductor devices or of parts thereof
- H01L21/02104—Forming layers
- H01L21/02107—Forming insulating materials on a substrate
- H01L21/02109—Forming insulating materials on a substrate characterised by the type of layer, e.g. type of material, porous/non-porous, pre-cursors, mixtures or laminates
- H01L21/02205—Forming insulating materials on a substrate characterised by the type of layer, e.g. type of material, porous/non-porous, pre-cursors, mixtures or laminates the layer being characterised by the precursor material for deposition
- H01L21/02208—Forming insulating materials on a substrate characterised by the type of layer, e.g. type of material, porous/non-porous, pre-cursors, mixtures or laminates the layer being characterised by the precursor material for deposition the precursor containing a compound comprising Si
- H01L21/02211—Forming insulating materials on a substrate characterised by the type of layer, e.g. type of material, porous/non-porous, pre-cursors, mixtures or laminates the layer being characterised by the precursor material for deposition the precursor containing a compound comprising Si the compound being a silane, e.g. disilane, methylsilane or chlorosilane
-
- H—ELECTRICITY
- H01—ELECTRIC ELEMENTS
- H01L—SEMICONDUCTOR DEVICES NOT COVERED BY CLASS H10
- H01L21/00—Processes or apparatus adapted for the manufacture or treatment of semiconductor or solid state devices or of parts thereof
- H01L21/02—Manufacture or treatment of semiconductor devices or of parts thereof
- H01L21/02104—Forming layers
- H01L21/02107—Forming insulating materials on a substrate
- H01L21/02225—Forming insulating materials on a substrate characterised by the process for the formation of the insulating layer
- H01L21/0226—Forming insulating materials on a substrate characterised by the process for the formation of the insulating layer formation by a deposition process
- H01L21/02263—Forming insulating materials on a substrate characterised by the process for the formation of the insulating layer formation by a deposition process deposition from the gas or vapour phase
- H01L21/02271—Forming insulating materials on a substrate characterised by the process for the formation of the insulating layer formation by a deposition process deposition from the gas or vapour phase deposition by decomposition or reaction of gaseous or vapour phase compounds, i.e. chemical vapour deposition
- H01L21/02274—Forming insulating materials on a substrate characterised by the process for the formation of the insulating layer formation by a deposition process deposition from the gas or vapour phase deposition by decomposition or reaction of gaseous or vapour phase compounds, i.e. chemical vapour deposition in the presence of a plasma [PECVD]
-
- H—ELECTRICITY
- H01—ELECTRIC ELEMENTS
- H01L—SEMICONDUCTOR DEVICES NOT COVERED BY CLASS H10
- H01L21/00—Processes or apparatus adapted for the manufacture or treatment of semiconductor or solid state devices or of parts thereof
- H01L21/02—Manufacture or treatment of semiconductor devices or of parts thereof
- H01L21/02104—Forming layers
- H01L21/02365—Forming inorganic semiconducting materials on a substrate
- H01L21/02518—Deposited layers
- H01L21/02521—Materials
- H01L21/02538—Group 13/15 materials
- H01L21/0254—Nitrides
Landscapes
- Engineering & Computer Science (AREA)
- Chemical & Material Sciences (AREA)
- Physics & Mathematics (AREA)
- Manufacturing & Machinery (AREA)
- Computer Hardware Design (AREA)
- Power Engineering (AREA)
- Microelectronics & Electronic Packaging (AREA)
- General Physics & Mathematics (AREA)
- Condensed Matter Physics & Semiconductors (AREA)
- Chemical Kinetics & Catalysis (AREA)
- General Chemical & Material Sciences (AREA)
- Organic Chemistry (AREA)
- Metallurgy (AREA)
- Inorganic Chemistry (AREA)
- Mechanical Engineering (AREA)
- Materials Engineering (AREA)
- Plasma & Fusion (AREA)
- Formation Of Insulating Films (AREA)
- Chemical Vapour Deposition (AREA)
Abstract
【解決手段】処理対象に対して窒素系ガス(窒素(N2)ガス、アンモニア(NH3)ガス、ジアジン(N2H2)ガス、ヒドラジン(N2H4)ガスなど)を供給する手段と、前記処理対象に対してシリコン系ガス(アミノ基、ジメチルアミノ基又はエチルアミノ基を有するもの。シランガス、ジシランガス、ジシラザンガスなど)を供給する手段と、前記各ガスの供給時に前記処理対象を減圧環境とする手段とを備える。
【選択図】 図2
Description
処理対象に対して水素成分を含むシリコン系ガスを供給する手段と、
前記シリコン系ガスを供給した後に前記処理対象に対して窒素系ガスを供給する手段とを備える。
上記課題を解決するために、本発明の半導体デバイスの製造装置は、処理対象に対して水素成分又はハロゲン成分を含むシリコン系ガスを供給する手段と、前記シリコン系ガスを供給した後に前記処理対象に対して窒素系ガスを供給する手段とを備える。
さらに、前記窒素系ガス或いはシリコン系ガスの、励起処理(減圧パルスCVD法又は、減圧パルスプラズマ法(リモートプラズマ法含む)など)、紫外光の照射処理又は加温処理などを含む、励起又は分解手段を備えるとよい。窒素系ガス或いはシリコン系ガスは、プラズマ励起処理によってプラズマ状態に励起されるか、プラズマ状態を経て分解されるかであり、また、紫外光の照射処理によって励起状態となるか励起状態を経て分解されるかであり、加温により熱分解される。また、加温処理は、励起処理を補助するために備えられてもよい。加温処理のみを分解手段とする場合は、ヒドラジンガス、アルキルヒドラジン(RNHNH2、R2NNH2等)ガス、アンモニアガス等のように450℃以下で分解される窒素系ガスを選択するとよい。
また、紫外光の照射処理の効果の補助をするために加温手段を併用してもよいが、その温度は、450℃以下とする。加温処理の併用により、SiN膜形成反応の促進、SiN膜の緻密化の効果がある。
2 ウェハアライメント
3 ロードロックチャンバー
4 トランスファーチャンバー
5 第一チャンバー
6 第二チャンバー
(実施形態1)
図1は、本発明の実施形態1の半導体デバイスの製造装置の模式的な構成図である。図1には、ウェハが収容されるカセット1と、カセット1から取り出されたウェハの位置決めを行うウェハアライメント2と、ロードロック機構を有するロードロックチャンバー3と、ウェハに絶縁物を形成するための第一チャンバー5と、第一チャンバー5において絶縁物が形成されたウェハに対して紫外光アニール処理を施す第二チャンバー6と、ロードロックチャンバー3,第一チャンバー5,第二チャンバー6相互間でウェハを搬送するロボットアームを有するトランスファーチャンバー4とを示している。
本発明の実施形態では、図1等に示した装置を用いて、実施形態1で説明したガスとは異なるガスを用いて、ウェハ41のゲート電極602上にSiN膜603を形成する方法について説明する。製造条件は、以下の点を除き、実施形態1の場合と同様である。
本発明の実施形態では、図1等に示した製造装置を用いて、実施形態1で説明したガスとは異なるガスを用いて、ガラス基板上にSiN膜603を形成する。製造条件は、以下の点を除き、実施形態1の場合と同様である。
本発明の実施形態では、図1等に示した製造装置を用いて、実施形態1で説明した手法とは異なる手法で、ウェハ41のゲート電極602上にSiN膜603を形成する方法について説明する。製造条件は、以下の点を除き、実施形態1の場合と同様である。
本発明の実施形態では、図1等に示した製造装置を用いて、実施形態1で説明した手法とは異なる手法で、ウェハ41のゲート電極602上にSiN膜603を形成する方法について説明する。製造条件は、以下の点を除き、実施形態1の場合と同様である。
本発明の実施形態では、図1等に示した製造装置を用いて、実施形態1で説明した手法とは異なる手法で、ウェハ41のゲート電極602上にSiN膜603を形成する方法について説明する。製造条件は、以下の点を除き、実施形態1の場合と同様である。
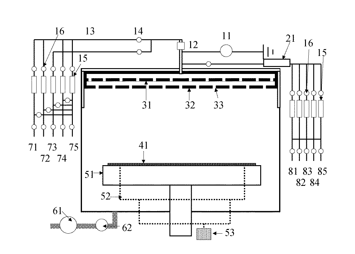
図7は、本発明の実施形態7に係る第一チャンバー5の模式的な構成図である。図7に示す第一チャンバー5は、端的に言えば、リモートプラズマ装置21の配置を変更した点と、内部にランプ101を設けている点と、複数の開口を有する石英板111と石英板112とを設けている点とが、図2に示したものとは相違する。
図8は、本発明の実施形態8に係る減圧CVD装置の模式的な構成図である。図8に示す減圧CVD装置は、実施形態7までに説明したいわゆるクラスタタイプのチャンバーではなく、バッチタイプのチャンバーである。この種のチャンバーを用いると、1回の処理で複数のウェハ41にSiN膜603を形成することができるという利点がある。
図8等に示した装置を用いて、実施形態8で説明したガスとは異なるガスを用いて、ウェハ41のゲート電極602上にSiN膜603を形成する方法について説明する。製造条件は、以下の点を除き、実施形態6の場合と同様である。
図8等に示した装置を用いて、実施形態8で説明したガスとは異なるガスを用いて、ウェハ41のゲート電極602上にSiN膜603を形成する方法について説明する。製造条件は、以下の点を除き、実施形態6の場合と同様である。
図8等に示した装置を用いて、実施形態8で説明したガスとは異なるガスを用いて、ウェハ41のゲート電極602上にSiN膜603を形成する方法について説明する。製造条件は、以下の点を除き、実施形態6の場合と同様である。
図7に示した第一チャンバー5を用いて、実施形態7で説明した方法とは異なる方法を用いて、ウェハ41のゲート電極上にSiN膜を形成する方法について説明する。製造条件は、以下の点を除き、実施形態7の場合と同様である。
図7に示した第一チャンバー5を用いて、実施形態7で説明した方法とは異なる方法で、ウェハ41のゲート電極上にSiN膜を形成する方法について説明する。製造条件は、以下の点を除き、実施形態7の場合と同様である。
図7に示した第一チャンバー5を用いて、実施形態7で説明した方法とは異なる方法で、ウェハ41のゲート電極上にSiN膜を形成する方法について説明する。製造条件は、以下の点を除き、実施形態7の場合と同様である。
図8等に示した装置を用いて、実施形態8で説明したガスとは異なるガスで、ウェハ41のゲート電極602上にSiN膜603を形成する方法について説明する。製造条件は、以下の点を除き、実施形態6の場合と同様である。
図8等に示した装置を用いて、実施形態8で説明したガスとは異なるガスで、ウェハ41のゲート電極602上にSiN膜603を形成する方法について説明する。製造条件は、以下の点を除き、実施形態6の場合と同様である。
Claims (13)
- 処理対象に対して水素成分又はハロゲン成分を含むシリコン系ガスを供給する手段と、前記シリコン系ガスを供給した後に前記処理対象に対して窒素系ガスを供給する手段とを備える半導体デバイスの製造装置。
- 前記シリコン系ガス又は窒素系ガスを励起又は分解する手段を備える、請求項1記載の半導体デバイスの製造装置。
- 前記励起又は分解する手段が、加温処理、プラズマ励起処理または紫外光の照射処理から選ばれる少なくとも1種の手段である請求項2記載の半導体デバイス製造装置。
- (追加)
前記窒素系ガス供給時にのみ励起又は分解する手段を備える請求項2記載の半導体デバイス製造装置。 - 前記窒素系ガスとともに水蒸気又は不活性ガスを供給する手段を有する、請求項1〜4のいずれかに記載の半導体デバイスの製造装置。
- 前記シリコン系ガスと窒素系ガスとを、交互に又は一緒に供給する手段を備える、請求項1〜5のいずれかに記載の半導体デバイスの製造装置。
- 前記処理対象を前記シリコン系ガスの沸点以下の温度条件で加熱する加熱手段を備える請求項1〜6のいずれかに記載の半導体デバイス製造装置。
- 前記紫外光の照射処理を行う紫外光の照射手段と前記処理対象との間を分離する仕切り板を備え、当該仕切り板には前記窒素系ガスを通す複数の開口部が形成されている、請求項3又は4に記載の半導体デバイスの製造装置。
- 前記紫外光の照射処理を行う紫外光の照射手段に対して不活性ガスを供給する手段を備える請求項3、4又は8記載の半導体デバイスの製造装置。
- 前記各手段によって各ガスを供給した後に、処理対象に対して紫外光、可視光又は赤外光を照射する手段を備える、請求項1〜9のいずれかに記載の半導体デバイス製造装置。
- 処理対象に対して水素成分又はハロゲン成分を含むシリコン系ガスを供給するステップと、前記シリコン系ガスを供給した後に前記処理対象に対して窒素系ガスを供給するステップとを含み、当該シリコン系ガスと当該窒素系ガスの一方又は両方を、加温処理、プラズマ励起処理または紫外光の照射処理から選ばれる少なくとも1種の手段で励起又は分解させて、処理対象に供給する半導体デバイスの製造方法。
- 窒素系ガス供給の時に励起又は分解を行う請求項11に記載の半導体デバイスの製造方法。
- デザインルールが32nm以下のデバイスであって、ソース領域とドレイン領域とが物理的に接触していない半導体デバイス。
Priority Applications (1)
| Application Number | Priority Date | Filing Date | Title |
|---|---|---|---|
| JP2009186634A JP2010103484A (ja) | 2008-09-29 | 2009-08-11 | 半導体デバイス、その製造装置及び製造方法 |
Applications Claiming Priority (2)
| Application Number | Priority Date | Filing Date | Title |
|---|---|---|---|
| JP2008250536 | 2008-09-29 | ||
| JP2009186634A JP2010103484A (ja) | 2008-09-29 | 2009-08-11 | 半導体デバイス、その製造装置及び製造方法 |
Publications (1)
| Publication Number | Publication Date |
|---|---|
| JP2010103484A true JP2010103484A (ja) | 2010-05-06 |
Family
ID=42213867
Family Applications (1)
| Application Number | Title | Priority Date | Filing Date |
|---|---|---|---|
| JP2009186634A Pending JP2010103484A (ja) | 2008-09-29 | 2009-08-11 | 半導体デバイス、その製造装置及び製造方法 |
Country Status (2)
| Country | Link |
|---|---|
| JP (1) | JP2010103484A (ja) |
| KR (1) | KR20100036180A (ja) |
Cited By (30)
| Publication number | Priority date | Publication date | Assignee | Title |
|---|---|---|---|---|
| JP2012067383A (ja) * | 2010-08-27 | 2012-04-05 | Tosoh Corp | 封止膜材料、封止膜及び用途 |
| JP2012160647A (ja) * | 2011-02-02 | 2012-08-23 | Taiyo Nippon Sanso Corp | シリコン窒化膜の形成方法 |
| JP2014179607A (ja) * | 2013-03-14 | 2014-09-25 | Asm Ip Holding B V | 低温でのSiNの蒸着用Si前駆体 |
| JP2015510263A (ja) * | 2012-01-26 | 2015-04-02 | ノベラス・システムズ・インコーポレーテッドNovellus Systems Incorporated | 紫外線を用いたコンフォーマルな膜蒸着の方法 |
| KR20160033057A (ko) * | 2014-09-17 | 2016-03-25 | 에이에스엠 아이피 홀딩 비.브이. | SiN 박막의 형성 방법 |
| JP2016082010A (ja) * | 2014-10-14 | 2016-05-16 | 大陽日酸株式会社 | シリコン窒化膜の製造方法及びシリコン窒化膜 |
| US9673041B2 (en) | 2010-04-15 | 2017-06-06 | Lam Research Corporation | Plasma assisted atomic layer deposition titanium oxide for patterning applications |
| WO2017154202A1 (ja) * | 2016-03-11 | 2017-09-14 | 大陽日酸株式会社 | シリコン窒化膜の製造方法及びシリコン窒化膜 |
| US9786570B2 (en) | 2012-11-08 | 2017-10-10 | Novellus Systems, Inc. | Methods for depositing films on sensitive substrates |
| US9793110B2 (en) | 2010-04-15 | 2017-10-17 | Lam Research Corporation | Gapfill of variable aspect ratio features with a composite PEALD and PECVD method |
| JP2017531920A (ja) * | 2014-10-03 | 2017-10-26 | アプライド マテリアルズ インコーポレイテッドApplied Materials,Incorporated | 高温酸化ケイ素原子層堆積技術 |
| US9875891B2 (en) | 2014-11-24 | 2018-01-23 | Lam Research Corporation | Selective inhibition in atomic layer deposition of silicon-containing films |
| US9892917B2 (en) | 2010-04-15 | 2018-02-13 | Lam Research Corporation | Plasma assisted atomic layer deposition of multi-layer films for patterning applications |
| US9997357B2 (en) | 2010-04-15 | 2018-06-12 | Lam Research Corporation | Capped ALD films for doping fin-shaped channel regions of 3-D IC transistors |
| US10037884B2 (en) | 2016-08-31 | 2018-07-31 | Lam Research Corporation | Selective atomic layer deposition for gapfill using sacrificial underlayer |
| US10043655B2 (en) | 2010-04-15 | 2018-08-07 | Novellus Systems, Inc. | Plasma activated conformal dielectric film deposition |
| US10062563B2 (en) | 2016-07-01 | 2018-08-28 | Lam Research Corporation | Selective atomic layer deposition with post-dose treatment |
| JP2018533215A (ja) * | 2015-10-22 | 2018-11-08 | アプライド マテリアルズ インコーポレイテッドApplied Materials,Incorporated | SiOおよびSiNを含む流動性膜を堆積させる方法 |
| KR20190027753A (ko) | 2017-09-07 | 2019-03-15 | 도쿄엘렉트론가부시키가이샤 | 성막 장치 및 성막 방법 |
| US10269559B2 (en) | 2017-09-13 | 2019-04-23 | Lam Research Corporation | Dielectric gapfill of high aspect ratio features utilizing a sacrificial etch cap layer |
| US10373806B2 (en) | 2016-06-30 | 2019-08-06 | Lam Research Corporation | Apparatus and method for deposition and etch in gap fill |
| US10395917B2 (en) | 2013-03-14 | 2019-08-27 | Asm Ip Holding B.V. | Si precursors for deposition of SiN at low temperatures |
| US10410857B2 (en) | 2015-08-24 | 2019-09-10 | Asm Ip Holding B.V. | Formation of SiN thin films |
| US10580645B2 (en) | 2018-04-30 | 2020-03-03 | Asm Ip Holding B.V. | Plasma enhanced atomic layer deposition (PEALD) of SiN using silicon-hydrohalide precursors |
| US20210348026A1 (en) * | 2020-05-08 | 2021-11-11 | Hansol Chemical Co., Ltd. | Silicon precursor and method of fabricating silicon-containing thin film using the same |
| CN113748226A (zh) * | 2019-04-25 | 2021-12-03 | 弗萨姆材料美国有限责任公司 | 用于氧化硅薄膜的高温原子层沉积的有机氨基二硅氮烷 |
| US11646198B2 (en) | 2015-03-20 | 2023-05-09 | Lam Research Corporation | Ultrathin atomic layer deposition film accuracy thickness control |
| US11996286B2 (en) | 2020-12-09 | 2024-05-28 | Asm Ip Holding B.V. | Silicon precursors for silicon nitride deposition |
| US12040181B2 (en) | 2019-05-01 | 2024-07-16 | Lam Research Corporation | Modulated atomic layer deposition |
| US12431349B2 (en) | 2019-06-07 | 2025-09-30 | Lam Research Corporation | In-situ control of film properties during atomic layer deposition |
Families Citing this family (1)
| Publication number | Priority date | Publication date | Assignee | Title |
|---|---|---|---|---|
| JP2020177980A (ja) * | 2019-04-16 | 2020-10-29 | 東京エレクトロン株式会社 | 成膜方法および成膜装置 |
Citations (3)
| Publication number | Priority date | Publication date | Assignee | Title |
|---|---|---|---|---|
| JP2005019499A (ja) * | 2003-06-24 | 2005-01-20 | Tokyo Electron Ltd | 成膜装置及び成膜方法 |
| JP2008091469A (ja) * | 2006-09-29 | 2008-04-17 | Yoshimi Shiotani | 半導体製造装置、半導体製造方法及び電子機器 |
| JP2008140864A (ja) * | 2006-11-30 | 2008-06-19 | Tokyo Electron Ltd | シリコン窒化膜の形成方法、形成装置、形成装置の処理方法及びプログラム |
-
2009
- 2009-08-11 JP JP2009186634A patent/JP2010103484A/ja active Pending
- 2009-09-18 KR KR1020090088379A patent/KR20100036180A/ko not_active Withdrawn
Patent Citations (3)
| Publication number | Priority date | Publication date | Assignee | Title |
|---|---|---|---|---|
| JP2005019499A (ja) * | 2003-06-24 | 2005-01-20 | Tokyo Electron Ltd | 成膜装置及び成膜方法 |
| JP2008091469A (ja) * | 2006-09-29 | 2008-04-17 | Yoshimi Shiotani | 半導体製造装置、半導体製造方法及び電子機器 |
| JP2008140864A (ja) * | 2006-11-30 | 2008-06-19 | Tokyo Electron Ltd | シリコン窒化膜の形成方法、形成装置、形成装置の処理方法及びプログラム |
Cited By (66)
| Publication number | Priority date | Publication date | Assignee | Title |
|---|---|---|---|---|
| US9892917B2 (en) | 2010-04-15 | 2018-02-13 | Lam Research Corporation | Plasma assisted atomic layer deposition of multi-layer films for patterning applications |
| US9793110B2 (en) | 2010-04-15 | 2017-10-17 | Lam Research Corporation | Gapfill of variable aspect ratio features with a composite PEALD and PECVD method |
| US10559468B2 (en) | 2010-04-15 | 2020-02-11 | Lam Research Corporation | Capped ALD films for doping fin-shaped channel regions of 3-D IC transistors |
| US10043657B2 (en) | 2010-04-15 | 2018-08-07 | Lam Research Corporation | Plasma assisted atomic layer deposition metal oxide for patterning applications |
| US9997357B2 (en) | 2010-04-15 | 2018-06-12 | Lam Research Corporation | Capped ALD films for doping fin-shaped channel regions of 3-D IC transistors |
| US12261038B2 (en) | 2010-04-15 | 2025-03-25 | Lam Research Corporation | Gapfill of variable aspect ratio features with a composite PEALD and PECVD method |
| US9673041B2 (en) | 2010-04-15 | 2017-06-06 | Lam Research Corporation | Plasma assisted atomic layer deposition titanium oxide for patterning applications |
| US10361076B2 (en) | 2010-04-15 | 2019-07-23 | Lam Research Corporation | Gapfill of variable aspect ratio features with a composite PEALD and PECVD method |
| US11133180B2 (en) | 2010-04-15 | 2021-09-28 | Lam Research Corporation | Gapfill of variable aspect ratio features with a composite PEALD and PECVD method |
| US10043655B2 (en) | 2010-04-15 | 2018-08-07 | Novellus Systems, Inc. | Plasma activated conformal dielectric film deposition |
| US11011379B2 (en) | 2010-04-15 | 2021-05-18 | Lam Research Corporation | Capped ALD films for doping fin-shaped channel regions of 3-D IC transistors |
| JP2012067383A (ja) * | 2010-08-27 | 2012-04-05 | Tosoh Corp | 封止膜材料、封止膜及び用途 |
| JP2012160647A (ja) * | 2011-02-02 | 2012-08-23 | Taiyo Nippon Sanso Corp | シリコン窒化膜の形成方法 |
| JP2015510263A (ja) * | 2012-01-26 | 2015-04-02 | ノベラス・システムズ・インコーポレーテッドNovellus Systems Incorporated | 紫外線を用いたコンフォーマルな膜蒸着の方法 |
| US10008428B2 (en) | 2012-11-08 | 2018-06-26 | Novellus Systems, Inc. | Methods for depositing films on sensitive substrates |
| US10741458B2 (en) | 2012-11-08 | 2020-08-11 | Novellus Systems, Inc. | Methods for depositing films on sensitive substrates |
| US9786570B2 (en) | 2012-11-08 | 2017-10-10 | Novellus Systems, Inc. | Methods for depositing films on sensitive substrates |
| JP2024023223A (ja) * | 2013-03-14 | 2024-02-21 | エーエスエム・アイピー・ホールディング・ベー・フェー | 低温でのSiNの堆積用Si前駆体 |
| US11587783B2 (en) | 2013-03-14 | 2023-02-21 | Asm Ip Holding B.V. | Si precursors for deposition of SiN at low temperatures |
| US11289327B2 (en) | 2013-03-14 | 2022-03-29 | Asm Ip Holding B.V. | Si precursors for deposition of SiN at low temperatures |
| JP2023027062A (ja) * | 2013-03-14 | 2023-03-01 | エーエスエム アイピー ホールディング ビー.ブイ. | 低温でのSiNの堆積用Si前駆体 |
| US11069522B2 (en) | 2013-03-14 | 2021-07-20 | Asm Ip Holding B.V. | Si precursors for deposition of SiN at low temperatures |
| JP7383106B2 (ja) | 2013-03-14 | 2023-11-17 | エーエスエム・アイピー・ホールディング・ベー・フェー | 低温でのSiNの堆積用Si前駆体 |
| US10424477B2 (en) | 2013-03-14 | 2019-09-24 | Asm Ip Holding B.V. | Si precursors for deposition of SiN at low temperatures |
| JP7663657B2 (ja) | 2013-03-14 | 2025-04-16 | エーエスエム・アイピー・ホールディング・ベー・フェー | 低温でのSiNの堆積用Si前駆体 |
| US10395917B2 (en) | 2013-03-14 | 2019-08-27 | Asm Ip Holding B.V. | Si precursors for deposition of SiN at low temperatures |
| JP2014179607A (ja) * | 2013-03-14 | 2014-09-25 | Asm Ip Holding B V | 低温でのSiNの蒸着用Si前駆体 |
| US11367613B2 (en) | 2014-09-17 | 2022-06-21 | Asm Ip Holding B.V. | Deposition of SiN |
| KR102243442B1 (ko) | 2014-09-17 | 2021-04-23 | 에이에스엠 아이피 홀딩 비.브이. | SiN 박막의 형성 방법 |
| KR20210129625A (ko) * | 2014-09-17 | 2021-10-28 | 에이에스엠 아이피 홀딩 비.브이. | SiN 박막의 형성 방법 |
| KR20160033057A (ko) * | 2014-09-17 | 2016-03-25 | 에이에스엠 아이피 홀딩 비.브이. | SiN 박막의 형성 방법 |
| US10262854B2 (en) | 2014-09-17 | 2019-04-16 | Asm Ip Holding B.V. | Deposition of SiN |
| KR20210045970A (ko) * | 2014-09-17 | 2021-04-27 | 에이에스엠 아이피 홀딩 비.브이. | SiN 박막의 형성 방법 |
| KR102546225B1 (ko) | 2014-09-17 | 2023-06-21 | 에이에스엠 아이피 홀딩 비.브이. | SiN 박막의 형성 방법 |
| US10741386B2 (en) | 2014-09-17 | 2020-08-11 | Asm Ip Holding B.V. | Deposition of SiN |
| KR102317181B1 (ko) | 2014-09-17 | 2021-10-26 | 에이에스엠 아이피 홀딩 비.브이. | SiN 박막의 형성 방법 |
| JP2017531920A (ja) * | 2014-10-03 | 2017-10-26 | アプライド マテリアルズ インコーポレイテッドApplied Materials,Incorporated | 高温酸化ケイ素原子層堆積技術 |
| JP2016082010A (ja) * | 2014-10-14 | 2016-05-16 | 大陽日酸株式会社 | シリコン窒化膜の製造方法及びシリコン窒化膜 |
| US10804099B2 (en) | 2014-11-24 | 2020-10-13 | Lam Research Corporation | Selective inhibition in atomic layer deposition of silicon-containing films |
| US9875891B2 (en) | 2014-11-24 | 2018-01-23 | Lam Research Corporation | Selective inhibition in atomic layer deposition of silicon-containing films |
| US11646198B2 (en) | 2015-03-20 | 2023-05-09 | Lam Research Corporation | Ultrathin atomic layer deposition film accuracy thickness control |
| US12354871B2 (en) | 2015-03-20 | 2025-07-08 | Lam Research Corporation | Ultrathin atomic layer deposition film accuracy thickness control |
| US11784043B2 (en) | 2015-08-24 | 2023-10-10 | ASM IP Holding, B.V. | Formation of SiN thin films |
| US10410857B2 (en) | 2015-08-24 | 2019-09-10 | Asm Ip Holding B.V. | Formation of SiN thin films |
| US11133181B2 (en) | 2015-08-24 | 2021-09-28 | Asm Ip Holding B.V. | Formation of SiN thin films |
| JP2018533215A (ja) * | 2015-10-22 | 2018-11-08 | アプライド マテリアルズ インコーポレイテッドApplied Materials,Incorporated | SiOおよびSiNを含む流動性膜を堆積させる方法 |
| US10559459B2 (en) | 2016-03-11 | 2020-02-11 | Taiyo Nippon Sanso Corporation | Method for producing silicon nitride film and silicon nitride film |
| WO2017154202A1 (ja) * | 2016-03-11 | 2017-09-14 | 大陽日酸株式会社 | シリコン窒化膜の製造方法及びシリコン窒化膜 |
| US10957514B2 (en) | 2016-06-30 | 2021-03-23 | Lam Research Corporation | Apparatus and method for deposition and etch in gap fill |
| US10373806B2 (en) | 2016-06-30 | 2019-08-06 | Lam Research Corporation | Apparatus and method for deposition and etch in gap fill |
| US10062563B2 (en) | 2016-07-01 | 2018-08-28 | Lam Research Corporation | Selective atomic layer deposition with post-dose treatment |
| US10679848B2 (en) | 2016-07-01 | 2020-06-09 | Lam Research Corporation | Selective atomic layer deposition with post-dose treatment |
| US10037884B2 (en) | 2016-08-31 | 2018-07-31 | Lam Research Corporation | Selective atomic layer deposition for gapfill using sacrificial underlayer |
| US10559460B2 (en) | 2017-09-07 | 2020-02-11 | Tokyo Electron Limited | Film forming apparatus and film forming method |
| KR20190027753A (ko) | 2017-09-07 | 2019-03-15 | 도쿄엘렉트론가부시키가이샤 | 성막 장치 및 성막 방법 |
| US10269559B2 (en) | 2017-09-13 | 2019-04-23 | Lam Research Corporation | Dielectric gapfill of high aspect ratio features utilizing a sacrificial etch cap layer |
| US10580645B2 (en) | 2018-04-30 | 2020-03-03 | Asm Ip Holding B.V. | Plasma enhanced atomic layer deposition (PEALD) of SiN using silicon-hydrohalide precursors |
| CN113748226A (zh) * | 2019-04-25 | 2021-12-03 | 弗萨姆材料美国有限责任公司 | 用于氧化硅薄膜的高温原子层沉积的有机氨基二硅氮烷 |
| US12480206B2 (en) | 2019-04-25 | 2025-11-25 | Versum Materials Us, Llc | Organoaminodisilazanes for high temperature atomic layer deposition of silicon oxide thin films |
| US12451346B2 (en) | 2019-05-01 | 2025-10-21 | Lam Research Corporation | Modulated atomic layer deposition |
| US12040181B2 (en) | 2019-05-01 | 2024-07-16 | Lam Research Corporation | Modulated atomic layer deposition |
| US12431349B2 (en) | 2019-06-07 | 2025-09-30 | Lam Research Corporation | In-situ control of film properties during atomic layer deposition |
| JP2021177550A (ja) * | 2020-05-08 | 2021-11-11 | ハンソル ケミカル カンパニー リミテッドHansol Chemical Co., Ltd. | シリコン前駆体およびこれを用いたシリコン含有薄膜の製造方法 |
| US20210348026A1 (en) * | 2020-05-08 | 2021-11-11 | Hansol Chemical Co., Ltd. | Silicon precursor and method of fabricating silicon-containing thin film using the same |
| JP7196228B2 (ja) | 2020-05-08 | 2022-12-26 | ハンソル ケミカル カンパニー リミテッド | シリコン前駆体およびこれを用いたシリコン含有薄膜の製造方法 |
| US11996286B2 (en) | 2020-12-09 | 2024-05-28 | Asm Ip Holding B.V. | Silicon precursors for silicon nitride deposition |
Also Published As
| Publication number | Publication date |
|---|---|
| KR20100036180A (ko) | 2010-04-07 |
Similar Documents
| Publication | Publication Date | Title |
|---|---|---|
| JP2010103484A (ja) | 半導体デバイス、その製造装置及び製造方法 | |
| CN103843110B (zh) | 双重图案化蚀刻工艺 | |
| US7651953B2 (en) | Method to form ultra high quality silicon-containing compound layers | |
| JP6086942B2 (ja) | 半導体装置の製造方法、基板処理装置およびプログラム | |
| JP7524442B2 (ja) | 基板処理方法、半導体装置の製造方法、プログラムおよび基板処理装置 | |
| US10910214B2 (en) | Method of manufacturing semiconductor device, substrate processing apparatus, and recording medium | |
| CN111656510A (zh) | 处理掩模基板以实现更佳的膜质量的方法 | |
| JP7598992B2 (ja) | 処理方法、半導体装置の製造方法、処理装置、およびプログラム | |
| CN101199044A (zh) | 硅基电介质的化学气相沉积方法 | |
| CN114807903B (zh) | 衬底处理方法、半导体器件的制造方法、衬底处理装置及记录介质 | |
| US9136114B2 (en) | Method of manufacturing semiconductor device, substrate processing method, computer-readable medium with program for executing a substrate processing method, and substrate processing apparatus | |
| CN108780743A (zh) | 基板处理装置、半导体装置的制造方法以及记录介质 | |
| JP2010103495A (ja) | 半導体デバイス、その製造装置及び製造方法 | |
| JPWO2009054232A1 (ja) | 半導体製造装置、半導体製造方法及び電子機器 | |
| CN114250452A (zh) | 基板处理装置、半导体装置的制造方法以及基板处理方法 | |
| CN116752120A (zh) | 衬底处理方法、半导体器件的制造方法、衬底处理装置及记录介质 | |
| TW202419675A (zh) | 基板處理方法、半導體裝置之製造方法、基板處理系統及程式 | |
| JP7579959B2 (ja) | 基板処理方法、半導体装置の製造方法、基板処理装置、およびプログラム | |
| CN115810542A (zh) | 衬底处理方法、半导体器件的制造方法、衬底处理装置、及程序 | |
| WO2022085498A1 (ja) | 成膜方法及び成膜装置 | |
| CN114121714A (zh) | 清洁方法、半导体器件的制造方法、衬底处理装置及记录介质 | |
| TWI893447B (zh) | 基板處理方法、半導體裝置之製造方法、基板處理系統及程式 | |
| TWI831204B (zh) | 半導體裝置之製造方法、基板處理方法、基板處理裝置及程式 | |
| TW202520380A (zh) | 基板處理方法、半導體裝置之製造方法、程式及基板處理裝置 | |
| KR20250129630A (ko) | 기판 처리 방법, 반도체 장치의 제조 방법, 기판 처리 시스템 및 프로그램 |
Legal Events
| Date | Code | Title | Description |
|---|---|---|---|
| A621 | Written request for application examination |
Free format text: JAPANESE INTERMEDIATE CODE: A621 Effective date: 20120809 |
|
| A521 | Request for written amendment filed |
Free format text: JAPANESE INTERMEDIATE CODE: A523 Effective date: 20120907 |
|
| A711 | Notification of change in applicant |
Free format text: JAPANESE INTERMEDIATE CODE: A711 Effective date: 20130110 |
|
| A521 | Request for written amendment filed |
Free format text: JAPANESE INTERMEDIATE CODE: A821 Effective date: 20130110 |
|
| RD03 | Notification of appointment of power of attorney |
Free format text: JAPANESE INTERMEDIATE CODE: A7423 Effective date: 20130201 |
|
| A521 | Request for written amendment filed |
Free format text: JAPANESE INTERMEDIATE CODE: A523 Effective date: 20130308 |
|
| A977 | Report on retrieval |
Free format text: JAPANESE INTERMEDIATE CODE: A971007 Effective date: 20130522 |
|
| A131 | Notification of reasons for refusal |
Free format text: JAPANESE INTERMEDIATE CODE: A131 Effective date: 20130528 |
|
| A02 | Decision of refusal |
Free format text: JAPANESE INTERMEDIATE CODE: A02 Effective date: 20131001 |
