JP2010098146A - 炭化珪素半導体装置の製造方法 - Google Patents
炭化珪素半導体装置の製造方法 Download PDFInfo
- Publication number
- JP2010098146A JP2010098146A JP2008268087A JP2008268087A JP2010098146A JP 2010098146 A JP2010098146 A JP 2010098146A JP 2008268087 A JP2008268087 A JP 2008268087A JP 2008268087 A JP2008268087 A JP 2008268087A JP 2010098146 A JP2010098146 A JP 2010098146A
- Authority
- JP
- Japan
- Prior art keywords
- silicon carbide
- semiconductor device
- carbide semiconductor
- manufacturing
- etching
- Prior art date
- Legal status (The legal status is an assumption and is not a legal conclusion. Google has not performed a legal analysis and makes no representation as to the accuracy of the status listed.)
- Granted
Links
- HBMJWWWQQXIZIP-UHFFFAOYSA-N silicon carbide Chemical compound [Si+]#[C-] HBMJWWWQQXIZIP-UHFFFAOYSA-N 0.000 title claims abstract description 188
- 229910010271 silicon carbide Inorganic materials 0.000 title claims abstract description 188
- 239000004065 semiconductor Substances 0.000 title claims abstract description 123
- 238000004519 manufacturing process Methods 0.000 title claims abstract description 81
- 238000005530 etching Methods 0.000 claims abstract description 102
- 238000001020 plasma etching Methods 0.000 claims abstract description 63
- 239000012535 impurity Substances 0.000 claims abstract description 42
- 239000000758 substrate Substances 0.000 claims abstract description 35
- 238000000137 annealing Methods 0.000 claims abstract description 16
- 230000003213 activating effect Effects 0.000 claims abstract description 13
- 239000011261 inert gas Substances 0.000 claims abstract description 13
- 238000000034 method Methods 0.000 claims description 88
- 230000004888 barrier function Effects 0.000 claims description 21
- 239000007789 gas Substances 0.000 claims description 7
- 230000000593 degrading effect Effects 0.000 abstract 1
- 229910052751 metal Inorganic materials 0.000 description 18
- 239000002184 metal Substances 0.000 description 18
- VYPSYNLAJGMNEJ-UHFFFAOYSA-N Silicium dioxide Chemical compound O=[Si]=O VYPSYNLAJGMNEJ-UHFFFAOYSA-N 0.000 description 13
- 239000013078 crystal Substances 0.000 description 12
- 238000009792 diffusion process Methods 0.000 description 11
- 238000011156 evaluation Methods 0.000 description 8
- 230000006866 deterioration Effects 0.000 description 7
- 238000010586 diagram Methods 0.000 description 7
- 235000012239 silicon dioxide Nutrition 0.000 description 6
- 239000000377 silicon dioxide Substances 0.000 description 6
- KRHYYFGTRYWZRS-UHFFFAOYSA-N Fluorane Chemical compound F KRHYYFGTRYWZRS-UHFFFAOYSA-N 0.000 description 4
- 238000005468 ion implantation Methods 0.000 description 4
- 238000002360 preparation method Methods 0.000 description 4
- 230000003746 surface roughness Effects 0.000 description 4
- PXHVJJICTQNCMI-UHFFFAOYSA-N Nickel Chemical compound [Ni] PXHVJJICTQNCMI-UHFFFAOYSA-N 0.000 description 3
- QVGXLLKOCUKJST-UHFFFAOYSA-N atomic oxygen Chemical compound [O] QVGXLLKOCUKJST-UHFFFAOYSA-N 0.000 description 3
- 230000003647 oxidation Effects 0.000 description 3
- 238000007254 oxidation reaction Methods 0.000 description 3
- 239000001301 oxygen Substances 0.000 description 3
- 229910052760 oxygen Inorganic materials 0.000 description 3
- 229910021332 silicide Inorganic materials 0.000 description 3
- FVBUAEGBCNSCDD-UHFFFAOYSA-N silicide(4-) Chemical compound [Si-4] FVBUAEGBCNSCDD-UHFFFAOYSA-N 0.000 description 3
- OKTJSMMVPCPJKN-UHFFFAOYSA-N Carbon Chemical compound [C] OKTJSMMVPCPJKN-UHFFFAOYSA-N 0.000 description 2
- UFHFLCQGNIYNRP-UHFFFAOYSA-N Hydrogen Chemical compound [H][H] UFHFLCQGNIYNRP-UHFFFAOYSA-N 0.000 description 2
- 230000015572 biosynthetic process Effects 0.000 description 2
- 230000015556 catabolic process Effects 0.000 description 2
- 230000003247 decreasing effect Effects 0.000 description 2
- 230000000694 effects Effects 0.000 description 2
- 230000005684 electric field Effects 0.000 description 2
- 229910002804 graphite Inorganic materials 0.000 description 2
- 239000010439 graphite Substances 0.000 description 2
- 239000001257 hydrogen Substances 0.000 description 2
- 229910052739 hydrogen Inorganic materials 0.000 description 2
- 150000002500 ions Chemical class 0.000 description 2
- 229910052759 nickel Inorganic materials 0.000 description 2
- 230000001681 protective effect Effects 0.000 description 2
- 238000004544 sputter deposition Methods 0.000 description 2
- 239000010936 titanium Substances 0.000 description 2
- 229910052719 titanium Inorganic materials 0.000 description 2
- XUIMIQQOPSSXEZ-UHFFFAOYSA-N Silicon Chemical compound [Si] XUIMIQQOPSSXEZ-UHFFFAOYSA-N 0.000 description 1
- BQCADISMDOOEFD-UHFFFAOYSA-N Silver Chemical compound [Ag] BQCADISMDOOEFD-UHFFFAOYSA-N 0.000 description 1
- RTAQQCXQSZGOHL-UHFFFAOYSA-N Titanium Chemical compound [Ti] RTAQQCXQSZGOHL-UHFFFAOYSA-N 0.000 description 1
- 238000003763 carbonization Methods 0.000 description 1
- 238000010438 heat treatment Methods 0.000 description 1
- 239000000463 material Substances 0.000 description 1
- 238000012986 modification Methods 0.000 description 1
- 230000004048 modification Effects 0.000 description 1
- 229910052710 silicon Inorganic materials 0.000 description 1
- 239000010703 silicon Substances 0.000 description 1
- 229910052814 silicon oxide Inorganic materials 0.000 description 1
- 229910052709 silver Inorganic materials 0.000 description 1
- 239000004332 silver Substances 0.000 description 1
Images
Landscapes
- Electrodes Of Semiconductors (AREA)
- Drying Of Semiconductors (AREA)
- Cleaning Or Drying Semiconductors (AREA)
Abstract
【解決手段】炭化珪素基板にイオン注入された不純物を活性化するためのアニールを行う際に形成された変質層を、不活性ガスを用いた異方性プラズマエッチングによる第1エッチング工程と、不活性ガスを用いた等方性プラズマエッチングによる第2エッチング工程とをこの順序で実施することにより除去する変質層除去工程を含むことを特徴とする炭化珪素半導体装置の製造方法。
【選択図】図2
Description
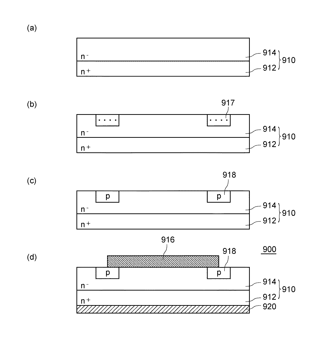
特許文献1に記載された炭化珪素半導体装置の製造方法においては、炭化珪素基板910(図7(a)参照。)にイオン注入されたp型不純物(図7(b)参照。)を活性化するためのアニールを行う際に形成された変質層914a(図7(c)参照。)を除去するため、熱酸化法によって一旦n−型炭化珪素エピタキシャル層914の表面に二酸化珪素層915(犠牲酸化膜。膜厚は、例えば、40nm以上。)を形成し(図7(d)参照、)、その後、この二酸化珪素層915をフッ化水素酸によって除去し(図7(e)参照。)、その後、n+型炭化珪素単結晶層912の裏面にオーミック電極(金属又はシリサイド)920を形成するとともに、n−型炭化珪素エピタキシャル層914の表面の一部に、バリアメタル層916の端部がp型不純物拡散領域918と接するように、バリアメタル層918を形成する(図7(f)参照。)。
1.実施形態1に係る炭化珪素半導体装置の製造方法
図1及び図2は、実施形態1に係る炭化珪素半導体装置の製造方法を説明するために示す図である。図1(a)〜図1(f)は各工程図である。図2(a)〜図2(c)は図1(c)〜図1(e)における各工程を、変質層の部分を縦に拡大して示す図である。
実施形態1に係る炭化珪素半導体装置の製造方法においては、図1(a)に示すように、n+型炭化珪素単結晶層112(厚さ:400μm、不純物濃度:1×1019cm−3)の上面にn−型炭化珪素エピタキシャル層114(厚さ:10μm、不純物濃度:1×1016cm−3)が形成された炭化珪素基板110を準備する。
まず、炭化珪素基板110を清浄化する。その後、炭化珪素基板110の表面に、p型不純物拡散領域118に対応する部分に開口を有するマスク(図示せず。)を形成し、当該マスクを介して、図1(b)に示すように、n−型炭化珪素エピタキシャル層114の所定位置にイオン注入法によってp型不純物をイオン注入する。p型不純物としては、例えばAlを用いる。なお、この工程においては、マスクの開口に薄いシリコン酸化膜などが存在する条件でp型不純物のイオン注入を行ってもよい。また、図1(b)中、符号117は、p型不純物がイオン注入された領域を示す。
まず、マスクを除去する。その後、炭化珪素基板110の表面及び裏面に保護レジスト層(図示せず。)を形成した後、当該保護レジスト層を炭化してグラファイトマスク(図示せず。)を形成する。その後、炭化珪素基板110を1600℃以上の温度に加熱してp型不純物を活性化するためのアニールを行い、図1(c)に示すように、p型不純物拡散領域118(深さ:0.5μm、表面不純物濃度:1.0×1017cm−3)を形成する。その後、酸素プラズマにより、炭化珪素基板110の表面及び裏面からグラファイトマスクを除去する。このとき、n−型炭化珪素エピタキシャル層114の表面に変質層114aが形成された状態となる(図2(a)参照。)。変質層114aの厚さは20nm〜30nmである。
その後、変質層114aを、図1(d)に示すように、不活性ガスを用いた異方性プラズマエッチングによる第1エッチング工程と、図1(e)に示すように不活性ガスを用いた等方性プラズマエッチングによる第2エッチング工程とをこの順序で実施することにより除去する。
図1(f)に示すように、n+型炭化珪素単結晶層112の裏面に裏面電極(金属又はシリサイド)120を形成するとともに、n−型炭化珪素エピタキシャル層114の表面の一部に、バリアメタル層116の端部がp型不純物拡散領域118と接するように、バリアメタル層116を形成する。オーミック電極120としては、チタン、ニッケル及び銀が積層された積層膜からなるものを用いる。バリアメタル層116としては、例えばTi、Niなどを用いる。
実施形態1に係る炭化珪素半導体装置の製造方法によれば、炭化珪素基板110にイオン注入された不純物を活性化するためのアニールを行う際に形成された変質層114aを、炭化珪素基板にダメージを与えることがあるけれどもエッチング速度が速い異方性プラズマエッチングによる第1エッチング工程と、異方性プラズマエッチングよりもエッチング速度が遅いけど炭化珪素基板にダメージを与えることのない等方性プラズマエッチングによる第2エッチング工程とをこの順序で実施することにより除去することとしているため、第1エッチング工程においては、変質層114aの大部分を速い速度で除去するとともに、第2エッチング工程においては、第1エッチング工程で除去しきれなかった変質層114aの部分又は第1エッチング工程で新たに生じた表面荒れやエッチングダメージからなるダメージ層114bを、新たなダメージを発生させることなく除去することが可能となる。従って、実施形態1に係る炭化珪素半導体装置の製造方法によれば、炭化珪素基板110にイオン注入された不純物を活性化するためのアニールを行う際に形成された変質層114aを、特許文献1に記載された炭化珪素半導体装置の製造方法の場合よりも高い生産性で、かつ、特許文献2に記載された炭化珪素半導体装置の製造方法の場合のように炭化珪素半導体装置の特性の劣化を招くことなく、除去することが可能となる。
図3は、実施形態2に係る炭化珪素半導体装置の製造方法を説明するために示す図である。図3(a)〜図3(c)は図2(a)〜図2(c)における各工程に対応する各工程図である。
すなわち、実施形態2に係る炭化珪素半導体装置の製造方法においては、図3(b)に示すように、第1エッチング工程における異方性プラズマエッチングのエッチング時間を長くして変質層114aが完全に除去されるまで第1エッチング工程を行うこととしている。
以下、試験例により本発明をさらに詳細に説明する。
試験例1〜2は、本発明の炭化珪素半導体装置の製造方法によって製造される炭化珪素半導体装置が優れた逆方向リーク特性を有することを示す試験例である。
基本的には、実施形態1に係る炭化珪素半導体装置の製造方法と同様の方法によって試験例1〜2に係る炭化珪素半導体装置を製造した。但し、試験例1に係る炭化珪素半導体装置を製造するにあたっては、第1エッチング工程及び第2エッチング工程を実施した。また、試験例2に係る炭化珪素半導体装置を製造するにあたっては、第1エッチング工程及び第2エッチング工程を省略した。すなわち、試験例1に係る炭化珪素半導体装置の製造方法は、本発明の炭化珪素半導体装置の製造方法に該当するものであり、試験例2に係る炭化珪素半導体装置の製造方法は、従来の炭化珪素半導体装置の製造方法に該当するものである。
試験例1〜2に係る炭化珪素半導体装置の評価は、これらの炭化珪素半導体装置について、逆バイアス電圧(V)を徐々に高くしながら逆方向リーク電流(A/cm2)を測定することにより行った。
図4は、試験例1〜2に係る炭化珪素半導体装置の逆方向リーク電流を示す図である。
図4からも明らかなように、試験例1に係る炭化珪素半導体装置は、試験例2に係る炭化珪素半導体装置の場合よりも優れた逆方向リーク特性を有することがわかった。
試験例3〜8は、第1エッチング工程及び第2エッチング工程の効果を説明するために示す試験例である。
基本的には、実施形態1に係る炭化珪素半導体装置の製造方法と同様の方法によって試験例3〜8に係る炭化珪素半導体装置を製造した。但し、試験例3に係る炭化珪素半導体装置を製造するにあたっては、第1エッチング工程及び第2エッチング工程を省略した。また、試験例4に係るに係る炭化珪素半導体装置を製造するにあたっては、第1エッチング工程において異方性プラズマエッチングを30秒間だけ実施するとともに、第2エッチング工程を省略した。また、試験例5に係るに係る炭化珪素半導体装置を製造するにあたっては、第1エッチング工程において異方性プラズマエッチングを1分間実施するとともに、第2エッチング工程を省略した。また、試験例6に係るに係る炭化珪素半導体装置を製造するにあたっては、第1エッチング工程において異方性プラズマエッチングを2分間実施するとともに、第2エッチング工程を省略した。また、試験例7に係るに係る炭化珪素半導体装置を製造するにあたっては、第1エッチング工程において異方性プラズマエッチングを1分間実施するとともに、第2エッチング工程において等方性プラズマエッチングを1分間実施した。また、試験例8に係るに係る炭化珪素半導体装置を製造するにあたっては、第1エッチング工程を省略するとともに、第2エッチング工程において等方性プラズマエッチングを30分間実施した。
試験例3〜8に係る炭化珪素半導体装置の評価は、これらの炭化珪素半導体装置について、逆バイアス電圧(V)を徐々に高くしながら逆方向リーク電流(A/cm2)を測定するとともに、逆バイアス電圧を1000Vにしたときの逆方向リーク電流(A/cm2)を各試験例の間で比較することにより行った。
表1は、試験例3〜8に係る炭化珪素半導体装置における、逆バイアス電圧を1000Vにしたときの逆方向リーク電流(A/cm2)を示す表である。
Claims (5)
- 炭化珪素基板にイオン注入された不純物を活性化するためのアニールを行う際に形成された変質層を、不活性ガスを用いた異方性プラズマエッチングによる第1エッチング工程と、不活性ガスを用いた等方性プラズマエッチングによる第2エッチング工程とをこの順序で実施することにより除去する変質層除去工程を含むことを特徴とする炭化珪素半導体装置の製造方法。
- 請求項1に記載の炭化珪素半導体装置の製造方法において、
前記不活性ガスは、Arガスであることを特徴とする炭化珪素半導体装置の製造方法。 - 請求項1又は2に記載の炭化珪素半導体装置の製造方法において、
前記第1エッチング工程においては、シース電圧が20V〜40Vの条件で異方性プラズマエッチングを行うことを特徴とする炭化珪素半導体装置の製造方法。 - 請求項1〜3のいずれかに記載の炭化珪素半導体装置の製造方法において、
前記第2エッチング工程においては、シース電圧が15V以下の条件で等方性プラズマエッチングを行うことを特徴とする炭化珪素半導体装置の製造方法。 - 請求項1〜4のいずれかに記載の炭化珪素半導体装置の製造方法において、
前記炭化珪素半導体装置は、ショットキーバリアダイオードであることを特徴とする炭化珪素半導体装置の製造方法。
Priority Applications (1)
| Application Number | Priority Date | Filing Date | Title |
|---|---|---|---|
| JP2008268087A JP5380036B2 (ja) | 2008-10-17 | 2008-10-17 | 炭化珪素半導体装置の製造方法 |
Applications Claiming Priority (1)
| Application Number | Priority Date | Filing Date | Title |
|---|---|---|---|
| JP2008268087A JP5380036B2 (ja) | 2008-10-17 | 2008-10-17 | 炭化珪素半導体装置の製造方法 |
Publications (2)
| Publication Number | Publication Date |
|---|---|
| JP2010098146A true JP2010098146A (ja) | 2010-04-30 |
| JP5380036B2 JP5380036B2 (ja) | 2014-01-08 |
Family
ID=42259621
Family Applications (1)
| Application Number | Title | Priority Date | Filing Date |
|---|---|---|---|
| JP2008268087A Active JP5380036B2 (ja) | 2008-10-17 | 2008-10-17 | 炭化珪素半導体装置の製造方法 |
Country Status (1)
| Country | Link |
|---|---|
| JP (1) | JP5380036B2 (ja) |
Cited By (1)
| Publication number | Priority date | Publication date | Assignee | Title |
|---|---|---|---|---|
| JP2012124329A (ja) * | 2010-12-08 | 2012-06-28 | Rohm Co Ltd | SiC半導体装置 |
Citations (6)
| Publication number | Priority date | Publication date | Assignee | Title |
|---|---|---|---|---|
| JPH04174511A (ja) * | 1989-09-08 | 1992-06-22 | Tokyo Electron Ltd | 基板処理装置 |
| JPH088231A (ja) * | 1994-06-21 | 1996-01-12 | Sanyo Electric Co Ltd | 膜の平坦化方法 |
| JPH10125665A (ja) * | 1997-11-04 | 1998-05-15 | Tadahiro Omi | プラズマプロセス用装置 |
| JPH11135522A (ja) * | 1997-08-28 | 1999-05-21 | Nec Corp | 化合物半導体装置の製造方法 |
| JP2000058513A (ja) * | 1998-08-03 | 2000-02-25 | Hitachi Ltd | 半導体装置およびその製造方法 |
| JP2001035838A (ja) * | 1999-07-22 | 2001-02-09 | Fuji Electric Co Ltd | 炭化珪素半導体素子の製造方法 |
-
2008
- 2008-10-17 JP JP2008268087A patent/JP5380036B2/ja active Active
Patent Citations (6)
| Publication number | Priority date | Publication date | Assignee | Title |
|---|---|---|---|---|
| JPH04174511A (ja) * | 1989-09-08 | 1992-06-22 | Tokyo Electron Ltd | 基板処理装置 |
| JPH088231A (ja) * | 1994-06-21 | 1996-01-12 | Sanyo Electric Co Ltd | 膜の平坦化方法 |
| JPH11135522A (ja) * | 1997-08-28 | 1999-05-21 | Nec Corp | 化合物半導体装置の製造方法 |
| JPH10125665A (ja) * | 1997-11-04 | 1998-05-15 | Tadahiro Omi | プラズマプロセス用装置 |
| JP2000058513A (ja) * | 1998-08-03 | 2000-02-25 | Hitachi Ltd | 半導体装置およびその製造方法 |
| JP2001035838A (ja) * | 1999-07-22 | 2001-02-09 | Fuji Electric Co Ltd | 炭化珪素半導体素子の製造方法 |
Cited By (1)
| Publication number | Priority date | Publication date | Assignee | Title |
|---|---|---|---|---|
| JP2012124329A (ja) * | 2010-12-08 | 2012-06-28 | Rohm Co Ltd | SiC半導体装置 |
Also Published As
| Publication number | Publication date |
|---|---|
| JP5380036B2 (ja) | 2014-01-08 |
Similar Documents
| Publication | Publication Date | Title |
|---|---|---|
| JP4935741B2 (ja) | 炭化珪素半導体装置の製造方法 | |
| CN104247024B (zh) | 碳化硅半导体器件 | |
| JP5482107B2 (ja) | 炭化珪素半導体装置の製造方法 | |
| US8569123B2 (en) | Method for manufacturing silicon carbide semiconductor device | |
| JP5408248B2 (ja) | 炭化珪素半導体装置およびその製造方法 | |
| JP5653519B2 (ja) | 半導体装置及び半導体装置の製造方法 | |
| JP2013120822A (ja) | 半導体装置の製造方法 | |
| JP2011199132A (ja) | 半導体装置およびその製造方法 | |
| JP2014078732A (ja) | 炭化珪素半導体装置の製造方法 | |
| WO2010024243A1 (ja) | バイポーラ型半導体装置およびその製造方法 | |
| TW201237960A (en) | Production method for semiconductor device | |
| CN105448673B (zh) | 一种碳化硅器件背面欧姆接触的制作方法 | |
| JP2005229105A (ja) | 半導体素子およびその製造方法 | |
| WO2014034748A1 (ja) | 半導体装置及びその製造方法 | |
| JP5380036B2 (ja) | 炭化珪素半導体装置の製造方法 | |
| JP3856729B2 (ja) | 半導体装置およびその製造方法 | |
| JP5207939B2 (ja) | 炭化珪素半導体装置の製造方法 | |
| JP6156814B2 (ja) | 炭化珪素半導体素子の製造方法 | |
| JP5036399B2 (ja) | 炭化珪素半導体装置の製造方法 | |
| JP2010262952A (ja) | 炭化珪素半導体装置の製造方法 | |
| JP2008112834A (ja) | 炭化ケイ素半導体装置の製造方法 | |
| JP2012222060A (ja) | 炭化珪素半導体装置の製造方法 | |
| JP5633328B2 (ja) | 半導体装置の製造方法 | |
| JP5537219B2 (ja) | ショットキーバリアダイオード | |
| JP5825418B2 (ja) | 炭化珪素半導体装置の製造方法 |
Legal Events
| Date | Code | Title | Description |
|---|---|---|---|
| A621 | Written request for application examination |
Free format text: JAPANESE INTERMEDIATE CODE: A621 Effective date: 20110707 |
|
| A977 | Report on retrieval |
Free format text: JAPANESE INTERMEDIATE CODE: A971007 Effective date: 20130627 |
|
| A131 | Notification of reasons for refusal |
Free format text: JAPANESE INTERMEDIATE CODE: A131 Effective date: 20130702 |
|
| A521 | Written amendment |
Free format text: JAPANESE INTERMEDIATE CODE: A523 Effective date: 20130829 |
|
| TRDD | Decision of grant or rejection written | ||
| A01 | Written decision to grant a patent or to grant a registration (utility model) |
Free format text: JAPANESE INTERMEDIATE CODE: A01 Effective date: 20130917 |
|
| A61 | First payment of annual fees (during grant procedure) |
Free format text: JAPANESE INTERMEDIATE CODE: A61 Effective date: 20130930 |
|
| R150 | Certificate of patent or registration of utility model |
Ref document number: 5380036 Country of ref document: JP Free format text: JAPANESE INTERMEDIATE CODE: R150 Free format text: JAPANESE INTERMEDIATE CODE: R150 |
