JP2010095711A - 高反応性小塊コークスとその製造方法 - Google Patents
高反応性小塊コークスとその製造方法 Download PDFInfo
- Publication number
- JP2010095711A JP2010095711A JP2009213325A JP2009213325A JP2010095711A JP 2010095711 A JP2010095711 A JP 2010095711A JP 2009213325 A JP2009213325 A JP 2009213325A JP 2009213325 A JP2009213325 A JP 2009213325A JP 2010095711 A JP2010095711 A JP 2010095711A
- Authority
- JP
- Japan
- Prior art keywords
- coal
- coke
- highly reactive
- total
- mass
- Prior art date
- Legal status (The legal status is an assumption and is not a legal conclusion. Google has not performed a legal analysis and makes no representation as to the accuracy of the status listed.)
- Granted
Links
Images
Classifications
-
- C—CHEMISTRY; METALLURGY
- C10—PETROLEUM, GAS OR COKE INDUSTRIES; TECHNICAL GASES CONTAINING CARBON MONOXIDE; FUELS; LUBRICANTS; PEAT
- C10B—DESTRUCTIVE DISTILLATION OF CARBONACEOUS MATERIALS FOR PRODUCTION OF GAS, COKE, TAR, OR SIMILAR MATERIALS
- C10B57/00—Other carbonising or coking processes; Features of destructive distillation processes in general
- C10B57/04—Other carbonising or coking processes; Features of destructive distillation processes in general using charges of special composition
-
- C—CHEMISTRY; METALLURGY
- C10—PETROLEUM, GAS OR COKE INDUSTRIES; TECHNICAL GASES CONTAINING CARBON MONOXIDE; FUELS; LUBRICANTS; PEAT
- C10B—DESTRUCTIVE DISTILLATION OF CARBONACEOUS MATERIALS FOR PRODUCTION OF GAS, COKE, TAR, OR SIMILAR MATERIALS
- C10B57/00—Other carbonising or coking processes; Features of destructive distillation processes in general
- C10B57/04—Other carbonising or coking processes; Features of destructive distillation processes in general using charges of special composition
- C10B57/06—Other carbonising or coking processes; Features of destructive distillation processes in general using charges of special composition containing additives
-
- C—CHEMISTRY; METALLURGY
- C10—PETROLEUM, GAS OR COKE INDUSTRIES; TECHNICAL GASES CONTAINING CARBON MONOXIDE; FUELS; LUBRICANTS; PEAT
- C10L—FUELS NOT OTHERWISE PROVIDED FOR; NATURAL GAS; SYNTHETIC NATURAL GAS OBTAINED BY PROCESSES NOT COVERED BY SUBCLASSES C10G OR C10K; LIQUIFIED PETROLEUM GAS; USE OF ADDITIVES TO FUELS OR FIRES; FIRE-LIGHTERS
- C10L9/00—Treating solid fuels to improve their combustion
- C10L9/10—Treating solid fuels to improve their combustion by using additives
Landscapes
- Chemical & Material Sciences (AREA)
- Engineering & Computer Science (AREA)
- Oil, Petroleum & Natural Gas (AREA)
- Organic Chemistry (AREA)
- Materials Engineering (AREA)
- Combustion & Propulsion (AREA)
- Coke Industry (AREA)
Abstract
【解決手段】性状の異なる石炭を2種以上配合して製造した平均粒径が38mm以下の高反応性小塊コークスであって、(x)コークス内部に存在する気孔径:1〜10μmの気孔の総容量が25mm3/g以上であり、(y)ドラム強度指数DI150 15が70以上であることを特徴とする高反応性小塊コークス。
【選択図】図3
Description
(x)コークス内部に存在する気孔径:1〜10μmの気孔の総容量が25mm3/g以上であり、
(y)ドラム強度指数DI150 15が70以上である
ことを特徴とする高反応性小塊コークス。
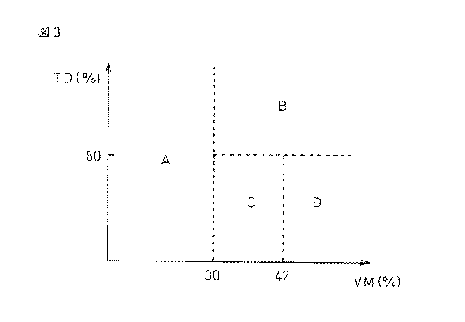
(z1)性状の異なる石炭を、揮発分含有量VMと全膨張率TDで、
(z1a)石炭A:揮発分含有量VM<30%
(z1b)石炭B:揮発分含有量VM≧30%、全膨張率TD≧60%
(z1c)石炭C:42%≧揮発分含有量VM≧30%、全膨張率TD<60%
(z1d)石炭D:揮発分含有量VM>42%、全膨張率TD<60%
の4種に区分し、
(z2)配合炭中の前記石炭Bと前記石炭Cの合計割合を80質量%以上とし、配合炭中の前記石炭Bと前記石炭Cのうちの石炭Bの割合を20質量%以上とし、配合炭中の前記石炭Dの割合を5質量%以下に制限し、配合炭中の前記石炭Aを残部とするように、前記4種の石炭から2種以上の石炭を選択し、配合して配合炭とし、該配合炭を乾留する
ことを特徴とする高反応性小塊コークスの製造方法。
(z1)性状の異なる石炭を、揮発分含有率VMと全膨張率TDで、
(z1a)石炭A:揮発分含有率VM<30%
(z1b)石炭B:揮発分含有率VM≧30%、全膨張率TD≧60%
(z1c)石炭C:42%≧揮発分含有率≧30%、全膨張率TD<60%
(z1d)石炭D:揮発分含有率VM>42%、全膨張率TD<60%
の4種に区分し、
(z2)配合炭中の前記石炭Bと前記石炭Cの合計割合を80質量%以上とし、配合炭中の前記石炭Bと前記石炭Cのうちの石炭Bの割合を20質量%以上とし、配合炭中の前記石炭Dの割合を5質量%以下に制限し、配合炭中の前記石炭Aを残部とするように、前記4種の石炭から2種以上の石炭を選択し、配合して配合炭とし、該配合炭を乾留する、
ことを特徴とする。
表1に、本実施例で用いた本発明の製造方法で規定する石炭A、石炭B、石炭C、及び、石炭Dの4種の各石炭にそれぞれ属する石炭A1、石炭B1、石炭C1、及び、石炭D1を示す。
Claims (7)
- 高反応性小塊コークスであって、
(x)コークス内部に存在する気孔径:1〜10μmの気孔の総容量が25mm3/g以上であり、
(y)ドラム強度指数DI150 15が70以上である
ことを特徴とする高反応性小塊コークス。 - 前記気孔の総容量が30mm3/g以上であることを特徴とする請求項1に記載の高反応性小塊コークス。
- 前記高反応性小塊コークスが、Ca化合物及びFe化合物の1種又は2種を、該高反応性小塊コークスの製造に用いられた配合炭の全質量に対する割合で、0.5〜10質量%含むことを特徴とする請求項1又は2に記載の高反応性小塊コークス。
- 前記高反応性小塊コークスの平均粒径が38mm以下であることを特徴とする請求項1〜3のいずれかに記載の高反応性小塊コークス。
- 高反応性小塊コークスを製造する方法において、
(z1)性状の異なる石炭を、揮発分含有量VMと全膨張率TDで、
(z1a)石炭A:揮発分含有量VM<30%
(z1b)石炭B:揮発分含有量VM≧30%、全膨張率TD≧60%
(z1c)石炭C:42%≧揮発分含有量VM≧30%、全膨張率TD<60%
(z1d)石炭D:揮発分含有量VM>42%、全膨張率TD<60%
の4種に区分し、
(z2)配合炭中の前記石炭Bと前記石炭Cの合計割合を80質量%以上とし、配合炭中の前記石炭Bと前記石炭Cのうちの石炭Bの割合を20質量%以上とし、配合炭中の前記石炭Dの割合を5質量%以下に制限し、配合炭中の前記石炭Aを残部とするように、前記4種の石炭から2種以上の石炭を選択し、配合して配合炭とし、該配合炭を乾留する
ことを特徴とする高反応性小塊コークスの製造方法。 - 請求項5に記載の高反応性小塊コークスの製造方法において、さらに、前記配合炭に、該配合炭の全質量に対する割合で、Ca化合物及びFe化合物の1種又は2種を0.5〜10質量%添加することを特徴とする高反応性小塊コークスの製造方法。
- 請求項5に記載の高反応性小塊コークスの製造方法において、前記4種の石炭として、平均粒径が1〜2mmの微粉状石炭を用いることを特徴とする高反応性小塊コークスの製造方法。
Priority Applications (1)
| Application Number | Priority Date | Filing Date | Title |
|---|---|---|---|
| JP2009213325A JP5177101B2 (ja) | 2008-09-16 | 2009-09-15 | 高反応性小塊コークスの製造方法 |
Applications Claiming Priority (3)
| Application Number | Priority Date | Filing Date | Title |
|---|---|---|---|
| JP2008237032 | 2008-09-16 | ||
| JP2008237032 | 2008-09-16 | ||
| JP2009213325A JP5177101B2 (ja) | 2008-09-16 | 2009-09-15 | 高反応性小塊コークスの製造方法 |
Publications (2)
| Publication Number | Publication Date |
|---|---|
| JP2010095711A true JP2010095711A (ja) | 2010-04-30 |
| JP5177101B2 JP5177101B2 (ja) | 2013-04-03 |
Family
ID=42039558
Family Applications (1)
| Application Number | Title | Priority Date | Filing Date |
|---|---|---|---|
| JP2009213325A Active JP5177101B2 (ja) | 2008-09-16 | 2009-09-15 | 高反応性小塊コークスの製造方法 |
Country Status (5)
| Country | Link |
|---|---|
| JP (1) | JP5177101B2 (ja) |
| KR (1) | KR101247872B1 (ja) |
| CN (1) | CN102159670B (ja) |
| BR (1) | BRPI0918642B1 (ja) |
| WO (1) | WO2010032734A1 (ja) |
Cited By (4)
| Publication number | Priority date | Publication date | Assignee | Title |
|---|---|---|---|---|
| US20150176096A1 (en) * | 2012-08-13 | 2015-06-25 | Mitsubishi Heavy Industries, Ltd. | Method for producing pig iron, and blast furnace to be used therefor |
| US20150191803A1 (en) * | 2012-08-03 | 2015-07-09 | Mitsubishi Heavy Industries, Ltd. | Blast-furnace-blow-in charcoal and method for producing same |
| US20150203929A1 (en) * | 2012-08-03 | 2015-07-23 | Mitsubishi Heavy Industries, Ltd. | Method for producing pig iron and blast furnace facility using same |
| JP2015189983A (ja) * | 2014-03-27 | 2015-11-02 | Jfeスチール株式会社 | 高炉操業方法 |
Families Citing this family (13)
| Publication number | Priority date | Publication date | Assignee | Title |
|---|---|---|---|---|
| US9359554B2 (en) | 2012-08-17 | 2016-06-07 | Suncoke Technology And Development Llc | Automatic draft control system for coke plants |
| US9476547B2 (en) | 2012-12-28 | 2016-10-25 | Suncoke Technology And Development Llc | Exhaust flow modifier, duct intersection incorporating the same, and methods therefor |
| CN103756701B (zh) * | 2014-01-21 | 2015-11-25 | 河北联合大学 | 高反应性焦炭及其生产方法 |
| CA2972887C (en) | 2014-12-31 | 2022-10-18 | Suncoke Technology And Development Llc | Multi-modal beds of coking material |
| WO2016125727A1 (ja) * | 2015-02-06 | 2016-08-11 | Jfeスチール株式会社 | フェロコークスの製造方法 |
| CN109313443A (zh) | 2016-06-03 | 2019-02-05 | 太阳焦炭科技和发展有限责任公司 | 用于在工业设施中自动生成补救措施的方法和系统 |
| CN109487022A (zh) * | 2018-12-21 | 2019-03-19 | 鞍钢集团朝阳钢铁有限公司 | 一种高炉操作方法 |
| CA3125332C (en) | 2018-12-28 | 2022-04-26 | Suncoke Technology And Development Llc | Decarbonization of coke ovens, and associated systems and methods |
| WO2021134071A1 (en) | 2019-12-26 | 2021-07-01 | Suncoke Technology And Development Llc | Oven health optimization systems and methods |
| BR112022022326A2 (pt) | 2020-05-03 | 2022-12-13 | Suncoke Tech & Development Llc | Produtos de coque de alta qualidade |
| MX2023012475A (es) | 2021-11-04 | 2024-04-25 | Suncoke Tech & Development Llc | Productos de coque de fundicion y sistemas, dispositivos y metodos asociados. |
| EP4612257A1 (en) * | 2022-11-04 | 2025-09-10 | Suncoke Technology and Development LLC | Coal blends, foundry coke products, and associated systems, devices, and methods |
| US12410369B2 (en) | 2023-11-21 | 2025-09-09 | Suncoke Technology And Development Llc | Flat push hot car for foundry coke and associated systems and methods |
Citations (3)
| Publication number | Priority date | Publication date | Assignee | Title |
|---|---|---|---|---|
| JPH03290492A (ja) * | 1990-04-06 | 1991-12-20 | Kobe Steel Ltd | 中温乾留炉および中温乾留コークスの製造方法 |
| JP2004300170A (ja) * | 2003-03-28 | 2004-10-28 | Nippon Steel Corp | 高炉用高反応性成型コークスの製造方法 |
| JP2004339503A (ja) * | 2003-04-25 | 2004-12-02 | Nippon Steel Corp | 高強度コークスの製造方法 |
-
2009
- 2009-09-15 JP JP2009213325A patent/JP5177101B2/ja active Active
- 2009-09-16 CN CN2009801361644A patent/CN102159670B/zh active Active
- 2009-09-16 KR KR1020117005972A patent/KR101247872B1/ko active Active
- 2009-09-16 BR BRPI0918642-5A patent/BRPI0918642B1/pt active IP Right Grant
- 2009-09-16 WO PCT/JP2009/066123 patent/WO2010032734A1/ja not_active Ceased
Patent Citations (3)
| Publication number | Priority date | Publication date | Assignee | Title |
|---|---|---|---|---|
| JPH03290492A (ja) * | 1990-04-06 | 1991-12-20 | Kobe Steel Ltd | 中温乾留炉および中温乾留コークスの製造方法 |
| JP2004300170A (ja) * | 2003-03-28 | 2004-10-28 | Nippon Steel Corp | 高炉用高反応性成型コークスの製造方法 |
| JP2004339503A (ja) * | 2003-04-25 | 2004-12-02 | Nippon Steel Corp | 高強度コークスの製造方法 |
Cited By (4)
| Publication number | Priority date | Publication date | Assignee | Title |
|---|---|---|---|---|
| US20150191803A1 (en) * | 2012-08-03 | 2015-07-09 | Mitsubishi Heavy Industries, Ltd. | Blast-furnace-blow-in charcoal and method for producing same |
| US20150203929A1 (en) * | 2012-08-03 | 2015-07-23 | Mitsubishi Heavy Industries, Ltd. | Method for producing pig iron and blast furnace facility using same |
| US20150176096A1 (en) * | 2012-08-13 | 2015-06-25 | Mitsubishi Heavy Industries, Ltd. | Method for producing pig iron, and blast furnace to be used therefor |
| JP2015189983A (ja) * | 2014-03-27 | 2015-11-02 | Jfeスチール株式会社 | 高炉操業方法 |
Also Published As
| Publication number | Publication date |
|---|---|
| KR20110054014A (ko) | 2011-05-24 |
| BRPI0918642A2 (pt) | 2015-12-01 |
| WO2010032734A1 (ja) | 2010-03-25 |
| BRPI0918642B1 (pt) | 2018-01-30 |
| CN102159670A (zh) | 2011-08-17 |
| KR101247872B1 (ko) | 2013-03-26 |
| CN102159670B (zh) | 2013-11-06 |
| JP5177101B2 (ja) | 2013-04-03 |
Similar Documents
| Publication | Publication Date | Title |
|---|---|---|
| JP5177101B2 (ja) | 高反応性小塊コークスの製造方法 | |
| KR20010089657A (ko) | 고로용 고반응성 고강도 코크스 및 그 제조방법 | |
| TW201821366A (zh) | 包含「快速」鈣-鎂化合物及鐵酸鈣的經鍛燒團塊及其製造方法 | |
| JPWO2016024512A1 (ja) | 冶金用コークスおよびその製造方法 | |
| KR101767800B1 (ko) | 야금용 코크스의 제조 방법 | |
| JP2020012141A (ja) | 焼結鉱 | |
| WO2020196769A1 (ja) | 高炉の操業方法 | |
| JP3952988B2 (ja) | 低SiO2焼結鉱の製造方法 | |
| JP4311022B2 (ja) | コークスの製造方法 | |
| JP4935133B2 (ja) | フェロコークスおよび焼結鉱の製造方法 | |
| WO2023199550A1 (ja) | 高炉の操業方法 | |
| JP5011833B2 (ja) | コークス製造方法 | |
| JP6939842B2 (ja) | 焼結鉱の製造方法 | |
| JP2022157632A (ja) | 塊成物製造用の原料粒子、塊成物製造用の原料粒子の製造方法、塊成物、塊成物の製造方法および還元鉄の製造方法 | |
| JP2006290925A (ja) | 焼結用粒状燃料及びその製造方法 | |
| JP2008120973A (ja) | 高炉用コークスの製造方法 | |
| JP5565143B2 (ja) | 高炉操業方法 | |
| JP2007002052A (ja) | 高強度コークスの製造方法 | |
| Rosso Neto et al. | Clean Carbon Steelmaking: Evaluating the Replacement of Mineral Coal with Malt Biochar in Iron Ore Pelletization: Neto et al. | |
| JP4917300B2 (ja) | 製鉄用コークスの製造方法および製鉄用コークスの原料 | |
| JP2003306681A (ja) | 高炉用高反応性コークスの製造方法 | |
| JP4776945B2 (ja) | 高炉用高反応性コークスの製造方法 | |
| WO2020137484A1 (ja) | 焼結鉱の製造方法 | |
| JP5011637B2 (ja) | 焼結に供するための鉱石の処理方法 | |
| KR20240160151A (ko) | 고로의 조업 방법 |
Legal Events
| Date | Code | Title | Description |
|---|---|---|---|
| A621 | Written request for application examination |
Free format text: JAPANESE INTERMEDIATE CODE: A621 Effective date: 20110816 |
|
| A131 | Notification of reasons for refusal |
Free format text: JAPANESE INTERMEDIATE CODE: A131 Effective date: 20120925 |
|
| A521 | Written amendment |
Free format text: JAPANESE INTERMEDIATE CODE: A523 Effective date: 20121126 |
|
| TRDD | Decision of grant or rejection written | ||
| A01 | Written decision to grant a patent or to grant a registration (utility model) |
Free format text: JAPANESE INTERMEDIATE CODE: A01 Effective date: 20121211 |
|
| A61 | First payment of annual fees (during grant procedure) |
Free format text: JAPANESE INTERMEDIATE CODE: A61 Effective date: 20121224 |
|
| R151 | Written notification of patent or utility model registration |
Ref document number: 5177101 Country of ref document: JP Free format text: JAPANESE INTERMEDIATE CODE: R151 |
|
| FPAY | Renewal fee payment (event date is renewal date of database) |
Free format text: PAYMENT UNTIL: 20160118 Year of fee payment: 3 |
|
| S533 | Written request for registration of change of name |
Free format text: JAPANESE INTERMEDIATE CODE: R313533 |
|
| R350 | Written notification of registration of transfer |
Free format text: JAPANESE INTERMEDIATE CODE: R350 |
