JP2010093307A - 半導体装置 - Google Patents

半導体装置 Download PDF

Info

Publication number
JP2010093307A
JP2010093307A JP2010017579A JP2010017579A JP2010093307A JP 2010093307 A JP2010093307 A JP 2010093307A JP 2010017579 A JP2010017579 A JP 2010017579A JP 2010017579 A JP2010017579 A JP 2010017579A JP 2010093307 A JP2010093307 A JP 2010093307A
Authority
JP
Japan
Prior art keywords
insulating film
metal layer
opening
film
wiring
Prior art date
Legal status (The legal status is an assumption and is not a legal conclusion. Google has not performed a legal analysis and makes no representation as to the accuracy of the status listed.)
Granted
Application number
JP2010017579A
Other languages
English (en)
Other versions
JP5068830B2 (ja
Inventor
Tsutomu Miyamoto
ツトム 宮本
Current Assignee (The listed assignees may be inaccurate. Google has not performed a legal analysis and makes no representation or warranty as to the accuracy of the list.)
Casio Computer Co Ltd
Original Assignee
Casio Computer Co Ltd
Priority date (The priority date is an assumption and is not a legal conclusion. Google has not performed a legal analysis and makes no representation as to the accuracy of the date listed.)
Filing date
Publication date
Application filed by Casio Computer Co Ltd filed Critical Casio Computer Co Ltd
Priority to JP2010017579A priority Critical patent/JP5068830B2/ja
Publication of JP2010093307A publication Critical patent/JP2010093307A/ja
Application granted granted Critical
Publication of JP5068830B2 publication Critical patent/JP5068830B2/ja
Expired - Fee Related legal-status Critical Current
Anticipated expiration legal-status Critical

Links

Images

Classifications

    • H10W72/012

Landscapes

  • Internal Circuitry In Semiconductor Integrated Circuit Devices (AREA)

Abstract

【課題】柱状電極形成用メッキレジスト膜を剥離した際にレジスト残渣が発生しにくいようにした半導体装置およびその製造方法を提供する。
【解決手段】ウエハ21上に形成された保護膜5の上面に、開口部8を有する上層絶縁膜7を形成する。次に、上層絶縁膜7の開口部8内および上面に下地金属層9を形成する。次に、電解メッキにより、上層絶縁膜7の開口部8内における下地金属層9の内部に配線11を形成する。次に、配線11を含む下地金属層9の上面に柱状電極形成用メッキレジスト膜25を形成する。この状態では、配線11間に上層絶縁膜7およびその表面に形成された下地金属層9が存在するので、配線11間に柱状電極形成用メッキレジスト膜25が入り込む余地はない。したがって、柱状電極12形成後にメッキレジスト膜25を剥離するとき、配線11間に柱状電極形成用メッキレジスト膜25のレジスト残渣が発生しないようにすることができる。
【選択図】 図6

Description

この発明は半導体装置に関する。
従来のCSP(chip size package)と呼ばれる半導体装置には、半導体基板上に形成された配線の接続パッド部上面に柱状電極を形成したものがある(例えば、特許文献1参照)。この場合、半導体装置の製造方法としては、半導体基板上の全面に形成された下地金属層上に形成された配線を含む下地金属層の上面に、配線の接続パッド部つまり柱状電極形成領域に対応する部分に開口部を有するメッキレジスト膜を形成し、下地金属層をメッキ電流路とした電解メッキを行なうことにより、メッキレジスト膜の開口部内の配線の接続パッド部上面に柱状電極を形成し、メッキレジスト膜をレジスト剥離液を用いて剥離し、配線をマスクとして配線下以外の領域における下地金属層をエッチングして除去する方法が用いられている。
特開2004−281614号公報
しかしながら、上記従来の半導体装置の製造方法において、柱状電極形成用メッキレジスト膜をレジスト剥離液を用いて剥離するとき、柱状電極形成用メッキレジスト膜が主としてその上面側からのみ剥離されるため、配線間の間隔が狭くなると、配線間にレジスト残渣が発生することがある。このレジスト残渣は、配線をマスクとして下地金属層をエッチングするとき、マスクとなってエッチング不良を引き起こし、配線間の短絡の原因となってしまう。
そこで、この発明は、柱状電極形成用メッキレジスト膜を剥離した際にレジスト残渣が発生しにくいようにすることができる半導体装置およびその製造方法を提供することを目的とする。
請求項1に記載の発明に係る半導体装置は、上面に複数の接続パッドを有する半導体基板と、前記半導体基板上に設けられ、前記接続パッドに対応する部分に開口部を有する絶縁膜と、前記絶縁膜の上面に設けられ、下面側配線形成領域に対応する部分に開口部を有する下面側上層絶縁膜と、前記下面側上層絶縁膜の開口部内に前記絶縁膜の開口部を介して前記接続パッドに接続されて設けられた下面側配線と、前記下面側上層絶縁膜および前記下面側配線の上面に設けられ、再配線形成領域に対応する部分に開口部を有する再配線上層絶縁膜と、前記再配線上層絶縁膜の開口部内に前記下面側配線に接続されて設けられ、その上面が前記再配線上層絶縁膜の上面と面一かそれよりも低くなるように設けられた再配線と、前記再配線の接続パッド部上に設けられた柱状電極とを備えており、一部の前記下面側配線は前記接続パッドに接続された接続部のみからなり、一部の前記再配線は残りの前記下層側配線の接続パッド部に接続された接続パッド部のみからなり、前記絶縁膜上において接続部のみからなる前記下面側配線に接続される前記再配線の接続パッド部下にダミー接続パッド部が島状に設けられていることを特徴とするものである。
請求項2に記載の発明に係る半導体装置は、請求項1に記載の発明において、前記再配線上層絶縁膜の開口部内に設けられた前記再配線は、前記再配線上層絶縁膜の開口部の底面および側面に形成された下地金属層と前記下地金属層上に形成された上部金属層を含むことを特徴とするものである。
請求項3に記載の発明に係る半導体装置は、請求項1に記載の発明において、前記柱状電極の周囲に封止膜が設けられていることを特徴とするものである。
請求項4に記載の発明に係る半導体装置は、請求項3に記載の発明において、前記柱状電極上に半田ボールが設けられていることを特徴とするものである。
この発明によれば、再配線上層絶縁膜の開口部内に再配線をその上面が再配線上層絶縁膜の上面と面一かそれよりも低くなるように形成し、その上に柱状電極形成用メッキレジスト膜を形成しているので、再配線間に柱状電極形成用メッキレジスト膜が入り込む余地がなく、ひいては柱状電極形成用メッキレジスト膜を剥離した際にレジスト残渣が発生しにくいようにすることができる。
この発明の参考実施形態1としての半導体装置の断面図。 図1に示す半導体装置の製造方法の一例において、当初用意したものの断面図。 図2に続く工程の断面図。 図3に続く工程の断面図。 図4に続く工程の断面図。 図5に続く工程の断面図。 図6に続く工程の断面図。 図7に続く工程の断面図。 図8に続く工程の断面図。 図9に続く工程の断面図。 図10に続く工程の断面図。 この発明の参考実施形態2としての半導体装置の断面図。 図12に示す半導体装置の製造方法の一例において、所定の工程の断面図。 図13に続く工程の断面図。 図14に続く工程の断面図。 図15に続く工程の断面図。 図16に続く工程の断面図。 図17に続く工程の断面図。 図18に続く工程の断面図。 この発明の第1実施形態としての半導体装置の断面図。
(参考実施形態1)
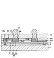
図1はこの発明の参考実施形態1としての半導体装置の断面図を示す。この半導体装置は、CSPと呼ばれるもので、シリコン基板(半導体基板)1を備えている。シリコン基板1の上面には集積回路(図示せず)が設けられ、上面周辺部にはアルミニウム系金属等からなる複数の接続パッド2が集積回路に接続されて設けられている。
接続パッド2の中央部を除くシリコン基板1の上面には酸化シリコン等からなる絶縁膜3が設けられ、接続パッド2の中央部は絶縁膜3に設けられた開口部4を介して露出されている。絶縁膜3の上面にはポリイミド系樹脂等からなる保護膜(絶縁膜)5が設けられている。絶縁膜3の開口部4に対応する部分における保護膜5には開口部6が設けられている。
保護膜5の上面にはポリイミド系樹脂等からなる上層絶縁膜(再配線上層絶縁膜)7が設けられている。上層絶縁膜7の上面の配線形成領域(再配線形成領域)には開口部8が保護膜5の開口部6に連通されて設けられている。上層絶縁膜7の開口部8を介して露出された保護膜5の上面および上層絶縁膜7の開口部8の内壁面には銅等からなる下地金属層9が凹部状に設けられている。凹部状の下地金属層9の内部には銅からなる上部金属層10が設けられている。下地金属層9および上部金属層10は積層されて配線(再配線)11を構成する。配線11の一端部は、絶縁膜3および保護膜5の開口部4、6を介して接続パッド2に接続されている。
ここで、上層絶縁膜7の開口部8の内壁面に設けられた凹部状の下地金属層9の両側部の上面は上層絶縁膜7の上面と面一となっている。上部金属層10の上面は上層絶縁膜7の上面と面一かそれよりもやや低くなっている。また、配線11は、接続パッド2に接続された接続部11aと、先端の接続パッド部11bと、その間の引き回し線部11cとからなっている。
配線11の接続パッド部11b上面には銅からなる柱状電極12が設けられている。配線11および上層絶縁膜7の上面にはエポキシ系樹脂等からなる封止膜13がその上面が柱状電極12の上面と面一となるように設けられている。柱状電極12の上面には半田ボール14が設けられている。
次に、この半導体装置の製造方法の一例について説明する。まず、図2に示すように、ウエハ状態のシリコン基板(以下、半導体ウエハ21という)の上面にアルミニウム系金属等からなる接続パッド2および酸化シリコン等からなる絶縁膜3が形成され、接続パッド2の中央部が絶縁膜3に形成された開口部4を介して露出されたものを用意する。
この場合、半導体ウエハ21の上面において各半導体装置が形成される領域には所定の機能の集積回路(図示せず)が形成され、接続パッド2はそれぞれ対応する領域に形成された集積回路に電気的に接続されている。なお、図2において、符号22で示す領域はダイシングラインに対応する領域である。
次に、図3に示すように、絶縁膜3の上面に、スピンコート法等により形成されたポリイミド系樹脂等からなる保護膜形成用膜をフォトリソグラフィ法によりパターニングして硬化させることにより、保護膜5を形成する。この状態では、絶縁膜3の開口部に対応する部分における保護膜5には開口部6が形成されている。
次に、図4に示すように、保護膜5の上面に、スピンコート法等により形成された感光性ポリイミド系樹脂等からなる上層絶縁膜形成用膜を露光マスク(図示せず)を用いて露光、現像して硬化させることにより、上層絶縁膜7を形成する。この状態では、上層絶縁膜7の配線形成領域には開口部8が保護膜5の開口部6に連通されて形成されている。
ここで、保護膜5を上層絶縁膜7と同一の材料(例えば、ネガ型の感光性ポリイミド系樹脂)によって形成するようにしてもよい。この場合、塗布された保護膜形成用膜を露光、現像し、次いで保護膜形成用膜を仮硬化させ、次いで上層絶縁膜形成用膜を塗布し、次いで上層絶縁膜形成用膜を露光、現像し、次いで保護膜形成用膜および上層絶縁膜形成用膜を本硬化させるようにしてもよい。
次に、図5に示すように、絶縁膜3、保護膜5および上層絶縁膜7の開口部4、6、8を介して露出された接続パッド2の上面、上層絶縁膜7の開口部8を介して露出された保護膜5の上面および上層絶縁膜7の表面に下地金属層9を形成する。この場合、下地金属層9は、上層絶縁膜7の開口部8の底面および開口部8の周囲を形成する側面に沿ってベタ状に形成され、底面部および側部を有する凹部状となっている。また、下地金属層9は、無電解メッキにより形成された銅層のみであってもよく、またスパッタにより形成された銅層のみであってもよく、さらにスパッタにより形成されたチタン等の薄膜層上にスパッタにより銅層を形成したものであってもよい。
次に、下地金属層9の上面に、スピンコート法等により塗布されたポジ型のレジスト膜をフォトリソグラフィ法によりパターニングすることにより、上部金属層形成用メッキレジスト膜23を形成する。この状態では、上部金属層10形成領域に対応する部分における上部金属層形成用メッキレジスト膜23には開口部24が形成されている。この場合、上部金属層形成用メッキレジスト膜23の開口部24のサイズは上層絶縁膜7の開口部8のサイズよりも下地金属層9の膜厚の分だけ小さくなっている。
次に、下地金属層9をメッキ電流路とした銅の電解メッキを行なうことにより、上部金属層形成用メッキレジスト膜23の開口部8内の凹部状の下地金属層9の内部に上部金属層10を形成する。この場合、上部金属層10の上面は上層絶縁膜7の上面と面一かそれよりもやや低くなるようにする。次に、上部金属層10形成用メッキレジスト膜23をレジスト剥離液を用いて剥離する。
次に、図6に示すように、配線11の上面に、ネガ型のドライフィルムレジストをラミネートし、該ネガ型のドライフィルムレジストをフォトリソグラフィ法によりパターニングすることにより、柱状電極形成用メッキレジスト膜25を形成する。この状態では、配線11の接続パッド部11b(柱状電極12形成領域)に対応する部分における柱状電極形成用メッキレジスト膜25には開口部26が形成されている。
次に、下地金属層9をメッキ電流路とした銅の電解メッキを行なうことにより、柱状電極形成用メッキレジスト膜25の開口部26内の配線11の接続パッド部11b上面に柱状電極12を形成する。次に、柱状電極形成用メッキレジスト膜25をレジスト剥離液を用いて剥離する。この場合、柱状電極形成用メッキレジスト膜25は、レジスト剥離液と接触している表面から膨潤して剥離される。
ここで、柱状電極形成用メッキレジスト膜25を形成した状態においては、下地金属層9および上部金属層10の積層構造を有する配線11間に上層絶縁膜7が存在するので、配線11間に柱状電極形成用メッキレジスト膜25が入り込む余地はない。したがって、配線11間の間隔が狭くなった場合であっても、配線11間に柱状電極形成用メッキレジスト膜25のレジスト残渣が発生することがなく、柱状電極形成用メッキレジスト膜25のレジスト残渣に起因する配線11間でのショートの発生を確実に防止することができる。
このようにして、柱状電極形成用メッキレジスト膜25を剥離したら、次に、配線11をマスクとして配線11下以外の領域における下地金属層9をエッチングして除去すると、図7に示すように、上層絶縁膜7の開口部8内にのみ下地金属層9が残存される。これにより、図1に図示される如く、下地金属層9と上部金属層10との積層構造を有し、接続パッド2に接続された接続部11aと、先端の接続パッド部11bと、その間の引き回し線部11cとからなる配線11が形成される。
次に、図8に示すように、配線11、下地金属層9および柱状電極12を含む上層絶縁膜7の上面にエポキシ系樹脂等からなる封止膜13をその厚さが柱状電極12の高さよりもやや厚くなるように形成する。したがって、この状態では、柱状電極12の上面は封止膜13によって覆われている。次に、封止膜13の上面側を適宜に研削することにより、図9に示すように、柱状電極12の上面を露出させるとともに、この露出された柱状電極12の上面を含む封止膜13の上面を平坦化する。次に、図10に示すように、柱状電極12の上面に半田ボール14を形成する。次に、図11に示すように、半導体ウエハ21等をダイシングライン22に沿って切断すると、図1に示す半導体装置が複数個得られる。
(参考実施形態2)
図12はこの発明の参考実施形態2としての半導体装置の断面図を示す。この半導体装置において、図1に示す半導体装置と異なる点は、配線および上層絶縁膜を2層とした点である。すなわち、保護膜5の上面にはポリイミド系樹脂等からなる第1の上層絶縁膜(下面側上層絶縁膜)31aが設けられている。第1の上層絶縁膜31aの上面の第1の配線形成領域には開口部32が保護膜5の開口部6に連通されて設けられている。
第1の上層絶縁膜31aの開口部32を介して露出された保護膜5の上面および第1の上層絶縁膜31aの開口部32の内壁面には銅等からなる第1の下地金属層33が凹部状に設けられている。凹部状の第1の下地金属層33の内部には銅からなる第1の上部金属層34が設けられている。第1の下地金属層33および第1の上部金属層34は、積層されて第1の配線35(下面側配線)を構成する。第1の配線35の一端部は、絶縁膜3および保護膜5の開口部4、6を介して接続パッド2に接続されている。
この場合も、第1の上層絶縁膜31aの開口部32の内壁面に設けられた第1の下地金属層33の上面は第1の上層絶縁膜31aの上面と面一となっている。第1の上部金属層34の上面は第1の上層絶縁膜31aの上面と面一かそれよりもやや低くなっている。また、第1の配線35は、接続パッド2に接続された接続部35aと、先端の接続パッド部35bと、その間の引き回し線部35cとからなっている。
ここで、すべての第1の配線35の一端部(接続部35a)は、絶縁膜3および保護膜5の開口部4、6を介して接続パッド2に接続されているが、一部の第1の配線35は接続部35aのみからなっている。したがって、第1の配線35の引き回し線部35cの本数は、図1に示す配線11の引き回し線部11cの本数よりも少なくなっている。
第1の配線35および第1の上層絶縁膜31aの上面にはポリイミド系樹脂等からなる第2の上層絶縁膜(再配線上層絶縁膜)31bが設けられている。第2の上層絶縁膜31bの上面の第2の配線形成領域には開口部36が設けられている。この場合、一部の開口部36は第1の配線35の接続パッド部35bに対応する領域のみに設けられている。
第2の上層絶縁膜31bの開口部36を介して露出された第1の上層絶縁膜31aの上面および第2の上層絶縁膜31bの開口部36の内壁面には銅等からなる第2の下地金属層37が凹部状に設けられている。凹部状の第2の下地金属層37の内部には銅からなる第2の上部金属層38が設けられている。第2の下地金属層37および第2の上部金属層38は、積層されて第2の配線(再配線)39を構成する。
この場合も、第2の上層絶縁膜31bの開口部36の内壁面に設けられた第2の下地金属層37の上面は第2の上層絶縁膜31bの上面と面一となっている。第2の上部金属層38の上面は第2の上層絶縁膜31bの上面と面一かそれよりもやや低くなっている。また、第2の配線39は、接続部39aと、先端の接続パッド部39bと、その間の引き回し線部39cとからなっている。
そして、一部の第2の配線39の一端部(接続部39a)は、接続部35aのみからなる第1の配線35の上面に接続されている。残りの第2の配線39は、島状で接続パッド部39bのみからなり、第1の配線35の接続パッド部35b上面のみに設けられている。ここで、第1、第2の配線35、39の引き回し線部35c、39cの合計本数は、図1に示す配線11の引き回し線部11cの本数と同じとなっている。
第2の配線39の接続パッド部39b上面には銅からなる柱状電極12が設けられている。第2の配線39および第2の上層絶縁膜31bの上面にはエポキシ系樹脂等からなる封止膜13がその上面が柱状電極12の上面と面一となるように設けられている。柱状電極12の上面には半田ボール14が設けられている。
この半導体装置では、一部の第1の配線35が接続部35aのみからなり、一部の第2の配線39が接続パッド部39bのみからなり、第1、第2の配線35、39の引き回し線部35c、39cの合計本数が図1に示す配線11の引き回し線部11bの本数と同じとなっているので、第1、第2の配線35、39の引き回し線部35c、39cの引き回しの自由度を図1に示す半導体装置の場合よりも増大することができる。
次に、この半導体装置の製造方法の一例について説明する。この場合、図3に示す工程後に、図13に示すように、保護膜5の上面に、スピンコート法等により形成されたポリイミド系樹脂等からなる第1の上層絶縁膜形成用膜をフォトリソグラフィ法によりパターニングすることにより、第1の上層絶縁膜31aを形成する。この状態では、第1の上層絶縁膜31aの第1の配線形成領域には開口部32が保護膜5の開口部6に連通されて形成されている。
次に、図14に示すように、絶縁膜3、保護膜5および第1の上層絶縁膜31aの開口部4、6、32を介して露出された接続パッド2の上面、第1の上層絶縁膜31aの開口部32を介して露出された保護膜5の上面および第1の上層絶縁膜31aの表面に、スパッタ法等により、銅等からなる第1の下地金属層33を形成する。この場合、第1の上層絶縁膜31aの開口部32の内部に形成された第1の下地金属層33は凹部状となっている。
次に、第1の下地金属層33の上面に、スピンコート法等により塗布されたポジ型のレジスト膜をフォトリソグラフィ法によりパターニングすることにより、第1の上部金属層形成用メッキレジスト膜41を形成する。この状態では、第1の上部金属層形成領域に対応する部分における第1の上部金属層形成用メッキレジスト膜41には開口部42が形成されている。この場合も、第1の上部金属層形成用メッキレジスト膜41の開口部42のサイズは第1の上層絶縁膜31aの開口部32のサイズよりも第1の下地金属層33の膜厚の分だけ小さくなっている。
次に、第1の下地金属層33をメッキ電流路とした銅の電解メッキを行なうことにより、第1の上部金属層形成用メッキレジスト膜41の開口部42内の凹部状の第1の下地金属層33の内部に第1の上部金属層34を形成する。この場合も、第1の上部金属層34の上面は第1の上層絶縁膜31aの上面と面一かそれよりもやや低くなるようにする。
次に、第1の上部金属層形成用メッキレジスト膜41をレジスト剥離液を用いて剥離し、次いで、第1の配線35をマスクとして第1の配線35下以外の領域における第1の下地金属層33をエッチングして除去すると、図15に示すように、第1の上層絶縁膜31aの開口部32内にのみ第1の下地金属層33が残存される。
次に、図16に示すように、第1の配線14、第1の下地金属層33および第1の上層絶縁膜31aの上面に、スピンコート法等により形成されたポリイミド系樹脂等からなる第2の上層絶縁膜形成用膜をフォトリソグラフィ法によりパターニングすることにより、第2の上層絶縁膜31bを形成する。この状態では、第2の上層絶縁膜31bの第2の上部金属層形成領域には開口部36が形成されている。
次に、図17に示すように、第2の上層絶縁膜31bの開口部36を介して露出された第1の配線35の上面および第2の上層絶縁膜31bの表面に、スパッタ法等により、銅等からなる第2の下地金属層37を形成する。この場合、第2の上層絶縁膜31bの開口部36の内部に形成された第2の下地金属層37は凹部状となっている。
次に、第2の下地金属層37の上面に、スピンコート法等により塗布されたポジ型のレジスト膜をフォトリソグラフィ法によりパターニングすることにより、第2の上部金属層形成用メッキレジスト膜43を形成する。この状態では、第2の上部金属層形成領域に対応する部分における第2の上部金属層形成用メッキレジスト膜43には開口部44が形成されている。この場合も、第2の上部金属層形成用メッキレジスト膜43の開口部44のサイズは第2の上層絶縁膜31bの開口部36のサイズよりも第2の下地金属層37の膜厚の分だけ小さくなっている。
次に、第2の下地金属層37をメッキ電流路とした銅の電解メッキを行なうことにより、第2の上部金属層形成用メッキレジスト膜43の開口部44内の凹部状の第2の下地金属層37の内部に第2の上部金属層38を形成する。この場合も、第2の上部金属層38の上面は第2の上層絶縁膜31bの上面と面一かそれよりもやや低くなるようにする。次に、第2の上部金属層形成用メッキレジスト膜43をレジスト剥離液を用いて剥離する。
次に、図18に示すように、第2の上部金属層38および第2の下地金属層37の上面に、ネガ型のドライフィルムレジストをラミネートし、該ネガ型のドライフィルムレジストをフォトリソグラフィ法によりパターニングすることにより、柱状電極形成用メッキレジスト膜45を形成する。この状態では、第2の配線39の接続パッド部39b(柱状電極12形成領域)に対応する部分における柱状電極形成用メッキレジスト膜45には開口部46が形成されている。
次に、第2の下地金属層37をメッキ電流路とした銅の電解メッキを行なうことにより、柱状電極形成用メッキレジスト膜45の開口部46内の第2の配線39の接続パッド部39b上面に柱状電極12を形成する。次に、柱状電極形成用メッキレジスト膜45をレジスト剥離液を用いて剥離する。この場合も、柱状電極形成用メッキレジスト膜45は、レジスト剥離液と接触している表面から膨潤して剥離される。
ここで、柱状電極形成用メッキレジスト膜45を形成した状態においては、第2の配線39間に第2の上層絶縁膜31bが存在するので、第2の配線39間に柱状電極形成用メッキレジスト膜45が入り込む余地はない。したがって、第2の配線39間の間隔が狭くなった場合であっても、第2の配線39間に柱状電極形成用メッキレジスト膜45のレジスト残渣が発生することがなく、柱状電極形成用メッキレジスト膜45のレジスト残渣に起因する第2の配線39間でのショートの発生を確実に防止することができる。
このようにして、柱状電極形成用メッキレジスト膜45を剥離したら、次に、第2の配線39をマスクとして第2の配線39下以外の領域における第2の下地金属層37をエッチングして除去すると、図19に示すように、第2の上層絶縁膜31bの開口部36内にのみ第2の下地金属層37が残存される。以下、上記参考実施形態1の場合と同様に、封止膜13形成工程、半田ボール14形成工程およびダイシング工程を経ると、図12に示す半導体装置が複数個得られる。
(第1実施形態)
図20はこの発明の第1実施形態としての半導体装置の断面図を示す。この半導体装置において、図12に示す半導体装置と異なる点は、柱状電極12が形成される第2の配線39の接続パッド部39bに対応する領域の第1の上層絶縁膜31aに開口部51を設け、該開口部51内にダミー下地金属層52およびその上に積層されたダミー上部金属層53からなるダミー接続パッド部54を島状に設けた点である。
この半導体装置では、柱状電極12下の第2の配線39の接続パッド部39b下における第1の上層絶縁膜31aの開口部51内にダミー接続パッド部54を島状に設けているので、すべての柱状電極12の台座部分の高さを揃えることができる。なお、この半導体装置の製造方法は上記第2実施形態の製造方法から容易に理解し得るので、その説明は省略する。
1 シリコン基板
2 接続パッド
3 絶縁膜
5 保護膜
7 上層絶縁膜
9 下地金属層
10 上部金属層
11 配線
12 柱状電極
13 封止膜
14 半田ボール
21 半導体ウエハ
23 上部金属層形成用メッキレジスト膜
25 柱状電極形成用メッキレジスト膜

Claims (4)

  1. 上面に複数の接続パッドを有する半導体基板と、前記半導体基板上に設けられ、前記接続パッドに対応する部分に開口部を有する絶縁膜と、前記絶縁膜の上面に設けられ、下面側配線形成領域に対応する部分に開口部を有する下面側上層絶縁膜と、前記下面側上層絶縁膜の開口部内に前記絶縁膜の開口部を介して前記接続パッドに接続されて設けられた下面側配線と、前記下面側上層絶縁膜および前記下面側配線の上面に設けられ、再配線形成領域に対応する部分に開口部を有する再配線上層絶縁膜と、前記再配線上層絶縁膜の開口部内に前記下面側配線に接続されて設けられ、その上面が前記再配線上層絶縁膜の上面と面一かそれよりも低くなるように設けられた再配線と、前記再配線の接続パッド部上に設けられた柱状電極とを備えており、
    一部の前記下面側配線は前記接続パッドに接続された接続部のみからなり、一部の前記再配線は残りの前記下層側配線の接続パッド部に接続された接続パッド部のみからなり、
    前記絶縁膜上において接続部のみからなる前記下面側配線に接続される前記再配線の接続パッド部下にダミー接続パッド部が島状に設けられていることを特徴とする半導体装置。
  2. 請求項1に記載の発明において、前記再配線上層絶縁膜の開口部内に設けられた前記再配線は、前記再配線上層絶縁膜の開口部の底面および側面に形成された下地金属層と前記下地金属層上に形成された上部金属層を含むことを特徴とする半導体装置。
  3. 請求項1に記載の発明において、前記柱状電極の周囲に封止膜が設けられていることを特徴とする半導体装置。
  4. 請求項3に記載の発明において、前記柱状電極上に半田ボールが設けられていることを特徴とする半導体装置。
JP2010017579A 2010-01-29 2010-01-29 半導体装置 Expired - Fee Related JP5068830B2 (ja)

Priority Applications (1)

Application Number Priority Date Filing Date Title
JP2010017579A JP5068830B2 (ja) 2010-01-29 2010-01-29 半導体装置

Applications Claiming Priority (1)

Application Number Priority Date Filing Date Title
JP2010017579A JP5068830B2 (ja) 2010-01-29 2010-01-29 半導体装置

Related Parent Applications (1)

Application Number Title Priority Date Filing Date
JP2007050001A Division JP4506767B2 (ja) 2007-02-28 2007-02-28 半導体装置の製造方法

Publications (2)

Publication Number Publication Date
JP2010093307A true JP2010093307A (ja) 2010-04-22
JP5068830B2 JP5068830B2 (ja) 2012-11-07

Family

ID=42255665

Family Applications (1)

Application Number Title Priority Date Filing Date
JP2010017579A Expired - Fee Related JP5068830B2 (ja) 2010-01-29 2010-01-29 半導体装置

Country Status (1)

Country Link
JP (1) JP5068830B2 (ja)

Citations (7)

* Cited by examiner, † Cited by third party
Publication number Priority date Publication date Assignee Title
JPH11163529A (ja) * 1997-11-28 1999-06-18 Ibiden Co Ltd 多層プリント配線板及び多層プリント配線板の製造方法
JP2000100847A (ja) * 1998-09-17 2000-04-07 Nec Corp 半導体装置及びその製造方法
JP2001267323A (ja) * 2000-03-21 2001-09-28 Matsushita Electric Ind Co Ltd 半導体装置及びその製造方法
JP2003124394A (ja) * 2001-10-18 2003-04-25 Matsushita Electric Ind Co Ltd 半導体装置
JP2004158758A (ja) * 2002-11-08 2004-06-03 Casio Comput Co Ltd 半導体装置およびその製造方法
JP2004179842A (ja) * 2002-11-26 2004-06-24 Hitachi Ltd 画像情報中継装置、及び画像情報伝送システム
JP2006318943A (ja) * 2005-05-10 2006-11-24 Fujikura Ltd 半導体装置およびその製造方法

Patent Citations (7)

* Cited by examiner, † Cited by third party
Publication number Priority date Publication date Assignee Title
JPH11163529A (ja) * 1997-11-28 1999-06-18 Ibiden Co Ltd 多層プリント配線板及び多層プリント配線板の製造方法
JP2000100847A (ja) * 1998-09-17 2000-04-07 Nec Corp 半導体装置及びその製造方法
JP2001267323A (ja) * 2000-03-21 2001-09-28 Matsushita Electric Ind Co Ltd 半導体装置及びその製造方法
JP2003124394A (ja) * 2001-10-18 2003-04-25 Matsushita Electric Ind Co Ltd 半導体装置
JP2004158758A (ja) * 2002-11-08 2004-06-03 Casio Comput Co Ltd 半導体装置およびその製造方法
JP2004179842A (ja) * 2002-11-26 2004-06-24 Hitachi Ltd 画像情報中継装置、及び画像情報伝送システム
JP2006318943A (ja) * 2005-05-10 2006-11-24 Fujikura Ltd 半導体装置およびその製造方法

Also Published As

Publication number Publication date
JP5068830B2 (ja) 2012-11-07

Similar Documents

Publication Publication Date Title
CN101183668B (zh) 电解电镀形成突起电极的半导体装置及其制造方法
CN101548378B (zh) 半导体器件及其制造方法
JP5291485B2 (ja) 半導体装置の製造方法
JP2012054359A (ja) 半導体装置および半導体装置の製造方法
JP2018107262A (ja) 半導体装置及び半導体装置の製造方法
JP2009177072A (ja) 半導体装置及びその製造方法
JP2008141021A (ja) 半導体装置及び半導体装置の製造方法
US8349736B2 (en) Semiconductor device manufacturing method and semiconductor device
JP3945380B2 (ja) 半導体装置およびその製造方法
JP4506767B2 (ja) 半導体装置の製造方法
JP2004349610A (ja) 半導体装置およびその製造方法
CN103456715A (zh) 中介基材及其制作方法
JP2008244383A (ja) 半導体装置およびその製造方法
JP2019083250A (ja) 半導体装置及び半導体装置の製造方法
JP5068830B2 (ja) 半導体装置
JP5247998B2 (ja) 半導体装置の製造方法
JP4686962B2 (ja) 半導体装置の製造方法
JP2010062170A (ja) 半導体装置およびその製造方法
JP2012253189A (ja) 半導体装置の製造方法、及び半導体装置
JP4987683B2 (ja) 半導体装置およびその製造方法
JP5095991B2 (ja) 半導体装置の製造方法
TWI678743B (zh) 半導體線路結構及其製作方法
JP2011091432A (ja) 半導体装置の製造方法
JP2011014843A (ja) 半導体装置およびその製造方法
JP2010062176A (ja) 半導体装置およびその製造方法

Legal Events

Date Code Title Description
A621 Written request for application examination

Free format text: JAPANESE INTERMEDIATE CODE: A621

Effective date: 20100129

A711 Notification of change in applicant

Free format text: JAPANESE INTERMEDIATE CODE: A712

Effective date: 20111108

A521 Request for written amendment filed

Free format text: JAPANESE INTERMEDIATE CODE: A523

Effective date: 20111216

A977 Report on retrieval

Free format text: JAPANESE INTERMEDIATE CODE: A971007

Effective date: 20120731

TRDD Decision of grant or rejection written
A01 Written decision to grant a patent or to grant a registration (utility model)

Free format text: JAPANESE INTERMEDIATE CODE: A01

Effective date: 20120814

A01 Written decision to grant a patent or to grant a registration (utility model)

Free format text: JAPANESE INTERMEDIATE CODE: A01

A61 First payment of annual fees (during grant procedure)

Free format text: JAPANESE INTERMEDIATE CODE: A61

Effective date: 20120815

FPAY Renewal fee payment (event date is renewal date of database)

Free format text: PAYMENT UNTIL: 20150824

Year of fee payment: 3

R150 Certificate of patent or registration of utility model

Free format text: JAPANESE INTERMEDIATE CODE: R150

LAPS Cancellation because of no payment of annual fees