JP2010088217A - グロメット - Google Patents

グロメット Download PDF

Info

Publication number
JP2010088217A
JP2010088217A JP2008254989A JP2008254989A JP2010088217A JP 2010088217 A JP2010088217 A JP 2010088217A JP 2008254989 A JP2008254989 A JP 2008254989A JP 2008254989 A JP2008254989 A JP 2008254989A JP 2010088217 A JP2010088217 A JP 2010088217A
Authority
JP
Japan
Prior art keywords
cylindrical portion
diameter cylindrical
flap
grommet
small
Prior art date
Legal status (The legal status is an assumption and is not a legal conclusion. Google has not performed a legal analysis and makes no representation as to the accuracy of the status listed.)
Granted
Application number
JP2008254989A
Other languages
English (en)
Other versions
JP5163406B2 (ja
Inventor
Takashi Suzuki
隆史 鈴木
Current Assignee (The listed assignees may be inaccurate. Google has not performed a legal analysis and makes no representation or warranty as to the accuracy of the list.)
Sumitomo Wiring Systems Ltd
Original Assignee
Sumitomo Wiring Systems Ltd
Priority date (The priority date is an assumption and is not a legal conclusion. Google has not performed a legal analysis and makes no representation as to the accuracy of the date listed.)
Filing date
Publication date
Application filed by Sumitomo Wiring Systems Ltd filed Critical Sumitomo Wiring Systems Ltd
Priority to JP2008254989A priority Critical patent/JP5163406B2/ja
Publication of JP2010088217A publication Critical patent/JP2010088217A/ja
Application granted granted Critical
Publication of JP5163406B2 publication Critical patent/JP5163406B2/ja
Expired - Fee Related legal-status Critical Current
Anticipated expiration legal-status Critical

Links

Images

Landscapes

  • Insulating Bodies (AREA)
  • Installation Of Indoor Wiring (AREA)

Abstract

【課題】遮音部を備えたグロメットの遮音性をさらに高める。
【解決手段】ワイヤハーネス70を密着させて挿通する小径筒部11と、拡径筒部12と、大径筒部13とを連続して備え、車体パネル60の貫通穴61に取り付けられるグロメット10において、小径筒部11の外周面に、軸線方向に間隔をあけて第1フラップ18と第2フラップ19とを突設し、前記車体パネル60に取り付けた状態で、第1フラップ18の先端周縁部18aは車体パネル60の一面側に積層した遮音材62の表面に当接し、第2フラップ19の先端周縁部19aは第1フラップ18に当接し又は遮音材62に直接当接して、第1フラップ18と拡径筒部12と大径筒部13と遮音材62の開口周縁に囲まれた第1吸音用空気層S1と、第1フラップ18と第2フラップ19と小径筒部11に囲まれた第2吸音用空気層S2とを設ける構成としている。
【選択図】図2

Description

本発明は、自動車の車体に設けられた貫通穴に、ワイヤハーネスを挿通した状態で取り付けるグロメットに関し、特に、遮音部によるシール構造を備えるものにおいて、さらなる遮音性向上を図るものである。
自動車のエンジンルームと車室とを仕切る車体パネルに設けた貫通穴にワイヤハーネスを貫通させて配索する場合、ゴムあるいはエストラマー製のグロメットを介在させて、車室への防水、防塵、遮音等を図っている。なかでも、遮音部を有するグロメットは、エンジンルームの騒音が車室内に伝わることを防止、抑制するものとして広く用いられている。
図12は、この種のグロメットとして、登録実用新案第3049904号で示されたグロメットである。このグロメット1は、ワイヤハーネスWを密着させて挿通する両端の小径筒部2、3を大径筒部4を介して軸線方向に連続させ、大径筒部4の外周面に車体パネル7の貫通穴7aと嵌合する車体係止凹部5を形成すると共に、該外周面から遮音用フラップ6を突設している。該グロメット1は、遮音用フラップ6の周縁部先端を、車体パネル7に積層した遮音材8の表面に当接させて該遮音材8の貫通穴8aをシールすると共に、前記フラップ6と大径筒部4と遮音材8の貫通穴8aの内周面とで囲まれた空間に密閉された空気層9を形成することで遮音性を高めている。
しかしながら、近年は車室内における高度な静寂性が求められる傾向にあるため、グロメットの遮音性能のさらなる向上が必要となっている。
登録実用新案第3049904号公報
本発明は前記問題に鑑みてなされたもので、遮音部を備えるグロメットにおいて、遮音性能をさらに高めることを課題としている。
前記課題を解決するために、本発明は、車両に配索するワイヤハーネスを密着させて挿通する小径筒部と、該小径筒部の一端と連続する拡径筒部と、該拡径筒部の大径側先端と連続する大径筒部と、該大径筒部の外周面に設けた車体パネルの貫通穴に嵌合する環状の車体係止凹部とを備えた弾性材からなるグロメットであって、
前記小径筒部の外周面には、軸線方向に間隔をあけて前記拡径筒部側へ向けて円錐状に突出させた第1フラップと第2フラップとを備え、
前記第1フラップは、その周縁を前記車体パネルの一面側に積層した遮音材の表面に前記貫通穴を囲むように当接する大きさとし、前記第2フラップは、その周縁が前記遮音材と当接している第1フラップに当接し、又は第2フラップの周縁が前記遮音材に直接当接する大きさとし、前記車体パネルに取り付けた状態で、前記第1フラップと前記拡径筒部と前記大径筒部と前記遮音材の開口周縁に囲まれた第1吸音用空気層と、該第1フラップと前記第2フラップと前記小径筒部に囲まれた第2吸音用空気層とを設ける構成としていることを特徴とするグロメットを提供している。
このように、グロメットの小径筒部の外周面から軸線方向に間隔をあけて2枚のフラップを突設することにより、該グロメットを車体パネルの貫通穴に取り付けたときに、該貫通穴部分において、車体パネルを挟んだ一面側と他面側との間に前記2つの密閉された吸音用空気層を形成でき、この2つの吸音用空気層と2枚のフラップを介して貫通穴を封鎖できるため、1枚のフラップと1つの空気層で貫通穴を封鎖する従来のグロメットよりもさらに遮音性能を向上させることができる。
さらに、本発明は、車両に配索するワイヤハーネスを密着させて挿通する小径筒部と、該小径筒部の一端と連続する拡径筒部と、該拡径筒部の大径側先端と連続する大径筒部と、該大径筒部の外周面に設けた車体パネルの貫通穴に嵌合する環状の車体係止凹部とを備えた弾性材からなるグロメットであって、
前記小径筒部に取り付ける後付部材を備え、該後付部材は前記本体側小径筒部に連結又は外嵌する後付側小径筒部と、該後付側小径筒部の外周面より軸線方向に間隔をあけて円錐状に突出させた第1フラップと第2フラップを備え、
前記第1フラップは、その周縁を前記車体パネルの一面側に積層した遮音材の表面に前記貫通穴を囲むように当接する大きさとし、前記第2フラップは、その周縁が前記遮音材と当接している第1フラップに当接し又は第2フラップの周縁が前記遮音材に直接当接する大きさとし、前記車体パネルに取り付けた状態で、前記第1フラップと前記拡径筒部と前記大径筒部と前記遮音材の開口周縁に囲まれた第1吸音用空気層と、該第1フラップと前記第2フラップと前記後付側小径筒部に囲まれた第2吸音用空気層とを設ける構成としていることを特徴とするグロメットを提供している。
このように第1フラップと第2フラップを前記後付部材に備え、該後付部材をグロメットの本体側小径筒部に取り付ける構成とすることにより、グロメットにフラップを一体成形するときほどの高度な技術を必要とせず、容易に製造することができる。
前記後付部材は、前記後付側小径筒部の後端面と前記第1フラップの内周面とを連続させて断面く字状の段状凹部を形成すると共に、該後付部材をグロメットに取り付けるときに、前記段状凹部の底面となる前記後付側小径筒部の後端面を、前記本体側小径筒部の開口側端面又は該本体側小径筒部の外周面より突設した被突き当てリブに突き当てて位置決めできる構成としていることが好ましい。
このように、グロメットの本体側と後付部材側に、互いに突き当てて位置決めできる構造を備えることにより、後付部材の取付時に該後付部材のグロメット本体に対する位置決めを容易かつ正確に行うことができる。よって、後付部材を本体側に深く嵌め込みすぎて前記第1吸音空気層を潰してしまう、あるいは、浅く嵌め込みすぎて第1フラップが前記遮音材の表面に当接せず浮いてしまうことに因る空気層の形成不良を防止し、常に安定した優れた遮音性を機能させることができる。
グロメット前記本体側小径筒部には、前記後付部材の前方への抜けを防止する突起を形成してもよい。
具体的には、後付部材の小径筒部を本体側小径筒部に外嵌して後付部材をグロメット本体に取り付ける構成とすると共に、本体側小径筒部の開口端(前端)より外側に被突き当てリブを突設し、後付側小径筒部の前端面、あるいは、該前端より外側に突設した突き当てリブを前記被突き当てリブの後端面に突き当てる。これにより、後付部材がグロメット本体への正常な取付位置よりも前方に位置ズレすることを防止できる。
上述したように、本発明のグロメットは、二重フラップ構造とすることにより、車体パネルの貫通穴部分に2つの密閉された吸音用空気層を形成することができ、この2つの吸音用空気層と2枚のフラップを介して前記貫通穴をシールすることができる。よって、1枚のフラップとで1つの吸音用空気層によって貫通穴をシールする従来のグロメットに比して、遮音性能をさらに高めることができる。
また、前記2枚のフラップを後付部材に備え、該後付部材をグロメットの本体側小径筒部に取り付ける構成とすることにより、グロメットにフラップを一体成形する技術よりも易しい技術で容易に製造することができる。
以下、本発明の実施形態を図面を参照して説明する。
いずれの実施形態も、図2に示すように、自動車のエンジンルームXと車室Yとを仕切る車体パネル60(ダッシュパネル)に設けた貫通穴61を挿通するワイヤハーネス70に装着して前記貫通穴61に取り付けられるグロメットに本発明を適用している。車体パネル60の車室Y側面には遮音材62を積層し、該遮音材62には車体パネル60の貫通穴61と連通する内側貫通穴63を設けている。
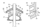
図1および図2に、本発明の第1実施形態に係るグロメット10を示す。
グロメット10はゴム又はエストラマーからなる一体成形品である。図1に示すように、小径筒部11と、該小径筒部11の一端と連続する拡径筒部12と、該拡径筒部12の大径側先端と連続する大径筒部13と、該大径筒部13の先端内周面から突設する閉鎖壁部14とを備え、前記大径筒部13の外周面には、車体パネル60の前記貫通穴61の周縁部と嵌合する環状の車体係止凹部17を凹設している。
前記閉鎖壁部14の中央には、ワイヤハーネス70を挿通するためのハーネス貫通穴15を設けており、連続して設ける小径筒部11、拡径筒部12、大径筒部13、ハーネス貫通穴15の同一軸線に沿った中空部をワイヤハーネス挿通路16としている。前記小径筒部11とハーネス貫通穴15は、ワイヤハーネス挿通路16に挿通したワイヤハーネス70の両端部外周面にそれぞれ密嵌する構成としている。
前記小径筒部11の外周面からは、軸線方向に間隔をあけて、拡径筒部12に向けて円錐状に突出させた遮音用の第1フラップ18と第2フラップ19を突設している。
前記第1フラップ18は、図2に示すように、その先端周縁部18aが、グロメット10を車体パネル60の貫通穴61に取り付けた状態において、該車体パネル60に積層した前記遮音材62の前記内側貫通穴63を囲むように該遮音材62の表面に当接する大きさとしている。
前記第2フラップ19は、その先端周縁部19aが、遮音材62に当接した前記第1フラップ18の先端側外周面に当接する大きさとしている。
前記構成のグロメット10は、図2に示すように、ワイヤハーネス70を挿通して車体パネル60の貫通穴61に取り付けられた状態において、遮音材62の内側貫通穴63の内周面63aとグロメット10と外周面との隙間を前記第1フラップ18でシールすることができるうえ、第1フラップ18と小径筒部11と拡径筒部12と大径筒部13と遮音材62の前記内側貫通穴63の内周面63aとで囲まれた部分に、密閉された第1吸音用空気層S1を形成し、かつ、第1フラップ18と第2フラップ19と小径筒部11とで囲まれた部分にも密閉された第2吸音用空気層S2を形成することができる。このように、グロメット10は、第1フラップ18と第2フラップ19の二重フラップ構造により、密閉された吸音用空気層を2つに増やすことができるため、従来のグロメットよりも遮音性が向上し、車室Y側の静寂性を高めることができる。
前記グロメット10は、図3に示す変形例1のように、第2フラップ19を第1フラップ18よりも大径とし、該第2フラップ19の先端周縁部19aを、遮音材62に当接した第1フラップ18の外側を囲むように遮音材62の表面に当接させてもよい。
本変形例1においても、前記第1吸音用空気層S1に加えて、第1フラップ18と第2フラップ19と遮音材62と小径筒部11とに囲まれた部分に密閉された第2吸音用空気層S2を形成することができるため、優れた遮音性を備えることができる。
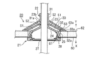
図4乃至図6に、本発明の第2実施形態に係るグロメット20を示す。
グロメット20は、互いに別体からなるグロメット本体21と後付部材22とを連結してなる。
グロメット本体21は、ゴム又はエストラマーからなる一体成形品であり、図4に示すように、軸線方向に短い小径筒部(本体側小径筒部)23と、該小径筒部23の一端と連続する拡径筒部24と、該拡径筒部24の大径側先端と連続する大径筒部25と、該大径筒部25の先端内周面から突設する閉鎖壁部26とを備えている。大径筒部25の外周面には、車体パネル60の前記貫通穴61の周縁部と嵌合する環状の車体係止凹部28を凹設している。
前記閉鎖壁部26の中央には、ワイヤハーネス70を挿通するためのハーネス貫通穴27を設けており、該ハーネス貫通穴27と前記小径筒部23は、ワイヤハーネス70の両端部外周面にそれぞれ密嵌する構成としている。
前記本体側小径筒部23の開口側先端面23bは、グロメット本体21と後付部材22との連結時の突き当て面であり、本体側小径筒部23の軸線方向に直交する垂直面としている。
前記後付部材22は、ゴム又はエストラマーからなる一体成形品であり、図4に示すように、小径筒部(後付側小径筒部)31と、該小径筒部31の軸線方向一端側の外周面より円錐状に突出させた遮音用の第1フラップ32と、該第1フラップ32から軸線方向に間隔をあけた小径筒部31の軸線方向中央部の外周面より前記第1フラップ32と略平行に円錐状に突出させた遮音用の第2フラップ33とを備えている。
前記第1フラップ32は、図6に示すように、その先端周縁部32aが、グロメット20を車体パネル60の貫通穴61に取り付けた状態において、車体パネル60に積層した前記遮音材62の前記内側貫通穴63を囲むように該遮音材62の表面に当接する大きさとしている。
前記第2フラップ33は、その先端周縁部33aが、遮音材62に当接した前記第1フラップ32の先端側外周面に当接する大きさとしている。
前記後付側小径筒部31のフラップ突出側の先端面31a(後端面31a)は、グロメット本体21と後付部材22との連結に際しての突き当て面となる。該突き当て面31aは、前記軸線方向に対して直交する垂直面とし、図4に示すように、この垂直な突き当て面31aと第1フラップ32の傾斜した内周面32bとを連続させて、該突き当て面31aを底面とする断面く字状の段状凹部34を形成している。
前記グロメット20をワイヤハーネス70に装着するに際しては、まず、図5(A)に示すように、グロメット本体21をワイヤハーネス70に挿通し、本体側小径筒部23とワイヤハーネス70とをテープ巻き(図示せず)してグロメット本体21をワイヤハーネス70に位置決め固定した後、該ワイヤハーネス70に後付部材22を挿通し、図5(B)に示すように、本体側小径筒部23の開口側先端面23bに、前記後付側小径筒部31の後端面31aを突き当てて位置決めし、本体側小径筒部23と後付側小径筒部31の中空部が連続するようにグロメット本体21と後付部材22とを連結した状態で、後付側小径筒部31とワイヤハーネス70とをテープ巻き(図示せず)して後付部材22をワイヤハーネス70に位置決め固定する。
このようにグロメット本体21に後付部材22を連結してなるグロメット20は、図6に示すように、車体パネル60の貫通穴61に取り付けられた状態において、後付部材22の第1フラップ32の先端周縁部32aが遮音材62の表面に当接する。これにより、該遮音材62の内側貫通穴63の内周面63aとグロメット本体21の外周面との間の隙間をシールすることができる。かつ、第1フラップ32と本体側小径筒部23と拡径筒部24と大径筒部25と遮音材62の内側貫通穴63の内周面63aとで囲まれた部分に密閉された第1吸音用空気層S1を形成する。かつ、第1フラップ32と第2フラップ33と後付側小径筒部31とで囲まれた部分にも密閉された第2吸音用空気層S2を形成することができる。よって、前記第1実施形態と同様に、従来のグロメットよりも吸音用空気層を増やすことができるため、遮音性を高めることができる。
また、前記グロメット20は、フラップ32、33を備えた後付部材22を、グロメット本体21とは別体としているため、グロメット本体にフラップを一体成形する場合ほどの高度な技術を必要とせず、比較的容易に製造することができる。
さらに、後付側小径筒部31の後端面31aと第1フラップ32の内周面32bとで断面く字状の段状凹部34を形成しているため、グロメット本体21に後付部材22を取り付けるときに、図5(B)に示すように、本体側小径筒部23の開口側先端部23aが前記段状凹部34内に収まり、この本体側小径筒部23の開口側先端面23bに後付側小径筒部31の前記後端面31aを容易かつ正確に突き当てることができる。また、本体側小径筒部23の開口側先端部23aが段状凹部34内に嵌り込む。これにより、本体側小径筒部23と後付側小径筒部31の互いの突き当て面23b、31aが位置ズレすることも防止できる。よって、グロメット本体21と後付部材22とを容易かつ正確に、隙間なく連結することができるため、作業性および品質安定性を高めることができる。
図7に第2実施形態の変形例1を示す。
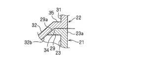
変形例1では、後付側小径筒部31の後端部よりフランジ部35を外方に突設し、該フランジ部35の外周端から第1フラップ32を突設している。また、本体側小径筒部23の開口側先端(前端)より外方に環状の被突き当てリブ29を突設している。
このように、後付側小径筒部31に前記フランジ部35を形成することにより、該後付側小径筒部31の後端面31aの面積を大きくでき、該後端面31aが突き当たる本体側小径筒部23の開口側先端面23bも前記被突き当てリブ29の形成により大きくなり、互いの突き当て面積を拡大できるため、前記突き当て状態を安定させ、かつ、強化することができる。
前記被突き当てリブ29の外周面29aは、図8に示す変形例2のように、後付部材22の第1フラップ32の内周面32bに当接するようにテーパー状に突出させてもよい。これにより、グロメット本体21の開口側先端部23aを、後付部材22の前記段状凹部34内へ嵌め込んだときのフィット感が高まるため、前記突き当て状態を一層安定させ、強化することができる。
図9乃至図11に、本発明の第3実施形態に係るグロメット40を示す。
グロメット40は、互いに別体からなるグロメット本体41と後付部材42とを嵌合してなる。
グロメット本体41は、ゴム又はエストラマーからなる一体成形品であり、図9に示すように、小径筒部(本体側小径筒部)43と、該小径筒部43の一端と連続する拡径筒部44と、該拡径筒部44の大径側先端と連続する大径筒部45と、該大径筒部45の先端内周面から突設する閉鎖壁部46とを備えている。大径筒部45の外周面には、車体パネル60の前記貫通穴61の周縁部と嵌合する環状の車体係止凹部48を凹設している。
前記閉鎖壁部46の中央には、ワイヤハーネス70を挿通するためのハーネス貫通穴47を設けており、該ハーネス貫通穴47と前記小径筒部43は、ワイヤハーネス70の両端部外周面にそれぞれ密嵌する構成としている。
前記後付部材42は、ゴム又はエストラマーからなる一体成形品であり、図9に示すように、前記本体側小径筒部43に外嵌する小径筒部(後付側小径筒部)51と、該小径筒部51の軸線方向一端側の外周面より円錐状に突出させた遮音用の第1フラップ52と、該第1フラップ52から軸線方向に間隔をあけた小径筒部51の軸線方向中央部の外周面より前記第1フラップ52と略平行に円錐状に突出させた遮音用の第2フラップ53とを備えている。
前記第1フラップ52は、図11に示すように、その先端周縁部52aが、グロメット40を車体パネル60の貫通穴61に取り付けた状態において、車体パネル60に積層した前記遮音材62の前記内側貫通穴63を囲むように該遮音材62の表面に当接する大きさとしている。
前記第2フラップ53は、その先端周縁部53aが、遮音材62に当接した前記第1フラップ52の先端側外周面に当接する大きさとしている。
前記後付側小径筒部51のフラップ突出側の先端面51a(後端面51a)は、後付部材42をグロメット本体41に取り付けるときの突き当て面となる。該突き当て面51aは、前記軸線方向に対して直交する垂直面とし、図9に示すように、この垂直な突き当て面51aと第1フラップ52の傾斜した内周面52bとを連続させて、該突き当て面51aを底面とする断面く字状の段状凹部54を形成している。
前記後付側小径筒部51には、その前端より外側に環状の突き当てリブ55を突設している。
前記本体側小径筒部43の外周面には、該グロメット本体41に後付部材42を正常に取り付けた状態において後付部材42の前記突き当て面51aが突き当たる被突き当て後端リブ49を環状に突設している。また、該本体側小径筒部43の開口側先端(前端)には、後付部材42の前記突き当てリブ55の前端面55aが突き当たる環状の被突き当て前端リブ50を外側に突設している。
前記グロメット40をワイヤハーネス70に装着するに際しては、まず、図10(A)に示すように、グロメット本体41をワイヤハーネス70に挿通し、該ワイヤハーネス70の所要位置にグロメット本体41を取り付ける。
次いで、該ワイヤハーネス70に後付部材42を挿通して後付側小径筒部51を本体側小径筒部43に外嵌し、図10(B)に示すように、本体側小径筒部43の前記被突き当て後端リブ49に後付側小径筒部51の前記後端面51aを突き当てる。かつ、本体側小径筒部43の前記被突き当て前端リブ50に後付側小径筒部51の前記突き当てリブ55の前端面55aを突き当てて、グロメット本体41に後付部材42を嵌合する。
次いで、この嵌合状態で、後付側小径筒部51とワイヤハーネス70とをテープ巻き(図示せず)して後付部材42とグロメット本体41を一体にワイヤハーネス70に位置決め固定する。
このようにグロメット本体41に後付部材42を後付けしてなるグロメット40は、本体側小径筒部43に突設した被突き当て後端リブ49に後付側小径筒部51の後端面51aが突き当たることにより、後付部材42がグロメット本体41に対して深く嵌り込みすぎることを規制できる。また、本体側小径筒部43に突設した被突き当て前端リブ50に後付側小径筒部51の突き当てリブ55が突き当たることにより、後付部材42のグロメット本体41への嵌めこみが浅くなりすぎたり、後付部材42が前方へ抜け外れることを規制できる。よって、これらの突き当て構造により、グロメット本体41への後付部材42の取り付けを容易かつ正確に行うことができるため、作業性および品質安定性を高めることができる。
また、前記グロメット40が、第1吸音用空気層S1と第2吸音用空気層S2を形成して優れた遮音性を有すること、および、製造が容易であることについては、前記第2実施形態と同じである。
本発明の第1実施形態に係るグロメットの断面図である。 図1に示すグロメットを車体パネルに取り付けた状態を示す断面図である。 第1実施形態の変形例1を示す断面図である。 本発明の第2実施形態に係るグロメットの分解断面図である。 (A)(B)は、図4に示すグロメットのワイヤハーネスへの装着作業を示す説明断面図である。 図4に示すグロメットを車体パネルに取り付けた状態を示す断面図である。 第2実施形態の変形例1を示す要部拡大断面図である。 第2実施形態の変形例2を示す要部拡大断面図である。 本発明の第2実施形態に係るグロメットの分解断面図である。 (A)(B)は図9に示すグロメットのワイヤハーネスへの装着作業を示す説明断面図である。 図9に示すグロメットを車体パネルに取り付けた状態を示す断面図である。 従来例を示す図である。
符号の説明
10(20、40) グロメット
11 小径筒部
12 拡径筒部
13 大径筒部
18 第1フラップ
19 第2フラップ
60 車体パネル
61 貫通穴
62 遮音材
70 ワイヤハーネス
S1 第1吸音用空気層
S2 第2吸音用空気層

Claims (3)

  1. 車両に配索するワイヤハーネスを密着させて挿通する小径筒部と、該小径筒部の一端と連続する拡径筒部と、該拡径筒部の大径側先端と連続する大径筒部と、該大径筒部の外周面に設けた車体パネルの貫通穴に嵌合する環状の車体係止凹部とを備えた弾性材からなるグロメットであって、
    前記小径筒部の外周面には、軸線方向に間隔をあけて前記拡径筒部側へ向けて円錐状に突出させた第1フラップと第2フラップとを備え、
    前記第1フラップは、その周縁を前記車体パネルの一面側に積層した遮音材の表面に前記貫通穴を囲むように当接する大きさとし、前記第2フラップは、その周縁が前記遮音材と当接している第1フラップに当接し、又は第2フラップの周縁が前記遮音材に直接当接する大きさとし、前記車体パネルに取り付けた状態で、前記第1フラップと前記拡径筒部と前記大径筒部と前記遮音材の開口周縁に囲まれた第1吸音用空気層と、該第1フラップと前記第2フラップと前記小径筒部に囲まれた第2吸音用空気層とを設ける構成としていることを特徴とするグロメット。
  2. 車両に配索するワイヤハーネスを密着させて挿通する小径筒部と、該小径筒部の一端と連続する拡径筒部と、該拡径筒部の大径側先端と連続する大径筒部と、該大径筒部の外周面に設けた車体パネルの貫通穴に嵌合する環状の車体係止凹部とを備えた弾性材からなるグロメットであって、
    前記小径筒部に取り付ける後付部材を備え、該後付部材は前記本体側小径筒部に連結又は外嵌する後付側小径筒部と、該後付側小径筒部の外周面より軸線方向に間隔をあけて円錐状に突出させた第1フラップと第2フラップを備え、
    前記第1フラップは、その周縁を前記車体パネルの一面側に積層した遮音材の表面に前記貫通穴を囲むように当接する大きさとし、前記第2フラップは、その周縁が前記遮音材と当接している第1フラップに当接し又は第2フラップの周縁が前記遮音材に直接当接する大きさとし、前記車体パネルに取り付けた状態で、前記第1フラップと前記拡径筒部と前記大径筒部と前記遮音材の開口周縁に囲まれた第1吸音用空気層と、該第1フラップと前記第2フラップと前記後付側小径筒部に囲まれた第2吸音用空気層とを設ける構成としていることを特徴とするグロメット。
  3. 前記後付部材は、前記後付側小径筒部の後端面と前記第1フラップの内周面とを連続させて断面く字状の段状凹部を形成すると共に、該後付部材をグロメットに取り付けるときに、前記段状凹部の底面となる前記後付側小径筒部の後端面を、前記本体側小径筒部の開口側端面又は該本体側小径筒部の外周面より突設した被突き当てリブに突き当てて位置決めできる構成としている請求項2に記載のグロメット。
JP2008254989A 2008-09-30 2008-09-30 グロメット Expired - Fee Related JP5163406B2 (ja)

Priority Applications (1)

Application Number Priority Date Filing Date Title
JP2008254989A JP5163406B2 (ja) 2008-09-30 2008-09-30 グロメット

Applications Claiming Priority (1)

Application Number Priority Date Filing Date Title
JP2008254989A JP5163406B2 (ja) 2008-09-30 2008-09-30 グロメット

Publications (2)

Publication Number Publication Date
JP2010088217A true JP2010088217A (ja) 2010-04-15
JP5163406B2 JP5163406B2 (ja) 2013-03-13

Family

ID=42251621

Family Applications (1)

Application Number Title Priority Date Filing Date
JP2008254989A Expired - Fee Related JP5163406B2 (ja) 2008-09-30 2008-09-30 グロメット

Country Status (1)

Country Link
JP (1) JP5163406B2 (ja)

Cited By (3)

* Cited by examiner, † Cited by third party
Publication number Priority date Publication date Assignee Title
JP2014181461A (ja) * 2013-03-18 2014-09-29 Yamaha Corp 防音パネル
CN106716759A (zh) * 2014-09-16 2017-05-24 矢崎总业株式会社 索环及其制造方法
WO2022181362A1 (ja) * 2021-02-24 2022-09-01 住友電装株式会社 グロメット

Citations (2)

* Cited by examiner, † Cited by third party
Publication number Priority date Publication date Assignee Title
JPH1047548A (ja) * 1996-08-01 1998-02-20 Sumitomo Wiring Syst Ltd グロメットおよび該グロメットの製造方法
JPH10246333A (ja) * 1997-03-03 1998-09-14 Sumitomo Wiring Syst Ltd グロメット

Patent Citations (2)

* Cited by examiner, † Cited by third party
Publication number Priority date Publication date Assignee Title
JPH1047548A (ja) * 1996-08-01 1998-02-20 Sumitomo Wiring Syst Ltd グロメットおよび該グロメットの製造方法
JPH10246333A (ja) * 1997-03-03 1998-09-14 Sumitomo Wiring Syst Ltd グロメット

Cited By (6)

* Cited by examiner, † Cited by third party
Publication number Priority date Publication date Assignee Title
JP2014181461A (ja) * 2013-03-18 2014-09-29 Yamaha Corp 防音パネル
CN106716759A (zh) * 2014-09-16 2017-05-24 矢崎总业株式会社 索环及其制造方法
WO2022181362A1 (ja) * 2021-02-24 2022-09-01 住友電装株式会社 グロメット
JP2022129142A (ja) * 2021-02-24 2022-09-05 住友電装株式会社 グロメット
JP7344913B2 (ja) 2021-02-24 2023-09-14 住友電装株式会社 グロメット
US12374475B2 (en) 2021-02-24 2025-07-29 Sumitomo Wiring Systems, Ltd. Grommet

Also Published As

Publication number Publication date
JP5163406B2 (ja) 2013-03-13

Similar Documents

Publication Publication Date Title
JP2001333521A (ja) グロメット
US9884541B2 (en) Vehicular door structure
JPH1047548A (ja) グロメットおよび該グロメットの製造方法
WO2009104286A1 (ja) グロメット
CN112864986A (zh) 线束索环
JP5163406B2 (ja) グロメット
JP2016207358A (ja) グロメット
JP2006240511A (ja) ステアリングカバー
US20140252792A1 (en) Pass-through element for a motor vehicle front of dash system
WO2020039854A1 (ja) リテーナ部材
JP2001287591A (ja) ハウジング
JP2001245424A (ja) グロメット
JP2010074924A (ja) グロメット
JP4439657B2 (ja) 振動遮断防音材
JP2001231135A (ja) グロメット、該グロメットのパネル取付方法および取付構造
JP2005324613A (ja) グロメット
JP2010075031A (ja) グロメット
JP4483767B2 (ja) グロメット
CN205059289U (zh) 一种汽车内饰仪表板与车身前围钣金的连接装配结构
JP2016207359A (ja) グロメット
JP4617935B2 (ja) 自動車用グロメット
JP2000358315A (ja) グロメット
JPH08308067A (ja) グロメット
JP6747890B2 (ja) 車両用緩衝部品
JPH09289726A (ja) グロメット

Legal Events

Date Code Title Description
A621 Written request for application examination

Free format text: JAPANESE INTERMEDIATE CODE: A621

Effective date: 20110330

A977 Report on retrieval

Free format text: JAPANESE INTERMEDIATE CODE: A971007

Effective date: 20120817

A131 Notification of reasons for refusal

Free format text: JAPANESE INTERMEDIATE CODE: A131

Effective date: 20120918

A521 Written amendment

Free format text: JAPANESE INTERMEDIATE CODE: A523

Effective date: 20121026

TRDD Decision of grant or rejection written
A01 Written decision to grant a patent or to grant a registration (utility model)

Free format text: JAPANESE INTERMEDIATE CODE: A01

Effective date: 20121120

A61 First payment of annual fees (during grant procedure)

Free format text: JAPANESE INTERMEDIATE CODE: A61

Effective date: 20121203

FPAY Renewal fee payment (event date is renewal date of database)

Free format text: PAYMENT UNTIL: 20151228

Year of fee payment: 3

R150 Certificate of patent or registration of utility model

Ref document number: 5163406

Country of ref document: JP

Free format text: JAPANESE INTERMEDIATE CODE: R150

Free format text: JAPANESE INTERMEDIATE CODE: R150

LAPS Cancellation because of no payment of annual fees