JP2010085751A - カメラ用羽根駆動装置 - Google Patents

カメラ用羽根駆動装置 Download PDF

Info

Publication number
JP2010085751A
JP2010085751A JP2008255365A JP2008255365A JP2010085751A JP 2010085751 A JP2010085751 A JP 2010085751A JP 2008255365 A JP2008255365 A JP 2008255365A JP 2008255365 A JP2008255365 A JP 2008255365A JP 2010085751 A JP2010085751 A JP 2010085751A
Authority
JP
Japan
Prior art keywords
blade
plate
coil
outer peripheral
camera
Prior art date
Legal status (The legal status is an assumption and is not a legal conclusion. Google has not performed a legal analysis and makes no representation as to the accuracy of the status listed.)
Granted
Application number
JP2008255365A
Other languages
English (en)
Other versions
JP5373351B2 (ja
Inventor
Kiyomi Yoshida
清美 吉田
Kazuya Atsuta
一也 熱田
Nobuaki Watabe
伸昭 渡部
Yusuke Ebara
悠介 江原
Kenzo Imai
謙三 今井
Hiromi Haruyama
陽 春山
Ryoji Sawaki
亮二 澤木
Kazuo Shikima
和雄 色摩
Current Assignee (The listed assignees may be inaccurate. Google has not performed a legal analysis and makes no representation or warranty as to the accuracy of the list.)
Nidec Precision Corp
Original Assignee
Nidec Copal Corp
Priority date (The priority date is an assumption and is not a legal conclusion. Google has not performed a legal analysis and makes no representation as to the accuracy of the date listed.)
Filing date
Publication date
Application filed by Nidec Copal Corp filed Critical Nidec Copal Corp
Priority to JP2008255365A priority Critical patent/JP5373351B2/ja
Publication of JP2010085751A publication Critical patent/JP2010085751A/ja
Application granted granted Critical
Publication of JP5373351B2 publication Critical patent/JP5373351B2/ja
Expired - Fee Related legal-status Critical Current
Anticipated expiration legal-status Critical

Links

Images

Landscapes

  • Shutters For Cameras (AREA)
  • Permanent Magnet Type Synchronous Machine (AREA)
  • Diaphragms For Cameras (AREA)

Abstract

【課題】略U字形のヨークを有する電磁アクチュエータが少なくとも1枚の羽根を往復作動させるカメラ用羽根駆動装置であって、地板の形状精度や強度を確保しつつ、装置の薄型化と、地板の平面形状の小型化を可能にしたカメラ用羽根駆動装置を提供すること。
【解決手段】シャッタ羽根4は、回転子5の出力ピン5cにより往復回転させられる。固定子枠6は、ボビン部6cにコイル7を巻回し、ボビン部6cの中空部に、U字形をしたヨーク8の一方の脚部8aを挿入させた状態で、地板1の固定子取付軸1c,1dに取り付けられている。そして、その取り付け状態においては、ボビン部6cのフランジ6c−1,6c−2の外周面の一部と、コイル7の外周面の一部が、地板1に形成された長方形の逃げ孔1gに近接し、それらには、地板1の外周面側で逃げ孔1gの長辺を形成している補強部1jが、羽根室側からだけ対向するように形成されている。
【選択図】 図1

Description

本発明は、少なくとも1枚の羽根を電磁アクチュエータによって往復作動させるようにしたカメラ用羽根駆動装置に関する。
カメラ用の羽根駆動装置としては、シャッタ装置,絞り装置,フィルタ装置,レンズバリア装置があるが、最近では、それらの装置は、少なくとも1枚の羽根が、電磁アクチュエータによって往復作動させられるようになっている。そのため、シャッタ装置,絞り装置,フィルタ装置のうちの二つ以上を一つのユニットとして構成する場合には、複数の電磁アクチュエータを地板に対して取り付けることになる。そして、その地板は、殆どの場合、合成樹脂製である。
また、電磁アクチュエータとしては、下記の特許文献1に記載されているように、略U字形をしたヨークの二つの脚部の先端部を磁極部とし、それらの磁極部を永久磁石製の回転子の周面に対向させるように構成したステッピングモータ(特許文献1では、ステップモータ)を用いるか、下記の特許文献2に記載されているような、ムービングマグネット型モータなどと称されている電流制御式のモータを用いるのが普通である。そして、そのような電流制御式のモータには、特許文献2の実施例1,2(図1〜5)に記載されている構成のものと、実施例3〜5(図6〜11)に記載されているような、略U字形をしたヨークの二つの脚部の先端部を磁極部とし、それらの磁極部を永久磁石製の回転子の周面に対向させるように構成したものとがあるが、後者の構成をした電流制御式のモータは、下記の特許文献3にも記載されている。
本発明は、それらの電磁アクチュエータのうち、略U字形のヨークを備えた電磁アクチュエータによって、羽根を往復作動させるようにしたカメラ用羽根駆動装置に関するものである。そして、この種の電磁アクチュエータは、ヨークの一方の脚部に固定子コイルを巻回しているが、その一方の脚部を、コイルを巻回したボビンの中空部に挿入するように構成したものとしては、ボビンを、特許文献1,3に記載されているように、単独の部材として製作するようにしたものと、特許文献2の実施例3〜5に記載されているように、地板に対して直接又は間接に取り付けられている固定子枠の一部として形成するようにしたものがある。
ところで、このような構成の電磁アクチュエータを地板に取り付けると、その取付け領域における装置の厚さ、即ち光軸と平行になる方向の寸法が大きくなることから、その寸法を、構造上で、出来るだけ小さくすることが要求されている。そこで、特許文献2の実施例3,4の場合には、それらを示した図7,9を、実施例5を示した図11と比較すれば分かるように、地板に対して大きな貫通孔を設け、コイルを巻回したボビン部を羽根室側に寄せることによって、その要求に応じられるようにしている。また、このような装置では、地板の平面形状を、出来るだけ小さくすることも要求されている。そこで、特許文献3に記載の構成では、さらに、長方形をした貫通孔の一辺を形成している外周側の部位を切除し、外周側が開放された切欠部とすることによって、その要求に応じられるようにしている。
特開2002−131802号公報 特開2005−241866号公報 特開2006−11293号公報
特許文献3に記載されているカメラ用羽根駆動装置の構成は、上記したように、コイルを巻回したボビンを羽根室側へ寄せるために、地板の外周領域に切欠部を形成したことによって、電磁アクチュエータの取付け領域における、光軸と平行な方向の寸法を小さくすることが可能になり、且つ地板の平面形状も小さくすることが可能になるという特徴がある。ところが、周知のように、カメラ用羽根駆動装置の地板は、合成樹脂製であって、特許文献3に記載されているタイプのもの場合は、実際には、直径が大きいものでも30mm前後であり、厚さは厚いところでも5mm程度であることから、外周側を開放した形状の切欠部を形成すると、その開放部の両側の部位の形状精度が十分に得られなくなったり、それらの部位の強度が十分に得られなくなったりするので、電磁アクチュエータの取付け精度が得られず、特に電磁アクチュエータをビスで取り付けるときなどは、それらの部位が変形したり、破損したりしてしまうようになる。
本発明は、このような問題点を解決するためになされたものであり、その目的とするところは、略U字形のヨークを有する固定子と永久磁石製の回転子とを有する電磁アクチュエータが、少なくとも1枚の羽根を往復作動させるようにしたカメラ用羽根駆動装置において、装置の薄型化を図れるようにして電磁アクチュエータを地板に取り付けるに際し、従来のようにして貫通孔を地板に設けたものよりも、地板の平面形状を小さくすることができ、且つ従来のようにして切欠部を地板に形成したものよりも、地板の形状精度や強度を確保できるようにしたカメラ用羽根駆動装置を提供することである。
上記の目的を達成するために、本発明は、撮影光路用の開口部を有している地板と、撮影光路用の開口部を有していて前記地板との間に少なくとも一つの羽根室を構成しているカバー板と、前記羽根室内に配置されていて往復作動させられることによって撮影光路に進退する少なくとも1枚の羽根と、前記地板に対して回転軸を垂直にして配置されている永久磁石製の回転子と略U字形をしていて二つの脚部の一方にコイルを筒状に巻回し該二つの脚部の先端部を磁極部とし該回転子の周面に対向させている少なくとも一つのヨークとを有していて該回転子の往復回転によって前記羽根を往復作動させる少なくとも一つの電磁アクチュエータと、を備えているカメラ用羽根駆動装置において、前記地板は、その外周面近傍部に、前記地板の一方の板面側に配置された前記コイルの筒状の外周面を他方の板面の近傍まで近付け得るようにした略長方形の貫通孔を有していて、前記外周面側で前記貫通孔の一辺を形成している部位が、前記他方の板面側だけで前記コイルの筒状の外周面に対向するように形成されているようにする。
その場合、前記外周面側で前記貫通孔の一辺を形成している部位は、前記コイルの筒状の外周面に対向する面が、円弧面か、所定の角度の傾斜面に形成されていることが好ましい。また、前記コイルは、空芯コイルであってもよいし、中空のボビンに巻回されていて、該ボビンが、前記ヨークの一方の脚部に嵌装されているようにしてもよい。
更に、前記地板には、前記地板との間に電磁アクチュエータ室を構成する固定子枠が取り付けられていて、前記コイルは、該固定子枠に形成された中空のボビン部に巻回されており、前記ヨークは、その一方の脚部を該ボビン部に挿入しているようにしてもよいし、前記地板には、前記地板との間に電磁アクチュエータ室を構成する板状の固定子枠が取り付けられていて、該固定子枠には、該固定子枠の板厚内に少なくとも前記ボビンの一部が存在できるようにするための逃げ部が形成されているようにしてもよい。
本発明は、一方の脚部にコイルを筒状に巻回した略U字形のヨークを有する固定子と永久磁石製の回転子とを有する電磁アクチュエータが、少なくとも1枚の羽根を往復作動させるようにしたカメラ用羽根駆動装置において、地板の外周面近傍部に、コイルの筒状の外周面を地板の一方の板面側から他方の板面の近傍まで挿入し得るようにした略長方形の貫通孔を設けるに際し、外周面側で貫通孔の一辺を形成している部位を、他方の板面側だけで前記コイルの筒状の外周面に対向するように形成したので、地板の形状精度や強度を確保しつつ、電磁アクチュエータの配置部の薄型化と、地板の平面形状の小型化とを図ることが可能になる。
本発明の実施の形態を、図示した四つの実施例によって説明する。上記したように、本発明のカメラ用羽根駆動装置は、単独のシャッタ装置,絞り装置,フィルタ装置,レンズバリア装置としても実施できるし、シャッタ装置,絞り装置,フィルタ装置のうちの二つ以上をユニット化したものとしても実施することが可能である。しかしながら、それらの全ての実施例を挙げるまでもないので、以下においては、単独のシャッタ装置としたものを実施例1,2とし、シャッタ装置とフィルタ装置をユニット化したものを実施例3とし、単独の絞り装置としたものを実施例4として説明することにし、他の実施態様については、各実施例の説明中において、適宜触れることにする。尚、図1〜図4は、実施例1を説明するためのものであり、図5及び図6は、実施例2を説明するためのものであり、図7〜図9は、実施例3を説明するためのものであり、図10〜図14は、実施例4を説明するためのものである。
本実施例のカメラ用羽根駆動装置は、1枚のシャッタ羽根を備えたシャッタ装置として構成したものである。また、電磁アクチュエータとしては、電流制御式のモータを採用している。そして、図1中の図1(a)は、露光開口を全開にしている撮影待機状態を示した正面図であり、図1(b)は、図1(a)の上面図であり、図1(c)は、図1(a)のA−A線で切断して矢示方向に見た断面図である。また、図2は、地板単体の一部だけを図1(a)と同じように見て示した部分図であり、図3は、図1(a)に示されている構成部材の重なり関係を分かり易く示した断面図であり、図4は、シャッタ羽根の閉鎖状態を示した正面図である。
そこで先ず、本実施例の構成を説明する。本実施例の地板1は、合成樹脂製であって比較的厚い部材であり、図1(a)に示されているように、平面形状は略長方形をしている。そして、その中央部より若干下方領域に、光軸を中心にした大きな撮影光路用の開口部1aが形成されている。また、地板1の背面には、薄い板部材であって地板1と略同じ外形形状の口径規制板2が、図示していない手段によって密着させられている。そして、この口径規制板2には、上記の開口部1aよりも小さな撮影光路用の開口部2aが光軸を中心にして形成されている。
更に、地板1の背面には、薄い板部材であって地板1と略同じ外形形状のカバー板3が、図示していない手段によって、所定の間隔を空けて取り付けられており、口径規制板2との間に羽根室を構成している。そして、図3から分かるように、このカバー板3にも、光軸を中心にした撮影光路用の開口部3aが形成されているが、その直径が口径規制板2の開口部2aよりも大きいため、本実施例の場合には、口径規制板2の開口部2aが露光開口を規制するようになっている。尚、口径規制板2を備えている理由は周知であるため、その説明は省略するが、口径規制板2を備えない場合には、地板1の開口部1aを小さくして、露光開口を規制するようにするのが一般的である。そのため、本発明は、そのように構成しても差し支えない。
地板1の羽根室側の面には羽根取付軸1bが立設されていて、口径規制板2に形成されている図示していない孔を貫通して羽根室内に存在しており、その先端を、カバー板3に形成されている図示していない孔に挿入している。図示していないが、地板1の羽根室側の面には、このほかにも、二つのストッパが立設されていて、羽根室内に存在している。また、本実施例の場合には、羽根室内に1枚のシャッタ羽根4が配置されているが、このシャッタ羽根4は、長孔4aを有していて、上記の羽根取付軸1bに回転可能に取り付けられている。
地板1は、羽根室とは反対側となる面が、電磁アクチュエータを取り付けるために、複雑な形状をしている。そこで、主に図2を用いて、その形状を説明する。先ず、地板1の基準面には、二つの固定子取付軸1c,1dが立設されている。また、基準面から1段深いところには、後述する略U字形をしたヨーク8の形状に合わせて受け部1eが形成され、さらに鍵穴状に深くしたところを、後述する回転子5の収容部1fとしている。そして、地板1の外周面に接近したところに、上記の受け部1eの一部を切断するようにして、長方形をした逃げ孔1gが貫通孔として形成されている。また、収容部1f内には、回転子取付軸1hが立設され、円弧状をした逃げ孔1iが貫通孔として形成されている。
また、地板1の外周面側で上記の逃げ孔1gの一辺を形成している細長い部位は補強部1jであり、その断面形状は、図1(c)から分かるように、外周面を示す第1の線と、羽根室側の面を示す第2の線は直線であるが、もう一つの面を示す第3の線は曲線になっている。即ち、第3の線で示されている面は円弧面に形成されていることになる。
このような補強部1jを形成している理由は、次のとおりである。仮に、この補強部1jが形成されておらず、本実施例の逃げ孔1gが、特許文献3に記載されているような、外周面側を開放した切欠部として形成された場合には、射出成形加工によって、開放部の両側の部位の形状を高精度に形成するのが難しくなってしまうが、本実施例のような補強部1jを形成すると、所定の形状精度を容易に確保することが可能になる。また、本実施例の場合には、電磁アクチュエータの固定子を、後述するようにして固定子取付軸1c,1dに取り付けるようにしているが、仮に、固定子取付軸1cのところでビスによって取り付けると、その近傍部位を変形させ、正規の姿勢で取り付けられなくなることがある。ところが、本実施例のように補強部1jを形成すると、殆どそのようなことを回避することが可能になる。
次に、電磁アクチュエータの構成を説明する。先ず、上記の回転子取付軸1hには、回転子5が回転可能に取り付けられている。本実施例の回転子5は、径方向に2極に着磁された永久磁石製であって、円筒形をした本体部5aから張り出された腕部5bの先端には出力ピン5cが形成されている。そして、出力ピン5cは、円弧状をした上記の逃げ孔1iと、その逃げ孔1iと略相似形に形成された口径規制板2の逃げ孔2b(図3参照)を貫通して、羽根室内でシャッタ羽根4の長孔に嵌合し、先端を、逃げ孔2bと略同じ形状に形成されたカバー板3の逃げ孔3b(図3参照)に挿入している。尚、本実施例の場合には、回転子5の腕部5bと出力ピン5cも、本体部5aと同様に永久磁石になっているが、それらを合成樹脂製にしたものも知られている。
本実施例の固定子枠6は、合成樹脂製であって、図3に示されているように、二つの板状部6a,6bと、それらの間に形成された中空のボビン部6cとからなっており、ボビン部6cには、板状部6a,6bとの境にフランジ6c−1,6c−2が形成されている。また、二つの板状部6a,6bには、取付孔6a−1,6b−1が形成されている。そして、この固定子枠6は、図1(a)から分かるように、全体の平面形状がL字形になるように形成されており、ボビン部6cには、全体形状が筒状になるようにしてコイル7が巻回されている。また、ヨーク8は、略U字形をしていて、二つの脚部8a,8bの先端を磁極部としており、一方の脚部8aを、中空のボビン部6cに挿入している。
このようにしてボビン部6cにコイル7を巻回し且つヨーク8を取り付けた固定子枠6は、熱カシメといわれている加工方法によって地板1に取り付けられている。即ち、地板1に立設されている固定子取付軸1c,1dは、地板1の製作段階では、図2に示されているように、円柱状をしている。そこで、固定子枠6の板状部6a,6bに形成されている取付孔6a−1,6b−1を、そのような形状をした固定子取付軸1c,1dに嵌合させる。その結果、ヨーク8は、受け部1eに接触状態になり、ボビン部6cとコイル7の一部が地板1の羽根室側の面に接近した状態になる。このような状態にしておいて、取付孔6a−1,6b−1から突き出ている固定子取付軸1c,1dの先端を加熱し、フランジ状に変形させると、図1に示されているような取付け構成がえられる。
この取付け状態においては、図3から分かるように、ボビン部6cのフランジ6c−1,6c−2とコイル7は、地板1の羽根室側の面の近傍にまで挿入されている。そのため、電磁アクチュエータの取付け領域における、光軸と平行な方向の寸法が極めて小さくなっている。また、図1(c)から分かるように、補強部1jは、地板1の羽根室側の面側からだけ、その円弧面を、フランジ6c−1,6c−2の端面と、筒状に巻回された状態におけるコイル7の外周面とに対向させているので、図1(a)の状態においては、コイル7の背面に隠れ、目視できないようになっている。そのため、本実施例の地板1の平面形状は、補強部1jを形成したことによって大きくはなっていない。従って、本実施例のシャッタ装置は、地板1の形状精度や強度を確保しつつ、電磁アクチュエータの配置部の薄型化と、地板の平面形状の小型化とを図ることが可能になっている。
次に、本実施例の作動を、図1(a)及び図4を用いて説明する。図1(a)は、デジタルカメラに採用されたときの撮影待機状態を示したものである。この状態においては、カメラの電源スイッチがオンになっているが、コイル7には通電されていない。しかしながら、周知のように、このときには、回転子5の本体部5aの磁極と、その周面に対向して配置されているヨーク8の磁極部との間に、本体部5aの磁力が作用していて、回転子5は、時計方向へ回転するように付勢されている。そのため、シャッタ羽根4は、時計方向へ回転するように付勢されているが、図示していないストッパによってその回転を阻止され、この状態が維持されている。そのため、図示していない固体撮像素子には被写体光が当たっており、撮影者は、モニターで被写体像を観察することが可能になっている。
撮影に際してレリーズボタンが押されると、固体撮像素子に蓄積されていた電荷が放出されて、撮影が開始され、新たな電荷が固体撮像素子に蓄積されていく。そして、所定の時間が経過すると、露光時間制御回路からの信号によって、コイル7に順方向の電流が供給される。それによって、回転子5が、反時計方向へ回転させられるので、シャッタ羽根5も、出力ピン5cによって反時計方向へ回転させられ、開口部2aを閉鎖した直後に、図示していないストッパに当接して停止させられる。図4は、そのときの状態を示したものである。
その後、固体撮像素子に蓄積された電荷が、撮像情報として記憶装置に転送されるが、それが終わると、コイル7に対して逆方向の電流が供給される。そのため、回転子5は時計方向へ回転させられることになり、出力ピン5cによって、シャッタ羽根4に開口部2aの開き作動を行わせる。そして、開口部2aを全開にした直後に、シャッタ羽根4は、図示していないストッパに当接して停止する。その後、コイル7への通電を断つと、図1(a)に示した撮影待機状態に復帰したことになる。
尚、本実施例の場合は、シャッタ羽根が1枚であるが、周知のように、出力ピン7cによって2枚のシャッタ羽根を、相反する方向へ同時に往復作動させられるようにしてもよい。また、本実施例は、単独のシャッタ装置として構成したものであるが、この構成のままレンズバリア装置としてカメラに採用することも可能である。また、本実施例のシャッタ羽根4に、口径規制板2の開口部2aよりも小さい開口部を形成すれば、単独の絞り装置になる。更に、本実施例のシャッタ羽根4に、所定の大きさの開口部を形成し、その開口部を覆うようにしてNDフィルタシートを取り付ければ、単独のフィルタ装置にもなる。そのため、それらの装置は、いずれも、本発明のカメラ用羽根駆動装置である。
次に、図5及び図6を用いて実施例2を説明するが、本実施例のカメラ用羽根駆動装置も、上記の実施例1と同様に、1枚のシャッタ羽根を備えたシャッタ装置として構成したものである。そして、本実施例の構成は、主として実施例1における地板1の形状の一部が異なっており、そのほかは実施例1の構成と実質的に同じである。そのため、図5及び図6を用いて、異なる形状部分だけを説明するが、その他の構成については、実施例1の説明がそのまま本実施例にも適用される。また、本実施例は、実施例1との構成の差異によって、電磁アクチュエータやシャッタ羽根の作動が変わるわけではない。そのため、本実施例の作動説明は省略する。尚、図5は、図1(c)と同じようにして示した断面図であり、図6は、図2と同じようにして示した部分図である。
そこで、本実施例の固有の構成を説明する。図5及び図6においては、実施例1における部材,部位と同じものには、同じ符号を付けてある。本実施例の地板1の場合にも、実施例1における補強部1jと同じ存在理由により、補強部1kが設けられている。本実施例の補強部1kは、実施例1における補強部1jとは異なり、地板1の羽根室側の面側からだけ、フランジ6c−1,6c−2の端面と、筒状に巻回された状態におけるコイル7の外周面とに対向させている面が、図5から分かるように、直線状の傾斜面として形成されていることである。
また、本実施例の補強部1kには、長さ方向の略中間位置に、カバー板3の受け部1k−1が形成されている。そのため、本実施例の口径規制板2は、受け部1k−1の形成箇所では、補強部1kに面接触しない形状になっている。尚、この受け部1k−1は、必要があればこのようにすることも可能であることを示したものであって、本発明とは直接関係のないものである。
また、本実施例の逃げ孔1mは、実施例1の逃げ孔1gよりも短辺の短い長方形に形成されていて、補強部1kと対向して長辺を形成している部位を補強部1nとしている。そして、この補強部1nは、実質的に補強部1kと対称的な形状をしており、地板1の羽根室側の面側から、フランジ6c−1,6c−2の端面と、筒状に巻回された状態におけるコイル7の外周面とに対向している面が、直線状の傾斜面として形成されている。本実施例は、このような補強部1nを設けたことにより、逃げ孔1mが実施例1の逃げ孔1gよりも小さくなって、長方形をした逃げ孔1mの短辺に隣接する領域の強度が増大し、電磁アクチュエータの組み付けが一層容易になる。
そして、本実施例の場合にも、ボビン部6cのフランジ6c−1,6c−2とコイル7は、地板1の羽根室側の面の近傍にまで近づけられているため、電磁アクチュエータの取付け領域における、光軸と平行な方向の寸法が極めて小さくなっている。また、補強部1kは、地板1の羽根室側の面側からだけ、その傾斜面を、フランジ6c−1,6c−2の端面と、筒状に巻回された状態におけるコイル7の外周面とに対向させているので、地板1の外形形状を大きくしないで済むようになっている。
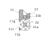
次に、図7〜図9を用いて実施例3を説明するが、本実施例のカメラ用羽根駆動装置は、1枚のシャッタ羽根を備えたシャッタ装置と、1枚のフィルタ羽根を備えたフィルタ装置とを一つのユニットとして構成したものである。尚、図7は、露光開口を全開にしている撮影待機状態を示した正面図であり、図8は、図7のB−B線で切断して矢示方向に見た断面図であり、図9は、図7に示されている構成部材の重なり関係を分かり易く示した断面図である。
そこで先ず、本実施例の構成を説明する。本実施例の地板11は、合成樹脂製であり、平面形状は正方形に近い長方形をしていて、図7においては、一番背面側に配置されており、その略中央部には、光軸を中心にして撮影光路用の開口部11aが形成されている。また、図7において、地板11の手前側には、地板11よりも薄く且つ平面形状の小さな中間板12が配置されており、図示していない手段によって地板11に取り付けられ、地板11との間に後述するシャッタ羽根14の羽根室を構成している。そして、この中間板12にも、光軸を中心にして、上記の開口部11aよりも直径の小さな撮影光路用の開口部12aが形成されている。
また、図7において、中間板12の手前側には、合成樹脂製であって、地板11と略同じ外形形状をしたカバー板13が配置されており、図示していない手段によって、地板11に取り付けられ、中間板12との間に、後述するフィルタ羽根15の羽根室を構成しているが、図7においては、その羽根室内の一部が見えるようにするために、カバー板13の一部を切除して示してある。そして、このカバー板13にも、光軸を中心にした撮影光路用の開口部13aが形成されているが、その直径は、中間板12の開口部12aよりも大きくて、地板11の開口部11aと略同じである。そのため、本実施例の場合には、中間板12の開口部12aが露光開口を規制するようになっている。尚、地板11の開口部11aやカバー板13の開口部13aの直径を一番小さくして、露光開口を規制するようにしても構わない。
地板11のカバー板13側の面には二つの羽根取付軸11b,11cが立設されており、それらは、中間板12に形成されている図示していない孔を貫通して、それらの先端を、カバー板13に形成された孔13b,13cに挿入している。また、図示していないが、このほかにも、地板1のカバー板13側の面には、地板11と中間板12との間の羽根室に配置されているシャッタ羽根14のための二つのストッパと、中間板12とカバー板13との間の羽根室に配置されているフィルタ羽根15のための二つのストッパが立設されている。
そして、シャッタ羽根14は、長孔14aを有していて、上記の羽根取付軸11bに回転可能に取り付けられている。また、フィルタ羽根15は、長孔15aと、円形の開口部15bとを有していて、上記の羽根取付軸11bに回転可能に取り付けられており、その開口部15bを覆うようにしてフィルタ板16を取り付けている。尚、実際には、フィルタ板16は、カバー板13との摺接を避けるために、フィルタ板16と略同じ平面形状に形成されたフィルタ羽根15の肉薄部内で、接着剤によって取り付けられている。
更に、地板11のカバー板13側の面は、二つの電磁アクチュエータを取り付ける領域が複雑な形状をしており、本実施例の場合にも、実施例1の受け部1eに相当する二つの受け部11d,11eと、実施例1の収容部1fに相当する二つの収容部11f,11gと、図9にも示されているように実施例2の逃げ孔1bに相当する長方形をした二つの逃げ孔11h,11iが形成されている。また、収容部11f,11gの底面には、実施例1の回転子取付軸1hに相当する二つの回転子取付軸11j,11kが立設されている。
そして、長方形をした本実施例の逃げ孔11h,11iは、全く同じ形状に形成されており、図7においては分かりにくいが、各々の二つの長辺は、実施例2の場合と同様に、二つの補強部11m,11n、11p,11qによって形成されている。しかしながら、図8に示されている、補強部11p,11qの断面形状からも分かるように、後述の空芯コイル20,22に対向する面は、実施例2の補強部1k,1nに形成されているような単なる直線状の傾斜面ではなく、実施例1の補強部1jに形成されているような曲線状の円弧面になっている。
次に、本実施例の二つの電磁アクチュエータの構成を説明する。先ず、上記の回転子取付軸11j,11kには、同じ構成をした回転子17,18が回転可能に取り付けられている。それらの回転子17,18は、径方向に2極に着磁された永久磁石製であって、円筒形をした本体部17a,18aから張り出された腕部17b.18bの先端には出力ピン17c,18cが形成されている。そして、回転子17の出力ピン17cは、シャッタ羽根14の長孔14a(図9では符号省略)に嵌合した後、先端側を中間板12とカバー板13に同じ形状に形成された二つの円弧状の逃げ孔12b,13dに挿入している。また、回転子18の出力ピン18cは、中間板12の円弧状の逃げ孔12cに挿入した後、フィルタ羽根15の長孔15a(図9では符号省略)に嵌合し、先端を、上記の逃げ孔12cと同じ形状をしているカバー板13の逃げ孔13eに挿入している。
二つの電磁アクチュエータの固定子は、同じ構成をしており、一方はヨーク19と空芯コイル20からなり、他方はヨーク21と空芯コイル22からなっている。そして、それらのヨーク19,20は、略U字形をしていて、各々、二つの脚部19a,19b,20a,20bを有しており、それらの先端部を磁極部として、回転子17,18の本体部17a,18aの周面に対向させている。尚、本実施例の場合には、各々の一方の脚部19a,20aを空芯コイル20,22の中空部に挿入しているので、実施例1,2におけるボビン部6cやそれに相当するようなボビンは備えていない。
また、一方のヨーク19は、空芯コイル20を逃げ孔11hの近傍まで近付けた状態、言い換えれば、羽根室とは反対側となる地板11の面の近傍まで近付けた状態で、受け部11dに載置され、他方のヨーク21は、ヨーク19を裏返したような姿勢にし、空芯コイル22を羽根室とは反対側となる地板11の面まで近づけた状態で、受け部11eに載置されている。そして、各回転子17,18と、空芯コイル20,22を取り付けたヨーク19,21とは、カバー板13を地板11に取り付けることによって、図7及び図9の状態が得られるようになっている。
本実施例は、このように構成されているので、空芯コイル20,22が、羽根室とは反対側となる地板11の面の近傍まで近付けられ、二つの電磁アクチュエータの取付け領域における、光軸と平行な方向の寸法が極めて小さくなるようになっている。そのうえ、補強部11m,11pは、羽根室とは反対側となる地板11の面側からだけ、筒状をした空芯コイル20,22の外周面に対向しているので、地板11の外形形状を大きくしないで済むようになっている。
次に、本実施例の作動を、撮影待機状態を示している図7を用いて説明する。この状態においては、カメラの電源スイッチがオンになっているが、空芯コイル20,22には通電されていない。しかしながら、このときには、回転子17,18の本体部17a,18aの磁極と、その周面に対向して配置されているヨーク19,21の磁極部との間に、回転子17,18の磁力が作用していて、回転子17は反時計方向へ、回転子18は時計方向へ回転するように付勢されている。そのため、シャッタ羽根14は時計方向へ、フィルタ羽根15は反時計方向へ回転するように付勢されているが、シャッタ羽根14とフィルタ羽根15とは、図示していないストッパによってその回転を阻止され、開口部12a(露光開口)の全開状態が維持されている。そのため、図示していない固体撮像素子には被写体光が当たっており、撮影者は、モニターによって被写体像を観察することが可能になっている。
撮影に際してレリーズボタンが押されると、その初期段階において、先ず、測光回路によって被写体光を測定し、その結果によって、被写体光を減光しないで撮影すると判断された場合には、直ちにシャッタ羽根14だけを作動させ、被写体光を減光して撮影すると判断された場合には、最初に、フィルタ羽根15を作動させておいてから、続いてシャッタ羽根14を作動させることになる。
そこで先ず、被写体光を減光しないで撮影すると判断された場合を説明する。その場合には、実施例1の場合と同様に、直ちに、固体撮像素子に蓄積されていた電荷が放出されて、撮影が開始され、新たな電荷が固体撮像素子に蓄積されていく。そして、所定の時間が経過すると、露光時間制御回路からの信号によって、空芯コイル20に順方向の電流が供給され、回転子17が時計方向へ回転させられる。そのため、シャッタ羽根14は、反時計方向へ回転させられ、開口部12aを閉鎖した後、図示していないストッパに当接して停止する。
その後、固体撮像素子に蓄積された電荷が、撮像情報として記憶装置に転送されるが、それが終わると、空芯コイル20に対して逆方向の電流が供給される。そのため、回転子17は反時計方向へ回転させられ、その出力ピン17cによって、シャッタ羽根14を時計方向へ回転させ、開口部12aを開かせていく。そして、シャッタ羽根14は、開口部12aを全開にした直後に、図示していないストッパに当接して停止する。その後、空芯コイル20への通電を断つと、図7に示された撮影待機状態に復帰したことになる。
次に、撮影に際してレリーズボタンを押したとき、測光回路の測定結果によって、被写体光を減光して撮影すると判断された場合について説明する。その場合には、最初に、空芯コイル22に対して順方向の電流が供給される。それによって、回転子18は、反時計方向へ回転させられる。そのため、フィルタ羽根15は、出力ピン18cによって時計方向へ回転させられ、その開口部15bの中心が、開口部12aの中心位置までくると、図示していないストッパに当接して停止させられる。
その状態になると、既に説明したようにして、実際の撮影が行われることになる。そして、シャッタ羽根14が閉じ作動を終了し、固体撮像素子に蓄積された電荷が、撮像情報として記憶装置に転送されると、他方の空芯コイル20に対してと同様に、空芯コイル22にも逆方向の電流が供給される。そのため、回転子18は、上記とは逆の時計方向へ回転させられ、出力ピン18cによって、フィルタ羽根15を反時計方向へ回転させる。そして、フィルタ羽根15が、開口部12aから完全に退き、図示していないストッパに当接して停止させられる。その後、二つの空芯コイル20,22への通電を断つと、図7に示した撮影待機状態に復帰したことになる。
尚、本実施例のカメラ用羽根駆動装置では、シャッタ羽根を1枚備えているが、周知のように、2枚のシャッタ羽根を備え、それらを同時に相反する方向へ回転させるようにしても構わない。また、本実施例のフィルタ羽根15に形成されている開口部15bは、直径が、露光開口を規制している中間板の開口部12aと略同じであるが、周知のように、露光開口より小さくしても構わない。
また、本実施例では、中間板12で仕切って、シャッタ羽根14とフィルタ羽根15とを別々の羽根室に配置しているが、周知のように、中間板12を設けることなく、図7の状態において、シャッタ羽根14とフィルタ羽根15の一部が重なり合っているようにしてもよい。その場合には、露光開口は、開口部11aか開口部13aによって規制されるようにすることになるし、上記の実施例1,2のように、口径規制板を配置し、その開口部で規制するようにしてもよい。
また、本実施例のカメラ用羽根駆動装置は、シャッタ装置とフィルタ装置を一つのユニットとして構成したものであるが、フィルタ羽根15の開口部15bの直径を、露光開口よりも小さくし、フィルタ板16を取り付けないようにすることによって、フィルタ羽根15を絞り羽根にすれば、シャッタ装置と絞り装置とを一つのユニットとして構成したカメラ用羽根駆動装置になる。また、本実施例のシャッタ羽根14に露光開口よりも直径の小さな開口部を形成して絞り羽根にすれば、フィルタ装置と絞り装置とを一つのユニットとして構成したカメラ用羽根駆動装置になる。従って、以上のように構成したものは、全て本発明のカメラ用羽根駆動装である。更に、本発明のカメラ用羽根駆動装置には、これらのように、二つの装置をユニット化したものに限定されず、シャッタ装置,絞り装置,フィルタ装置の三つをユニット化したものも含まれる。
次に、図10〜図14を用いて実施例4を説明するが、本実施例のカメラ用羽根駆動装置は、特許文献1に記載されているように、光軸を中心にして往復回転をさせられる絞り駆動リングが、複数枚の絞り羽根を同時に同じ方向へ回転させることによって、絞り開口の大きさを連続的に変化させ得るようにした単独の絞り装置として構成したものである。尚、図10は、最大絞り開口の制御状態を示した正面図であり、図11は、図10に示されている要部の断面図であり、図12は、地板単体の一部を示した部分図である。また、図13は、図10に示されている構成部材の重なり関係を分かり易く示した断面図であり、図14は、最小絞り開口の制御状態を図10と同様にして示した正面図である。
そこで先ず、本実施例の構成を説明する。地板31は、合成樹脂製であり、図10に示されているように、平面形状が略円形をしていて、中央部に、光軸を中心にして形成された撮影光路用の大きな開口部31aを有している。また、全体の平面形状が図示されていないが、図11及び図13に部分的に示されているカバー板32も、地板31と略同じ外形形状をしていて、光軸を中心に形成した、地板31の開口部31aよりも直径の小さな図示していない撮影光路用の開口部を有している。そして、このカバー板32は、図示していない手段によって、所定の間隔を空けて地板31に取り付けられ、地板31との間に羽根室を構成している。また、地板31は、羽根室内の面に、光軸を中心にして略等角度間隔位置に六つの羽根取付孔31bを形成しているが、図10においては、それらの一つにだけ符号を付けてある。
羽根室内には、絞り駆動リング33が、地板31に対して、光軸を中心にして回転可能に取り付けられている。この絞り駆動リング33の内径は、カバー板32に形成されている上記の図示していない開口部の直径よりも小さい。そのため、本実施例においては、絞り駆動リング33の内径形成縁が露光開口の大きさを規制している。しかしながら、地板31に形成されている開口部31aの直径や、カバー板32に形成されている図示していない開口部の直径を、絞り駆動リング33の内径よりも小さくすることによって、露光開口を規制するようにしても差し支えない。そして、この絞り駆動リング33には、光軸を中心にして略等角度間隔に六つのカム溝33aが形成されているが、図10においては、それらのうちの一つにだけ符号を付けてある。更に、この絞り駆動リング33には、外周部の所定の角度範囲にわたって、歯部33bが形成されている。
また、羽根室内には、絞り駆動リング33よりもカバー板32側に、全て同じ形状をした6枚の絞り羽根34が配置されているが、図10においては、それらのうちの1枚にだけ符号を付けてある。そして、これらの絞り羽根34は、一方の面に羽根軸34aと連結ピン34bとを立設しており、羽根軸34aを、上記の羽根取付孔31bに回転可能に嵌合させ、連結ピン34bを、上記のカム溝33aに挿入している。
地板31には、図10の下方領域に筒状部31cが形成されているが、この筒状部31cは、図13から分かるように、軸方向の一端側が閉じられ、他端側が開放された形状をしており、内部には、金属製の回転子取付軸35が立設されている。そして、その回転子取付軸35には、本実施例における電磁アクチュエータの回転子36が回転可能に取り付けられているが、本実施例の電磁アクチュエータはステッピングモータであって、回転子36は、4極に着磁された円筒形の永久磁石36aと、合成樹脂材料で永久磁石36aと一体成形された出力歯車36bを有している。
また、地板31の羽根室側には、歯車取付軸31dが立設されており、歯車37が回転可能に取り付けられている。この歯車37は2段歯車であって、地板31側にある大きい直径の歯車が上記の出力歯車36bに噛合し、カバー板32側にある小さい直径の歯車が絞り駆動リング33の歯部33bに噛合している。従って、絞り駆動リング33は、回転子36の回転が減速されて、回転子36と同じ回転方向へ回転させられるようになっている。
地板31の、羽根室とは反対の面側に、略U字形をした二つのヨーク38,39と、コイル40,41を巻回した中空のボビン42,43とが配置されている。そして、ヨーク38,39は、各々の二つの脚部38a,38b,39a,39bの先端部を磁極部としており、ボビン42,43は、各々の両端にフランジ42a,42b,43a,43bを有している。
また、図12及び図13に示されているように、地板31の、羽根室とは反対側の面には、凹部31e,31f(図10,図14では符号省略)が設けられており、凹部31fには貫通孔として長方形をした逃げ孔31gが形成されている。そして、地板31の外周面側で逃げ孔31gの一辺を形成している部位と、その対辺を形成している部位とが、上記の実施例3における補強部11p,11qと同様な補強部31h,31iとして形成されており、それらのうち補強部31hには、実施例2における受け部1k−1と同様に、カバー板32の受け部31h−1が形成されている。
このような固定子構成部材は、次のようにして地板31に取り付けられている。先ず、ヨーク38の方は、コイル40を巻回したボビン42を一方の脚部38aに嵌装した後、二つの脚部38a,38bの先端に設けられた磁極部を、筒状部31cの外周部に設けられた夫々の孔(符号なし)に挿入しながら、コイル40とボビン42の一部を、凹部31eに落とし込み、二つの磁極部を、収容室内で回転子36の永久磁石36aの周面に対向させた状態にした後、図示していない手段によって地板31に取り付けられている。そして、図10から分かるように、この取付け状態においては、コイル40と、ボビン42のフランジ42a,42bは、地板31の外周面と略重なるようになっている。
また、他方のヨーク39は、コイル41を巻回したボビン43を一方の脚部39aに嵌装した後、二つの脚部39a,39bの先端に設けられた磁極部を、筒状部31cの外周部に設けられた夫々の孔(符号なし)に挿入しながら、コイル41とボビン43の一部を、凹部31fに落とし込み、二つの磁極部を、収容室内で回転子36の永久磁石36aの周面に対向させた状態にし、図示していない手段によって地板31に取り付けられている。そして、図10及び図11から分かるように、この取付け状態においては、コイル41と、ボビン43のフランジ43a,43bは、地板31の外周面と略重なるようになっており、それによって、図10においては、補強部31hが目視できなくなっている。
また、図11及び図13から分かるように、このとき、本実施例の場合にも、ボビン部43のフランジ43aの外周面の一部とコイル41の外周面の一部が逃げ孔31gに臨んでいて、歯車37が配置されている地板31の羽根室側の面に近付けられている。言い換えれば、本実施例の場合には、図11及び図13において、羽根室側の面の一部の領域を上方に形成し、羽根室側にある歯車37を上方に寄せるようにしている。そのため、電磁アクチュエータの取付け領域における、光軸と平行な方向の寸法、即ち筒状部31cの上面からカバー板32の下面までの寸法が小さくなっている。
更に、図11から分かるように、補強部31h,31iは、地板1の羽根室側の面側からだけ、その弧状面を、フランジ43aの端面と、筒状に巻回された状態におけるコイル41の外周面とに対向させている。そのため、地板31の外形形状を大きくしないで済むようになっている。そして、本実施例の場合にも、このように補強部31h,31iを設けたことにより、逃げ孔31gの長辺に隣接する領域の強度が増大し、電磁アクチュエータの組み付けが一層容易になっている。尚、本実施例では、地板31に二つの補強部31h,31iを形成しているが、本発明は、一方の補強部31hだけであっても差し支えない。
次に、図10及び図14を用いて本実施例の作動を説明する。図10は、6枚の絞り羽根34が、絞り駆動リング33の内径形成縁によって規制している露光開口を全開にしている状態、即ち最大絞り開口の制御状態を示したものであるが、このとき、被写体光が、所定の明るさと同じか、それよりもよりも暗い場合には、このまま撮影が行われる。しかしながら、被写体光が、所定の明るさよりも明るい場合には、回転子36が反時計方向へ回転させられる。それにより、絞り駆動リング33が、出力歯車36b,歯車37,歯部33bの減速歯車列を介して反時計方向へ回転させられるので、6枚の絞り羽根34は、それらの連結ピン34bがカム溝33aに押されることにより、同時に反時計方向へ回転させられて露光開口内に進入し、それらの協働によって絞り開口を小さくしていく。
そして、本実施例の絞り装置が、スチルカメラに採用されている場合には、所定の絞り開口が得られたところで回転子36が停止し、撮影が行われることになるし、ムービーカメラに採用されている場合には、被写体光の変化に対応して、回転子36が時計方向へ回転させられたり反時計方向へ回転させられたりして、常に適正な露光条件での撮影が行われるように絞り開口を変化させることになる。図14は、そのようにして制御された最小絞り開口の制御状態を示したものである。
このようにして撮影が終了すると、回転子36は、時計方向へ回転させられ、絞り駆動リング33を時計方向へ回転させる。それにより、6枚の絞り羽根34は、それらの連結ピン34bが絞り駆動リング33のカム溝33aに押されることによって、時計方向へ回転させられ、図10の状態に復帰して停止させられる。尚、本実施例の場合には、図10が撮影開始前の状態であることにして説明したが、カメラの仕様によっては、図14に示された状態を撮影開始前の状態にすることもある。
実施例1のシャッタ装置を示した図であって、図1(a)は露光開口を全開にしている撮影待機状態を示した正面図であり、図1(b)は図1(a)の上面図であり、図1(c)は実施例1の要部を図1(a)のA−A線で切断して矢示方向に見た断面図である。 実施例1に用いられている地板単体の一部だけを、図1(a)と同じように見て示した部分図である。 図1(a)に示されている構成部材の重なり関係を分かり易く示した断面図である。 シャッタ羽根の閉鎖状態を示した実施例1の正面図である。 実施例2の要部を図1(c)と同じようにして示した断面図である。 実施例2に用いられている地板単体の一部を、図2と同じようにして示した部分図である。 露光開口を全開にしている撮影待機状態を示した実施例3の正面図である。 図7のB−B線で切断して矢示方向に見た断面図である。 図7に示されている構成部材の重なり関係を分かり易く示した断面図である。 最大絞り開口制御状態を示した実施例4の正面図である。 実施例4の要部を示した断面図である。 実施例4に用いられている地板単体の一部を示した部分図である。 図10に示されている構成部材の重なり関係を分かり易く示した断面図である。 最小絞り開口制御状態を示した実施例4の正面図である。
符号の説明
1,11,31 地板
1a,2a,3a,11a,12a,13a,15b,31a 開口部
1b,11b,11c 羽根取付軸
1c,1d 固定子取付軸
1e,1k−1,11d,11e,31h−1 受け部
1f,11f,11g 収容部
1g,1i,1m,2b,3b,11h,11i,12b,12c,13d,13e,31g 逃げ孔
1h,11j,11k,35 回転子取付軸
1j,1k,1n,11m,11n,11p,11q,31h,31i 補強部
2 口径規制板
3,13,32 カバー板
4,14 シャッタ羽根
4a,14a,15a 長孔
5,17,18,36 回転子
5a,17a,18a 本体部
5b,17b,18b 腕部
5c,17c,18c 出力ピン
6 固定子枠
6a,6b 板状部
6a−1,6b−1 取付孔
6c ボビン部
6c−1,6c−2,42a,42b,43a,43b フランジ
7,40,41 コイル
8,19,21,38,39 ヨーク
8a,8b,19a,19b,21a,21b,38a,38b、39a、39b 脚部
12 中間板
13b,13c 孔
15 フィルタ羽根
16 フィルタ板
20,22 空芯コイル
31b 羽根取付孔
31c 筒状部
31d 歯車取付軸
31e,31f 凹部
33 絞り駆動リング
33a カム溝
33b 歯部
34 絞り羽根
34a 羽根軸
34b 連結ピン
36a 永久磁石
36b 出力歯車
37 歯車
42,43 ボビン

Claims (7)

  1. 撮影光路用の開口部を有している地板と、撮影光路用の開口部を有していて前記地板との間に少なくとも一つの羽根室を構成しているカバー板と、前記羽根室内に配置されていて往復作動させられることによって撮影光路に進退する少なくとも1枚の羽根と、前記地板に対して回転軸を垂直にして配置されている永久磁石製の回転子と略U字形をしていて二つの脚部の一方にコイルを筒状に巻回し該二つの脚部の先端部を磁極部とし該回転子の周面に対向させている少なくとも一つのヨークとを有していて該回転子の往復回転によって前記羽根を往復作動させる少なくとも一つの電磁アクチュエータと、を備えているカメラ用羽根駆動装置において、前記地板は、その外周面近傍部に、前記地板の一方の板面側に配置された前記コイルの筒状の外周面を他方の板面の近傍まで近付け得るようにした略長方形の貫通孔を有していて、前記外周面側で前記貫通孔の一辺を形成している部位が、前記他方の板面側だけで前記コイルの筒状の外周面に対向するように形成されていることを特徴とするカメラ用羽根駆動装置。
  2. 前記外周面側で前記貫通孔の一辺を形成している部位は、前記コイルの筒状の外周面に対向する面が、円弧面となるように形成されていることを特徴とする請求項1に記載のカメラ用羽根駆動装置。
  3. 前記外周面側で前記貫通孔の一辺を形成している部位は、前記コイルの筒状の外周面に対向する面が、所定の角度の傾斜面となるように形成されていることを特徴とする請求項1に記載のカメラ用羽根駆動装置。
  4. 前記コイルは、空芯コイルであることを特徴とする請求項1乃至3のいずれかに記載のカメラ用羽根駆動装置。
  5. 前記コイルは、中空のボビンに巻回されていて、該ボビンが、前記ヨークの一方の脚部に嵌装されていることを特徴とする請求項1乃至3のいずれかに記載のカメラ用羽根駆動装置。
  6. 前記地板には、前記地板との間に電磁アクチュエータ室を構成する固定子枠が取り付けられていて、前記コイルは、該固定子枠に形成された中空のボビン部に巻回されており、前記ヨークは、その一方の脚部を該ボビン部に挿入していることを特徴とする請求項1乃至3のいずれかに記載のカメラ用羽根駆動装置。
  7. 前記地板には、前記地板との間に電磁アクチュエータ室を構成する板状の固定子枠が取り付けられていて、該固定子枠には、該固定子枠の板厚内に少なくとも前記ボビンの一部が存在できるようにするための逃げ部が形成されていることを特徴とする請求項5に記載のカメラ用羽根駆動装置。
JP2008255365A 2008-09-30 2008-09-30 カメラ用羽根駆動装置 Expired - Fee Related JP5373351B2 (ja)

Priority Applications (1)

Application Number Priority Date Filing Date Title
JP2008255365A JP5373351B2 (ja) 2008-09-30 2008-09-30 カメラ用羽根駆動装置

Applications Claiming Priority (1)

Application Number Priority Date Filing Date Title
JP2008255365A JP5373351B2 (ja) 2008-09-30 2008-09-30 カメラ用羽根駆動装置

Publications (2)

Publication Number Publication Date
JP2010085751A true JP2010085751A (ja) 2010-04-15
JP5373351B2 JP5373351B2 (ja) 2013-12-18

Family

ID=42249761

Family Applications (1)

Application Number Title Priority Date Filing Date
JP2008255365A Expired - Fee Related JP5373351B2 (ja) 2008-09-30 2008-09-30 カメラ用羽根駆動装置

Country Status (1)

Country Link
JP (1) JP5373351B2 (ja)

Citations (6)

* Cited by examiner, † Cited by third party
Publication number Priority date Publication date Assignee Title
JPS5768661A (en) * 1980-10-16 1982-04-27 Seiko Instr & Electronics Ltd Stepping motor for electronic watch
JPH1124125A (ja) * 1997-06-30 1999-01-29 Canon Inc 光学機器
JP2002199693A (ja) * 2000-12-26 2002-07-12 Canon Inc 電磁駆動モータ、電磁作動装置、光量調整装置および光学機器
JP2005156757A (ja) * 2003-11-21 2005-06-16 Alps Electric Co Ltd 絞り兼用シャッタ駆動装置
JP2006011293A (ja) * 2004-06-29 2006-01-12 Nidec Copal Corp カメラ用羽根駆動装置
JP2008096769A (ja) * 2006-10-13 2008-04-24 Nidec Copal Corp カメラ用シャッタ装置

Patent Citations (6)

* Cited by examiner, † Cited by third party
Publication number Priority date Publication date Assignee Title
JPS5768661A (en) * 1980-10-16 1982-04-27 Seiko Instr & Electronics Ltd Stepping motor for electronic watch
JPH1124125A (ja) * 1997-06-30 1999-01-29 Canon Inc 光学機器
JP2002199693A (ja) * 2000-12-26 2002-07-12 Canon Inc 電磁駆動モータ、電磁作動装置、光量調整装置および光学機器
JP2005156757A (ja) * 2003-11-21 2005-06-16 Alps Electric Co Ltd 絞り兼用シャッタ駆動装置
JP2006011293A (ja) * 2004-06-29 2006-01-12 Nidec Copal Corp カメラ用羽根駆動装置
JP2008096769A (ja) * 2006-10-13 2008-04-24 Nidec Copal Corp カメラ用シャッタ装置

Also Published As

Publication number Publication date
JP5373351B2 (ja) 2013-12-18

Similar Documents

Publication Publication Date Title
JP4628091B2 (ja) カメラ用羽根駆動装置
JP4522691B2 (ja) カメラ用羽根駆動装置
JP2005249812A (ja) シャッターアイリス
JP2000060088A (ja) アクチュエータ及びそれを使用したカメラ用シャッタ
JP5373351B2 (ja) カメラ用羽根駆動装置
JP4619027B2 (ja) カメラ用羽根駆動装置
JP4979920B2 (ja) カメラ用羽根駆動装置
JP5047576B2 (ja) レンズバリア装置
JP4549196B2 (ja) カメラ用羽根駆動装置
JP5183898B2 (ja) 電磁アクチュエータ及びそれを用いたカメラ用羽根駆動装置
JP2008058614A (ja) カメラ用羽根駆動装置
JP4737939B2 (ja) カメラ用羽根駆動装置
JP2007316477A (ja) カメラ用羽根駆動装置
JP2005284102A (ja) カメラ用絞り装置
JP2008033119A (ja) カメラ用羽根駆動装置
JP4421375B2 (ja) カメラ用羽根駆動装置
JP4122198B2 (ja) カメラ用露光量制御装置
JP4575055B2 (ja) カメラ用羽根駆動装置
JP5134230B2 (ja) 電磁アクチュエータ及びそれを用いたカメラ用羽根駆動装置
JP2005189717A (ja) カメラ用羽根駆動装置
JP2017026835A (ja) 羽根駆動装置および羽根駆動装置を備えた光学機器
JP2007212645A (ja) 光量制御装置
JP5373352B2 (ja) カメラ用羽根駆動装置
JP2007256721A (ja) カメラ用羽根駆動装置
JP2009271126A (ja) カメラ用羽根駆動装置

Legal Events

Date Code Title Description
A621 Written request for application examination

Free format text: JAPANESE INTERMEDIATE CODE: A621

Effective date: 20110831

A977 Report on retrieval

Free format text: JAPANESE INTERMEDIATE CODE: A971007

Effective date: 20130228

A131 Notification of reasons for refusal

Free format text: JAPANESE INTERMEDIATE CODE: A131

Effective date: 20130326

A521 Written amendment

Free format text: JAPANESE INTERMEDIATE CODE: A523

Effective date: 20130523

RD02 Notification of acceptance of power of attorney

Free format text: JAPANESE INTERMEDIATE CODE: A7422

Effective date: 20130523

TRDD Decision of grant or rejection written
A01 Written decision to grant a patent or to grant a registration (utility model)

Free format text: JAPANESE INTERMEDIATE CODE: A01

Effective date: 20130903

A61 First payment of annual fees (during grant procedure)

Free format text: JAPANESE INTERMEDIATE CODE: A61

Effective date: 20130919

R150 Certificate of patent or registration of utility model

Ref document number: 5373351

Country of ref document: JP

Free format text: JAPANESE INTERMEDIATE CODE: R150

Free format text: JAPANESE INTERMEDIATE CODE: R150

R250 Receipt of annual fees

Free format text: JAPANESE INTERMEDIATE CODE: R250

R250 Receipt of annual fees

Free format text: JAPANESE INTERMEDIATE CODE: R250

R250 Receipt of annual fees

Free format text: JAPANESE INTERMEDIATE CODE: R250

R250 Receipt of annual fees

Free format text: JAPANESE INTERMEDIATE CODE: R250

LAPS Cancellation because of no payment of annual fees