JP2010085204A - 円筒体の表面検査装置 - Google Patents

円筒体の表面検査装置 Download PDF

Info

Publication number
JP2010085204A
JP2010085204A JP2008253619A JP2008253619A JP2010085204A JP 2010085204 A JP2010085204 A JP 2010085204A JP 2008253619 A JP2008253619 A JP 2008253619A JP 2008253619 A JP2008253619 A JP 2008253619A JP 2010085204 A JP2010085204 A JP 2010085204A
Authority
JP
Japan
Prior art keywords
cylindrical body
cylindrical
convex defect
displacement amount
reference roller
Prior art date
Legal status (The legal status is an assumption and is not a legal conclusion. Google has not performed a legal analysis and makes no representation as to the accuracy of the status listed.)
Granted
Application number
JP2008253619A
Other languages
English (en)
Other versions
JP5155082B2 (ja
Inventor
Takumi Akatsuka
巧 赤塚
Current Assignee (The listed assignees may be inaccurate. Google has not performed a legal analysis and makes no representation or warranty as to the accuracy of the list.)
Resonac Holdings Corp
Original Assignee
Showa Denko KK
Priority date (The priority date is an assumption and is not a legal conclusion. Google has not performed a legal analysis and makes no representation as to the accuracy of the date listed.)
Filing date
Publication date
Application filed by Showa Denko KK filed Critical Showa Denko KK
Priority to JP2008253619A priority Critical patent/JP5155082B2/ja
Publication of JP2010085204A publication Critical patent/JP2010085204A/ja
Application granted granted Critical
Publication of JP5155082B2 publication Critical patent/JP5155082B2/ja
Active legal-status Critical Current
Anticipated expiration legal-status Critical

Links

Images

Landscapes

  • Length Measuring Devices By Optical Means (AREA)
  • Investigating Materials By The Use Of Optical Means Adapted For Particular Applications (AREA)
  • Cleaning In Electrography (AREA)

Abstract

【課題】円筒体における凸状欠陥の検査を簡単かつ正確に行える円筒体の表面検査装置を提供する。
【解決手段】本発明は、円筒体Wを軸心回りに回転させつつ、表面状態を検査するようにした円筒体の表面検査装置を対象とする。本装置は、円筒体Wの周面端部に転がり接触し、かつ円筒体の位置を規定する基準ローラ51と、円筒体Wの周面端部に凸状欠陥W5が形成されている場合に、その凸状欠陥W5に基準ローラ51が接触して、円筒体Wが乗り上がることにより、円筒体が径方向に変位する際の変位量を検出する変位量検出手段と、変位量検出手段からの情報に基づいて、円筒体における凸状欠陥の有無を検出する凸状欠陥検出手段と、を備える。
【選択図】図8

Description

この発明は、円筒体を回転させつつ、表面状態を検査するようにした円筒体の表面検査装置およびその関連技術に関する。
感光ドラム用基体等の円筒体では、高い表面精度が要求されるため、表面検査を行って、キズ、凹凸、異物付着および汚れ等の表面欠陥がある円筒体を修正したり、廃棄するようにしている。
例えば下記特許文献1に開示される円筒体の表面検査装置は、検査対象物としての円筒体を回転させながら、円筒体の表面状態をカメラにより検出し、その検出画像データに基づいて、円筒体の表面欠陥を検出するようにしている。
特開平7−140079号(特許請求の範囲、図1−3)
ところで、感光ドラム用基体としての円筒体は、表面欠陥だけに限られず、内周端縁や外周端縁にバリ等の凸状欠陥が形成されることがある。例えば、内周端縁にバリが形成されていると、円筒体の両端部にフランジを圧入した際に、バリを巻き込んでセンタリングができなくなってしまう。
従って従来より、表面検査以外にも、凸状欠陥の検査を簡単かつ正確に行うことができる技術の開発が切望されている。
この発明は、上記の課題に鑑みてなされたものであり、円筒体における凸状欠陥の検査を簡単かつ正確に行うことができる円筒体の表面検査装置およびその関連技術を提供することを目的とする。
上記目的を達成するため、本発明は以下の構成を要旨とするものである。
[1] 円筒体を軸心回りに回転させつつ、表面状態を検査するようにした円筒体の表面検査装置であって、
円筒体の周面端部に転がり接触し、かつ円筒体の位置を規定する基準ローラと、
円筒体の周面端部に凸状欠陥が形成されている場合に、その凸状欠陥に前記基準ローラが接触して、円筒体が乗り上がることにより、円筒体が径方向に変位する際の変位量を検出する変位量検出手段と、
前記変位量検出手段からの情報に基づいて、円筒体における凸状欠陥の有無を検出する凸状欠陥検出手段と、を備えたことを特徴とする円筒体の表面検査装置。
[2] 前記変位量検出手段が、円筒体における軸心方向が異なる複数の位置において、円筒体を回転させつつ、円筒体の径方向の変位量をそれぞれ検出するよう構成され、
前記変位量検出手段からの情報に基づいて、円筒体の形状を検査する形状検査手段が設けられる前項1に記載の円筒体の表面検査装置。
[3] 前記変位量検出手段は、円筒体に対してその外側から計測光を照射し、その計測光のうち、円筒体によって遮られずに透過した光を検出することによって、変位量を検出するようにした非接触式の変位検出器によって構成される前項1または2に記載の円筒体の表面検査装置。
[4] 前記変位量検出手段は、円筒体の外周面に接触する接触子を有し、その接触子が円筒体の径方向に変位する際に、その変位量を検出する接触式の変位検出器によって構成される前項1または2に記載の円筒体の表面検査装置。
[5] 表面状態の検査と、凸状欠陥の有無の検査とが並行して行われる前項1〜4のいずれか1項に記載の円筒体の表面検査装置。
[6] 前記基準ローラは、円筒体の内周面に転がり接触するものである前項1〜5のいずれか1項に記載の円筒体の表面検査装置。
[7] 前記基準ローラの外周面が、円筒体の周面端部に倣って形成される前項1〜6のいずれか1項に記載の円筒体の表面検査装置。
[8] 円筒体が、感光ドラム用基体によって構成される前項1〜7のいずれか1項に記載の円筒体の表面検査装置。
[9] 凸状欠陥が、円筒体の周面端部に形成されるバリによって構成される前項1〜8のいずれか1項に記載の円筒体の表面検査装置。
[10] 前記形状検査手段による円筒体の形状検査と、凸状欠陥の有無の検査とが並行して行われる前項2〜4のいずれか1項に記載の円筒体の表面検査装置。
[11] 円筒体の端面と周面との間に、C面取り加工による面取り部が形成される前項1〜10のいずれか1項に記載の円筒体の表面検査装置。
[12] 円筒体の端面が、軸心に対し垂直な垂直面に形成される前項1〜11のいずれか1項に記載の円筒体の表面検査装置。
[13] 円筒体の回転量を検出する回転量検出手段と、
前記回転量検出手段および前記凸状欠陥検出手段からの情報に基づいて、円筒体の周面における凸状欠陥が存在する位置を特定する欠陥位置特定手段と、を備える前項1〜12のいずれか1項に記載の円筒体の表面検査装置。
[14] 前記変位量検出手段による検出位置は、前記基準ローラに対応する位置に設定される前項1〜13のいずれか1項に記載の円筒体の表面検査装置。
[15] 前記基準ローラを、円筒体の周面に押圧付勢する付勢手段が設けられる前項1〜14のいずれか1項に記載の円筒体の表面検査装置。
[16] 軸心回りに回転する円筒体の周面端部に転がり接触し、かつ円筒体の位置を規定する基準ローラと、
円筒体の周面端部に凸状欠陥が形成されている場合に、その凸状欠陥に前記基準ローラが接触して、円筒体が乗り上がることにより、円筒体が径方向に変位する際の変位量を検出する変位量検出手段と、
前記変位量検出手段からの情報に基づいて、円筒体における凸状欠陥の有無を検出する凸状欠陥検出手段と、を備えたことを特徴とする円筒体の凸状欠陥検出装置。
[17] 円筒体の周面端部に転がり接触し、かつ円筒体の位置を規定する基準ローラと、円筒体における軸心方向が異なる複数の位置において、円筒体を回転させつつ、円筒体の径方向の変位量をそれぞれ検出する変位量検出手段と、を備え、前記変位量検出手段からの情報に基づいて、円筒体の形状を検査するようにした円筒体の形状検査装置であって、
円筒体の周面端部に凸状欠陥が形成されている場合に、その凸状欠陥に前記基準ローラが接触して、円筒体が乗り上がることにより、円筒体が径方向に変位する際の変位量を前記変位量検出手段によって検出し、その検出情報に基づいて、円筒体における凸状欠陥の有無を検出する凸状欠陥検出手段を備えたことを特徴とする円筒体の形状検査装置。
[18] 円筒体を軸心回りに回転させつつ、表面状態を検査するようにした円筒体の表面検査方法であって、
円筒体の周面端部に転がり接触し、かつ円筒体の位置を規定する基準ローラを設置しておき、
円筒体の周面端部に凸状欠陥が形成されている場合に、その凸状欠陥に前記基準ローラが接触して、円筒体が乗り上がることにより、円筒体が径方向に変位する際の変位量に基づいて、円筒体における凸状欠陥の有無を検出するようにしたことを特徴とする円筒体の表面検査方法。
[19] 円筒体の周面端部に形成される凸状欠陥を検出するための円筒体の凸状欠陥検出方法であって、
軸心回りに回転する円筒体の周面端部に転がり接触し、かつ円筒体の位置を規定する基準ローラを設置しておき、
円筒体の周面端部に凸状欠陥が形成されている場合に、その凸状欠陥に前記基準ローラが接触して、円筒体が乗り上がることにより、円筒体が径方向に変位する際の変位量に基づいて、円筒体における凸状欠陥の有無を検出するようにしたことを特徴とする円筒体の凸状欠陥検出方法。
[20] 円筒体の周面端部に転がり接触し、かつ円筒体の位置を規定する基準ローラと、円筒体における軸心方向が異なる複数の位置において、円筒体を回転させつつ、円筒体の径方向の変位量をそれぞれ検出する変位量検出手段と、を備え、前記変位量検出手段からの情報に基づいて、円筒体の形状を検査するようにした円筒体の形状検査方法であって、
円筒体の周面端部に凸状欠陥が形成されている場合に、その凸状欠陥に前記基準ローラが接触して、円筒体が乗り上がることにより、円筒体が径方向に変位する際の変位量を前記変位量量手段によって検出し、その検出情報に基づいて、円筒体における凸状欠陥の有無を検出するようにしたことを特徴とする円筒体の形状検査方法。
発明[1]の円筒体の表面検査装置によれば、凸状欠陥に基準ローラが接触して、円筒体が乗り上がる際の円筒体の変位量に基づいて、凸状欠陥の有無を検出するようにしているため、凸状欠陥の検査を簡単かつ正確に行うことができる。
発明[2]の円筒体の表面検査装置によれば、円筒体の形状検査も行うことができる。
発明[3]の円筒体の表面検査装置によれば、円筒体に対し非接触で、変位量を検出することができる。
発明[4]の円筒体の表面検査装置によれば、円筒体の変位量をより正確に求める計測することができる。
発明[5]の円筒体の表面検査装置によれば、効率良く検査することができる。
発明[6]の円筒体の表面検査装置によれば、円筒体の内周面端部に形成される凸状欠陥の有無を確実に検査することができる。
発明[7]の円筒体の表面検査装置によれば、基準ローラが円筒体の周面端部に広範囲で接触するため、広範囲にわたって凸状欠陥の有無を検査することができる。
発明[8]の円筒体の表面検査装置によれば、感光ドラム用基体の検査を行うことができる。
発明[9]の円筒体の表面検査装置によれば、バリの有無の検査を行うことができる。
発明[10]の円筒体の表面検査装置によれば、円筒体の回転フレの検査も効率良く行うことができる。
発明[11][12]の円筒体の表面検査装置によれば、凸状欠陥の検査を、より確実に行うことができる。
発明[13]の円筒体の表面検査装置によれば、凸状欠陥が検出された際に、凸状欠陥の位置を簡単に把握することができる。
発明[14][15]の円筒体の表面検査装置によれば、凸状欠陥の検査を、より一層確実に行うことができる。
発明[16]の円筒体の凸状欠陥検出装置によれば、上記と同様に、凸状欠陥の検査を簡単かつ正確に行うことができる。
発明[17]の円筒体の形状検査装置によれば、上記と同様に、凸状欠陥の検査を簡単かつ正確に行うことができる。
発明[18]の円筒体の表面検査方法によれば、上記と同様に、凸状欠陥の検査を簡単かつ正確に行うことができる。
発明[19]の円筒体の凸状欠陥検出方法によれば、上記と同様に、凸状欠陥の検査を簡単かつ正確に行うことができる。
発明[20]の円筒体の形状検査方法によれば、上記と同様に、凸状欠陥の検査を簡単かつ正確に行うことができる。
図1はこの発明の実施形態である表面検査装置の検査対象物(ワーク)としての管体状の円筒体(W)を示す斜視図である。
この円筒体(W)は例えば、電子写真システムを構成する複写機、プリンタ、ファクシミリ、これらの複合機等において、感光ドラム、転写ローラ、現像ローラ、その他各部に利用されるものである。
このような部材を構成可能な円筒体のうち、本実施形態では特に、電子写真システムを採用した複写機やプリンタ等における感光ドラム用の素管や基体として用いられる円筒体(W)を好適な例として挙げることができる。なお、感光ドラム用の基体とは、切削加工や引抜加工等が行われた後の管体であって、感光層の形成前の管体を言う。また、感光ドラム用基体に感光層を形成した後の管体も、本発明の検査対象たる円筒体として構成することができる。感光ドラム用基体としての円筒体(W)の外周面(外表面)は、金属光沢を有し、入射した光のほとんどを反射する鏡面となっている。
また感光ドラム用基体としての円筒体(W)は例えば、直径が10〜60mm、長さが200〜500mm程度のものである。
このような円筒体(W)は図5に示すように、両側端面(W2)と、内周面(W1)および外周面との間、つまり両側端面(W2)の内外周縁部がC面取り加工されて、面取り部(W3)が形成されている。この面取り部(W3)の周辺特に、面取り部(W3)と内周面(W1)との境界部には、バリ等の凸状欠陥が生じる場合があり、このような凸状欠陥があると、円筒体(W)は不良品となってしまう。そこで本実施形態の表面検査装置は後述するように、バリ等の凸状欠陥も検出できるようになっている。
上記の円筒体(W)の製造方法としては、押出成形および引抜成形の組み合わせを挙げることができる。なお言うまでもなく本発明においては、円筒体(W)の製造方法はこれだけに限定されるものではなく、押出成形、引抜成形、鋳造、鍛造、射出成形、切削加工またはこれらの組み合わせ等、管体を製造できる方法であればどのような方法も採用することができる。
また、検査対象としての円筒体(W)の材質は特に限定されるものではなく、各種の金属材料の他、合成樹脂等も適用することができ、例えばアルミニウムおよびアルミニウム合金(1000〜7000系)、銅および銅合金、鋼材、マグネシウムおよびマグネシウム合金を挙げることができる。中でも特にアルミニウム合金製の円筒体(W)は、本発明の検査対象として好適である。
図2はこの発明の実施形態である表面検査装置を示す正面図である。これらの図に示すように、この検査装置は、検査装置本体(1)と、回転フレ計測装置(4)とを備えている。なお本実施形態における円筒体の表面検査装置は、円筒体の形状検査装置および円筒体の凸状欠陥検出装置を兼用するものである。
検査装置本体(1)は、円筒体(W)を検査位置に移送する回転移送装置(64)と、検査前の円筒体(W)を回転移送装置(64)に搬入する搬入コンベア(61)と、検査後の円筒体(W)を回転移送装置(64)から搬出する搬出コンベア(62)と、検査位置の円筒体(W)に対し照明光によって照明する照明光源(21)と、照明された円筒体(W)の外周面を撮像するカメラ(22)と、円筒体(W)の回転量を検出するための回転量検出器(9)とを備えている。
コンベア(61)(62)は、上縁部がV字状に切り欠かれた複数の円筒体支持台(63)を備え、各支持台(63)で各円筒体(W)の両端近傍部分を支持し、各円筒体支持台(63)…を駆動チェーンで移動させることにより、検査直前および直後の円筒体(W)を順次移送できるようになっている。
回転移送装置(64)は、円筒体(W)を検査位置(B)に移送できるようになっている。この回転移送装置(64)は、円筒体(W)を支持するチャック部(70)を複数(ここでは4個)備えている。
各チャック部(70)は、回転駆動する駆動軸(66)に接続された回転フレーム(67)に取り付けられており、搬入コンベア(61)から円筒体(W)を取り出す取出位置(A)と、検査光学系による検査を実行する検査位置(B)と、搬出コンベア(62)に円筒体(W)を送り出す送出位置(C)とに同時に位置できるように設けられている。
そして、本表面検査装置においては、取出位置(A)に位置するチャック部(70)は、搬入コンベア(61)から検査前の円筒体(W)をチャックして取り出し、検査位置(B)に位置するチャック部(70)は、円筒体(W)を支持して表面検査を実行し、送出位置(C)に位置するチャック部(70)は、検査後の円筒体(W)に対してチャックを解除して搬出コンベア(62)に送り出す作業を、同時並行して行うことができるようになっている。また、取出位置(A)から検査位置(B)に移動するチャック部(70)は、検査位置(B)に搬送するまでに円筒体(W)の回転が安定するように、予め円筒体(W)の回転駆動を開始するようになっており、これにより検査位置(B)に到着すれば即座に表面検査を実行して、サイクルタイムを短縮できるようになっている。
なお本実施形態においては、回転移送装置(64)によって移送手段が構成されている。
図3はチャック部(70)を示す正面図、図4はチャック部(70)の側面図である。両図に示すように、各チャック部(70)は、1つの基準ローラ部材(5)と、2つの支持ローラ(72)(72)とを備えており、円筒体(W)の両側に配置された一対のチャック部(70)(70)が協働して、1本の円筒体(W)をチャックするようになっている。
図5に示すように両チャック部(70)における基準ローラ部材(5)は、チャック部本体(76)に対し回転可能に取り付けられている。基準ローラ部材(5)は、検査実行時に円筒体(W)の内周面端部に転がり接触する基準ローラ(51)と、円筒体(W)の外側に、円筒体(W)の端面に対応して配置され、かつ基準ローラ(51)よりも径寸法が大きい大径部(52)と、を備えている。さらに基準ローラ(51)は、円筒体(W)の内周面端部の形状に倣って形成されており、基準ローラ(51)における大径部(52)との境界部には、円筒体(W)の面取り部(W3)に対応して、傾斜面部(53)が形成されている。そして基準ローラ(51)が円筒体(W)の内周面(W1)に接触するチャック状態では、傾斜面部(53)が、円筒体(W)の面取り部(W3)に接触するように配置される。さらにチャック状態では、基準ローラ(51)の外周面における軸心方向のほぼ全域が、円筒体内周面(W1)の端部に接触しており、基準ローラ(51)の外周面が、円筒体内周面(W1)に広範囲にわたって線接触するようになっている。
なお図5においては、一方の基準ローラ部材(5)のみを示しているが、他方の基準ローラ部材(5)も上記一方の基準ローラ部材(5)と同様に構成されている。
また基準ローラ(51)は、検査位置(B)における姿勢では、円筒体(W)の内周面における上側に接触してその高さ位置を規定し、検査時において円筒体(W)の位置基準となるものである。
図3,4に示すように、一方の基準ローラ部材(5)は、回転駆動モータ(73)に接続されており、回転駆動モータ(73)が駆動することにより、回転駆動するようになっている。そして検査実行時には、一方の基準ローラ部材(5)が回転駆動して、その基準ローラ(51)が円筒体(W)の端部内周面上に沿って転動することにより、円筒体(W)が従動回転しさらに、円筒体(W)の回転に伴って、他方の基準ローラ部材(5)が従動回転するようになっている。
支持ローラ(72)(72)は、検査位置(B)における姿勢では、円筒体(W)の内周面における下側左右にそれぞれ接触し、エア駆動圧によって円筒体(W)を下方に付勢することにより、円筒体(W)の内周面上側を確実に基準ローラ(51)に接触させて、その高さ位置を安定させるようにしている。従って本実施形態においては、支持ローラ(72)(72)が、基準ローラ(51)を円筒体(W)の内周面(W1)に押圧付勢する付勢手段として構成されている。
また、支持ローラ(72)(72)は図4の実線および破線に示すように、検査位置(B)における姿勢では、上下方向に移動することにより、基準ローラ(51)との距離を円筒体(W)の内径よりも小さくして、円筒体(W)をチャックする前後には、基準ローラ(51)と共に円筒体(W)の内側に対し挿脱できるようになっている。これらの動作のため、各チャック部(70)(70)には、支持ローラ(72)(72)をエア駆動圧によって上下に移動動作させる支持ローラ駆動部(74)(74)が設けられている。
基準ローラ部材(5)および支持ローラ(72)(72)が取り付けられたチャック部本体(76)は、回転移送装置(64)の回転フレーム(67)に取り付けられたチャック部ベース(77)に対し、スライド駆動部(75)によって円筒体(W)の軸心方向にスライド動作可能となっており、円筒体(W)を両外側から挟み込んでチャックすることができるようになっている。
図2,6に示すように、照明光源(21)は、検査位置(B)に搬送された円筒体(W)の外周面に対して検査用の照明光を照射する。この照明光源(21)は、ライン状に配列された複数のLEDや、蛍光灯等、高輝度が得られるライン状発光手段によって構成され、長さ方向を円筒体(W)の長さ方向(軸心方向)に対し平行に配置されている。この照明光源(21)は、検査位置(B)にある円筒体(W)の上方に配置され、照明光が円筒体(W)に向かうに従って広がって行き、効率的に円筒体(W)の外周面に照射されるようになっている。
本実施形態においてカメラ(22)は、多数の光量検出要素が一次元的に配列されてなるラインセンサや、円筒体(W)の軸心方向に沿う検出位置(撮像位置)をラインセンサ上に結像するレンズ等を備えたラインセンサカメラにより構成されており、検出位置の各部から入射する光量(反射光画像)を検出する。
なお、カメラ(22)のラインセンサは、一次元的な光量情報を検出できるものであれば良く、一列の白黒ラインセンサでも、例えばRGB等の各色用のセンサが合計3列に並べられたカラーラインセンサ、あるいは各色用のセンサを交互に配列してなるカラーラインセンサでも良い。さらにラインセンサの主たる配列方向とは垂直方向に複数列のセンサを配列したTDIセンサでも良い。あるいは、2次元的に配列されたセンサの特定の1または複数列のみを選択的に用いることで実質的にラインセンサとして利用されるバーシャルスキャンカメラ等であっても良い。
カメラ(22)は、その位置および角度を微調整可能な状態に設けられて、検査位置(B)における円筒体(W)の外周面のうち、軸心方向に延びる所定領域を検出領域として狙っている。
このカメラ(22)は、照明光源(21)から円筒体(W)の外周面に入射する光の正反射光を受光する位置に配置されている。
本実施形態において、カメラ(22)は、照明光源(21)の照明光によって円筒体(W)の外周面を照明した際に、円筒体(W)の外周面によって反射される反射光(反射光画像)を検出する。そして、円筒体(W)を回転させつつ、カメラ(22)によって反射光画像を連続して検出(撮像)することにより、円筒体(W)における全周の画像情報を取得し、この画像情報に基づいて、円筒体(W)の表面状態(表面欠陥)例えば、キズ、凹み、汚れ、変色、変質等を検出するものである。
なお照明光源(21)から照射される照明光は、後述するように回転フレ計測装置(4)の受光部(42)の受光波長を実質的に含まないように設定されている。
またカメラ(22)による検出領域は、円筒体(W)の内周面側が基準ローラ(51)によって支持される部分に対応する外周面側の部分となっている。この部分は、円筒体(W)の各部位のうちで、基準ローラ(51)によって支持されているために最も位置および角度が安定する部分である。従って、円筒体(W)の曲がり等の形状精度により、表面検査の結果に影響が及ぶことを低減することができる。
さらにカメラ(22)による検出領域は、基準ローラ(51)に対向する部分となっているため、サイズ(直径)が異なる円筒体(W)であっても、ほぼ同一の光学条件を構成することができる。特に円筒体(W)の厚みが同一であれば、検出領域については実質的に同一の光学条件を構成することができる。従って、種々のサイズの円筒体(W)の表面検査を行う場合であっても、段取り替えに要する手間および時間を最小限に抑え、効率的に表面検査を実行することができる。
また円筒体(W)はその内周面側が支持されているため、基準ローラ(51)や支持ローラ(72)等が円筒体(W)の外周面に影を生じる等の表面検査への悪影響を低減することができる。
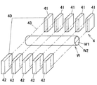
回転フレ検出装置(4)は、円筒体(W)の回転フレ量を計測するものであり、円筒体(W)の軸心方向に間隔をおいて複数の変位検出器(40)…を備えている。各変位検出器(40)は、上記チャック部(70)によって支持される円筒体(W)の各断面位置において円筒体外周面の半径方向の変位量を検出する。
図6,7に示すように、各変位検出器(40)は、円筒体(W)の軸心方向に直交する水平方向から円筒体(W)を挟み込むように配置された光透過型の検出器であり、計測光(43)を照射する発光部(41)と、計測光(43)を受光する受光部(42)とが一組となっている。そして、発光部(41)から照射される計測光(43)のうち、円筒体(W)によって遮られず透過した光を受光部(42)によって検出することにより、円筒体(W)の外周面の位置を検出するようになっている。本実施形態において、変位検出器(40)は、透過式(非接触式)の変位量検出手段として構成されている。
また図6に示すように、各変位検出器(40)の検出領域幅は、円筒体(W)の直径を超える大きさを有しており、各変位検出器(40)は、円筒体(W)の外周面の一箇所の変位量だけでなく、それに対向する位置(円筒体の周方向について半周分異なる位置、180°回転した位置、あるいは逆位相位置)の変位量も同時に検出できるようになっている。これにより、これら互いに対向する位置において検出される変位量を組み合わせることにより、これらの2つの位置を通る円筒体(W)の直径を求めることができ、より具体的に円筒体(W)の形状を把握できるようになっている。
また回転フレ計測装置(4)の各受光部(42)は、特定の波長域の光のみを検知するように構成されており、発光部(41)は、主としてこの特定の波長域の光を計測光(43)として照射するようになっている。
そしてこの発光部(41)が計測光(43)として照射し、受光部(42)が検知可能な特定の受光波長域は、上記したように照明光源(21)が照射する照明光には実質的に含まれていない波長域に設定されており、これにより、照明光源(21)の照明光による影響を受けることなく、円筒体(W)の回転フレ量(変位量)を検出できるようになっている。
従って、円筒体(W)のフレ量の計測(形状検査)と表面状態の計測(表面状態検査)とを同時に並行して実行できるようになっている。
また回転フレ検出装置(4)における複数の変位検出器(40)のうち、両端部に配置される変位検出器(40)は、両側の基準ローラ(51)(51)に対応する位置にそれぞれ配置されている。後述するように、本実施形態においては、基準ローラ(51)(51)がバリ等の凸状欠陥上を転がり接触して、円筒体(W)が乗り上げった際に、円筒体(W)の変位量を変位検出器(40)によって検出し、凸状欠陥の存在を把握するようにしている。このため変位検出器(40)を、基準ローラ(51)に対応する位置に配置することによって、凸状欠陥に基準ローラ(51)が接触して、円筒体(W)が乗り上がった際の円筒体(W)の変位動作(変位量)を的確に検出することができ、高い検出精度を得ることができる。
なお本実施形態においては、回転フレ計測装置(4)の変位検出器(40)が、凸状欠陥を検出するための変位量手段を兼用するものである。
また図3に示すように、回転量検出器(8)は、光学式の反射型ロータリーエンコーダによって構成されており、基準ローラ(51)と同期して回転するロータリーディスク(81)と、ロータリーディスク(81)に照射した検出光の反射光に基づいて、ロータリーディスク(81)の回転量、つまり基準ローラ(51)の回転量を検出する回転量検出センサ(85)とを備えている。
図3においては、回転量検出器(8)によって、従動側の基準ローラ(51)の回転量を検出するようにしているが、本実施形態においては、駆動側の基準ローラ(51)にも、上記と同様な回転量検出器が設けられており、駆動側の基準ローラ(51)の回転量も検出できるようになっている。
一方、本実施形態の表面検査装置は図2に示すように、パーソナルコンピュータ等によって構成されるコントローラ(3)を備え、このコントローラ(3)によって表面検査装置の各駆動部の駆動が制御され、後述の装置動作が自動的に実行されるようになっている。
実行される装置動作には、表面状態計測(表面状態検査)処理、回転フレ量計測(形状検査)処理等が含まれている。
表面状態計測処理において、コントローラ(3)は、照明光源(21)の照明動作、カメラ(21)の撮像動作等のタイミングを制御することによって、円筒体(W)の全周を撮像する。そしてコントローラ(3)は、取得された撮像データ(画像データ)に基づいて、円筒体(W)の表面状態の良否を判断する。例えば表面状態を表す画像データに、所定の大きさ以上の表面欠陥等が含まれている場合には、表面状態が不良(異常)であると判断し、含まれていない場合には、良好(正常)と判断する。本実施形態においては、コントローラ(3)が、カメラ(21)からの情報に基づいて、円筒体(W)の表面状態を検査する表面状態検査手段として機能する。
回転フレ量計測処理において、コントローラ(3)は、変位検出器(40)の発光部(41)における発光動作、受光部(42)における受光動作等のタイミングを制御することによって、計測光(43)を受光する受光部(42)からの情報に基づいて、円筒体(W)の各軸心方向断面における外周面の径方向の変位量(円筒体外周面の変位量)を検出する。そしてコントローラ(3)は、検出された変位量に基づいて、円筒体(W)の回転フレ量、つまり円筒体(W)の形状の良否を判断する。例えば回転フレ量が、所定の範囲内に収まっている場合には、円筒体(W)の肉厚変化やうねり変形等による変形がなく、形状が良好(正常)と判断し、回転フレ量が、所定の範囲に超える場合には、形状が不良(異常)であると判断する。従って本実施形態においては、コントローラ(3)が、変位量検出器(40)からの情報に基づいて、円筒体の形状を検査する形状検査手段(回転フレ検査手段)として機能する。
またコントローラ(3)は後述するように、変位検出器(40)からの検出データに基づいて、凸状欠陥検出処理を行って、円筒体(W)における内周端縁に、バリ等の凸状欠陥があるかないかを検出するようにしている。従って本実施形態においては、コントローラ(3)が、凸状欠陥の有無を検出する凸状欠陥検出手段として機能する。
またコントローラ(3)は、回転量検出器(8)からの情報に基づいて、検査開始時点からの円筒体(W)の回転量を検出し、凸状欠陥や形状不良がある場合に、その欠陥や不良の位置を特定できるようになっている。従って本実施形態においては、コントローラ(3)が、欠陥位置特定手段として機能する。
なお言うまでもなく、本発明において、コントローラは複数台設けるようにしても良い。例えば所要の各動作をそれぞれ個別のコントローラによって制御し、各コントローラを、ホストコンピュータ等のメインコントローラによって統括して管理するようにしても良い。
以上の構成の表面検査装置において、検査を行う前の初期状態では、検査対象としての円筒体(W)は、搬入コンベア(61)の各支持台(63)上に配置されるとともに、回転移送装置(64)の取出位置(A)でチャック部(70)によってチャックされているものとする。
この状態において、検査を開始すると、回転移送装置(64)が回転駆動して、取出位置(A)でチャックされた円筒体(W)が検査位置(B)に移送される。そして検査位置(B)の円筒体(W)が回転されて、上記の表面状態計測処理および回転フレ量計測処理が行われる。表面状態計測処理においては、既述したように、カメラ(22)によって、円筒体(W)の表面を撮像し、その撮像データに基づき、円筒体(W)の表面状態を検査し、表面状態の良否を判定する。さらに回転フレ量計測処理においては、受光部(42)に基づいて、円筒体外周面の変位量を検出し、形状の良否を判定する。
ところで、本実施形態において、円筒体(W)は感光ドラム用基体として採用されるものであり、例えば押出成形および引抜成形された管状部材を切断して得られるものでるため、内周端縁等に、バリが形成されたり、異物が付着することがある。このバリや異物の付着等による凸状欠陥(W5)は、例えば図8に誇張して示すように、円筒体(W)の内周面(W1)における端縁に、内方に突出するように形成されるのが一般的である。このように円筒体(W)の内周端縁にバリ等の凸状欠陥(W5)が形成されていると、端部にフランジを圧入した際に、凸状欠陥(W5)を巻き込んでセンタリング(芯だし)ができなくなってしまう。
また図9に示すように、円筒体(W)の内周端縁に凹状欠陥(W6)が形成されている場合であっても、その凹状欠陥(W6)の両側には凸状欠陥(W5)が形成されるため、上記と同様の問題が発生する。従ってバリ等の凸状欠陥(W5)が形成された円筒体(W)に対しては、凸状欠陥(W5)を修復する必要があるため、バリ等の凸状欠陥(W5)が形成されていないかを検査するのが好ましい。そこで、本実施形態の表面検査装置においては、この凸状欠陥検査を、上記回転フレ量計測処理(形状検査処理)と並行して行えるようになっている。
すなわち本実施形態の表面検査装置では、基準ローラ(51)の外周面が、円筒体(W)の内周面端部の形状に倣って形成されているため、円筒体(W)の内周端縁に凸状欠陥(W5)が形成されている場合には、基準ローラ(51)が凸状欠陥(W5)の位置を通過する際に図8の想像線に示すように、基準ローラ(51)が凸状欠陥(W5)上に転動することにより、円筒体(W)が基準ローラ(51)によって上方へ押し込まれる。これにより、円筒体(W)は外径方向(上方)に大きく変位するため、その変位動作(フレ動作)が回転フレ検出装置(4)の変位検出器(40)によって検出される。この凸状欠陥(W5)によるフレ動作は、フレ量が大きくて瞬間的で急激に大きく変動し、かつ円筒体端部の一点でのみ発生するのに対し、肉厚変化、うねり変形等によるフレ動作は、フレ量が小さくて比較的長期的でゆっくりと変動し、広範囲で発生するものである。従って凸状欠陥(W5)によるフレ動作と、形状変化によるフレ動作と、フレ量の大小から区別することが可能であり、コントローラ(3)によって自動的に、凸状欠陥(W5)が形成されているか否かを正確に判定することができる。
例えば、コントローラ(3)の記憶装置に、あらゆる種類の凸状欠陥に応じて、凸状欠陥時のフレ動作による変動パターン情報(対比情報)を多数保持させておき、実際に得られたフレ動作による変動パターンを、保持された対比情報と照合させて、類似する対比情報が存在する場合には、フレ動作の原因が、凸状欠陥によるものであると判断し、類似する対比情報が存在しないような場合には、凸状欠陥によるものではなく、形状変化等によるものと判断するようにすれば良い。
また上記したようにコントローラ(3)は、回転量検出器(8)からの情報に基づいて、検査開始時点からの回転量を検出しているため、各変位量検出器(40)によって現在円筒体(W)のどの位置を検出しているかを正確に把握している。従ってコントローラ(3)は、凸状欠陥(W5)が検出された際には、その凸状欠陥(W5)が検出された位置、つまり凸状欠陥(W5)の位置も正確に特定することができる。
さらに凸状欠陥によるフレ動作情報が、両端の変位量検出器(40)のうち、いずれの検出器から出力されたのかによって、凸状欠陥が円筒体(W)の両端部のうち、いずれの端部に存在するのかを特定することができる。
次に本実施形態において、凸状欠陥(W5)の検出動作に関して、具体例を挙げて説明する。図10は本実施形態の表面検査装置において出力される変位量に関する情報の一例を示すグラフであって、縦軸は、一端部に配置される変位検出器(40)からの情報に基づいて求められる円筒体端部外周面の変位量(μm)を示し、横軸は、回転量検出器(8)からの情報に基づいて求められる円筒体(W)の回転角度(度)を示している。
同グラフに示すように、回転角度が「d1」度の位置と、「d2」度の位置とに、変位量が急激に正方向に大きく変位している。従って「d1」度の位置と、「d2」度の位置とに、バリ等の凸状欠陥が存在しているものと判断することができる。
また全体的な傾向としては、前半部では変位量が緩やかに負方向に僅かに変位し、さらに360度の手前で変位量が緩やかに負方向に僅かに変位している。従ってこれらの部分では、他の部分に比べて、若干肉厚が薄いと判断することができる。
一方上記したように、バリ等の凸状欠陥(W5)の有無の検査と並行して、上記の表面状態計測処理による表面検査および回転フレ量計測処理による形状検査が行われており、いずれかの検査で不良が発生した場合には、検査が中止され、次の円筒体(W)に対し検査が行われる。
例えば円筒体(W)にバリ等の凸状欠陥(W5)が存在する場合には、表面状態計測処理および回転フレ量計測処理が中止されて、当該円筒体(W)が検査位置(B)から送り出されて、次の円筒体(W)の検査が行われる。
なお、凸状欠陥(W5)が存在する場合、製品番号等の当該円筒体固有の識別情報と、当該円筒体(W)に凸状欠陥(W5)が存在する旨の情報と、に凸状欠陥(W5)が存在している位置の情報とを関連付けし、その関連付した情報を、コントローラ(3)の記憶装置に保持させておき、その情報を必要に応じて取り出して、例えばディスプレー(図示省略)に表示できるようにするのが良い。そうすると、その表示された情報から、オペレータは、検査済の多数の円筒体(W)の中から、凸状欠陥(W5)を有する円筒体(W)を容易に区別できるとともに、凸状欠陥(W5)の位置も素早く簡単に見つけ出すことができ、凸状欠陥(W5)の修復作業や、当該円筒体(W)の再検査を容易に行うことができる。
検査位置(B)で、上記の検査が行われている間、取付位置(A)において、搬入コンベア(61)上の円筒体(W)がチャック部(70)によってチャックされる。さらに送出位置(C)においてチャックされた検査後の円筒体(W)は、そのチャックが解除されて、円筒体(W)が搬出コンベア(62)に送り出される。
一方、検査位置(B)での検査が完了すると、搬出コンベア(62)が1ピッチ分送り出されて、次の支持台(63)が送出位置(C)に配置される一方、回転移送装置(64)が90°回転して、表面検査が完了した検査位置(B)の円筒体(W)が、送出位置(C)に配置されるとともに、取出位置(A)の円筒体(W)が検査位置(B)に配置される。さらに搬入コンベア(61)が1ピッチ分送り出されて、次の円筒体(W)が取出位置(A)に配置される。
また搬入コンベア(61)の上流側には、図示しない移載装置によって、新たに未検査の円筒体(W)が搬入されるとともに、搬出コンベア(62)の下流側に配置される検査済の円筒体(W)は、図示しない移載装置によって、検査結果に応じて、合格品排出部または不合格品排出部に排出される。
このように円筒体(W)が順次送り出されて、次に未検査の円筒体(W)が検査位置(B)に送り込まれると、上記と同様に検査が行われる。
ところで、バリ等の凸状欠陥(W5)が見つかった円筒体(W)は、必要に応じて再検査するようにすれば良い。すなわち見つかった凸状欠陥(W5)が容易に修復できるようなものであれば、その凸状欠陥(W5)を修復して、修復後の円筒体(W)を再度、検査ラインに流すようにすれば良い。もっとも、凸状欠陥(W5)の修復が困難な場合には、円筒体(W)は廃棄処分されるのが一般的である。なお、凸状欠陥(W5)のある円筒体(W)は例えば、表面異常や形状異常のある円筒体(W)と同様に、不合格品排出部に排出されることになるが、既述したように凸状欠陥(W5)が認識された際には、当該円筒体(W)を識別できる情報が、コントローラ(3)のディスプレー上に表示されるようにしているため、オペレータは、不合格品排出部の中から凸状欠陥(W5)のある円筒体(W)と、それ以外の異常のある円筒体(W)を簡単に区別することができる。従って、凸状欠陥(W5)のある円筒体(W)のみを容易に選出できて、凸状欠陥(W5)の修復後、当該円筒体(W)の再検査を容易に行うことができる。
以上のように、本実施形態の表面検査装置によれば、基準ローラ(51)を円筒体(W)の内周面端部に転がり接触させているため、円筒体(W)の変位量に基づいて、円筒体(W)の内周面端部にバリ等の凸状欠陥(W5)があるか否かを検出することができる。すなわち円筒体(W)にバリ等の凸状欠陥(W5)が形成されている場合には、凸状欠陥(W5)上を基準ローラ(71)が転動した際に、円筒体(W)が基準ローラ(71)により押し上げられて外径方向に変動するため、その変位量(フレ量)の有無によって、凸状欠陥(W5)の有無を検出することができる。このように凸状欠陥(W5)の検査を簡単かつ正確に行うことができる。さらに凸状欠陥の検査を、表面検査や形状検査と並行して行うことができるため、その分、検査工程を削減できて、検査効率を一層向上させることができる。
さらに本実施形態においては、基準ローラ(51)と大径部(52)との間に、円筒体(W)の面取り部(W3)に倣う傾斜面部(53)を形成し、その傾斜面部(53)を、面取り部(W3)に接触するよう配置しているため、面取り部(W3)に凸状欠陥(W5)が形成されている場合であっても、その凸状欠陥(W5)に傾斜面部(53)が接触して、円筒体(W)が押し上げられて径方向に変位するようになる。従ってこの変位動作に基づいて、面取り部(W3)に形成される凸状欠陥(W5)も正確に検出することができ、検査精度をより一層向上させることができる。
ところで、凸状欠陥(W5)が存在するにもかかわらず、表面検査や形状検査を行うと、円筒体(W)の回転が安定しないため、検査精度が低下してしまい、実際には表面状態や形状が良好(合格)であるにもかかわらず、不良(不合格)と誤って判定されたり、実際には不良(不合格)であるにもかかわらず、良好(合格)と誤って判定される場合がある。
これに対し、本実施形態の表面検査装置では、凸状欠陥(W5)がある場合には、他の検査つまり、表面検査や形状検査を中止するようにしているため、凸状欠陥(W5)のある円筒体(W)に対して、無意味な表面検査や形状検査を行うのを防止することができる。従って凸状欠陥(W5)のない円筒体(W)、つまり表面検査や形状検査を行う必要のある円筒体(W)に対してのみ、検査を行うことができるため、凸状欠陥(W5)の存在による検査精度の低下を防止しながら、生産効率を一層向上させることができる。
同様に、表面検査や形状検査により異常があった場合には、凸状欠陥検査を中止するようにしているため、異常のある円筒体(W)に対して、無意味な検査を行うのを防止でき、生産効率をより一層向上させることができる。
また上記したように検査精度を向上させることができるため、良品を誤って廃棄してしまったり、不良品を誤って出荷するような不具合も有効に防止でき、生産効率(歩留まり)および製品品質をより一層向上させることができる。
なお上記実施形態においては、円筒体の位置基準となる基準ローラが、駆動ローラとして構成されているが、それだけに限られず、本発明においては、支持ローラのいずれかを駆動ローラとして構成し、基準ローラの双方を、従動ローラとして構成するようにしても良い。
また上記実施形態においては、変位検出器として透過式(非接触式)のものを使用しているが、それだけに限られず、本発明においては、回転する円筒体の外周面に接触する接触子(接触ローラ)を有し、その接触子における円筒体の径方向の変位量によって、変位量を検出する接触式の変位検出器を使用するようにしても良い。
また上記実施形態においては、基準ローラを円筒体の内周面に転がり接触させる内径基準方式の表面検査装置を例に挙げて説明したが、それだけに限られず、本発明においては、基準ローラを円筒体の外周面に転がり接触させる外径基準方式の表面検査装置にも適用することができる。
この発明の円筒体の表面検査装置は、円筒体の表面状態を検査する際に利用可能である。
この発明の実施形態である表面検査装置の検査対象物としての円筒体を示す斜視図である。 実施形態の表面検査装置を示す正面図である。 実施形態の表面検査装置におけるチャック部を示す側面図である。 実施形態の表面検査装置におけるチャック部を示す正面図である。 実施形態の表面検査装置における基準ローラ部材周辺を拡大して示す断面図である。 実施形態の表面検査装置における回転フレ計測装置部分を概略的に示す正面図である。 実施形態の表面検査装置における回転フレ計測装置部分を概略的に示す斜視図である。 凸状欠陥を有する円筒体を誇張して示す正面図である。 凹状欠陥を有する円筒体を誇張して示す正面図である。 実施形態の表面検査装置により計測される変位量の一例を示すグラフである。
符号の説明
40…変位検出器(変位量検出手段)
43…計測光
51…基準ローラ
W…円筒体
W1…内周面
W5…凸状欠陥

Claims (20)

  1. 円筒体を軸心回りに回転させつつ、表面状態を検査するようにした円筒体の表面検査装置であって、
    円筒体の周面端部に転がり接触し、かつ円筒体の位置を規定する基準ローラと、
    円筒体の周面端部に凸状欠陥が形成されている場合に、その凸状欠陥に前記基準ローラが接触して、円筒体が乗り上がることにより、円筒体が径方向に変位する際の変位量を検出する変位量検出手段と、
    前記変位量検出手段からの情報に基づいて、円筒体における凸状欠陥の有無を検出する凸状欠陥検出手段と、を備えたことを特徴とする円筒体の表面検査装置。
  2. 前記変位量検出手段が、円筒体における軸心方向が異なる複数の位置において、円筒体を回転させつつ、円筒体の径方向の変位量をそれぞれ検出するよう構成され、
    前記変位量検出手段からの情報に基づいて、円筒体の形状を検査する形状検査手段が設けられる請求項1に記載の円筒体の表面検査装置。
  3. 前記変位量検出手段は、円筒体に対してその外側から計測光を照射し、その計測光のうち、円筒体によって遮られずに透過した光を検出することによって、変位量を検出するようにした非接触式の変位検出器によって構成される請求項1または2に記載の円筒体の表面検査装置。
  4. 前記変位量検出手段は、円筒体の外周面に接触する接触子を有し、その接触子が円筒体の径方向に変位する際に、その変位量を検出する接触式の変位検出器によって構成される請求項1または2に記載の円筒体の表面検査装置。
  5. 表面状態の検査と、凸状欠陥の有無の検査とが並行して行われる請求項1〜4のいずれか1項に記載の円筒体の表面検査装置。
  6. 前記基準ローラは、円筒体の内周面に転がり接触するものである請求項1〜5のいずれか1項に記載の円筒体の表面検査装置。
  7. 前記基準ローラの外周面が、円筒体の周面端部に倣って形成される請求項1〜6のいずれか1項に記載の円筒体の表面検査装置。
  8. 円筒体が、感光ドラム用基体によって構成される請求項1〜7のいずれか1項に記載の円筒体の表面検査装置。
  9. 凸状欠陥が、円筒体の周面端部に形成されるバリによって構成される請求項1〜8のいずれか1項に記載の円筒体の表面検査装置。
  10. 前記形状検査手段による円筒体の形状検査と、凸状欠陥の有無の検査とが並行して行われる請求項2〜4のいずれか1項に記載の円筒体の表面検査装置。
  11. 円筒体の端面と周面との間に、C面取り加工による面取り部が形成される請求項1〜10のいずれか1項に記載の円筒体の表面検査装置。
  12. 円筒体の端面が、軸心に対し垂直な垂直面に形成される請求項1〜11のいずれか1項に記載の円筒体の表面検査装置。
  13. 円筒体の回転量を検出する回転量検出手段と、
    前記回転量検出手段および前記凸状欠陥検出手段からの情報に基づいて、円筒体の周面における凸状欠陥が存在する位置を特定する欠陥位置特定手段と、を備える請求項1〜12のいずれか1項に記載の円筒体の表面検査装置。
  14. 前記変位量検出手段による検出位置は、前記基準ローラに対応する位置に設定される請求項1〜13のいずれか1項に記載の円筒体の表面検査装置。
  15. 前記基準ローラを、円筒体の周面に押圧付勢する付勢手段が設けられる請求項1〜14のいずれか1項に記載の円筒体の表面検査装置。
  16. 軸心回りに回転する円筒体の周面端部に転がり接触し、かつ円筒体の位置を規定する基準ローラと、
    円筒体の周面端部に凸状欠陥が形成されている場合に、その凸状欠陥に前記基準ローラが接触して、円筒体が乗り上がることにより、円筒体が径方向に変位する際の変位量を検出する変位量検出手段と、
    前記変位量検出手段からの情報に基づいて、円筒体における凸状欠陥の有無を検出する凸状欠陥検出手段と、を備えたことを特徴とする円筒体の凸状欠陥検出装置。
  17. 円筒体の周面端部に転がり接触し、かつ円筒体の位置を規定する基準ローラと、円筒体における軸心方向が異なる複数の位置において、円筒体を回転させつつ、円筒体の径方向の変位量をそれぞれ検出する変位量検出手段と、を備え、前記変位量検出手段からの情報に基づいて、円筒体の形状を検査するようにした円筒体の形状検査装置であって、
    円筒体の周面端部に凸状欠陥が形成されている場合に、その凸状欠陥に前記基準ローラが接触して、円筒体が乗り上がることにより、円筒体が径方向に変位する際の変位量を前記変位量検出手段によって検出し、その検出情報に基づいて、円筒体における凸状欠陥の有無を検出する凸状欠陥検出手段を備えたことを特徴とする円筒体の形状検査装置。
  18. 円筒体を軸心回りに回転させつつ、表面状態を検査するようにした円筒体の表面検査方法であって、
    円筒体の周面端部に転がり接触し、かつ円筒体の位置を規定する基準ローラを設置しておき、
    円筒体の周面端部に凸状欠陥が形成されている場合に、その凸状欠陥に前記基準ローラが接触して、円筒体が乗り上がることにより、円筒体が径方向に変位する際の変位量に基づいて、円筒体における凸状欠陥の有無を検出するようにしたことを特徴とする円筒体の表面検査方法。
  19. 円筒体の周面端部に形成される凸状欠陥を検出するための円筒体の凸状欠陥検出方法であって、
    軸心回りに回転する円筒体の周面端部に転がり接触し、かつ円筒体の位置を規定する基準ローラを設置しておき、
    円筒体の周面端部に凸状欠陥が形成されている場合に、その凸状欠陥に前記基準ローラが接触して、円筒体が乗り上がることにより、円筒体が径方向に変位する際の変位量に基づいて、円筒体における凸状欠陥の有無を検出するようにしたことを特徴とする円筒体の凸状欠陥検出方法。
  20. 円筒体の周面端部に転がり接触し、かつ円筒体の位置を規定する基準ローラと、円筒体における軸心方向が異なる複数の位置において、円筒体を回転させつつ、円筒体の径方向の変位量をそれぞれ検出する変位量検出手段と、を備え、前記変位量検出手段からの情報に基づいて、円筒体の形状を検査するようにした円筒体の形状検査方法であって、
    円筒体の周面端部に凸状欠陥が形成されている場合に、その凸状欠陥に前記基準ローラが接触して、円筒体が乗り上がることにより、円筒体が径方向に変位する際の変位量を前記変位量量手段によって検出し、その検出情報に基づいて、円筒体における凸状欠陥の有無を検出するようにしたことを特徴とする円筒体の形状検査方法。
JP2008253619A 2008-09-30 2008-09-30 円筒体の表面検査装置 Active JP5155082B2 (ja)

Priority Applications (1)

Application Number Priority Date Filing Date Title
JP2008253619A JP5155082B2 (ja) 2008-09-30 2008-09-30 円筒体の表面検査装置

Applications Claiming Priority (1)

Application Number Priority Date Filing Date Title
JP2008253619A JP5155082B2 (ja) 2008-09-30 2008-09-30 円筒体の表面検査装置

Publications (2)

Publication Number Publication Date
JP2010085204A true JP2010085204A (ja) 2010-04-15
JP5155082B2 JP5155082B2 (ja) 2013-02-27

Family

ID=42249310

Family Applications (1)

Application Number Title Priority Date Filing Date
JP2008253619A Active JP5155082B2 (ja) 2008-09-30 2008-09-30 円筒体の表面検査装置

Country Status (1)

Country Link
JP (1) JP5155082B2 (ja)

Cited By (2)

* Cited by examiner, † Cited by third party
Publication number Priority date Publication date Assignee Title
JP2019513233A (ja) * 2016-04-01 2019-05-23 シュロニガー ホールディング アーゲー コンビネーションセンサ
CN112577968A (zh) * 2021-01-28 2021-03-30 诺庆制辊(上海)有限公司 一种胶辊外观检测装置

Citations (5)

* Cited by examiner, † Cited by third party
Publication number Priority date Publication date Assignee Title
JPS5655805A (en) * 1979-10-12 1981-05-16 Showa Electric Wire & Cable Co Ltd Measuring method for unevenness of body to be measured
JPS576307A (en) * 1980-06-13 1982-01-13 Toyota Central Res & Dev Lab Inc Method and apparatus of surface failure inspection of circular member
JP2002213938A (ja) * 2001-01-18 2002-07-31 Sony Corp 回転体の偏心量を求める方法
JP2007178343A (ja) * 2005-12-28 2007-07-12 Showa Denko Kk 円筒体の形状測定方法および同装置
JP2008139194A (ja) * 2006-12-04 2008-06-19 Showa Denko Kk 端部位置測定方法および寸法測定方法

Patent Citations (5)

* Cited by examiner, † Cited by third party
Publication number Priority date Publication date Assignee Title
JPS5655805A (en) * 1979-10-12 1981-05-16 Showa Electric Wire & Cable Co Ltd Measuring method for unevenness of body to be measured
JPS576307A (en) * 1980-06-13 1982-01-13 Toyota Central Res & Dev Lab Inc Method and apparatus of surface failure inspection of circular member
JP2002213938A (ja) * 2001-01-18 2002-07-31 Sony Corp 回転体の偏心量を求める方法
JP2007178343A (ja) * 2005-12-28 2007-07-12 Showa Denko Kk 円筒体の形状測定方法および同装置
JP2008139194A (ja) * 2006-12-04 2008-06-19 Showa Denko Kk 端部位置測定方法および寸法測定方法

Cited By (2)

* Cited by examiner, † Cited by third party
Publication number Priority date Publication date Assignee Title
JP2019513233A (ja) * 2016-04-01 2019-05-23 シュロニガー ホールディング アーゲー コンビネーションセンサ
CN112577968A (zh) * 2021-01-28 2021-03-30 诺庆制辊(上海)有限公司 一种胶辊外观检测装置

Also Published As

Publication number Publication date
JP5155082B2 (ja) 2013-02-27

Similar Documents

Publication Publication Date Title
KR101980860B1 (ko) 스프링 핀 선별장치
JP5607734B2 (ja) 離散的な低剛性の透明又は半透明体の欠陥を検査する装置及び方法
JP4589101B2 (ja) 表面検査方法および同装置
JP5112848B2 (ja) 円筒体検査装置
JP2008286791A (ja) 表面欠陥検査方法及び装置
JP5155082B2 (ja) 円筒体の表面検査装置
JP5440015B2 (ja) 不良蓋排除装置及び不良蓋排除方法
JP2004077425A (ja) 駆動伝達ベルトの検査装置
KR101682091B1 (ko) 캡 검사장치
US8941823B2 (en) Surface inspection device for cylindrical body
JP4632812B2 (ja) タイヤ側壁部の内部欠陥検査装置
JP5112847B2 (ja) 円筒体検査装置
JP2006234725A (ja) 筒状物品の側面部検査方法およびその装置
JP4252381B2 (ja) 外観検査装置
JP5075065B2 (ja) 円筒体の表面検査装置および表面検査方法
JP4943704B2 (ja) 円筒体検査装置および同方法
JP4847717B2 (ja) 円筒体の表面検査方法および同装置
JP2010060500A (ja) 円筒体の表面検査装置
JP2004125396A (ja) 駆動伝達ベルトの検査方法
JP3601298B2 (ja) 欠陥検査装置および欠陥検査方法
JP4694914B2 (ja) 表面検査方法および同装置
JPH09304288A (ja) 金属リング検査装置
JPS5920082B2 (ja) 円筒状工作物の自動検査選別装置
JP2000137004A (ja) 表面検査装置及び表面検査方法
JP2005257681A (ja) 表面検査方法および同装置

Legal Events

Date Code Title Description
A621 Written request for application examination

Free format text: JAPANESE INTERMEDIATE CODE: A621

Effective date: 20110603

A131 Notification of reasons for refusal

Free format text: JAPANESE INTERMEDIATE CODE: A131

Effective date: 20120731

A977 Report on retrieval

Free format text: JAPANESE INTERMEDIATE CODE: A971007

Effective date: 20120731

A521 Request for written amendment filed

Free format text: JAPANESE INTERMEDIATE CODE: A523

Effective date: 20120927

TRDD Decision of grant or rejection written
A01 Written decision to grant a patent or to grant a registration (utility model)

Free format text: JAPANESE INTERMEDIATE CODE: A01

Effective date: 20121113

A61 First payment of annual fees (during grant procedure)

Free format text: JAPANESE INTERMEDIATE CODE: A61

Effective date: 20121206

FPAY Renewal fee payment (event date is renewal date of database)

Free format text: PAYMENT UNTIL: 20151214

Year of fee payment: 3

R150 Certificate of patent or registration of utility model

Ref document number: 5155082

Country of ref document: JP

Free format text: JAPANESE INTERMEDIATE CODE: R150

Free format text: JAPANESE INTERMEDIATE CODE: R150

FPAY Renewal fee payment (event date is renewal date of database)

Free format text: PAYMENT UNTIL: 20151214

Year of fee payment: 3

RD02 Notification of acceptance of power of attorney

Free format text: JAPANESE INTERMEDIATE CODE: R3D02

S802 Written request for registration of partial abandonment of right

Free format text: JAPANESE INTERMEDIATE CODE: R311802

R350 Written notification of registration of transfer

Free format text: JAPANESE INTERMEDIATE CODE: R350

S111 Request for change of ownership or part of ownership

Free format text: JAPANESE INTERMEDIATE CODE: R313111

R350 Written notification of registration of transfer

Free format text: JAPANESE INTERMEDIATE CODE: R350

S531 Written request for registration of change of domicile

Free format text: JAPANESE INTERMEDIATE CODE: R313531

R350 Written notification of registration of transfer

Free format text: JAPANESE INTERMEDIATE CODE: R350