JP2010074063A - 部品装着装置、部品装着設定算出装置、プログラム及び部品装着設定算出方法 - Google Patents

部品装着装置、部品装着設定算出装置、プログラム及び部品装着設定算出方法 Download PDF

Info

Publication number
JP2010074063A
JP2010074063A JP2008242654A JP2008242654A JP2010074063A JP 2010074063 A JP2010074063 A JP 2010074063A JP 2008242654 A JP2008242654 A JP 2008242654A JP 2008242654 A JP2008242654 A JP 2008242654A JP 2010074063 A JP2010074063 A JP 2010074063A
Authority
JP
Japan
Prior art keywords
mounting
component
group
components
pallet
Prior art date
Legal status (The legal status is an assumption and is not a legal conclusion. Google has not performed a legal analysis and makes no representation as to the accuracy of the status listed.)
Granted
Application number
JP2008242654A
Other languages
English (en)
Other versions
JP5074334B2 (ja
Inventor
Takafumi Chida
崇文 智田
Takahiro Nakano
隆宏 中野
Koichi Izumihara
弘一 泉原
Yoshiyuki Tsujimoto
喜之 辻本
Current Assignee (The listed assignees may be inaccurate. Google has not performed a legal analysis and makes no representation or warranty as to the accuracy of the list.)
Hitachi High Tech Corp
Original Assignee
Hitachi High Tech Instruments Co Ltd
Priority date (The priority date is an assumption and is not a legal conclusion. Google has not performed a legal analysis and makes no representation as to the accuracy of the date listed.)
Filing date
Publication date
Application filed by Hitachi High Tech Instruments Co Ltd filed Critical Hitachi High Tech Instruments Co Ltd
Priority to JP2008242654A priority Critical patent/JP5074334B2/ja
Priority to US12/486,070 priority patent/US8340803B2/en
Priority to EP09008000A priority patent/EP2166827B1/en
Priority to AT09008000T priority patent/ATE556574T1/de
Priority to CN2009101493842A priority patent/CN101686636B/zh
Priority to KR1020090054956A priority patent/KR101004847B1/ko
Publication of JP2010074063A publication Critical patent/JP2010074063A/ja
Application granted granted Critical
Publication of JP5074334B2 publication Critical patent/JP5074334B2/ja
Active legal-status Critical Current
Anticipated expiration legal-status Critical

Links

Images

Classifications

    • HELECTRICITY
    • H05ELECTRIC TECHNIQUES NOT OTHERWISE PROVIDED FOR
    • H05KPRINTED CIRCUITS; CASINGS OR CONSTRUCTIONAL DETAILS OF ELECTRIC APPARATUS; MANUFACTURE OF ASSEMBLAGES OF ELECTRICAL COMPONENTS
    • H05K13/00Apparatus or processes specially adapted for manufacturing or adjusting assemblages of electric components
    • H05K13/04Mounting of components, e.g. of leadless components
    • H05K13/0478Simultaneously mounting of different components
    • HELECTRICITY
    • H05ELECTRIC TECHNIQUES NOT OTHERWISE PROVIDED FOR
    • H05KPRINTED CIRCUITS; CASINGS OR CONSTRUCTIONAL DETAILS OF ELECTRIC APPARATUS; MANUFACTURE OF ASSEMBLAGES OF ELECTRICAL COMPONENTS
    • H05K13/00Apparatus or processes specially adapted for manufacturing or adjusting assemblages of electric components
    • H05K13/04Mounting of components, e.g. of leadless components
    • HELECTRICITY
    • H05ELECTRIC TECHNIQUES NOT OTHERWISE PROVIDED FOR
    • H05KPRINTED CIRCUITS; CASINGS OR CONSTRUCTIONAL DETAILS OF ELECTRIC APPARATUS; MANUFACTURE OF ASSEMBLAGES OF ELECTRICAL COMPONENTS
    • H05K13/00Apparatus or processes specially adapted for manufacturing or adjusting assemblages of electric components
    • H05K13/02Feeding of components
    • YGENERAL TAGGING OF NEW TECHNOLOGICAL DEVELOPMENTS; GENERAL TAGGING OF CROSS-SECTIONAL TECHNOLOGIES SPANNING OVER SEVERAL SECTIONS OF THE IPC; TECHNICAL SUBJECTS COVERED BY FORMER USPC CROSS-REFERENCE ART COLLECTIONS [XRACs] AND DIGESTS
    • Y10TECHNICAL SUBJECTS COVERED BY FORMER USPC
    • Y10TTECHNICAL SUBJECTS COVERED BY FORMER US CLASSIFICATION
    • Y10T29/00Metal working
    • Y10T29/53Means to assemble or disassemble
    • Y10T29/5313Means to assemble electrical device
    • Y10T29/53174Means to fasten electrical component to wiring board, base, or substrate

Landscapes

  • Engineering & Computer Science (AREA)
  • Manufacturing & Machinery (AREA)
  • Microelectronics & Electronic Packaging (AREA)
  • Supply And Installment Of Electrical Components (AREA)

Abstract

【課題】回路基板と、この回路基板に対して一方向に配置されたパレットと、に複数の装着ヘッドが同時にアクセスする際に、複数の装着ヘッドが干渉しないようにする技術を提供する。
【解決手段】制御部140は、複数の装着ヘッドを有する部品装着部150が、パレット160から同時に部品を吸着し、回路基板に同時に部品を装着する際に、複数の装着ヘッドが動作する領域の重複が最小となるように、パレット160から同時に複数の装着ヘッドが吸着する部品のグループのペアを特定して、特定したペアのグループに含まれる部品を、各々の装着ヘッドで吸着して、回路基板に装着するようにする。
【選択図】図2

Description

本発明は、複数の装着ヘッドが、パレットから部品を吸着し、当該パレットに対して一方向に配置された回路基板に部品を装着する技術に関する。
部品吸着位置と部品装着位置との間を移動する装着ヘッドにより、部品供給ユニットが部品供給位置(部品吸着位置)に配置した部品を吸着して搬送し、部品装着位置において回路基板に装着する部品装着装置では、回路基板に装着する部品を格納した部品供給ユニットの部品供給台(以下、パレット)における搭載位置、装着ヘッドによる部品の吸着順序、および、装着順序、といった部品装着設定を事前に作成しておく必要がある。
例えば、非特許文献1には、装着ヘッドを1つだけ備える部品装着装置のように、回路基板と、この回路基板に対して一方向に配置されたパレットと、に複数の装着ヘッドが同時にアクセスすることのない部品装着装置における部品装着設定を算出する技術が記載されている。
山田剛史、宮代隆平、中森眞理雄、基板生産時における部品装着機の部品配置問題および部品吸着順序問題のモデル化と解法、情報処理学会 研究報告2005-MPS-55(3)、pp.9-12、2005/6/28
非特許文献1に記載された技術は、装着ヘッドを1つだけ備える部品装着装置のように、回路基板と、この回路基板に対して一方向に配置されたパレットと、に複数の装着ヘッドが同時にアクセスすることのない部品装着装置における部品装着設定を算出するものであり、回路基板と、この回路基板に対して一方向に配置されたパレットと、に複数の装着ヘッドが同時にアクセスする部品装着装置では、非特許文献1に記載された技術を用いて算出した部品装着設定を用いると、装着ヘッドが衝突してしまい、適切な部品装着を行うことができない。
そこで、本発明は、回路基板と、この回路基板に対して一方向に配置されたパレットと、に複数の装着ヘッドが同時にアクセスする際に、複数の装着ヘッドが干渉しないようにする技術を提供することを目的とする。
以上の課題を解決するため、本発明は、複数の装着ヘッドが、パレットから部品を吸着する際、および、回路基板に部品を装着する際、に装着ヘッド同士が干渉しないようにする。
例えば、本発明は、複数の装着ヘッドが、パレットから同時に部品を吸着し、当該パレットに対して一方向に配置された回路基板に同時に部品を装着することのできる部品装着装置であって、前記複数の装着ヘッドが、前記パレットから部品を吸着して前記回路基板に部品を装着する一動作において、前記複数の装着ヘッドが動作する領域の重複が最小となるように、前記パレットから同時に複数の装着ヘッドが吸着する部品のグループのペアを特定する処理と、前記ペアとなったグループの各々に含まれる部品を、各々の装着ヘッドが同時に吸着し、吸着した部品を同時に回路基板に装着する処理と、を行う制御部を備えること、を特徴とする。
以上のように、本発明によれば、回路基板と、この回路基板に対して一方向に配置されたパレットと、に複数の装着ヘッドが同時にアクセスする際に、複数の装着ヘッドが干渉しないようにすることができる。
図1は、本発明の一実施形態である部品装着システム100の概略図である。図示するように、部品装着システム100は、部品装着装置110と、データベースサーバ180と、を備え、部品装着装置110及びデータベースサーバ180は、ネットワークを介して、相互に情報を送受信することができるようにされている。
図2は、部品装着装置110の概略図である。図示するように、部品装着装置110は、記憶部120と、制御部140と、部品装着部150と、パレット160と、入力部170と、出力部171と、通信部172と、を備える。
記憶部120は、部品装着装置情報記憶領域121と、実装回路基板情報記憶領域122と、実装部品情報記憶領域123と、部品装着設定情報記憶領域124と、を備える。
部品装着装置情報記憶領域121には、部品装着装置110の構成を特定する部品装着装置情報が記憶される。例えば、本実施形態においては、図3(部品装着装置情報テーブル121aの概略図)に示すような部品装着装置情報テーブル121aが記憶される。
図示するように、部品装着装置情報テーブル121aは、項目欄121bと、値欄121cと、を有する。
項目欄121bには、部品装着装置110を構成する項目を特定する情報が格納される。特に、本実施形態においては、部品を供給する部品供給ユニットを積載することのできる幅(数)を特定する「パレット幅」、および、装着ヘッド同士が接近可能な距離の最小値を特定する「ヘッド最小接近距離」、が項目として含まれる。
値欄121cには、項目値欄121bで特定される項目に対応する値を特定する情報が格納される。
図2に戻り、実装回路基板情報記憶領域122には、部品装着装置110で回路基板に装着する部品と、当該部品の装着位置及び角度と、を特定する実装回路基板情報が格納される。例えば、本実施形態においては、図4(実装回路基板情報テーブル122aの概略図)に示すような実装回路基板情報テーブル122aが記憶される。
図示するように、実装回路基板情報テーブル122aは、装着座標及び角度欄122bと、部品種類欄122fと、を有する。
装着座標及び角度欄122bには、部品毎に、当該部品を回路基板に装着する位置及び角度を特定する情報が格納される。
例えば、本実施形態においては、装着座標及び角度欄122bは、x欄122cと、y欄122dと、θ欄122eと、を備える。そして、x欄122cには、予め定められたx−y座標において、後述する部品種類欄122fで特定される部品を装着する回路基板におけるx座標の値を特定する情報が格納され、y欄122dには、予め定められたx−y座標において、後述する部品種類欄122fで特定される部品を装着する回路基板におけるy座標の値を特定する情報が格納される。
また、θ欄122eには、後述する部品種類欄122fで特定される部品を装着する角度を特定する情報が格納される。例えば、この角度については、予め定められたx−y座標におけるx軸の方向を0°としておき、反時計回りを正の角として特定するようにしているが、このような態様に限定されるわけではない。
部品種類欄122fには、部品装着装置110で回路基板に装着する部品の種類を特定する情報が格納される。ここで、本実施形態では、部品の種類を特定する情報として、部品名が格納される。
図2に戻り、実装部品情報記憶領域123には、部品装着装置110で回路基板に装着する部品の構成を特定する実装部品情報が記憶される。例えば、本実施形態においては、図5(実装部品情報テーブル123aの概略図)に示すような実装部品情報テーブル123aが記憶される。
図示するように、実装部品情報テーブル123aは、部品種類名欄123bと、部品サイズ欄123cと、重量欄123gと、部品供給ユニット幅欄123hと、を有する。
部品種類名欄123bには、部品の種類を特定する情報が格納される。ここで、本実施形態では、部品の種類を特定する情報として、部品名が格納される。
部品サイズ欄123cには、部品種類名欄123bで特定される部品のサイズを特定する情報が格納される。
例えば、本実施形態においては、部品サイズ欄123cは、x欄123dと、y欄123eと、h欄123fと、を備え、部品種類名欄123bで特定される部品の幅、奥行き、高さ、がそれぞれ格納される。
重量欄123gには、部品種類名欄123bで特定される部品の重量を特定する情報が格納される。
部品供給ユニット幅欄123hには、部品種類名欄123bで特定される部品を搭載する部品供給ユニットの幅を特定する情報が格納される。
図2に戻り、部品装着設定情報記憶領域124には、部品供給ユニットを搭載する位置を特定する情報と、部品供給ユニットから部品を吸着する装着ヘッド、並びに、吸着及び装着順序、を特定する情報と、を有する部品装着設定情報が格納される。
例えば、本実施形態においては、図6(部品装着設定情報テーブル124aの概略図)に示すような部品装着設定情報テーブル124aが記憶される。
図示するように、部品装着設定情報テーブル124aは、部品供給ユニット配置セクション124bと、部品装着順序セクション124eと、を備える。
部品供給ユニット配置セクション124bには、部品供給ユニットを搭載する位置を特定する情報が格納される。例えば、部品供給ユニット配置セクション124bは、搭載位置欄124cと、部品種類欄124dと、を有する。
搭載位置欄124cには、後述する部品種類欄124dで特定される部品を搭載する部品供給ユニットを搭載する位置を特定する情報が格納される。例えば、本実施形態においては、部品供給ユニットを搭載するパレットの位置に、予め定められた識別情報(例えば、パレットの一方の端から順に連番で付された位置番号等)を割り振り、当該識別情報を各々の部品毎に格納する。
部品種類欄124dには、回路基板に装着する部品の種類を特定する情報が格納される。ここで、本実施形態では、部品の種類を特定する情報として、部品名が格納される。
部品装着順序セクション119dには、部品供給ユニットから部品を吸着する装着ヘッド、並びに、吸着及び装着順序、を特定する情報が格納される。
例えば、本実施形態においては、装着座標及び角度欄124fと、部品供給ユニット位置欄124jと、装着ヘッド番号欄124kと、吸着/装着順序欄124lと、を備える。
装着座標及び角度欄124fには、後述する部品供給ユニット位置欄124jで特定される位置に配置される部品供給ユニットに搭載される部品を装着する回路基板上の位置及び角度を特定する情報が格納される。
例えば、本実施形態においては、装着座標及び角度欄124fは、x欄124gと、y欄124hと、θ欄124iと、を備え、それぞれ、部品を装着する回路基板におけるx座標の値、y座標の値、および、部品を装着する角度、を特定する情報が格納される。
部品供給ユニット位置欄124jには、装着座標及び角度欄124fで特定される基板の位置及び角度に装着する部品を搭載する部品供給ユニットが載せられるパレットにおける位置を特定する情報が格納される。ここで、本実施形態においては、部品供給ユニット配置セクション124bにおける搭載位置欄124cに対応する値が格納される。
装着ヘッド番号欄124kには、部品供給ユニット位置欄124jで特定される位置に積載される部品供給ユニットが搭載する部品を吸着する装着ヘッドを識別する情報が格納される。例えば、本実施形態においては、部品装着装置110が有する装着ヘッドの各々に識別番号を割り振っておき、割り振った識別番号が本欄に格納される。
吸着/装着順序欄124lには、部品供給ユニット位置欄124jで特定される位置に積載される部品供給ユニットが搭載する部品を装着ヘッドが吸着し、回路基板に装着する順番を特定する情報が格納される。
図2に戻り、制御部140は、全体制御部141と、部品装着設定処理部142と、ブロック分割部143と、配置算出部144と、装着グループ算出部145と、グループ割当算出部146と、を備える。
全体制御部141は、記憶部120、部品装着部150、パレット160、入力部170、出力部171及び通信部172での処理の全体を制御する。
部品装着設定処理部142は、制御部140での処理の全体を制御する。特に、本実施形態においては、入力部170を介して実装回路基板を特定する情報の入力を受け付けたり、特定された実装回路基板の実装回路基板情報や実装部品情報を、データベースサーバ180より読み込んだり、部品装着設定情報を出力部171に出力したり、といった処理を行う。
ブロック分割部143は、パレット160を仮想的に予め定められたブロックに分割する処理を行う。
配置算出部144は、ブロック分割部143により仮想的に分割された各ブロックに、部品供給ユニットを配置する処理を行う。
装着グループ算出部145は、装着ヘッド毎に、当該装着ヘッドが1往復する際に装着する部品の集合を特定する装着グループを特定する処理を行う。
グループ割当算出部146は、装着グループ算出部145が算出した装着グループを各装着ヘッドに割り当て、部品装着ユニットの配置、並びに、部品の吸着及び装着順序を特定して部品装着設定情報を生成する処理を行う。ここで、本実施形態においては、グループ割当算出部146は、部品の吸着時及び部品の装着時に装着ヘッド同士が衝突しないように(装着ヘッド同士が干渉する量が最も少なくなるように)、部品装着ユニットの配置、並びに、部品の吸着及び装着順序を特定する。
部品装着部150は、装着ヘッドと、当該装着ヘッドを移動させるXYロボットと、回路基板を載せる回路基板搭載テーブルと、を備える。
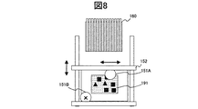
ここで、本実施形態においては、図7(部品装着部150及びパレット160の概略図)に示すように、複数の装着ヘッド151A、151Bが、回路基板191に対して、一方向に配置されたパレット160から部品を吸着し、回路基板搭載テーブル153に載せられている回路基板191に吸着した部品を装着するようにしている。
このように、複数の装着ヘッド151A、151Bが、回路基板191及びパレットに同時にアクセスするような場合には、装着ヘッド151A、151B同士が干渉するときがある。このため、装着ヘッド151A、151B同士が干渉するようなときには、図8(装着ヘッド151Bが退避位置にある場合を説明する概略図)に示すように、何れか一方の装着ヘッド151A、151B(ここでは、パレット160から遠い方にある装着ヘッド151B)を、装着ヘッド151A、151B同士が干渉しない退避位置(ここでは、装着ヘッド151Aが回路基板191に対して部品を吸着し、搬送し、装着する際の移動領域から外れた所定の位置)に退避させる必要がある。
なお、本発明では、装着ヘッド151A、151Bが、なるべく退避位置に退避することがなく、効率的に部品の吸着、搬送及び装着を行うことができるように部品装着設定情報を生成する。
パレット160は、図7に示すように、部品供給ユニット161を積載し、積載した部品供給ユニット161を制御して、部品供給ユニット161に搭載されている部品を、装着ヘッド151A、151Bの吸着位置に配置する。
入力部170は、情報の入力を受け付ける。
出力部171は、情報を出力する。
通信部172は、ネットワーク190を介して、情報を送受信する。
以上に記載した部品装着装置110は、例えば、図9(コンピュータ900の概略図)に示すような、CPU(Central Processing Unit)901と、メモリ902と、HDD(Hard Disk Drive)等の外部記憶装置903と、CD−ROM(Compact Disk Read Only Memory)やDVD−ROM(Digital Versatile Disk Read Only Memory)等の可搬性を有する記憶媒体904に対して情報を読み書きする読書装置905と、キーボードやマウスなどの入力装置906と、ディスプレイなどの出力装置907と、通信ネットワークに接続するためのNIC(Network Interface Card)等の通信装置908と、を備えたコンピュータ900に、XYロボット、装着ヘッド及び回路基板搭載テーブルを有する部品実装装置(図示せず)、パレット装置(図示せず)を備えることで、実現可能である。
例えば、記憶部120は、CPU901がメモリ902又は外部記憶装置903を利用することにより実現可能であり、制御部140は、外部記憶装置903に記憶されている所定のプログラムをメモリ902にロードしてCPU901で実行することで実現可能であり、部品装着部150は、CPU901が図示しない部品実装装置を利用することで実現可能であり、パレット160は、CPU901が図示しないパレット装置を利用することで実現可能であり、入力部170は、CPU901が入力装置906を利用することで実現可能であり、出力部171は、CPU901が出力装置907を利用することで実現可能であり、通信部172は、CPU901が通信装置908を利用することで実現可能である。
この所定のプログラムは、読書装置905を介して記憶媒体904から、あるいは、通信装置908を介してネットワークから、外部記憶装置903にダウンロードされ、それから、メモリ902上にロードされてCPU901により実行されるようにしてもよい。また、読書装置905を介して記憶媒体904から、あるいは、通信装置908を介してネットワークから、メモリ902上に直接ロードされ、CPU901により実行されるようにしてもよい。
図10は、データベースサーバ180の概略図である。
図示するように、データベースサーバ180は、記憶部181と、制御部184と、通信部185と、を備える。
記憶部181は、回路基板マスタ情報記憶領域182と、部品マスタ情報記憶領域183と、を備える。
回路基板マスタ情報記憶領域182には、部品装着装置110で回路基板に装着する部品と、当該部品の装着位置及び角度と、を特定する回路基板マスタ情報が格納される。例えば、本実施形態においては、図4に示すような実装回路基板情報テーブル122aと同様の構成を有するテーブル情報が、回路基板マスタ情報として各々の回路基板毎に記憶される。
部品マスタ情報記憶領域183には、部品装着装置110で回路基板に装着する部品の構成を特定する部品マスタ情報が記憶される。例えば、本実施形態においては、図5に示すような実装部品情報テーブル123aと同様の構成を有するテーブル情報が、部品マスタ情報として記憶される。
制御部184は、記憶部181に記憶される情報を管理する。特に、本実施形態においては、部品装着装置110からの要求に応じて、回路基板マスタ情報記憶領域に記憶されている回路基板マスタ情報、および、部品マスタ情報記憶領域183に記憶されている部品マスタ情報、を部品装着装置110に送信する処理を制御する。
通信部185は、ネットワーク190を介して、情報を送受信する。
以上に記載したデータベースサーバ180も、例えば、図9に示すような、コンピュータ900で実現可能である。
例えば、記憶部181は、CPU901がメモリ902又は外部記憶装置903を利用することにより実現可能であり、制御部184は、外部記憶装置903に記憶されている所定のプログラムをメモリ902にロードしてCPU901で実行することで実現可能であり、通信部185は、CPU901が通信装置908を利用することで実現可能である。
この所定のプログラムは、読書装置905を介して記憶媒体904から、あるいは、通信装置908を介してネットワークから、外部記憶装置903にダウンロードされ、それから、メモリ902上にロードされてCPU901により実行されるようにしてもよい。また、読書装置905を介して記憶媒体904から、あるいは、通信装置908を介してネットワークから、メモリ902上に直接ロードされ、CPU901により実行されるようにしてもよい。
図11は、部品装着装置110が、部品装着設定情報を生成する処理を示すPAD(Problem Analysis Diagram)図である。
なお、PADについては、二村良彦著、「情報工学基礎講座4 プログラム技法 PADによる構造化プログラミング」、オーム社、1984年に詳細に記載されている。
まず、部品装着設定処理部142は、入力部170を介して、部品装着装置110の利用者より、部品装着装置110で部品の装着を行う回路基板の種類を特定する情報(例えば、回路基板ID)の入力を受け付ける(S10)。
次に、部品装着設定処理部142は、入力された回路基板IDに対応する回路基板のテーブル情報と、当該テーブル情報において特定される部品情報と、をデータベースサーバ180より読み込む(S11)。
具体的には、部品装着設定処理部142は、ステップS10で入力された回路基板IDを特定する情報を有する読み込み要求を、通信部172を介して、データベースサーバ180に送信する。
このような読み込み要求を受信したデータベースサーバ180では、制御部184が、読み込み要求に含まれている回路基板IDに対応するテーブル情報を回路基板マスタ情報記憶領域182から取得する。また、制御部184は、取得したテーブル情報の部品種類欄に格納されている部品種類を特定する情報(ここでは、部品種類名)を抽出し、抽出した部品種類名に対応するレコードを部品マスタ情報記憶領域183から取得する。
そして、制御部184は、このようにして取得したテーブル情報とレコードとを部品装着装置110に、通信部185を介して送信する。
このようなテーブル情報とレコードとを受信した部品装着装置110では、部品装着設定処理部142が、受信したテーブル情報を実装回路基板情報テーブル122aとして実装基板回路情報記憶領域122に記憶し、また、受信したレコードを格納したテーブルを生成して、実装部品情報テーブル123aとして実装部品情報記憶領域123に記憶する。
次に、ブロック分割部143は、パレット160を仮想的に予め定められたブロック幅wで分割し、ブロックを生成する(S12)。なお、この処理については、図12を用いて詳細に説明する。
次に、配置算出部144は、ブロック分割部143により仮想的に分割された各ブロックに、部品供給ユニットを配置する(S13)。
ここでは、各ブロックに配置される部品供給ユニットから装着される部品の数ができるだけ均等となり、かつ、各ブロックに配置される部品供給ユニットから装着する部品の平均装着座標ができるだけ近くなるように、部品供給ユニットを割り当るブロックを決定し、決定したブロックにおける部品供給ユニットの位置を算出する。なお、この処理については、図13〜15を用いて詳細に説明する。
次に、装着グループ算出部145は、装着ヘッド毎に、当該装着ヘッドが部品吸着位置から部品装着位置の間を1往復する際に装着する部品の集合を特定する装着グループを算出する(S14)。
ここで、装着グループの算出は、各装着グループにおいて、装着グループを構成する部品を格納する部品供給ユニットが全て同じブロックに属し、かつ、装着グループを構成する部品の装着座標ができるだけ近くなるように、装着グループを作成する。なお、この処理については、図16を用いて詳細に説明する。
次に、グループ割当算出部146は、装着グループ算出部145が算出した装着グループを各装着ヘッドに割り当て、部品装着ユニットの配置、並びに、部品の吸着及び装着順序を特定する(S15)。ここで、装着グループの各装着ヘッドへの割当は、各装着グループに属する構成部品をどの装着ヘッドの何往復目で装着するのかを定めるものである。なお、この処理については、図17及び図18を用いて詳細に説明する。
次に、グループ割当算出部146は、ステップS10〜S15により算出された、部品供給ユニット配置、及び、部品装着順序、を各々部品供給ユニット配置セクション124b、および、部品装着順序セクション124eに格納することで、部品装着設定情報テーブル124aを生成して、部品装着設定情報記憶領域124に格納する(S16)。
そして、部品装着設定処理部142は、生成した部品装着設定情報テーブル124aを予め定められた表示形式に加工して、出力部171に表示する(S17)。
図12は、図11のステップS12におけるパレットをブロックに分割する処理を示すPAD図である。
まず、ブロック分割部143は、各々のブロックを特定する情報を格納するブロックリストを作成する(S20)。ブロックリストの初期状態は空集合とする。
次に、ブロック分割部143は、ブロック幅wを算出する(S21)。ここで、ブロック幅wは、装着ヘッドの最小接近距離以上で、パレット幅以下とする。本実施形態では、ブロック幅wをヘッド最小接近距離とするが、このような態様に限定されるわけではない。
次に、ブロック分割部143は、図7に示すように、パレット160の一端を原点とし、パレット160の一端から他端に向かう方向を、正の方向とするz座標における座標値を表す一時変数zを作成し、0で初期化する(S22)。
次に、ブロック分割部143は、変数zの値がパレット幅を超えない間、処理ステップS24、S25を繰り返し実行する(S23)。
そして、ブロック分割部143は、パレット160上の範囲[z,z+w]を一つのブロックとし、ブロックリストに追加する(S24)。
次に、ブロック分割部143は、一時変数zをz+wに更新する(S25)。
図13は、図11における部品供給ユニットの配置を算出する処理を示すPAD図である。
まず、配置算出部144は、部品供給ユニットに優先度を付けたリストである部品供給ユニット優先度付リストを作成する(S30)。ここで、部品供給ユニット優先度付リストは、部品装着装置110で回路基板に装着する部品を搭載した部品供給ユニットを、各部品供給ユニットから装着する部品の数をキーとし、降順にソートしたリストである。
次に、配置算出部144は、各ブロックに割り当てられる部品供給ユニットから装着される部品の数ができるだけ均等となり、かつ、各ブロックにおいて各部品装着ユニットから装着する部品の平均装着座標ができるだけ近くなるように、部品供給ユニットを搭載するブロックを割り当てる(S31)。なお、この処理については、図14を用いて詳細に説明する。
次に、配置算出部144は、各々のブロック毎に割り当てられた各部品供給ユニットから装着する部品の平均装着座標の最短巡回路を近似する巡回路を用いて、各部品供給ユニットの搭載位置を算出する(S32)。なお、この処理については、図15を用いて詳細に説明する。
図14は、図13のステップS31における部品供給ユニットのブロック割当を算出する処理を示すPAD図である。
まず、配置算出部144は、図13のステップS30で生成した部品供給ユニット優先度付リストが空になるまで、後述するステップS41〜S56を繰り返し実行する(S40)。
ステップS41では、配置算出部144は、部品供給ユニット優先度付リストの先頭に格納されている部品供給ユニットrを選択する。
ステップS42では、配置算出部144は、ステップS41で選択した部品供給ユニットrを搭載するブロックを指す一時変数(挿入先ブロック番号)であるinsBlkを、−1に初期化する。
ステップS43では、配置算出部144は、「各ブロックに搭載する部品供給ユニットの部品装着数のブロック毎の最大値」の最小値を表す一時変数minMaxNumを、+∞(配置算出部144が扱える最大の数)に初期化する。
ステップS44では、配置算出部144は、既に各ブロックに搭載された部品供給ユニットから装着する部品の平均装着座標と、部品供給ユニットrから装着する部品の平均装着座標と、の距離の最小値を表す一時変数minDistを、+∞(配置算出部144が扱える最大の数)に初期化する。
ステップS45では、配置算出部144は、図11のステップS12で生成したブロックリストに格納されている全てのブロックblkについて、後述するステップS46〜S52を繰り返し実行する。即ち、ステップS45では、図11のステップS12で生成したブロックリストに格納されているブロックから、後述するステップS46〜S52を実行していない任意のブロックblkを選択して、後述するステップS46〜S52を実行する。
ステップS46では、配置算出部144は、ステップS45で選択したブロックblkに部品供給ユニットrが搭載可能であるかを判定し、偽であれば、ステップS47に進む。なお、本実施形態では、既にブロックblkに搭載が決まっている部品供給ユニットの幅と、部品供給ユニットrの幅と、の和wBlkをとり、wBlk ≦ wが成立すれば、搭載可能と判定する。
ステップS47では、配置算出部144は、ステップS45に戻り、別のブロックを選択して処理を繰り返す。
ステップS48では、配置算出部144は、ブロックblkに部品供給ユニットrを搭載すると仮定して、ブロックblkに搭載される全ての部品供給ユニットから装着される部品の数を算出して、最大装着点数maxNumとする。
ステップS49では、配置算出部144は、ブロックblkに搭載される全ての部品供給ユニットから装着される部品の平均装着座標と、部品供給ユニットrから装着される部品の平均装着座標と、の距離distを算出する。ここで、平均装着座標は、部品供給ユニットから装着される部品の各々の装着座標の相加平均を、x座標及びy座標の各々について算出すればよい。
ステップS50では、配置算出部144は、以下の二つの条件式(条件式1、条件式2)のいずれかが成立するかを判定し、偽であれば、ステップS51に進み、ステップS45に戻り、別のブロックを選択して処理を繰り返す。
条件式1: maxNum < minMaxNum
条件式2: maxNum = minMaxNum、かつ、dist < minDist
ステップS52では、配置算出部144は、insBlk、minMaxNum、minDistの値を各々、blk、maxNum、distに更新する。
ステップS53では、配置算出部144は、insBlkが−1であるかを判定し、真であれば、ステップS54において、「搭載できない部品供給ユニットがある」等のエラーメッセージを出力部171に出力して、利用者に報告し、処理を終了する。
ステップS55では、配置算出部144は、部品供給ユニットrをブロックinsBlkに挿入、即ち、部品供給ユニットrの搭載位置をブロックinsBlkに割り当てる(ブロック割当)。
ステップS56では、配置算出部144は、部品供給ユニットrを部品供給ユニット優先度付リストから削除する。
図15は、図13のステップS32における部品供給ユニットの搭載位置を算出する処理を示すPAD図である。
まず、配置算出部144は、配置算出部144は、全てのブロックblkについて、後述するステップS61〜S69を実行する。即ち、図11のステップS12で生成したブロックリストに格納されているブロックから、任意のブロックblkを一つずつ選択して、後述するステップS61〜S69を実行する。
ステップS61では、配置算出部144は、ブロックblkに属する部品供給ユニットのリストを作成する。
ステップS62では、配置算出部144は、後述する処理で利用する現在座標cPtrを原点(0、0)に初期化する。ここで、例えば、原点(0,0)の位置は、図7に示すように、矩形上に形成された回路基板191の任意の角部(図7では、向かって左下の角部)とすればよいが、このような態様に限定されるわけではない。
ステップS63では、配置算出部144は、部品供給ユニットの搭載位置を指す一時変数uを、ブロックblkの開始位置に初期化する。ここで、ブロックの開始位置は、図7に示すようなz軸上の位置で特定すればよい。
ステップS64では、配置算出部144は、ステップS61で作成した部品供給ユニットリストが空になるまで、後述するステップS65〜S69を実行する。
ステップS65では、配置算出部144は、部品供給ユニットリストを順に調べ、部品供給ユニットから装着する部品の平均装着座標が、現在座標cPtrに最も近い部品供給ユニットrを選択する。
ステップS66では、配置算出部144は、ステップS65で選択された部品供給ユニットrの搭載位置をuに設定する。
ステップS67では、配置算出部144は、現在座標cPtrを部品供給ユニットrから装着する部品の平均装着座標に更新する。
ステップS68では、配置算出部144は、部品供給ユニットrを部品供給ユニットリストから削除する。
ステップS69では、配置算出部144は、座標uを(u+部品供給ユニットrの幅)に更新する。
図16は、図11のステップS14における装着グループを算出する処理を示すPAD図である。
まず、装着グループ算出部145は、図11のステップS12で生成されたブロックリストに属す全てのブロックblkについて、後述するステップS71〜S80を実行する(S70)。即ち、図11のステップS12で生成されたブロックリストに属す全てのブロックからブロックblkを一つずつ選択して、後述するステップS71〜S80を実行する。
ステップS71では、装着グループ算出部145は、装着グループリストを作成する。ここで、装着グループリストの初期状態は空集合である。
ステップS72では、装着グループ算出部145は、ブロックblkに属する部品供給ユニットから装着される部品のリストである装着部品リストを生成する。
ステップS73では、装着グループ算出部145は、後述する処理で使用する現在吸着座標cPPtrを原点(ここでは、図7に示すz軸の原点0)、現在装着座標cMPtrを原点(ここでは、図7に示すx−y座業における原点(0,0))、に初期化する。
ステップS74では、装着グループ算出部145は、装着部品リストが空になるまで、後述するステップS75〜S80を実行する。
ステップS75では、装着グループ算出部145は、新規装着グループg(ここでは、空集合)を装着グループリストに追加する。
ステップS76では、装着グループ算出部145は、装着グループgのサイズ(構成部品数)が、一つの装着ヘッドに設けられている吸着ノズル数より小さい間、後述するステップS77〜S80を実行する。
ステップS77では、装着グループ算出部145は、装着部品リストを順に調べ、「部品を格納する部品供給ユニットの搭載位置と、現在吸着座標cPPtrとの距離」と、「部品の装着座標と、現在装着座標cMPtrとの距離」、との和が最小の部品cを選択する。
ステップS78では、装着グループ算出部145は、部品cを装着グループgに追加する。
ステップS79では、装着グループ算出部145は、現在吸着座標cPPtrを部品cを格納する部品供給ユニットの搭載位置に更新し、現在装着座標cMPtrを部品cの装着座標に更新する。
ステップS80では、装着グループ算出部145は、部品cを装着部品リストから削除する。
図17は、図11のステップS15における装着グループの割当を算出する処理を示すPAD図である。
まず、ステップS90では、グループ割当算出部146は、後述するステップS91〜S94を行うことにより、各装着グループ間の干渉量(部品供給ユニット搭載位置、部品装着座標の重なり具合を意味する)を算出する。
ステップS91では、グループ割当算出部146は、図11のステップS14における装着グループを算出する処理で作成した装着グループリストに属する装着グループの全てのペアの組合せ(g1,g2)について、後述するステップS92〜S94を実行する。即ち、グループ割当算出部146は、図11のステップS14における装着グループを算出する処理で作成した装着グループリストに属する装着グループの全てのペアの組合せから、任意のペアの組合せ(g1,g2)を一つずつ選択して、後述するステップS92〜S94を実行する。
ステップS92では、グループ割当算出部146は、組合せ(g1,g2)間の吸着時干渉量corP(g1,g2)を、下記の(1)式より算出する。
Figure 2010074063
ここで、(1)式の中の、zMin1、zMax1は各々、装着グループg1の構成部品を格納する部品供給ユニットの搭載位置の最小値、最大値であり、zMin2、zMax2は各々、装着グループg2の構成部品を格納する部品供給ユニットの搭載位置の最小値、最大値である。また、Max( A , B )は、A及びBの内の最大値を選択することを示し、Min( C , D )は、C及びDの内の最小値を選択することを示す。
ステップS93では、グループ割当算出部146は、組合せ(g1,g2)間の装着時干渉量corM(g1,g2)を、下記の(2)式により算出する。
Figure 2010074063
(2)式の中の、xMin1、xMax1は各々、装着グループg1の構成部品の装着位置のx座標の最小値、最大値であり、yMin1、yMax1は各々、装着グループg1の構成部品の装着位置のy座標の最小値、最大値であり、xMin2、xMax2は各々、装着グループg2の構成部品の装着位置のx座標の最小値、最大値であり、yMin2、yMax2は各々、装着グループg2の構成部品の装着位置のy座標の最小値、最大値である。
ステップS94では、グループ割当算出部146は、装着グループ間干渉量cor(g1,g2)を、下記の(3)式により算出する。
Figure 2010074063
ステップS95では、グループ割当算出部146は、装着グループ干渉グラフを構築する。ここで、装着グループ干渉グラフとは、図11のステップS14において生成された装着グループを「ノード」、上述のステップS94で算出した装着グループ干渉量を、ノードを結ぶ「エッジ」の重みとするグラフ構造である。
図18は、装着グループ干渉グラフ192の概略図である。図中において、ノードは192a、エッジは192bで示している。
ステップS96では、上述のステップS95で構築した装着グループ干渉グラフの最適マッチングを算出する。以下、最適マッチングを構成するエッジが結合する装着グループの組合せを「装着グループペア」と呼ぶ。
そして、最適マッチングは、図18に示すような装着グループ干渉グラフを構成するエッジの中から次の(a)〜(c)の条件を満たす集合(マッチング)を求めることで算出される。
(a)各ノードに接続されるエッジのうち、マッチングとして選択されるエッジは1つ以下。
(b)可能な限り多くのエッジで構成される。例えば、ノード数が偶数の場合には(ノード数)÷2、ノード数が奇数の場合には(ノード数−1)÷2から降順で、最適なものと判断する。
(c)マッチングに属するエッジの重み値の和が、可能な限り小さい。
なお、最適マッチングに属するエッジが結合する装着グループを、各往復において各装着グループが装着する装着グループとすれば、吸着時、装着時の干渉が少ない、即ち、退避動作が少なく、実装時間が短いことになる。
また、最適マッチングの算出方法としては、ハンガリアン法(ハンガリー法)が知られているが、例えば、重み値の小さいエッジから順に、エッジをマッチングに追加する方法で算出しても良い。
上述のように、各装着グループを1つのブロックに属する部品供給ユニットのみで装着可能とすることで、吸着時に干渉しない装着グループのペアを数多く作り出すことができる。
ステップS97では、グループ割当算出部146は、ステップS96で算出した装着グループペアをソートする。ソートの基準としては、例えば、装着グループペアを定義するエッジの重み値の降順等を利用すれば良い。ペアにならなかった装着グループは、エッジ重み値0とする。
ステップS98では、グループ割当算出部146は、ステップS96で算出した全ての装着グループペアpについて、ステップS99を繰り返し実行する。
ステップS99では、グループ割当算出部146は、装着グループペアpに属する各装着グループを各装着ヘッドに割り当てる。ここでは、装着グループペアpに属する装着グループのうち、装着グループの構成部品の装着座標(y軸)の最小値が小さい方の装着グループ、および、ペアにならなかった装着グループ、をパレットから遠い側の装着ヘッド(図7では、装着ヘッド151B)に割り当てるようにしているが、このような態様に限定されず、装着グループペアpに属する各装着グループが別々の装着ヘッドに割り当てられれば、どのような割当方法でもよい。
ステップS100では、グループ割当算出部146は、各部品の吸着/装着順を算出する。例えば、本実施形態では、各装着ヘッドに割り当てられた装着グループについては上述のステップS97でソートした順、各装着グループ内においては、図11のステップS14における前記処理ステップS0600において、装着グループに追加した順に部品の吸着/装着順序を設定しているが、このような態様に限定されない。
図19は、部品装着装置110において部品を装着する手順を示すPAD図である。
まず、ステップS110では、部品装着装置110の全体制御部141は、部品装着部150の回路基板テーブルを制御することにより、部品を装着する位置に回路基板を配置する。
ステップS111では、全体制御部141は、全ての部品が装着されるまで、ステップS112及びS113を繰り返す。
ステップS112では、全体制御部141は、部品装着設定情報記憶領域124に記憶されている部品装着設定情報テーブル124aの吸着/装着順序欄124lに格納された吸着順序に従い、次の往復で装着すべき部品を、部品装着部150の装着ヘッドを用いて吸着する。
ステップS113では、全体制御部141は、部品装着設定情報テーブル124aの吸着/装着順序欄124lに格納された装着順序に従い、部品装着部150の装着ヘッドを用いて部品を装着する。
ステップS114では、全体制御部141は、部品装着部150の回路基板テーブルを制御することにより、部品を装着した回路基板0107を排出する。
以上のように、本発明によれば、回路基板と、この回路基板に対して一方向に配置されたパレットと、に複数の装着ヘッドが同時にアクセする部品装着装置において、装着ヘッドの退避動作を考慮に入れて部品の装着設定を行うことができるため、利用者は、短い時間で所望の回路基板を生産することができる。
また、パレットを仮想的に複数のブロックに分割し、各装着ヘッドの各往復において、同一ブロック内に搭載する部品供給ユニットに格納された部品のみを吸着、並びに、装着するよう部品装着設定を行うため、退避動作が少ない部品装着設定ができる。
以上に記載した実施形態においては、部品装着部150と、パレット160と、を有する部品装着装置110において、部品装着設定情報を算出するようにしているが、このような態様に限定されず、例えば、図20(部品装着設定算出装置210の概略図)に示すような部品装着設定算出装置210において部品装着設定情報(部品装着設定テーブル)を作成して、部品装着装置に送信するようにしてもよい。
ここで、図示するように、部品装着設定算出装置210は、記憶部120と、制御部140と、入力部170と、出力部171と、通信部172と、を備え、これらは、部品装着装置110の記憶部120、制御部140と、入力部170と、出力部171と、通信部172と、同様に機能する。
なお、 以上に記載した部品装着設定算出装置210は、例えば、図9に示すようなコンピュータ900で、実現可能である。
例えば、記憶部120は、CPU901がメモリ902又は外部記憶装置903を利用することにより実現可能であり、制御部140は、外部記憶装置903に記憶されている所定のプログラムをメモリ902にロードしてCPU901で実行することで実現可能であり、部品装着部150は、CPU901が図示しない部品実装装置を利用することで実現可能であり、パレット160は、CPU901が図示しないパレット装置を利用することで実現可能であり、入力部170は、CPU901が入力装置906を利用することで実現可能であり、出力部171は、CPU901が出力装置907を利用することで実現可能であり、通信部172は、CPU901が通信装置908を利用することで実現可能である。
この所定のプログラムは、読書装置905を介して記憶媒体904から、あるいは、通信装置908を介してネットワークから、外部記憶装置903にダウンロードされ、それから、メモリ902上にロードされてCPU901により実行されるようにしてもよい。また、読書装置905を介して記憶媒体904から、あるいは、通信装置908を介してネットワークから、メモリ902上に直接ロードされ、CPU901により実行されるようにしてもよい。
部品装着システム100の概略図。 部品装着装置110の概略図。 部品装着装置情報テーブル121aの概略図。 実装回路基板情報テーブル122aの概略図。 実装部品情報テーブル123aの概略図。 部品装着設定情報テーブル124aの概略図。 部品装着部150及びパレット160の概略図。 装着ヘッド151Bが退避位置にある場合を説明する概略図。 コンピュータ900の概略図。 データベースサーバ180の概略図。 部品装着設定情報を生成する処理を示すPAD図。 パレットをブロックに分割する処理を示すPAD図。 部品供給ユニットの配置を算出する処理を示すPAD図。 部品供給ユニットのブロック割当を算出する処理を示すPAD図。 部品供給ユニットの搭載位置を算出する処理を示すPAD図。 装着グループを算出する処理を示すPAD図。 装着グループの割当を算出する処理を示すPAD図。 装着グループ干渉グラフ192の概略図。 部品を装着する手順を示すPAD図。 部品装着設定算出装置210の概略図。
符号の説明
100 部品装着システム
110 部品装着装置
120 記憶部
121 部品装着装置情報記憶領域
122 実装部品回路基板情報記憶領域
123 実装部品情報記憶領域
124 部品装着設定情報記憶領域
141 全体制御部
140 制御部
142 部品装着設定処理部
143 ブロック分割部
144 配置算出部
145 装着グループ算出部
146 グループ割当算出部
170 入力部
171 出力部
172 通信部
180 データベースサーバ

Claims (16)

  1. 複数の装着ヘッドが、パレットから同時に部品を吸着し、当該パレットに対して一方向に配置された回路基板に同時に部品を装着することのできる部品装着装置であって、
    前記複数の装着ヘッドが、前記パレットから部品を吸着して前記回路基板に部品を装着する一動作において、前記複数の装着ヘッドが動作する領域の重複が最小となるように、前記パレットから同時に複数の装着ヘッドが吸着する部品のグループのペアを特定する処理と、
    前記ペアとなったグループの各々に含まれる部品を、各々の装着ヘッドが同時に吸着し、吸着した部品を同時に回路基板に装着する処理と、を行う制御部を備えること、
    を特徴とする部品装着装置。
  2. 請求項1に記載の部品装着装置であって、
    前記制御部は、
    予め定められた座標に近い位置から吸着される部品、及び、予め定められた座標に近い位置に装着される部品、により前記グループを生成し、前記グループの組合せの中より、前記パレットから部品を吸着して前記回路基板に部品を装着する一動作において、前記複数の装着ヘッドが動作する領域の重複が最小となるペアを特定すること、
    を特徴とする部品装着装置。
  3. 請求項2に記載の部品装着装置であって、
    前記制御部は、
    前記グループが重複しないで生成可能な最大数の組合せの中より、前記パレットから前記複数の装着ヘッドが同時に部品を吸着する際の装着ヘッド同士の干渉量と、前記回路基板に前記複数の装着ヘッドが同時に部品を装着する際の装着ヘッド同士の干渉量と、の和が最小となるように、前記ペアを特定すること、
    を特徴とする部品装着装置。
  4. 請求項3に記載の部品装着装置であって、
    前記制御部は、
    前記グループに含まれる部品の吸着位置における最小値及び最大値と、前記グループと組み合わされる前記グループに含まれる吸着位置における最小値及び最大値と、の重複部分の座標範囲を、前記パレットから前記複数の装着ヘッドが同時に部品を吸着する際の装着ヘッド同士の干渉量とし、
    前記グループに含まれる部品の装着位置におけるx座標の最小値及び最大値と、前記グループと組み合わされる前記グループに含まれる装着位置におけるx座標の最小値及び最大値と、の重複部分、および、前記グループに含まれる部品の装着位置におけるy座標の最小値及び最大値と、前記グループと組み合わされる前記グループに含まれる装着位置におけるy座標の最小値及び最大値と、の重複部分、の座標範囲の加算値を、前記回路基板に前記複数の装着ヘッドが同時に部品を装着する際の装着ヘッド同士の干渉量とすること、
    を特徴とする部品装着装置。
  5. 請求項2に記載の部品装着装置であって、
    前記制御部は、
    前記パレットを、前記複数の装着ヘッドが干渉しない最小幅以上で、前記パレットの幅以下の予め定められた幅のブロックに分割し、分割したブロックの中から前記グループを生成すること、
    を特徴とする部品装着装置。
  6. 複数の装着ヘッドが、パレットから同時に部品を吸着し、当該パレットに対して一方向に配置された回路基板に同時に部品を装着する際の、各々の装着ヘッドが部品を吸着し装着する順番を特定する部品装着設定情報を生成する部品装着設定算出装置であって、
    前記パレットから部品を吸着して前記回路基板に部品を装着する一動作において、前記複数の装着ヘッドが動作する領域の重複が最小となるように、前記パレットから同時に複数の装着ヘッドが吸着する部品のグループのペアを特定する処理と、
    前記ペアとなったグループの各々に含まれる部品を、各々の装着ヘッドが同時に吸着し、吸着した部品を同時に回路基板に装着するよう、前記部品装着設定情報を生成する処理と、を行う制御部を備えること、
    を特徴とする部品装着設定算出装置。
  7. 請求項6に記載の部品装着設定算出装置であって、
    前記制御部は、
    予め定められた座標に近い位置から吸着される部品、及び、予め定められた座標に近い位置に装着される部品、により前記グループを生成し、前記グループの組合せの中より、前記パレットから部品を吸着して前記回路基板に部品を装着する一動作において、前記複数の装着ヘッドが動作する領域の重複が最小となるペアを特定すること、
    を特徴とする部品装着設定算出装置。
  8. 請求項7に記載の部品装着設定算出装置であって、
    前記制御部は、
    前記グループが重複しないで生成可能な最大数の組合せの中より、前記パレットから前記複数の装着ヘッドが同時に部品を吸着する際の装着ヘッド同士の干渉量と、前記回路基板に前記複数の装着ヘッドが同時に部品を装着する際の装着ヘッド同士の干渉量と、の和が最小となるように、前記ペアを特定すること、
    を特徴とする部品装着設定算出装置。
  9. 請求項8に記載の部品装着設定算出装置であって、
    前記制御部は、
    前記グループに含まれる部品の吸着位置における最小値及び最大値と、前記グループと組み合わされる前記グループに含まれる吸着位置における最小値及び最大値と、の重複部分の座標範囲を、前記パレットから前記複数の装着ヘッドが同時に部品を吸着する際の装着ヘッド同士の干渉量とし、
    前記グループに含まれる部品の装着位置におけるx座標における最小値及び最大値と、前記グループと組み合わされる前記グループに含まれる装着位置におけるx座標における最小値及び最大値と、の重複部分、および、前記グループに含まれる部品の装着位置におけるy座標における最小値及び最大値と、前記グループと組み合わされる前記グループに含まれる装着位置におけるy座標における最小値及び最大値と、の重複部分、の座標範囲の加算値を、前記回路基板に前記複数の装着ヘッドが同時に部品を装着する際の装着ヘッド同士の干渉量とすること、
    を特徴とする部品装着設定算出装置。
  10. 請求項7に記載の部品装着設定算出装置であって、
    前記制御部は、
    前記パレットを、前記複数の装着ヘッドが干渉しない最小幅以上で、前記パレットの幅以下の予め定められた幅のブロックに分割し、分割したブロックの中から前記グループを生成すること、
    を特徴とする部品装着設定算出装置。
  11. コンピュータを、
    複数の装着ヘッドが、パレットから同時に部品を吸着し、当該パレットに対して一方向に配置された回路基板に同時に部品を装着する際の、各々の装着ヘッドが部品を吸着し装着する順番を特定する部品装着設定情報を生成する部品装着設定算出装置として機能させるプログラムであって、
    前記コンピュータを、
    前記パレットから部品を吸着して前記回路基板に部品を装着する一動作において、前記複数の装着ヘッドが動作する領域の重複が最小となるように、前記パレットから同時に複数の装着ヘッドが吸着する部品のグループのペアを特定する処理と、
    前記ペアとなったグループの各々に含まれる部品を、各々の装着ヘッドが同時に吸着し、吸着した部品を同時に回路基板に装着するよう、前記部品装着設定情報を生成する処理と、を行う制御手段として機能させること、
    を特徴とするプログラム。
  12. 請求項11に記載のプログラムであって、
    前記制御手段に、
    予め定められた座標に近い位置から吸着される部品、及び、予め定められた座標に近い位置に装着される部品、により前記グループを生成し、前記グループの組合せの中より、前記パレットから部品を吸着して前記回路基板に部品を装着する一動作において、前記複数の装着ヘッドが動作する領域の重複が最小となるペアを特定する処理を行わせること、
    を特徴とするプログラム。
  13. 請求項12に記載のプログラムであって、
    前記制御手段に、
    前記グループが重複しないで生成可能な最大数の組合せの中より、前記パレットから前記複数の装着ヘッドが同時に部品を吸着する際の装着ヘッド同士の干渉量と、前記回路基板に前記複数の装着ヘッドが同時に部品を装着する際の装着ヘッド同士の干渉量と、の和が最小となるように、前記ペアを特定する処理を行わせること、
    を特徴とするプログラム。
  14. 請求項13に記載のプログラムであって、
    前記制御手段に、
    前記グループに含まれる部品の吸着位置における最小値及び最大値と、前記グループと組み合わされる前記グループに含まれる吸着位置における最小値及び最大値と、の重複部分の座標範囲を、前記パレットから前記複数の装着ヘッドが同時に部品を吸着する際の装着ヘッド同士の干渉量とし、
    前記グループに含まれる部品の装着位置におけるx座標における最小値及び最大値と、前記グループと組み合わされる前記グループに含まれる装着位置におけるx座標における最小値及び最大値と、の重複部分、および、前記グループに含まれる部品の装着位置におけるy座標における最小値及び最大値と、前記グループと組み合わされる前記グループに含まれる装着位置におけるy座標における最小値及び最大値と、の重複部分、の座標範囲の加算値を、前記回路基板に前記複数の装着ヘッドが同時に部品を装着する際の装着ヘッド同士の干渉量とする処理を行わせること、
    を特徴とするプログラム。
  15. 請求項11に記載のプログラムであって、
    前記制御手段に、
    前記パレットを、前記複数の装着ヘッドが干渉しない最小幅以上で、前記パレットの幅以下の予め定められた幅のブロックに分割し、分割したブロックの中から前記グループを生成させること、
    を特徴とするプログラム。
  16. 複数の装着ヘッドがパレットから同時に部品を吸着し、当該パレットに対して一方向に配置された回路基板に同時に部品を装着する際の、各々の装着ヘッドが部品を吸着し装着する順番を特定する部品装着設定情報を生成する部品装着設定算出装置が行う部品装着設定算出方法であって、
    前記部品装着設定算出装置の制御部が、前記パレットから部品を吸着して前記回路基板に部品を装着する一動作において、前記複数の装着ヘッドが動作する領域の重複が最小となるように、前記パレットから同時に複数の装着ヘッドが吸着する部品のグループのペアを特定する処理を行う過程と、
    前記ペアとなったグループの各々に含まれる部品を、各々の装着ヘッドが同時に吸着し、吸着した部品を同時に回路基板に装着するよう、前記部品装着設定情報を生成する処理を行う過程と、を備えること、
    を特徴とする部品装着設定算出方法。
JP2008242654A 2008-09-22 2008-09-22 部品装着装置、部品装着設定算出装置、プログラム及び部品装着設定算出方法 Active JP5074334B2 (ja)

Priority Applications (6)

Application Number Priority Date Filing Date Title
JP2008242654A JP5074334B2 (ja) 2008-09-22 2008-09-22 部品装着装置、部品装着設定算出装置、プログラム及び部品装着設定算出方法
US12/486,070 US8340803B2 (en) 2008-09-22 2009-06-17 Component placement apparatus, component placement setting calculation apparatus, program, and component placement setting calculation method
EP09008000A EP2166827B1 (en) 2008-09-22 2009-06-18 Component placement apparatus, component placement setting calculation apparatus, program, and component placement setting calculation method
AT09008000T ATE556574T1 (de) 2008-09-22 2009-06-18 Komponentenpositionierungsvorrichtung, vorrichtung zur berechnung der einstellung der komponentenpositionierungsvorrichtung, programm und verfahren zur berechnung der komponentenpositionierungseinstellung
CN2009101493842A CN101686636B (zh) 2008-09-22 2009-06-18 元件贴装装置、元件贴装设定计算装置、程序及方法
KR1020090054956A KR101004847B1 (ko) 2008-09-22 2009-06-19 부품 장착 장치, 부품 장착 설정 산출 장치, 프로그램 및 부품 장착 설정 산출 방법

Applications Claiming Priority (1)

Application Number Priority Date Filing Date Title
JP2008242654A JP5074334B2 (ja) 2008-09-22 2008-09-22 部品装着装置、部品装着設定算出装置、プログラム及び部品装着設定算出方法

Publications (2)

Publication Number Publication Date
JP2010074063A true JP2010074063A (ja) 2010-04-02
JP5074334B2 JP5074334B2 (ja) 2012-11-14

Family

ID=41112503

Family Applications (1)

Application Number Title Priority Date Filing Date
JP2008242654A Active JP5074334B2 (ja) 2008-09-22 2008-09-22 部品装着装置、部品装着設定算出装置、プログラム及び部品装着設定算出方法

Country Status (6)

Country Link
US (1) US8340803B2 (ja)
EP (1) EP2166827B1 (ja)
JP (1) JP5074334B2 (ja)
KR (1) KR101004847B1 (ja)
CN (1) CN101686636B (ja)
AT (1) ATE556574T1 (ja)

Cited By (1)

* Cited by examiner, † Cited by third party
Publication number Priority date Publication date Assignee Title
JP2017130602A (ja) * 2016-01-22 2017-07-27 ヤマハ発動機株式会社 容器方向決定装置、実装機、及び容器方向決定方法

Families Citing this family (4)

* Cited by examiner, † Cited by third party
Publication number Priority date Publication date Assignee Title
JP5573509B2 (ja) * 2010-09-02 2014-08-20 富士通株式会社 設計支援装置,設計支援プログラムおよび同プログラムを記録したコンピュータ読取可能な記録媒体
US8525830B2 (en) 2010-09-17 2013-09-03 The Boeing Company Point cloud generation system
JP6043993B2 (ja) * 2011-10-31 2016-12-14 Jukiオートメーションシステムズ株式会社 部品実装装置、情報処理装置、情報処理方法及び基板の製造方法
US8556162B2 (en) * 2011-11-21 2013-10-15 The Boeing Company Component programming system

Citations (2)

* Cited by examiner, † Cited by third party
Publication number Priority date Publication date Assignee Title
JP2003046295A (ja) * 2001-07-27 2003-02-14 Fuji Mach Mfg Co Ltd 電気部品装着システムおよび電気回路製造方法
JP2004186391A (ja) * 2002-12-03 2004-07-02 Sanyo Electric Co Ltd 部品装着装置における同一実装サイクルでの装着部品の組み合わせ決定方法

Family Cites Families (11)

* Cited by examiner, † Cited by third party
Publication number Priority date Publication date Assignee Title
JPH088433B2 (ja) * 1987-01-20 1996-01-29 ヤマハ発動機株式会社 チツプ部品装着装置
JPH09307286A (ja) * 1996-05-14 1997-11-28 Tenryu Technic:Kk 電子部品実装装置およびその方法
JP3962139B2 (ja) 1997-12-17 2007-08-22 山形カシオ株式会社 部品搭載プログラム作成装置及び媒体
US6538244B1 (en) * 1999-11-03 2003-03-25 Cyberoptics Corporation Pick and place machine with improved vision system including a linescan sensor
US6826738B2 (en) * 2002-05-10 2004-11-30 Pdf Solutions, Inc. Optimization of die placement on wafers
US7076313B2 (en) * 2003-06-06 2006-07-11 Visteon Global Technologies, Inc. Method for optimizing configuration of pick-and-place machine
US7188409B2 (en) * 2003-10-31 2007-03-13 Universal Instruments Corp. Method for rejecting component during a placement cycle
JP4451769B2 (ja) 2004-12-20 2010-04-14 株式会社日立ハイテクインスツルメンツ 部品装着装置の部品装着設定方法
JP4733499B2 (ja) * 2005-10-31 2011-07-27 株式会社日立ハイテクインスツルメンツ 電子部品装着装置
JP4450788B2 (ja) * 2005-11-30 2010-04-14 株式会社日立ハイテクインスツルメンツ 電子部品装着装置
JP4719639B2 (ja) * 2006-07-07 2011-07-06 株式会社日立ハイテクインスツルメンツ 設定装置及びプログラム

Patent Citations (2)

* Cited by examiner, † Cited by third party
Publication number Priority date Publication date Assignee Title
JP2003046295A (ja) * 2001-07-27 2003-02-14 Fuji Mach Mfg Co Ltd 電気部品装着システムおよび電気回路製造方法
JP2004186391A (ja) * 2002-12-03 2004-07-02 Sanyo Electric Co Ltd 部品装着装置における同一実装サイクルでの装着部品の組み合わせ決定方法

Cited By (1)

* Cited by examiner, † Cited by third party
Publication number Priority date Publication date Assignee Title
JP2017130602A (ja) * 2016-01-22 2017-07-27 ヤマハ発動機株式会社 容器方向決定装置、実装機、及び容器方向決定方法

Also Published As

Publication number Publication date
CN101686636B (zh) 2011-10-26
KR20100033920A (ko) 2010-03-31
EP2166827B1 (en) 2012-05-02
EP2166827A3 (en) 2011-01-05
US8340803B2 (en) 2012-12-25
JP5074334B2 (ja) 2012-11-14
EP2166827A2 (en) 2010-03-24
KR101004847B1 (ko) 2010-12-28
CN101686636A (zh) 2010-03-31
US20100071201A1 (en) 2010-03-25
ATE556574T1 (de) 2012-05-15

Similar Documents

Publication Publication Date Title
US7899561B2 (en) Operating time reducing method, operating time reducing apparatus, program and component mounter
JP5074334B2 (ja) 部品装着装置、部品装着設定算出装置、プログラム及び部品装着設定算出方法
JP4996634B2 (ja) 実装条件決定方法および実装条件決定装置
JP3466141B2 (ja) 部品実装順序最適化方法、その装置及び部品実装装置
JP2012134565A (ja) 部品装着設定装置、部品装着装置、プログラム及び部品供給ユニット配置方法
CN100477901C (zh) 部件装配机的部件装配优化方法和装置
JP4995845B2 (ja) 実装条件決定方法
CN114585982B (zh) 配置辅助方法、学习完毕模型的生成方法、记录介质、配置辅助系统以及作业系统
JP5009939B2 (ja) 実装条件決定方法
CN101496463A (zh) 组件安装条件确定方法
JP5038970B2 (ja) 実装条件決定方法、実装条件決定装置、部品実装方法、部品実装機およびプログラム
JP2007150340A (ja) 部品実装最適化方法、部品実装最適化装置、部品実装最適化プログラム、及び部品実装装置
JP2009043947A (ja) 実装設備、実装機、実装ライン、実装作業適性化装置および実装作業適性化方法
JP2014096401A (ja) 電子部品実装装置、演算装置および実装方法
KR102484355B1 (ko) 부품 장착 순서 결정 장치
JP4976247B2 (ja) 部品装着設定装置、部品装着装置、プログラム及び部品供給ユニット配置方法
CN115599041A (zh) 立体点钻镶嵌工艺优化方案确定方法和装置
JP6977168B2 (ja) 部品搭載機の搭載時間平準化装置、及び搭載時間平準化方法
JP4045119B2 (ja) 部品装着設定方法、コンピュータプログラム及び記録媒体
JP2000261190A (ja) 電子部品実装機のパーツフィーダ振り分け方法
JP7457938B2 (ja) 配置支援方法、プログラム、配置支援システム及び作業システム
JP2006053951A (ja) 加工計画方法、装置、及び、加工方法、装置
JP3958991B2 (ja) 部品配置設定方法、コンピュータプログラム及び記録媒体
CN117775575A (zh) 用于机器人码垛的箱体排序方法、装置、设备和介质
JP4486017B2 (ja) 部品実装順序決定方法

Legal Events

Date Code Title Description
A621 Written request for application examination

Free format text: JAPANESE INTERMEDIATE CODE: A621

Effective date: 20110208

A977 Report on retrieval

Free format text: JAPANESE INTERMEDIATE CODE: A971007

Effective date: 20120426

A131 Notification of reasons for refusal

Free format text: JAPANESE INTERMEDIATE CODE: A131

Effective date: 20120508

A521 Request for written amendment filed

Free format text: JAPANESE INTERMEDIATE CODE: A523

Effective date: 20120703

TRDD Decision of grant or rejection written
A01 Written decision to grant a patent or to grant a registration (utility model)

Free format text: JAPANESE INTERMEDIATE CODE: A01

Effective date: 20120724

A01 Written decision to grant a patent or to grant a registration (utility model)

Free format text: JAPANESE INTERMEDIATE CODE: A01

A61 First payment of annual fees (during grant procedure)

Free format text: JAPANESE INTERMEDIATE CODE: A61

Effective date: 20120823

R150 Certificate of patent or registration of utility model

Ref document number: 5074334

Country of ref document: JP

Free format text: JAPANESE INTERMEDIATE CODE: R150

Free format text: JAPANESE INTERMEDIATE CODE: R150

FPAY Renewal fee payment (event date is renewal date of database)

Free format text: PAYMENT UNTIL: 20150831

Year of fee payment: 3

S111 Request for change of ownership or part of ownership

Free format text: JAPANESE INTERMEDIATE CODE: R313113

R350 Written notification of registration of transfer

Free format text: JAPANESE INTERMEDIATE CODE: R350

R250 Receipt of annual fees

Free format text: JAPANESE INTERMEDIATE CODE: R250

R250 Receipt of annual fees

Free format text: JAPANESE INTERMEDIATE CODE: R250

R250 Receipt of annual fees

Free format text: JAPANESE INTERMEDIATE CODE: R250

R250 Receipt of annual fees

Free format text: JAPANESE INTERMEDIATE CODE: R250

R250 Receipt of annual fees

Free format text: JAPANESE INTERMEDIATE CODE: R250

R250 Receipt of annual fees

Free format text: JAPANESE INTERMEDIATE CODE: R250

R250 Receipt of annual fees

Free format text: JAPANESE INTERMEDIATE CODE: R250

R250 Receipt of annual fees

Free format text: JAPANESE INTERMEDIATE CODE: R250

R250 Receipt of annual fees

Free format text: JAPANESE INTERMEDIATE CODE: R250

R250 Receipt of annual fees

Free format text: JAPANESE INTERMEDIATE CODE: R250

R250 Receipt of annual fees

Free format text: JAPANESE INTERMEDIATE CODE: R250