JP2010059773A - 開閉装置用機械式開閉体停止装置 - Google Patents

開閉装置用機械式開閉体停止装置 Download PDF

Info

Publication number
JP2010059773A
JP2010059773A JP2009054483A JP2009054483A JP2010059773A JP 2010059773 A JP2010059773 A JP 2010059773A JP 2009054483 A JP2009054483 A JP 2009054483A JP 2009054483 A JP2009054483 A JP 2009054483A JP 2010059773 A JP2010059773 A JP 2010059773A
Authority
JP
Japan
Prior art keywords
opening
closing
shutter curtain
closing body
curtain
Prior art date
Legal status (The legal status is an assumption and is not a legal conclusion. Google has not performed a legal analysis and makes no representation as to the accuracy of the status listed.)
Granted
Application number
JP2009054483A
Other languages
English (en)
Other versions
JP5308873B2 (ja
Inventor
展行 ▲吉▼田
Nobuyuki Yoshida
Satoshi Inomata
聡 猪俣
和博 ▲角▼
Kazuhiro Sumi
Atsushi Hashimoto
淳 橋本
Hiroyuki Noguchi
宏幸 野口
Akio Nishikawa
彰雄 西川
Hidemasa Okada
秀正 岡田
Current Assignee (The listed assignees may be inaccurate. Google has not performed a legal analysis and makes no representation or warranty as to the accuracy of the list.)
Bunka Shutter Co Ltd
Original Assignee
Bunka Shutter Co Ltd
Priority date (The priority date is an assumption and is not a legal conclusion. Google has not performed a legal analysis and makes no representation as to the accuracy of the date listed.)
Filing date
Publication date
Application filed by Bunka Shutter Co Ltd filed Critical Bunka Shutter Co Ltd
Priority to JP2009054483A priority Critical patent/JP5308873B2/ja
Publication of JP2010059773A publication Critical patent/JP2010059773A/ja
Application granted granted Critical
Publication of JP5308873B2 publication Critical patent/JP5308873B2/ja
Active legal-status Critical Current
Anticipated expiration legal-status Critical

Links

Images

Landscapes

  • Operating, Guiding And Securing Of Roll- Type Closing Members (AREA)
  • Power-Operated Mechanisms For Wings (AREA)

Abstract

【課題】閉じ移動中の開閉体が障害物に当接したときに、開閉体の閉じ移動を瞬時に停止させることができる開閉装置用機械式開閉体停止装置の提供。
【解決手段】上下に開閉移動する開閉体であるシャッターカーテン1と不動部材であるまぐさ6との間に、架け渡し部材であるロック用ワイヤー36が架け渡され、カーテン1の開閉移動でカーテン1に対する移動が生ずるワイヤー36は、閉じ移動の途中のカーテン1が障害物34に当接したときに、カーテン1に配置された機械式結合装置39でカーテン1と結合され、このときワイヤー36に作用するカーテン1の自重による緊張力は中継手段を有するユニット構造物45を介して緊張力伝達部材である第1制御用ワイヤー111で自動閉鎖装置32に伝達され、構造物45と、カーテン1の閉じ移動を停止させる自動閉鎖装置32は、カーテン1の幅方向中央位置Bに対して幅方向の同じ側の位置に配置されている。
【選択図】図1

Description

本発明は、閉じ移動中の開閉体が障害物に当接したときにこの閉じ移動を停止させるための開閉装置用機械式開閉体停止装置に係り、例えば、シャッターカーテンが開閉体となっているシャッター装置や、オーニング装置、さらには、防煙垂れ幕装置等の各種の開閉装置に利用できるものである。
開閉装置となっていて、シャッターカーテンが開閉移動する開閉体となっている管理用シャッター装置では、出入口等の開口部を開閉するためにシャッターカーテンは開閉移動する。また、同じく開閉装置となっている防災用シャッター装置では、防煙等の防災機能を有しているシャッターカーテンが火災等の異常事態の発生時に閉じ移動し、これにより、建物等の構造物内に防災区画が形成される。このような管理用シャッター装置や、防災用シャッター装置、さらには、管理及び防災の併用シャッター装置では、シャッターカーテンの閉じ方向に障害物が存在し、閉じ移動中のシャッターカーテンがこの障害物に当接したときに、シャッターカーテンの閉じ移動を停止させることが行われる。この停止を実行させるための装置が下記の特許文献1に示されている。
この特許文献1のシャッター装置では、閉じ移動中のシャッターカーテンがこの障害物に当接すると、この当接によりシャッターカーテンの閉じ側の端部に設けられている可動部材が、シャッターカーテンに配置されているマイクロスイッチを作動させ、このマイクロスイッチからの検出信号が送信機及び受信機を経てシャッターカーテンを開閉移動させる駆動装置に送られ、この駆動装置の停止によりシャッターカーテンの閉じ移動が停止する。
特開平8−105280号公報
障害物に当接したシャッターカーテンの閉じ移動を停止させるための従来の装置は、上述のようにマイクロスイッチや、送信機、受信機等を用いた電気的装置となっている。この装置を機械式装置にすることができれば、火災等の災害発生時や通常時において停電となっても、障害物に当接したシャッターカーテンの閉じ移動を停止させることができるため、一層好ましいこととなる。
そして、このように障害物に当接したシャッターカーテンの閉じ移動を停止させるための装置を機械式装置とした場合にも、閉じ移動中のシャッターカーテンが障害物に当接したときに、シャッターカーテンの閉じ移動を停止させることが求められ、このシャッターカーテンの閉じ移動の停止は、シャッターカーテンや障害物の安全性確保等のため、瞬時に行われることが望ましい。
本発明の目的は、閉じ移動中の開閉体が障害物に当接したときに、開閉体の閉じ移動を瞬時に停止させることができる開閉装置用機械式開閉体停止装置を提供するところにある。
本発明に係る開閉装置用機械式開閉体停止装置は、上下方向に開閉移動する開閉体に対して不動となっている不動部材と前記開閉体との間に架け渡された部分を有し、前記開閉体の開閉移動によりこの開閉体に対する移動が生ずる架け渡し部材と、前記開閉体に配置され、閉じ移動の途中の前記開閉体が障害物に当接したときに前記開閉体と前記架け渡し部材とを機械式に結合された状態とするための機械式結合装置と、前記不動部材に配置され、前記開閉体が前記障害物に当接したときに前記架け渡し部材に作用する前記開閉体の自重による緊張力を中継するための中継手段と、この中継手段で中継された前記緊張力が緊張力伝達部材を介して伝達され、前記緊張力の伝達により前記開閉体の閉じ移動を停止させるための自動閉鎖装置と、を備えており、前記中継手段と前記自動閉鎖装置は、前記開閉体の幅方向の中央位置からこの幅方向のどちらかの側へずれた位置に配置されているとともに、前記中継手段と前記自動閉鎖装置がずれて配置されている位置は、前記中央位置に対して前記幅方向の同じ側の位置となっていることを特徴とするものである。
本発明では、中継手段と自動閉鎖装置は、開閉体の幅方向の中央位置からこの幅方向のどちらかの側へずれた位置に配置されており、これらの中継手段と自動閉鎖装置がずれて配置されている位置は、前記中央位置に対して前記幅方向の同じ側の位置となっているため、これらの中継手段と自動閉鎖装置との間に架け渡されている緊張力伝達部材の長さは短くなっている。このため、閉じ移動中の開閉体が障害物に当接することで架け渡し部材に作用する開閉体の自重による緊張力は、緊張力伝達部材により瞬時に自動閉鎖装置に伝達されることになり、したがって、閉じ移動中の開閉体が障害物に当接したときに、開閉体の閉じ移動を迅速に停止させることができる。
本発明において、架け渡し部材が開閉体との間で架け渡される前記不動部材は、開閉移動する開閉体に対して不動となっている部材であれば、任意な部材でよく、例えば、開閉体によって開閉される出入口等の開口部の外枠を形成する部材(開口部の床を含む)や、開閉体の開閉移動を案内するガイド部材、さらには、開閉装置の構造躯体や、開閉装置が設置されている建物等の構造物のための躯体等である。
また、本発明において、架け渡し部材は、任意な形状、構造のものでもよく、この架け渡し部材は、例えば、テレスコーピック式に伸縮自在となった棒状部材やブロック状部材でもよく、紐状部材等でもよい。架け渡し部材を紐状部材とする場合には、この紐状部材は、金属製等のワイヤーでもよく、合成樹脂製等の紐でもよく、ロープでもよく、ローラチェーンやボールチェーンを含むチェーンでもよく、その他の細長部材でもよい。
また、本発明において、前述の中継手段も、任意な形状、構造のものでよく、この中継手段は、例えば、架け渡し部材と緊張力伝達部材とを連結するための連結部材を有している装置でもよく、あるいは、架け渡し部材と緊張力伝達部材とを連結するための連結部材自体でもよく、あるいは、架け渡し部材と緊張力伝達部材とを直接連結する場合には、これらの架け渡し部材と緊張力伝達部材の移動を案内するための案内部材でもよい。
さらに、架け渡し部材を紐状部材とする場合には、この紐状部材の形状、構造等も任意である。
架け渡し部材を紐状部材とした場合の一例は、この紐状部材を、前記機械式結合装置と対応する部分が折り返し部となったU字状とすることである。また、他の例は、紐状部材を、前記機械式結合装置と対応する部分を除き、開閉体の開閉移動方向に直線状に延びているものとすることである。
紐状部材を、前記機械式結合装置と対応する部分が折り返し部となったU字状とする場合には、紐状部材の一方の端部は前記中継手段に結合され、紐状部材の他方の端部は、この紐部材を繰り出し自在に巻き取る巻取手段に結合される。
また、紐状部材を、前記機械式結合装置と対応する部分を除き、開閉体の開閉移動方向に直線状に延びているものとする場合には、紐状部材の一方の端部は前記中継手段に結合され、紐状部材の他方の端部は、この中継手段が配置されている前記不動部材又はこの不動部材とは別の不動部材に結合される。
また、本発明に係る開閉体の上下方向の開閉移動は、開閉体の幅方向両側に配置された一対のガイド部材で案内されて行われてもよく、このようなガイド部材で案内されることなく行われてもよい。
開閉体の上下方向の開閉移動が、開閉体の幅方向両側に配置された一対のガイド部材に案内されて開閉移動する場合には、架け渡し部材のうち、中継手段と機械式結合装置との間の部分を、一対のガイド部材の外部に配置してもよく、一対のガイド部材のうちの一方のガイド部材の内部に配置してもよい。
架け渡し部材のうち、中継手段と機械式結合装置との間の部分を、一対のガイド部材のうちの一方のガイド部材の内部に配置すると、架け渡し部材のうち、この一方のガイド部材の内部に配置されている部分を、このガイド部材により外力から有効に保護することができる。
また、架け渡し部材のうち、中継手段と機械式結合装置との間の部分を、一対のガイド部材のうちの一方のガイド部材の内部に配置する場合には、中継手段を、前記一方のガイド部材の真上又はこの真上の近辺に配置し、自動閉鎖装置も、前記一方のガイド部材の真上又はこの真上の近辺に配置することが好ましい。
これによると、中継手段と自動閉鎖装置の両方が、前記一方のガイド部材の真上又はこの真上の近辺に配置されることになるため、中継手段の配置位置と自動閉鎖装置の配置位置とが、水平方向に関しては同じ位置又は互いに接近した位置になる。このため、これらの中継手段と自動閉鎖装置との間に架け渡されている緊張力伝達部材の長さを一層短くすることができ、これにより、閉じ移動中の開閉体が障害物に当接することで架け渡し部材に作用する開閉体の自重による緊張力は、緊張力伝達部材により一層瞬時に自動閉鎖装置に伝達され、閉じ移動中の開閉体が障害物に当接したときに、開閉体の閉じ移動を一層迅速に停止させることができる。
また、本発明において、前述した緊張力が緊張力伝達部材を介して伝達されることで開閉体の閉じ移動を停止させるための自動閉鎖装置の構成は、任意であり、その一例は、自動閉鎖装置を、この自動閉鎖装置が開閉体を開閉移動させる開閉機のブレーキ手段を作動させることにより、開閉体の閉じ移動を停止させるための装置とすることである。
そして、開閉体の開閉移動が、巻取軸により開閉体の巻き取り、繰り出しで行われる場合には、上記開閉機は、開閉体の開閉移動のために、巻取軸を回転させるものとすることができる。
さらに、自動閉鎖装置には、引っ張り操作されることにより、全開となっていた開閉体を閉じ移動させるために上記ブレーキ手段をオフにする引っ張り操作部材を連結し、この引っ張り操作部材を引っ張り操作するための操作装置を、開閉体の幅方向両側に配置されている建物躯体のうちの一方に設けてもよい。
このように引っ張り操作部材を引っ張り操作するための操作装置を、開閉体の幅方向両側に配置されている建物躯体のうちの一方に設ける場合には、操作装置が設けられている上記一方の建物躯体を、開閉体の幅方向両側に配置されている上記建物躯体のうち、自動閉鎖装置の配置位置に近い建物躯体とすることが好ましい。
これによると、自動閉鎖装置と操作装置との間に架け渡される引っ張り操作部材の長さを短くすることができるため、操作装置での引っ張り操作部材の引っ張り操作により、上記ブレーキ手段を瞬時にオフにすることができ、このオフにより全開となっていた開閉体を迅速に閉じ移動させることができる。
また、開閉体の幅方向の前述した中央位置からこの幅方向の同じ側へずれて配置される前述の中継手段と自動閉鎖装置とを開閉体の幅方向の同じ位置に配置するのではなく、これらの中継手段と自動閉鎖装置のうち、中継手段を自動閉鎖装置よりも開閉体の幅方向の中央位置に近い位置に配置することが好ましい。
これによると、中継手段には、前述したように、架け渡し部材を介して、閉じ移動の途中の開閉体が障害物に当接したときに開閉体とこの架け渡し部材とを機械式に結合された状態とするための機械式結合装置が連結されているため、この機械式結合装置も、自動閉鎖装置よりも開閉体の幅方向の中央位置に近い位置に配置されることになり、これにより、閉じ移動の途中の開閉体が障害物に当接することが開閉体の幅方向のどの位置で生じても、機械式結合装置に、開閉体と架け渡し部材とを機械式に結合された状態とするための作動を一層確実に行わせることができる。また、自動閉鎖装置は中継手段よりも開閉体の幅方向の中央位置から遠い位置に配置されることになり、この位置は、開閉体を開閉自在に支持する部材、例えば、巻取軸による開閉体の巻き取り、繰り出しで開閉体の開閉移動を行わせる開閉装置では、巻取軸を回転自在に支持する支持部材の側面部に近い位置となるため、この支持部材の側面部に自動閉鎖装置を直接又は他の部材や装置を介して間接的に支持させることができる。
以上説明した本発明は、任意な開閉装置に適用することができる。その一例は、開閉体がシャッターカーテンとなっているシャッター装置である。また、本発明はオーニング装置や防煙垂れ幕装置等にも適用することができる。
また、本発明をシャッター装置に適用する場合には、このシャッター装置は任意な用途のためのシャッター装置でよい。すなわち、本発明が適用されるシャッター装置は、シャッターカーテンが出入口等の開口部を開閉するために開閉移動する管理用シャッター装置でもよく、防煙等の防災機能を有しているシャッターカーテンが火災等の異常事態の発生時に閉じ移動することにより建物等の構造物内に防災区画を形成するための防災用シャッター装置でもよく、さらには、管理及び防災の併用シャッター装置でもよい。そして、防災用シャッター装置には、エレベータ等の昇降手段の近辺を全閉となったシャッターカーテンで閉鎖する昇降手段のための防災用シャッター装置が含まれる。
さらに、本発明が適用されるシャッター装置は、シャッターカーテンが任意な部材、構造で構成されたものでよい。すなわち、シャッターカーテンの全部又は主要は、複数のスラットで形成されてもよく、シートで形成されてよく、リンク部材で連結された複数のパイプで形成されてもよく、複数のパネルで形成されてもよく、ネットで形成されてもよく、これらの部材のうち、複数の部材を組み合わせることによって形成されてもよい。
さらに、シャッターカーテンの開き移動と閉じ移動のうち、少なくとも一方は電動モータ等による自動駆動装置で行われてもよく、あるいは、手操作で行われてもよい。
また、シャッターカーテンの閉じ移動が下向きとなっている場合には、この閉じ移動は、シャッターカーテンの自重によって行われてもよく、あるいは、シャッターカーテンの自重に、電動モータ等による駆動装置の駆動力が付加されて行われてもよい。
また、下向きに閉じ移動する前のシャッターカーテンを全開位置に停止させておくための手段は、ブレーキ手段でもよく、あるいは、シャッターカーテンの閉じ側の端部に設けられている座板等のシャッターカーテン構成部材に係止する係止部材を備えた係止手段でもよい。
上記ブレーキ手段には、シャッターカーテンの開閉移動を巻取軸によるシャッターカーテンの巻き取り、繰り出しで行うシャッター装置については、この巻取軸を回転させるための駆動装置となっている開閉機を電動モータ手段と共に構成するものとなっているブレーキ手段が含まれる。
また、上記係止手段には、シャッターカーテンが全開位置に達しているときに上記係止部材が座板等のシャッターカーテン構成部材に係止することにより、シャッターカーテンを全開位置に停止させるものが含まれる。
さらに、シャッターカーテンの開閉移動は、上述のように巻取軸によるシャッターカーテンの巻き取り、繰り出しで行われてもよく、あるいは、シャッターカーテンの開き移動が、オーバーヘッドドアのように、シャッターカーテンが全閉位置に達しているときの全体形状と同じ形状(多少は変形しているが、実質的に同じ形状と言えるものを含む。)を維持しながら行われてもよく、あるいは、シャッターカーテンの開き移動が、シャッターカーテンが湾曲等に変形しながら行われてもよく、あるいは、シャッターカーテンを構成するパネル等の複数の構成部材が、シャッターカーテンの閉じ移動時には連結され、シャッターカーテンの開き移動時(シャッターカーテンの収納時)には、互いに分離し、これらの構成部材が厚さ方向に重なり合うようになっていてもよい。
また、シャッターカーテンの開閉移動が巻取軸の正逆回転によるシャッターカーテンの巻き取り、繰り出しで行われ、シャッターカーテンの下向きの閉じ移動がシャッターカーテンの自重又はこの自重に加えて駆動装置の駆動力で行われるシャッター装置については、巻取軸に、シャッターカーテンの閉じ移動中に戻し力が蓄圧されるねじりコイルばねやぜんまいばねによる戻しばねを設けておき、シャッターカーテンの上向きの開き移動を、この戻しばねに蓄圧された戻し力を補助力として利用して行うようにしてもよい。
本発明によると、閉じ移動中の開閉体が障害物に当接したときに、開閉体の閉じ移動を瞬時に停止させることができるという効果を得られる。
図1は、本発明の一実施形態に係る開閉装置となっているシャッター装置の全体を示す正面図である。 図2は、図1のS2−S2線断面図である。 図3は、図1及び図2で示されている開閉機の内部構造を示す断面図である。 図4は、開閉体であるシャッターカーテンが閉じ移動中に障害物に当接したときに、この障害物を機械式に検知するための機械式障害物検知装置を示す斜視図である。 図5は、図4で示されている機械式結合装置のケースの正面側を示す図である。 図6は、機械式結合装置の構造を示す図5の正断面図である。 図7は、機械式結合装置がシャッターカーテンに取り付けられたときを示す正面図である。 図8は、図7のS8−S8線断面図である。 図9は、機械式結合装置をシャッターカーテンの座板の固定部に取り付ける構造を示す断面図である。 図10は、図9とは異なる実施形態の構造を示す図9と同様の図である。 図11は、座板の固定部の内部に配置されている揺動部材が、複数の押し出し成形品又は引く抜き成形品を連結部材で連結することにより形成されていることを示す正面図である。 図12は、座板の可動部が、複数の押し出し成形品又は引く抜き成形品を連結することなく単に長さ方向に並べることにより形成されていることを示す正面図である。 図13は、図7のS13−S13線断面図である。 図14は、開閉体副部であって、カーテン副部となっている座板の可動部が障害物への当接により座板の固定部に対して上昇したときを示す図13と同様の図である。 図15は、閉じ移動中のシャッターカーテンが障害物に当接したときに、機械式結合装置により架け渡し部材であるロック用ワイヤーがロックされ、シャッターカーテンとロック用ワイヤーとが結合されたときを示す図6と同様の図である。 図16は、図4で示されている機械式障害物検知装置の第2処理装置の内部構造を示す図である。 図17は、図1等で示されている自動閉鎖装置の内部構造を示す正面図である 図18は、自動閉鎖装置の内部構造を示す平面図である。 図19は、火災等の災害が発生したことで自動閉鎖装置のソレノイドが通電、励磁されたときを示す図18と同様の図である。 図20は、自動閉鎖装置のソレノイドの通電、励磁が停止されたときを示す図18と同様の図である。 図21は、閉じ移動中のシャッターカーテンが障害物に当接したときを示す図18と同様の図である。 図22は、シャッターカーテンがガイド部材であるガイドレールに案内された状態となった後であって、ロック用ワイヤーの架け渡し作業が行われる前を示す図1と同様の図である。 図23は、図22の状態から、ロック用ワイヤーの架け渡し作業が行われた後を示す図1と同様の図である。 図24は、不動部材となっているまぐさに、機械式障害物検知装置を構成するユニット構造物と、シャッターカーテンをユニット構造物の配置位置とは反対側へ押圧する押圧手段とを配置した実施形態を示す図2と同様の図である。 図25は、押圧手段の斜視図である。 図26は、押圧手段の平面図である。 図27は、シャッターカーテンとユニット構造物とをシャッターカーテンの厚さ方向へ離すことができる実施形態を示す図2と同様の図である。 図28は、ロック用ワイヤーを、シャッターカーテンの開閉移動を案内するガイド部材となっているガイドレールの内部に配置した実施形態を示す図1と同様の図である。 図29は、図28の実施形態の場合における機械式結合装置を示す正断面図である。 図30は、架け渡し部材が、機械式結合装置と対応する部分を除き、直線状に延びているローラチェーンとなっている実施形態の場合のシャッター装置を示す図1と同様の図である。 図31は、図30のS31−S31線断面図である。 図32は、図31で示されている処理装置を示す図であって、図31とは表裏を逆として示した図である。 図33は、シャッターカーテンのエンド部材となっている座板の一部を拡大して示した正面図である。 図34は、図33で示された座板の内部構造を示す正断面図である。 図35は、図34のS35−S35線断面図である。 図36は、図34のS36−S36線断面図である。 図37は、閉じ移動中のシャッターカーテンが障害物に当接することにより、ラチェット部材がラチェットホイールに噛み込んだときを示す図34と同様の図である。 図38は、図37の状態となったときにおける図36と同様の図である。 図39は、架け渡し部材がローラチェーンとなっている場合における機械式結合装置の第1別実施形態を示す図36と同様の図である。 図40は、架け渡し部材がローラチェーンとなっている場合における機械式結合装置の第2別実施形態を示す図36と同様の図である。 図41は、架け渡し部材がローラチェーンとなっている場合における機械式結合装置の第3別実施形態を示す図36と同様の図である。
以下に本発明を実施するための形態を図面に基づいて説明する。本実施形態に係る開閉装置は、開閉体がシャッターカーテンとなっているシャッター装置である。また、本実施形態に係るシャッター装置は、管理及び防災の併用シャッター装置である。すなわち、本実施形態に係るシャッター装置は、出入口等の開口部を開閉するためにシャッターカーテンが開閉移動する管理用シャッター装置としての機能と、防煙等の防災機能を有しているシャッターカーテンが火災等の異常事態の発生時に閉じ移動することにより建物等の構造物内に防災区画を形成するための防災用シャッター装置としての機能と、を有している。
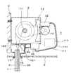
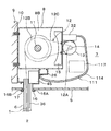
図1には本実施形態に係るシャッター装置の全体が示されており、この図1は、開閉移動方向が上下方向になっていて、下向きに閉じ移動するシャッターカーテン1が半分程度まで閉じた半閉状態になっているときを示している。シャッターカーテン1で開閉される開口部は、建物に形成された出入口2であり、この出入口2は、壁等の左右の建物躯体3と、全閉となったときのシャッターカーテン1の下端部が当たる相手部材となっている床4と、天井部材5とで囲まれている。左右の建物躯体3には、シャッターカーテン1の左右方向の両端部、言い換えると、シャッターカーテン1の幅方向の両端部がスライド自在に挿入された左右一対のガイドレール6が取り付けられており、ガイド部材となっているこれらのガイドレール6に案内されてシャッターカーテン1は上下に開閉移動する。
出入口2に対して天井部材5で仕切られている天井裏空間7には、シャッターボックス8が配置されており、このシャッターボックス8は、図1のS2−S2線断面図である図2に示されているように、天井裏空間7に存在する下がり壁等の建物躯体9にボルト等の結合具10で結合されている。シャッターボックス8の内部には巻取軸11が水平に収納配置され、この巻取軸11は、シャッターボックス8の図1で示されている左右の側面部8A,8Bに回転自在に支持されている。また、図1に示されているように、巻取軸11の一方の端部には、スプロケットホイールとローラチェーンによる駆動力伝達手段12を介して開閉機13が接続されている。巻取軸11を駆動させるための駆動装置となっているこの開閉機13は図2でも示されており、開閉機13の駆動軸14の回転力は、この駆動軸14に取り付けられた駆動スプロケットホイール12Aと、巻取軸11の上記一方の端部に取り付けられた被動スプロケットホイール12Bと、これらのスプロケットホイール12A、12Bの間に架け渡された無端ローラチェーン12Cとによる駆動力伝達手段12を経て巻取軸11に伝達される。
なお、本実施形態の開閉機13は、シャッターボックス8の左右の側面部8A,8Bのうち、一方の側面部8Bに結合されたブラケット部材15に取り付けられている。
図2から分かるように、シャッターカーテン1は巻取軸11に巻回されているとともに、シャッターカーテン1の上端は巻取軸11の外周面に結合されている。また、シャッターカーテン1における巻取軸11より下側の部分は、天井部材5に配置されているまぐさ16に設けられたスリット17を通って天井部材5の下側へ垂下され、さらに、シャッターカーテン1の幅方向の両端部は、前述のように左右のガイドレール6にスライド自在に挿入されている。まぐさ16は、互いに対向配置されたまぐさ部材16A,16Bにより形成され、これらのまぐさ部材16A,16Bの間がスリット17となっている。
図3は、開閉機13の内部構造を示す断面図である。この図3に示されているように、開閉機13は、直流又は交流の電動モータ手段18とブレーキ手段19とを軸方向に並設したものであり、上述の駆動軸14は、電動モータ手段18の回転する回転子18Aの中心に固定配置された回転軸となっている。この駆動軸14におけるブレーキ手段19側の端部には、円盤状のブレーキシュー20が結合されている。ブレーキ手段19には、軸方向に一定距離だけスライド自在となっているブレーキ軸21が設けられ、このブレーキ軸21には、ブレーキシュー20と軸方向に対面するブレーキドラム22が結合されている。通常時のブレーキ軸21及びブレーキドラム22は、ばね23で電動モータ手段18側へ押圧されており、このため、ブレーキシュー20とブレーキドラム22との圧接によりブレーキ手段19はオンとなっている。したがって、このときの電動モータ手段18の駆動軸14は、ブレーキ手段19の制動力によって回転しない。
一方、ブレーキ手段19に配置されているソレノイド24に通電されたときには、このソレノイド24の磁力により、ブレーキ軸21及びブレーキドラム22はばね23に抗して電動モータ手段18から離れる方向へスライドする。このため、ブレーキシュー20とブレーキドラム22との圧接が解除され、ブレーキ手段19はオフとなる。したがって、このときには、電動モータ手段18の駆動軸14は、コイル25への通電により回転できることになる。
図1で示した左右の建物躯体3のうち、一方の建物躯体3Aには、シャッターカーテン1を出入口2に対して上向きに開き移動させることと、下向きに閉じ移動させることと、停止させることとを行わせるための操作装置30が取り付けられている。この操作装置30には、「開」ボタンと、「閉」ボタンと、「停」ボタンとが設けられている。また、シャッターカーテン1は、シャッターカーテン1の大部分の面積を占めていて、上端が巻取軸11に結合されているカーテン本体1Aと、このカーテン本体1Aの下端部に設けられた座板1Bとを有したものとなっている。本実施形態のカーテン本体1Aは、多数のスラットを上下に連設することによって形成されている。
カーテン本体1Aは、本実施形態における開閉体本体となっており、座板1Bは、本実施形態におけるエンド部材となっている。
座板1Bが前述の天井部材5に配置されたまぐさ16の高さ位置に達しているシャッターカーテン1の全開時に、又は、座板1Bが図1に示すようにまぐさ16と床4との間の途中位置に達しているシャッターカーテン1の半閉状態(半開状態)のときに、「閉」ボタンを操作すると、この「閉」ボタンからの信号を受ける図示しない制御装置によりブレーキ手段19のソレノイド24に通電されるため、ブレーキ手段19がオフとなる。これにより、シャッターカーテン1は、シャッターカーテン1の自重により巻取軸11及び駆動軸14を正回転させて巻取軸11から下向きに繰り出され、これにより閉じ移動したシャッターカーテン1が全閉位置に達すると、この全閉位置を検知した図示しないセンサからの信号を受ける上記制御装置により、ソレノイド24への通電は遮断され、ブレーキ手段19はばね23でオンに復帰する。また、シャッターカーテン1が全閉となっているときに、又は、座板1Bが図1に示すようにまぐさ16と床4との間の途中位置に達しているシャッターカーテン1の半開状態(半閉状態)のときに、「開」ボタンを操作すると、この「開」ボタンからの信号を受ける上記制御装置によりブレーキ手段19のソレノイド24に通電されるため、ブレーキ手段19がオフになるとともに、上記制御装置により電動モータ手段18のコイル25に通電される。このため、駆動軸14は逆回転し、この回転は前述の駆動力伝達手段12を介して巻取軸11に伝達され、巻取軸11の逆回転により、シャッターカーテン1は巻取軸11に巻き取られて開き移動する。シャッターカーテン1が全開位置に達すると、この全開位置を検知した図示しないセンサからの信号を受ける上記制御装置により、ソレノイド24への通電は遮断され、ブレーキ手段19がばね23でオンに復帰するとともに、上記制御装置によりコイル25への通電が遮断される。
また、シャッターカーテン1が閉じ移動している途中で「停」ボタンを操作すると、この「停」ボタンからの信号を受ける上記制御装置により、ソレノイド24への通電は遮断されるため、ブレーキ手段19がばね23でオンに復帰することにより、シャッターカーテン1はその位置で停止する。さらに、シャッターカーテン1が開き移動している途中で「停」ボタンを操作すると、この「停」ボタンからの信号を受ける上記制御装置により、ソレノイド24への通電は遮断されるため、ブレーキ手段19がばね23でオンに復帰するとともに、上記制御装置により電動モータ手段18のコイル25への通電が遮断され、これにより、シャッターカーテン1はその位置で停止する。
以上の説明から分かるように、開閉移動するシャッターカーテン1に対して、前述の床4やガイドレール6、シャッターボックス8、このシャッターボックス8に結合されたブラケット部材15、さらには、まぐさ16等は不動となっているため、これらの床4、ガイドレール6、シャッターボックス8、ブラケット部材15、まぐさ16等は、シャッターカーテン1に対する不動部材となっている。
なお、以上のように正逆回転する巻取軸11に、シャッターカーテン1の閉じ移動中に戻し力が蓄圧されるねじりコイルばねやぜんまいばねによる戻しばねを設けておき、シャッターカーテン1の上向きの開き移動を、この戻しばねに蓄圧された戻し力を補助力として利用して行うようにしてもよい。
また、図3に示されているとおり、ブレーキ軸21における電動モータ手段18側とは反対側の端部にはレバー部材31が配置されている。このレバー部材31はブレーキ軸21を貫通したものであって、ブレーキ軸21を境界として区分される第1部分31Aと第2部分31Bとからなる。第1部分31Aには第1屈曲部31Cが形成され、第2部分31Bには第2屈曲部31Dが形成されている。第1部分31AにA方向、すなわち、電動モータ手段18側とは反対側への荷重が作用したときには、第1部分31Aが第2屈曲部31Dを支点としてA方向へ揺動するため、ブレーキ軸21及びブレーキドラム22は、A方向と同じ方向であるA’方向へスライドする。このため、ソレノイド24に通電しなくても、ブレーキ手段19をオフとすることができる。
このように第1部分31AにA方向への荷重が作用することは、開閉機13に取り付けられている後述の自動閉鎖装置32によって行われる。この自動閉鎖装置32は、後述の説明で分かるように、シャッターカーテン1を駆動させる駆動装置になっている開閉機13を機械式に制御するための機械式制御装置となっている。
また、第2部分31BにA方向と同じ方向の荷重が作用したときには、第2部分31Bが第1屈曲部31Cを支点としてA方向と同じ方向へ揺動するため、この場合にも、ブレーキ軸21及びブレーキドラム22は、A’方向へスライドする。このため、このときにもソレノイド24に通電しなくても、ブレーキ手段19をオフとすることができる。
このように第2部分31BにA方向と同じ方向の荷重を作用させることは、手作業により行うことができる。このため、この実施形態に係る開閉機13は、手操作によってもブレーキ手段19をオフにすることができるようになっている。なお、第2部分31Bは、第2屈曲部31Dを残して省略してもよい。
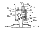
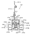
図4は、シャッターカーテン1の閉じ移動中にシャッターカーテン1の座板1Bが図1で示す障害物34に当接したときに、この障害物34を機械式に検知するための機械式障害物検知装置35を示す。機械式障害物検知装置35は、前述の不動部材となっているこのまぐさ16とシャッターカーテン1との間に架け渡された部分を有している架け渡し部材となっているロック用ワイヤー36と、可撓性を有するこのロック用ワイヤー36の一方の端部が結合され、この一方の端部を処理している第1処理装置37と、ロック用ワイヤー36の他方の端部が結合され、この他方の端部を処理している第2処理装置38と、ロック用ワイヤー36の長さの途中に配置され、シャッターカーテン1が障害物34に当接したときにロック用ワイヤー36を機械式にロックするための、言い換えると、シャッターカーテン1とロック用ワイヤー36とを機械式に結合した状態にするための機械式結合装置39と、を備えている。機械式結合装置39は、後述するように、シャッターカーテン1に取り付けられる。
上述の架け渡し部材となっているロック用ワイヤー36は、本実施形態における紐状部材でもあり、細長部材でもある。
第1処理装置37と第2処理装置38と機械式結合装置39は、ロック用ワイヤー36で連結された状態になっており、したがって、これらの装置37〜39を構成要素とする機械式障害物検知装置35は、取り扱い等が容易なユニットとなっている。
第1処理装置37には回転自在なリール40が設けられ、ロック用ワイヤー36の一方の端部が結合されているこのリール40にロック用ワイヤー36が巻回されている。リール40には、ぜんまいばね等による戻しばね41が連結されており、ロック用ワイヤー36がリール40を回転させてこのリール40から繰り出される際に、戻しばね41には戻し力が蓄圧される。また、ロック用ワイヤー36に弛みが生じたときには、戻しばね41に蓄圧された戻し力により、リール40はロック用ワイヤー36を巻き取る方向へ回転することになる。このため、第1処理装置37は、本実施形態において、ロック用ワイヤー36を繰り出し自在に巻き取るための巻取装置となっている。
第2処理装置38には回動部材42が設けられており、この回動部材42に、ロック用ワイヤー36の他方の端部がコイルばね43を介して結合されている。
また、第1処理装置37と第2処理装置38は、まぐさ16にボルト又は溶接等で固定配置されたベース部材44の上面に配置されており、このため、第1処理装置37と第2処理装置38はベース部材44で連結されたユニット構造物45となっている。したがって、ロック用ワイヤー36をまぐさ16とシャッターカーテン1との間に架け渡す作業等を行うために、第1処理装置37と第2処理装置38をまぐさ16に配置する作業は、ユニット構造物45をまぐさ16にボルト又は溶接等で固定設置する作業を行うだけで終了することができ、この作業を容易に行えるようになっている。
また、上述したようにロック用ワイヤー36の他方の端部を、コイルばね43を介して第2処理装置38の回動部材42に結合するために、図2に示されているように、ロック用ワイヤー36は前述の天井部材5に配置されたまぐさ16のスリット17に通されている。すなわち、ロック用ワイヤー36は、天井部材5の上下に跨る長さを有しており、また、ロック用ワイヤー36は、まぐさ16と接触せずにこのまぐさ16のスリット17に挿通されている。
まぐさ16における第1処理装置37と第2処理装置38の配置位置は、シャッターカーテン1の厚さ方向に調整可能となっている。これについて説明すると、図4に示されているとおり、第1処理装置37の機枠46は、ベース部材44の側面部44Aに形成されている長孔47に挿入されたビス等の止着具48でこの側面部44Aに取り付けられている。このため、長孔47の長さ分だけ、ベース部材44における第1処理装置37の取付位置がシャッターカーテン1の厚さ方向に調整可能となっている。さらに、第2処理装置38の機枠49の基板部49Aは、この基板部49Aに形成されている長孔50に挿入されたビス等の止着具51でベース部材44に取り付けられている。このため、長孔50の長さ分だけ、ベース部材44における第2処理装置38の取付位置がシャッターカーテン1の厚さ方向に調整可能となっている。
なお、まぐさ16における第1処理装置37と第2処理装置38の配置位置をシャッターカーテン1の厚さ方向に調整可能する構造は、長孔47,50による方式のものに限定されず、例えば、ボルト等のねじ軸部材の回転を利用したねじ送り方式や、ガイド溝の途中に複数のストップ部材を配置したスライドアンドストップ方式等のものでもよい。
図4で示されている機械式結合装置39のケース55は、図4で示されている裏面部55A及び上面部55Bと、図5で示されている正面部55Cとを有する。すなわち、図4と図5では、機械式結合装置39の表裏が逆となっている。図6は、ケース55の内部に収納されている機械式結合装置39の構造を示す図5の正断面図である。図4に示されているように、ケース55の上面部55Bには、ロック用ワイヤー36が出入りする2個の孔56,57が形成され、また、図6に示されているように、ケース55の内部には、ロック用ワイヤー36を案内する2個の回転自在なローラ58,59がシャッターカーテン1の幅方向に離れて配置されているとともに、これらのローラ58,59と共にロック用ワイヤー36を案内するためのピン等による複数のガイド部材60も配置されている。
また、ケース55の内部には、ロック用ワイヤー36におけるローラ58とローラ59の間の部分(後述する折り返し部)36Aを上下から挟着するための挟着部材となっている第1レバー部材61と第2レバー部材62が配置され、これらのレバー部材61,62は、同一の支点軸63を中心に上下に揺動自在となっている。上側の第1レバー部材61には、ねじりコイルばね64による下向きの押圧力が作用しており、また、この第1レバー部材61には下向きに湾曲形成された凸部61Aが設けられ、この凸部61Aがロック用ワイヤー36の上記の部分36Aに当たることにより、支点軸63を中心とする第1レバー部材61の下向きの揺動限が規定されるようになっている。また、上記の部分36Aが弛緩しているときに第1レバー部材61が支点軸63を中心として下向きに大きく揺動することを防止できるようにするために、ケース55には、第1レバー部材61における支点軸63側とは反対側の端部を受けるためのピン等によるストップ部材65が固定されている。
下側の第2レバー部材62における支点軸63側とは反対側の端部には、重り部材66が取り付けられており、この重り部材66の重量により、第2レバー部材62には支点軸63を中心とする下向きの揺動力が作用している。また、第2レバー部材62には、上向きに湾曲形成された凸部62Aが設けられている。
また、上側の第1レバー部材61の下面と、下側の第2レバー部材62の上面には、言い換えると、これらのレバー部材61,62の互いに対面する面には、摩擦部材67,68が取り付けられている。これらの摩擦部材67,68は、第1レバー部材61と第2レバー部材62がロック用ワイヤー36の上記の部分36Aを挟着してロックするときに、この部分36Aとの間の摩擦力を大きくし、ロックを一層確実なものにするためのものである。そして、上側の第1レバー部材61には下向きの突片部61Bが形成され、この突片部61Bと、ケース55の裏面部55Aとにより、ロック用ワイヤー36における上記の部分36Aが2個のレバー部材61,62の間から外れることが防止されている。また、第2レバー部材62の凸部62Aは、この第2レバー部材62が支点軸63を中心に上向きに揺動することにより摩擦部材67,68がロック用ワイヤー36の上記の部分36Aを挟着、ロックする直前に、この部分36Aを上向きに押し上げることになり、これにより、摩擦部材67,68による上記の部分36Aを挟着、ロックをさらに一層確実に行えるようにしている。また、下側の第2レバー部材62には、下向きに湾曲形成された凸部62Bが設けられている。
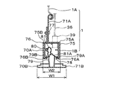
図7には、機械式結合装置39がシャッターカーテン1に取り付けられたときの正面図が示されている。図8は、図7のS8−S8線断面図であり、この図8には、前述したシャッターカーテン1の座板1Bの内部構造が示され、また、図8には、ロック用ワイヤー36及び機械式結合装置39が2点鎖線で示されている。シャッターカーテン1は、図1で説明したように、シャッターカーテン1の大部分の面積を占めていて、本実施形態における開閉体本体となっているカーテン本体1Aと、図8に示されているように、このカーテン本体1Aの下端部に設けられ、本実施形態におけるエンド部材となっている座板1Bとを有する。また、座板1Bは、カーテン本体1Aの下部に固定された固定部70Aと、この固定部70Aの下側に配置され、固定部70Aに対して上下方向に移動可能となっている可動部70Bとからなる。
また、本実施形態のシャッターカーテン1は、図7で示されているように、カーテン主部71Aと、カーテン副部71Bとを有し、カーテン主部71Aは、カーテン本体1Aと、座板1Bのうちの固定部70Aとによって構成されており、カーテン副部71Bは、座板1Bのうちの可動部70Bによって構成されている。したがって、このカーテン副部71Bは、シャッターカーテン1の閉じ側の端部に配置されている。そして、カーテン主部71Aは、本実施形態における開閉体主部となっており、カーテン副部71Bは、本実施形態における開閉体副部となっている。
図8に示されているように、座板1Bの固定部70Aは、共に断面箱型となった内外の部材75,76で形成され、外部材75は、シャッターカーテン1の厚さ方向に分割配置された2個の分割部材75A,75Bで形成されており、これらの分割部材75A,75Bは、カーテン本体1Aの下端部にボルト、ナット等による結合具77で結合されている。また、内外の部材75,76の下面は開口部78となっており、この開口部78から座板1Bの可動部70Bの立上り部79の上端が固定部70Aの内部空間に挿入されている。立上り部79の上端には、シャッターカーテン1の厚さ方向外側へ延出する延出部79A,79Bが形成され、これらの延出部79A,79Bが、固定部70Aの内部材76の下端に形成された突片部76A,76Bの上面に乗ることにより、固定部70Aに対する可動部70Bの下側への移動限が規定される。
固定部70Aの内部には、シャッターカーテン1の幅方向に延びる支点軸80を中心に上下揺動自在となった揺動部材81が収納されている。この揺動部材81は、図14で示されているように可動部70Bが固定部70Aに対して上昇したときには、すなわち、閉じ移動中のシャッターカーテン1が図1で示した障害物34に当接したときには、可動部70Bの立上り部79の延出部79Aが揺動部材81の突出片81Aを押し上げることにより、揺動部材81は支点軸80を中心に上向きに揺動する。また、座板1Bを構成している固定部70Aと可動部70Bは、図1で示した左右のガイドレール6まで延びる長さを有しており、揺動部材81も左右のガイドレール6まで延びる長さを有している。
揺動部材81及び可動部70Bは、例えば、アルミ合金製等の押し出し成形品又は引き抜き成形品で形成されている。図1で示した出入口2の左右幅寸法が大きく、このため、揺動部材81及び可動部70Bを、それぞれ一本の連続した押し出し成形品又は引き抜き成形品で形成することが困難である場合には、長さ方向(シャッターカーテン1の幅方向)に並べた複数の押し出し成形品又は引き抜き成形品により、揺動部材81及び可動部70Bが形成される。
図11は、揺動部材81を、上記の長さ方向に並べた複数の成形品82により形成した場合を示す。この揺動部材81は、互いに隣接する2個の成形品82を、これらの成形品82の内部に圧入される部分83A,83Bが両端に設けられた連結部材83により連結したものとなっている。成形品82と連結部材83との結合は、上記の圧入でもよく、ビス等の止着具を用いたものでもよく、溶接でもよく、接着等でもよい。また、図12は、可動部70Bを、上記の長さ方向に並べた複数の成形品84により形成した場合を示す。この可動部70Bは、複数の成形品84を単に上記の長さ方向に並べることによって形成されており、このため、成形品84同士は、揺動部材81の場合と異なり、連結されていない。
このように成形品84同士を連結しないことで可動部70Bを形成し、これによって可動部70Bの構造を単純化してその製造を容易にしても、揺動部材81は左右のガイドレール6まで延びる連続した1本の状態となっているため、図1で示した障害物34が左右のガイドレール6の間のどの位置に存在していても、シャッターカーテン1の閉じ移動中に、可動部70Bを形成している複数個の成形品84のうち、障害物34が当たる1個又は互いに隣接している2個の成形品84が固定部70Aに対して上昇することにより、揺動部材81を上向きに揺動させることができる。
図4で説明した機械式結合装置39は、図7で示されているように、座板1Bのうち、固定部70Aに組み込まれる。すなわち、機械式結合装置39は、シャッターカーテン1の前述したカーテン主部71Aを構成しているカーテン本体1Aと、座板1Bの固定部70Aとのうち、固定部70Aに配置される。図13は、図7のS13−S13線断面図であって、機械式結合装置39が配置された部分での座板1Bの断面図である。この図13で示されているように、座板1Bの固定部70Aを形成している内外の部材75,76の上面部及び正面部には、機械式結合装置39の配置位置と対応する位置において、切欠加工による開口部90が形成されており、この開口部90に機械式結合装置39が上から挿入されて固定部70Aに結合されている。このため、開口部90は、機械式結合装置39を配置するための機械式結合装置用配置部となっている。
支点軸80を中心に上下方向に揺動自在となっている揺動部材81の突出片81Aには、図6で示した下側の第2レバー部材62の下向きの凸部62Bと対応する位置において、押圧部材91が取り付けられている。このため、シャッターカーテン1の閉じ移動中に、この閉じ移動方向である下側に存在していた障害物34に座板1Bの可動部70Bが当接し、これにより、図14で説明したように、可動部70Bの延出部79Aが揺動部材81を支点軸80を中心に上向きに揺動させたときには、凸部62Bを押圧する押圧部材91により、図15に示されているように、第2レバー部材62は支点軸63を中心に上向きに揺動する。これにより、第2レバー部材62に取り付けられている摩擦部材68は、ロック用ワイヤー36におけるローラ58とローラ59の間の部分36Aを上側へ押し上げることになる。
この押し上げにより、上側の第1レバー部材61は、この第1レバー部材61に取り付けられている摩擦部材67を介して支点軸63を中心に上向きに揺動することになり、この上向きの揺動によりねじりコイルばね64は圧縮されるため、ロック用ワイヤー36におけるローラ58とローラ59の間の部分36Aは、2個のレバー部材61,62の摩擦部材67,68により上下から大きな荷重で挟着され、この挟着により、ロック用ワイヤー36の部分36Aはロックされることになり、このロックにより、シャッターカーテン1とロック用ワイヤー36とが機械式結合装置39で機械式に結合された状態となる。
なお、図13に示されているように、座板1Bの可動部70Bが固定部70Aに対して最下降位置に達しているときには、揺動部材81の突出片81Aが可動部70Bの延出部79Aに当たることにより、支点軸80を中心とする揺動部材81の下向きの揺動が規制されるようになっている。
上述したように閉じ移動中のシャッターカーテン1が障害物34に当接したときに、2個のレバー部材61,62の摩擦部材67,68により、ロック用ワイヤー36の前記部分36Aが大きな荷重でロックされるようにするためには、シャッターカーテン1が障害物34に当接する前において、言い換えると、座板1Bの可動部70Bが固定部70Aに対して最下降位置に達しているときにおいて、揺動部材81の押圧部材91に対して機械式結合装置39が適切な上下方向の位置に配置されていることが重要である。機械式結合装置39を揺動部材81の押圧部材91に対して適切な上下方向の位置に配置することは、機械式結合装置39を座板1Bの固定部70Aに取り付ける際に、この機械式結合装置39を固定部70Aにおける適切な上下方向の位置に取り付けることである。本実施形態には、機械式結合装置39を固定部70Aにおける適切な上下方向の位置に取り付けることができる工夫が施されている。
次に、この工夫について説明する。図4で示されているように、機械式結合装置39のケース55の両方の側面部には突片部55Dが形成され、これらの突片部55Dを利用して機械式結合装置39は座板1Bの固定部70Aに取り付けられる。これらの突片部55Dを利用した取付構造は同じであるため、一方の突片部55Dについての取付構造を図9により説明する。
固定部70Aの内部上面には、ベース部材92がリベット等の止着具93で結合され、このベース部材92には、固定部70Aを形成している前述の内外部材75,76に形成された孔94A,94Bを貫通して固定部70Aの上側へ突出しているねじ軸部材95が設けられている。このねじ軸部材95に1個又は複数個の座金96を挿入した後に、突片部55Dの孔55Eにねじ軸部材95を挿入する。ねじ軸部材95に挿入する座金96の枚数を変更したり、ねじ軸部材95に座金96を挿入しないことにより、固定部70Aにおける機械式結合装置39の上下方向の配置位置が調整されることになる。これにより、機械式結合装置39の配置位置を、揺動部材81の押圧部材91に対して適切な上下方向の位置に設定することができる。
このように機械式結合装置39が揺動部材81の押圧部材91に対して適切な上下方向の位置に配置されているか否かを確認できるようにするために、図7に示されているように、機械式結合装置39のケース55の正面部55Cには、窓孔55Fが形成されている。この窓孔55Fから、座板1Bの可動部70Bが固定部70Aに対して最下降位置に達しているときにおける前述した下側の第2レバー部材62の摩擦部材68と、ロック用ワイヤー36の前述した部分36Aとの間の上下方向の間隔を調べることができ、この上下方向の間隔が予め定められている適性範囲内の値になったときに、図9に示されているナット97をねじ軸部材95に螺合して締め付ける。これにより、機械式結合装置39を座板1Bの固定部70Aに固定する。そして、窓孔55Fをテープ等の遮蔽部材で遮蔽し、ケース55の内部に塵埃等が侵入することを防止する。
これにより、機械式結合装置39は固定部70Aにおける適切な上下方向の位置に取り付けられることになり、この結果として、閉じ移動中のシャッターカーテン1が障害物34に当接したときには、機械式結合装置39に設けられている2個のレバー部材61,62の摩擦部材67,68により、ロック用ワイヤー36の上記部分36Aを大きな荷重でロックできるようになる。
上述のように機械式結合装置39の配置位置を揺動部材81の押圧部材91に対して適切な上下方向の位置に設定するための構造は、以上の方式による構造に限定されない。
図10は、他の方式による構造を示している。この図10の構造では、図9の座金96の代わりにナット98が用いられている。このナット98は回転操作されることにより、ねじ軸部材95に沿って少しずつ上下動するため、ナット98の高さ位置により、機械式結合装置39の配置位置を揺動部材81の押圧部材91に対して一層適切な上下方向の位置に設定でき、また、固定部70Aにおける機械式結合装置39の高さ位置を微調整することもできる。
ナット98は1個でもよい。しかし、図10では、2個のナット98A,98Bが用いられており、これらのナット98A、98Bは、一方のナットを他方のナットに圧接できて、ねじ軸部材95におけるナット98A,98Bの高さ位置を固定できるダブルナットとなっている。このため、機械式結合装置39の配置位置を一層確実に固定することができることになる。
なお、以上のように機械式結合装置39を座板1Bの固定部70Aに取り付けるための作業は、後述するように、本実施形態のシャッター装置のシャッターカーテン1を、本実施形態に係るシャッター装置を設置する建物の図1に示す左右の建物躯体3に取り付けたガイドレール6に沿って上下に開閉移動自在とした後に行う。すなわち、図4で説明した前述の機械式障害物検知装置35を除くシャッター装置自体の設置作業が先に行われ、この後に、機械式障害物検知装置35の設置作業が行われる。この機械式障害物検知装置35の設置作業には、前述したユニット構造物45をまぐさ16に取り付ける作業と、機械式結合装置39を座板1Bの固定部70Aに取り付ける作業とが含まれ、ユニット構造物45をまぐさ16に取り付ける作業と、機械式結合装置39を座板1Bの固定部70Aに取り付ける作業とのうち、どちらの作業を先に行ってもよく、これらの作業を同時(実質的に同時と言える場合を含む。)に行ってもよい。
そして、このように機械式障害物検知装置35の設置作業を行う場合には、座板1Bの固定部70Aに機械式結合装置39を配置して取り付けるための前述の開口部90等を、予め工場において、形成しておくことが好ましい。
本実施形態では、前述したようにロック用ワイヤー36と、第1処理装置37と、第2処理装置38と、機械式結合装置39とからなる機械式障害物検知装置35は、ユニット化されたものとなっているため、工場から本実施形態に係るシャッター装置が設置される建物へ搬送されたこの機械式障害物検知装置35についての設置作業を容易に行え、また、第1処理装置37と第2処理装置38はユニット構造物45となっていて、これらの第1処理装置37と第2処理装置38だけでもユニット化されているため、第1処理装置37と第2処理装置38をまぐさ16に取り付ける作業も容易に行える。
以上のように機械式結合装置39が座板1Bの固定部70Aに取り付けられることにより、不動部材である前述のまぐさ16に設置された図4の第1処理装置37と第2処理装置38に両端部が結合されたロック用ワイヤー36は、まぐさ16とシャッターカーテン1との間に架け渡されることになる。また、このロック用ワイヤー36は、機械式結合装置39で折り返されているため、図1に示されているように、まぐさ16からシャッターカーテン1へと延びる第1部分36Bと、シャッターカーテン1からまぐさ16へと延びる第2部分36Cとを有するU字形となる。そして、ロック用ワイヤー36のうち、機械式結合装置39と対応している図6や図15で示された前記部分36Aは、U字形のロック用ワイヤー36の折り返し部となる。
シャッターカーテン1が自重で閉じ移動したときは、ロック用ワイヤー36は、シャッターカーテン1の重量により第1処理装置のリール40を回転させて、このリール40から繰り出されることになり、これにより、第1部分36Bと第2部分36Cのそれぞれの長さが長くなる。また、シャッターカーテン1が、前述の開閉機13の駆動軸14の回転で上方へ開き移動したときには、ロック用ワイヤー36には弛みが生ずるため、前述した戻しばね41の戻し力で上記とは反対方向へ回転するリール40によりロック用ワイヤー36は巻き取られ、これにより、第1部分36Bと第2部分36Cのそれぞれの長さは短くなる。このため、ロック用ワイヤー36は、シャッターカーテン1の開閉移動に対して追従することになる。
本実施形態では、図1から分かるように、機械式結合装置39と、第1処理装置37及び第2処理装置38からなるユニット構造物45は、シャッターカーテン1の幅方向の中央位置Bに配置されておらず、前述した機械式障害物検知装置35を構成しているこれらの機械式結合装置39とユニット構造物45は、中央位置Bからシャッターカーテン1の幅方向のうちの一方の側へ変位している位置に配置されている。この変位している位置は、シャッターカーテン1を駆動させる駆動装置となっている前述の開閉機13及びこの開閉機13に取り付けられた前述の自動閉鎖装置32が配置されている側の位置である。
また、図1に示されているように、ロック用ワイヤー36の第1部分36Bと第2部分36Cの延び方向は、シャッターカーテン1のカーテン本体1Aに沿った鉛直方向(実質的に鉛直方向と言えるものを含む。)となっており、また、これらの第1部分36Bと第2部分36Cは、互いに平行(実質的に互いに平行と言えるものを含む。)となっている。
また、図2及び図4に示されているように、ロック用ワイヤー36の第1部分36Bと第2部分36Cは、まぐさ16におけるシャッターカーテン垂下用のスリット17の内部位置に配置されており、このため、第1部分36Bと第2部分36Cは、まぐさ16と干渉していない。言い換えると、まぐさ16の上面に配置された第1処理装置37及び第2処理装置38は、ロック用ワイヤー36の第1部分36Bと第2部分36Cを垂下する部分の位置が、まぐさ16におけるシャッターカーテン垂下用のスリット17の内部位置の上側の位置となるように、まぐさ16に配置されている。
さらに、図13に示されているとおり、座板1Bの固定部70Aにおける機械式結合装置39の配置位置は、シャッターカーテン1の厚さ方向中央位置ではなく、この中央位置からシャッターカーテン1の厚さ方向のうちの一方の側へ変位している位置となっている。このため、ロック用ワイヤー36は、第1部分36Bと第2部分36Cの両方について、図8に示されているように、シャッターカーテン1のうち、前述したカーテン本体1Aと干渉しない位置に、言い換えると、カーテン本体1Aからシャッターカーテン1の厚さ方向に離れた位置に配置されている。すなわち、前述したカーテン主部71Aは、カーテン本体1Aと、座板1Bのうちの固定部70Aとにより構成されているため、ロック用ワイヤー36の第1部分36Bと第2部分36Cの両方は、機械式結合装置39が配置されている固定部70Aを除くカーテン主部71A(カーテン本体1A)からシャッターカーテン1の厚さ方向に離れた位置に配置されていることになる。
機械式結合装置39が配置されている固定部70Aを除くカーテン主部71Aの部分はカーテン本体1Aであり、このカーテン本体1Aはシャッターカーテン1の大部分の面積を占める大きな部分である。このため、上述のように、ロック用ワイヤー36の第1部分36Bと第2部分36Cの両方が、機械式結合装置39が配置されている固定部70Aを除くカーテン主部71Aからシャッターカーテン1の厚さ方向に離れた位置に配置されていて、カーテン主部71Aと干渉していないことにより、まぐさ16とシャッターカーテン1との間に架け渡された架け渡し部材となっていて、本実施形態における機械的部材となっているロック用ワイヤー36は、シャッターカーテン1の開閉移動を阻害しないことになる。
また、前述したとおり、座板1Bの可動部70Bはカーテン副部71Bを形成するものとなっており、図8に示されているとおり、この可動部70Bについてのシャッターカーテン1の厚さ方向寸法はW1である。また、前述したカーテン主部71Aの一部を構成するものとなっている座板1Bの固定部70Aについてのシャッターカーテン1の厚さ方向寸法はW2であり、このW2は、W1よりも小さい。ロック用ワイヤー36は、W1の範囲内であって、W2の範囲内に配置されている。可動部70Bは、カーテン副部71Bを形成するものとなっているため、ロック用ワイヤー36は、このカーテン副部71Bのシャッターカーテン厚さ方向寸法W1内に配置されていることになり、そしてW1は、シャッターカーテン1の全体の厚さ寸法を規定する寸法にもなっているため、ロック用ワイヤー36は、シャッターカーテン1の全体の厚さ寸法内に配置されていることになる。
したがって、シャッターカーテン1のカーテン本体1Aに沿ってロック用ワイヤー36を配置し、これにより、このロック用ワイヤー36の第1部分36Bと第2部分36Cをカーテン本体1Aと干渉しない位置に配置しても、このロック用ワイヤー36を含むシャッターカーテン1の全体の厚さ寸法が大きくなることを抑制することができる。
なお、W1をW2と等しいとした場合(多少の差がある場合であって、実質的に等しいと言うことできる場合を含む。)にも、ロック用ワイヤー36を含むシャッターカーテン1の全体の厚さ寸法が大きくなることを抑制することができる。
また、本実施形態では、図4で説明したように、まぐさ16における第1処理装置37と第2処理装置38の配置位置は、長孔47,50によりシャッターカーテン1の厚さ方向に調整可能となっているため、ロック用ワイヤー36の第1部分36Bと第2部分36Cの両方を、機械式結合装置39が配置されている固定部70Aを除くカーテン主部71Aからシャッターカーテン1の厚さ方向に離れた位置に一層確実に配置できるようになっている。また。まぐさ16における第1処理装置37と第2処理装置38の配置位置の調整作業を、第1処理装置37と第2処理装置38について個別に行うことにより、第1部分36Bと第2部分36Cを、機械式結合装置39が配置されている固定部70Aを除くカーテン主部71Aからシャッターカーテン1の厚さ方向に同じ距離だけ離すための作業も行える。
図16は、第2処理装置38の内部構造を示している。この第2処理装置38には、前述したように、ロック用ワイヤー36の端部がコイルばね43を介して結合された回動部材42が設けられている。この回動部材42の回動方向は、水平な中心軸42Aを中心とする上下方向である。また、回動部材42の背後には、ぜんまいばね等による戻しばね100が配置されている。この戻しばね100の戻し力は、回動部材42をC方向へ回動させるように、すなわち、ロック用ワイヤー36の第2部分36Cを引き上げる方向に回動部材42を回動させるように、回動部材42に作用している。回動部材42には、中心軸42Aを中心とする円弧状の長孔42Bが形成され、この長孔42Bには、第2処理装置38の機枠49に取り付けられたストップ部材101が挿入され、このストップ部材101により回動部材42の回動量が一定量に規制されている。
回動部材42の外周部の一部にはギヤ歯42Cが形成されており、このため、回動部材42は、一部にギヤ歯42Cが形成されたセクターギヤとなっている。このギヤ歯42Cは、回動部材42におけるシャッターカーテン1の厚さ方向の側(実質的に厚さ方向の側と言えるものを含む。以下同じ。)に設けられている。また、第2処理装置38には2個のロータリー式のダンパー102が配置され、これらのダンパー102は、回動部材42のギヤ歯42Cと噛み合うピニオンギヤ103を備えている。ピニオンギヤ103の回転中心軸104には、ワンウエイクラッチを介してダンパー102の内部に配置された複数のブレードが取り付けられており、回動部材42がC方向に回動することでピニオンギヤ103及び中心軸104がE方向に回転した場合には、ワンウエイクラッチを介してそれぞれのブレードが、ダンパー102の内部に充填されている粘性流体内において回転する。このため、粘性流体の抵抗力により回動部材42は、C方向へ低速で回動することになる。一方、回動部材42がC方向とは逆のD方向に回動し、ピニオンギヤ103及び中心軸104がF方向に回転した場合には、この方向への回転は、ワンウエイクラッチの切断作用によりそれぞれのブレードに伝達されない。このため、回動部材42は、D方向へは高速で回動することができる。
なお、ダンパー102は1個でもよい。しかし、本実施形態のようにダンパー102の個数を複数個とすることにより、回動部材42をC方向へ低速で回動させる上記の抵抗力を大きくでき、これにより、回動部材42のC方向への速度を所望する速度まで遅くすることができる。
また、回動部材42を、一部にギヤ歯42Cが形成されたセクターギヤとすることにより、回動部材42を全周にギヤ歯が形成されたギヤとした場合よりも、回動部材42の全体の上下寸法を小さくすることができる。これにより、第2処理装置38の上下寸法を、延いては、第1処理装置37と第2処理装置38で構成されている前述のユニット構造物45の上下寸法を小さくできるため、図2に示されているように、まぐさ16と前述のシャッターボックス8との間の上下寸法が小さいスペースにユニット構造物45を有効に配置することができるようになる。
さらに、回動部材42を一部にギヤ歯42Cが形成されたセクターギヤとし、このギヤ歯42Cを、上述のように回動部材42におけるシャッターカーテン1の厚さ方向の側に設けることにより、第2処理装置38における回動部材42の配置位置を高い位置とすることが可能となるため、シャッターカーテン1を、回動部材42が座板1Bと干渉することをなくして、全開位置まで開き移動させることができるようになる。
また、ギヤ歯42Cは、回動部材42におけるシャッターカーテン1の側とは反対側に形成され、回動部材42におけるシャッターカーテン1と同じ側には、ギヤ歯42Cが形成されていない凹部42Dが形成されているため、これによっても、シャッターカーテン1の全開時において、回動部材42が座板1Bと干渉することをなくすことができ、また、シャッターカーテン1が開閉移動しているときには、回動部材42がカーテン本体1Aと干渉することをなくすことができる。
また、本実施形態では、図4に示されているように、コイルばね43とロック用ワイヤー36の第2部分36Cとの連結部N1が、回動部材42とコイルばね43との連結部N2に対してシャッターカーテン1の側へずれている。このため、シャッターカーテン1が全開位置に達しても、コイルばね43がカーテン本体1Aを形成しているスラットと接触することをなくすことができ、また、コイルばね43が回動部材42とコイルばね43との連結部N2を中心にシャッターカーテン1の側へ揺動することを抑制できるため、この抑制により、コイルばね43がカーテン本体1Aを形成しているスラットと接触することも防止できる。
図17は、図1〜図3で示されている前述の自動閉鎖装置32の内部構造を示す正面図であり、図18は、この自動閉鎖装置32の内部構造を示す平面図である。自動閉鎖装置32は、火災等の災害の発生時において、図1〜図3で示されている前述の開閉機13を機械式に制御することにより、全開位置に達していたシャッターカーテン1を自動的に閉じ移動させて全閉とし、防煙性及び/又は防火性を有しているシャッターカーテン1により図1の出入口2を閉鎖するためのものである。自動閉鎖装置32は、この自動閉鎖装置32の機枠110に設けられている図17のブラケット部110Aにより、開閉機13に取り付けられている。また、図18に示されているように、自動閉鎖装置32まで、この自動閉鎖装置32を制御するための第1制御用ワイヤー111、第2制御用ワイヤー112、第3制御用ワイヤー113のそれぞれの端部が延設されている。これらの制御用ワイヤー111〜113は、前述のロック用ワイヤー36と同じく、可撓性を有する紐状部材となっていて、細長部材ともなっている。
また、これらの制御用ワイヤー111〜113は、可撓性を有するアウターケーブル114〜116の内部にスライド自在に挿通されている。このため、制御用ワイヤー111〜113はアウターケーブル114〜116により保護されている。
図16に示されているように、第1制御用ワイヤー111は第2処理装置38まで延びており、この第1制御用ワイヤー111の端部は、第2処理装置38の回動部材42に連結されている。また、図2に示されているように、第1制御用ワイヤー111及びこの第1制御用ワイヤー111が内部に挿通されたアウターケーブル114は、第2処理装置38が一部の構成要素となっている前述のユニット構造物45と開閉機13とが配置されている天井裏空間7において配線されているとともに、この天井裏空間7に存在する物体117を避けて、言い換えると、物体117を迂回して、第1制御用ワイヤー111とアウターケーブル114とが配線可能なスペースにおいて配線されている。なお、このスペースは、予め存在しているものでもよく、第1制御用ワイヤー111とアウターケーブル114の配線時において、物体117の一部を切欠したり、物体117に孔を設けたりすることにより、形成したものでもよい。
そして、このように第1制御用ワイヤー111とアウターケーブル114を物体117と干渉しないで配線することは、第1制御用ワイヤー111とアウターケーブル114が可撓性を有しているために可能である。なお、物体117は、本実施形態のシャッター装置が設置される建物自体に関係したものでよく、本実施形態のシャッター装置の一部、例えば、前述したシャッターボックス8に関係したものでもよい。
また、図16に示されているように、第1制御用ワイヤー111及びアウターケーブル114は、第2処理装置38の近くでは、第2処理装置38に対して斜めの向きとなっている。これにより、第1制御用ワイヤー111及びアウターケーブル114が、図2で示されているまぐさ16のまぐさ部材16Aとシャッターボックス8とを結合している結合部材26と干渉しないようになっている。
図17及び図18に示されているように、自動閉鎖装置32の機枠110には、互いに対向する2個の立上り部110B、110Cが設けられており、これらの立上り部110B、110Cに形成された孔110D,110Eに、2個の立上り部110B、110Cに跨る長さを有している板状のスライド部材120がスライド自在に挿入されている。このスライド部材120の外周にはばね121が巻回されており、このばね121のばね力により、スライド部材120には立上り部110B側への前進力が常時作用している。この前進力の方向は、図3で説明した開閉機13に設けられている前述のレバー部材31の第1部分31AをA方向へ移動させる方向である。
図3及び図17に示されているとおり、スライド部材120の前端に下向きに折曲形成された折曲部120Aには、作動部材122が取り付けられており、また、レバー部材31の第1部分31Aには、被作動部材123が立設結合されている。スライド部材120がばね121のばね力によって前進した場合には、作動部材122が被作動部材123に当接することにより、レバー部材31の第1部分31Aに図3で示したA方向への荷重が作用するようになっている。図17に示されているように、本実施形態では、作動部材122はボルト124の頭部124Aとなっているため、この頭部124Aを回転操作してボルト124をスライド部材120の折曲部120Aに対して進退させることにより、作動部材122と被作動部材123との間の間隔を適切な寸法に調整できる。この調整を行った後に、ボルト124に螺合させておいたロックナット125を回転操作し、このロックナット125を折曲部120Aに圧接させることにより、被作動部材123に対する作動部材122の位置を、適切な位置にして固定できることになる。
図18に示されているように、自動閉鎖装置32の機枠110には、ソレノイド126が取り付けられており、このソレノイド126のプランジャ127には、ばね128のばね力がプランジャ127をソレノイド126から突出させる方向へ常時作用している。このプランジャ127の先端には、中心軸129Aを中心に回動自在となっているL字形の屈曲レバー部材129の一方の端部がスライド式の連結部129Bで連結されており、トリガーレバー部材となっているこの屈曲レバー部材129の他方の端部には、ローラ130が回転自在に設けられている。
このローラ130と対面するスライド部材120の部分には凹部120Bが形成されている。この凹部120Bにおけるスライド部材120の後退側の部分は、傾斜面120Cとなっている。また、自動閉鎖装置32には、屈曲レバー部材129に中心軸129Aを中心とするG方向への回動力を付与するためのばね131と、プランジャ127を前述のばね128と共にソレノイド126から突出させる方向へ付勢し、かつ屈曲レバー部材129を中心軸129Aを中心にG方向へ回動させるばね132とが設けられており、これらのばね128,131,132のばね力により、通常時のローラ130は、図18に示されているように、凹部120Bに嵌合しており、この嵌合により、前述したばね121によるスライド部材120の前進は止められている。このように凹部120Bに嵌合したローラ130で前進が止められているときにおけるスライド部材120の前端の位置は、図18で示す3個の位置H,I,Jのうち、H位置である。
図18に示されているとおり、自動閉鎖装置32には、マイクロスイッチ135が配置され、このマイクロスイッチ135には、ばねでマイクロスイッチ135から突出する方向へ付勢されている作動部材136が設けられている。また、スライド部材120には、凹部120Bと反対側の部分において、ドグ部材137が取り付けられており、作動部材136はこのドグ部材137に当接している。
スライド部材120には、第1連結部138Aと第2連結部138Bが設けられた連結部材138が結合されており、ソレノイド126のプランジャ127の先端には連結部材140が結合されており、前述したばね132の一方の端部は、この連結部材140に連結されている。図4で示した第2処理装置38の回動部材42に一方の端部が連結されている前述の第1制御用ワイヤー111の他方の端部は、スライド部材120の連結部材138の第1連結部138Aに連結され、第2制御用ワイヤー112の端部は、プランジャ127に結合された連結部材140に連結され、第3制御用ワイヤー113の端部は、スライド部材120の連結部材138の第2連結部138Bに連結されている。
また、アウターケーブル115の内部に挿通された第2制御用ワイヤー112は、図1で示されている操作装置30まで延びており、アウターケーブル115から突出している第2制御用ワイヤー112の端部には、操作装置30に配置されているレバー部材等の手動操作部材が連結されている。さらに、アウターケーブル116の内部に挿通された第3制御用ワイヤー113は、自動閉鎖装置32が配置された前述の天井裏空間7から、建物内における手動で操作できる位置まで延びている。この位置は、本実施形態では、図1に示されているように、天井裏空間7からまぐさ16のスリット17を通過した出入口2の上部の位置となっており、アウターケーブル116から突出している第3制御用ワイヤー113の端部には、手動で第3制御用ワイヤー113を引っ張り操作できる手動操作部材141が結合されており、この手動操作部材141は、本実施形態ではリング部材となっている。
本実施形態に係るシャッター装置が設置された建物において、シャッターカーテン1が全開となっているときに、火災等の災害が発生すると、この災害を検知したセンサからの信号が入力した図示しない制御装置により、自動閉鎖装置32のソレノイド126は通電され、このソレノイド126が励磁されるため、このソレノイド126のプランジャ127は、ばね128のばね力に抗して後退する。これにより、屈曲レバー部材129は、ばね131,132のばね力に抗して中心軸129Aを中心に図18のG方向とは逆方向に回動することになる。このときの状態が図19で示されている。屈曲レバー部材129が中心軸129Aを中心にG方向とは逆方向に回動すると、屈曲レバー部材129のローラ130はスライド部材120の凹部120Bから脱出するため、スライド部材120はばね121のばね力で前進し、この前進は、連結部材138の前端が自動閉鎖装置32の機枠110の前述の立上り部110Bに当接することにより停止する。このときにおけるスライド部材120の前端の位置は、図18で示した3個の位置H,I,Jのうち、図19に示されているように、最前位置であるI位置である。
また、スライド部材120が前進すると、マイクロスイッチ135の作動部材136は、スライド部材120に取り付けられているドグ部材137の位置から外れるため、作動部材136がばねの付勢力で突出移動することによるマイクロスイッチ135からの信号により、上記の制御装置はソレノイド126への通電を停止する。
このソレノイド126への通電の停止により、プランジャ127はばね128のばね力でソレノイド126から突出移動し、屈曲レバー部材129はばね131,132のばね力で中心軸129Aを中心に図18のG方向へ回動する。このときのスライド部材120は、このスライド部材120の前端がI位置まで達している移動限まで前進しているため、屈曲レバー部材129のローラ130は、図20に示されているように、スライド部材120の前述した傾斜面120Cに当たる。このため、プランジャ127の突出移動、及び中心軸129Aを中心とする屈曲レバー部材129のG方向への回動は、途中で停止する。
以上のようにして自動閉鎖装置32のスライド部材120が前進すると、このスライド部材120の前端に設けられている作動部材122が、図3で示されている被作動部材123を介して開閉機13のレバー部材31の第1部分31Aを図3のA方向に押圧するため、前述したように、この第1部分31Aがレバー部材31の第2屈曲部31Dを支点としてA方向へ揺動することにより、開閉機13のブレーキ手段19のブレーキ軸21及びブレーキドラム22は、A方向と同じ方向であるA’方向へスライドし、これにより、それまでオンとなっていたブレーキ手段19は、オフとなる。このため、全開となっていたシャッターカーテン1は、巻取軸11よりも下側の部分の座板1B等の自重により、前述した巻取軸11を回転させながら下向きに閉じ移動することになり、開閉機13の前述した駆動軸14も駆動力伝達手段12を介して自由回転し、シャッターカーテン1が全閉となることにより、このシャッターカーテン1による防災区画が形成されることになる。
また、火災等の災害が発生したことを人が発見した場合には、この人が、図1で示した操作装置30に配置されていて、前述した第2制御用ワイヤー112の端部に連結されているレバー部材等の手動操作部材により、第2制御用ワイヤー112を引っ張り操作する。これにより、ソレノイド126のプランジャ127は後退するため、ソレノイド126が通電、励磁される前であっても、ソレノイド126が通電、励磁されたときと同じく、屈曲レバー部材129は中心軸129Aを中心に図18のG方向とは逆方向へ回動するため、屈曲レバー部材129のローラ130はスライド部材120の凹部120Bから脱出し、スライド部材120はばね121のばね力で前進することになる。
このため、本実施形態では、自動閉鎖装置32と操作装置30との間に架け渡されている第2制御用ワイヤー112は、操作装置30で引っ張り操作される引っ張り操作部材になっているとともに、この第2制御用ワイヤー112を利用した手動操作でも、開閉機13のブレーキ手段19をオフにし、全開となっていたシャッターカーテン1を自重により閉じ移動させて全閉とすることができる。
そして、本実施形態では、図1に示されているように、操作装置30は、シャッターカーテン1の幅方向両側に配置されている左右の壁等の建物躯体3のうち、開閉機13及び自動閉鎖装置32に近い位置となっている一方の建物躯体3Aに配置されている。このため、自動閉鎖装置32と操作装置30との間に架け渡されていて、操作装置30で引っ張り操作される引っ張り操作部材となっている第2制御用ワイヤー112の長さを短くできることになる。したがって、左右の壁等の建物躯体3のうち、他方の建物躯体3Bに操作装置30を配置した場合よりも、上述のレバー部材等の手動操作部材により第2制御用ワイヤー112を引っ張り操作したときの引っ張り力を自動閉鎖装置32に瞬時に入力させることができ、これにより、開閉機13のブレーキ手段19を瞬時にオフにすることができ、全開となっていたシャッターカーテン1の閉じ移動を迅速に開始させることができる。
シャッターカーテン1が全閉位置に達し、そして、火災等の災害が解消したときには、前述した第3制御用ワイヤー113の端部を、図1で示されている手動操作部材141の操作により引っ張る。これにより、第3制御用ワイヤー113は自動閉鎖装置32のスライド部材120に連結されているため、このスライド部材120はばね121のばね力に抗して後退することになる。このため、スライド部材120は、図20に示されている位置から、前端が図18のH位置となる初期位置へ復帰することになる。また、スライド部材120がこの初期位置へ復帰するときに、屈曲レバー部材129が中心軸129Aを中心としてばね131,132のばね力で図18のG方向へ回動するため、屈曲レバー部材129のローラ130は、図18に示されているように、スライド部材120の凹部120Bに嵌合することになり、スライド部材120は、スライド部材120の前端がH位置に達した状態で停止する。これにより、自動閉鎖装置32は、火災等の災害が発生する前の初期状態に戻る。
また、スライド部材120が初期位置へ復帰すると、開閉機13のブレーキ手段19のブレーキ軸21及びブレーキドラム22は図3の前述したばね23でA’方向とは逆方向へ移動するため、ブレーキ手段19はオンに復帰する。この後に、操作装置30に設けられている前述の「開」ボタンを操作することにより、シャッターカーテン1は、前述したとおり、全開位置まで開き移動する。
なお、図16で示されているロック用ワイヤー36の第2部分36Cの上端に、この上端をコイルばね43に連結するためのループ部36Dを形成するための結合具36Eを設ける場合において、この結合具36Eを押し潰し加工等することにより、結合具36Eの水平断面を、シャッターカーテン1の厚さ方向に細長くなった細長形状としておくことが好ましい。これによると、図4で示す機械式結合装置39を収納するためのケース55の上面部55Bに形成されていて、第2部分36Cが出入する孔57は、結合具36Eの細長方向と直交するシャッターカーテン1の幅方向に長い長孔になっているため、上述したようにシャッターカーテン1が全開位置まで開き移動した際に、結合具36Eの下面が、長孔57の外側部分となっているケース55の上面部55Bに当接することにより、結合具36Eの下面が長孔57の内部に侵入してシャッターカーテン1が所定以上に開き移動することを防止できる。
前述したように、火災等の災害を検知したセンサからの信号が入力した制御装置により自動閉鎖装置32のソレノイド126が通電、励磁され、あるいは、第2制御用ワイヤー112の端部に連結されているレバー部材等の手動操作部材により第2制御用ワイヤー112が引っ張り操作され、これにより、開閉機13のブレーキ手段19がオフとなって、シャッターカーテン1が全開位置から下向きに閉じ移動しているときに、言い換えると、自動閉鎖装置32が図20で示した状態になっているときに、閉じ移動方向であるシャッターカーテン1の下側に図1で示す障害物34が存在している場合には、シャッターカーテン1の閉じ移動の途中において、このシャッターカーテン1の閉じ側の先端部に配置されているカーテン副部71Bが、言い換えると、シャッターカーテン1の座板1Bの下側部分を形成している前述の可動部70Bが障害物34に当接し、この可動部70Bの下降が停止する。
可動部70Bの下降が停止しても、カーテン本体1Aと、座板1Bのうちの前述した固定部70Aとで構成される前述のカーテン主部71Aは、下降するため、この下降で生ずるカーテン主部71Aに対するカーテン副部71Bの相対的な上昇により、図15等で説明したように、前述した機械式結合装置39の第1レバー部材61と第2レバー部材62は、摩擦部材67,68において、ロック用ワイヤー36の前述した折り返し部36Aを挟着し、この挟着によりロック用ワイヤー36をロックする。これにより、シャッターカーテン1と、本実施形態に係る架け渡し部材となっているロック用ワイヤー36とが、機械式結合装置39により機械式に結合された状態となる。
それまでのロック用ワイヤー36は、シャッターカーテン1の閉じ移動に追従して前述の第1処理装置37のリール40から繰り出されており、したがって、シャッターカーテン1の閉じ移動により、シャッターカーテン1に対する移動がロック用ワイヤー36に生じており、ロック用ワイヤー36の折り返し部36Aが摩擦部材67,68で挟着され、ロック用ワイヤー36がロックされると、障害物34のへこみ変形に基づき、折り返し部36Aで折り返された状態になっているロック用ワイヤー36の第1部分36Bと第2部分36Cには、カーテン副部71Bよりも上側のシャッターカーテン1の部分の重量、すなわち、カーテン主部71Aの重量が作用するため、ロック用ワイヤー36には、特に、第2部分36Cには、大きな緊張力が作用する。
そして、ロック用ワイヤー36の折り返し部36Aは、図15に示されているように、第1レバー部材61と第2レバー部材62に設けられた摩擦力が大きい摩擦部材67,68で挟着、ロックされるため、これらの摩擦部材67,68により、ロック用ワイヤー36が第1レバー部材61と第2レバー部材62に対して滑り移動することを阻止することができる。また、本実施形態では、第1レバー部材61と第2レバー部材62の揺動中心軸となっている前述の軸63は、第1レバー部材61と第2レバー部材62について共通化されているため、部材点数の削減により機械式結合装置39の構造を簡単化できるとともに、摩擦部材67,68同士の位置関係を適切に設定できることになり、このため、ロック用ワイヤー36の上記の折り返し部36Aを摩擦部材67,68で一層確実に挟着、ロックできるようになっている。
さらに、障害物34へのシャッターカーテン1の当接が、前述の機械式結合装置39が配置された位置の下側で行われず、この機械式結合装置39の配置位置の下側からシャッターカーテン1の幅方向にずれた位置で行われ、このため、シャッターカーテン1における機械式結合装置39が配置された部分がシャッターカーテン1の閉じ方向へ少し移動しようとした場合には、第1処理装置37のリール40から繰り出されているロック用ワイヤー36は、摩擦部材67,68で挟着されている箇所が第1部分36B側から第2部分36C側へ移行するための移動を行おうとするが、この移動方向とは反対方向へ摩擦部材67,68の間隔は次第に小さくなっているため、ロック用ワイヤー36が第1レバー部材61と第2レバー部材62に対して滑り移動することを一層有効に阻止することができる。
また、本実施形態では、ロック用ワイヤー36の折り返し部36Aが摩擦部材67,68で挟着、ロックされるときには、図15で示されているように、折り返し部36Aには、前述した複数個のガイド部材60のうちの1個のガイド部材60Aや、第2レバー部材62により、直線状となっていない迂回部36Fが形成されるようになっている。このため、障害物34がへこみ変形しない又は殆どへこみ変形しない硬質の物体であっても、ロック用ワイヤー36に迂回部36Fが形成されることにより、ロック用ワイヤー36の第2部分36Cを引っ張ることができ、これにより、この第2部分36Cに大きな緊張力を作用させることができる。
以上のようにして、ロック用ワイヤー36が第1レバー部材61と第2レバー部材62に対して滑り移動することが摩擦部材67,68により阻止されて、ロック用ワイヤー36の第2部分36Cに大きな緊張力が作用すると、図16で示した第2処理装置38の回動部材42は、この緊張力により、前述した戻しばね100に抗して図16のD方向に回動し、この回動量は、前述のストップ部材101が挿入されている円弧状の長孔42Bの長さに応じたものとなる。このときの回動は、ロータリー式のダンパー102のピニオンギヤ103をF方向に回転させるが、このF方向へのピニオンギヤ103の回転では、前述したとおり、ダンパー102に粘性流体による抵抗力は発生しない。このため、第2部分36Cに作用した緊張力により回動部材42は高速でD方向へ回動することになり、この回動部材42に一方の端部が連結されている第1制御用ワイヤー111は引っ張られることになる。
したがって、本実施形態では、ロック用ワイヤー36の第2部分36Cに作用する緊張力は、第2処理装置38に中継されて第1制御用ワイヤー111に伝達されることになり、第2処理装置38は、この中継を行うための中継手段になっているとともに、第1制御用ワイヤー111は、ロック用ワイヤー36の第2部分36Cに作用した緊張力を自動閉鎖装置32に伝達するための緊張力伝達部材となっている。
なお、ロック用ワイヤー36の第2部分36Cは回動部材42に直接連結されておらず、これらの第2部分36Cと回動部材42との間には衝撃荷重緩衝用弾性部材となっている前述のコイルばね43が介設されているため、第2部分36Cに上述の大きな緊張力が瞬間的に作用しても、この緊張力が回動部材42に直接作用することはなく、緊張力を緩和させて回動部材42に作用させることができる。
また、回動部材42のD方向への回動量が円弧状の長孔42Bに挿入されているストップ部材101で規定される限界値に達したときにも、コイルばね43による衝撃荷重緩衝作用により、ロック用ワイヤー36の第2部分36Cと回動部材42との間で大きな衝撃荷重が伝播をすることを防止することができる。
上述のように第1制御用ワイヤー111が引っ張られると、この第1制御用ワイヤー111の他方の端部は、図20で示されている自動閉鎖装置32のスライド部材120に連結されているため、スライド部材120はばね121に抗しながら後退する。第1制御用ワイヤー111が引っ張られる量及びスライド部材120が後退する量は、図16で示した回動部材42の長孔42Bの長さで規定されている量であるため、前端が図18及び図20で示すI位置まで達していたスライド部材120は、スライド部材120の前端の位置が図18のH位置となる後退限まで後退せず、前端の位置がJ位置となる位置、すなわち、H位置とI位置との中間の位置で停止する。このときの状態が図21に示されている。このときの屈曲レバー部材129のローラ130が当接しているスライド部材120位置は、図20のときよりも、スライド部材120のスライド方向であるスライド部材120の長さ方向へ移動しているが、ローラ130は、前述した傾斜面120Cにまだ当接している。
また、このときのスライド部材120の前端の位置は、I位置からJ位置へ後退しているため、このスライド部材120の作動部材122によって図3及び図17のレバー部材31の第1部分31Aが図3のA方向に押圧されていた荷重は、解除されることになる。このため、開閉機13のブレーキ手段19は、オフからオンに切り替えられることになる。そして、このブレーキ手段19のオンにより、開閉機13の前述の駆動軸14は回転できないため、シャッターカーテン1の上端が結合されている巻取軸11も回転することはできない。
したがって、障害物34に当接したシャッターカーテン1は、その当接位置で閉じ移動を停止することになる。この停止は、ロック用ワイヤー36を摩擦部材67,68でロックする第1レバー部材61と第2レバー部材62を備えた前述の機械式結合装置39や、同じく機械式となっている第2処理装置38、さらには機械式にスライドする自動閉鎖装置32の部材となっているスライド部材120、機械式にオンとなる開閉機13のブレーキ手段19等により構成されている機械式構造によって行われる。このため、シャッターカーテン1が閉じ移動を開始した後に、火災等の災害の発生を原因として、あるいは、他の理由を原因として、本実施形態に係るシャッター装置が設置された建物が停電になっても、閉じ移動中に障害物34に当接したシャッターカーテン1を停止させることができる。
また、本実施形態では、図1で説明したように、前述した機械式障害物検知装置35を構成している機械式結合装置39とユニット構造物45は、シャッターカーテン1の幅方向の中央位置Bに配置されておらず、この中央位置Bから、シャッターカーテン1の幅方向のうち、開閉機13及び自動閉鎖装置32が配置されている一方の側へ変位している位置に配置されている。このため、前述の中継手段となっている第2処理装置38と自動閉鎖装置32は、中央位置Bに対してシャッターカーテン1の幅方向の同じ側に配置されていることになり、このため、第2処理装置38と自動閉鎖装置32との間に配線され、前述の緊張力伝達部材となっている第1制御用ワイヤー111の長さを短くすることができる。したがって、閉じ移動中のシャッターカーテン1が障害物34に当接したときには、第1制御用ワイヤー111に作用する前述の緊張力を瞬時に自動閉鎖装置32に入力させることができ、これにより、開閉機13のブレーキ手段19を迅速にオンにすることができる。
なお、例えば、ユニット構造物45と自動閉鎖装置32との間に大きな物体が存在するなどの理由により、当該箇所に第1制御用ワイヤー111を配線できる充分なスペースがなく、このため、ユニット構造物45の第2処理装置38と自動閉鎖装置32との間に、長さを短くした第1制御用ワイヤー111を配線することが不可能又は困難である場合には、まぐさ16におけるユニット構造物45を配置する位置を上記の位置から変更し、これにより、第2処理装置38と自動閉鎖装置32との間で第1制御用ワイヤー111を、この第1制御用ワイヤー111を配線できるスペースを通すことにより、配線するようにしてもよい。これによってユニット構造物45が配置されるまぐさ16における位置を、シャッターカーテン1の幅方向の中央位置Bから、シャッターカーテン1の幅方向のうち、開閉機13及び自動閉鎖装置32が配置されている上記の一方の側とは反対側の位置へ移行させ、ユニット構造物45等で構成されている上述の機械式障害物検知装置35の配置位置を、シャッターカーテン1の幅方向の中央位置Bに対して図1で示されている位置とは反対の位置、言い換えると、開閉機13及び自動閉鎖装置32から中央位置Bよりもさらに遠い位置としてもよい。
また、本実施形態では、図1に示されているように、前述の中継手段となっている第2処理装置38を備えたユニット構造物45と、自動閉鎖装置32とは、シャッターカーテン1の幅方向の中央位置Bからこの幅方向の同じ側へずれた位置に配置されているとともに、これらのユニット構造物45と自動閉鎖装置32は、シャッターカーテン1の幅方向の同じ位置に配置されておらず、ユニット構造物45と自動閉鎖装置32のうち、ユニット構造物45が自動閉鎖装置32よりもシャッターカーテン開閉体の幅方向の中央位置Bに近い位置に配置されている。このため、本実施形態では、ユニット構造物45にロック用ワイヤー36を介して連結されている前述の機械式結合装置39も、自動閉鎖装置32よりもシャッターカーテン1の幅方向の中央位置Bに近い位置に配置されていることになる。これによると、閉じ移動の途中のシャッターカーテン1が障害物34に当接することがシャッターカーテン1の幅方向のどの位置で生じても、機械式結合装置36に、シャッターカーテン1とロック用ワイヤー36とを機械式に結合された状態とするための作動を一層確実に行わせることができる。
また、ユニット構造物45が自動閉鎖装置32よりもシャッターカーテン開閉体の幅方向の中央位置Bに近い位置に配置されることにより、自動閉鎖装置32はユニット構造物45よりもシャッターカーテン1の幅方向の中央位置Bから遠い位置に配置されることになる。この自動閉鎖装置32の配置位置は、シャッターカーテン1を開閉自在に支持するための部材、具体的には、シャッターカーテン1の巻き取り、繰り出しでこのシャッターカーテン1を開閉移動させる巻取軸11を支持するための支持部材となっているシャッターボックス8のうち、側面部8Bに近い位置となっている。この側面部8Bには、ブラケット部材15を介して開閉機13が取り付けられており、この開閉機13に自動閉鎖装置32が取り付けられているため、自動閉鎖装置32がユニット構造物45よりもシャッターカーテン1の幅方向の中央位置Bから遠い位置に配置されることにより、この自動閉鎖装置32を、シャッターボックス8の側面部8Bに、ブラケット部材15と開閉機13を介して有効に配置することができる。
上述したように、閉じ移動中のシャッターカーテン1が障害物34に当接し、開閉機13のブレーキ手段19がオンになった後に、障害物34が除去されると、シャッターカーテン1のカーテン副部71Bが下降するため、機械式結合装置39の第1レバー部材61と第2レバー部材62の摩擦部材67,68によるロック用ワイヤー36の挟着、ロックは解除され、機械式結合装置39によるシャッターカーテン1とロック用ワイヤー36との機械式結合状態も解除される。これにより、ロック用ワイヤー36の緊張力は消滅し、このため、図16の戻しばね100による戻し力が作用している第2処理装置38の回動部材42は、図16のC方向に回動し、この回動により、第1制御用ワイヤー111によって後退方向へ引っ張られていた自動閉鎖装置32のスライド部材120は、前端の位置が図21で示すJ位置から図20で示すI位置へ移行する前進をばね121により行う。このため、開閉機13のブレーキ手段19は、オンからオフへ再度切り替られ、シャッターカーテン1は閉じ移動を再開することとなる。
また、第2処理装置38の回動部材42が図16のC方向に回動するときには、ロータリー式のダンパー102のピニオンギヤ103はE方向に回転し、このE方向についてはダンパー102に粘性流体による抵抗力が生ずる。このため、スライド部材120の前端の位置が図21で示すJ位置から図20で示すI位置へ移行すること、及びこの移行により開閉機13のブレーキ手段19がオンからオフへ切り替られることは、ダンパー102の遅延作用により、瞬時に行われない。したがって、障害物34の除去によりシャッターカーテン1が閉じ移動を再開することは、障害物34の除去から時間遅れをもって開始されることになり、このため、障害物34の除去作業を時間的余裕をもって行うことができる。
この説明で分かるように、ダンパー102を備えている本実施形態における第2処理装置38は、上述の遅延を生じさせるための遅延装置となっている。
なお、この遅延装置のダンパー102からの粘性流体の漏れがあっても、この粘性流体が図4で示すユニット構造物45から落下することを防止するために、例えば、ユニット構造物45のベース部材44の周囲に立ち上り壁を設けることにより、このベース部材44を皿形状としてもよい。
また、この遅延装置は、ダンパー102の代わりに、例えば、ぜんまい式タイマーを含む機械式手段を採用したものとしてもよい。この機械式手段によると、粘性流体式ダンパー102と異なり、環境温度に影響されることなく遅延時間をより正確に設定することができる。
そして、シャッターカーテン1が全閉となった後において、第3制御用ワイヤー113を、図1で示した手動操作部材141で引っ張ることにより、自動閉鎖装置32のスライド部材120は、前端の位置が図18のH位置に戻る復帰移動を行うため、自動閉鎖装置32の全体は図18の初期状態に復帰する。
なお、第3制御用ワイヤー113を図1で示した操作装置30まで延長することにより、第3制御用ワイヤー113の端部を、操作装置30に配置されたレバー部材等の手動操作部材、又は操作装置30に配置されたスイッチ操作式の電動モータで回転する回転部材であって、第3制御用ワイヤー113を繰り出し自在に巻き取るための巻取部材に連結してもよい。これにより、第3制御用ワイヤー113を上記手動操作部材又は上記電動モータで回転する上記巻取部材で引っ張ることができるようにしてもよい。
次に、本実施形態に係る装置を、本実施形態に係るシャッター装置が設置される施工現場において施工するための方法について、図22及び図23により説明する。この装置は、図4で示した第1処理装置37と第2処理装置38と機械式結合装置39がロック用ワイヤー36で連結された状態となることにより、ユニットとして構成されている機械式障害物検知装置35と、図17〜図21で示した自動閉鎖装置32と、を含んで構成されている機械式シャッターカーテン停止装置になっているものである。
上記の施工現場には、上端が巻取軸11に結合されたシャッターカーテン1が巻取軸11に巻き取られた状態となって工場から搬入され、また、ユニットになっている上記機械式障害物検知装置35もユニットとして工場から搬入され、さらに、本実施形態に係るシャッター装置を構成するために必要な部材や装置も工場から搬入され、この部材や装置には、図1及び図2で示した開閉機13や自動閉鎖装置32も含まれる。
なお、自動閉鎖装置32は、予め工場で開閉機13に取り付けて施工現場に搬入してもよく、開閉機13に取り付けずに施工現場に搬入してもよい。
また、シャッターカーテン1の座板1Bには、図13で示されている開口部90が予め工場で形成されており、このため、巻取軸11に巻き取られて施工現場に搬入されたシャッターカーテン1は、この開口部90を備えたものとなっている。
施工現場では、図1で示した左右の建物躯体3にガイドレール6を取り付ける作業や、天井裏空間7に存在する図2の建物躯体9にシャッターボックス8を取り付ける作業が行われ、さらに、シャッターボックス8の図1で示されている左右の側面部8A,8Bに巻取軸11を回転自在に支持させる作業や、側面部8Bにブラケット15を介して開閉機13を取り付ける作業、図2で示されているまぐさ16を天井部材5に配置する作業も行われる。
この後に、作業者は巻取軸11を回転させることにより、シャッターカーテン1を巻取軸11から下方へ繰り出し、左右のガイドレール6の上端まで座板1Bが達したシャッターカーテン1の左右方向(幅方向)の両端部をこれらのガイドレール6の内部に侵入させ、シャッターカーテン1の自重で巻取軸11を回転させることにより、シャッターカーテン1を座板1Bが床4に当接する全閉の位置まで下降させ、これにより、シャッターカーテン1をガイドレール6に案内させた状態とする。このときの状態が図22に示されている。
なお、このときまでに、開閉機13と巻取軸11とを図1及び図2で示されている駆動力伝達手段12で接続する作業が実施されている場合には、図3で説明した開閉機13のレバー部材31の第2部分31Bを操作することにより、開閉機13のブレーキ手段19をオフとし、これにより、シャッターカーテン1の自重により巻取軸11を回転可能とし、巻取軸11の回転によりシャッターカーテン1を全閉の位置まで下降させる。
次いで、本実施形態に係る架け渡し部材となっているロック用ワイヤー36を、開閉移動するシャッターカーテン1に対して不動部材となっているまぐさ16と、シャッターカーテン1の座板1Bとの間に架け渡すための作業を行う。この作業を行うためには、先ず、ユニットになっている機械式障害物検知装置35を天井裏空間7に運び込み、この機械式障害物検知装置35を構成している装置のうち、図4の第1処理装置37と第2処理装置38で構成されているユニット構造物45を、図2のまぐさ16を形成しているまぐ部材16A,16Bのうち、まぐさ部材16Aにボルト又は溶接等で固定する。この後、機械式障害物検知装置35を構成している機械式結合装置39をまぐさ部材16Aと16Bの間のスリット17から天井裏空間7の下の空間である出入口2に降ろす。
このとき、第1処理装置37の戻しばね41の戻し力が作用しているリール40に巻き取られていたロック用ワイヤー36は、機械式結合装置39の自重によりリール40から繰り出されるため、機械式結合装置39は、シャッターカーテン1の座板1Bが着床している床4まで下降することになる。
次いで、機械式結合装置39を座板1Bの図13で示されている開口部90に配置する作業を行う。この配置作業は、図9等で示されているナット97等を用いて行う。このため、本実施形態においては、開口部90が、シャッターカーテン1における機械式結合装置39を配置するための機械式結合装置用配置部となっている。
以上の作業により、ロック用ワイヤー36をまぐさ16とシャッターカーテン1の座板1Bとの間に架け渡すための作業が終了する。
なお、ユニット構造物45をまぐさ部材16Aにボルト又は溶接等で固定する作業は、このまぐさ部材16Aが天井部材5に配置された後に行うのではなく、まぐさ部材16Aが施工現場の床4に置かれているときに行ってもよい。これによると、第1処理装置37と第2処理装置38で構成されているユニット構造物45をまぐさ部材16Aに配置する作業を、周囲が開放された良好な作業環境のもとで行うことができ、作業性を向上させることができる。
このように、床4に置かれているまぐさ部材16Aにユニット構造物45を配置した場合には、この配置作業の後に、まぐさ部材16Aを天井裏空間7に運び込み、このまぐさ部材16Aを天井部材5の所定位置に配置する。次いで、上述と同様に、機械式結合装置39をまぐさ部材16Aと16Bの間のスリット17から天井裏空間7の下の出入口2に降ろし、機械式結合装置39を座板1Bの開口部90に配置する作業を行う。
なお、床4に置かれているまぐさ部材16Aにユニット構造物45を配置する作業は、上述したように、シャッターカーテン1をガイドレール6に案内させた状態とする作業を行う前に予め実施しておいてもよく、この作業を行った後に実施してもよい。
以上のようにしてロック用ワイヤー36をまぐさ16とシャッターカーテン1の座板1Bとの間に架け渡すための作業が終了した後に、第1制御用ワイヤー111を第2処理装置38と自動閉鎖装置32との間に架設する作業や、第2制御用ワイヤー112を自動閉鎖装置32と前述の建物躯体3Aに取り付けた操作装置30との間に架設する作業、さらには、手動操作部材141が設けられた第3制御用ワイヤー113を自動閉鎖装置32に連結する作業を行う。もちろん、これらの作業が行われる前に、自動閉鎖装置32が開閉機13に取り付けられていない場合には、この取り付けを行った後に、これらの作業を実施する。また、第3制御用ワイヤー113を操作装置30まで延長したものとする場合には、手動操作部材141が設けられた第3制御用ワイヤー113を自動閉鎖装置32に連結するための上述の作業の代わりに、第3制御用ワイヤー113を自動閉鎖装置32と操作装置30との間に架設するための作業を行う。
また、ロック用ワイヤー36をまぐさ16とシャッターカーテン1の座板1Bとの間に架け渡すための作業が終了した後に、その他の残余の作業も行う。この残余の作業には、開閉機13と前述した制御装置とを電気的に接続する作業及びこの制御装置と操作装置30とを電気的に接続する作業が含まれ、さらに、残余の作業には、このときまでに開閉機13と巻取軸11とが駆動力伝達手段12で接続されていない場合には、この接続を行う作業も含まれる。
なお、これらの残余の作業は、第1〜第3制御用ワイヤー111〜113に関する上述の作業の終了後に実施してもよく、第1〜第3制御用ワイヤー111〜113に関する上述の作業の終了前に実施してもよい。
図23には、施工作業に関する以上の全部の作業が終了したときのシャッター装置の全体正面図が示されている。
以上の施工作業に関する全部の作業が終了した後に、操作装置30を操作することにより、シャッターカーテン1を全開状態まで開き移動させる。これにより、シャッターカーテン1を、このシャッターカーテン1を閉じ移動、さらにはこの閉じ移動の後に開き移動させるための初期状態に配置することができる。
以上説明した本実施形態に係る施工方法によると、ロック用ワイヤー36をまぐさ16とシャッターカーテン1の座板1Bとの間に架け渡すための作業は、シャッターカーテン1をガイドレール6に案内させた状態にする作業を実施した後に行われるため、この架け渡し作業を、シャッターカーテン1がガイドレール6により施工現場の本来の所定位置に配置されていて、シャッターカーテン1に対する作業を容易に行える状態になった後に、実施できることになり、このため、この架け渡し作業を効率的に行え、作業性を向上させることができる。
また、このときのシャッターカーテン1は巻取軸11に巻き取られているのではなく、ガイドレール6により展開された状態になっているため、上記架け渡し作業を一層効率的に行え、さらに作業性を向上させることができる。
また、上記架け渡し作業は、シャッターカーテン1が全閉になっているときに行うため、シャッターカーテン1の重量が床4で支持され、シャッターカーテン1が上下移動しない状態にした後に、この架け渡し作業を実施することができ、このため、この点でも架け渡し作業を一層効率的に行え、さらに作業性を向上させることができる。
また、工場から施工現場に搬入されるときの機械式障害物検知装置35は、第1処理装置37と第2処理装置38と機械式結合装置39がロック用ワイヤー36で連結された状態のユニットになっているため、この搬入作業を容易に行え、また、この搬入作業後に施工現場で行う機械式障害物検知装置35についての各種作業も容易に行える。
さらに、機械式障害物検知装置35を構成する装置のうち、まぐさ部材16Aに配置される第1処理装置37と第2処理装置38は1個のユニット構造物45となっており、このため、まぐさ部材16Aに第1処理装置37と第2処理装置38を配置する作業は、まぐさ部材16Aにこのユニット構造物45だけを配置する作業を行うことよって実施されたことになり、まぐさ部材16Aに個別に第1処理装置37と第2処理装置38を配置する作業を行う必要がないため、この点でも作業の効率化、作業性の向上を図ることができる。
また、本実施形態に係る前述した機械式シャッターカーテン停止装置は、既存のシャッター装置にも適用することができる。これを具体的に説明すると、この既存のシャッター装置に機械式シャッターカーテン停止装置を適用する場合には、既存のシャッター装置のシャッターカーテン1の座板1Bには前述した開口部90が形成されていないため、シャッターカーテン構成部材となっているこの座板1Bを、開口部90が形成されている座板1Bに交換した後に、機械式結合装置用配置部となっているこの開口部90に機械式結合装置39を配置するための作業を行う。
開口部90が形成されていない座板1Bを開口部90が形成されている座板1Bに交換するためには、既存のシャッター装置のシャッターカーテン1を、座板1Bが床4から離れる高さ位置まで上昇させた後に、図8で示されている結合具77の取り外しにより座板1Bをカーテン本体1Aから分離し、次いで、座板1Bを斜めにするなどしてこの座板1Bの両端部を左右のガイドレール6から抜き取る。この後に、開口部90が形成されていて、シャッターカーテン構成部材となっている座板1Bを同じく斜めにするなどして、この座板1Bの両端部を左右のガイドレール6に挿入し、この座体1Bを結合具77でカーテン本体1Aに結合する。そして、シャッターカーテン1を全閉位置まで下降させた後に、前述したように、まぐさ部材16Aにユニット構造物45を配置するとともに、このユニット構造物45の第1処理装置37と第2処理装置38にロック用ワイヤー36で連結されている機械式結合装置39を、交換後の座板1Bの開口部90に配置する。次いで、前述した残余の作業等を行う。
これにより、本実施形態に係る上述の機械式シャッターカーテン停止装置を既存のシャッター装置に適用するための作業が終了する。
また、以上説明した本実施形態では、前述したように、ロック用ワイヤー36の第1部分36Bと第2部分36Cの両方が、機械式結合装置39が配置されている固定部70Aを除くカーテン主部71Aからシャッターカーテン1の厚さ方向に離れた位置に配置されていて、カーテン主部71Aと干渉していないため、まぐさ16とシャッターカーテン1との間に架け渡された架け渡し部材となっていて、本実施形態における機械的部材となっているロック用ワイヤー36は、シャッターカーテン1が開閉移動しているときに、この開閉移動を阻害することはなく、この開閉移動を円滑に行わせることができる。
また、本実施形態では、ロック用ワイヤー36が、第1部分36Bと第2部分36Cの両方について、シャッターカーテン1の固定部70Aを除くカーテン主部71Aから離れているため、シャッターカーテン1が開閉移動しても、ロック用ワイヤー36の全体が固定部70Aを除くカーテン主部71Aに対して擦れることはなく、このため、ロック用ワイヤー36の全体と、固定部70Aを除くカーテン主部71Aとが、損傷することを防止することができる。
また、本実施形態によると、図2で説明したように、シャッターカーテン1は天井部材5に配置されたまぐさ16のスリット17を通って天井部材5の下側に垂下され、ロック用ワイヤー36の第1及び第2部分36B,36Cは天井部材5の上下に跨る長さを有しているとともに、これらの第1及び第2部分36B,36Cは、まぐさ16と接触せずにこのまぐさ16のスリット17に挿通されているため、シャッターカーテン1が開閉移動しているときに、まぐさ16に対するロック用ワイヤー36の円滑な移動を保障することができる。
さらに、ロック用ワイヤー36の第1及び第2部分36B,36Cは、まぐさ16と干渉しないため、ロック用ワイヤー36とまぐさ16の両者が損傷することを防止することができる。
また、本実施形態では、シャッターカーテン1が全開となっているときに、図1で示した操作装置30の「閉」ボタンが操作されることによりシャッターカーテンが閉じ移動を開始し、この閉じ移動中のシャッターカーテン1が障害物34に当接した場合にも、前述と場合と同じく、機械式結合装置39の第1レバー部材61と第2レバー部材62は、摩擦部材67,68において、ロック用ワイヤー36の折り返し部36Aを挟着、ロックし、機械式結合装置39がシャッターカーテン1とロック用ワイヤー36とを機械式に結合するため、ロック用ワイヤー36の第2部分36Cには、下向きの緊張力が作用することになる。
そして、このようにシャッターカーテン1の閉じ移動を、操作装置30の「閉」ボタンを操作されることにより行った場合には、ロック用ワイヤー36の第2部分36Cの緊張力は、第2処理装置38の回動部材42と、第1制御用ワイヤー111とを介して自動閉鎖装置32のスライド部材120に作用することになる。このときのスライド部材120の凹部120Bには、前述の屈曲レバー部材129のローラ130が嵌合されているため、シャッターカーテン1の閉じ移動を、シャッターカーテン1が障害物34のへこみ変形等で少し下降した後に、停止させることができる。
なお、以上説明した本実施形態に係るシャッター装置は管理及び防災の併用シャッター装置であったが、本発明は、防災専用のシャッター装置にも適用することができる。
図24は、開閉移動するシャッターカーテン1に対して不動部材となっている前述のまぐさ16に、前述した第1処理装置37と第2処理装置38からなるユニット構造物45と、シャッターカーテン1の厚さ方向のうち、シャッターカーテン1をユニット構造物45の配置側とは反対側へ押圧するための押圧手段150とを配置した実施形態を示している。
すなわち、シャッターカーテン1が前述の巻取軸11から繰り出されることにより、巻取軸11でのシャッターカーテン1の巻径が小さくなり、これにより、シャッターカーテン1がユニット構造物45に近づいても、この実施形態では、シャッターカーテン1がユニット構造物45と干渉することがないように、ユニット構造物45に対するシャッターカーテン1の接近位置を、押圧手段150により、一定位置に制限している。押圧手段150は、図25の斜視図及び図26の平面図で示されているように、機枠151に、第1ローラ152と第2ローラ153を上下回転自在に取り付けたものであり、また、下側の第1ローラ152に対する上側の第2ローラ153の配置位置は、L1分だけ高い位置であって、しかも、L2分だけシャッターカーテン1から後退した位置となっている。
図24に示されているように、シャッターカーテン1の巻取軸11からの繰り出しが進行すると、シャッターカーテン1は、初めに第1ローラ152に当たり、シャッターカーテン1の巻取軸11からの繰り出しがさらに進行すると、シャッターカーテン1は、次に第1ローラ152と第2ローラ153の両方に当たる。このため、巻取軸11でのシャッターカーテン1の巻径が極めて小さくなっても、2個のローラ152,153により、シャッターカーテン1がユニット構造物45と干渉することを防止できる。
なお、押圧手段に設けるローラの個数は1個でもよい。また、ローラの個数を複数個とする場合には、それぞれのローラの高さ位置を同じにし、これらのローラをシャッターカーテンの幅方向に並設してもよい。
図27は、巻取軸11でのシャッターカーテン1の巻径が変化しても、シャッターカーテン1とユニット構造物45との間に、シャッターカーテン1の厚さ方向の大きな間隔を確保しておくことができる実施形態を示す。この実施形態では、ユニット構造物45は図2でも説明した結合部材26に取り付けられ、これにより、ユニット構造物45は、まぐさ16からシャッターカーテン1の厚さ方向に離れた位置に配置されている。まぐさ16にはブラケット部材161が取り付けられ、このブラケット部材161には、ロック用ワイヤー36の第1部分36Bと第2部分36Cごとに1個ずつ設けられたガイドローラ162が、まぐさ16のシャッターカーテン垂下用のスリット17の上側において、上下回転自在に配置されている。ロック用ワイヤー36の第1部分36Bと第2部分36Cは、これらのガイドローラ162に掛けられてシャッターカーテン1とユニット構造物45との間に架け渡されている。
それぞれのガイドローラ162から垂下されるロック用ワイヤー36の第1部分36Bと第2部分36Cは、シャッターカーテン1のうち、左右のガイドレール6で案内される部分と平行となっている。そして、巻取軸11からのシャッターカーテン1の繰り出しが進行して巻取軸11でのシャッターカーテン1の巻径が小さくなっても、シャッターカーテン1とユニット構造物45との間には、シャッターカーテン1の厚さ方向の大きな間隔が確保されているため、シャッターカーテン1がユニット構造物45と干渉することを防止できる。
図28及び図29は、ロック用ワイヤー36の第1部分36Bと第2部分36Cの両方を外部から視認できない位置に配置した実施形態を示す図であり、図28は、この実施形態に係るシャッター装置の全体を示す正面図であり、図29は、ロック用ワイヤー36をロックして、シャッターカーテン1とロック用ワイヤー36とを機械式に結合するためのこの実施形態に係る機械式結合装置239を示す縦断面図である。
前述した実施形態では、第1処理装置37と第2処理装置38は、まぐさ16にボルト又は溶接等で固定配置されたベース部材44の上面に配置されており、このため、第1処理装置37と第2処理装置38はベース部材44で連結されたユニット構造物45となっていた(図4参照)。
しかし、図28及び図29で示すこの実施形態では、第1処理装置37と第2処理装置38はユニット化されたユニット構造物となってはおらず、図28に示すように、第1処理装置37は、まぐさ16における左右一対のガイドレール6のうちの一方である左側のガイドレール6Bの真上又はこの真上の近辺に配置されており、前述した中継手段となっている第2処理装置38は、まぐさ16における左右一対のガイドレール6のうちの他方である右側のガイドレール6Aの真上又はこの真上の近辺に配置されており、このため、第1処理装置37と第2処理装置38は、同じ高さ位置に水平方向に離間して配置されている。また、開閉機13と、この開閉機13に取り付けられている自動閉鎖装置32も、右側のガイドレール6Aの真上又はこの真上の近辺に配置されている。
そして、図1等で示した実施形態に係るロック用ワイヤー36の第1部分36Bと第2部分36は、左右一対のガイドレール6の外部に配置されていたが、この実施形態に係るロック用ワイヤー36の第1部分36Bのうち、第1処理装置37から繰り出されて垂下した部分は、左側のガイドレール6Bの内部に配置されており、ロック用ワイヤー36の第2部分36Cのうち、第2処理装置38から繰り出されて垂下した部分は、右側のガイドレール6Aの内部に配置されている。
また、この実施形態において、図29に示されているように、ロック用ワイヤー36をロックするための機械式結合装置239を収納するケース201の幅寸法(シャッターカーテン1の幅方向である左右方向の寸法)は、シャッターカーテン1の幅寸法と略同じとなっている。
この実施形態に係る機械式結合装置239のケース201は、図29で示されている裏面部201A及び上面部201Bと、図示されていない正面部とを有しており、これらの幅寸法は、シャッターカーテン1の幅寸法と略同じとなっているため、ケース201の幅方向である左右方向の端部は、図28に示すように、シャッターカーテン1の幅方向の端部と共に、ガイドレール6の内部にスライド自在に挿入される。したがって、ガイドレール6に設けられている開口部の幅寸法(図28での紙面表裏方向の寸法)は、機械式結合装置239のケース201の幅方向の端部が挿入可能な大きな寸法を有している。
また、図29に示されているように、ケース201の内部には、挟着部材である第1レバー部材61と第2レバー部材62等が配置されているが、これらのレバー部材61,62等の配置位置は、前述の実施形態に係る機械式結合装置39のケース55の内部に配置されているレバー部材61,62等の配置位置と同じ又は略同じとなっている。
また、ケース201の内部には、ロック用ワイヤー36を案内する4個の回転自在なローラ202,203,204,205がシャッターカーテン1の幅方向に離れて配置されているとともに、これらのローラ202,203,204,205と共にロック用ワイヤー36を案内するためのピン等による複数のガイド部材60も配置されている。
ケース201の内部における2個のレバー部材61,62の左右近傍に配置されている2個のローラ203,204の配置位置は、図6の実施形態に係る機械式結合装置39のケース55の内部に配置されている2個のローラ58,59の配置位置と同じ又は略同じとなっている。一方、ケース201の内部におけるシャッターカーテン1の幅方向の端部に配置されている2個のローラ202,205は、左右のガイドレール6の内部で垂下して配置されているロック用ワイヤー36の第2部分36C,第1部分36Bを水平方向に案内するものとなっている。
また、図29に示されているように、左右のガイドレール6の内部に垂下して配置されているロック用ワイヤー36が出入りする孔56,57は、ケース201の上面部201Bにおけるこのケース201の幅方向の両端部に形成されている。なお、ケース201の両方の側面部には突片部201Dが形成され、これらの突片部201Dを利用して機械式結合装置239は、図28で示されているシャッターカーテン1の座板1Bのうちの所定部分、すなわち、図7等で示されている固定部70Aに相当する部分に取り付けられる。
この実施形態に係るシャッター装置でも、図22及び図23で説明した実施形態と同じく、シャッターカーテン1がガイドレール6に案内された状態とする作業を行った後に、第1処理装置37と第2処理装置38をまぐさ16に配置するとともに、機械式結合装置239を、座板1Bのうちの固定部70Aに配置する作業を行うことにより、ロック用ワイヤー36がまぐさ16とシャッターカーテン1との間に架け渡される作業が行われることになる。
以上説明したように、図28及び図29の実施形態では、ロック用ワイヤー36のうち、第1部分36B及び第2部分36Cが、左右一対のガイドレール6の内部に配置されている。このため、この実施形態によると、ロック用ワイヤー36の第1部分36B及び第2部分36Cを外力から保護できるようになる。
また、この実施形態では、前述した中継手段となっている第2処理装置38と自動閉鎖装置32は、左右一対のガイドレール6A,6Bのうち、右側のガイドレール6Aの真上又はこの真上の近辺に配置されているため、第2処理装置38の配置位置と自動閉鎖装置32の配置位置とが、水平方向に関しては同じ位置又は互いに接近した位置になっている。このため、これらの第2処理装置38と自動閉鎖装置32との間に架け渡された前述の緊張力伝達部材となっている第1制御用ワイヤー111の長さを一層短くすることができ、これにより、閉じ移動中のシャッターカーテン1が障害物34に当接することでロック用ワイヤー36に作用するシャッターカーテン1の自重による緊張力を、第1制御用ワイヤー111により一層瞬時に自動閉鎖装置32に伝達でき、閉じ移動中のシャッターカーテン1が障害物34に当接したときに、シャッターカーテン1の閉じ移動を一層迅速に停止させることができる。
さらに、この実施形態でも、図28に示されているように、操作装置30は、シャッターカーテン1の幅方向両側に配置されている左右の壁等の建物躯体3のうち、開閉機13及び自動閉鎖装置32に近い位置となっている一方の建物躯体3Aに配置されているため、自動閉鎖装置32と操作装置30との間に架け渡されていて、操作装置30で引っ張り操作される引っ張り操作部材となっている第2制御用ワイヤー112の長さを短くできることになる。このため、左右の壁等の建物躯体3のうち、他方の建物躯体3Bに操作装置30を配置した場合よりも、操作装置30に配置されている前述のレバー部材等の手動操作部材により第2制御用ワイヤー112を引っ張り操作したときの引っ張り力を自動閉鎖装置32に瞬時に入力させることができ、これにより、開閉機13のブレーキ手段19を瞬時にオフにすることができ、全開となっていたシャッターカーテン1の閉じ移動を迅速に開始させることができる。
また、この実施形態でも、ロック用ワイヤー36の第1部分36B及び第2部分36Cは、機械式結合装置239が配置されている固定部を除くカーテン主部からシャッターカーテン1の厚さ方向に離れた位置に配置されていて、カーテン主部と干渉していないため、ロック用ワイヤー36は、シャッターカーテン1が開閉移動しているときに、この開閉移動を阻害することはなく、この開閉移動を円滑に行わせることができる。
なお、左右のガイドレール6の内部におけるロック用ワイヤー36の第1部分36B及び第2部分36Cの左右方向の位置を、シャッターカーテン1の幅方向の端部の端面よりもガイドレール6の内側(奥側)に配置してもよい。これによると、ロック用ワイヤー36の第1部分36B及び第2部分36Cは、機械式結合装置239が配置されている固定部を除くカーテン主部からシャッターカーテン1の幅方向に離れた位置に配置されることになり、これによっても、シャッターカーテン1が開閉移動しているときに、この開閉移動を円滑に行わせることができる。このようにロック用ワイヤー36の第1部分36B及び第2部分36Cの左右方向の位置を、シャッターカーテン1の幅方向の端部の端面よりもガイドレール6の内側に配置するためには、例えば、ケース201に、シャッターカーテン1の幅方向の両方の端部の端面よりも外側へ突出する2個の部分を設け、これらの突出部分に、まぐさ16と接触させずにまぐさ16のスリット17に挿通させたロック用ワイヤー36の第1部分36B及び第2部分36Cを垂下させるようにすればよい。
以上説明したそれぞれの実施形態に係るシャッター装置は、不動部材とシャッターカーテンとの間に架け渡された部分を有する架け渡し部材が、折り返し部を有するU字形状のものであったが、次に、架け渡し部材が、機械式結合装置と対応する部分を除き、直線状に延びているものとなっている実施形態に係るシャッター装置について説明する。
図30は、この実施形態に係る管理及び防災の併用シャッター装置を示しており、図31は、図30のS31−S31線断面図である。
この実施形態でも、図1や図2等で説明した開閉機13及び自動閉鎖装置32が用いられており、開閉機13を機械式に制御するための機械式制御装置となっている自動閉鎖装置32には、図17〜図21で示した実施形態と同様に、第1〜第3制御用ワイヤー111〜113の一方の端部が連結されている。このため、以下の説明では、既に述べている開閉機13、自動閉鎖装置32及び第1〜第3制御用ワイヤー111〜113の構造及び作用については省略することとする。
但し、この実施形態では、第3制御用ワイヤー113の他方の端部は、図1に示され、図30にも示されている操作装置30まで延出されており、この端部は、操作装置30に配置されているレバー部材等の手動操作部材、又は操作装置30に配置されたスイッチ操作式の電動モータで回転する回転部材であって、第3制御用ワイヤー113を繰り出し自在に巻き取るための巻取部材に連結されている。
また、この実施形態でも、図30に示されているように、開閉機13及び自動閉鎖装置32はシャッターカーテン301の幅方向の中央位置Bに配置されておらず、これらの開閉機13及び自動閉鎖装置32は、シャッターカーテン301の開閉移動を案内する左右のガイドレール306A,306Bのうち、図30の右側のガイドレール306Aの真上又はこの真上の近辺に配置されている。
そして、この実施形態では、この一方のガイドレール306Aの内部には、本実施形態における架け渡し部材であって紐状部材となっているローラチェーン335が収納配置されている。また、この実施形態における機械的部材となっているローラチェーン335は、シャッターカーテン301に対して不動部材となっているまぐさ16からシャッターカーテン301の内部を経て、シャッターカーテン301に対して不動部材となっているガイドレール306Aの下端まで延びている。このため、ローラチェーン335は、不動部材からシャッターカーテン301まで架け渡された部分を有している。ローラチェーン335の下端は、ピン等による結合部材336でガイドレール306A又は床4に結合されており、ローラチェーン335の上端は、この上端を処理するためにまぐさ16に配置されている処理装置337に連結されている。
この処理装置337は、後述の説明で分かるように、この実施形態における遅延装置となっている。また、この処理装置337は、左右一対のガイドレール306A,306Bのうち、図30の右側のガイドレール306Aの真上又はこの真上の近辺に配置されている。
また、この処理装置337は、ローラチェーン335と自動閉鎖装置32との間に配置された中間装置にもなっており、処理装置337は、図31及び図32にも示されている。図32は、図31に対して表裏が逆となって示された図となっている。図32に示されているように、処理装置337は、この装置337の機枠338に結合された水平な中心軸339Aを中心に回動自在となっている回動部材339と、機枠338に結合された支点軸340Aを中心に上下に揺動自在となっているレバー部材340とを有する。レバー部材340の一方の端部には、弾性部材であるコイルばね341を介してローラチェーン335の上端が連結され、レバー部材340の他方の端部は、回動部材339に結合されたピン342を介して回動部材339に連結されている。このピン342は、レバー部材340に形成された長孔340Bに挿入されているため、レバー部材340が支点軸340Aを中心に上下に揺動したときには、回動部材339は中心軸339Aを中心に上下に回動する。
また、図31に示されているように、この実施形態に係るシャッターカーテン301も、天井部材5に配置されたまぐさ16のスリット17を通って天井部材5の下側に垂下されており、ローラチェーン335は天井部材5の上下に跨る長さを有しているとともに、このローラチェーン335は、まぐさ16と接触せずにこのまぐさ16のスリット17に挿通されている。
図33は、シャッターカーテン301のエンド部材となっている座板301Bのうち、ガイドレール306A側の部分を拡大して示した正面図である。また、図34は、座板301Bの内部構造を示す正断面図であり、図35は、図34のS35−S35線断面図、図36は、図34のS36−S36線断面図である。図36には、シャッターカーテン301の構成が示されており、この実施形態のシャッターカーテン301も、図36で示されているように、上下に連設された多数のスラット326で形成されていて、開閉体本体となっているカーテン本体301Aと、このカーテン本体301Aの下端部に設けられ、エンド部材となっている座板301Bとを有する。また、座板301Bは、カーテン本体301Aの下部に固定された固定部370Aと、この固定部370Aの下側に配置され、固定部370Aに対して上下方向に移動可能となっている可動部370Bとからなる。
また、図36に示されているように、シャッターカーテン301は、カーテン主部371Aと、カーテン副部371Bとを有し、カーテン主部371Aは、カーテン本体301Aと、座板301Bのうちの固定部370Aとによって構成されており、カーテン副部371Bは、座板301Bのうちの可動部370Bで構成されている。このカーテン副部371Bは、シャッターカーテン301の閉じ側の端部に配置されている。そして、カーテン主部371Aは、本実施形態における開閉体主部となっており、カーテン副部371Bは、本実施形態における開閉体副部となっている。
座板301Bの固定部370Aは、共に断面箱型となった外部材375と内部材376とを含んで形成されており、外部材375は、シャッターカーテン301の厚さ方向に分割配置された2個の分割部材375A,375Bで形成され、これらの分割部材375A,375Bは、カーテン本体301Aの下端部にボルト、ナット等による結合具377で結合されている。内部材376は、シャッターカーテン301の厚さ方向に間隔を開けて配置された前面部376A及び後面部376Bと、これらの前面部376Aと後面部376Bの上端同士を連結している上面部376Cとからなる。また、外部材375と内部材376の下面は開口部378となっている。
可動部370Bとなっているカーテン副部371Bは、上面が開口した中空の可動部材390と、この可動部材390の内部に昇降自在に収納された昇降部材391と、可動部材390に対して昇降部材391を上向きに弾性的に常時押し上げている弾性部材392とを含んで構成されている。この弾性部材392は、本実施形態では山形の形状に折り曲げられた板ばねによって形成されているとともに、この板ばね392の中央の上端部は昇降部材391にリベット等の止着具393で止着され、板ばね392の両方の下端部は、可動部材390の底面部390Aの上面にスライド自在に接触配置されている。
昇降部材391の上面部391A,391Bは、シャッターカーテン301の厚さ方向外側に水平に延出し、これらの上面部391A、391Bは、上記開口部378から内部材376の内部に挿入されている。また、外部材375の下面部375C,375Dは、シャッターカーテン301の厚さ方向外側に水平に延出し、可動部材390の上面部390B,390Cは、シャッターカーテン301の厚さ方向内側に水平に延出し、これらの上面部390B,390Cは、外部材375の下面部375C,375Dの上面と上下に対向している。このため、可動部材390の上面部390B,390Cが外部材375の下面部375C,375Dの上に乗ったときに、前述した可動部370Bは固定部370Aに対する下降限位置に達することになり、このため、前述したカーテン副部371Bはカーテン主部371Aに対してそれ以上下降することはない。
図36に示されているように、前述した固定部370Aの内部には、シャッターカーテン301の幅方向に延びる支点軸380を中心に上下揺動自在となった揺動部材381が収納されている。図38で示されているように可動部370Bが固定部370Aに対して上昇したときには、すなわち、シャッターカーテン301が閉じ移動しているときに可動部材390が図30で示した障害物34に当接したときには、この可動部材390に弾性部材392を介して連結されている昇降部材391の上面部391Aが揺動部材381の突出片381Aを押し上げることにより、揺動部材381は支点軸380を中心に上向きに揺動する。
外部材375と、内部材376と、可動部材390と、昇降部材391と、揺動部材381は、例えば、アルミ合金製等の押し出し成形品又は引き抜き成形品で形成されている。このため、これらの外部材375と、内部材376と、可動部材390と、昇降部材391と、揺動部材381は、シャッターカーテン301の幅方向への長さを有している。揺動部材381の揺動中心部となっている支点軸380は内部材376に一体に形成されており、この支点軸380もシャッターカーテン301の幅方向への長さを有している。また、前述した板ばねによる弾性部材392は、シャッターカーテン301の幅方向に間隔を開けて複数個配置されている。
図36に示されているように、外部材375の前述した2個の分割部材375A,375Bは、互いにシャッターカーテン301の厚さ方向に重ね合わせられて上方へ延出した延出部375E,375Fを有し、これらの延出部375E,375Fは、前述したカーテン本体301Aを形成しているそれぞれのスラット326のうち、最下部のスラット326Aに前述した結合具377で結合されている。それぞれのスラット326は、図30で示されている左右のガイドレール306の内部に左右の両端部が挿入されるだけのシャッターカーテン301の幅方向への長さを有している。また、延出部375E,375Fを含む2個の分割部材375A,375Bと、内部材376と、可動部材390と、昇降部材391と、揺動部材381は、左右のガイドレール306の内幅間隔よりも短くなっているシャッターカーテン301の幅方向への長さを有している。
図34で示されているように、内部材376及び揺動部材381におけるガイドレール306A側の端部376D,381Bは、ガイドレール306Aから所定距離だけ離れており、外部材375の内部における、端部376D,381Bがガイドレール306Aから離れておける部分には、保持部材350が配置されている。外部材375の2個の分割部材375A,375Bに溶接又は止着具等で結合されているこの保持部材350は、内部材376と同じ断面形状を有しているため、保持部材350は、図35に示されているように、シャッターカーテン301の厚さ方向に間隔を開けて配置された前面部350A及び後面部350Bと、図34に示されているように、これらの前面部350Aと後面部350Bの上端同士を連結している上面部350Cとからなる。また、図34及び図35に示されているように、保持部材350の前面部350Aと後面部350Bには、ガイドレール306A側へ延びる延出部材351がリベット等の止着具352で止着されている。この延出部材351は、シャッターカーテン301の厚さ方向に間隔を開けて配置された前面部351A及び後面部351Bと、これらの前面部351Aと後面部351Bの上端の一部同士を連結している上面部351Cとからなる。
なお、図33に示されているように、延出部材351の前面部351Aと後面部351Bを保持部材350の前面部350Aと後面部350Bに止着具352で止着できるようにするために、保持部材350の前面部350Aと後面部350Bの外側に被せられている外部材375の2個の分割部材375A,375Bには、延出部材351の前面部351Aと後面部351Bを挿入配置することができる切欠部353が形成されている。
図35で示されているように、延出部材351の前面部351Aと後面部351Bについてのシャッターカーテン301の厚さ方向の間隔は、保持部材350の前面部350Aと後面部350Bに止着具352で止着される部分を除くと、シャッターカーテン301のカーテン本体301Aをガイドレール306Aの内部に挿入するためにこのガイドレール306Aに設けられている開口部354についてのシャッターカーテン301の厚さ方向の寸法よりも小さくなっている。このため、延出部材351のガイドレール306A側の部分は、ガイドレール306Aの内部に挿入されている。
図34に示されているように、延出部材351の内部には第1スプロケットホイール361が回転自在に配置され、保持部材350の内部には、第1スプロケットホイール361よりも少し下側において、第2スプロケットホイール362が回転自在に保持され、延出部材351の内部には、第2スプロケットホイール362よりも少し下側において、第3スプロケットホイール363が回転自在に配置されている。延出部材351における第1及び第3スプロケットホイール361,363の配置位置は、ガイドレール306Aの内部である。
前述したように、上端が図31及び図32で示されている処理装置337に上端が連結されたローラチェーン335は、処理装置337からガイドレール306Aの内部へ挿入されており、このローラチェーン335は、図34に示されているように、第1スプロケットホイール361の下部に掛け回されてから第2スプロケットホイール362に掛け回されている。そして、ローラチェーン335は、第3スプロケットホイール363の上部に掛け回されてからガイドレール306Aの内部を通って下方へ延びており、ローラチェーン335の下端は、図30で示した結合部材336の配置位置まで達している。このため、ローラチェーン335には、図34で示されているように、処理装置337から第1スプロケットホイール361までの第1部分335Aと、第1スプロケットホイール361から第2スプロケットホイール362を経由して第3スプロケットホイール363までの第2部分335Bと、第3スプロケットホイール363から結合部材336までの第3部分335Cと、がある。
シャッターカーテン301が左右のガイドレール306で案内されて上下に開閉移動することは、このシャッターカーテン301の開閉移動により、ローラチェーン335の第1及び第3部分335A,335Cの長さが変化し、シャッターカーテン301に対してローラチェーン335の第2部分335Bが移動することによって行われる。このようにシャッターカーテン301に対してローラチェーン335の第2部分335Bが移動するときには、3個のスプロケットホイール361〜363が回転するため、これらのスプロケットホイール361〜363は、シャッターカーテン301が開閉移動した際に、シャッターカーテン301に対してローラチェーン335の第2部分335Bが移動できるようにするためにローラチェーン335を案内するための案内部材となっている。
図35に示されているように、上述した開口部354が入口となっているガイドレール306Aの内部には、第1及び第3スプロケットホイール361,363を挿入できる第1空間部355と、この第1空間部355よりも奥側に形成され、第1空間部355よりもシャッターカーテン301の厚さ方向の寸法が小さくなっている第2空間部356とが形成されている。図34に示されているように、第2空間部356に、ローラチェーン335の第1及び第3部分335A,335Cが配置され、このため、これらの第1及び第3部分335A,335Cは、ガイドレール306Aの内壁面に接触することなく、ガイドレール306Aに内部に挿入されている。
そして、このようなローラチェーン335のシャッターカーテン301に対する位置関係により、この実施形態おける架け渡し部材となっているローラチェーン335の第1及び第3部分335A,335Cは、シャッターカーテン301の幅方向の端部から、このシャッターカーテン301の幅方向に離れてガイドレール306Aの内部に配置されていることになる。
また、図34に示されているように、前述した保持部材350の内部には、第2スプロケットホイール362と同軸的に配置されたラチェットホイール365が回転自在に保持されており、外周部に複数の爪部365Aが等間隔で形成されているこのラチェットホイール365は、図35に示されているように、第2スプロケットホイール362と軸部362Aで結合一体化されている。このため、第2スプロケットホイール362とラチェットホイール365は、一体となって回転する回転部材となっている。
以上のことから、本実施形態では、第2スプロケットホイール362は、開閉移動しているときのシャッターカーテン301に対してローラチェーン335の移動を回転運動によって案内するための第1運動部材になっているとともに、ラチェットホイール365は、この第1運動部材に連結され、この第1運動部材と一体となって回転運動する第2運動部材となっている。
保持部材350の内部には、図34で示されているように、第2スプロケットホイール362の配置位置よりも前述した揺動部材381に近い位置において、ラチェット部材366が上下に揺動自在に保持されている。このラチェット部材366は、図35に示されているように、シャッターカーテン301の厚さ方向に間隔を開けて配置された前面部366A及び後面部366Bと、これらの前面部366Aと後面部366Bの下端同士を連結している底面部366Cとを有する。前面部366Aと後面部366Bが保持部材350の前面部350Aと後面部350Bにピン等による支点軸367で揺動自在に連結されることにより、ラチェット部材366は、上下に揺動自在となっている。
また、図34に示されているように、ラチェット部材366の底面部366Cには、ラチェットホイール365側へ突出した爪部366Dが形成されており、この爪部366Dは逆V字形状となっている。また、ラチェット部材366の底面部66Cには、揺動部材381側へ突出した突出部366Eが形成されている。ラチェット部材366の全体の重心位置に対する支点軸367の配置位置により、通常時のラチェット部材366は、図34に示されているように、突出部366Eが下側となった傾き姿勢となっている。揺動部材381の前述した突出片381Aの上面には押圧部材394が取り付けられており、通常時におけるラチェット部材366の突出部366Eは、この押圧部材394の上に乗っている。
シャッターカーテン301が閉じ移動しているときに、ラチェット部材366が支点軸367を中心に揺動することにより爪部366Dがラチェットホイール365の爪部365Aに噛み込んだ場合には、ラチェットホイール365及び第2スプロケットホイール362の回転が阻止されるため、シャッターカーテン301に対してローラチェーン335がロックされた状態となり、言い換えると、シャッターカーテン301とローラチェーン335とが機械式に結合された状態となり、これにより、シャッターカーテン301の閉じ移動を停止させることができる。
このため、本実施形態では、ラチェットホイール365とラチェット部材366により、開閉移動中のシャッターカーテン301に対してローラチェーン335を機械式にロック状態とし、これらのシャッターカーテン301とローラチェーン335とを機械式に結合された状態とするための機械式結合装置368が構成されている。そして、ラチェット部材366は、上述のように第2運動部材となっているラチェットホイール365の回転運動を抑止するための抑止部材となっている。
また、シャッターカーテン1におけるラチェットホイール365とラチェット部材366の配置位置により、機械式結合装置368は、図4や図7で示されている実施形態に係る機械式結合装置39と同様に、シャッターカーテン301の座板301Bのうち、固定部370Aの内部に組み込まれている。すなわち、機械式結合装置368は、シャッターカーテン301の前述したカーテン主部371Aを構成しているカーテン本体301Aと、座板301Bの固定部370Aとのうち、固定部370Aに配置されている。
そして、ローラチェーン335は、機械式結合装置368が配置されているシャッターカーテン301のこの固定部370Aを除き、シャッターカーテン301からこのシャッターカーテン301の幅方向に離れていることになる。また、ローラチェーン335は、機械式結合装置368と対応する部分となっている前述の第2部分335Bを除き、ガイドレール306Aの内部において、シャッターカーテン301の開閉移動方向に直線状に延びているものとなっている。
図36で説明した可動部材390のガイドレール306A側の端部には、図34で示されているように、このガイドレール306A側へ延びている延長部材395がリベット等の止着具396で止着され、上向きに開口したチャンネル材で形成されているこの延長部材395の先部はガイドレール306Aの内部に挿入されている。このような延長部材は、図34で示された可動部材390の端部とは反対側の端部にも設けられており、この延長部材の先部は、図30で示されたガイドレール306Bの内部に挿入されている。これにより、図30で示されている障害物34がガイドレール306Aの内部又はガイドレール306Bの内部に存在していても、延長部材を介して可動部材390は、シャッターカーテン301の前述した固定部370Aを構成している外部材375や内部材376に対して上昇することになる。
図32で説明した処理装置337の回動部材339の背後には、ぜんまいばね等による戻しばね400が配置されている。この戻しばね400の戻し力は、回動部材339をC’方向へ回動させるように、すなわち、ローラチェーン335を前述したレバー部材340を介して引き上げる方向に回動部材339を回動させるように、回動部材339に作用している。回動部材339には、中心軸339Aを中心とする円弧状の長孔339Bが形成され、この長孔339Bには、処理装置337の機枠338に取り付けられたストップ部材401が挿入され、このストップ部材401により、回動部材339の回動量が一定量に規制されている。
回動部材339の外周部の一部にはギヤ歯339Cが形成されており、このため、この実施形態の回動部材339も、図16で説明した実施形態に係る第2処理装置38の回動部材42と同じく、一部にギヤ歯339Cが形成されたセクターギヤとなっている。また、処理装置337には、図16で説明した実施形態に係る第2処理装置38と同じく、2個のロータリー式のダンパー402が配置され、これらのダンパー402のピニオンギヤ403は、回動部材339のギヤ歯339Cと噛み合っている。これらのダンパー402の構造及び作用は、図16で説明した実施形態に係る第2処理装置38のダンパー102と同様になっており、このため、ピニオンギヤ403の回転中心軸404には、ワンウエイクラッチを介して複数のブレードが取り付けられており、回動部材339がC’方向に回動することでピニオンギヤ403及び中心軸404がE’方向に回転した場合には、ワンウエイクラッチを介してそれぞれのブレードが、ダンパー402の内部に充填されている粘性流体内において回転する。このため、粘性流体の抵抗力により回動部材339は、C’方向へ低速で回動することになる。一方、回動部材339がC’方向とは逆のD’方向に回動し、ピニオンギヤ403及び中心軸404がF’方向に回転した場合には、このF’方向への回転は、ワンウエイクラッチの切断作用によりそれぞれのブレードに伝達されない。このため、回動部材339は、D’方向へは高速で回動することができる。
また、図30及び図31で示されている前述の自動閉鎖装置32まで一方の端部が延出している前述の第1制御用ワイヤー111の他方の端部は、図32に示されているように、回動部材339に連結されている。
以上説明したこの実施形態に係るシャッター装置が設置された建物において、シャッターカーテン301が全開となっているときに、火災等の災害が発生した場合にも、図1の実施形態に係るシャッター装置の場合と同様に、自動閉鎖装置32及び開閉機13の前述した作動により、シャッターカーテン301は自重で閉じ移動し、このシャッターカーテン301による防災区画が形成される。
また、シャッターカーテン301が全開となっているときに、火災等の災害が発生することにより、シャッターカーテン301が自重で閉じ移動しているときに、図30で示す障害物34が存在している場合には、シャッターカーテン301の閉じ移動の途中において、このシャッターカーテン301の閉じ側の先端部に配置されているカーテン副部371Bが、言い換えると、シャッターカーテン301の座板301Bの下側部分を形成している前述の可動部材390が障害物34に当接し、この当接のために可動部材390の下降が停止する。
可動部370Bの下降が停止しても、カーテン本体301Aと、座板301Bのうちの前述した固定部370Aとで構成される前述のカーテン主部371Aは、自重で下降するため、この下降で生ずるカーテン主部371Aに対する可動部材390の相対的な上昇により、この可動部材390に弾性部材392を介して連結されている昇降部材391も、図38で示されているように、カーテン主部371Aに対して相対的に上昇する。この上昇が生ずると、揺動部材381は支点軸380を中心に上向きに揺動し、この揺動により、図34で示す押圧部材394の上に突出部366Eが乗っていたラチェット部材366は、支点軸367を中心に爪部366Dが下側となる揺動運動を行う。このときの状態が図37で示されている。
ラチェット部材366が支点軸367を中心に爪部366Dが下側となる揺動運動を行うと、ラチェット部材366の爪部366Dがラチェットホイール365の爪部365Aに噛み込むため、ラチェットホイール365及び第2スプロケットホイール362の回転は停止し、閉じ移動しているシャッターカーテン301に対してローラチェーン335は機械式にロックされた状態になる。言い換えると、ラチェットホイール365とラチェット部材366で構成されている前述した機械式結合装置368が作動し、この作動により、シャッターカーテン301とローラチェーン335とが機械式結合装置368で機械式に結合された状態になる。
このようにシャッターカーテン301とローラチェーン335とが機械式結合装置368で機械式に結合された状態になると、障害物34のへこみ変形分だけ、可動部材390を含めたシャッターカーテン301の全体はさらに下降するため、ローラチェーン335の前述した第1部分335Aには、シャッターカーテン301の重量による大きな緊張力が作用する。
なお、障害物34がへこみ変形しない又はへこみ変形量が小さい硬質の物体である場合には、障害物34に当接した可動部材390は、障害物34の硬質の性質によってそれ以上に下降しない又は殆ど下降しないことになる。しかし、本実施形態では、前述したように、可動部材390と昇降部材391とは板ばねによる弾性部材392で連結されており、可動部材390が硬質の障害物34のために一定の高さ位置に停止することになっても、揺動部材381及びラチェット部材366が配置されているカーテン主部371Aは、弾性部材392の弾性変形により、可動部材390に対して図38で示した距離K分だけ下降できる状態となっている。このため、可動部材390が硬質の障害物34のために下降しない又は殆ど下降しなくても、カーテン主部371Aは、可動部材390と昇降部材391と弾性部材392の重量を除くシャッターカーテン301の重量により、距離K分下降することができ、この下降により、弾性部材392の上向き弾性力が作用している昇降部材391は、カーテン主部371Aに対して相対的に上昇することになる。
このため、障害物34がへこみ変形しない又はへこみ変形量が小さい硬質の物体である場合にも、前述した場合と同様に、閉じ移動しているシャッターカーテン301に対してローラチェーン335は、機械式結合装置368で機械式にロックされた状態になり、ローラチェーン335の第1部分335Aには、シャッターカーテン301の重量による大きな緊張力が作用する。
また、可動部材390には、前述したように、左右のガイドレール306の内部に挿入された延長部材395が設けられているため、障害物34がこれらのガイドレール306の内部に存在している場合にも、上述したことから分かるように、カーテン主部371Aに対する可動部材390等の相対的な上昇が生ずることになる。このため、この場合にも、閉じ移動しているシャッターカーテン301とローラチェーン335とが機械式結合装置368で機械式に結合された状態になり、ローラチェーン335の第1部分335Aには、シャッターカーテン301の重量による大きな緊張力が作用することになる。
このようにローラチェーン335の第1部分335Aに大きな緊張力が作用すると、図32で示した処理装置337に設けられているレバー部材340の支点軸340Aを中心とする揺動による反転作用により、処理装置337の回動部材339は、前述した戻しばね400に抗して図32のD’方向に回動し、この回動量は、前述のストップ部材401が挿入されている円弧状の長孔339Bの長さに応じたものとなる。このときの回動は、ロータリー式のダンパー402のピニオンギヤ403をF’方向に回転させるが、このF’方向へのピニオンギヤ403の回転では、前述したとおり、ダンパー402に粘性流体による抵抗力は発生しない。このため、ローラチェーン335に作用した緊張力により回動部材339は高速でD’方向へ回動することになり、この回動部材339に一方の端部が連結されている第1制御用ワイヤー111は、図16で示した実施形態に係る第2処理装置38の場合と同じく、引っ張られることになる。
このため、この実施形態における処理装置337は、この実施形態での架け渡し部材となっているローラチェーン335の第1部分335Aに作用する緊張力を第1制御用ワイヤー111に中継するための中継手段となっており、また、第1制御用ワイヤー111は、ローラチェーン335に作用した緊張力を自動閉鎖装置32に伝達するための緊張力伝達部材となっている。
以上のように第1制御用ワイヤー111が引っ張られることにより、前述した自動閉鎖装置32は、前述した説明から分かるように、開閉機13のブレーキ手段19をオフからオンに切り替えるため、障害物34に当接したシャッターカーテン301は、その当接位置で閉じ移動を停止することになる。
この実施形態でも、前述した中継手段となっている処理装置337と自動閉鎖装置32は、左右一対のガイドレール306A,306Bのうち、右側のガイドレール306Aの真上又はこの真上の近辺に配置されているため、これらの処理装置337と自動閉鎖装置32との間に架け渡された緊張力伝達部材となっている第1制御用ワイヤー111の長さを一層短くすることができ、これにより、閉じ移動中のシャッターカーテン1が障害物34に当接することでロック用ワイヤー36に作用するシャッターカーテン1の自重による緊張力を、第1制御用ワイヤー111により一層瞬時に自動閉鎖装置32に伝達でき、閉じ移動中のシャッターカーテン1が障害物34に当接したときに、シャッターカーテン1の閉じ移動を一層迅速に停止させることができる。
また、この実施形態でも、図30に示されているように、操作装置30は、シャッターカーテン1の幅方向両側に配置されている左右の壁等の建物躯体3のうち、開閉機13及び自動閉鎖装置32に近い位置となっている一方の建物躯体3Aに配置されている。このため、自動閉鎖装置32と操作装置30との間に架け渡されていて、操作装置30で引っ張り操作される引っ張り操作部材となっている第2制御用ワイヤー112の長さを短くでき、したがって、左右の壁等の建物躯体3のうち、他方の建物躯体3Bに操作装置30を配置した場合よりも、操作装置30に配置されている前述のレバー部材等の手動操作部材により第2制御用ワイヤー112を引っ張り操作したときの引っ張り力を自動閉鎖装置32に瞬時に入力させることができ、これにより、開閉機13のブレーキ手段19を瞬時にオフにすることができ、全開となっていたシャッターカーテン1の閉じ移動を迅速に開始させることができる。
さらに、この実施形態に係る機械式結合装置368は、ラチェットホイール365と、このラチェットホイール365に噛み込むラチェット部材366とよって構成されており、閉じ移動中のシャッターカーテン301に対してローラチェーン335の移動を案内する案内部材となっている第2スプロケットホイール362は、機械式結合装置368を構成する部材となっていない。また、閉じ移動中のシャッターカーテン301に対して移動するローラチェーン335により回転運動を行う第2スプロケットホイール362は、第1運動部材となっており、この第1運動部材に、第2運動部材となっているラチェットホイール365が連結され、このラチェットホイール365に、ラチェットホイール365の回転運動を抑止するための抑止部材となっているラチェット部材366が噛み込むことにより、シャッターカーテン301の閉じ移動は停止することになる。
このため、本実施形態によると、シャッターカーテン301の閉じ移動の停止を、ローラチェーン等の架け渡し部材に摩擦部材による摩擦力を作用させることによって行う場合よりも、シャッターカーテン301の閉じ移動を停止させるために発生させることができる機械式ロック力の大きさを大きくすることが可能となる。
上述したように閉じ移動中のシャッターカーテン301が障害物34に当接し、開閉機13のブレーキ手段19がオンになって、シャッターカーテン301の閉じ移動が停止した後に、障害物34が除去されると、シャッターカーテン301の可動部材390は下降する。この下降により昇降部材391も下降し、揺動部材381は支点軸380を中心に下向きに戻り揺動し、ラチェット部材366も、支点軸367を中心に突出部366Eが下向きとなる戻り揺動するため、機械式結合装置368によるシャッターカーテン301とローラチェーン335との機械式結合状態は、解除される。
これにより、ローラチェーン335の第1部分335Aに作用していた緊張力は消滅し、図32の処理装置337の戻しばね400による戻し力が作用している回動部材339は、図32のC’方向に回動し、この回動により、第1制御用ワイヤー111に作用していた引っ張り力は消滅するため、自動閉鎖装置32の作動により、開閉機13のブレーキ手段19は、オンからオフへ再度切り替られ、シャッターカーテン301は閉じ移動を再開することとなる。
また、回動部材339が図32のC’方向に回動するときには、ロータリー式のダンパー402のピニオンギヤ103はE’方向に回転し、このE’方向についてはダンパー402に粘性流体による抵抗力が生ずるため、開閉機13のブレーキ手段19がオンからオフへ切り替られることは、ダンパー402の遅延作用により、瞬時に行われない。したがって、ローラチェーン335と第1制御用ワイヤー111とを連結するための装置となっている処理装置337は、遅延装置になっており、この遅延装置の遅延機能により、障害物34の除去によってシャッターカーテン301が閉じ移動を再開することは、図4の実施形態に係る第2処理装置38の場合と同じく、障害物34の除去から時間遅れをもって開始されることになるため、障害物34の除去作業を時間的余裕をもって行うことができる。
なお、この遅延装置を、ダンパー402の代わりに、図4の実施形態に係る第2処理装置38でも説明したように、例えば、ぜんまい式タイマーを含む機械式手段が採用されたものとしてもよい。
また、この実施形態でも、シャッターカーテン301が全開となっているときに、図30で示した操作装置30の「閉」ボタンが操作されることによりシャッターカーテン301が閉じ移動を開始し、この閉じ移動中のシャッターカーテン301が障害物34に当接した場合にも、機械式結合装置368はシャッターカーテン301とローラチェーン335とを結合状態とするため、ローラチェーン335には、緊張力が作用することになる。このため、このようにシャッターカーテン301の閉じ移動を、操作装置30の「閉」ボタンを操作されることにより行った場合にも、シャッターカーテン301の閉じ移動を停止させることができる。
なお、この実施形態に係るシャッター装置も、防災専用のシャッター装置にも適用することができる。
この実施形態によると、機械的部材となっているローラチェーン335は、前述したように、機械式結合装置368が配置されているシャッターカーテン301の部分を除き、シャッターカーテン301の幅方向の端部からこのシャッターカーテン301の幅方向に離れているため、ローラチェーン335は、シャッターカーテン1が開閉移動しているときに、この開閉移動を阻害することはなく、この開閉移動を円滑に行わせることができる。
また、この実施形態によると、図31で説明したように、シャッターカーテン301は天井部材5に配置されたまぐさ16のスリット17を通って天井部材5の下側に垂下され、ローラチェーン335は天井部材5の上下に跨る長さを有しているとともに、このローラチェーン335は、まぐさ16と接触せずにこのまぐさ16のスリット17に挿通されているため、ローラチェーン335は、まぐさ16と干渉せず、このため、ローラチェーン335とまぐさ16の両者が損傷することを防止することができる。
また、ローラチェーン335の大部分は、ガイドレール306Aの内部とシャッターカーテン301の内部とに収納されているため、ローラチェーン335の大部分を外力等から保護することができる。
図39は、架け渡し部材がローラチェーンとなっている場合における第1別実施形態の機械式結合装置568を示す。ローラチェーン535の上端は、前記実施形態と同じく、まぐさ16に配置された処理装置337のレバー部材340に連結され、ローラチェーン535の下端は、ガイドレール306A又は床4に結合部材で結合されているが、このローラチェーン535は、処理装置337のレバー部材340からこの結合部材まで直線的に延びている。シャッターカーテン301のカーテン主部371Aには、案内部材であって第1運動部材となっているスプロケットホイール562と、第2運動部材となっているラチェットホイール565とが同軸的に連結されて配置されており、スプロケットホイール562の一部は、カーテン主部371Aからシャッターカーテン301の厚さ方向に突出しており、スプロケットホイール562のこの突出部に、カーテン主部371Aからシャッターカーテン301の厚さ方向に離れて配置されているローラチェーン535が噛合し、このローラチェーン535は、カーテン副部371Bに上下に貫通形成されている孔に挿通されている。
カーテン主部371Aの内部に支点軸380を中心に上下方向へ揺動自在に配置されている揺動部材381には、突出片381Aにおいて、抑止部材となっているラチェット部材566が取り付けられている。このため、閉じ移動中のシャッターカーテン301が障害物に当接したときは、前述したカーテン主部371Aに対する相対的な可動部材390等の上昇により、ラチェット部材566がラチェットホイール565に噛み込むことになり、機械式結合装置568は、閉じ移動しているシャッターカーテン301とローラチェーン235とを機械式に結合した状態とする。
図40は、架け渡し部材がローラチェーンとなっている場合における第2別実施形態の機械式結合装置668を示す。ローラチェーン635は、シャッターカーテン301の座板301Bで折り返されたU字状となっており、ローラチェーン635の一方の端部は、これまでのそれぞれの実施形態と同じく、まぐさ16に配置された処理装置337のレバー部材340に連結されているが、他方の端部は、まぐさ16に配置されている装置であって、ローラチェーン635を繰り出し自在に巻き取るための装置になっている巻取装置の巻取軸に連結されている。ローラチェーン635はこの巻取軸により巻き取り、繰り出し自在となっており、巻取軸には、ローラチェーン635を巻き取る方向へ巻取軸を回転させようとする戻しばねが設けられており、この戻しばねによる戻し力により、シャッターカーテン301が開閉移動しているとき及び停止しているときに、ローラチェーン635に緩みが生ずることが防止されている。
この実施形態でも、シャッターカーテン301のカーテン主部371Aには、案内部材であって第1運動部材となっているスプロケットホイール662と、第2運動部材となっているラチェットホイール665とが同軸的に連結されて配置されており、スプロケットホイール662におけるシャッターカーテン301の厚さ方向両側の部分は、座板301Bからシャッターカーテン301の厚さ方向に突出している。座板301Bをシャッターカーテン301の厚さ方向に貫通しているローラチェーン635は、スプロケットホイール662の下側の部分に掛け回されることにより、このスプロケットホイール662でU字状に折り返されている。
また、カーテン主部371Aの内部に支点軸380を中心に上下方向へ揺動自在に配置されている揺動部材381には、突出片381Aにおいて、抑止部材となっているラチェット部材666が取り付けられている。このため、この実施形態でも、閉じ移動中のシャッターカーテン301が障害物に当接したときは、カーテン主部371Aに対する相対的な可動部材390等の上昇により、ラチェット部材666がラチェットホイール665に噛み込むことになり、機械式結合装置368は、閉じ移動しているシャッターカーテン301とローラチェーン635とを機械式に結合した状態とする。
図41は、架け渡し部材がローラチェーンとなっている場合における第3別実施形態の機械式結合装置768を示す。ローラチェーン735の上端は、図39の第1別実施形態と同じく、まぐさ16に配置された処理装置337のレバー部材340に連結されているとともに、ローラチェーン735の下端は、ガイドレール306A又は床4に結合部材で結合されており、このため、このローラチェーン735は、処理装置337のレバー部材340からこの結合部材まで直線的に配置されている。シャッターカーテン301のカーテン主部371Aには、案内部材であって第1運動部材となっているスプロケットホイール762と、第2運動部材となっているラチェットホイール765とが同軸的に連結されて配置されており、スプロケットホイール762の一部は、カーテン主部371Aからシャッターカーテン301の厚さ方向に突出しており、スプロケットホイール762のこの突出部に、カーテン主部371Aからシャッターカーテン301の厚さ方向に離れて配置されているローラチェーン735が噛合し、このローラチェーン735は、カーテン副部371Bに上下に貫通形成されている孔に挿通されている。
この実施形態では、カーテン主部371Aの内部に、中心軸を中心に上下方向へ揺動自在となっている揺動部材は配置されていない。しかし、昇降部材391には、抑止部材となっているラチェット部材766が立設されている。このため、閉じ移動中のシャッターカーテン301が障害物に当接したときは、カーテン主部371Aに対する相対的な可動部材390等の上昇により、ラチェット部材766がラチェットホイール765に噛み込むことになり、機械式結合装置768は、閉じ移動しているシャッターカーテン301とローラチェーン735とを機械式に結合した状態とする。
本発明は、機械式開閉体停止装置を備えていて、シャッターカーテンが開閉体となっているシャッター装置や、オーニング装置、防煙垂れ幕装置等の各種の開閉装置に利用できる。
1,301 開閉体であるシャッターカーテン
3 建物躯体
6,306 ガイド部材であるガイドレール
11 巻取軸
13 開閉機
16 不動部材であるまぐさ
16A,16B まぐさ部材
19 開閉機のブレーキ手段
30 操作装置
32 自動閉鎖装置
34 障害物
35 機械式障害物検知装置
36 架け渡し部材であって紐状部材でもあるU字形状のロック用ワイヤー
36A ロック用ワイヤーの折り返し部
37 巻取装置である第1処理装置
38 中継手段である第2処理装置
39,239,368,568,668,768 機械式結合装置
45 機械式障害物検知を構成する第1処理装置と第2処理装置とからなるユニット構造物
90 機械式結合装置用配置部である開口部
111 緊張力伝達部材である第1制御用ワイヤー
112 引っ張り操作部材である第2制御用ワイヤー
335,535,635,735 架け渡し部材であって紐状部材でもあるローラチェーン
337 中継手段である処理装置
B シャッターカーテンの幅方向の中央位置

Claims (8)

  1. 上下方向に開閉移動する開閉体に対して不動となっている不動部材と前記開閉体との間に架け渡された部分を有し、前記開閉体の開閉移動によりこの開閉体に対する移動が生ずる架け渡し部材と、前記開閉体に配置され、閉じ移動の途中の前記開閉体が障害物に当接したときに前記開閉体と前記架け渡し部材とを機械式に結合された状態とするための機械式結合装置と、前記不動部材に配置され、前記開閉体が前記障害物に当接したときに前記架け渡し部材に作用する前記開閉体の自重による緊張力を中継するための中継手段と、この中継手段で中継された前記緊張力が緊張力伝達部材を介して伝達され、前記緊張力の伝達により前記開閉体の閉じ移動を停止させるための自動閉鎖装置と、を備えており、
    前記中継手段と前記自動閉鎖装置は、前記開閉体の幅方向の中央位置からこの幅方向のどちらかの側へずれた位置に配置されているとともに、前記中継手段と前記自動閉鎖装置がずれて配置されている位置は、前記中央位置に対して前記幅方向の同じ側の位置となっていることを特徴とする開閉装置用機械式開閉体停止装置。
  2. 請求項1に記載の開閉装置用機械式開閉体停止装置において、前記架け渡し部材は紐状部材になっているとともに、この紐状部材は、前記機械式結合装置と対応する部分が折り返し部となったU字状になっており、前記紐状部材の一方の端部は前記中継手段に結合され、前記紐状部材の他方の端部は、この紐部材を繰り出し自在に巻き取る巻取手段に結合されていることを特徴とする開閉装置用機械式開閉体停止装置。
  3. 請求項1に記載の開閉装置用機械式開閉体停止装置において、前記架け渡し部材は紐状部材になっているとともに、この紐状部材は、前記機械式結合装置と対応する部分を除き、前記開閉体の開閉移動方向に直線状に延びており、前記紐状部材の一方の端部は前記中継手段に結合され、前記紐状部材の他方の端部は、前記不動部材又はこの不動部材とは別の不動部材に結合されていることを特徴とする開閉装置用機械式開閉体停止装置。
  4. 請求項1〜3のいずれかに記載の開閉装置用機械式開閉体停止装置において、前記開閉体は、この開閉体の幅方向両側に配置されている一対のガイド部材に案内されて開閉移動し、前記架け渡し部材のうち、前記中継手段と前記機械式結合装置との間の部分は、前記一対のガイド部材の外部に配置されていることを特徴とする開閉装置用機械式開閉体停止装置。
  5. 請求項1〜3のいずれかに記載の開閉装置用機械式開閉体停止装置において、前記開閉体は、この開閉体の幅方向両側に配置されている一対のガイド部材に案内されて開閉移動し、前記架け渡し部材のうち、前記中継手段と前記機械式結合装置との間の部分は、前記機械式結合装置と対応する部分を除き、前記一対のガイド部材のうちの一方のガイド部材の内部に配置されていることを特徴とする開閉装置用機械式開閉体停止装置。
  6. 請求項5に記載の開閉装置用機械式開閉体停止装置において、前記中継手段は前記一方のガイド部材の真上又はこの真上の近辺に配置され、前記自動閉鎖装置も前記一方のガイド部材の真上又はこの真上の近辺に配置されていることを特徴とする開閉装置用機械式開閉体停止装置。
  7. 請求項1〜6のいずれかに記載の開閉装置用機械式開閉体停止装置において、前記自動閉鎖装置は、前記開閉体を開閉移動させる開閉機のブレーキ手段を作動させることにより前記開閉体の閉じ移動を停止させる装置となっていることを特徴とする開閉装置用機械式開閉体停止装置。
  8. 請求項7に記載の開閉装置用機械式開閉体停止装置において、前記自動閉鎖装置には、引っ張り操作されることにより、全開となっていた前記開閉体を閉じ移動させるために前記ブレーキ手段をオフにする引っ張り操作部材が連結されており、この引っ張り操作部材を引っ張り操作するための操作装置が、前記開閉体の幅方向両側に配置されている建物躯体のうちの一方に設けられているとともに、前記操作装置が設けられている前記一方の建物躯体は、前記開閉体の幅方向両側に配置されている前記建物躯体のうち、前記自動閉鎖装置の配置位置に近い建物躯体であることを特徴とする開閉装置用機械式開閉体停止装置。
JP2009054483A 2008-08-07 2009-03-09 開閉装置用機械式開閉体停止装置 Active JP5308873B2 (ja)

Priority Applications (1)

Application Number Priority Date Filing Date Title
JP2009054483A JP5308873B2 (ja) 2008-08-07 2009-03-09 開閉装置用機械式開閉体停止装置

Applications Claiming Priority (3)

Application Number Priority Date Filing Date Title
JP2008204051 2008-08-07
JP2008204051 2008-08-07
JP2009054483A JP5308873B2 (ja) 2008-08-07 2009-03-09 開閉装置用機械式開閉体停止装置

Related Child Applications (1)

Application Number Title Priority Date Filing Date
JP2013138081A Division JP5640118B2 (ja) 2008-08-07 2013-07-01 開閉装置用機械式開閉体停止装置

Publications (2)

Publication Number Publication Date
JP2010059773A true JP2010059773A (ja) 2010-03-18
JP5308873B2 JP5308873B2 (ja) 2013-10-09

Family

ID=42186853

Family Applications (16)

Application Number Title Priority Date Filing Date
JP2008318195A Active JP5652998B2 (ja) 2008-08-07 2008-12-15 開閉装置の開閉体停止装置
JP2009027368A Active JP5286103B2 (ja) 2008-08-07 2009-02-09 開閉装置用機械式開閉体停止装置の施工方法
JP2009054483A Active JP5308873B2 (ja) 2008-08-07 2009-03-09 開閉装置用機械式開閉体停止装置
JP2009098615A Active JP5297866B2 (ja) 2008-08-07 2009-04-15 開閉装置用機械式開閉体停止装置
JP2009152103A Active JP5297915B2 (ja) 2008-08-07 2009-06-26 開閉装置用機械式開閉体停止装置の選定装置
JP2013116751A Active JP5571825B2 (ja) 2008-08-07 2013-06-03 開閉装置用機械式開閉体停止装置の施工方法
JP2013138081A Active JP5640118B2 (ja) 2008-08-07 2013-07-01 開閉装置用機械式開閉体停止装置
JP2013138641A Active JP5521093B2 (ja) 2008-08-07 2013-07-02 開閉装置の開閉体停止装置
JP2014083802A Active JP5849122B2 (ja) 2008-08-07 2014-04-15 開閉装置の開閉体停止装置
JP2014131131A Active JP5781200B2 (ja) 2008-08-07 2014-06-26 開閉装置用機械式開閉体停止装置の施工方法
JP2014180707A Active JP6215799B2 (ja) 2008-08-07 2014-09-05 開閉装置の開閉体停止装置
JP2014217900A Active JP6140124B2 (ja) 2008-08-07 2014-10-27 開閉装置用機械式開閉体停止装置
JP2015232674A Active JP6072208B2 (ja) 2008-08-07 2015-11-30 開閉装置の開閉体停止装置
JP2016135699A Active JP6307117B2 (ja) 2008-08-07 2016-07-08 開閉装置の開閉体停止装置
JP2016252311A Active JP6360548B2 (ja) 2008-08-07 2016-12-27 開閉装置の開閉体停止装置
JP2017089906A Active JP6404990B2 (ja) 2008-08-07 2017-04-28 開閉装置用機械式開閉体停止装置

Family Applications Before (2)

Application Number Title Priority Date Filing Date
JP2008318195A Active JP5652998B2 (ja) 2008-08-07 2008-12-15 開閉装置の開閉体停止装置
JP2009027368A Active JP5286103B2 (ja) 2008-08-07 2009-02-09 開閉装置用機械式開閉体停止装置の施工方法

Family Applications After (13)

Application Number Title Priority Date Filing Date
JP2009098615A Active JP5297866B2 (ja) 2008-08-07 2009-04-15 開閉装置用機械式開閉体停止装置
JP2009152103A Active JP5297915B2 (ja) 2008-08-07 2009-06-26 開閉装置用機械式開閉体停止装置の選定装置
JP2013116751A Active JP5571825B2 (ja) 2008-08-07 2013-06-03 開閉装置用機械式開閉体停止装置の施工方法
JP2013138081A Active JP5640118B2 (ja) 2008-08-07 2013-07-01 開閉装置用機械式開閉体停止装置
JP2013138641A Active JP5521093B2 (ja) 2008-08-07 2013-07-02 開閉装置の開閉体停止装置
JP2014083802A Active JP5849122B2 (ja) 2008-08-07 2014-04-15 開閉装置の開閉体停止装置
JP2014131131A Active JP5781200B2 (ja) 2008-08-07 2014-06-26 開閉装置用機械式開閉体停止装置の施工方法
JP2014180707A Active JP6215799B2 (ja) 2008-08-07 2014-09-05 開閉装置の開閉体停止装置
JP2014217900A Active JP6140124B2 (ja) 2008-08-07 2014-10-27 開閉装置用機械式開閉体停止装置
JP2015232674A Active JP6072208B2 (ja) 2008-08-07 2015-11-30 開閉装置の開閉体停止装置
JP2016135699A Active JP6307117B2 (ja) 2008-08-07 2016-07-08 開閉装置の開閉体停止装置
JP2016252311A Active JP6360548B2 (ja) 2008-08-07 2016-12-27 開閉装置の開閉体停止装置
JP2017089906A Active JP6404990B2 (ja) 2008-08-07 2017-04-28 開閉装置用機械式開閉体停止装置

Country Status (1)

Country Link
JP (16) JP5652998B2 (ja)

Families Citing this family (13)

* Cited by examiner, † Cited by third party
Publication number Priority date Publication date Assignee Title
JP2006086921A (ja) 2004-09-17 2006-03-30 Sony Corp オーディオ信号の再生方法およびその再生装置
JP5815960B2 (ja) * 2011-02-28 2015-11-17 文化シヤッター株式会社 開閉装置
JP5827041B2 (ja) * 2011-06-23 2015-12-02 文化シヤッター株式会社 開閉装置の開閉体停止装置
WO2013011867A1 (ja) 2011-07-20 2013-01-24 文化シヤッター株式会社 開閉装置の開閉体停止装置
JP5945134B2 (ja) * 2012-03-05 2016-07-05 文化シヤッター株式会社 開閉装置の開閉体停止装置
JP6228417B2 (ja) * 2013-09-30 2017-11-08 三和シヤッター工業株式会社 機械式避難時停止装置付きシャッター
JP5756536B2 (ja) * 2014-01-15 2015-07-29 文化シヤッター株式会社 開閉装置の開閉体停止装置
JP6375184B2 (ja) * 2014-09-04 2018-08-15 文化シヤッター株式会社 開閉装置の改修方法
JP6389711B2 (ja) * 2014-09-04 2018-09-12 文化シヤッター株式会社 開閉装置の改修方法
JP6480164B2 (ja) * 2014-11-28 2019-03-06 文化シヤッター株式会社 開閉装置の改修方法
CN110700748B (zh) * 2018-04-27 2020-09-11 浙江金蝉布艺股份有限公司 智能窗帘驱动机构
DE102018122289A1 (de) * 2018-09-12 2020-03-12 Hettich-Oni Gmbh & Co. Kg Vorrichtung zum mechanischen Schließen eines bewegbaren Möbelteils und Verfahren zum Öffnen und Schließen eines bewegbaren Möbelteils
KR102155859B1 (ko) * 2020-04-28 2020-09-14 오세록 외부 차양 장치

Citations (9)

* Cited by examiner, † Cited by third party
Publication number Priority date Publication date Assignee Title
JPS6259790A (ja) * 1985-09-06 1987-03-16 東工シヤツタ−株式会社 電動シヤツタ−の安全装置
JPS6367199U (ja) * 1986-10-20 1988-05-06
JPH08105280A (ja) * 1994-10-04 1996-04-23 Bunka Shutter Co Ltd 開閉体の障害物感知装置
JP2000017977A (ja) * 1998-06-29 2000-01-18 Toko Shutter Kk 防火シャッターの安全装置
JP2000096960A (ja) * 1998-09-25 2000-04-04 Sanwa Shutter Corp シャッターにおける障害物検知機構
JP2000096961A (ja) * 1998-09-21 2000-04-04 Sanwa Shutter Corp 防火シャッタ−における安全装置
JP2006052576A (ja) * 2004-08-11 2006-02-23 Bunka Shutter Co Ltd 開閉装置
JP2006225922A (ja) * 2005-02-16 2006-08-31 Koichi Kawasaki シャッターの障害物検知装置
JP2008025189A (ja) * 2006-07-20 2008-02-07 Nippon Shutter Seisakusho:Kk 安全機構を備えた防火シャッター

Family Cites Families (18)

* Cited by examiner, † Cited by third party
Publication number Priority date Publication date Assignee Title
JPH0526238Y2 (ja) * 1985-07-02 1993-07-01
JP2509164Y2 (ja) * 1989-10-04 1996-08-28 三和シヤッター工業株式会社 建築用シヤツタ―のブレ―キ解放装置
US5022452A (en) * 1989-12-08 1991-06-11 Burrell Jere S Rolling fire door
JPH0581498U (ja) * 1992-04-06 1993-11-05 鈴木シャッター工業株式会社 シャッターのガイドローラ
JP2807422B2 (ja) * 1994-12-26 1998-10-08 三協アルミニウム工業株式会社 電動シャッターの安全装置
JPH09324590A (ja) * 1996-06-05 1997-12-16 Sanwa Shutter Corp 建築用シャッターにおけるブレーキ解放用の手動操作装置
JP3046547B2 (ja) * 1996-08-13 2000-05-29 株式会社篠田製作所 昇降装置の安全機構
JP3991175B2 (ja) * 1998-09-29 2007-10-17 三和シヤッター工業株式会社 建築用シャツターの降下検知装置
JP3881464B2 (ja) * 1998-11-06 2007-02-14 東洋シヤッター株式会社 防火シャッター
JP3507051B2 (ja) * 2001-09-28 2004-03-15 新生精機株式会社 シャッターの自動閉鎖装置
JP2003106077A (ja) * 2001-10-02 2003-04-09 Bunka Shutter Co Ltd 手動解除機構
JP2003176679A (ja) * 2002-08-29 2003-06-27 Sanwa Shutter Corp 自重降下シャッターの安全装置
JP3624191B2 (ja) * 2002-10-21 2005-03-02 新生精機株式会社 シャッター用自動閉鎖装置の下限停止機構
US7034682B2 (en) * 2003-06-20 2006-04-25 Rite-Hite Holding Corporation Door with a safety antenna
JP2006336324A (ja) * 2005-06-02 2006-12-14 Bunka Shutter Co Ltd シャッター装置及びその施工方法
JP5301797B2 (ja) * 2007-02-15 2013-09-25 文化シヤッター株式会社 開閉装置の障害物感知構造
JP4906612B2 (ja) * 2007-07-04 2012-03-28 三和シヤッター工業株式会社 自重降下式シャッターにおける機械式避難時停止装置
JP5107755B2 (ja) * 2008-03-14 2012-12-26 株式会社Lixil鈴木シャッター シャッター装置

Patent Citations (9)

* Cited by examiner, † Cited by third party
Publication number Priority date Publication date Assignee Title
JPS6259790A (ja) * 1985-09-06 1987-03-16 東工シヤツタ−株式会社 電動シヤツタ−の安全装置
JPS6367199U (ja) * 1986-10-20 1988-05-06
JPH08105280A (ja) * 1994-10-04 1996-04-23 Bunka Shutter Co Ltd 開閉体の障害物感知装置
JP2000017977A (ja) * 1998-06-29 2000-01-18 Toko Shutter Kk 防火シャッターの安全装置
JP2000096961A (ja) * 1998-09-21 2000-04-04 Sanwa Shutter Corp 防火シャッタ−における安全装置
JP2000096960A (ja) * 1998-09-25 2000-04-04 Sanwa Shutter Corp シャッターにおける障害物検知機構
JP2006052576A (ja) * 2004-08-11 2006-02-23 Bunka Shutter Co Ltd 開閉装置
JP2006225922A (ja) * 2005-02-16 2006-08-31 Koichi Kawasaki シャッターの障害物検知装置
JP2008025189A (ja) * 2006-07-20 2008-02-07 Nippon Shutter Seisakusho:Kk 安全機構を備えた防火シャッター

Also Published As

Publication number Publication date
JP6140124B2 (ja) 2017-05-31
JP2016188572A (ja) 2016-11-04
JP2010059775A (ja) 2010-03-18
JP2010059777A (ja) 2010-03-18
JP6072208B2 (ja) 2017-02-01
JP5521093B2 (ja) 2014-06-11
JP5571825B2 (ja) 2014-08-13
JP2013189859A (ja) 2013-09-26
JP2016048028A (ja) 2016-04-07
JP6307117B2 (ja) 2018-04-04
JP2010059772A (ja) 2010-03-18
JP5781200B2 (ja) 2015-09-16
JP5286103B2 (ja) 2013-09-11
JP5849122B2 (ja) 2016-01-27
JP2017129005A (ja) 2017-07-27
JP2013189857A (ja) 2013-09-26
JP6360548B2 (ja) 2018-07-18
JP2017082583A (ja) 2017-05-18
JP5652998B2 (ja) 2015-01-14
JP5297866B2 (ja) 2013-09-25
JP2010059767A (ja) 2010-03-18
JP5297915B2 (ja) 2013-09-25
JP5308873B2 (ja) 2013-10-09
JP5640118B2 (ja) 2014-12-10
JP6215799B2 (ja) 2017-10-18
JP2013167152A (ja) 2013-08-29
JP6404990B2 (ja) 2018-10-17
JP2015042838A (ja) 2015-03-05
JP2014198996A (ja) 2014-10-23
JP2014222020A (ja) 2014-11-27
JP2014148889A (ja) 2014-08-21

Similar Documents

Publication Publication Date Title
JP6404990B2 (ja) 開閉装置用機械式開閉体停止装置
JP5651300B2 (ja) 開閉装置
JP5524520B2 (ja) 開閉装置の開閉体停止装置
JP5530667B2 (ja) 開閉装置の開閉体停止装置
JP5670532B2 (ja) 開閉装置の開閉体停止装置
JP6096736B2 (ja) 開閉装置の開閉体停止装置
JP5752829B2 (ja) 開閉装置の開閉体停止装置

Legal Events

Date Code Title Description
A621 Written request for application examination

Free format text: JAPANESE INTERMEDIATE CODE: A621

Effective date: 20120119

A977 Report on retrieval

Free format text: JAPANESE INTERMEDIATE CODE: A971007

Effective date: 20130227

TRDD Decision of grant or rejection written
A01 Written decision to grant a patent or to grant a registration (utility model)

Free format text: JAPANESE INTERMEDIATE CODE: A01

Effective date: 20130611

A61 First payment of annual fees (during grant procedure)

Free format text: JAPANESE INTERMEDIATE CODE: A61

Effective date: 20130701

R150 Certificate of patent or registration of utility model

Ref document number: 5308873

Country of ref document: JP

Free format text: JAPANESE INTERMEDIATE CODE: R150

Free format text: JAPANESE INTERMEDIATE CODE: R150

R250 Receipt of annual fees

Free format text: JAPANESE INTERMEDIATE CODE: R250

R250 Receipt of annual fees

Free format text: JAPANESE INTERMEDIATE CODE: R250

R250 Receipt of annual fees

Free format text: JAPANESE INTERMEDIATE CODE: R250

R250 Receipt of annual fees

Free format text: JAPANESE INTERMEDIATE CODE: R250