JP2010058776A - 車輌運搬車 - Google Patents

車輌運搬車 Download PDF

Info

Publication number
JP2010058776A
JP2010058776A JP2008243831A JP2008243831A JP2010058776A JP 2010058776 A JP2010058776 A JP 2010058776A JP 2008243831 A JP2008243831 A JP 2008243831A JP 2008243831 A JP2008243831 A JP 2008243831A JP 2010058776 A JP2010058776 A JP 2010058776A
Authority
JP
Japan
Prior art keywords
loading platform
support leg
leg
frame
vehicle
Prior art date
Legal status (The legal status is an assumption and is not a legal conclusion. Google has not performed a legal analysis and makes no representation as to the accuracy of the status listed.)
Granted
Application number
JP2008243831A
Other languages
English (en)
Other versions
JP2010058776A5 (ja
JP5224987B2 (ja
Inventor
Hideki Takada
高田  秀樹
Takayuki Fujita
貴之 藤田
Current Assignee (The listed assignees may be inaccurate. Google has not performed a legal analysis and makes no representation or warranty as to the accuracy of the list.)
Tadano Ltd
Original Assignee
Tadano Ltd
Priority date (The priority date is an assumption and is not a legal conclusion. Google has not performed a legal analysis and makes no representation as to the accuracy of the date listed.)
Filing date
Publication date
Application filed by Tadano Ltd filed Critical Tadano Ltd
Priority to JP2008243831A priority Critical patent/JP5224987B2/ja
Publication of JP2010058776A publication Critical patent/JP2010058776A/ja
Publication of JP2010058776A5 publication Critical patent/JP2010058776A5/ja
Application granted granted Critical
Publication of JP5224987B2 publication Critical patent/JP5224987B2/ja
Active legal-status Critical Current
Anticipated expiration legal-status Critical

Links

Images

Landscapes

  • Handcart (AREA)

Abstract

【課題】荷台傾斜角を緩傾斜角と通常傾斜角とに選択できる車輌運搬車において、荷台を車輌積込み姿勢で支持する支持脚として、非伸縮式のものでは荷台が緩傾斜角姿勢と通常傾斜角姿勢の一方でしか正常に支持できず、油圧伸縮式のものでは設備が繁雑になる。
【解決手段】傾斜フレーム3の後傾時に接地する支持脚9として、逆L形部材90を使用し、その横向き腕部90aの後端部を傾斜フレーム後端部に枢支し、逆L形部材90の角部に荷台受けローラ92を取付けて、傾斜フレーム3と荷台4とが平行姿勢状態では荷台受けローラ92上に荷台4が載っていて、下向き脚部90bが傾斜フレーム3に対して下向きに角度略90°方向に向いた姿勢で維持される一方、荷台4が傾斜フレーム3より緩い傾斜姿勢になったときに荷台受けローラ92への荷重が解放されて支持脚9が車輌前方側に揺動するようにしていることにより、上記2通りの荷台傾斜角状態で支持し得る。
【選択図】 図6

Description

本願発明は、荷台を後方移動及び後傾させて被運搬車輌を荷台上に積込み可能にした車輌運搬車に関し、特に荷台の傾斜角を一般車高車積込み用の通常傾斜角と低車高車積込み用の緩傾斜角との範囲で使用可能とした車輌運搬車に関するものである。尚、本願の発明の名称は、車輌運搬車としているが、運搬対象物として車輌のほかに農業機械や小型船舶(ボート)や重機等の運搬にも適用できるものである。
この種の車輌運搬車は、荷台を傾斜フレームに対して後方移動させるとともに該荷台を傾斜フレームとともに後傾させて、該荷台上に被運搬車輌を積込み可能に構成しているが、被運搬車輌としては一般的な車高の一般車高車のほかにスポーツカー等の低い車高の低車高車もある。そして、低車高車では、車輌を積込む際に荷台傾斜角が大きい(例えば一般車高車積込み用の荷台傾斜角は約10°)と、積込み車輌の前部が荷台床面に接触して損傷する恐れがあるため、低車高車積込み用としては荷台傾斜角を小さく(例えば約6°)し得る車輌運搬車を用いている。尚、以下の説明では、一般車高車積込み用の荷台傾斜角を単に通常傾斜角といい、低車高車積込み用の荷台傾斜角を単に緩傾斜角ということがある。
ところで、近年の車輌運搬車の中には、1台の車輌運搬車で荷台傾斜角を低車高車積込み用の緩傾斜角と一般車高車積込み用の通常傾斜角とに使い分けできるようにしたものがある。例えば、図27〜図29には、特開2002−46523号公報(特許文献1)の車輌運搬車を示しているが、この公知例の車輌運搬車は、車輌201のシャシフレーム211の後部に傾斜フレーム203を支軸208で傾動自在に軸支し、該傾斜フレーム203上に荷台204を車輌前後方向に移動自在に支持し、傾動シリンダ251によりアーム252を介して傾斜フレーム203を荷台204と共に傾動させ得るようになっており、さらに荷台204を傾斜フレーム203に対して図示しないスライドシリンダで車輌前後方向にスライドさせ得るようになっている。
又、この公知例の車輌運搬車には、傾斜フレーム203の後端部に支持脚209を取付けているが、この支持脚209は、一定長さで且つ不動状態で固定されている。尚、符号244は、荷台204の後端部に起伏自在に取付けられている煽り板である。
この公知例の車輌運搬車は、図27の荷台格納状態から、傾動シリンダ251の伸長量を調整することで、傾斜フレーム203及び荷台204を、図28に示す一般車高車積込み用の通常傾斜角(約10°)と図29に示す低車高車積込み用の緩傾斜角(約6°)との2通りの傾斜角に設定し得るようになっている。そして、この車輌運搬車では、傾斜フレーム203を所定傾斜角(図28の通常傾斜角又は図29の緩傾斜角)まで傾動させた後、図示しないスライドシリンダにより荷台204を後方移動させて荷台後端部を接地させ、煽り板244を鎖線図示(符号244′)するように倒伏(接地)させることで、車輌積込み姿勢にすることができる。尚、荷台傾斜角が図28に示す通常傾斜角(約10°)では、該作業スペースが符号Mで示すように短くなり、他方、荷台傾斜角が図29に示す緩傾斜角(約6°)では、車輌積込み時の作業スペース(車輌運搬車の占有スペース)が符号Lで示すように長くなる。
ところで、図28又は図29に示すように、傾斜フレーム203及び荷台204を車輌積込み姿勢にした状態で荷台204上に車輌Sを積込むと、該積込み車輌Sの重量で運搬車201の前部(前輪側)を浮上させる作用が働くが、その運搬車前部への浮上作用は傾斜フレーム203の後端部に取付けている支持脚209を接地させることで防止できる。
尚、荷台傾斜角を低車高車積込み用の緩傾斜角と一般車高車積込み用の通常傾斜角とに選択して設定し得るようにした車輌運搬車として、上記特許文献1のほかに、特開2004−142563号公報(特許文献2)に示されるように支持脚の長さを伸縮させ得るようにしたものがある。
特開2002−46523号公報 特開2004−142563号公報
ところが、図27〜図29に示す公知例(特許文献1)の車輌運搬車では、傾斜フレーム203の後端部に取付けている支持脚209は、一定長さで且つ不動状態で固定されているので、荷台傾斜角を図28の通常傾斜角と図29の緩傾斜角との2通りに使い分けると、次の問題が生じる。
即ち、荷台傾斜角を図28の通常傾斜角に設定したときの支持脚209設置部分の地面までの高さと荷台傾斜角を図29の緩傾斜角に設定したときの支持脚209設置部分の地面までの高さとが異なり、支持脚209の長さを図28に示すように荷台204が通常傾斜角状態で接地するように設定したものでは、図29に示す荷台204が緩傾斜角状態のときに支持脚209が地面から離間するようになる。従って、この場合、荷台傾斜角が図28の通常傾斜角状態のときには支持脚209が接地して有効に機能するものの、該荷台傾斜角が図29の緩傾斜角状態のときには支持脚209が地面から離間して支持脚としての機能を果たすことができない。尚、図29に示すように、支持脚209が地面から離間した状態で、荷台204上に車輌Sを積込むと、該積込み車輌Sの重量で運搬車201の後輪接地部を支点にして運搬車の前部を支持脚209が接地するまで浮上させてしまう虞れがある(運搬車の安定性が悪くなる)という問題がある。
又、図27〜図29の車輌運搬車において、上記とは逆に、支持脚209の長さを図29に示す荷台204が緩傾斜角状態で接地するように設定したときには、図28に示す荷台204が通常傾斜角状態で、運搬車201の後部側を浮き上がらせてしまうという問題がある。
他方、上記特許文献2(特開2004−142563号公報)の車輌運搬車では、荷台傾斜角が緩傾斜角状態(同公報の図3)と通常傾斜角状態(同公報の図4)とでそれぞれ支持脚が接地するように記載されているが、この場合、支持脚長さを自動で調整するには、該支持脚に油圧シリンダを使用する必要がある。そして、支持脚に油圧シリンダを使用した場合は、油圧ホースの配管や油圧バルブの設置等が繁雑になるという問題がある。
そこで、本願発明は、伸縮しない(油圧シリンダを使用しない)支持脚を使用したものであっても、傾斜フレームの後端部を支持する支持脚の鉛直方向高さを荷台の前後移動に伴って自動調整できるようにすることにより、荷台傾斜角が通常傾斜角状態(一般車高車積込み用)と緩傾斜角状態(低車高車積込み用)の両方でそれぞれ支持脚を接地(荷台を支持)させ得るようにした車輌運搬車を提供することを目的としている。
本願発明は、上記課題を解決するための手段として次の構成を有している。尚、本願発明は、荷台を後方移動及び後傾させて荷台上に車輌を積込み可能とした車輌運搬車を対象としている。又、本願の発明の名称は、車輌運搬車としているが、運搬対象物として車輌のほかに農業機械や小型船舶(ボート)や重機等の運搬にも適用できるものである。
[本願請求項1の発明]
本願請求項1の発明の車輌運搬車は、シャシフレームを有する車輌と、シャシフレームの後端部位置において傾動自在に支持された傾斜フレームと、傾斜フレーム上に車輌前後方向に移動自在に支持された荷台と、荷台を傾斜フレームに対して車輌前後方向に移動させる伸縮シリンダと、傾斜フレームを傾動させ得るようにした傾動装置と、傾斜フレームの後端部に設置されていて傾斜フレームの後傾時に接地して荷台の荷重を支持する支持脚とを備えたものである。尚、シャシフレームと傾斜フレームと支持脚とは、それぞれ左右(車輌幅方向)に2組あり、傾動装置も左右に2組の部材を有する部分がある。
シャシフレーム上には、左右一対のサブフレームを設置することができるが、サブフレームを有しないものも採用できる。尚、本願の特許請求の範囲では、サブフレームを有したものにおいても、該サブフレームを含めてシャシフレームと表現している。
傾斜フレームは、長尺で左右一対有している。そして、この傾斜フレームは、シャシフレーム(又はサブフレーム)の後端部位置において傾動自在に支持されている。
荷台の後端下面には、地面上を転動する接地ローラを設けておくとよい。又、荷台の後端部には、車輌乗込み用の煽り板を起伏自在に取付けることができる。
荷台を前後移動させる伸縮シリンダには、長尺の油圧シリンダが使用されている。又、この伸縮シリンダの伸縮ストロークだけでは荷台の前後移動量を十分に確保できない場合には、倍速装置を使用して伸縮シリンダの伸縮量に対して荷台を2倍の量だけ前後移動させ得るようにすることができる。尚、この倍速装置は、チエンやワイヤ等を滑車に巻き掛けたものを採用できる。
傾斜フレームを傾動させるための傾動装置としては、傾斜フレームを傾動させ得るものであれば、適宜の構成のものが採用できる。尚、この傾動装置の動力源には、後述の実施例のように上記した荷台前後移動用の伸縮シリンダを利用することができる。
荷台は、支持脚が接地した状態で、傾斜フレームに平行な姿勢と傾斜フレームの傾斜角より緩い傾斜姿勢とに変位し得るようにしている。即ち、傾斜フレームが後傾し支持脚が接地した状態で荷台後端部が接地するまでは、該荷台が傾斜フレームに対して平行姿勢を維持しているが、荷台後端部が接地した後、荷台がさらに後退移動すると、該荷台は傾斜フレームに対して荷台前端部のみが支持される一方、荷台後端部が地面上を後退していくので、該荷台の傾斜角が傾斜フレームの傾斜角より緩くなっていく。
傾斜フレーム後端部に設置している支持脚は、上部側に前後に向く横向き腕部と該横向き腕部の前端から下方に延出させた下向き脚部とを有した逆L形部材を使用し、横向き腕部の後端部を傾斜フレームの後端部において下向き脚部が前後に揺動し得る状態で支軸により枢支している。
又、この支持脚には、横向き腕部と下向き脚部との角部に荷台を受ける荷台受けローラを設けている一方、下向き脚部の下端部に接地ローラを設けている。尚、この支持脚における、横向き腕部方向の長さは20〜30cm(中間値で25cm)程度で、下向き脚部方向の長さは45〜55cm(中間値で50cm)程度が適当であるが、この各寸法は特に限定するものではなく、適宜に設計変更できるものである。
そして、本願請求項1の車輌運搬車では、傾斜フレームが後傾動作を開始後、傾斜フレームと荷台とが平行姿勢を維持している状態では、荷台が支持脚の荷台受けローラ上に載っていて逆L形部材の下向き脚部が傾斜フレームに対して下向きに角度略90°方向に向いた姿勢で維持されている一方、支持脚の接地ローラが接地後に荷台がさらに後退移動して荷台が傾斜フレームより緩い傾斜姿勢になったときに荷台受けローラに対して荷台による押圧力が解除されて傾斜フレームの後部に加わる下動力により支持脚が横向き腕部後端部の支軸を中心にして車輌前方側に揺動するように構成されている。
即ち、この車輌運搬車では、傾斜フレームが後傾して支持脚が接地した時点(荷台が傾斜フレームに対してまだ平行姿勢を維持している)では、逆L形部材の下向き脚部が傾斜フレームに対して下向きに角度略90°方向に向いた姿勢で維持されているが、該下向き脚部は傾斜フレームが後傾している角度分(例えば角度10°程度)だけ前方側に下降傾斜した姿勢でその下端部の接地ローラが接地している。従って、このときの支持脚姿勢での下向き脚部の対地角は80°程度で、支持脚による傾斜フレーム後端部の支持高さは大きいままである(支持脚長さが50cmの場合のsin角が80°では傾斜フレーム後端部の支持高さが約49cmである)。この支持脚接地時点では、下向き脚部が前方側に若干下降傾斜していて(対地角80°程度)、傾斜フレーム後端部に下動力が加わると支持脚の下向き脚部を前方側に揺動させる作用(荷台受けローラを上動させる作用)が働くが、荷台の荷重で支持脚の荷台受けローラを下方に押圧しているので、該下向き脚部が前方側に揺動することはない(支持脚全体が横向き腕部後端部の支軸を中心にして前方側に揺動することはない)。尚、この時点では、傾斜フレームがさらに後傾する(傾斜フレームの傾斜角が大きくなる)余地を残している。
そして、上記のように荷台後端部が接地した後、該荷台がさらに後退移動すると、荷台が傾斜フレームより緩い傾斜姿勢になって該荷台下面が荷台受けローラから離間し、荷台による荷台受けローラへの押圧力が解除されて支持脚が前方側に揺動可能となる。他方、荷台後端部が接地後、荷台がさらに後退移動すると、傾斜フレームの後傾角がさらに大きくなって傾斜フレーム後端部の高さが順次低くなっていくが、その傾斜フレーム後端部の下動力に伴って支持脚がその支軸を中心にして前方側に揺動するようになる。そして、傾斜フレームが最大後傾した時点では、支持脚の下向き脚部が前方側に大きく揺動し、該支持脚による傾斜フレーム後端部の支持高さがかなり低くなる。因に、この時点では、下向き脚部の対地角は約25°となるが、接地ローラの接地点と横向き腕部の支軸部分とを結ぶ線の対地角は例えば10°程度になり、そのとき支持脚長さが50cmの場合のsin角10°では傾斜フレーム後端部の支持高さが8〜9cm程度の非常に低位置となる。そして、荷台が最大後退した時点では、荷台前部が傾斜フレームの後端部近傍まで移動していて、該荷台前部が地面にかなり近い位置まで降下している。尚、傾斜フレームと支持脚との間には、支持脚の前方側への最大揺動姿勢(例えば下向き脚部の対地角が約25°)で該支持脚がそれ以上、前方側に揺動しないようにするための適宜のストッパーを設けるとよい。
尚、以下の説明では、支持脚の下向き脚部が上記大角度(対地角が約80°)で傾斜フレーム後端部を支持している状態を「高支持状態」ということがあり、支持脚の下向き脚部が上記小角度(支持脚の実質対地角が約10°)で傾斜フレーム後端部を支持している状態を「低支持状態」ということがある。
本願請求項1の車輌運搬車は、上記のように、支持脚を傾斜フレームの後端部において前後揺動自在に取付ける一方、荷台の前後移動によって支持脚(下向き脚部)の前側揺動角を自動で変化させて、該支持脚を上記「高支持状態」(下向き脚部の対地角が約80°)と上記「低支持状態」(実質対地角が約10°)との2通りの支持状態で使用できるようにしている。
支持脚を上記「高支持状態」にした場合は、傾斜フレームの後端部がかなり高位置(上記の例では49cm程度の高さ)で支持されて該傾斜フレームの傾斜角が約10°程度になる。そして、荷台を後方移動させて荷台後端部を接地させた時点(荷台が傾斜フレームと平行姿勢)では、該荷台の傾斜角が約10°程度の通常傾斜角になり、一般車高車積込み用として使用できる。又、この状態では、荷台が「高支持状態」の傾斜フレームと平行姿勢にあって、該荷台が支持脚の荷台受けローラ上に載っており、従って支持脚が「高支持状態」のままで安定的に姿勢保持されている。尚、荷台の傾斜角が約10°程度の通常傾斜角状態では、該荷台がまだ後方移動できる余地を残しているが、荷台傾斜角を上記通常傾斜角(約10°)で使用するときには、荷台を格納状態から後方移動させて荷台後端部が接地した時点(荷台が傾斜フレームに対して平行姿勢のまま)で荷台の後方移動操作を停止させるだけでよい。
他方、支持脚を上記「低支持状態」にした場合は、傾斜フレームの傾斜角が急傾斜して該傾斜フレームの後端部がかなり低位置(上記の例では8〜9cm程度の高さ)で支持されている。そして、荷台前部を該傾斜フレームの後端部付近まで後退移動させると、該荷台の傾斜角が緩傾斜角(以下の実施例では約2〜3°)になり、低車高車積込み用として使用できる。尚、荷台を格納状態から緩傾斜角状態(荷台傾斜角が約2〜3°)に移行させるには、該荷台を上記通常傾斜角(約10°)まで移動操作させた後(この時点では支持脚が「高支持状態」となっている)、傾斜フレームをさらに後傾させ且つ荷台をさらに後退移動させることによって、支持脚を自動で「低支持状態」に変位させ得るとともに荷台を緩傾斜角状態まで変位させることができる。
尚、本願の車輌運搬車では、荷台を上記通常傾斜角(支持脚の「高支持状態」)と緩傾斜角(支持脚の「低支持状態」)との間の傾斜角にした状態においても、車輌の積込み及び積降ろしができるようになっている。
[本願請求項2の発明]
本願請求項2の発明は、上記請求項1の車輌運搬車において、支持脚の逆L形部材又は傾斜フレームに、該傾斜フレームが最大後傾し支持脚の下向き脚部が車輌前方側に最大揺動した時点で傾斜フレーム又は逆L形部材に衝合して、支持脚がそれ以上前方側に揺動するのを禁止するためのストッパーを設けている。
この請求項2で使用されているストッパーは、逆L形部材側に設けてもよく、あるいは傾斜フレーム側に設けてもよい。
傾斜フレームが最大後傾し支持脚の下向き脚部が車輌前方側に最大揺動した状態では、支持脚が上記「低支持状態」(支持脚の実質対地角が約10°)となっているが、この請求項2のストッパーは、該「低支持状態」の支持脚に対して該支持脚がそれ以上前方側に揺動するのを禁止するように機能する。このように、「低支持状態」の支持脚をストッパーで前方側揺動を禁止していると、該支持脚を「低支持状態」で安定支持できる。
[本願請求項3の発明]
本願請求項3の発明は、上記請求項1又は2の車輌運搬車において、次の構成を有したものである。
この種の車輌運搬車には、シャシフレーム後部寄り下方に後部バンパーが設置されている。尚、この後部バンパーは、コンビネーションランプの取付基台としても利用されている。
本願請求項3の車輌運搬車では、シャシフレームの後部寄り下方に設置される後部バンパーに接地ローラと揺動アームとを取付け、該揺動アームを支持脚の下向き脚部に支軸で枢着して後部バンパーを支持脚より後側において前後に揺動自在なる状態で装着している。又、後部バンパーは、付勢部材(例えばコイルバネ)により後部バンパー側の接地ローラが支持脚側の接地ローラに近接する方向に付勢している。さらに、傾斜フレームの後傾時に支持脚の接地ローラと後部バンパーの接地ローラとがそれぞれ接地した後、傾斜フレームの更なる後傾動作による下方押圧力により、支持脚の下部側が前方に揺動するとともに後部バンパーが支軸を中心にして後方に揺動するように構成している。
ところで、本願発明のように傾斜フレームの後端部に支持脚(左右一対ある)を設けたものでは、上記後部バンパーを支持脚より後側に設置するが、その場合、該後部バンパーは、傾斜フレームの後端部下方に取付けられて該傾斜フレームの後傾動作に伴って支持脚とともに上下動する。そして、本願発明では、低車高車積込み時に支持脚を上記「低支持状態」(荷台を緩傾斜角にし得る状態)にして行う関係で、傾斜フレームの後端部がかなり地面に近づく位置まで下げられるが、そのとき後部バンパーが傾斜フレーム後端部に対して定位置で不動状態で取付けられていると、該後部バンパーの下端が先に接地して支持脚を上記「低支持状態」まで変位させることができなくなる。
そこで、この請求項3では、支持脚を上記「低支持状態」まで前方側に揺動させ得るようにするために、支持脚の接地ローラと後部バンパーの接地ローラが共に接地した後、傾斜フレームの更なる後傾動作(傾斜フレームの後端部が下動する)により、支持脚の下部側が前方に揺動するとともに後部バンパーが支軸を中心にして後方に揺動するようにしている(支持脚の下部側と後部バンパーとが開脚状態に揺動変位するようになる)。
従って、この請求項3の車輌運搬車では、上記のように後部バンパーを支持脚に対して前後揺動自在に取付けることにより、後部バンパーの下端(接地ローラ)が接地した後に傾斜フレームの更なる後傾動作が可能となり、支持脚を上記「低支持状態」にすることができる。
[本願請求項4の発明]
本願請求項4の発明は、上記請求項1から3のいずれか1項の車輌運搬車において、荷台と支持脚との間に、荷台がシャシフレーム上の格納位置にあるときに支持脚を下向き脚部が鉛直姿勢より車輌前部側に揺動した格納姿勢で保持するための支持脚格納装置を設けている。
尚、この請求項4で使用される支持脚格納装置は、荷台が格納位置から後方移動を開始したときに支持脚に対する位置保持機能を自動で解除するようになっている。
ところで、荷台が格納位置にあるときには、荷台と傾斜フレームとがシャシフレーム上においてそれぞれ水平な平行姿勢となっていて、上記請求項1の構成のままでは支持脚の下向き脚部が略鉛直方向に向いているので支持脚下端(接地ローラ)が車輌後側寄りで低位置にあって、デパーチャアングル(車輌後輪の接地部から支持脚下端を結ぶ線より下方の空間)が小さくなる。そして、このようにデパーチャアングルが小さいと、荷台後傾使用時以外(特に車輌走行時)には支持脚下端が邪魔になることがある。
そこで、本願請求項4では、荷台格納状態において上記デパーチャアングルを大きくするための支持脚格納装置を設けている。この支持脚格納装置を機能させる前提として、荷台が格納位置にあるときには支持脚が前方に揺動し得るようにする必要があるが、そのために荷台格納状態で支持脚の荷台受けローラに対応する位置の荷台下面に上向きの凹部(段差部)を設けておき、該荷台受けローラに対する荷台下面の衝合高さが若干高位置になるようにしておく。
そして、上記支持脚格納装置は、荷台と支持脚との間に設置されていて、荷台が後方位置から前方移動して格納位置に達したときに自動で支持脚を所定角度(例えば角度20°程度)だけ前方側に傾動させるように構成したものである。尚、この支持脚格納装置の一例としては、後述の実施例のように、荷台に設けた押圧片で揺動アーム及び連係部材を介して支持脚の下向き脚部を前方に引き寄せるようにしたものを採用できるが、該支持脚格納装置は、荷台の格納時点で支持脚を前方揺動させた姿勢で保持し得るようにしたものであれば適宜の構成を採用できる。
[本願請求項5の発明]
本願請求項5の発明は、上記請求項4の車輌運搬車における支持脚格納装置として、次の構成を採用したものである。
即ち、この請求項5で使用される支持脚格納装置は、支持脚の横向き腕部の上部に上向き後方傾斜状態で突出させた上向き後傾アームと、荷台の後端部下面に該荷台が格納位置にあるときに前記上向き後傾アームの上端部を押し下げ得るカムとを有し、荷台の格納状態ではカムが上向き後傾アームの上端部を押し下げることで支持脚を格納姿勢で保持するように構成している。
そして、この請求項5の支持脚格納装置では、荷台が後方位置から前方移動して格納位置に達したときに、荷台側のカムが支持脚側の上向き後傾アームを押し下げて、自動で支持脚を所定角度(例えば角度20°程度)だけ前方側に傾動させるようになっている。
尚、この請求項5で使用される支持脚格納装置でも、荷台が格納位置から後方移動を開始したときに、荷台側のカムが支持脚側の上向き後傾アームに対して押し下げ機能を自動で解除する(支持脚に対する位置保持機能を解除する)ようになっている。
[本願請求項6の発明]
本願請求項6の発明は、上記請求項1の車輌運搬車における支持脚の構成及びその取付形態を変形させたものである。
この請求項6の車輌運搬車も、上記請求項1のものと同様に、シャシフレームを有する車輌と、シャシフレームの後端部位置において傾動自在に支持された傾斜フレームと、傾斜フレーム上に車輌前後方向に移動自在に支持された荷台と、荷台を傾斜フレームに対して車輌前後方向に移動させる伸縮シリンダと、傾斜フレームを傾動させ得るようにした傾動装置と、傾斜フレームの後端部に設置されていて傾斜フレームの後傾時に接地して荷台の荷重を支持する支持脚とを備えたものである。尚、この請求項6の車輌運搬車において、上記荷台、傾斜フレーム、伸縮シリンダ、傾動装置等の基本構成は、上記請求項1のものと同じものを使用できる。又、荷台は、支持脚が接地した状態で、傾斜フレームに平行な姿勢と該傾斜フレームの傾斜角より緩い傾斜姿勢とに変位し得るようにしていることも上記請求項1と同じである。
この請求項6で使用される支持脚も、上記請求項1の支持脚と同様に、上部側に前後に向く横向き腕部と該横向き腕部から下方に延出させた下向き脚部とを有した逆L形部材を使用しているが、この請求項6の支持脚は、上記請求項1の支持脚に対して次の点が異なっている。
即ち、請求項1の支持脚では横向き腕部の前端から下向き脚部を下方に延出させているのに対して、請求項6の支持脚では横向き腕部の後端から下向き脚部を下方に延出させている(請求項1の支持脚と請求項6の支持脚とは、下向き脚部が前後逆位置にある)。尚、この請求項6の支持脚の横向き腕部及び下向き脚部の各長さは、請求項1の支持脚の横向き腕部及び下向き脚部とそれぞれ同程度でよい。
又、この請求項6の支持脚では、横向き腕部の前端部を傾斜フレームの後端部において下向き脚部が前後に揺動し得る状態で支軸により枢支し、横向き腕部と下向き脚部との角部に荷台を受ける荷台受けローラを設けている。即ち、この請求項6の支持脚では、支軸による枢支部と荷台受けローラの取付部とが上記請求項1の支持脚のものと前後逆位置である。又、この支持脚の下向き脚部の下端部に接地ローラを設けている。
そして、本願請求項6の車輌運搬車では、傾斜フレームが後傾動作を開始後、傾斜フレームと荷台とが平行姿勢を維持している状態では、荷台が支持脚の荷台受けローラ上に載っていて逆L形部材の下向き脚部が傾斜フレームに対して下向きに角度略90°方向に向いた姿勢で維持されている一方、支持脚の接地ローラが接地後に荷台がさらに後退移動して荷台が傾斜フレームより緩い傾斜姿勢になったときに荷台受けローラに対して荷台による押圧力が解除されて傾斜フレームの後部に加わる下動力により支持脚が横向き腕部前端部の支軸を中心にして車輌後方側に揺動するように構成されている。
従って、この請求項6の車輌運搬車でも、上記請求項1の車輌運搬車と同様に、支持脚を「高支持状態」と「低支持状態」とでそれぞれ機能させ得るようになっている。尚、この請求項6と上記請求項1とでは、支持脚が「高支持状態」から「低支持状態」に移行する際に、請求項1のものでは支持脚が後方側から前方側に変位するのに対して、請求項6のものでは支持脚が前方側から後方側に変位するところが異なっているだけで、支持脚を上記「高支持状態」と「低支持状態」とでそれぞれ機能させ得ることは同じである。
[本願請求項7の発明]
本願請求項7の発明は、上記請求項6の車輌運搬車において、支持脚の逆L形部材又は傾斜フレームに、該傾斜フレームが最大後傾し支持脚の下向き脚部が車輌後方側に最大揺動した時点で傾斜フレーム又は逆L形部材に衝合して、支持脚がそれ以上後方側に揺動するのを禁止するためのストッパーを設けている。
この請求項7に使用されているストッパーは、上記請求項2のストッパーと同様に機能するものであり、傾斜フレームが最大後傾し支持脚の下向き脚部が車輌後方側に最大揺動した時点で(支持脚が「低支持状態」となっている)、該支持脚がそれ以上後方側に揺動するのを禁止するものである。そして、このように「低支持状態」の支持脚をストッパーで後方側揺動を禁止していると、該支持脚を「低支持状態」で安定支持できる。
尚、この請求項7で使用されるストッパーも、逆L形部材側に設けてもよく、あるいは傾斜フレーム側に設けてもよい。
[本願請求項8の発明]
本願請求項8の発明は、上記請求項6又は7の車輌運搬車において、荷台と支持脚との間に、荷台がシャシフレーム上の格納位置にあるときに支持脚をその下向き脚部が鉛直姿勢より車輌後部側に揺動した格納姿勢で保持するための支持脚格納装置を設けている。
尚、この請求項7で使用される支持脚格納装置も、荷台が格納位置から後方移動を開始したときに支持脚に対する位置保持機能を自動で解除するようになっている。
この請求項8に使用されている支持脚格納装置も、上記請求項4又は請求項5の支持脚格納装置と同様に、荷台格納状態において上記デパーチャアングル(車輌後輪の接地部から支持脚下端を結ぶ線より下方の空間)を大きくするためのものである。そして、この請求項8の支持脚格納装置では、荷台格納状態において支持脚の下向き脚部を鉛直姿勢より車輌後部側(請求項4〜5のものとは前後逆側)に揺動した格納姿勢で保持することにより、支持脚下端を後方且つ上方に変位した位置に位置させることができるようになっている。
[本願請求項1の発明の効果]
本願請求項1の発明の車輌運搬車には、次のような効果がある。
(1) 単一の支持脚を前後に揺動させることにより、傾斜フレームの後端部を上記「高支持状態」と「低支持状態」との2通りの高さでそれぞれ支持できるので、伸縮しない単一の支持脚であっても、傾斜フレームを介して荷台を通常傾斜角(約10°)と緩傾斜角(2〜3°)のそれぞれで安定支持できる。
(2) 支持脚の前後揺動操作を、荷台の前後移動操作によって自動で行えるので、支持脚を「高支持状態」と「低支持状態」とに切換えるのに専用の動力装置(例えば油圧装置)が不要である。
(3) 支持脚を「高支持状態」にしたときに、荷台が支持脚の荷台受けローラ上に載っていることにより、該支持脚を安定姿勢(前後揺動不能状態)に維持できるので、支持脚が前後に揺動するものであっても、該支持脚を「高支持状態」で姿勢維持させるのに既存の荷台を有効利用できる。
[本願請求項2の発明の効果]
本願請求項2の発明では、傾斜フレームが最大後傾し支持脚の下向き脚部が車輌前方側に最大揺動した時点で、ストッパーにより支持脚がそれ以上前方側に揺動するのを禁止するようにしている。
従って、この請求項2の車輌運搬車では、上記請求項1の効果に加えて、ストッパーにより上記「低支持状態」にある支持脚が前方側に揺動するのを禁止できるので、該支持脚を「低支持状態」でも安定支持できるという効果がある。
[本願請求項3の発明の効果]
本願請求項3の車輌運搬車では、後部バンパーに取付けた揺動アームを支持脚の下向き脚部に支軸で枢着して後部バンパーを支持脚より後側において前後に揺動自在なる状態で装着し、傾斜フレームの後傾時に支持脚の接地ローラと後部バンパーの接地ローラとがそれぞれ接地した後、傾斜フレームの更なる後傾動作による下方押圧力により、支持脚の下部側が前方に揺動するとともに後部バンパーが支軸を中心にして後方に揺動するように構成している。
そして、この構成を採用すると、支持脚の接地ローラと後部バンパーの接地ローラが共に接地した後にも傾斜フレームの更なる後傾動作が可能となる。即ち、傾斜フレームの更なる後傾動作時に、支持脚の下部側と後部バンパーとが開脚状態に揺動変位することにより、傾斜フレーム後端部が更に下動し得るようになる。
従って、本願請求項3の車輌運搬車では、上記請求項1又は2の効果に加えて、後部バンパーを支持脚に対して前後揺動自在に取付けることにより、支持脚を上記「低支持状態」(荷台を緩傾斜角にし得る状態)まで変位させることができるという効果がある。
[本願請求項4の発明の効果]
本願請求項4の車輌運搬車では、荷台格納状態において支持脚格納装置により自動で支持脚を前方側に揺動させた格納姿勢で保持することができる。尚、支持脚を前方側に揺動させた格納姿勢では、支持脚下端が前方且つ上方に変位した位置にある。
従って、この請求項3の車輌運搬車では、上記請求項1〜3の効果に加えて、荷台格納状態では支持脚格納装置により支持脚を上記格納姿勢に保持することができるので、支持脚が傾斜フレーム後端部において下方に突出したものであっても、支持脚の格納姿勢(前傾姿勢)では上記デパーチャアングルを大きくとることができる(支持脚が邪魔になりにくい)という効果がある。
[本願請求項5の発明の効果]
本願請求項5の車輌運搬車では、上記請求項4の支持脚格納装置として、支持脚の横向き腕部に設けた上向き後傾アームと荷台の後端部下面に設けたカムとで構成し、荷台の格納状態ではカムが上向き後傾アームの上端部を押し下げることで支持脚を格納姿勢で保持するように構成したものを採用している。
従って、この請求項5の車輌運搬車では、上記請求項4の効果に加えて、支持脚格納装置の構成(支持脚側の上向き後傾アームと荷台側のカムだけでよい)を簡単且つ安価に製作できるという効果がある。
[本願請求項6の発明の効果]
本願請求項6の車輌運搬車では、上記のように、支持脚を上記請求項1のものと前後逆向きに取付けて、支持脚が「高支持状態」から「低支持状態」に移行する際に、請求項1の支持脚とは逆向き(前方側から後方側)に変位するように構成しているが、この請求項6の支持脚も請求項1のものと同様に機能する。
従って、この請求項6の車輌運搬車でも、上記請求項1の上記(1)〜(3)の各効果を達成できる。
[本願請求項7の発明の効果]
本願請求項7の発明では、上記請求項6のように傾斜フレームが最大後傾し支持脚の下向き脚部が車輌後方側に最大揺動した時点で、ストッパーにより支持脚がそれ以上前方側に揺動するのを禁止するようにしている。
従って、この請求項7の車輌運搬車では、上記請求項6の効果に加えて、ストッパーにより上記「低支持状態」(車輌後方側に最大揺動した状態)にある支持脚が後方側に揺動するのを禁止できるので、該支持脚を「低支持状態」でも安定支持できるという効果がある。
[本願請求項8の発明の効果]
本願請求項8の車輌運搬車では、上記請求項6又は7の車輌運搬車において上記請求項4と同機能を有した支持脚格納装置を設けている。
従って、この請求項8の車輌運搬車でも、上記請求項6又は7の効果に加えて、支持脚が傾斜フレーム後端部において下方に突出したものであっても、支持脚の格納姿勢(後傾姿勢)では上記デパーチャアングルを大きくとることができる(支持脚が邪魔になりにくい)という効果がある。
以下、図1〜図26を参照して本願実施例の車輌運搬車を説明する。
図1〜図13には本願第1実施例の支持脚格納装置(後述する)を設けた車輌運搬車を示しており、図14〜図16には図1〜図13の車輌運搬車における支持脚格納装置の第1変形例(本願第2実施例)を示しており、図17〜図19には図1〜図13の車輌運搬車における支持脚格納装置の第2変形例(本願第3実施例)を示しており、図20〜図22には図1〜図13の車輌運搬車における支持脚格納装置の第3変形例(本願第4実施例)を示している。又、図23〜図26には図1〜図13の車輌運搬車における支持脚部分の変形例(本願第5実施例)を示している。尚、図1〜図13の第1実施例と図14〜図16の第2実施例と図17〜図19の第3実施例の各車輌運搬車は、それぞれ本願請求項1、2、3及び4に相当し、図20〜図22の第4実施例の車輌運搬車は、本願請求項1、2、4及び5に相当し、図23〜図26の第5実施例の車輌運搬車は、本願請求項6、7及び8に相当するものである。
[第1〜第5の各実施例の共通構成]
まず、第1〜第5(図1〜図26)の各実施例で採用されている車輌運搬車の共通構成について、図1〜図13の第1実施例に基いて説明する。
本願の各実施例で採用されている車輌運搬車は、図1〜図5に示すように、左右一対のシャシフレーム11,11を有する車輌1と、各シャシフレーム11,11上のサブフレーム12,12に固定されたガイドレール2,2と、サブフレーム12,12の後端部においてそれぞれ傾動自在に支持された左右一対の傾斜フレーム3,3と、各傾斜フレーム3,3上に車輌前後方向に移動自在に支持された荷台4と、荷台4を傾斜フレーム3,3に対して車輌前後方向に移動させる伸縮シリンダ51を有し且つ該伸縮シリンダ51の伸縮動によって傾斜フレーム3,3を荷台4と共にガイドレール2,2に対して傾動させる傾動装置5とを備えて構成されている。
尚、以下の説明において、前方又は前部とは車輌1の前方側のことであり、後方又は後部とは車輌1の後方側のことである。
この各実施例で採用されている車輌1では、左右のシャシフレーム11,11上にそれぞれサブフレーム12,12が固定されている。各サブフレーム12,12の後端部は連結部13で連結されている。各サブフレーム12,12の各上面には、それぞれサブフレーム長さ方向に適宜間隔を隔てた複数位置に、後述する荷台4の各縦根太42,42を摺動させるための摺接板14,14・・が取付られている(図2、図4参照)。尚、他の実施例では、シャシフレーム11上にサブフレーム12を設けないものも採用でき、その場合は各シャシフレーム11,11上に上記摺接板14,14・・を取付けるとよい。
左右の各ガイドレール2,2は、それぞれ所定長さを有する断面コ型のフレーム材が使用されている。この各ガイドレール2,2は、それぞれ車輌前後方向に向けた状態で左右の各サブフレーム12,12に固定している。尚、サブフレーム12,12を使用しない場合には、ガイドレール2,2を直接シャシフレーム11,11に取付ける。
この各ガイドレール2,2の形状(案内軌条)は、伸縮シリンダ51の伸縮時に傾斜フレーム3,3をスムーズに(ほぼ等速で)傾動させ得るように設定されている。具体的には、各ガイドレール2,2は、前部に後方に向けて上り傾斜する上り傾斜部21と中間部に水平部22と後部に後方に向けて下り傾斜する下り傾斜部23とを連続して形成している。又、各ガイドレール2,2には、それぞれ全長に亘って内向きガイド溝24が形成されている。尚、他の実施例では、各ガイドレール2,2に形成されるガイド溝を外向きガイド溝としてもよい。
各傾斜フレーム3,3には、前後に長いH型鋼(コ型材を背中合わせに結合させた構造の部材でもよい)が使用されている。尚、この各傾斜フレーム3,3は、シャシフレーム11の全長よりかなり長い長さを有している。この各傾斜フレーム3,3の左右両側には、それぞれ全長に亘って内向きガイド溝31と外向きガイド溝32とが形成されている。又、この両傾斜フレーム3,3は、長さ方向の後端部付近において連結材33(図3)で連結されている。
各傾斜フレーム3,3の後端部には、それぞれ下向きの支持脚9が取付けられている。尚、この支持脚9の詳細については後述する。
各傾斜フレーム3,3は、長さ方向中央部よりやや後方寄り位置をサブフレーム12,12の後部連結部13上に傾動自在に支持(支持部8)している。この実施例では、該支持部8は、各傾斜フレーム3,3の下面に設けた各ブラケット82,82をサブフレーム12の後部連結部13に設けた各ブラケット81,81にそれぞれ支軸83で枢着している。そして、この実施例の各傾斜フレーム3,3は、図1に示すようにシャシフレーム11,11(サブフレーム12)上において水平状態となる格納姿勢と、図8〜図12に示すよう支持部8を中心にして支持脚9が接地した後傾姿勢との間で傾動し得るようになっている。
荷台4は、車輌載せ台41の下面に左右2本の縦根太42,42を有している。各縦根太42,42の後端部下面には、それぞれ接地ローラ43が取付けられている。又、荷台4の後端部には、煽り板44を起伏自在に取付けている。そして、この荷台4は、後述する移動体6を介して各傾斜フレーム3,3に対して車輌前後方向に移動させ得るようにしている。
車輌載せ台41上の前端部には、運搬すべき車輌を荷台4上に引き込むためのウインチ19(図1及び図3)が設けられている。尚、他の実施例では、ウインチ19はなくてもよい。
各サブフレーム12,12の各後端部(各ブラケット81,81部分)には、それぞれ荷台4の左右各縦根太42,42を受ける左右一対の受けローラ38,38が取付けられている。この各受けローラ38,38は、図1に示す荷台格納状態から図9に示す荷台後端部(ローラ43)が接地するまでの範囲で、荷台4の左右各縦根太42,42をそれぞれ下面側から支持して、該荷台4を安定状態で移動させるようにするものである。
傾動装置5は、上記ガイドレール2と、1本の伸縮シリンダ51と、該伸縮シリンダ51のチューブ52に取付けられていて各ガイドレール2,2の内向きガイド溝24,24に沿って移動する各ローラ55,55と、後述する各ローラ59,59で構成されている。尚、この実施例では、傾動装置5として後述の各ローラ59,59を構成要素の1つに入れているが、他の実施例では該各ローラ59,59を使用しないこともあり、その場合は該各ローラ59,59が傾動装置5の構成要素から外される。
伸縮シリンダ51のチューブ52には、図2及び図4に示すように、その前端部及び後端部にそれぞれ左右外向きに突出する軸を設けて該各軸の先端部にそれぞれ左右一対とする前後2組のローラ(前ローラ57,57、後ローラ58,58)を設けている。尚、他の実施例では、このローラ57,58に替えてスライダー(又はスライドプレート)で構成してもよい。そして、この伸縮シリンダ51は、シリンダロッド53を前部側に向けた状態で、該シリンダロッド53の先端部を各傾斜フレーム3,3の前端部に設けたブラケット36(図2、図4参照)に支軸35(図2参照)で連結するとともに、シリンダチューブ52の前後各端部に設けた前後2組の各ローラ57,57、58,58をそれぞれ左右の傾斜フレーム3,3の各内向きガイド溝31,31に沿って転動するようにして取付けている。従って、この伸縮シリンダ51は、伸縮時に傾斜フレーム3に対してシリンダチューブ52側が移動し、且つ前後・左右(合計4つ)の各ローラ57,57、58,58がそれぞれ各傾斜フレーム3,3の内向きガイド溝31,31に沿って移動するので、側面視において伸縮シリンダ51が傾斜フレーム3に対して平行姿勢を維持したままで伸縮するようになっている。
傾動装置5の一部となる左右1組のローラ55,55は、シリンダチューブ52の前部寄り位置においてそれぞれ短小な下向きアーム54,54の下端部に外向き状態で取付けられていて、それぞれガイドレール2,2の内向きガイド溝24,24内に嵌入されている。そして、この各ローラ55,55は、伸縮シリンダ51が伸縮すると、各ガイドレール2,2の内向きガイド溝24,24に沿って前後に移動し、そのとき伸縮シリンダ51を介して各傾斜フレーム3,3が支持部8を中心に傾動するようになっている。
ところで、ガイドレール2の下り傾斜部23の傾斜角は、ローラ55が該下り傾斜部23の範囲を移動する際に傾斜フレーム3が略一定の傾斜姿勢を維持するように設定している。即ち、図11に示すようにローラ55が下り傾斜部23の始端部に達した時点から、図12に示すように該ローラ55が下り傾斜部23の終端部付近に達するまでは、傾斜フレーム3に対して傾動作用が働かないようにしている。
又、各下向きアーム54,54の外面には、図2〜図4に示すようにそれぞれローラ59,59が取付けられている。この各ローラ59,59は、シリンダチューブ52の前後に取付けている各ローラ57,58と同様に、左右の傾斜フレーム3,3のそれぞれ内向きガイド溝31,31内に嵌入させている。又、上記実施例では、各ローラ59,59を各ガイド溝31,31に1個ずつ嵌入させたが、該ローラ59を各アーム54,54の前後にそれぞれ2個ずつ配置してその各2個のローラ59をそれぞれ各ガイド溝31,31に嵌入させるようにしてもよい。その場合は、各アーム54,54が一層安定状態でガイドされるとともに、各アーム54,54に大きな負荷が加わったりこねる作用が生じたとき等にも該アーム54,54を安定状態に維持させることができる。尚、各アーム54,54に符号59のローラ(前後に1個ずつでも2個ずつでもよい)を取付ける場合は、符号57で示す前側の各ローラを省略してもよい。
荷台4は、各傾斜フレーム3,3上を倍速装置Aによって伸縮シリンダ51の伸縮量の2倍の量だけ前後に移動し得るように設置されている。この倍速装置Aは、移動体6と左右のチエン7,7を有して構成されている。
移動体6は、左右のフレーム61,61を連結板62で連結するとともに、各フレーム61,61の内面にそれぞれ前後2つずつ(合計4つ)のローラ63,63・・を取付けている。移動体6の左右各側のローラ63,63・・は、それぞれ各傾斜フレーム3,3の外向きガイド溝32,32に嵌合されていて、移動体6が各傾斜フレーム3,3に沿って前後に移動し得るようになっている。尚、この移動体6は、側面視において各傾斜フレーム3,3に対して常に平行姿勢を維持した状態で前後移動する。
左右の各チエン7,7は、図3及び図4に示すようにそれぞれ2分割された第1分割チエン71と第2分割チエン72とを有している。尚、他の実施例では、該チエン7は1本のエンドレス状のものを使用してもよい。又、他の実施例では、チエン7に代えてワイヤを使用してもよい。
そして、この実施例では、各チエン7,7は、次のように取付けられている。まず伸縮シリンダ51のチューブ52の前端部及び後端部には、それぞれシリンダチューブ52の左右各外側にチエン巻掛け用の滑車(合計4つ)56,56・・が取付けられている。尚、この実施例では、各滑車56,56・・は、上記した前後2組のローラ57,57、58,58のそれぞれ内側において同軸上に設置されている。そして、図3及び図4に示すように、一方の各第1分割チエン71,71は、各後側の滑車56,56に巻掛けた状態で該各第1分割チエン71,71の前側端部を移動体6の連結板62に固定する一方、該各第1分割チエン71,71の後側端部を傾斜フレーム3,3に固定している。又、他方の各第2分割チエン72,72は、各前側の滑車56,56に巻掛けた状態で該各第2分割チエン72,72の前側端部を移動体6の連結板62に固定する一方、該各第2分割チエン72,72の後側端部を傾斜フレーム3,3に固定している。
荷台4は、移動体6に対して荷台前端部寄り位置において支軸(同軸上に左右2本ある)64により一点で枢着されている。即ち、図3及び図4において、移動体6の左右各フレーム61,61に形成した軸穴64aと荷台4の左右各縦根太42,42の前端部寄り位置に形成した軸穴64bにそれぞれ支軸64(図1、図2、図5参照)を挿通することによって、荷台4を移動体6に対して側面視において一点で枢着している。
そして、この倍速装置Aは、伸縮シリンダ51が伸縮すると、移動体6を前後の各滑車56,56及びチエン7(第1分割チエン71及び第2分割チエン72)によって伸縮シリンダ51の伸縮量の2倍の長さだけ前後移動せしめ、従って荷台4も移動体6とともに伸縮シリンダ51の伸縮量の2倍の長さだけ前後移動せしめるようになっている。
ところで、本願の各実施例において、例えば図12(第1実施例)に示すように傾斜フレーム3を最大後傾し荷台4を最後方位置まで移動させた状態では、図13(図16、図19、図22、図26も同様)に拡大図示するように、傾斜フレーム3の後端寄りの上面が荷台の車輌載せ台41の底面41aに干渉する虞れがある。そこで、本願各実施例では、図13(図16、図19、図22、図26も同様)に示すように車輌載せ台41の底面41aの前端部分を上り傾斜(傾斜面41b)させて、傾斜フレーム3が車輌載せ台底面41a(上り傾斜面41b)に干渉しないようにしている。
他方、車輌載せ台41の前端部に車輌引き込み用のウインチ19を設置する場合、上記のように車輌載せ台底面41aの前端部の上り傾斜面41b上にウインチ19を設置すると、該ウインチ19の設置高さが高くなり、該ウインチ19に荷台4上に積み込まれる積載車輌の前部下面が干渉する虞れが生じる。そこで、本願各実施例では、車輌載せ台底面41aの上り傾斜面41bにおけるウインチ設置位置を部分的に切欠いて、図13(図16、図19、図22、図26も同様)に示すようにウインチ19の下部側を上り傾斜面41bより下方に落とし込んだ状態で設置し、それによってウインチ19の設置高さを低くしている(ウインチ19上面が積載車輌の前部下面より低位置になって、該積載車輌の前部がウインチ19に干渉しない)。
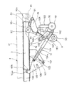
支持脚9は、左右の各傾斜フレーム3,3のそれぞれ後端部に同じものが1つずつ設置されている。又、この左右の各支持脚9,9は、連結材94(図7)で連結されていて、該各支持脚9,9が同時に前後揺動するようになっている。尚、左右の各支持脚9,9は同形のものが使用されているので、以下の説明では車輌前方側から見て右側の支持脚9で説明する。
[図1〜図13の第1実施例]
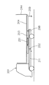
この第1実施例の車輌運搬車に使用されている支持脚9は、図6〜図8に拡大図示するように、上部側に前後に向く横向き腕部90aと該横向き腕部90aの前端から下方に延出させた下向き脚部90bとを有した逆L形部材90を使用している。そして、この支持脚9は、横向き腕部90aの後端部を傾斜フレーム3の後端部下面において支軸91で枢着して、下向き脚部90bが前後に揺動し得るように装着している。尚、横向き腕部90aの後端部(枢着部分)は、左右の傾斜フレーム3,3の後端部を連結している連結部33の下面に取付けたブラケット39に支軸91で枢着している。
逆L形部材90における横向き腕部90aと下向き脚部90bとの角部(横向き腕部90aの前端部)には、荷台受けローラ92を設けている。この荷台受けローラ92は、荷台4の縦根太42を受ける(載せる)ものであり、該荷台受けローラ92上に荷台の縦根太42が載っている状態では、後述するように支持脚9の前方側揺動を禁止するようになっている。
逆L形部材90における下向き脚部90bの下端部には、接地ローラ93を設けている。この接地ローラ93は、地面に接地した状態で転動し、支持脚9の前後揺動動作をスムーズに行わせるものである。
尚、この支持脚9における荷台受けローラ92の上端から接地ローラ93の下端までの長さは、特に限定するものではないが50cm程度が適当である。
支持脚9の下向き脚部90bには、後述(図12及び図13)するように傾斜フレーム3が最大後傾し且つ支持脚9の下向き脚部90bが前方側に最大揺動した時点で、傾斜フレーム3の下面に衝合して該支持脚9がそれ以上、前方側に揺動するのを禁止するためのストッパー15を取付けている。このストッパー15は、本願請求項2の構成となるものである。尚、この第1実施例では、該ストッパー15を支持脚9側に設けているが、他の実施例では、該ストッパー15を傾斜フレーム3側に設けて、傾斜フレーム3が上記最大後傾したときに(支持脚9の下向き脚部90bも最大揺動している)、傾斜フレーム3側のストッパー15が支持脚9(下向き脚部90b)に衝合するようにしてもよい。
上記支持脚9には、後述の後部バンパー16(本願請求項3の構成)が装着されている一方、該支持脚9は、荷台格納状態において後述する支持脚格納装置10(本願請求項4の構成)により前方揺動状態で格納されるようになっているが、該後部バンパー16及び支持脚格納装置10の説明の前に、この第1実施例の車輌運搬車の基本的な作動方法を説明する。
図1に示す荷台格納状態では、伸縮シリンダ51が全縮小していて、下向きアーム54のローラ55がガイドレール2の前部寄り位置(上り傾斜部21の前方)にあって傾斜フレーム3が水平姿勢となっており、且つ荷台4も最前位置において水平姿勢を維持している。尚、荷台4が格納姿勢状態にあるときには、荷台の縦根太42,42の前端部寄り位置が上記支軸64で移動体6に支持されている一方、各サブフレーム12,12の上面(摺接板14,14・・上)に荷台の縦根太42,42の下面が摺動自在に載置されている。
荷台4を車輌積込み姿勢まで作動させるには、伸縮シリンダ51を伸長させる。すると、シリンダチューブ52が後方に移動し、下向きアーム54に取付けられているローラ(左右一対ある)55がガイドレール2の上り傾斜部21を経て水平部22まで移動すると、図9に示すように支持脚9(後述する)が接地するまで傾斜フレーム3を後傾させるとともに、荷台4が倍速装置Aにより伸縮シリンダ伸長量の2倍長さだけ後方移動して荷台後端部の接地ローラ43が地面に接地する。
尚、図1に示す荷台格納状態から図9に示す荷台後端部の接地ローラ43が接地するまでの間は、荷台4が傾斜フレーム3に対して平行姿勢を維持しており、又、図8に示すように荷台4が傾斜フレーム3に対して所定小長さだけ後方移動した時点以降(図9の状態まで)は、支持脚9の荷台受けローラ92上に荷台の縦根太42の下面が衝合していて、支持脚9の下向き脚部90bが傾斜フレーム3に対して下向きに角度略90°方向に向いた姿勢で維持されている。即ち、支持脚9の荷台受けローラ92が荷台の縦根太42で上動するのを規制されていて、支持脚9が支軸91を中心にして前方側に揺動するのを禁止している。従って、図9の時点(荷台4が傾斜フレーム3に対して平行姿勢)では、支持脚9の姿勢が安定した状態で該支持脚9による傾斜フレーム後端部の支持高さが高くなっている。尚、図9の時点では、傾斜フレーム3の対地角が約10°であるので、支持脚9の下向き脚部90bも鉛直姿勢から角度約10°だけ前方側に揺動しているが、そのときの支持脚9による傾斜フレーム後端部の支持高さは、支持脚9の長さ(例えば50cm)よりごく短い程度の「高支持状態」(sin角80°×50cm=約49cm)となっている。その後、煽り板44を後方に倒伏して地面に接地させると、一般車高車Sを積込み得る姿勢(荷台対地角が10°程度)となる。
又、荷台4を図9の状態からさらに緩傾斜させるには、伸縮シリンダ51をさらに伸長させる。すると、荷台4の接地ローラ43が接地したまま荷台4がさらに後方移動して、図10に示すように荷台4の傾斜角が傾斜フレーム3の傾斜角より小さくなっていくが、荷台4は傾斜フレーム3(実質は移動体6)に対して荷台前端部の一点(支軸64の位置)を中心にして傾動し得るようになっているので、荷台4を傾斜フレーム3に対して支障なく傾動させることができる。又、荷台4の傾斜角が傾斜フレーム3の傾斜角より小さくなると、支持脚9の荷台受けローラ92に対する押圧規制が解除されて支持脚9が支軸91を中心にして前側に揺動可能となる。
そして、図11に示すように下向きアーム54のローラ55がガイドレール2の下り傾斜部23の始端位置に達した時点では、傾斜フレーム3がさらに後傾し(そのとき支持脚9が前方側に揺動して傾斜フレーム3の更なる後傾動作を許容する)、該傾斜フレーム3の後傾角が最大となる。又、傾斜フレーム3が最大後傾したときには(図13の拡大図示参照)、支持脚9側に取付けているストッパー15が傾斜フレーム3の下面に衝合し、該支持脚9がそれ以上、前方側に揺動するのを禁止している。従って、支持脚9は安定姿勢を維持した状態で傾斜フレーム後端部を支持している。
その後、荷台4がさらに後方移動して、図12に示すように荷台前端部が傾斜フレーム3の後端部付近に達したときに、伸縮シリンダ51の伸長が停止して荷台4の後方移動が完了する。図11の状態から図12に至る間は、下向きアーム54のローラ55がガイドレール2の下り傾斜部23を移動するので、傾斜フレーム3は最大傾斜角のままで維持されている。
この図12の状態では、図13に拡大図示するように支持脚9が前方側に大きく揺動して、支持脚9による傾斜フレーム後端部の支持高さが非常に低くなっている(「低支持状態」となる)。因に、傾斜フレーム3の最大後傾状態では、下向き脚部90bの対地角が約25°となっているが、接地ローラ93の接地点と支軸91を結ぶ線の実質対地角が約10°となる。従って、荷台4の前部がかなり低位置まで降下していて、荷台4が地上近傍の略水平位置まで降下しており、該荷台4が非常に緩い傾斜角(例えば2〜3°程度)で安定している。この図12の荷台緩傾斜状態では、一般車高車は当然であるが、低車高車であっても何ら問題なく乗り込ませることができる。
荷台4を車輌積込み状態から格納するには、伸縮シリンダ51を縮小させることで車輌積込み動作とは逆順序で格納させることができる。
ところで、荷台格納状態から伸縮シリンダ51を伸長させて、傾斜フレーム3を後傾させるとともに荷台4を後方移動させていき、支持脚9の接地ローラ93が接地する前で且つ荷台後端部の接地ローラ43も接地していない状態では(図9の状態に達する前)、傾斜フレーム3の後半部分に荷台4(及び積載車輌S)の荷重が加わっていて、その荷重で傾斜フレーム3を後傾させるような作用が働いているが、図9の状態に達する前には、ガイドレール2にガイトされている下向きアーム54のローラ55が傾斜フレーム3の支持部8からかなり前方に離間した位置にある。従って、支持脚9が非接地状態で傾斜フレーム3の後半部に荷台4側からの荷重が加わっても、傾斜フレーム3を支持している上記2点(ローラ55の位置と支持部8の位置)の間隔がまだ広いので、傾斜フレーム3に対する支持強度はまだ十分に残っている(傾斜フレーム3を安定姿勢で支持できている)。
上記のように、この実施例の車輌運搬車では、支持脚9を傾斜フレーム3の後端部において前後揺動自在に取付ける一方、荷台4の前後移動によって下向き脚部90bの前側揺動角を自動で変化させて、支持脚9を上記「高支持状態」(下向き脚部90bの対地角が約80°)と上記「低支持状態」(支持脚9の実質対地角が約10°)との2通りの支持状態で使用できるようにしている。
又、支持脚9を上記「高支持状態」から上記「低支持状態」に変更するのに、荷台後端部(接地ローラ43)を接地させた状態で、該荷台4をさらに後方移動させることで行えるので、該支持脚9による傾斜フレーム後端部の支持状態の変更を自動で行える。
尚、この実施例の車輌運搬車では、荷台4を上記通常傾斜角(支持脚9の「高支持状態」)と緩傾斜角(支持脚9の「低支持状態」)との間の傾斜角にした状態(例えば図10や図11の状態)においても、車輌の積込み及び積降ろしができるようになっている。
この第1実施例では、本願請求項3に対応する構成として、図6及び図7に拡大図示するように、支持脚9の下向き脚部90bに後部バンパー16を取付けている。この後部バンパー16にはコンビネーションランプ165が装着されている。尚、コンビネーションランプ165は左右一対有しているが、左右の各コンビネーションランプ165は、左右の各支持脚9のそれぞれ外側に配置されていて、図12及び図13に示す状態(側面視においてコンビネーションランプ165が支持脚9や傾斜フレーム3に交差している)でも、該コンビネーションランプ165が支持脚9や傾斜フレーム3等に干渉しないようになっている。
この後部バンパー16には、接地ローラ161と揺動アーム162(それぞれ左右に一対ある)とを取付けている。そして、揺動アーム162は、支持脚9の下向き脚部90bに支軸163で枢着して、後部バンパー16を支持脚9より後側において前後に揺動自在なる状態で装着している。
又、後部バンパー16は、付勢部材(コイルバネ)164により後部バンパー16側の接地ローラ161が支持脚9側の接地ローラ93に近接する方向に付勢している。尚、この付勢部材164は、支持脚9の下向き脚部90bと後部バンパー16側の揺動アーム162間に介設されている。後部バンパー16の揺動アーム162は、該揺動アーム162と支持脚9の下向き脚部90b間に設けたストッパー機構(係合部166と係合受部167)によって、それ以上、図6の右回転方向に回転しないようにしている。
尚、図1及び図6に示す荷台格納状態では、後述する支持脚格納装置10によって支持脚9が鉛直姿勢よりやや前方側に揺動した状態(下向き脚部90bの対地角が約70°)で格納されるが、上記ストッパー機構(係合部166と係合受部167)は、支持脚9の格納状態において後部バンパー16のコンビネーションランプ165を鉛直姿勢に維持するように設定している。
この後部バンパー16は、傾斜フレーム3の後傾動作に伴って次のように変位する。まず、後部バンパー16側の接地ローラ161は、図9に示すように傾斜フレーム3の後傾によって支持脚9の接地ローラ93が接地した後、図10に示すように支持脚9が若干前方側に揺動したときに接地する。従って、図10の状態では、両接地ローラ93,161が前後に近接した状態でそれぞれ接地している。
そして、該両接地ローラ93,161が共に接地した状態(図10)から、図11に示すように傾斜フレーム3がさらに後傾動作すると、傾斜フレーム後端部に下方押圧力が働いて、支持脚9の下部側が前方に揺動する(接地ローラ93が前方に転動する)とともに後部バンパー16の下部側が支軸163を中心にして後方に揺動する(接地ローラ161が後方に転動する)ようになる。即ち、支持脚9の下部側と後部バンパー16とが開脚状態に離間するようになる。
ところで、この第1実施例のように傾斜フレーム3の後端部に支持脚9(左右一対ある)を設けたものでは、上記後部バンパー16を支持脚9より後側に設置するが、その場合、該後部バンパー16は、傾斜フレーム3の後端部下方に取付けられて該傾斜フレーム3の後傾動作に伴って支持脚9とともに上下動する。そして、この第1実施例では、低車高車積込み時に支持脚9を上記「低支持状態」にして行う関係で、傾斜フレーム3の後端部がかなり地面に近づく位置(例えば地面から8〜9cmの高さ)まで下げられるが、そのとき後部バンパー16が傾斜フレーム後端部に対して定位置で不動状態で取付けられていると、該後部バンパー16の下端が先に接地して支持脚9を上記「低支持状態」まで変位させることができなくなる。
そこで、この第1実施例では、支持脚9を上記「低支持状態」まで前方側に揺動させ得るようにするために、支持脚9の接地ローラ93と後部バンパー16の接地ローラ161が共に接地した後、傾斜フレーム3の更なる後傾動作(傾斜フレームの後端部が下動する)により、支持脚9の下部側が前方に揺動するとともに後部バンパー16が支軸163を中心にして後方に揺動するようにしている(支持脚9の下部側と後部バンパー16とが開脚状態に揺動変位するようになる)。
従って、この第1実施例の車輌運搬車では、後部バンパー16を支持脚9に取付けたものであっても、後部バンパー16の下端(接地ローラ161)が接地した後に傾斜フレーム3の更なる後傾動作が可能となり、支持脚9を上記「低支持状態」にすることができる。
ところで、この第1実施例の車輌運搬車では、荷台格納状態を除いて荷台4が傾斜フレーム3に対して平行姿勢を維持している状態では、例えば図8に示すように支持脚9の荷台受けローラ92が荷台の縦根太42の長尺部分の下面に衝合していて、支持脚9の下向き脚部90bが傾斜フレーム3に対して下向きに略90°方向に向いた姿勢で維持されている。そして、図1及び図6に示す荷台格納状態(傾斜フレーム3が水平姿勢)において、支持脚9の下向き脚部90bが下向きに略90°方向(略鉛直方向)に向いていると、支持脚下端(接地ローラ93)が車輌後側寄りで低位置にあって、デパーチャアングル(車輌後輪の接地部から支持脚下端を結ぶ線より下方の空間)が小さくなる。そして、このようにデパーチャアングルが小さいと、荷台後傾使用時以外(特に車輌走行時)には支持脚下端が邪魔になることがある。
そこで、図1〜図13の第1実施例では、荷台4が格納位置にあるときに支持脚9の下向き脚部90bが鉛直姿勢より車輌前部側に揺動した格納姿勢(図1及び図6)で支持脚9を保持するための支持脚格納装置10を設けている。
ところで、この支持脚格納装置10を機能させる前提として、荷台4が格納位置にあるときには支持脚9が前方に揺動し得るようにする必要があるが、そのために荷台格納状態で支持脚9の荷台受けローラ92に対応する位置の荷台の縦根太42の下面に、図6に示すように上向き凹部(段差部)42aを設けている。
そして、図1〜図13に示す第1実施例では、支持脚格納装置10として、図6及び図7に示すように傾斜フレーム3の下面に固定したサポート101と、該サポート101に支軸103で枢着した揺動アーム102と、該揺動アーム102と後部バンパー16の揺動アーム162とを連係させる連係部材104とを有して構成されている。この第1実施例の支持脚格納装置10では、連係部材としてコンロッド104を使用している。
揺動アーム102は、その下端部がサポート101の下端部に支軸103で枢着されている。又、揺動アーム102の上端部には、荷台4側に設けた後述の押圧片42bが衝合するローラ102aが取付けられている。
荷台4側の押圧片42bは、図6に示すように荷台の車輌載せ台41の下面における、上記揺動アーム102のローラ102aと左右同位置の前後所定位置に下向き突出状態で取付けられている。
そして、荷台4が後方位置(例えば図8の状態)から図6に示すように完全格納位置まで前方移動したときに、荷台4側の押圧片42bが揺動アーム102のローラ102aを前方に押圧して、該揺動アーム102を支軸103を中心にして前方側に回転させるようにしている。
連係部材となるコンロッド104には、その前方側に長穴104aを設けており、揺動アーム102とコンロッド104とを連係する軸105が該長穴104a内で移動し得るようになっている。即ち、軸105は揺動アーム102側に固定されていて、揺動アーム102とコンロッド104とが長穴104aの範囲で相対変位し得るようになっている。
サポート101と揺動アーム102との間には、図8に示すように該揺動アーム102が過度に後方側に揺動しないようにするためのストッパー機構(係合部106と係合受部107)が設けられていて、揺動アーム102が後方側に揺動したときに上端部のローラ102aが荷台4側の押圧片42bの高さより下方に下がらないようにしている。
そして、この第1実施例の支持脚格納装置10は、次のように機能する。即ち、荷台4が後方位置にあって図8に示すように押圧片42bが揺動アーム102のローラ102aから後側に離間しているときには、後部バンパー16の揺動アーム162の位置によってコンロッド104を介して揺動アーム102が後方側に揺動されている。そして、荷台4が図8の状態から図6に示す格納位置まで前進すると、荷台の縦根太42の上向き凹部42aが支持脚9の荷台受けローラ92に対応する位置まで移動して支持脚9の前方側揺動を許容し、続いて荷台4側の押圧片42bが揺動アーム102のローラ102aを前側に押して該揺動アーム102を前側に揺動させる。すると、その揺動アーム102の前側揺動に伴ってコンロッド104を介して後部バンパー16の揺動アーム162を前側に引き寄せ、該揺動アーム162は支持脚9に対してストッパー機構(係合部166と係合受部167)で右回転が禁止されているとともに該揺動アーム162と支持脚9の下向き脚部90bとが支軸163で枢支されているので、コンロッド104による前方引っ張り分だけ支持脚9を前方側に揺動させた状態で位置保持させることができる。尚、図6に示す支持脚9の格納姿勢では、下向き脚部90bが鉛直姿勢より角度20°程度(対地角で約70°)前方側に揺動させた姿勢で位置保持している。
このように、支持脚格納装置10を設けていると、荷台4が後方位置から前方移動して格納位置に達したときに自動で支持脚9を所定角度だけ前方側に揺動させた姿勢で格納でき、上記したデパーチャアングルを大きく取れるという機能がある。
尚、コンロッド104に長穴104aを設けた理由は、図13に示すように支持脚9が前方側に大きく揺動したときに、揺動アーム102の軸105に対してコンロッド104のみが後方移動する(揺動アーム102を押さない)ようにするためのものである。
[図14〜図16の第2実施例]
図14〜図16に示す第2実施例は、上記第1実施例(図1〜図13)における支持脚格納装置10の変形例を示したものである。尚、この第2実施例における図14は第1実施例の図6に相当するものであり、同図15は第1実施例の図8に相当するものであり、同図16は第1実施例の図13に相当するものである。
図14〜図16に示す第2実施例の支持脚格納装置10では、連係部材として上記第1実施例のコンロッド104に代えて、チューブ114aとロッド114bを伸縮自在としたシリンダ形状の伸縮棒114を採用している。
この伸縮棒114は、チューブ114aの基端部をサポート101側の揺動アーム102に軸115で枢支している一方、ロッド114bの先端部を後部バンパー16側の揺動アーム162に軸116で枢支している。尚、この第2実施例の支持脚格納装置10におけるその他の構成は、第1実施例のものと同じである。
そして、この第2実施例の支持脚格納装置10では、図14に示すように、荷台4が格納状態では、荷台4側の押圧片42bが揺動アーム102のローラ102aを前方に押圧して伸縮棒114をストロークエンドまで伸長させた状態で、後部バンパー16の揺動アーム162を介して支持脚9を前方側に揺動させた姿勢(下向き脚部90bが対地角で約70°になっている)で位置保持している。従って、この状態では、支持脚9が前傾した格納状態となるので、上記デパーチャアングルを大きく取れる。
又、図14の荷台格納状態から荷台4が後方移動すると、図15に示すように押圧片42bが揺動アーム102から離間して伸縮棒114が縮小可能となり、さらに図16に示すように支持脚9のローラ93と後部バンパー16のローラ161とが開脚状態で接地している状態では伸縮棒114が最大縮小するようになっている(支持脚9による「低支持状態」が可能となる)。
[図17〜図19の第3実施例]
図17〜図19に示す第3実施例は、上記第1実施例(図1〜図13)における支持脚格納装置10の変形例を示したものである。尚、この第3実施例における図17は第1実施例の図6に相当するものであり、同図16は第1実施例の図8に相当するものであり、同図17は第1実施例の図13に相当するものである。
図17〜図19に示す第3実施例の支持脚格納装置10では、連係部材として、上記第1実施例のコンロッド104に代えて複合スプリング124を採用している。
この複合スプリング124は、ピアノ線からなる第1線材124aと第2線材124bとを長さ方向にスライドし得る状態で配置し、該第1線材124aと第2線材124bとをコイルバネ124cで縮小方向に付勢したものである。
そして、この複合スプリング124は、第1線材124aの基端部をサポート101側の揺動アーム102に軸125で枢支している一方、第2線材124bの先端部を後部バンパー16側の揺動アーム162に軸126で枢支している。
この第3実施例の支持脚格納装置10では、図17に示すように、荷台4が格納状態では、荷台4側の押圧片42bが揺動アーム102のローラ102aを前方に押圧して複合スプリング124をストロークエンドまで伸長させた状態で、後部バンパー16の揺動アーム162を介して支持脚9を前方側に揺動させた姿勢(下向き脚部90bが対地角で約70°になっている)で位置保持している。従って、この状態では、支持脚9が前傾した格納状態となるので、上記デパーチャアングルを大きく取れる。
又、図17の荷台格納状態から荷台4が後方移動すると、図18に示すように押圧片42bが揺動アーム102から離間して複合スプリング124が縮小し、さらに図19に示すように支持脚9のローラ93と後部バンパー16のローラ161とが開脚状態で接地している状態では複合スプリング124が最大縮小するようになっている(支持脚9による「低支持状態」が可能となる)。
この第3実施例のように、支持脚格納装置10に複合スプリング124を使用したものでは、サポート101側の揺動アーム102を常時後方側に付勢している。そして、図18に示すように、荷台4側の押圧片42bが揺動アーム102のローラ102aから離間した状態では、ストッパー機構(係合部106と係合受部107)が衝合した状態で揺動アーム102を後方側に付勢しているので、該揺動アーム102のグラツキを防止できるという機能が生じる。
[図20〜図22の第4実施例]
図20〜図22の第4実施例は、上記第1実施例(図1〜図13)における支持脚格納装置10の変形例を示したものである。尚、この第4実施例における図20は第1実施例の図6に相当するものであり、同図21は第1実施例の図8に相当するものであり、同図22は第1実施例の図13に相当するものである。
図20〜図22に示す第4実施例の車輌運搬車では、支持脚格納装置10として、上記第1〜第3の各実施例のようにコンロッドや伸縮棒や複合スプリング等で支持脚9を前方側から引っ張る構成に代えて、支持脚9側に設けた上向き後傾アーム131と荷台4側に設けたカム134とで構成している。
尚、この図20〜図22の第4実施例で使用されている支持脚9も、上記第1〜第3実施例のものと同様に、横向き腕部90aと該横向き腕部90aの前端部から下方に延出された下向き脚部90bからなる逆L形部材90を使用し、横向き腕部90aの後端部を支軸91で枢支している一方、横向き腕部90aと下向き脚部90bの角部に荷台受けローラ92を設け、さらに下向き脚部90bの下端部に接地ローラ93を設けている。
又、この第4実施例では、後部バンパー16は、左右の支持脚9を連結している連結材94に固定状態で取付けられており、該後部バンパー16にコンビネーションランプ165を取付けている。従って、この第4実施例では、後部バンパー16及びコンビネーションランプ165が支持脚9に対して姿勢変更不能となっている。そして、この第4実施例では、支持脚9が図22に示す最大前傾したときに、後部バンパー16が地面に干渉しないようにするために、該後部バンパー16及びコンビネーションランプ165を上記第1〜第3の各実施例の場合より高位置に取付けている。このように、後部バンパー16及びコンビネーションランプ165を支持脚9に対して固定的に取付けると、上記第1〜第3の各実施例のように後部バンパー16を支持脚9に対して揺動可能にしたり位置保持したりするための各種構成が不要となる。尚、この第4実施例では、支持脚9が図22に示すように最大前傾したときに、後部バンパー16の接地ローラ161が支持脚9の接地ローラ93と共に接地するようにしている。
支持脚格納装置10の一部となる支持脚9側の上向き後傾アーム131は、図20〜図22に示すように支持脚9の横向き腕部90aの後端部に上向き後方傾斜状態で固定されている。尚、この上向き後傾アーム131は、左右の各支持脚9にそれぞれ設けられている。この上向き後傾アーム131の先端部には、後述するようにカム134の下面に接して転動するローラ132が設けられている。又、この上向き後傾アーム131の長さ方向中間位置には、前方に向けて突出する突起133(後述の機能を有する)が固定されている。
他方、荷台4側のカム134(左右一対ある)は、車輌載せ台41の後端部下面における上記上向き後傾アーム131(左右一対ある)に対応する位置において、後方に向けて下降傾斜する傾斜部134aと該傾斜部134aの後端から水平方向に連続する段下げ部134bとを有している。尚、カム134の傾斜部134aは、図21において荷台4が後方側から前方側(格納側)に移動した際に上向き後傾アーム131のローラ132に衝合して該ローラ132を下方に押し下げ得るような緩い傾斜角度に設定されている。
この第4実施例で使用されている支持脚格納装置10は次のように機能する。まず、図20に示すように荷台4が格納状態では、上向き後傾アーム131(ローラ132)がカム134の段下げ部134bにより下方に押し下げられていて、支持脚9を支軸91を中心にして前方側に揺動させた姿勢(下向き脚部90bが対地角で約70°になっている)で位置保持している。従って、この状態では、支持脚9が前傾した格納状態となるので、上記デパーチャアングルを大きく取れる。
又、図20の荷台格納状態から荷台4が後方移動すると、図21に示すようにカム134が荷台4と共に後方移動して、該カム134による上向き後傾アーム131の先端部(ローラ132)に対する押し下げ作用が解除され、支持脚9が支軸91を中心にして後方側に揺動可能となる。又、図21に示すように荷台4が後方移動すると、支持脚9の荷台受けローラ92上に縦根太42の下面が乗り上げ、支持脚9の下向き脚部90bが傾斜フレーム3に対して下向きに角度略90°方向に向いた姿勢で維持される。
ところで、図21の状態では、支軸91による枢支と荷台受けローラ92上に縦根太42が乗っていることにより、支持脚9の下向き脚部90bが前方に揺動することはないが、該下向き脚部90bが後方に揺動するのを規制していない。そこで、この第4実施例では、図21の状態において、上向き後傾アーム131に設けた突起133の先端を傾斜フレーム3の後端面3aに近接(又は軽く接触)させるように位置させている。従って、支持脚9が支軸91を中心にして後方側に揺動しようとしても、該衝合突起133の先端が傾斜フレーム後端面3aに衝合することにより、該支持脚9を安定姿勢(前後揺動不能)で位置保持できるようになっている。
そして、荷台4をさらに後方移動させるとともに傾斜フレーム3を後傾作動させて、支持脚9の接地ローラ93が接地した時点では、支持脚9が図9(第1実施例)に示す「高支持状態」となり、その後さらに荷台4を最終位置まで後退させると図22に示すように支持脚9が前方側に大きく傾動して「低支持状態」となる。尚、図22の状態では、ストッパー15が傾斜フレーム3の下面に衝合して支持脚9が「低支持状態」で姿勢保持されている(上記第1実施例と同様)。
他方、荷台4を後方位置から格納操作させると、該荷台4が図21に示す格納直前位置から図20に示す格納位置まで前方移動する際に、荷台後端部のカム134の傾斜部134aが支持脚9側の上向き後傾アーム131のローラ132に衝合して該ローラ132を下方に押し下げ、荷台4が図20に示す格納位置まで移動した時点ではカム134の段下げ部134bがローラ132に衝合する。そして、カム134の段下げ部134bがローラ132に衝合している状態(図20の状態)では、該ローラ132及び上向き後傾アーム131を介して支持脚9全体が支軸91を中心にして自動で前方側に揺動しており、該支持脚9を前方傾動姿勢(格納姿勢)で維持させるようになっている。
この第4実施例(図20〜図22)で使用している支持脚格納装置10は、支持脚9側の上向き後傾アーム131と荷台4側のカム134のみで構成しているので、上記第1〜第3実施例で使用されている支持脚格納装置(各種の連係部材で前方に引っ張る構成のもの)に比して構成が極めて簡単となる。
[図23〜図26の第5実施例]
図23〜図26の第5実施例は、上記第1実施例(図1〜図13)における支持脚9の変形例を示したものである。尚、この第5実施例における図23は第1実施例の図6に相当するものであり、同図24は図23のXXIV−XXIV矢視図(後面図)であり、同図25は第1実施例の図8に相当するものであり、同図26は第1実施例の図13に相当するものである。
図23〜図26に示す第5実施例の車輌運搬車では、支持脚9として上記第1〜第4実施例の支持脚9とは前後逆向きの逆L形部材90を使用している。即ち、この第5実施例で使用されている支持脚9の逆L形部材90は、前後に向く横向き腕部90aの後端から下向き脚部90bを下方に延出させた形状のものである。尚、この第5実施例で使用されている支持脚9の逆L形部材90には、略台形の側板が使用されているが、この略台形状のものも、本願では逆L形部材として扱っている。
この支持脚9は、図24に示すように左右一対設置されている。そして、この各支持脚9は、図23及び図24に示すように横向き腕部90aの前端部を傾斜フレーム3の後端部においてそれぞれ支軸91で枢支し、さらに横向き腕部90aと下向き脚部90bとの角部に荷台4の縦根太42を受ける荷台受けローラ92を設けているとともに、下向き脚部90bの下端部に接地ローラ93を設けている。
支持脚9の支軸91は、図23及び図24に示すように左右の傾斜フレーム3,3の後端付近を連結している連結材33の左右各端面からそれぞれ外向きに突出させており、該各支軸91で各支持脚9の横向き腕部90aの前端寄り部分を枢支している。又、この各支軸91には、荷台4の縦根太42の下面を補助的に受ける別の荷台受けローラ95が枢支されていて、図25に示すように荷台4の縦根太42が傾斜フレーム3に平行姿勢で前後動するときに、横向き腕部90aの前後にある2つの荷台受けローラ95,92で荷台縦根太42の下面を支持するようになっている。
逆L形部材90の横向き腕部90aの前部には、支軸91による枢支部より前方に突出する前方突出部90cが一体的に延出されている。尚、この前方突出部90cの機能については後述する。
この第5実施例では、後部バンパー16は、図23に示すように支持脚9の接地ローラ93と同軸状態で、図24に示すように左右の各支持脚9,9間の1つと該各支持脚9,9のそれぞれ外面に位置する2つの合計3分割されたものを使用している。尚、この各(3つの)後部バンパー16,16,16は、それぞれ接地ローラ93,93の各ホルダー部分に溶接して固定されている。又、左右のコンビネーションランプ165,165は、図24に示すように、各支持脚9,9の外面側の各後部バンパー16,16部分にそれぞれ取付けられている。このように、後部バンパー16及びコンビネーションランプ165を支持脚9に対して固定的に取付けると、上記第1〜第3の各実施例のように後部バンパー16を支持脚9に対して揺動可能にしたり位置保持したりするための各種構成が不要となる。
又、この第5実施例では、後述するように支持脚9が図26に示す「低支持状態」まで後傾した状態で該支持脚9がそれ以上後傾するのを防止するためのストッパー15(本願請求項7に相当)を設けている。この第5実施例では、該ストッパー15は左右一対有し(図24参照)、該各ストッパー15,15を左右の逆L形部材90,90の内面からそれぞれ各傾斜フレーム3,3の直下位置まで内向きに突出させている。そして、この各ストッパー15,15は、図26に示すように傾斜フレーム3が最大後傾するとともに支持脚9が最大後傾した状態(「低支持状態」)で、それぞれ傾斜フレーム3(左右一対ある)の後端下面に衝合するように配置されている。尚、このストッパー15の機能は後述する。
この第5実施例の支持脚9にも、荷台4の格納状態(図23)において上記デパーチャアングルを大きくとるための支持脚格納装置10が用いられている。この第5実施例で使用されている支持脚格納装置10は、逆L形部材90の横向き腕部90aの前端部寄り上部において上向きに突出させた上向きアーム141と荷台4側に設けた押圧片142とで構成されている。上向きアーム141は、図23及び図24に示すように荷台縦根太42の外側面近傍位置において上向きに設置されている一方、押圧片142は荷台縦根太42の外側面から外向きに突出させている。尚、上向きアーム141及び押圧片142は、それぞれ左右に一対ずつ設けられている。
この第5実施例で使用されている支持脚格納装置10は次のように機能する。まず、図23に示す荷台格納状態では、荷台縦根太42に設けた押圧片142が支持脚9側の上向きアーム141に衝合して該上向きアーム141を前方側に押圧しており、それによって支持脚9を支軸91を中心にして後方側に傾動させた格納状態(下向き脚部90bの対地角が約70°の状態)で位置保持している。尚、図23に示す支持脚格納状態では、支持脚9が支軸91と押圧片142(上向きアーム141に衝合)とで位置保持されているものの、車輌走行時の振動で該支持脚9が前後揺動方向にガタつくことがあり、その防止策として、この第5実施例では、荷台縦根太42の後端寄り位置(上向き凹部42aの下面)に荷台格納状態(図23の状態)で荷台受けローラ92の後面に近接(又は軽く接触)するストッパー143を設けている。
この第5実施例における支持脚9の格納姿勢(図23)では、該支持脚9が上記第1〜第4実施例のものとは逆向きの後方側に傾斜しているが、この支持脚後傾状態でも鉛直姿勢の場合より支持脚下端(接地ローラ93)の高さ位置を上げることができるので、上記第1〜第4実施例のもの(前傾姿勢)より上記デパーチャアングルが小さくなるものの、それでも鉛直姿勢の状態より該デパーチャアングルを大きく取れる。
又、図23の荷台格納状態から荷台4が後方移動すると、図25に示すように押圧片142も後退する一方(上向きアーム141に対する押圧力が解除される)、後側の荷台受けローラ92上に縦根太42の長尺部分の下面が乗り上げ、支持脚9の下向き脚部90bが傾斜フレーム3に対して下向きに角度略90°方向に向いた姿勢で維持される。
ところで、図25の状態では、支軸91による枢支と荷台受けローラ92上に縦根太42が乗っていることにより、支持脚9の下向き脚部90bが後方に揺動することはないが、該下向き脚部90bが前方に揺動するのを規制していない。そこで、この第5実施例では、図25の状態において、逆L形部材90の横向き腕部90aの前方突出部90cの先端を縦根太42の下面に近接(又は軽く接触)させるように位置させている。従って、支持脚9が支軸91を中心にして前方側に揺動しようとしても、該前方突出部90cの先端が縦根太42下面に衝合することにより、該支持脚9を安定姿勢(前後揺動不能)で位置保持できるようになっている。
そして、荷台4をさらに後方移動させるとともに傾斜フレーム3を後傾作動させて、支持脚9の接地ローラ93が接地した時点では、支持脚9が図9(第1実施例)に示す「高支持状態」となり、その後さらに荷台4を最終位置まで後退させると図26に示すように傾斜フレーム3が最大後傾するとともに支持脚9が後方側に大きく傾動して「低支持状態」となる。
又、図26に示すように、傾斜フレーム3が最大後傾するとともに支持脚9が最大後傾したときには、逆L形部材90に取付けているストッパー15(左右一対ある)が傾斜フレーム3(左右一対ある)の後端部下面に衝合するようになっている。従って、図26に示す「低支持状態」では、傾斜フレーム3がさらに後傾しようとしても、傾斜フレーム後端部下面が支持脚9側のストッパー15で支持されているので、該支持脚9が「低支持状態」で姿勢保持されている。
又、この第5実施例の場合は、図26に示すように支持脚9を最大後傾させたときに、荷台受けローラ92が荷台4側の縦根太42の下面より上方に位置するが、この第5実施例では、該荷台受けローラ92が縦根太42に干渉しないようにするために、該縦根太42の前端部寄り部分(符号42bで示す傾斜線より前方部分)を切除して、該荷台受けローラ92を収容するための空間部を設けている。尚、この場合、縦根太42の前端部を切除している関係で、移動体6を荷台4の前部に支軸64で連結するために、該荷台4の前部に該支軸64を支持するためのブラケット45(左右一対ある)を取付けている。
他方、荷台4を後方位置から格納操作させると、該荷台4が図25に示す格納直前位置から図23に示す格納位置まで前方移動する際に、荷台(縦根太42)側の押圧片142が支持脚9側の上向きアーム141に衝合して該上向きアーム141を前方に押圧し、荷台4が図23に示す格納位置まで移動した時点では押圧片142が上向きアーム141を介して支持脚9全体を自動で後方側に揺動させて、該支持脚9を後方傾動姿勢(格納姿勢)で維持させるようになっている。
この第5実施例(図23〜図26)で使用している支持脚格納装置10では、支持脚9側の上向きアーム141と荷台4(縦根太42)側の押圧片142のみで構成しているので、上記第1〜第3実施例で使用されている支持脚格納装置(各種の連係部材で前方に引っ張る構成のもの)に比して構成が極めて簡単となる。
尚、本願の車輌運搬車は、上記各実施例のものから次のように変更することができる。
まず、上記実施例では、1本の伸縮シリンダ51で、傾斜フレーム3の傾動と荷台4の前後移動とを同時に行えるようにしているが、大出力が必要でスペースが許される大型車では該伸縮シリンダ51を2本以上並列配置するようにしてもよい。
又、上記実施例では、1本の伸縮シリンダ51で傾斜フレーム3の傾動と荷台4の前後動とを行わせるようにしているが、傾斜フレーム3の傾動と荷台4の前後動とを別々の伸縮シリンダで行わせるようにしてもよい。
又、第1〜第5の各実施例において、支持脚格納装置10は、左右各側に1セットずつ設置されているが、この支持脚格納装置10は左右いずれか片側のみに設けたものでもよい。その場合、左右の支持脚9,9は連結材94(例えば図7のもの)で連結されているので、片側だけの支持脚格納装置10であっても各支持脚9,9を同期作動させることができる。尚、1セットの支持脚格納装置10のみを使用する場合は、両支持脚9,9を連結している連結材94の左右中間位置に該支持脚格納装置10を設置してもよい。
本願第1実施例の支持脚格納装置を採用した車輌運搬車における荷台格納状態の側面図である。 図1の車輌運搬車の一部拡大平面図である。 図1の車輌運搬車の分解図である。 図2の分解状態における一部斜視図である。 図1のV−V拡大断面図である。 図1の車輌運搬車に使用されている支持脚付近の拡大図である。 図6の平面図である。 図6の状態変化図である。 図1の車輌運搬車における荷台通常傾斜角状態の側面図である。 図9からの状態変化図(荷台緩傾斜角状態への第1の移行過程図)である。 図10からの状態変化図(荷台緩傾斜角状態への第2の移行過程図)である。 図1の車輌運搬車における荷台緩傾斜角状態の側面図である。 図12の一部拡大図である。 本願第2実施例の支持脚格納装置を採用した車輌運搬車の一部拡大側面図(図6相当図)である。 図14の状態変化図(図8相当図)である。 図15の状態変化図(図13相当図)である。 本願第3実施例の支持脚格納装置を採用した車輌運搬車の一部拡大側面図(図6相当図)である。 図17の状態変化図(図8相当図)である。 図18の状態変化図(図13相当図)である。 本願第4実施例の支持脚格納装置を採用した車輌運搬車の一部拡大側面図(図6相当図)である。 図20の状態変化図(図8相当図)である。 図21の状態変化図(図13相当図)である。 本願第5実施例の支持脚格納装置を採用した車輌運搬車の一部拡大側面図(図6相当図)である。 図23のXXIV−XXIV矢視図である。 図23の状態変化図(図8相当図)である。 図24の状態変化図(図13相当図)である。 公知の車輌運搬車の説明図である。 図20の車輌運搬車における荷台通常傾斜角状態の側面図である。 図20の車輌運搬車における荷台緩傾斜角状態の側面図である。
符号の説明
1は車輌(運搬車)、2はガイドレール、3は傾斜フレーム、4は荷台、5は傾動装置、6は移動体、7はチエン、8は支持部、9は支持脚、10は支持脚格納装置、11はシャシフレーム、12はサブフレーム、15はストッパー、16は後部バンパー、17は補助支持脚、42は荷台の縦根太、42aは上向き凹部、42bは押圧片、51は伸縮シリンダ、90は逆L形部材、90aは横向き腕部、90bは下向き脚部、91は支軸、92は荷台受けローラ、93は接地ローラ、101はサポート、102は揺動アーム、103は支軸、104は連係部材(コンロッド)、114は連係部材(伸縮棒)、124は連係部材(複合スプリング)、131は上向き後傾アーム、134はカム、141は上向きアーム、142は押圧片、165はコンビネーションランプ、Aは倍速装置である。

Claims (8)

  1. シャシフレーム(11)を有する車輌(1)と、前記シャシフレーム(11)の後端部位置において傾動自在に支持された傾斜フレーム(3)と、該傾斜フレーム(3)上に車輌前後方向に移動自在に支持された荷台(4)と、該荷台(4)を前記傾斜フレーム(3)に対して車輌前後方向に移動させる伸縮シリンダ(51)と、前記傾斜フレーム(3)を傾動させ得るようにした傾動装置(5)と、前記傾斜フレーム(3)の後端部に設置されていて該傾斜フレーム(3)の後傾時に接地して荷台(4)の荷重を支持する支持脚(9)とを備えた車輌運搬車であって、
    前記荷台(4)は、前記支持脚(9)が接地した状態で、前記傾斜フレーム(3)に平行な姿勢と該傾斜フレーム(3)の傾斜角より緩い傾斜姿勢とに変位し得るようにし、
    前記支持脚(9)は、上部側に前後に向く横向き腕部(90a)と該横向き腕部の前端から下方に延出させた下向き脚部(90b)とを有した逆L形部材(90)を使用し、前記横向き腕部(90a)の後端部を前記傾斜フレーム(3)の後端部において前記下向き脚部(90b)が前後に揺動し得る状態で支軸(91)により枢支し、さらに前記横向き腕部(90a)と下向き脚部(90b)との角部に前記荷台(4)を受ける荷台受けローラ(92)を設けている一方、前記下向き脚部(90b)の下端部に接地ローラ(93)を設けているとともに、
    前記傾斜フレーム(3)が後傾動作を開始後、該傾斜フレーム(3)と前記荷台(4)とが平行姿勢を維持している状態では、該荷台(4)が前記荷台受けローラ(92)上に載っていて前記下向き脚部(90b)が前記傾斜フレーム(3)に対して下向きに角度略90°方向に向いた姿勢で維持されている一方、前記接地ローラ(93)が接地後に荷台(4)がさらに後退移動して該荷台(4)が傾斜フレーム(3)より緩い傾斜姿勢になったときに前記荷台受けローラ(92)に対して荷台(4)による押圧力が解除されて前記傾斜フレーム(3)の後部に加わる下動力より前記支持脚(9)が前記支軸(91)を中心にして車輌前方側に揺動するように構成されている、
    ことを特徴とする車輌運搬車。
  2. 請求項1において、
    支持脚(9)の逆L形部材(90)又は傾斜フレーム(3)に、該傾斜フレーム(3)が最大後傾し支持脚(9)の下向き脚部(90b)が車輌前方側に最大揺動した時点で前記傾斜フレーム(3)又は前記逆L形部材(90)に衝合して、前記支持脚(9)がそれ以上前方側に揺動するのを禁止するためのストッパー(15)を設けている、
    ことを特徴とする車輌運搬車。
  3. 請求項1又は2において、
    シャシフレーム(11)の後部寄り下方に設置される後部バンパー(16)に接地ローラ(161)と揺動アーム(162)とを取付け、該揺動アーム(162)を支持脚(9)の下向き脚部(90b)に支軸(163)で枢着して前記後部バンパー(16)を支持脚(9)より後側において前後に揺動自在なる状態で装着し、前記後部バンパー(16)を付勢部材(164)により後部バンパー(16)側の接地ローラ(161)が支持脚(9)側の接地ローラ(93)に近接する方向に付勢している一方、傾斜フレーム(3)の後傾時に支持脚(9)の接地ローラ(93)と後部バンパー(16)の接地ローラ(161)とがそれぞれ接地した後、前記傾斜フレーム(3)の更なる後傾動作による下方押圧力により、支持脚(9)の下部側が前方に揺動するとともに後部バンパー(16)の下部側が支軸(163)を中心にして後方に揺動するように構成している、
    ことを特徴とする車輌運搬車。
  4. 請求項1から3のいずれか1項において、
    荷台(4)と支持脚(9)との間に、前記荷台(4)がシャシフレーム(11)上の格納位置にあるときに前記支持脚(9)をその下向き脚部(90b)が鉛直姿勢より車輌前部側に揺動した格納姿勢で保持するための支持脚格納装置(10)を設けている、
    ことを特徴とする車輌運搬車。
  5. 請求項4において、
    支持脚格納装置(10)は、支持脚(9)の横向き腕部(90a)の上部に上向き後方傾斜状態で突出させた上向き後傾アーム(131)と、荷台(4)の後端部下面に該荷台(4)が格納位置にあるときに前記上向き後傾アーム(131)の上端部(132)を押し下げ得るカム(132)とを有し、前記荷台(4)の格納状態では前記カム(132)が前記上向き後傾アーム(131)の上端部(132)を押し下げることで前記支持脚(9)を格納姿勢で保持するように構成したものである、
    ことを特徴する車輌運搬車。
  6. シャシフレーム(11)を有する車輌(1)と、前記シャシフレーム(11)の後端部位置において傾動自在に支持された傾斜フレーム(3)と、該傾斜フレーム(3)上に車輌前後方向に移動自在に支持された荷台(4)と、該荷台(4)を前記傾斜フレーム(3)に対して車輌前後方向に移動させる伸縮シリンダ(51)と、前記傾斜フレーム(3)を傾動させ得るようにした傾動装置(5)と、前記傾斜フレーム(3)の後端部に設置されていて該傾斜フレーム(3)の後傾時に接地して荷台(4)の荷重を支持する支持脚(9)とを備えた車輌運搬車であって、
    前記荷台(4)は、前記支持脚(9)が接地した状態で、前記傾斜フレーム(3)に平行な姿勢と該傾斜フレーム(3)の傾斜角より緩い傾斜姿勢とに変位し得るようにし、
    前記支持脚(9)は、上部側に前後に向く横向き腕部(90a)と該横向き腕部の後端から下方に延出させた下向き脚部(90b)とを有した逆L形部材(90)を使用し、前記横向き腕部(90a)の前端部を前記傾斜フレーム(3)の後端部において前記下向き脚部(90b)が前後に揺動し得る状態で支軸(91)により枢支し、さらに前記横向き腕部(90a)と下向き脚部(90b)との角部に前記荷台(4)を受ける荷台受けローラ(92)を設けている一方、前記下向き脚部(90b)の下端部に接地ローラ(93)を設けているとともに、
    前記傾斜フレーム(3)が後傾動作を開始後、該傾斜フレーム(3)と前記荷台(4)とが平行姿勢を維持している状態では、該荷台(4)が前記荷台受けローラ(92)上に載っていて前記下向き脚部(90b)が前記傾斜フレーム(3)に対して下向きに角度略90°方向に向いた姿勢で維持されている一方、前記接地ローラ(93)が接地後に荷台(4)がさらに後退移動して該荷台(4)が傾斜フレーム(3)より緩い傾斜姿勢になったときに前記荷台受けローラ(92)に対して荷台(4)による押圧力が解除されて前記傾斜フレーム(3)の後部に加わる下動力より前記支持脚(9)が前記支軸(91)を中心にして車輌後方側に揺動するように構成されている、
    ことを特徴とする車輌運搬車。
  7. 請求項6において、
    支持脚(9)の逆L形部材(90)又は傾斜フレーム(3)に、該傾斜フレーム(3)が最大後傾し支持脚(9)の下向き脚部(90b)が車輌後方側に最大揺動した時点で前記傾斜フレーム(3)又は前記逆L形部材(90)に衝合して、前記支持脚(9)がそれ以上後方側に揺動するのを禁止するためのストッパー(15)を設けている、
    ことを特徴とする車輌運搬車。
  8. 請求項6又は7において、
    荷台(4)と支持脚(9)との間に、前記荷台(4)がシャシフレーム(11)上の格納位置にあるときに前記支持脚(9)をその下向き脚部(90b)が鉛直姿勢より車輌後部側に揺動した格納姿勢で保持するための支持脚格納装置(10)を設けている、
    ことを特徴とする車輌運搬車。
JP2008243831A 2008-08-05 2008-09-24 車輌運搬車 Active JP5224987B2 (ja)

Priority Applications (1)

Application Number Priority Date Filing Date Title
JP2008243831A JP5224987B2 (ja) 2008-08-05 2008-09-24 車輌運搬車

Applications Claiming Priority (3)

Application Number Priority Date Filing Date Title
JP2008201447 2008-08-05
JP2008201447 2008-08-05
JP2008243831A JP5224987B2 (ja) 2008-08-05 2008-09-24 車輌運搬車

Publications (3)

Publication Number Publication Date
JP2010058776A true JP2010058776A (ja) 2010-03-18
JP2010058776A5 JP2010058776A5 (ja) 2011-11-04
JP5224987B2 JP5224987B2 (ja) 2013-07-03

Family

ID=42186075

Family Applications (1)

Application Number Title Priority Date Filing Date
JP2008243831A Active JP5224987B2 (ja) 2008-08-05 2008-09-24 車輌運搬車

Country Status (1)

Country Link
JP (1) JP5224987B2 (ja)

Cited By (6)

* Cited by examiner, † Cited by third party
Publication number Priority date Publication date Assignee Title
JP2011131757A (ja) * 2009-12-25 2011-07-07 Tadano Ltd 荷台移動式運搬車における荷台接地状態報知装置
JP2012046012A (ja) * 2010-08-25 2012-03-08 Tadano Ltd 車両運搬車
JP2012046013A (ja) * 2010-08-25 2012-03-08 Tadano Ltd 車両運搬車
JP2012046011A (ja) * 2010-08-25 2012-03-08 Tadano Ltd 車両運搬車
JP2016084012A (ja) * 2014-10-24 2016-05-19 古河産機システムズ株式会社 貨物自動車用荷台支持脚およびこれを備える貨物自動車
KR20200144431A (ko) * 2019-06-18 2020-12-29 주식회사 월드 견인차량용 아웃트리거

Citations (6)

* Cited by examiner, † Cited by third party
Publication number Priority date Publication date Assignee Title
JP2000108769A (ja) * 1998-10-02 2000-04-18 Kyokuto Kaihatsu Kogyo Co Ltd 貨物自動車
JP2001233116A (ja) * 2000-02-18 2001-08-28 Kyokuto Kaihatsu Kogyo Co Ltd 貨物自動車におけるボディ規制装置
JP2001233117A (ja) * 2000-02-18 2001-08-28 Kyokuto Kaihatsu Kogyo Co Ltd 貨物自動車におけるボディ位置修正装置
JP2007302085A (ja) * 2006-05-10 2007-11-22 Tadano Ltd 車輌運搬車の荷台後傾機構
JP2009006765A (ja) * 2007-06-26 2009-01-15 Furukawa Industrial Machinery Systems Co Ltd 貨物自動車用荷台昇降装置、およびこれを備える貨物自動車
JP2009067299A (ja) * 2007-09-14 2009-04-02 Kyokuto Kaihatsu Kogyo Co Ltd 荷台部積み降ろし車両

Patent Citations (6)

* Cited by examiner, † Cited by third party
Publication number Priority date Publication date Assignee Title
JP2000108769A (ja) * 1998-10-02 2000-04-18 Kyokuto Kaihatsu Kogyo Co Ltd 貨物自動車
JP2001233116A (ja) * 2000-02-18 2001-08-28 Kyokuto Kaihatsu Kogyo Co Ltd 貨物自動車におけるボディ規制装置
JP2001233117A (ja) * 2000-02-18 2001-08-28 Kyokuto Kaihatsu Kogyo Co Ltd 貨物自動車におけるボディ位置修正装置
JP2007302085A (ja) * 2006-05-10 2007-11-22 Tadano Ltd 車輌運搬車の荷台後傾機構
JP2009006765A (ja) * 2007-06-26 2009-01-15 Furukawa Industrial Machinery Systems Co Ltd 貨物自動車用荷台昇降装置、およびこれを備える貨物自動車
JP2009067299A (ja) * 2007-09-14 2009-04-02 Kyokuto Kaihatsu Kogyo Co Ltd 荷台部積み降ろし車両

Cited By (7)

* Cited by examiner, † Cited by third party
Publication number Priority date Publication date Assignee Title
JP2011131757A (ja) * 2009-12-25 2011-07-07 Tadano Ltd 荷台移動式運搬車における荷台接地状態報知装置
JP2012046012A (ja) * 2010-08-25 2012-03-08 Tadano Ltd 車両運搬車
JP2012046013A (ja) * 2010-08-25 2012-03-08 Tadano Ltd 車両運搬車
JP2012046011A (ja) * 2010-08-25 2012-03-08 Tadano Ltd 車両運搬車
JP2016084012A (ja) * 2014-10-24 2016-05-19 古河産機システムズ株式会社 貨物自動車用荷台支持脚およびこれを備える貨物自動車
KR20200144431A (ko) * 2019-06-18 2020-12-29 주식회사 월드 견인차량용 아웃트리거
KR102292801B1 (ko) * 2019-06-18 2021-08-25 주식회사 월드 견인차량용 아웃트리거

Also Published As

Publication number Publication date
JP5224987B2 (ja) 2013-07-03

Similar Documents

Publication Publication Date Title
JP5224987B2 (ja) 車輌運搬車
JP4974705B2 (ja) 車輌運搬車
WO2010004615A1 (ja) 車輌運搬車
JP2008207573A5 (ja)
JP2009006765A (ja) 貨物自動車用荷台昇降装置、およびこれを備える貨物自動車
JP4583879B2 (ja) 車輌運搬車
JP5543759B2 (ja) 貨物自動車用荷台支持脚およびこれを備える貨物自動車
JP2007302085A (ja) 車輌運搬車の荷台後傾機構
JP6285262B2 (ja) 貨物自動車用バンパ装置およびこれを備える貨物自動車
JP2008149989A (ja) 貨物自動車用突入防止装置、およびこれを備える貨物自動車
JP5581149B2 (ja) 荷台移動式運搬車
JP5411647B2 (ja) 車輌運搬車の荷台調芯装置
JP5261166B2 (ja) 車輌運搬車における荷台移動用の伸縮シリンダ組立構造
JP4310260B2 (ja) 荷受台昇降装置
JP3619213B2 (ja) 荷台移動傾斜装置
JP3110508U (ja) 格納式荷受台昇降装置及びそれを車体枠に取り付ける方法
JP6264655B2 (ja) 貨物自動車用荷台支持脚およびこれを備える貨物自動車
JP2001130310A (ja) 荷台傾斜式貨物自動車の支持脚
JP2007083758A (ja) 車輌運搬車
JP4310257B2 (ja) 荷受台昇降装置
JP2007276744A (ja) 車両運搬車の荷台移動装置
JP2003025901A (ja) 格納式荷受台昇降装置における荷受台格納装置
JP4451272B2 (ja) 荷受台昇降装置
JP7181500B2 (ja) 車両運搬車
JP6359944B2 (ja) 貨物自動車用荷台支持脚およびこれを備える貨物自動車

Legal Events

Date Code Title Description
A521 Request for written amendment filed

Free format text: JAPANESE INTERMEDIATE CODE: A523

Effective date: 20110920

A621 Written request for application examination

Free format text: JAPANESE INTERMEDIATE CODE: A621

Effective date: 20110920

RD02 Notification of acceptance of power of attorney

Free format text: JAPANESE INTERMEDIATE CODE: A7422

Effective date: 20111219

A977 Report on retrieval

Free format text: JAPANESE INTERMEDIATE CODE: A971007

Effective date: 20121228

TRDD Decision of grant or rejection written
A01 Written decision to grant a patent or to grant a registration (utility model)

Free format text: JAPANESE INTERMEDIATE CODE: A01

Effective date: 20130219

A61 First payment of annual fees (during grant procedure)

Free format text: JAPANESE INTERMEDIATE CODE: A61

Effective date: 20130312

R150 Certificate of patent or registration of utility model

Free format text: JAPANESE INTERMEDIATE CODE: R150

Ref document number: 5224987

Country of ref document: JP

Free format text: JAPANESE INTERMEDIATE CODE: R150

FPAY Renewal fee payment (event date is renewal date of database)

Free format text: PAYMENT UNTIL: 20160322

Year of fee payment: 3

R250 Receipt of annual fees

Free format text: JAPANESE INTERMEDIATE CODE: R250

R250 Receipt of annual fees

Free format text: JAPANESE INTERMEDIATE CODE: R250

R250 Receipt of annual fees

Free format text: JAPANESE INTERMEDIATE CODE: R250

R250 Receipt of annual fees

Free format text: JAPANESE INTERMEDIATE CODE: R250

R250 Receipt of annual fees

Free format text: JAPANESE INTERMEDIATE CODE: R250

R250 Receipt of annual fees

Free format text: JAPANESE INTERMEDIATE CODE: R250

R250 Receipt of annual fees

Free format text: JAPANESE INTERMEDIATE CODE: R250