JP2010056069A - コンタクト及びこれを用いたicソケット - Google Patents

コンタクト及びこれを用いたicソケット Download PDF

Info

Publication number
JP2010056069A
JP2010056069A JP2009121182A JP2009121182A JP2010056069A JP 2010056069 A JP2010056069 A JP 2010056069A JP 2009121182 A JP2009121182 A JP 2009121182A JP 2009121182 A JP2009121182 A JP 2009121182A JP 2010056069 A JP2010056069 A JP 2010056069A
Authority
JP
Japan
Prior art keywords
contact
arm portion
arm
socket
arcuate protrusion
Prior art date
Legal status (The legal status is an assumption and is not a legal conclusion. Google has not performed a legal analysis and makes no representation as to the accuracy of the status listed.)
Granted
Application number
JP2009121182A
Other languages
English (en)
Other versions
JP4749479B2 (ja
Inventor
Yoshiaki Ichimura
義昭 市村
Masafumi Aoki
雅史 青木
Current Assignee (The listed assignees may be inaccurate. Google has not performed a legal analysis and makes no representation or warranty as to the accuracy of the list.)
Yamaichi Electronics Co Ltd
Original Assignee
Yamaichi Electronics Co Ltd
Priority date (The priority date is an assumption and is not a legal conclusion. Google has not performed a legal analysis and makes no representation as to the accuracy of the date listed.)
Filing date
Publication date
Application filed by Yamaichi Electronics Co Ltd filed Critical Yamaichi Electronics Co Ltd
Priority to JP2009121182A priority Critical patent/JP4749479B2/ja
Priority to US12/511,820 priority patent/US7891983B2/en
Priority to CN200910160963.7A priority patent/CN101640330B/zh
Publication of JP2010056069A publication Critical patent/JP2010056069A/ja
Application granted granted Critical
Publication of JP4749479B2 publication Critical patent/JP4749479B2/ja
Expired - Fee Related legal-status Critical Current
Anticipated expiration legal-status Critical

Links

Images

Classifications

    • HELECTRICITY
    • H01ELECTRIC ELEMENTS
    • H01RELECTRICALLY-CONDUCTIVE CONNECTIONS; STRUCTURAL ASSOCIATIONS OF A PLURALITY OF MUTUALLY-INSULATED ELECTRICAL CONNECTING ELEMENTS; COUPLING DEVICES; CURRENT COLLECTORS
    • H01R13/00Details of coupling devices of the kinds covered by groups H01R12/70 or H01R24/00 - H01R33/00
    • H01R13/02Contact members
    • H01R13/22Contacts for co-operating by abutting
    • H01R13/24Contacts for co-operating by abutting resilient; resiliently-mounted
    • H01R13/2407Contacts for co-operating by abutting resilient; resiliently-mounted characterized by the resilient means
    • H01R13/2428Contacts for co-operating by abutting resilient; resiliently-mounted characterized by the resilient means using meander springs
    • HELECTRICITY
    • H01ELECTRIC ELEMENTS
    • H01RELECTRICALLY-CONDUCTIVE CONNECTIONS; STRUCTURAL ASSOCIATIONS OF A PLURALITY OF MUTUALLY-INSULATED ELECTRICAL CONNECTING ELEMENTS; COUPLING DEVICES; CURRENT COLLECTORS
    • H01R12/00Structural associations of a plurality of mutually-insulated electrical connecting elements, specially adapted for printed circuits, e.g. printed circuit boards [PCB], flat or ribbon cables, or like generally planar structures, e.g. terminal strips, terminal blocks; Coupling devices specially adapted for printed circuits, flat or ribbon cables, or like generally planar structures; Terminals specially adapted for contact with, or insertion into, printed circuits, flat or ribbon cables, or like generally planar structures
    • H01R12/70Coupling devices
    • H01R12/71Coupling devices for rigid printing circuits or like structures
    • H01R12/712Coupling devices for rigid printing circuits or like structures co-operating with the surface of the printed circuit or with a coupling device exclusively provided on the surface of the printed circuit
    • H01R12/714Coupling devices for rigid printing circuits or like structures co-operating with the surface of the printed circuit or with a coupling device exclusively provided on the surface of the printed circuit with contacts abutting directly the printed circuit; Button contacts therefore provided on the printed circuit
    • HELECTRICITY
    • H01ELECTRIC ELEMENTS
    • H01RELECTRICALLY-CONDUCTIVE CONNECTIONS; STRUCTURAL ASSOCIATIONS OF A PLURALITY OF MUTUALLY-INSULATED ELECTRICAL CONNECTING ELEMENTS; COUPLING DEVICES; CURRENT COLLECTORS
    • H01R13/00Details of coupling devices of the kinds covered by groups H01R12/70 or H01R24/00 - H01R33/00
    • H01R13/02Contact members
    • H01R13/22Contacts for co-operating by abutting
    • H01R13/24Contacts for co-operating by abutting resilient; resiliently-mounted
    • H01R13/2435Contacts for co-operating by abutting resilient; resiliently-mounted with opposite contact points, e.g. C beam

Landscapes

  • Connecting Device With Holders (AREA)
  • Coupling Device And Connection With Printed Circuit (AREA)

Abstract

【課題】コンタクトのバネ性を向上させ、2つの接触対象の外部接点と電気的に接触するコンタクトの接点部の弾性変位量を大きくすることができるコンタクト及びそれを使用するICソケットを提供する。
【解決手段】先端に第1の接点部を有する第1のアーム部、第1の円弧状突出部、連結部、第2の円弧状突出部、及び先端に第2の接点部を有する第2のアーム部を含む上下に2つの接触対象を有するコンタクトであって、第1のアーム部と連結部は、第1の円弧状突出部を介して概略V字形状をなすように連結され、連結部と第2のアーム部は、第2の円弧状突出部を介して概略V字形状をなすように連結され、第1の円弧状突出部は、第1のアーム部の下方であって、第1のアーム部の延長線より外側に存在し、第2の円弧状突出部は、第2のアーム部の上方であって、第2のアーム部の延長線より外側に存在する。
【選択図】図2

Description

本発明は、コンタクト及びこれを用いたICソケットに関し、より詳細には、上下に2つの接触対象を有するコンタクトと、このようなコンタクトを用いるICソケットに関する。
従来、高周波対応の半導体パッケージ(以下、「ICパッケージ」という。)を搭載し、試験するためのICソケットのコンタクトとして、特許文献1に開示されるような上下に2つの接触対象(例えば、上方はICパッケージであり、下方はプリント配線板である。)を有するコンタクトが用いられてきた。このようなコンタクトは、ICソケットに搭載されるICパッケージとテストボードのようなプリント配線板のいずれにも弾性的に接触することで、ICパッケージとプリント配線板を電気的に接続し得るように構成されている。このようなコンタクトは、また、高周波信号に対応すべくコンタクトを流れる電流(信号)の信号線路長を短くし、インダクタンスを小さくするように工夫されている。
特開2008−21459号公報
近年、このようなコンタクトは、ICソケットに搭載されるICパッケージやプリント配線板の外部接点の挟ピッチ化に伴い、コンタクト自身の小型化が要求されている。したがって、コンタクトの小型化にもかかわらず、ICソケットに搭載されるICパッケージやプリント配線板のような2つの接触対象に対して安定した電気的接続を得るために、特許文献1に示されるように、コンタクトのバネ性を高くする工夫がなされてきている。
本発明の目的は、コンタクト及びそれを用いたICソケットにおいて、コンタクトの大きさがほぼ同じであってもさらにそのバネ性を向上させ、2つの接触対象の外部接点と電気的に接触するコンタクトの接点部の弾性変位量を大きくすることにある。より具体的には、本発明の目的は、コンタクトが装着されるICソケットのソケット本体からのコンタクトの接点部の突出量を大きく取れるようにすることにある。それにより、ICソケットに搭載されるICパッケージやプリント配線板の反りによって生ずるコンタクトの接点部と外部接点との間の電気的接触の不均一化を防止することが可能となる。結果として、接触対象としてのICパッケージやプリント配線板に反りがあったとしても、本発明に係るコンタクト及びそれを用いたICソケットは、より安定した電気的接続を得ることができる。
本発明の目的は、さらに、コンタクトがICソケットから抜け落ちることを防止するとともに、ICパッケージやプリント配線板のようなコンタクトの上下の接触対象に対して接触力が同じになるようにしたコンタクト及びそれを用いたICソケットを提供することにある。
上記目的を達成するために、本発明に係るコンタクトは、先端に第1の接点部を有する平坦な第1のアーム部、第1の円弧状突出部、平坦な連結部、第2の円弧状突出部、及び先端に第2の接点部を有する平坦な第2のアーム部を含み、横から見て概略Z字形状をなす、上下に2つの接触対象を有するコンタクトであって、第1のアーム部と連結部は、第1の円弧状突出部を介して折り返され、概略V字形状をなすように連結され、連結部と第2のアーム部は、第2の円弧状突出部を介して折り返され、概略V字形状をなすように連結され、第1の円弧状突出部は、第1のアーム部の下方であって、第1のアーム部の延長線より外側に存在し、第2の円弧状突出部は、第2のアーム部の上方であって、第2のアーム部の延長線より外側に存在することを特徴とする。
また、本発明に係るコンタクトは、前記第1及び第2のアーム部には、その自由端が前記連結部に向かって切り起こされた切り起こし片が設けられることが好ましい。
さらに、本発明に係るコンタクトは、前記第1及び第2の円弧状突出部は、コンタクトの中心軸に対して点対称に配置されていることが好ましい。
さらに、本発明に係るコンタクトは、前記第1の円弧状突出部の曲率円の曲率中心は、前記第1のアーム部の延長線より外側に存在し、前記第2の円弧状突出部の曲率円の曲率中心は、前記第2のアーム部の延長線より外側に存在することが好ましい。
また、本発明に係るICソケットは、請求項1ないし3に記載のコンタクトをそれぞれ収容する複数のコンタクト収容室を有するとともに、コンタクトの第1及び第2の接点部に接触する2つの接触対象が取り付けられるソケット本体を少なくとも備え、前記コンタクト収容室は、前記ソケット本体を上下に貫通していることを特徴とする。
さらに、本発明に係るICソケットは、前記ソケット本体に設けられた前記コンタクト収容室を構成する対向する一対の側壁が互いに平行に斜めに形成されるとともに、各側壁の中間には、ソケット本体の底面からの高さが異なる、該底面に平行な水平段部を形成し、該水平段部で前記コンタクトの前記円弧状突出部を支持させることが好ましい。
本発明に係るコンタクトは、横から見て概略Z字形状をなし、それぞれ先端に接点部を有する2つのアーム部に対応して2つの円弧状突出部を備えることで、コンタクトが装着されるICソケットのソケット本体からのコンタクトの接点部の突出量を大きく取ることが可能となり、従って、接点部の弾性変位量を大きくとることが可能となり、それにより、接触対象としてのICパッケージやプリント配線板に反りがあったとしても、本発明に係るコンタクト及びそれを用いたICソケットは、より安定した電気的接続を得ることができる。
また、2つのアーム部にそれぞれ切り起こし片を設けることにより、コンタクトを通過する電気信号線路の長さを短くすることが可能となり、高速伝送に対してより好ましいコンタクトを提供することができる。
さらに、コンタクトを構成する部品がコンタクト中心軸に対して点対称となるように配置されるため、コンタクトの変形が一様であり、したがってコンタクトの変形が安定して行われるとともに、ICソケットへの装着が確実にかつ容易にできる。
また、第1及び第2の円弧状突出部それぞれの曲率円の曲率中心が対応する第1及び第2のアーム部の延長線より外側に配置されることで、ICソケットのコンタクト収容室により安定し、したがってより確実に装着され得る。
本発明に係るICソケットは、該ICソケットを構成するソケット本体を貫通するように形成されたコンタクト収容室に上記本発明に係るコンタクトを装着することにより、2つの接触対象を確実に電気的に接続することができる。
さらに、本発明に係るICソケットは、本発明に係るコンタクトをコンタクト収容室に傾斜させて装着するとともに、コンタクトの2つの円弧状突出部を高さの異なる水平段部で支持することで、2つの接触対象の挟ピッチ化に対応可能であるとともに、2つの傾斜壁及び2つの水平段部でコンタクトを支持することで、コンタクトがコンタクト収容室内で姿勢を変えることがなく、コンタクトを確実にかつ安定して保持することを可能とするとともに、コンタクトの弾性変形を安定して行わせることが可能となる。
本発明の一つの実施例に係るコンタクトの斜視図である。 図1に示されるコンタクトがICソケットのソケット本体に装着され、2つの接触対象が取付けられていない状態を示す部分断面図である。 ICソケットに2つの接触対象が取り付けられ、図1に示されるコンタクトが該2つの接触対象と電気的に接触している状態を示す図2と同様の部分断面図である。 本発明の別の実施例に係るコンタクトの斜視図である。 図4に示されるコンタクトがICソケットのソケット本体に装着され、2つの接触対象が取り付けられていない状態を示す部分断面図である。 ICソケットに2つの接触対象が取り付けられ、図4に示されるコンタクトが該2つの接触対象と電気的に接触している状態を示す図5と同様の部分断面図である。 本発明に係るコンタクトを使用するICソケットの概略分解斜視図である。 図7のICソケットの概略分解断面図である。 本発明の第3の実施例に係るコンタクトの斜視図である。 図9に示されるコンタクトがICソケットのソケット本体に装着され、2つの接触対象が取り付けられていない状態を示す部分断面図である。 図10Aに示されるコンタクトが装着されたICソケットのソケット本体を下方から見た部分的下面図である。 図10Aに示されるICソケットのソケット本体であって、コンタクトが装着されていないコンタクト収容室を示すソケット本体の部分的断面斜視図である。 本発明の第4の実施例に係るコンタクトの斜視図である。 図12に示されるコンタクトがICソケットのソケット本体に装着され、2つの接触対象が取り付けられていない状態を示す部分断面図である。 図13Aに示されるコンタクトが装着されたICソケットのソケット本体を下方から見た部分的下面図である。 図13Aに示されるICソケットのソケット本体であって、コンタクトが装着されていないコンタクト収容室を示すソケット本体の部分的断面斜視図である。 第1の実施例に係るコンタクトが本発明の第5の実施例に係るICソケットのソケット本体に装着され、2つの接触対象が取り付けられていない状態を示す部分断面図である。 本発明の第6の実施例に係るコンタクトの分解斜視図である。 図16に示されるコンタクトがICソケットのソケット本体に装着され、2つの接触対象が取り付けられていない状態を示す部分断面図である。 ICソケットに2つの接触対象が取り付けられ、図16に示されるコンタクトが該2つの接触対象と電気的に接触している状態を示す図17と同様の部分断面図である。 本発明の第7の実施例に係るコンタクトの分解斜視図である。 図19に示されるコンタクトがICソケットのソケット本体に装着され、2つの接触対象が取り付けられていない状態を示す部分断面図である。 ICソケットのコンタクト収容室内にコンタクトを装着するための操作を説明するための図20と同様の部分断面図である。 図20に示されるICソケットのソケット本体であって、コンタクトが装着されていないコンタクト収容室を示すソケット本体の部分的断面斜視図である。
以下、図を用いて本発明に係る好ましいいくつかの実施例について説明する。先ずは、本発明の基本的な2つの実施例に係るコンタクト及びそれを用いたICソケットについて、図1ないし8を用いて説明する。
図1は、本発明の第1の実施例に係るコンタクトの斜視図であり、図2は、図1に示されるコンタクトがICソケットのソケット本体に装着され、2つの接触対象が取り付けられていない状態を示す部分断面図である。図3は、ICソケットに2つの接触対象が取り付けられ、図1に示されるコンタクトが該2つの接触対象と電気的に接触している状態を示す図2と同様の部分断面図である。図4は、本発明の第2の実施例に係るコンタクトの斜視図であり、図5は、図4に示されるコンタクトがICソケットのソケット本体に装着され、2つの接触対象が取り付けられていない状態を示す部分断面図である。図6は、ICソケットに2つの接触対象が取り付けられ、図4に示されるコンタクトが該2つの接触対象と電気的に接触している状態を示す図5と同様の部分断面図である。図7は、本発明に係るコンタクトを使用するICソケットの概略分解斜視図であり、図8は、図7のICソケットの概略分解断面図である。
最初に、本発明に係る2つの接触対象を有するコンタクトが使用されるICソケットについて図7及び8を用いて説明する。
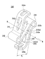
図7、8に示されるように、ICソケット100は、概略、ソケット本体20及び押圧部材10を備えている。ICソケット100は、ネジなどの固定手段90により直接プリント配線板60に、又は該プリント配線板60を貫通してベース部材70に固定される。
押圧部材10は、ICソケット100に搭載されるICパッケージ80をコンタクト40(又は140)に向けて上から押圧する。本実施例では、該押圧部材10の下面がICパッケージ80を押圧するための押圧部として形成されている。押圧部材10は、また、図7、8に示されるように、熱を放散させるためのヒートシンク11を備えていることが好ましい。
ソケット本体20には、ICパッケージ80とプリント配線板60とを電気的に接続する複数のコンタクト40(又は、140)が配置される。該ソケット本体20は、例えば、液晶ポリマー、ポリエーテルスルホンのような電気的に絶縁性の合成樹脂から作られており、上から見て概略正方形状の六面体をなしている。ソケット本体20の外郭は、上面21、該上面21に平行な底面23、及びこれらの面21、23に直交し、これらの面21、23を連結する4つの側面を有する。
ソケット本体20の上面21の略中央には、上から見て略正方形状をした有底のICパッケージ載置用凹部22が形成されている。本実施例では、ICパッケージ載置用凹部22は、ソケット本体20の上面21に直交する4つの側面と、ソケット本体20の上面21に平行な水平断面略矩形状の底面22aを有する。該底面22aは、ICパッケージ80の載置面を構成する。なお、水平断面略矩形状の底面22aの4隅又は4辺に載置部材を設けて、ICパッケージ80の載置面を形成してもよい。ソケット本体20の4隅には、ソケット本体20を、例えば、プリント配線板60に固定するとき、固定手段90が通り抜けることのできる取り付け孔38がソケット本体20を貫通するように形成されている。
ICパッケージ載置用凹部22の底面22aには、ICパッケージ80の外部接点としての接触パッド81(図3、6)に対応して、複数のコンタクト40(又は、140)をそれぞれ収容する複数のコンタクト収容室25がマトリックス状に配列されている。コンタクト収容室25それぞれには、図8に示されるように、コンタクト40(又は、140)が同方向を向いて1つずつ収容される。
コンタクト収容室25は、図2、3及び5、6に示されるように、ICパッケージ載置凹部22の底面22aからソケット本体20の底面23に向けてソケット本体20を貫通している。該コンタクト収容室25は、ICパッケージ載置凹部22の底面22aに対して略45°の角度をなして傾斜するようにソケット本体20を貫通することが好ましい。このように構成することで、底面22aに対して直交に貫通させるよりも、隣り合うコンタクト収容室25間の樹脂部分の肉厚を大きくとることができる。それにより、各コンタクト40(又は、140)間の耐電圧性がよくなり、また、ソケット本体20の成形が容易となる。なお、設計上許容されるのであれば、隣り合うコンタクト収容室25間の樹脂部分の肉厚を小さく(薄く)することで、挟ピッチに対応可能となる。また、コンタクト収容室25は、本実施例ではICパッケージ載置凹部22の底面22aに対して略45°の角度をなして傾斜するように形成されているがこれに限られるものではない。例えば、設計上許容されるのであれば、コンタクト収容室25は、底面22aに対して適宜の角度で傾斜していてもよいし、あるいは、該底面22aに対してほぼ直交するように貫通していてもよい。
コンタクト収容室25の構造について、図2、3、5及び6を用いてさらに説明する。コンタクト収容室25は、上述したように、基本的には、ICパッケージ載置面としてのICパッケージ載置凹部22の底面22a(又は、ソケット本体20の底面23)に対して概略45°の角度をなしてソケット本体20を貫通している。より具体的には、コンタクト収容室25は、図2に示される断面線A−A方向に見て方形状であり、したがって、コンタクト収容室25は4つの側壁により画定されている。そして、この4つの側壁のうち、図2において左右に対向する側壁は、それぞれ、第1の上傾斜側壁29aと第1の下傾斜側壁29b及び第2の上傾斜側壁31aと第2の下傾斜側壁31bとを有する。
第1の上傾斜側壁29aと第1の下傾斜側壁29bは、互いに対して平行であり、ICパッケージ載置凹部22の底面22a及びソケット本体20の底面23に対して略45°の角度をなして傾斜している。また、第1の上傾斜側壁29aと第1の下傾斜側壁29bとの間には、第1の水平段部30が設けられている。該第1の水平段部30は、ICパッケージ載置凹部22の底面22a又はソケット本体20の底面23に平行であり、後述するコンタクト40(又は140)の第1の円弧状突出部42(又は142)を支持する。
同様に、第2の上傾斜側壁31aと第2の下傾斜側壁31bも、互いに対して平行であり、ICパッケージ載置凹部22の底面22a及びソケット本体20の底面23に対して略45°の角度をなして傾斜している。したがって、第1の上傾斜側壁29aと第1の下傾斜側壁29b及び第2の上傾斜側壁31aと第2の下傾斜側壁31bは全て、互いに対して平行に形成されている。また、第2の上傾斜側壁31aと第2の下傾斜側壁31bとの間にも、第2の水平段部32が設けられている。該第2の水平段部32は、第1の水平段部30と同様に、ICパッケージ載置凹部22の底面22a又はソケット本体20の底面23に平行であり、後述するコンタクト40(又は140)の第2の円弧状突出部44(または144)を支持する。本実施例では、第1の水平段部30は、第2の水平段部32より下方に形成される。言い換えれば、第1の水平段部30は、ソケット本体20の底面23からの高さが、第2の水平段部32より低い位置に形成される。また、平行な第1の上傾斜側壁29aと第2の下傾斜側壁31bは、それらの間の距離W1が、フリーな状態にあるコンタクト40の(または、140)の平行な第1のアーム部41と第2のアーム部45との間の距離T1より小さくなるように形成される。
図2において、紙面に対して前後に位置して対向する残りの2つの側壁は、第1の上傾斜側壁29aと第1の下傾斜側壁29b及び第2の上傾斜側壁31aと第2の下傾斜側壁31b及びICパッケージ載置凹部22の底面22aのいずれに対しても直角をなしている。
コンタクト収容室25をこのように構成することで、後述するコンタクト40の第1及び第2の接点部41a、45aが、図に示されるように、コンタクト収容室25を画定する4つの側壁と干渉することなく上下に突出するように配置され得る。また、コンタクト収容室25は、該コンタクト収容室25内にコンタクト40が傾斜するように装着し得るとともに、ソケット本体20の底面23からの高さが異なる2つの水平段部30、32で対応する2つの円弧状突出部42、44をそれぞれ支持し得る。それにより、コンタクト40は、コンタクト収容室25内で何らかの外力が加わってもその姿勢を変えることがなく、コンタクト40を確実にかつ安定して保持することができる。さらに、コンタクト収容室25内において、コンタクト40の第1及び第2のアーム部41及び45の弾性変形を安定して行わせることが可能となる。また、水平段部30、32の高さが異なることにより、支持されるコンタクト40の2つの円弧状突出部42、44の高さ位置が異なり、それにより、該2つの円弧状突出部42、44を連結する連結部43がコンタクト収容室25内で傾斜するように配置される。したがって、連結部43を底面22aに対して平行に配置するよりもコンタクト収容室25に必要な幅を小さくすることができ、ICパッケージ80外部接点間の挟ピッチ化に対応することが可能となる。
(第1の実施例)
コンタクトに関しては、これに限られるものではないが、図1ないし3及び4ないし6に示されるように、基本的な2つの実施例が示される。最初に、図1ないし3を用いて第1の実施例としてのコンタクト40について説明する。
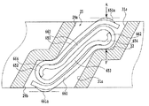
コンタクト40は、例えば、ベリリウム銅(BeCu)のような導電性の金属製薄板から所定形状の細長い帯状体として打ち抜かれ、該帯状体を折り曲げ加工することにより、図1に示されるような上下に2つの接触対象と接触可能な形状に形成される。本実施例に係るコンタクト40は、横(図1において、矢印B方向)から見て概略Z字形状をなしている。
本実施例に係るコンタクト40は、先端に第1の接点部41aを有する平坦な第1のアーム部41、第1の円弧状突出部42、平坦な連結部43、第2の円弧状突出部44、及び先端に第2の接点部45aを有する平坦な第2のアーム部45を含んでいる。第1のアーム部41及び連結部43は、断面円弧状でその内接円の曲率半径がRである曲率円を有する第1の円弧状突出部42を介して折り返されることで概略V字形状をなすように連結されている。さらに、連結部43及び第2のアーム部45は、断面円弧状でその内接円の曲率半径がRである曲率円を有する第2の円弧状突出部44を介して折り返されることで概略V字形状をなすように連結されている。
第1の円弧状突出部42は、その曲率中心Gが、図2に示されるように、概略、第1のアーム部41の下方であって、第1のアーム部41の延長線mより若干外側(図2において、第1のアーム部41の延長線mより左側)に存在するように形成される。また、第1の円弧状突出部42は、図2に示されるように、コンタクト40がコンタクト収容室25内に装着されたとき、第1の円弧状突出部42に外接する曲率円上にある接点Dにおいて水平段部30に接するように形成される。したがって、第1の円弧状突出部42は、第1のアーム部41から外側に向かって突出するように形成される。なお、第1のアーム部41は、コンタクト40がコンタクト収容室25内に装着されたとき、第1の上傾斜側壁29aに沿って、該第1の上傾斜側壁29aに支持されるように形成される。第1のアーム部41及び第1の円弧状突出部42がこのように形成されることで、第1のアーム部41は、第1の円弧状突出部42の曲率中心Gを中心として弾性変形することが可能となる。
また、第2の円弧状突出部44は、その曲率中心Hが、図2に示されるように、概略、第2のアーム部45の上方であって、第2のアーム部45の延長線nより若干外側(図2において、第2のアーム部45の延長線nより右側)に存在するように形成される。また、第2の円弧状突出部44は、図2に示されるように、コンタクト40がコンタクト収容室25内に装着されたとき、第2の円弧状突出部44に外接する曲率円上にある接点Eにおいて水平段部32に接するように形成される。したがって、第2の円弧状突出部42は、第2のアーム部45から外側に向かって突出するように形成される。なお、第2のアーム部45は、コンタクト40がコンタクト収容室25内に装着されたとき、第2の下傾斜側壁31bに沿って、該第2の下傾斜側壁31bに支持されるように形成される。第2のアーム部45及び第2の円弧状突出部44がこのように形成されることで、第2のアーム部45は、該第2の円弧状突出部44の曲率中心Hを中心として弾性変形することが可能となる。
なお、本実施例においては、第1及び第2の円弧状突出部42、44それぞれの曲率中心G、Hは、第1及び第2のアーム部41、45の延長線m、nより若干外側にあるように設定している。しかしながら、これに限定されるものではなく、曲率中心G、Hは、例えば、延長線m、n上にあってもよいし、若干内側にあってもよい。曲率中心G、Hが延長線m、nより若干外側にあるほうが、コンタクト40がICパッケージ80やプリント配線板60と接触したとき、各円弧状突出部42または44と対応する水平段部30又は32との係合が外れ難い。
第1のアーム部41と第2のアーム部45は、図1に示される自由な状態にあるとき、互いに平行となるように形成される。また、この自由状態にあるとき、平行に形成される第1のアーム部41と第2のアーム部45の間隔(距離)T1は、上述したように、コンタクト収容室25の平行に対向する第1の上傾斜側壁29aと第2の下傾斜側壁31bの間隔W1より大きい。
コンタクト40は、図2に示されるように、ソケット本体20のコンタクト収容室25内に収容される。より具体的には、図1に示される状態にあるコンタクト40は、コンタクト収容室20の傾斜壁間の間隔W1がアーム部間の間隔T1より小さいため、さらに扁平状に弾性変形され、コンタクト収容室25内に傾斜した状態で挿入される。コンタクト収容室25内に挿入されたコンタクト40は、全体としてのバネ復帰力により、コンタクト収容室25内で扁平状態から図1の状態に向けて開こうとする。コンタクト40は、コンタクト収容室25に装着されたとき、図2に示されるように、第1の上傾斜側壁29a、第1の水平段部30、第2の水平段部32及び第2の下傾斜側壁31bの4箇所において支持されることが理解されるであろう。すなわち、コンタクト40の第1のアーム部41が第1の上傾斜側壁29aに、第1の円弧状突出部42が第1の水平段部30に、第2の円弧状突出部44が第2の水平段部32に、そして第2のアーム部45が第2の下傾斜側壁31bにそれぞれ支持される。言い換えれば、コンタクト40は、自身のバネ復帰力によりコンタクト収容室25内に自己保持される。
第1の接点部41aは、第1のアーム部41の先端において、上に凸に円弧状に形成され、第2の接点部45aは、第2のアーム部45の先端において、下に凸に円弧状に形成される。第1の接点部41a及び第2の接点部45aは、図2及び3に示されるように、それぞれ、第1の円弧状突出部42の曲率中心G及び第2の円弧状突出部44の曲率中心Hを中心として円を描くように上下及び左右に変位することが可能である。なお、第1の接点部41aは、さらに、図1、2に示されるように、第1のアーム部41の幅方向中央部であって該第1のアーム部41から上方に向かって突出形成されていてもよい。同様に、第2の接点部45aは、第2のアーム部45の幅方向中央部であって該第2のアーム部45から下方に向かって突出形成されていてもよい。
本実施例におけるコンタクト40は、第1の接点部42aと第2の接点部44aとをつなぐ第1のアーム部41、第1の円弧状突出部42、連結部43、第2の円弧状突出部44及び第2のアーム部45が、信号線路を構成する。信号線路は一見長いように見えるが、コンタクト40の高さSがせいぜい1mm程度であることを考えれば、信号線路としてはほぼ3mm程度であり、信号の高速伝送に格別支障をきたすほどのものではない。なお、参照番号T2は、コンタクト40の第1及び第2の円弧状突出部42及び44を含むコンタクト40の奥行を示す。
以上の説明から、本発明に係るコンタクト40を構成する2つのアーム部41、45、2つの円弧状突出部42、44及び連結部43は、該連結部43を通るコンタクト40の中心軸O−Oに対して点対称となるように配置されることが理解される。このことは、図1に示される自由状態にあるとき、図2に示されるコンタクト収容室25に収容されたとき、及び図3に示される2つの接触対象60及び80がICソケット20に取付けられたときのいずれの状態にあるときも同じである。
(第2の実施例)
次に、図4ないし6を用いて、第2の実施例として、本発明に係る別のコンタクト140について説明する。本実施例におけるコンタクト140は、第1の実施例と同様、導電性の金属製薄板から所定形状の細長い帯状体として打ち抜かれ、該帯状体を折り曲げ加工することにより製造される。本実施例に係るコンタクト140も、図4に示されるように、上下に2つの接触対象と接触可能な形状に形成され、横(図4において、矢印B方向)から見て概略Z字形状をなしている。
また、本実施例に係るコンタクト140は、基本的に、その構成は、上記第1の実施例と同じである。図4ないし6において、同じ構成部品に対しては、第1の実施例に付した数字に単に100を加えて示しており、それらの構成部品は第1の実施例と同様の作用または機能を奏する。本実施例におけるコンタクト140と第1の実施例におけるコンタクト40とは、本実施例におけるコンタクト140が、第1のアーム部141及び第2のアーム部145にさらに切り起こし片141b及び145bが設けられている点でのみ相違する。
本実施例に係るコンタクト140は、上記第1の実施例と同様、先端に第1の接点部141aを有する平坦な第1のアーム部141、第1の円弧状突出部142、平坦な連結部143、第2の円弧状突出部144、及び先端に第2の接点部145aを有する平坦な第2のアーム部145を含んでいる。第1のアーム部141及び連結部143は、断面円弧状でその曲率半径がRである第1の円弧状突出部142を介して折り返されることで概略V字形状をなすように形成されている。さらに、連結部143及び第2のアーム部145は、断面円弧状でその曲率半径がRである第2の円弧状突出部144を介して折り返されることで概略V字形状をなすように形成されている。
本実施例においては、第1のアーム部141及び第2のアーム部145それぞれに、第1の切り起こし片141b及び第2の切り起こし片145bが設けられる。第1の切り起こし片141bは、第1のアーム部141の幅方向概略中央部分であって、第1の接点部141aと第1の円弧状突出部142との間に延在する。該第1の切り起こし片141bは、第1の接点部141a側が第1のアーム部141に連結され、第1の円弧状突出部142側が自由端として形成され、該自由端が弾性変形可能であるように連結部143に向かって切り起こされている。第2の切り起こし片145bは、第2のアーム部145の幅方向概略中央部分であって、第2の接点部145aと第2の円弧状突出部144との間に延在する。該第2の切り起こし片145bは、第2の接点部145a側が第2のアーム部145に連結され、第2の円弧状突出部144側が自由端として形成され、該自由端が弾性変形可能であるように連結部143に向かって切り起こされている。
第1の切り起こし片141b及び第2の切り起こし片145bそれぞれの自由端は、コンタクト140が図4に示される自由状態にあるとき、連結部143に接触していてもよいし、該連結部143から離れていてもよい。但し、第1の切り起こし片141b及び第2の切り起こし片145bの長さは、図6に示されるように、第1及び第2の接点部141a、145aが2つの接触対象と接触しているとき、各自由端が弾性変形し、連結部143に接触し得るように設定される。
コンタクト140において、第1及び第2の切り起こし片141b、145bを設けることにより、第1の実施例と比べて信号線路を短くすることができる。すなわち、本実施例においては、信号は、第1の接点部141aと第2の接点部145aとの間を、第1及び第2の切り起こし片141b、145b及び連結部143を介して流れることが可能となる。
本実施例に係るコンタクト140のその他の構成は、上記第1の実施例に係るコンタクト40と同じであるので説明を省略する。
次に、第1の実施例としてのコンタクト40を備えるICソケット1がプリント配線板60に実装され、続いてICパッケージ80が装着されたときのコンタクト40の動作について説明する。
コンタクト40は、図3に示されるように、ソケット本体20のコンタクト収容室25に収容された後、ICソケット100にテストボードのようなプリント配線板60及びICパッケージ80が取り付けられる。この時、コンタクト40の第1の接点部41aは、ICパッケージ80の外部接点である接触パッド81に当接するとともに、ICパッケージ80により押し下げられる。第1のアーム部41が第1の円弧状突出部42の曲率中心Gの周りに回転し、弾性変形することで、第1の接点部41aは弾性的に下降する。また、第1のアーム部41の復帰力が、第1の接点部41aとICパッケージ80の接触パッド81とを所定の接圧で電気的に接触させる。
なお、第1のアーム部41の回転に伴い、第1の円弧状突出部42も曲率中心Gの周りに時計回りに回転し、第1の水平段部30との接点は、図3に示されるように、DからD’に移動する。しかしながら、第1の円弧状突出部42は、依然として第1の水平段部30に支持されている。
同様に、コンタクト40の第2の接点部45aは、プリント配線板60の外部接点である接触パッド61に当接するとともに、プリント配線板60により押し上げられる。第2のアーム部45が第2の円弧状突出部44の曲率中心Hの周りに回転し、弾性変形することで、第2の接点部45aは弾性的に上昇する。また、第2のアーム部45の復帰力が、第2の接点部45aとプリント配線板60の接触パッド61とを所定の接圧で電気的に接触させる。
なお、第2のアーム部45の回転に伴い、第2の円弧状突出部44も曲率中心Hの周りに時計回りに回転し、第2の水平段部32との接点は、図3に示されるように、EからE’に移動する。しかしながら、第2の円弧状突出部44は、依然として第2の水平段部32に支持されている。したがって、上記第1の円弧状突出部42の第1の水平段部30による支持と合わせて、コンタクト40は、第1及び第2のアーム41及び45の弾性変形にも拘らず、コンタクト収容室25内に安定して保持されている。
また、図3にあるときも、コンタクト40を構成する部品は、コンタクト40の中心軸O−Oに対して点対称に位置し、したがって、第1のアーム部41と第2のアーム部45は平行を維持し、それらの間の距離は、T’にまで狭まる。
第2の実施例としてのコンタクト140も同様の動作で、プリント配線板60及びICパッケージ80と所定の接圧で電気的に接触する。
(第3の実施例)
本発明に係る第3及び第4の実施例について図9ないし11及び図12ないし14を用いて説明する。
第1の実施例においては、コンタクト40がソケット本体20に設けられたコンタクト収容室25から下方に抜け落ちることがあり得る。より具体的には、図2において、コンタクト40の第1の接点部41aにのみ上方から力を加えると、コンタクト40の第2の円弧状突出部44が左側に移動し得る。上方からの力が強くなると、第2の円弧状突出部44の移動量が大きくなり、コンタクト収容室25を構成する水平段部32から外れ、第2の円弧状突出部44が第2の下傾斜側壁31bを滑り落ちることになる。コンタクト40の第2の接点部45aにのみ下方から力を加えた場合にも点対称的に同様の現象が起こり、コンタクト40がコンタクト収容室25から上方へ飛び出ることが起こり得る。
第3及び第4の実施例は、このようなコンタクト収容室からのコンタクトの抜け落ちを完全に防止することができるように、第1の実施例のコンタクト及びICソケットの構造をさらに改良したしたものである。
さて、図9ないし11を用いて本発明に係る第3の実施例について説明する。図9は、本発明の第3の実施例に係るコンタクトの斜視図である。図10Aは、図9に示されるコンタクトがICソケットのソケット本体に装着され、2つの接触対象が取り付けられていない状態を示す部分断面図である。図10Bは、図10Aに示されるコンタクトが装着されたICソケットのソケット本体を下方から見た部分的下面図である。図11は、図10Aに示されるICソケットのソケット本体であって、コンタクトが装着されていないコンタクト収容室を示すソケット本体の部分的断面斜視図である。
本実施例におけるコンタクト240は、第1及び第2の実施例と同様、導電性の金属製薄板から所定形状の細長い帯状体として打ち抜かれ、該帯状体を折り曲げ加工することにより製造される。また、本実施例のコンタクト240も、図4に示されるように、上下に2つの接触対象と接触可能な形状に形成され、横(図9において、矢印B方向)から見て概略Z字形状をなしている。さらに、本実際例のコンタクト240は、連結部243を通るコンタクト140の中心軸O−Oに対して点対称となるように構成されている。
本実施例に係るコンタクト240は、基本的に、その構成は、上記第1及びの実施例と同じである。図9ないし11において、同じ構成部品に対しては、第1の実施例に付した数字に単に200を加えて示しており、それらの構成部品は第1の実施例と同様の作用または機能を奏する。本実施例におけるコンタクト240と第1の実施例におけるコンタクト40とは、本実施例におけるコンタクト240が、連結部243の両側において、停止部材243a及び243bが設けられている点で相違する。停止部材243a及び243bは、より具体的には、コンタクト240の中心軸O−Oに沿って幅方向(図10Bにおいて、上下方向)に、連結部243の両側から外側に向って突出形成されている。なお、本実施例では、また、第1及び第2のアーム部241、245及び連結部243に、それぞれ、切抜き窓部241c、245c及び243cが設けられている点でも相違する。しかしながら、この切抜き窓部241c、245c及び243cは、Z字形状のバネとして弾性変形するコンタクト240のバネ定数を調整するために設けられているものである。
本実施例に係るコンタクト240は、上記第1の実施例と同様、先端に第1の接点部241aを有する平坦な第1のアーム部241、第1の円弧状突出部242、平坦な連結部243、第2の円弧状突出部244、及び先端に第2の接点部245aを有する平坦な第2のアーム部245を含んでいる。第1のアーム部241及び連結部243は、断面円弧状でその曲率半径がRである第1の円弧状突出部242を介して折り返されることで概略V字形状をなすように形成されている。さらに、連結部243及び第2のアーム部245は、断面円弧状でその曲率半径がRである第2の円弧状突出部244を介して折り返されることで概略V字形状をなすように形成されている。
本実施例においては、上述したように、連結部243の両側から、コンタクト240の中心軸O−Oに沿って幅方向外側に向って、一対の停止部材243a、243bが突出形成されている。本実施例における一対の停止部材243a、243bそれぞれの垂直断面(中心軸O−Oに直交する面で切断した断面)形状は、概略矩形状に形成され、上方角部243a1と下方角部243a2を有する。停止部材243a、243bの垂直断面形状は、これに限られるものではなく、長円形、楕円形、円形などであってもよい。また、図10Aに示されるように、停止部材243a、243bの一部又は全部の上方角部243a1にR部分が形成されていてもよい。
図10Bに示されるように、本実施例におけるコンタクト240の連結部243の停止部材243a、243bが形成されている以外の部分の幅をWC1とし、停止部材243a、243bが形成されている部分の幅をWC2する。一対の停止部材243a、243bは、上述のように、連結部243の両側から突出形成されているのであるから、該一対の停止部材243a、243bが形成されている部分の幅WC2は、幅WC1より大きい。なお、幅WC1は、コンタクト240の幅として表されるものであり、第1及び第2のアーム部241、245の幅と実質的に同じである。また、幅WC1は、第1及び第2の実施例におけるコンタクト40、140の幅と同じであってもよいし、異なっていてもよい。
本実施例において、コンタクト240に一対の停止部材243a、243bが連結部243の両側から突出形成されることから、該コンタクト240が収容されるコンタクト収容室225の構造の一部が上記第1及び第2の実施例と異なる。具体的には、図10Bにおいて上下に位置する側壁226、227の構造が相違する。本実施例におけるコンタクト収容室225は、図10A、10B及び図11に示されている。
本実施例におけるコンタクト収容室225は、ソケット本体20を貫通し、4つの側壁により画定され、この4つの側壁のうち、図10Aにおいて左右に対向する側壁の構造は、第1及び第2の実施例と同じである。すなわち、図10Aにおいて左右に対向する側壁は、それぞれ、第1の上及び下傾斜側壁229a、229b、第1の水平段部230及び第2の上及び下傾斜側壁231a、231b、第2の水平段部232を有する。
4つの側壁のうち、図10Bにおいて上下に対向する一対の側壁226、227の構造が上記第1及び第2の実施例と異なる。第1及び第2の実施例においては、当該一対の側壁226、227に対応する一対の側壁は、コンタクト40(又は140)の幅より若干大きい間隔をおいて互いに平行に配置される平坦な面を有している。しかしながら、本実施例では、コンタクト240の一対の停止部材243a、243bを収容するために、対向する側壁226、227に、停止部材収容溝(以下、単に、「収容溝」という。)226c、227cが対を成して設けられる。
本実施例における一対の側壁226、227は、同じ構造を有しているので、ここでは、図11を用いて一方の側壁226について詳細に説明し、側壁227の構造については説明を省略する。なお、側壁227の構造についは、側壁226の構造の説明において、参照番号226を227に置き換えて読むことで理解される。
図11に示されるように、側壁226には、コンタクト240の一対の停止部材243a、243bのうちの対応する停止部材243bが収容される収容凹部としての収容溝226cが形成されている。
本実施例における収容溝226cは、ソケット本体20のICパッケージ載置凹部22の底面22aからソケット本体20の底面23まで、概略S字形を成して、側壁226を上下に分割し、ソケット本体20を貫通するように形成されている。具体的には、ICパッケージ載置凹部22の底面22aから、コンタクト収容室225を画定する第1の上傾斜側壁229aに沿い、第1の水平段部230まで溝が形成される。同様に、ソケット本体20の底面23側から、第2の下傾斜側壁231bに沿い、第2の水平段部232まで溝が形成される。ICパッケージ載置凹部22の底面22a側とソケット本体20の底面23側に形成された2つの溝が互いに平行な第1の上傾斜側壁229aと第2の下傾斜側壁231bにほぼ直角を成して形成される溝を介して連結されることで、収容溝226cは形成される。
側壁226の上下に分断された上側壁226aと下側壁226bは、同一平面内にある。また、収容溝226cと上側壁226aとの間には、第1の上傾斜側壁229aに平行な第1の段差部226d及び第2の下傾斜側壁231bに垂直な第2の段差部226eが形成される。同様に、収容溝226cと下側壁226bとの間には、第2の下傾斜側壁231bに平行な第4の段差部226g及び第1の上傾斜側壁229aに垂直な第3の段差部226fが形成される。したがって、第1の段差部226dと第4の段差部226g、及び第2の段差部226eと第3の段差部226fは、それぞれ、互いに平行である。なお、参照番号226hは、第1の段差部226dと第2の段差部226eとが交差する第1の稜線であり、226jは、第3の段差部226fと第4の段差部226gとが交差する第2の稜線である。
図10Aには、コンタクト240がコンタクト収容室225内に安定して装着されている状態が示されている。この状態において、上方からコンタクト240の第1の接点部241aに強い力Xが加えられたとき、第2の円弧状突出部244が第2の水平段部232上を水平移動する方向をYとする。本実施例では、下方角部243b2と第4の段差部226gの延長線上との距離Lが、L>0になるよう設定される。
同様にして、上方角部243b1と第1の段差部226dの延長線上との距離LがL>0になるように設定される。
また、コンタクト収容室225の対をなす側壁226、227それぞれに対を成して形成される下側壁226bと227b(又は、上側壁)との間の距離をWH1とする。さらに、対をなす収容溝226cと227cとの間の距離をWH2とする。このとき、コンタクト240の幅及びコンタクト収容室225の対を成す側壁226、227の距離は、WH2>WC2>WH1>WC1となるように設定される。
このようにコンタクト240及びコンタクト収容室225を設定することで、強い下向きの力Xが第1の接点部241aのみに加えられたとき、第2の円弧状突出部244が、図10Aに示されるように、左方向へ水平移動する。該第2の円弧状突出部244の移動に伴い、コンタクト240の一対の停止部材243a、243bも左方向に移動する。下方角部243b2と第4の段差部226gの延長線上との距離Lが、L>0に設定されているため一対の段差部226f、227f上に位置する。したがって、コンタクト240の停止部材243a、243bは、下向きの強い力Xが第1の接点部241aに加えられても、一対の段差部226f、227fに当接する。それにより、本実施例におけるコンタクト240は、第2の水平段部232から外れて下方に若干滑り落ちることはあってもコンタクト収容室225から外れることはない。同様に、強い上向きの力が第2の接点部245aが加えられても、コンタクト240は、コンタクト収容室225から上方に飛び出すこともない。
本実施例に係るコンタクト240及びこれを収容するコンタクト収容室225を備えるICソケットは、上記第1の実施例に係るコンタクト及びこれを用いるICソケットが奏する作用効果に加えて、上述した作用効果がさらに含まれることになる。
なお、コンタクト240をコンタクト収容室225から取り出すときは、図10Aに示されるように、矢印Zで示される方向に力を加える。それにより、コンタクト240の対を成す停止部材243a、243bを、対を成す第2の稜線226j、227jより右方向に移動させ、第2の下傾斜側壁231bに沿う収容溝226c、227c内に位置させる。つまり、距離L<0にする。次に、コンタクト240を下方に引き出すことによりコンタクト240はコンタクト収容室225から取り出すことができる。また、逆の操作をすることにより、コンタクト240をコンタクト収容室225内に装着することができる。なお、コンタクト240のコンタクト収容室225からの取り出し又はコンタクト収容室225への装着を容易にするため、図10Aに示されるように、第2の下傾斜側壁231bに垂直切欠231cを設けてもよい。
(第4の実施例)
次に図12ないし14を用いて第4の実施例について説明する。図12は、本発明の第4の実施例に係るコンタクトの斜視図である。図13Aは、図12に示されるコンタクトがICソケットのソケット本体に装着され、2つの接触対象が取り付けられていない状態を示す部分断面図である。図13Bは、図13Aに示されるコンタクトが装着されたICソケットのソケット本体を下方から見た部分的下面図である。図14は、図13Aに示されるICソケットのソケット本体であって、コンタクトが装着されていないコンタクト収容室を示すソケット本体の部分的断面斜視図である。
本実施例においては、コンタクト340の停止部材及びそれに対応するコンタクト収容室325の構造が上記第3の実施例と若干構造が異なるが、その他の構造は全く同じである。したがって、参照番号が同じか又は参照番号を200から300に単に代えて示されるだけで下2桁の数字及び文字が同じ部品又は部材は同じ部品又は部材を示しており、説明を省略する。
本実施例におけるコンタクト340は、対を成す停止部材が2組ある点でのみ上記第3の実施例と異なる。具体的には、連結部343の両側からコンタクト340の中心軸O−Oに沿って幅方向外側に向って、一対の第1の停止部材343a、343bが突出形成されている。この構成は、第3の実施例と同じであり、本実施例におけるコンタクト340の連結部343の停止部材343a、343bが形成されている以外の部分の幅は、WC1とし、停止部材243a、243bが形成されている部分の幅をWC2とする。
本実施例では、さらに、図12、13Bに示されるように、第1の円弧状突出部342の両側から外側に向って上記第1の停止部材と平行に一対の第2の停止部材343d、343eが突出形成される。第1の円弧状突出部342の一対の第2の停止部材343d、343eが形成されている部分の幅をWC3とすると、それに限定されるものではないが、WC3=WC2>WC1であることが好ましい。
本実施例におけるコンタクト収容室325の図13Bにおいて上下に対向する一対の側壁326、327には、2組の停止部材を収容する収容凹部として、一対の収容溝326c、327cが形成される。
本実施例における一対の側壁326、327の構造に関しては、同じ構造を有しているので、ここでは、図14を用いて一方の側壁326について詳細に説明し、側壁327の構造については説明を省略する。図14に示されるように、側壁326には、コンタクト340の一対の第1及び第2の停止部材343a、343b及び343d、343eのうちの対応する停止部材343b、343eが収容される収容溝326cが形成されている。
本実施例における収容溝326cは、ソケット本体20のICパッケージ載置凹部22の底面22aからソケット本体20の底面23まで、側壁326を上下に分割し、ソケット本体20を貫通するように形成されている。具体的には、ICパッケージ載置凹部22の底面22aから、コンタクト収容室325を画定する第1の上傾斜側壁329a及び第2の下傾斜側壁331bに沿い、第1の水平段部330まで第1の溝が形成される。ソケット本体20の底面23側から、第1の上傾斜側壁329a及び第2の下傾斜側壁331bに沿い、所定の位置まで溝が形成される。ICパッケージ載置凹部22の底面22a側とソケット本体20の底面23側に形成された2つの溝が第2の下傾斜側壁331bに沿って形成される溝を介して連結されることで、収容溝326cは形成される。
側壁326の第1の収容溝326cにより上下に分断された上側壁326aと下側壁326bは、同一平面内にある。また、収容溝326cと上側壁326aとの間には、第1の上傾斜側壁329aに平行であって、第2の下傾斜側壁331bから延びる第1の段差部326dが形成される。また、収容溝326cと下側壁326bとの間には、第1の上傾斜側壁329aに垂直な第3の段差部326f、第2の下傾斜側壁331bに平行な第4の段差部326g、及び該第3の段差部326fに平行な第5の段差部326kが形成される。さらに、コンタクト340がコンタクト収容室325に装着されたとき、図13Aに示されるように、第3及び第5の段差部326f及び326kは、コンタクト340の第1及び第2の停止部材343b及び343eの間に配置されるように形成される。言い換えれば、コンタクト340がコンタクト収容室325に装着されているとき、下側壁326bは、コンタクト340の第1の円弧状突出部342及び連結部343を横切るように、第1及び第2の停止部材343b及び343eの間に存在する。なお、参照番号326jは、第3の段差部326fと第4の段差部326gとが交差する第2の稜線であり、326mは、第4の段差部326gと第5の段差部326kとが交差する第3の稜線である。
図13Aには、コンタクト340がコンタクト収容室325内に安定して装着されている状態が示されている。この状態において、上方からコンタクト340の第1の接点部341aに強い力Xが加えられたとき、第2の円弧状突出部344が第2の水平段部332上を水平移動する方向をYとする。
コンタクト収容室325の対をなす側壁326、327それぞれに対を成して形成される下側壁326bと327b(又は、上側壁)との間の距離をWH1とする。さらに、対をなす収容溝326cと327cとの間の距離をWH2とする。このとき、コンタクト340幅及びコンタクト収容室325の対を成す側壁326、327の距離は、WH2>WC3=WC2>WH1>WC1となるように設定される。
このようにコンタクト340及びコンタクト収容室325を設定することで、強い下向きの力Xが第1の接点部341aのみに加えられたとしても、第3の実施例と同様、コンタクト340は、コンタクト収容室325から外れることはない。また、強い上向きの力が第2の接点部345aのみに加えられたとき、第1の円弧状突出部342が図13Aにおいて右方向へ水平移動する。しかしながら、本実施例では、第1の円弧状突出部342に一対の第2の停止部材343d、343eが設けられている。該一対の第2の停止部材343d、343eは、コンタクト収容室325を構成する一対の側壁326、327に形成される一対の第5の段差部326k、327kに当接し、第1の円弧状突出部342の右方向への移動を抑制する。それにより、該第1の円弧状突出部342の上方への移動も阻止されるので、コンタクト340は、コンタクト収容室325から上方に飛び出すことがない。すなわち、本実施例においても、第3の実施例と同様、コンタクト340のコンタクト収容室からの飛び出しが防止される。したがって、本実施例に係るコンタクト340及びこれを収容するコンタクト収容室325を備えるICソケットは、上記第1の実施例に係るコンタクト及びこれを用いるICソケットが奏する作用効果に加えて、上述した作用効果がさらに含まれることになる。
なお、本実施例では、コンタクト340の第1の円弧状突出部342に対を成す第2の停止部材343d、343eを設けたが、第2の円弧状突出部344に対を成す第2の停止部材が設けられてもよい。この場合、コンタクト収容室325を構成する一対の側壁326、327には、コンタクト340の第2の円弧状突出部344及び連結部343を横切るように、上側壁326a(対応する側壁327側の上側壁は図示されていない。)が対を成して形成される。
(第5の実施例)
第1の実施例においては、コンタクト40が接触する上下2つの接触対象に対して、その第1及び第2の接点部41a、45aは実質的に独立して変形する。したがって、上下に装着され2つのる接触対象それぞれの外部接点の位置が異なる場合、第1及び第2の接点部41a、45aの変形量も異なる。したがって、コンタクトの接点部と接触対象の外部接点との接触圧が上下で異なることになり、電気的に不安定な状態が発生する恐れが生じる。第5の実施例は、2つの接触対象に対して接触圧が異なるという不安定な状態の発生を防止することができるように、第1の実施例のコンタクトのコンタクト収容室における配置を改良したしたものである。
以下、本発明に係る第5の実施例について図15を用いて説明する。図15は、第1の実施例に係るコンタクトが本発明の第5の実施例に係るICソケットのソケット本体に装着され、2つの接触対象が取り付けられていない状態を示す部分断面図である。
図15に示されるように、本実施例においては、コンタクトは第1の実施例におけるコンタクト40と同じである。したがって、コンタクト40の説明は省略する。本実施例においては、該コンタクト40を収容するコンタクト収容室425の構造が第1の実施例と異なる。すなわち、本実施例では、コンタクト収容室425を構成する第1の水平段部430及び第2の水平段部432の高さ及び第1の下傾斜側壁429bと第2の上傾斜側壁431aとの間の間隔(垂直距離)W2の大きさが第1の実施例と異なる。コンタクト収容空間425のその他の構成は、第1の実施例と同じである。
具体的には、本実施例においては、第1の水平段部430は、ソケット本体20の底面23からの高さが、第1の実施例のそれより高い位置に形成される。また、第2の水平段部432は、ソケット本体20の底面23からの高さが、第1の実施例のそれより低く形成される。但し、第1の実施例と同様に、第1の水平段部430が第2の水平段部432より下方に形成されるという関係は維持される。さらに、本実施例においては、第2の水平段部432の高さ及び第1の下傾斜側壁429bと第2の上傾斜側壁431aとの間の間隔W2は、コンタクト40の奥行T2より小さくなるように設定され、したがって、コンタクト収容室425は、間隔W2が第1の実施例のそれより小さく形成されている。
コンタクト収容空間425をこのように構成することで、図15に示されるように、コンタクト40がコンタクト収容空間に装着されたとき、コンタクト40は、コンタクト収容室425の第1の下傾斜側壁429bと第2の上傾斜側壁431aに支持される。すなわち、第1の実施例と異なり、本実施例では、第1の円弧状突出部42は、それに外接する曲率円の円上にある接点Pにおいて、コンタクト収容室425の第1の下傾斜側壁429bに接触する。また、第2の円弧状突出部44は、それに外接する曲率円の円上にある接点Qにおいて、コンタクト収容室425の第2の上傾斜側壁431aに接触する。すなわち、本実施例においては、図15にも示されるように、コンタクト40がコンタクト収容室425に装着されたとき、第1及び第2の円弧状突出部42及び44は、いずれも、第1の水平段部430及び第2の水平段部432から離れて配置される。
コンタクト40は、コンタクト収容室425に装着されたとき、図15に示されるように、第1の上傾斜側壁429a、第1の下傾斜側壁429b、第2の上傾斜側壁431a及び第2の下傾斜側壁431bの4箇所において支持されることが理解されるであろう。具体的には、コンタクト40の第1のアーム部41が第1の上傾斜側壁429aに、第1の円弧状突出部42が第1の下傾斜側壁429bに、第2の円弧状突出部44が第2の上傾斜側壁431aに、そして第2のアーム部45が第2の下傾斜側壁431bにそれぞれ支持される。したがって、本実施例においても、コンタクト40は、自身のバネ復帰力によりコンタクト収容室425内に自己保持されることには変わりはない。
本実施例では、第1及び第2の円弧状突出部42、44が第1の水平段部430及び第2の水平段部432から離れて配置されることにより、コンタクト40をコンタクト収容室425内で上下に移動させることができる。それにより、コンタクト40の第1及び第2の接点部41a及び45aが接触する2つの接触対象の外部接点の位置が異なるとき、コンタクト40を予め上下に移動させておくことで、第1及び第2の接点部41a、45aの変形量を同じくすることが可能となる。
(第6の実施例)
本発明に係る第6及び7の実施例は、第1の実施例に係るコンタクトの変形例である。まず、第6の実施例について、図16ないし18を用いて説明する。図16は、本発明の第6の実施例に係るコンタクトの分解斜視図であり、図17は、図16に示されるコンタクトがICソケットのソケット本体に装着され、2つの接触対象が取り付けられていない状態を示す部分断面図である。図18は、ICソケットに2つの接触対象が取り付けられ、図16に示されるコンタクトが該2つの接触対象と電気的に接触している状態を示す図17と同様の部分断面図である。
本実施例におけるコンタクト収容室の構造は、第1の実施例のコンタクト収容室25と全く同じであるので説明を省略する。
本実施例においては、コンタクト640の構造が第1の実施例と異なる。すなわち、本実施例においては、コンタクト640は、第1のコンタクト部材650及び第2のコンタクト部材660の2つのコンタクト部材を含んでいる。2つのコンタクト部材650及び660は、これに限定されるものではないが、まったく同じ構造を有していることが好ましい。
コンタクト640を構成する2つのコンタクト部材650及び660は、例えば、ベリリウム銅(BeCu)のような導電性の金属製薄板から所定形状の細長い帯状体として打ち抜かれ、該帯状体を折り曲げ加工することにより形成される。第1及び第2のコンタクト部材650及び660は、図16に示されるように組み合わされ、第1の実施例におけるコンタクト40と同様に、上下に2つの接触対象と接触可能な形状に形成される。本実施例に係るコンタクト640も、横から見て概略Z字形状をなしている。2つのコンタクト部材650及び660を組み合わせて形成されるコンタクト640は、第1の実施例におけるコンタクト40と、同じ高さ、幅及び奥行を有するように形成される。
本実施例では、2つのコンタクト部材650及び660は、まったく同じ構造を有しているので、ここでは、第1のコンタクト部材650について説明し、第2のコンタクト部材660については説明を省略する。なお、第2のコンタクト部材660についは、第1のコンタクト部材650の説明において、参照番号650を660に置き換えて読むことで理解される。
第1のコンタクト部材650は、自由端としての先端に接点部651aを有する平坦な第1のアーム部651、円弧状突出部652、自由端としての先端に係合部654を有する平坦な第2のアーム部653を含んでいる。第1のアーム部651及び第2のアーム部653は、断面円弧状であり、該円弧に内接する内接円の曲率半径がRである曲率円を有する円弧状突出部652を介して折り返されることで概略V字形状をなすように連結されている。
ここで、第1のアーム部651と第2のアーム部653との円弧状突出部652を介しての連結構造は、第1の実施例における第1のアーム部41と連結部43との第1の円弧状突出部42を介しての連結構造と同じである。また、第2のアーム部653の先端(又は自由端)には、第2のコンタクト部材660の円弧状突出部662の内周面に接触する接触部としての係合部654が形成される。第2のアーム部653の自由端に設けられる係合部654は、断面半円状であり、その外接円が、円弧状突出部652に内接する曲率円の曲率半径Rとほぼ同じかそれより若干小さい半径を有するように形成される。半円状の係合部654は、対向する接点部651aから離れる方向に突出するように第2のアーム部653先端に形成される。
第1のコンタクト部材650の円弧状突出部652は、図17に示されるように、コンタクト640がコンタクト収容室25内に装着されたとき、その曲率円が該円上にある接点Dにおいて水平段部30に接するように形成される。すなわち、第1のコンタクト部材650の円弧状突出部652は、第1のアーム部651から外側に向かって突出するように形成される。
第1のアーム部651及び第2のアーム部653が円弧状突出部652を介して連結形成されることで、第1のアーム部651及び第2のアーム部653は、円弧状突出部652の曲率中心Gを中心として弾性変形することが可能となる。図18に示されるように、コンタクト640がコンタクト収容室25内に装着されているとき、第1のアーム部651の接点部651aに下向きの接触力Aが加えられると、第2のアーム部653の係合部654は、第2のコンタクト部材660から反力Fを受ける。したがって、第1のコンタクト部材650は、第1及び第2のアーム部材651及び653が弾性変形することとなり、第1の実施例よりバネ特性が向上する。このことは、第2のコンタクト部材660にもいえる。
上述したように、本実施例におけるコンタクト640は、第1及び第2のコンタクト部材650及び660が図17に示されるように組み合わされることで形成される。具体的には、図16に示されるように、第1のコンタクト部材650の第2のアーム部材653と第2のコンタクト部材660の第2のアーム部材663が互いに向き合うように、かつ、互いに平行になるように配置する。次に、第1のコンタクト部材650の円弧状突出部652内に、第2のコンタクト部材660の第2のアーム部材663の嵌合部664を嵌合させる。同時に、第2のコンタクト部材660の円弧状突出部662内に、第1のコンタクト部材650の第2のアーム部材653の嵌合部654を嵌合させる。それにより、第1の実施例におけるコンタクト40と同じ高さ、幅及び奥行を有するコンタクト640が形成される。
本実施例におけるコンタクト640は、図17に示されるように、コンタクト収容室25内に装着されたとき、第1のコンタクト部材650の第1のアーム部651がコンタクト収容室25を構成する第1の上傾斜側壁29aに支持される。また、第1のコンタクト部材650の円弧状突出部652がコンタクト収容室25を構成する第1の水平段部30に支持される。同様に、第2のコンタクト部材660の円弧状突出部662が第2の水平段部32に支持され、第2のコンタクト部材660の第1のアーム部661が第2の下傾斜側壁31bに支持される。
本実施例におけるコンタクト640は、上述のように構成されることで、上記第1の実施例と同様の作用効果を奏するばかりでなく、コンタクト640の構造が簡単であり、したがって、製造が容易であり、しかもバネ特性に優れている。
(第7の実施例)
次に、第7の実施例について図19ないし22を用いて説明する。図19は、本発明の第7の実施例に係るコンタクトの分解斜視図であり、図20は、図19に示されるコンタクトがICソケットのソケット本体に装着され、2つの接触対象が取り付けられていない状態を示す部分断面図である。図21は、ICソケットのコンタクト収容室内にコンタクトを装着するための操作を説明するための図20と同様の部分断面図である。図22は、図20に示されるICソケットのソケット本体であって、コンタクトが装着されていないコンタクト収容室を示すソケット本体の部分的断面斜視図である。
本実施例は、第6の実施例と同様、コンタクトを2つのコンタクト部材から構成するようにし、コンタクトのバネ特性を向上させた変形例である。本実施例においては、コンタクトの構造上、コンタクト収容室の構造も第6の実施例とは異なる。
先ず、本実施例におけるコンタクト740について説明する。上述したように、本実施例におけるコンタクト740は、2つのコンタクト部材、第1のコンタクト部材750及び第2のコンタクト部材760を含んでいる。本実施例においても、2つのコンタクト部材750及び760は、これに限定されるものではないが、まったく同じ構造を有していることが好ましい。
コンタクト740を構成する2つのコンタクト部材750及び760は、例えば、ベリリウム銅(BeCu)のような導電性の金属製薄板から所定形状の細長い帯状体として打ち抜かれ、該帯状体を折り曲げ加工することにより形成される。第1及び第2のコンタクト部材750及び760は、図19に示されるように重ね合わされ、第1の実施例におけるコンタクト40と同様に、上下に2つの接触対象と接触可能な形状に形成される。本実施例に係るコンタクト740も、横から見て概略Z字形状をなしている。2つのコンタクト部材750及び760を重ね合わせて形成されるコンタクト740は、第1の実施例におけるコンタクト40と、同じ高さ、幅及び奥行を有するように形成される。
本実施例でも、2つのコンタクト部材750及び760は、まったく同じ構造を有しているので、ここでは、第2のコンタクト部材760について説明し、第1のコンタクト部材750については説明を省略する。なお、第1のコンタクト部材750についは、第2のコンタクト部材760の説明において、参照番号760を750に置き換えて読むことで理解される。
第2のコンタクト部材760は、自由端としての先端に接点部761aを有する平坦な第1のアーム部761、円弧状突出部762、自由端としての先端に接触部765を有する平坦な第2のアーム部763を含んでいる。第1のアーム部761及び第2のアーム部763は、断面円弧状であり、該円弧に内接する内接円の曲率半径がRである曲率円を有する円弧状突出部762を介して折り返されることで概略V字形状をなすように連結されている。本実施例においても、第1のアーム部761と第2のアーム部763との円弧状突出部762を介しての連結構造は、第1の実施例における第1のアーム部41と連結部43との第1の円弧状突出部42を介しての連結構造と同じである。
本実施例の第2のアーム部763には、そのほぼ中央部に、係合片763e、嵌合窓部763fが設けられ、その自由端としての先端の両側に、幅方向外側に向って一対の停止部材766a、766bが突出形成されている。
嵌合窓部763fは、第2のアーム部材763の長手方向に延在する矩形状の開口であり、第2のアーム部材763を貫通している。係合片763eは、図19に示されるように、嵌合窓部763fの円弧状突出部762側の辺において、片持ち梁状に支持され、嵌合窓部763f内に延在している。係合片763eの自由端763e1は、それに限定されるものではないが、対向する第1のアーム部財761から離れる方向に突出するとともに、その近傍は第2のアーム部材763と平行になるように形成されることが好ましい。係合片763eは、その支持端763e2から自由端763e1までの長さが嵌合窓部763fの長手方向の長さの半分より若干小さい長さを有して嵌合窓部763f内を延在していることが好ましい。係合片763eは、また、第2のアーム部材763から切り起こされることで形成されることが好ましい。
第2のアーム部材763に係合片763e及び嵌合窓部763fを設けることで、第1及び第2のコンタクト部材750及び760が、図20に示されるように積み重ねられたとき、互いに対して交差する方向への移動が阻止される。
また、第2のアーム部763の自由端に設けられる接触部765は、断面円弧状に形成されるとともに、該円弧状の接触部765は、対向する接点部761aから離れる方向に突出するように第2のアーム部763の先端に形成される。
第2のコンタクト部材760の円弧状突出部762は、図20に示されるように、コンタクト740がコンタクト収容室725内に装着されたとき、その曲率円が該円上にある接点Eにおいて水平段部732に接するように形成される。すなわち、第2のコンタクト部材750の円弧状突出部762は、第1のアーム部761から外側に向かって突出するように形成される。
第1のアーム部761及び第2のアーム部763が円弧状突出部762を介して連結形成されることで、第1のアーム部761及び第2のアーム部763は、円弧状突出部762の曲率中心Hを中心として弾性変形することが可能となる。図21に示されるように、コンタクト740がコンタクト収容室725内に装着されているとき、第1のアーム部761の接点部761aに上向きの接触力Aが加えられると、第2のアーム部763の接触部765は、第1のコンタクト部材750から反力Fを受ける。したがって、第2のコンタクト部材760は、第1及び第2のアーム部材761及び763が弾性変形することとなり、上記第6の実施例と同様、第1の実施例よりバネ特性が向上する。このことは、第1のコンタクト部材760にもいえる。
本実施例では、上述したように、第2のアーム部材763先端の両側に、幅方向外側に向って一対の停止部材766a、766bが突出形成されている。該一対の停止部材766a、766bは、図19に示されるように、接触部765を含んで、第2のアーム部材763先端の両側に幅方向外側に向って突出形成されている。
図19に示されるように、本実施例におけるコンタクト740の第2のアーム部763の停止部材766a、766bが形成されている以外の部分の幅をWC4とし、停止部材766a、766bが形成されている部分の幅をWC5する。一対の停止部材766a、766bは、上述のように、第2のアーム部763の両側から突出形成されているのであるから、該一対の停止部材766a、766bが形成されている部分の幅WC5は、幅WC4より大きい。なお、幅WC4は、コンタクト740の幅として表されるものであり、第1及び第2のアーム部761、763の幅と実質的に同じである。また、幅WC4は、第1の実施例におけるコンタクト40の幅と同じであってもよいし、異なっていてもよい。
上述したように、本実施例におけるコンタクト740は、第1及び第2のコンタクト部材750及び760が図20に示されるように重ね合わされることで形成される。しかしながら、後述するように、本実施例では、上記第6の実施例とは異なり、予めコンタクト740として形成して後、コンタクト収容室725内に装着することはしない。
次に、本実施例におけるコンタクト収容室725について説明する。
本実施例におけるコンタクト収容室725は、ソケット本体20を貫通し、4つの側壁により画定され、この4つの側壁のうち、図20において左右に対向する側壁の構造は、第1及び第2の実施例と同じである。すなわち、図20において左右に対向する側壁は、それぞれ、第1の上及び下傾斜側壁729a、729b、第1の水平段部730及び第2の上及び下傾斜側壁731a、731b、第2の水平段部732を有する。
4つの側壁のうち、図20において紙面垂直に対向する一対の側壁(図では、一方の側壁726のみが示されている。)の構造が上記第1ないし第6の実施例と異なる。本実施例では、コンタクト740を構成する2つのコンタクト部材750、760それぞれに設けられた2組の一対の停止部材を収容する必要がある。したがって、本実施例では、図20において紙面垂直に対向する一対の側壁に、第1及び第2の停止部材収容凹部(図では、一方の側壁726に形成される726m、726nのみが示されている。)がそれぞれ対を成して設けられる。
第1及び第2の停止部材収容凹部(以下、単に、「収容凹部」という。)が形成される一対の側壁は、同じ構造を有しているので、ここでは、図に示される一方の側壁726について詳細に説明し、他方の側壁の構造については説明を省略する。
側壁726には、コンタクト740の2組の一対の停止部材756a、756b及び766a、766bのうちの対応する停止部材756a及び766aがそれぞれ収容される第1及び第2の収容凹部726m及び726nが形成されている。
本実施例における第1の収容凹部726mは、ICパッケージ載置凹部22の底面22a側から、コンタクト収容室725を画定する第1の上傾斜側壁729aに沿い、適宜の長さ、幅及び深さを有するように形成される。同様に、第2の収容凹部726nが、ソケット本体20の底面23側から、第2の下傾斜側壁731bに沿い、上記第1の収容凹部726mと同じ長さ、幅及び深さを有するように形成される。したがって、第1及び第2の収容凹部726m及び726nは、図20に示されるように、上下に点対称的に配置されるように形成される。第1の収容凹部726mと側壁726との間には第1の段差部726pが形成され、第2の収容凹部726nと側壁726との間には第2の段差部726qが形成される。
コンタクト収容室725の対をなす側壁(726)間の距離をWH3とする。さらに、対を成して形成される第1の収容凹部(726m)(又は、第2の収容凹部726n)間の距離をWH4とする。このとき、コンタクト740の幅及びコンタクト収容室225の対を成す側壁226、227の距離は、WH4>WC5>WH3>WC4となるように設定される。
本実施例におけるコンタクト740は、図20に示されるように、コンタクト収容室25内に装着されたとき、第1のコンタクト部材750の第1のアーム部751がコンタクト収容室725を構成する第1の上傾斜側壁729aに支持される。また、第1のコンタクト部材750の円弧状突出部752がコンタクト収容室725を構成する第1の水平段部730に支持される。同様に、第2のコンタクト部材760の円弧状突出部762が第2の水平段部732に支持され、第2のコンタクト部材760の第1のアーム部761が第2の下傾斜側壁731bに支持される。
また、第1のコンタクト部材750の嵌合窓部753f内には、第2のコンタクト部材760の係止片763eが第1のコンタクト部材750の係止片753eと対向するように嵌合している。同様に、第2のコンタクト部材760の嵌合窓部763f内には、第1のコンタクト部材750の係止片753eが嵌合している。このとき、対向する第1のコンタクト部材750の係止片753aと第2のコンタクト部材760の係止片763eは、それぞれの自由端753e1と763e1とが当接するように、対応する嵌合窓部763f、753fに嵌合することが好ましい。本実施例では、このように第1及び第2のコンタクト部材750及び860それぞれの第2のアーム部753及び763に、嵌合窓部753f及び763fとともに係止片753e及び763eが設けられている。しかしながら、このような構成に限られるものではなく、例えば、単に、係止片753e及び763eのみが、第1および第2のコンタクト部材750及び760それぞれの第2のアーム部753及び763にそれぞれ切り起こされるだけでもよい。
さらに、第1のコンタクト部材750の接触部755は、第2のコンタクト部材760の円弧状突出部762に接触し、第2のコンタクト部材760の接触部765は、第1のコンタクト部材750の円弧状突出部752に接触している。もちろん、第1のコンタクト部材750の一対の停止部材756a、756bは、対を成す第1の収容凹部(726m)に収容され、第2のコンタクト部材760の一対の停止部材766a、766bは、対を成す第2の収容凹部(726n)に収容されている。
このようにコンタクト740及びコンタクト収容室725が構成されることで、コンタクト740は、図20において上下方向に若干のずれが生じても、コンタクト収容室725から上下方向に外れることはない。
本実施例では、上述したように、第6実施例のように予め第1及び第2のコンタクト部材750及び760を重ね合わせ、コンタクト740を形成して後、該コンタクト740をコンタクト収容室725に装着することはできない。本実施例では、コンタクト740をコンタクト収容室725内に装着する動作に付き、図21を用いて説明する。
最初に、第2のコンタクト部材760をコンタクト収容室725内の所定の位置に配置する。具体的には、第2のコンタクト部材760を下側からコンタクト収容室725内に挿入する。続いて、図21に示されるように、第2のコンタクト部材760の円弧状突出部762がコンタクト収容室725を構成する第2の水平段部732上に載るように、第2のコンタクト部材760をコンタクト収容室725内に設置する。
次に、第1のコンタクト部材750の円弧状突出部752を下にして、該第1のコンタクト部材750を上側からコンタクト収容室725内に挿入する。この時、第1のコンタクト部材750の第2のアーム部材751及び第2のコンタクト部材760の第2のアーム部761は、互いに対して変形可能であるから、第1のコンタクト部材750は、容易に挿入され得る。第1のコンタクト部材750の円弧状突出部752がコンタクト収容室を構成する第1の水平段部730に到達することでコンタクト740の装着が完了する。
なお、本実施例においては、コンタクト収容室725を構成する、図20において紙面に垂直に対向する一対の側壁に、それぞれ独立した第1及び第2の収容凹部(726m、726n)を設けているが、第3の実施例のように連続していてもよい。
本実施例におけるコンタクト740及びコンタクト収容室725は、上述のように構成されることで、上記第1の実施例と同様の作用効果を奏するばかりでなく、コンタクト740の装着が簡単であり、第6の実施例と銅用バネ特性にも優れている。
20 ソケット本体
25 コンタクト収容室
29a 第1の上傾斜側壁
29b 第1の下傾斜側壁
30 第1の水平段部
31a 第2の上傾斜側壁
31b 第2の下傾斜側壁
32 第2の水平段部
40、140、240、340、640、740 コンタクト
41 1 第1のアーム部
41a 第1の接点部
42 第1の円弧状突出部
43 連結部
44 第2の円弧状突出部
45 第2のアーム部
45a 第2の接点部
60 プリント配線板
80 ICパッケージ
100 ICソケット
141b 第1のアーム部の切り起こし片
145b 第2のアーム部の切り起こし片
243a、243b、343a、343b、343d、343e、756a、756b、
766a、766b 停止部材
650、750 第1のコンタクト部材
660、670 第2のコンタクト部材
G、H 円弧状突出部の曲率中心

Claims (14)

  1. 先端に第1の接点部を有する平坦な第1のアーム部、第1の円弧状突出部、平坦な連結部、第2の円弧状突出部、及び先端に第2の接点部を有する平坦な第2のアーム部を含み、横から見て概略Z字形状をなす、上下に2つの接触対象を有するコンタクトであって、
    第1のアーム部と連結部は、第1の円弧状突出部を介して折り返され、概略V字形状をなすように連結され、
    連結部と第2のアーム部は、第2の円弧状突出部を介して折り返され、概略V字形状をなすように連結され、
    第1の円弧状突出部は、第1のアーム部の下方であって、第1のアーム部の延長線より外側に存在し、
    第2の円弧状突出部は、第2のアーム部の上方であって、第2のアーム部の延長線より外側に存在することを特徴とするコンタクト。
  2. 前記第1及び第2の円弧状突出部は、コンタクトの中心軸に対して点対称に配置されていることを特徴とする請求項1に記載のコンタクト。
  3. 前記第1の円弧状突出部の曲率円の曲率中心は、前記第1のアーム部の延長線より外側に存在し、
    前記第2の円弧状突出部の曲率円の曲率中心は、前記第2のアーム部の延長線より外側に存在することを特徴とする請求項1または2のいずれかに記載のコンタクト。
  4. 前記平坦な連結部の両側には、一対の停止部材が外側に向って突出形成されていることを特徴とする請求項1ないし3のいずれかに記載のコンタクト。
  5. 前記第1の円弧状突出部又は前記第2の円弧状突出部に一対の停止部材が外側に向ってさらに突出形成されていることを特徴とする請求項4に記載のコンタクト。
  6. 前記第1及び第2のアーム部には、その自由端が前記連結部に向かって切り起こされた切り起こし片が設けられることを特徴とする請求項1ないし5のいずれかに記載のコンタクト。
  7. 先端に接点部を有する平坦な第1のアーム部、円弧状突出部、及び先端に接触部を有する平坦な第2のアーム部をそれぞれ有する第1及び第2のコンタクト部材を組み合わせることにより形成される、上下に2つの接触対象を有するコンタクトであって、
    各コンタクト部材の第1のアーム部と第2のアーム部は、円弧状突出部を介して折り返され、概略V字形状をなすように連結され、
    前記第1及び第2のコンタクト部材が組み合わされてコンタクトを形成したとき、横から見て概略Z字形状をなすとともに、
    第1のコンタクト部材の円弧状突出部は、該第1のコンタクト部材の第1のアーム部の下方であって、該第1のアーム部の延長線より外側に存在し、また、第2のコンタクト部材の円弧状突出部は、該第2のコンタクト部材の第1のアーム部の上方であって、該第1のアーム部の延長線より外側に存在することを特徴とするコンタクト。
  8. 各コンタクト部材の第2のアーム部の先端両側には、一対の停止部材が外側に向って突出形成されていることを特徴とする請求項7に記載のコンタクト
  9. 先端に第1の接点部を有する平坦な第1のアーム部、第1の円弧状突出部、平坦な連結部、第2の円弧状突出部、及び先端に第2の接点部を有する平坦な第2のアーム部を含み、横から見て概略Z字形状をなす、上下に2つの接触対象を有するコンタクトであって、
    第1のアーム部と連結部は、第1の円弧状突出部を介して折り返され、概略V字形状をなすように連結され、
    連結部と第2のアーム部は、第2の円弧状突出部を介して折り返され、概略V字形状をなすように連結され、
    第1の円弧状突出部は、第1のアーム部の下方であって、第1のアーム部の延長線より外側に存在し、
    第2の円弧状突出部は、第2のアーム部の上方であって、第2のアーム部の延長線より外側に存在するコンタクトと、
    該コンタクトをそれぞれ収容する複数のコンタクト収容室を有するとともに、コンタクトの第1及び第2の接点部に接触する2つの接触対象が取り付けられるソケット本体を少なくとも備え、
    前記コンタクト収容室は、前記ソケット本体を上下に貫通していることを特徴とするICソケット。
  10. 前記ソケット本体に設けられた前記コンタクト収容室を構成する対向する一対の側壁が互いに平行に斜めに形成されるとともに、各側壁の中間には、ソケット本体の底面からの高さが異なる、該底面に平行な水平段部が形成該底面に平行な水平段部を形成し、該水平段部で前記コンタクトの前記円弧状突出部を支持させることを特徴とする請求項9に記載のICソケット。
  11. 前記コンタクト収容室に収容されるコンタクトは、前記第1の円弧状突出部又は前記第2の円弧状突出部に一対の停止部材が外側に向って突出形成され、
    前記コンタクト収容室を構成する残りの対向する一対の側壁には、前記コンタクトに対をなして設けられている停止部材を収容する収容凹部が形成されていることを特徴とする請求項10に記載のICソケット。
  12. 先端に接点部を有する平坦な第1のアーム部、円弧状突出部、及び先端に接触部を有する平坦な第2のアーム部をそれぞれ有する第1及び第2のコンタクト部材を組み合わせることにより形成される、上下に2つの接触対象を有するコンタクトであって、
    各コンタクト部材の第1のアーム部と第2のアーム部は、円弧状突出部を介して折り返され、概略V字形状をなすように連結され、
    前記第1及び第2のコンタクト部材が組み合わされてコンタクトを形成したとき、横から見て概略Z字形状をなすとともに、
    第1のコンタクト部材の円弧状突出部は、該第1のコンタクト部材の第1のアーム部の下方であって、該第1のアーム部の延長線より外側に存在し、また、第2のコンタクト部材の円弧状突出部は、該第2のコンタクト部材の第1のアーム部の上方であって、該第1のアーム部の延長線より外側に存在するコンタクトと、
    該コンタクトをそれぞれ収容する複数のコンタクト収容室を有するとともに、コンタクトの第1及び第2の接点部に接触する2つの接触対象が取り付けられるソケット本体を少なくとも備え、
    前記コンタクト収容室は、前記ソケット本体を上下に貫通していることを特徴とするICソケット。
  13. 前記ソケット本体に設けられた前記コンタクト収容室を構成する対向する一対の側壁が互いに平行に斜めに形成されるとともに、各側壁の中間には、ソケット本体の底面からの高さが異なる、該底面に平行な水平段部が形成該底面に平行な水平段部を形成し、該水平段部で前記コンタクトの前記円弧状突出部を支持させることを特徴とする請求項12に記載のICソケット。
  14. 前記コンタクト収容室に収容される各コンタクト部材の第2のアーム部の先端両側には、一対の停止部材が外側に向って突出形成され、
    前記コンタクト収容室を構成する残りの対向する一対の側壁には、前記コンタクトに対をなして設けられている停止部材を収容する収容凹部が形成されていることを特徴とする請求項13に記載のICソケット。
JP2009121182A 2008-07-31 2009-05-19 コンタクト及びこれを用いたicソケット Expired - Fee Related JP4749479B2 (ja)

Priority Applications (3)

Application Number Priority Date Filing Date Title
JP2009121182A JP4749479B2 (ja) 2008-07-31 2009-05-19 コンタクト及びこれを用いたicソケット
US12/511,820 US7891983B2 (en) 2008-07-31 2009-07-29 Contact and IC socket using the same
CN200910160963.7A CN101640330B (zh) 2008-07-31 2009-07-31 触头和使用该触头的ic插座

Applications Claiming Priority (3)

Application Number Priority Date Filing Date Title
JP2008197824 2008-07-31
JP2008197824 2008-07-31
JP2009121182A JP4749479B2 (ja) 2008-07-31 2009-05-19 コンタクト及びこれを用いたicソケット

Publications (2)

Publication Number Publication Date
JP2010056069A true JP2010056069A (ja) 2010-03-11
JP4749479B2 JP4749479B2 (ja) 2011-08-17

Family

ID=41608803

Family Applications (1)

Application Number Title Priority Date Filing Date
JP2009121182A Expired - Fee Related JP4749479B2 (ja) 2008-07-31 2009-05-19 コンタクト及びこれを用いたicソケット

Country Status (3)

Country Link
US (1) US7891983B2 (ja)
JP (1) JP4749479B2 (ja)
CN (1) CN101640330B (ja)

Cited By (7)

* Cited by examiner, † Cited by third party
Publication number Priority date Publication date Assignee Title
JP2012129109A (ja) * 2010-12-16 2012-07-05 Japan Aviation Electronics Industry Ltd コネクタ及びそれに用いるコンタクト
WO2013039154A1 (ja) * 2011-09-16 2013-03-21 日本発條株式会社 接触端子
JP2014225469A (ja) * 2014-08-04 2014-12-04 日本航空電子工業株式会社 コネクタ及びそれに用いるコンタクト
JP2019009030A (ja) * 2017-06-27 2019-01-17 モレックス エルエルシー ソケット
KR20190043681A (ko) * 2017-10-19 2019-04-29 엘에스엠트론 주식회사 커넥터
JP2021140953A (ja) * 2020-03-05 2021-09-16 ヒロセ電機株式会社 回路基板用電気コネクタおよび回路基板付電気コネクタ
JP2022520873A (ja) * 2019-02-22 2022-04-01 アンフェノール インターコン システムズ、インコーポレイテッド インターポーザアセンブリおよび方法

Families Citing this family (27)

* Cited by examiner, † Cited by third party
Publication number Priority date Publication date Assignee Title
JP4749479B2 (ja) * 2008-07-31 2011-08-17 山一電機株式会社 コンタクト及びこれを用いたicソケット
TWM377746U (en) * 2009-09-30 2010-04-01 Hon Hai Prec Ind Co Ltd Electrical connector
US8263879B2 (en) * 2009-11-06 2012-09-11 International Business Machines Corporation Axiocentric scrubbing land grid array contacts and methods for fabrication
TWI446634B (zh) * 2010-03-17 2014-07-21 Hon Hai Prec Ind Co Ltd 電連接器
JP5706208B2 (ja) * 2011-03-23 2015-04-22 オリンパス株式会社 広角光検出部材及びそれを用いた走査型観察装置
DE102011017500B4 (de) * 2011-04-26 2017-03-16 Semikron Elektronik Gmbh & Co. Kg Schaltungsanordnung
TWI429356B (zh) * 2012-03-26 2014-03-01 Wistron Corp 電性連接機構及其連接單元
US8888502B2 (en) * 2012-11-15 2014-11-18 Hon Hai Precision Industry Co., Ltd. Electrical connector with dual contact halves
US9341649B1 (en) * 2013-03-15 2016-05-17 Johnstech International Corporation On-center electrically conductive pins for integrated testing
US9429591B1 (en) * 2013-03-15 2016-08-30 Johnstech International Corporation On-center electrically conductive pins for integrated testing
CN105393408B (zh) * 2013-07-11 2018-01-30 约翰国际有限公司 用于集成测试的居中导电插脚
TWI500222B (zh) * 2013-07-12 2015-09-11 Ccp Contact Probes Co Ltd 連接器組合
CN106030930B (zh) * 2014-02-19 2018-09-14 泰连德国有限公司 包括环圈弹簧部分的接触元件
US9912084B2 (en) 2014-08-20 2018-03-06 Te Connectivity Corporation High speed signal connector assembly
KR102272613B1 (ko) * 2015-03-09 2021-07-05 파코스(주) 콘택트
JP6513480B2 (ja) * 2015-05-22 2019-05-15 日本航空電子工業株式会社 コネクタ
US10079443B2 (en) * 2016-06-16 2018-09-18 Te Connectivity Corporation Interposer socket and connector assembly
CN105927939B (zh) * 2016-06-17 2023-12-22 广州乔光光电科技发展有限公司 一种具有线路夹持结构的cob光源固定座
US11268981B2 (en) * 2016-12-16 2022-03-08 Xcerra Corporation Spring-loaded probe having folded portions and probe assembly
CN206532926U (zh) * 2017-01-18 2017-09-29 番禺得意精密电子工业有限公司 电连接器
CN107453080B (zh) * 2017-08-09 2023-07-18 深圳市信维通信股份有限公司 一种预压高弹力弹片连接器
CN109935988B (zh) * 2017-12-15 2021-05-14 中航光电科技股份有限公司 一种电连接器及电连接器组件
CN110350350A (zh) * 2018-04-02 2019-10-18 青岛安普泰科电子有限公司 电连接器
JP7197996B2 (ja) * 2018-04-26 2022-12-28 ヒロセ電機株式会社 電気コネクタ
JP2020030918A (ja) * 2018-08-21 2020-02-27 東芝デバイス&ストレージ株式会社 コネクタ及び積層基板モジュール
TWM602744U (zh) * 2020-01-20 2020-10-11 唐虞企業股份有限公司 受力機構及其構成的連接器
CN117525940A (zh) * 2022-07-29 2024-02-06 山一电机株式会社 连接器以及连接器组件

Citations (8)

* Cited by examiner, † Cited by third party
Publication number Priority date Publication date Assignee Title
JPS5694050U (ja) * 1979-12-19 1981-07-25
JPH0434380A (ja) * 1990-05-30 1992-02-05 Toshiba Chem Corp Icソケット
JP2001102141A (ja) * 1999-07-27 2001-04-13 Mitsubishi Electric Corp テスト用ソケット、その製造方法、テスト用ソケットを用いたテスト方法、及び被テスト部材
JP2002231401A (ja) * 2001-01-31 2002-08-16 Molex Inc ソケットコネクタ
JP2003123924A (ja) * 2001-10-05 2003-04-25 Molex Inc 半導体パッケージのソケット、及びコンタクト
JP2003163045A (ja) * 2001-11-28 2003-06-06 Nippon Tanshi Kk 電気接触子
JP2004111364A (ja) * 2002-08-23 2004-04-08 Lumberg Connect Gmbh & Co Kg とくに電子回路に電圧源を接続するための電気接触装置
JP2007242551A (ja) * 2006-03-10 2007-09-20 Japan Aviation Electronics Industry Ltd コネクタ

Family Cites Families (4)

* Cited by examiner, † Cited by third party
Publication number Priority date Publication date Assignee Title
US5324205A (en) * 1993-03-22 1994-06-28 International Business Machines Corporation Array of pinless connectors and a carrier therefor
JP4680846B2 (ja) 2006-07-11 2011-05-11 山一電機株式会社 コンタクト及びこれを用いたicソケット
US7695286B2 (en) * 2007-09-18 2010-04-13 Delaware Capital Formation, Inc. Semiconductor electromechanical contact
JP4749479B2 (ja) * 2008-07-31 2011-08-17 山一電機株式会社 コンタクト及びこれを用いたicソケット

Patent Citations (8)

* Cited by examiner, † Cited by third party
Publication number Priority date Publication date Assignee Title
JPS5694050U (ja) * 1979-12-19 1981-07-25
JPH0434380A (ja) * 1990-05-30 1992-02-05 Toshiba Chem Corp Icソケット
JP2001102141A (ja) * 1999-07-27 2001-04-13 Mitsubishi Electric Corp テスト用ソケット、その製造方法、テスト用ソケットを用いたテスト方法、及び被テスト部材
JP2002231401A (ja) * 2001-01-31 2002-08-16 Molex Inc ソケットコネクタ
JP2003123924A (ja) * 2001-10-05 2003-04-25 Molex Inc 半導体パッケージのソケット、及びコンタクト
JP2003163045A (ja) * 2001-11-28 2003-06-06 Nippon Tanshi Kk 電気接触子
JP2004111364A (ja) * 2002-08-23 2004-04-08 Lumberg Connect Gmbh & Co Kg とくに電子回路に電圧源を接続するための電気接触装置
JP2007242551A (ja) * 2006-03-10 2007-09-20 Japan Aviation Electronics Industry Ltd コネクタ

Cited By (12)

* Cited by examiner, † Cited by third party
Publication number Priority date Publication date Assignee Title
JP2012129109A (ja) * 2010-12-16 2012-07-05 Japan Aviation Electronics Industry Ltd コネクタ及びそれに用いるコンタクト
WO2013039154A1 (ja) * 2011-09-16 2013-03-21 日本発條株式会社 接触端子
JP2013065466A (ja) * 2011-09-16 2013-04-11 Nhk Spring Co Ltd 接触端子
CN103797649A (zh) * 2011-09-16 2014-05-14 日本发条株式会社 接触端子
US9214746B2 (en) 2011-09-16 2015-12-15 Nhk Spring Co., Ltd. Contact terminal interposed between two contact targets
JP2014225469A (ja) * 2014-08-04 2014-12-04 日本航空電子工業株式会社 コネクタ及びそれに用いるコンタクト
JP2019009030A (ja) * 2017-06-27 2019-01-17 モレックス エルエルシー ソケット
KR20190043681A (ko) * 2017-10-19 2019-04-29 엘에스엠트론 주식회사 커넥터
KR102341838B1 (ko) 2017-10-19 2021-12-22 엘에스엠트론 주식회사 커넥터
JP2022520873A (ja) * 2019-02-22 2022-04-01 アンフェノール インターコン システムズ、インコーポレイテッド インターポーザアセンブリおよび方法
JP2021140953A (ja) * 2020-03-05 2021-09-16 ヒロセ電機株式会社 回路基板用電気コネクタおよび回路基板付電気コネクタ
JP7393980B2 (ja) 2020-03-05 2023-12-07 ヒロセ電機株式会社 回路基板用電気コネクタおよび回路基板付電気コネクタ

Also Published As

Publication number Publication date
CN101640330A (zh) 2010-02-03
CN101640330B (zh) 2012-12-05
US20100029100A1 (en) 2010-02-04
JP4749479B2 (ja) 2011-08-17
US7891983B2 (en) 2011-02-22

Similar Documents

Publication Publication Date Title
JP4749479B2 (ja) コンタクト及びこれを用いたicソケット
US9281594B2 (en) Connector
JP4883215B1 (ja) 端子およびこれを用いたコネクタ
JP4973988B2 (ja) コンタクト及びこれを用いたicソケット
JP6241712B2 (ja) コネクタおよび当該コネクタに用いられるヘッダならびにソケット
JP4811530B1 (ja) 端子およびこれを用いたコネクタ
JP3264647B2 (ja) シールド板を有する電気コネクタ
JP6687682B2 (ja) カードエッジコネクタ
JP6128435B2 (ja) コネクタおよび当該コネクタに用いられるヘッダならびにソケット
JP6120168B2 (ja) コネクタおよび当該コネクタに用いられるヘッダならびにソケット
JP7369576B2 (ja) 電気コネクタ
JP4591855B2 (ja) 電子部品取付け用ソケット
JP7604612B2 (ja) コネクタ
KR20040108545A (ko) 유동형 커넥터 및 그 제조방법
JP2021086727A (ja) コネクタ及び電子機器
JP3186962U (ja) 電気コネクタ及び電気コネクタ組立体
JP5267635B2 (ja) コンタクト及びこれを用いたicソケット
JP4680846B2 (ja) コンタクト及びこれを用いたicソケット
KR101611781B1 (ko) 접속단자 및 이것을 이용한 커넥터
CN103384944A (zh) 端子及使用其的连接器
JP6643641B2 (ja) コネクタ、ソケットおよびソケットと回路基板との接続構造
CN102792526A (zh) 端子及使用该端子的连接器
JP7662384B2 (ja) 基板実装型のコネクタ、及び、コネクタ付き基板
TWI686019B (zh) 卡緣連接器
JP2005228716A (ja) 電子部品用ソケット

Legal Events

Date Code Title Description
A977 Report on retrieval

Free format text: JAPANESE INTERMEDIATE CODE: A971007

Effective date: 20100607

A131 Notification of reasons for refusal

Free format text: JAPANESE INTERMEDIATE CODE: A131

Effective date: 20100611

A521 Request for written amendment filed

Free format text: JAPANESE INTERMEDIATE CODE: A523

Effective date: 20100810

A131 Notification of reasons for refusal

Free format text: JAPANESE INTERMEDIATE CODE: A131

Effective date: 20110218

RD13 Notification of appointment of power of sub attorney

Free format text: JAPANESE INTERMEDIATE CODE: A7433

Effective date: 20110329

A521 Request for written amendment filed

Free format text: JAPANESE INTERMEDIATE CODE: A821

Effective date: 20110329

Free format text: JAPANESE INTERMEDIATE CODE: A523

Effective date: 20110413

TRDD Decision of grant or rejection written
A01 Written decision to grant a patent or to grant a registration (utility model)

Free format text: JAPANESE INTERMEDIATE CODE: A01

Effective date: 20110506

A01 Written decision to grant a patent or to grant a registration (utility model)

Free format text: JAPANESE INTERMEDIATE CODE: A01

A61 First payment of annual fees (during grant procedure)

Free format text: JAPANESE INTERMEDIATE CODE: A61

Effective date: 20110517

R150 Certificate of patent or registration of utility model

Ref document number: 4749479

Country of ref document: JP

Free format text: JAPANESE INTERMEDIATE CODE: R150

Free format text: JAPANESE INTERMEDIATE CODE: R150

FPAY Renewal fee payment (event date is renewal date of database)

Free format text: PAYMENT UNTIL: 20140527

Year of fee payment: 3

FPAY Renewal fee payment (event date is renewal date of database)

Free format text: PAYMENT UNTIL: 20140527

Year of fee payment: 3

FPAY Renewal fee payment (event date is renewal date of database)

Free format text: PAYMENT UNTIL: 20140527

Year of fee payment: 3

R250 Receipt of annual fees

Free format text: JAPANESE INTERMEDIATE CODE: R250

R250 Receipt of annual fees

Free format text: JAPANESE INTERMEDIATE CODE: R250

R250 Receipt of annual fees

Free format text: JAPANESE INTERMEDIATE CODE: R250

R250 Receipt of annual fees

Free format text: JAPANESE INTERMEDIATE CODE: R250

R250 Receipt of annual fees

Free format text: JAPANESE INTERMEDIATE CODE: R250

R250 Receipt of annual fees

Free format text: JAPANESE INTERMEDIATE CODE: R250

R250 Receipt of annual fees

Free format text: JAPANESE INTERMEDIATE CODE: R250

R250 Receipt of annual fees

Free format text: JAPANESE INTERMEDIATE CODE: R250

LAPS Cancellation because of no payment of annual fees