JP2010053961A - ケーブル保護案内装置用ガイドレール - Google Patents

ケーブル保護案内装置用ガイドレール Download PDF

Info

Publication number
JP2010053961A
JP2010053961A JP2008219858A JP2008219858A JP2010053961A JP 2010053961 A JP2010053961 A JP 2010053961A JP 2008219858 A JP2008219858 A JP 2008219858A JP 2008219858 A JP2008219858 A JP 2008219858A JP 2010053961 A JP2010053961 A JP 2010053961A
Authority
JP
Japan
Prior art keywords
cable protection
guide device
protection guide
guide rail
rail
Prior art date
Legal status (The legal status is an assumption and is not a legal conclusion. Google has not performed a legal analysis and makes no representation as to the accuracy of the status listed.)
Granted
Application number
JP2008219858A
Other languages
English (en)
Other versions
JP4757288B2 (ja
Inventor
Shoichiro Komiya
庄一郎 小宮
Current Assignee (The listed assignees may be inaccurate. Google has not performed a legal analysis and makes no representation or warranty as to the accuracy of the list.)
Tsubakimoto Chain Co
Original Assignee
Tsubakimoto Chain Co
Priority date (The priority date is an assumption and is not a legal conclusion. Google has not performed a legal analysis and makes no representation as to the accuracy of the date listed.)
Filing date
Publication date
Application filed by Tsubakimoto Chain Co filed Critical Tsubakimoto Chain Co
Priority to JP2008219858A priority Critical patent/JP4757288B2/ja
Priority to US12/497,054 priority patent/US7975464B2/en
Priority to DE102009033679.6A priority patent/DE102009033679B4/de
Publication of JP2010053961A publication Critical patent/JP2010053961A/ja
Application granted granted Critical
Publication of JP4757288B2 publication Critical patent/JP4757288B2/ja
Active legal-status Critical Current
Anticipated expiration legal-status Critical

Links

Images

Classifications

    • FMECHANICAL ENGINEERING; LIGHTING; HEATING; WEAPONS; BLASTING
    • F16ENGINEERING ELEMENTS AND UNITS; GENERAL MEASURES FOR PRODUCING AND MAINTAINING EFFECTIVE FUNCTIONING OF MACHINES OR INSTALLATIONS; THERMAL INSULATION IN GENERAL
    • F16GBELTS, CABLES, OR ROPES, PREDOMINANTLY USED FOR DRIVING PURPOSES; CHAINS; FITTINGS PREDOMINANTLY USED THEREFOR
    • F16G13/00Chains
    • F16G13/12Hauling- or hoisting-chains so called ornamental chains
    • F16G13/16Hauling- or hoisting-chains so called ornamental chains with arrangements for holding electric cables, hoses, or the like
    • HELECTRICITY
    • H02GENERATION; CONVERSION OR DISTRIBUTION OF ELECTRIC POWER
    • H02GINSTALLATION OF ELECTRIC CABLES OR LINES, OR OF COMBINED OPTICAL AND ELECTRIC CABLES OR LINES
    • H02G3/00Installations of electric cables or lines or protective tubing therefor in or on buildings, equivalent structures or vehicles
    • H02G3/02Details
    • H02G3/04Protective tubing or conduits, e.g. cable ladders or cable troughs
    • H02G3/0462Tubings, i.e. having a closed section
    • H02G3/0475Tubings, i.e. having a closed section formed by a succession of articulated units

Landscapes

  • Engineering & Computer Science (AREA)
  • General Engineering & Computer Science (AREA)
  • Mechanical Engineering (AREA)
  • Architecture (AREA)
  • Civil Engineering (AREA)
  • Structural Engineering (AREA)
  • Electric Cable Arrangement Between Relatively Moving Parts (AREA)

Abstract

【課題】ケーブル保護案内装置の横方向のぶれを抑制して優れた走行安定性を実現し、しかも、ケーブル保護案内装置の摺動を抑制して摩耗の低減を実現するケーブル保護案内装置用ガイドレールを提供する。
【解決手段】一対のアルミ押出成形レール110の対向する面に長手方向に蟻溝110aが形成されているとともに蟻溝110aに係合し長手方向に移動可能な軸支持部材120に軸支された樹脂ローラ140が複数個配設されていることによって、上記の課題を解決する。
【選択図】図1

Description

本発明は、工作機械、電子機器、土木機械、産業用ロボット、搬送装置等に使用され、これらの移動部等に給電、信号電送、給液、給気等を行う電気ケーブル、光ファイバーケーブル、流体供給用ホース等の可撓性のケーブルやホース等(以下、単に「ケーブル」という)を安全確実に保護案内するケーブル保護案内装置に関し、さらに詳しくは、ケーブル保護案内装置を長手方向に曲げ返して使用した場合に、ケーブル保護案内装置の横方向のぶれを抑えるケーブル保護案内装置用ガイドレールに関するものである。
工作機械、土木機械、搬送装置等の移動部へケーブルを接続すると、移動に伴ってケーブルに無理なねじれや屈曲、引張力が生じケーブルが傷んだり、外観が雑然となったりする。そのため、これらのケーブルを保護案内するケーブル保護案内装置が使用される。
一般にケーブル保護案内装置は、図10に示すように、ケーブルCの両側に配置された一対のリンクプレート202とリンクプレート202の屈曲外周側及び屈曲内周側にそれぞれ横架された連結杆201とにより構成されたリンク枠体が、ケーブルCを内挿した状態で長手方向に多数連結されることによって、ケーブルCを移動端206と固定端205との間において保護案内している。
このようなケーブル保護案内装置200が移動端206と固定端205との間で長手方向に曲げ返されて使用される場合であって、それが長い移動ストロークである場合(ロングスパン仕様)、曲げ返されたケーブル保護案内装置200と曲げ返される前のケーブル保護案内装置200との屈曲内周面同士及びケーブル保護案内装置200の移動軌道を案内するために設置されるガイドレールの棚板が摺動する。そして、この摺動により、ケーブル保護案内装置200の円滑な往復動作が阻害され、最悪の場合、摩耗によりケーブル保護案内装置200が破断するということが懸念されている。
このような事態を回避するため、図8に示すように、ケーブル保護案内装置200の屈曲部220と移動端206との間で、向かい合ったケーブル保護案内装置200間に配置して、上下のケーブル保護案内装置200の直接の接触をローラ320によって回避するスケートユニット300が知られている(例えば、特許文献1参照)。
また、ケーブル保護案内装置200の軌道に沿って、図9に示すように、設置部400bを有する一対のガイドレール400を断面クランク形状の取付部材であるレールクランクバーRCとボルトBとを用いて床面に敷設し、ケーブル保護案内装置200の横方向のぶれを抑えることも知られている。
特表2005−515370号公報
ところが、前述したスケートユニット300は、ケーブル保護案内装置200を長手方向に折り返して、ロングスパン仕様で使用する際に用いられるが、この場合、ケーブル保護案内装置200は、長いものでは、数十mの長さとなる。そして、ケーブル保護案内装置200は、図10に示すように、成形品であるリンク枠体の連結体であるため、左右のリンクピッチの僅かな差が累積され、横曲がりが生じ、スケートユニット300から脱落するという課題があった。
一方、前述したガイドレール400は、ケーブル保護案内装置200の屈曲内周面とガイドレール400の棚板400aとが摺動するためケーブル保護案内装置200の屈曲内周面が摩耗するという課題があった。また、ケーブル保護案内装置200の横方向のぶれにより、ケーブル保護案内装置200のリンクプレート202とガイドレール400の側壁400Cが摺動し、リンクプレート202が摩耗するという課題があった。
そこで、本発明が解決しようとする技術的課題、すなわち本発明の目的は、ケーブル保護案内装置の横方向のぶれを抑制して優れた走行安定性を実現し、しかも、ケーブル保護案内装置の摺動を抑制して摩耗の低減を実現するケーブル保護案内装置用ガイドレールを提供することである。
まず、本請求項1に係る発明は、左右に離間配置された一対のリンクプレートと該リンクプレートの屈曲外周側及び屈曲内周側にそれぞれ横架された連結杆とにより構成されたリンク枠体が長手方向に多数連結されたケーブル保護案内装置を移動端と固定端との間で長手方向に曲げ返して使用する際に、前記ケーブル保護案内装置の横方向のぶれを抑える一対のアルミ押出成形レールを有するケーブル保護案内装置用ガイドレールにおいて、前記一対のアルミ押出成形レールの対向する面に長手方向に蟻溝が形成されているとともに該蟻溝に係合し長手方向に移動可能な軸支持部材に軸支された樹脂ローラが複数個配設されていることによって、前記課題を解決したものである。
そして、本請求項2に係る発明は、請求項1に係るケーブル保護案内装置用ガイドレールにおいて、前記樹脂ローラの外周面にエラストマーからなる被覆層が設けられていることによって、前記課題をさらに解決したものである。
また、本請求項3に係る発明は、請求項1又は請求項2に係るケーブル保護案内装置用ガイドレールにおいて、前記樹脂ローラの外周面が軸端部側から軸頭部側に向けて縮径していることによって、前記課題をさらに解決したものである。
本請求項1に係る発明によれば、左右に離間配置された一対のリンクプレートとリンクプレートの屈曲外周側及び屈曲内周側にそれぞれ横架された連結杆とにより構成されたリンク枠体が長手方向に多数連結されたケーブル保護案内装置を移動端と固定端との間で長手方向に曲げ返して使用する際に、ケーブル保護案内装置の横方向のぶれを抑える一対のアルミ押出成形レールを有するケーブル保護案内装置用ガイドレールにおいて、一対のアルミ押出成形レールの対向する面に長手方向に蟻溝が形成されているとともに蟻溝に係合し長手方向に移動可能な軸支持部材に軸支された樹脂ローラが複数個配設されていることによって、ケーブル保護案内装置の屈曲内周面と樹脂ローラとが接触し、ケーブル保護案内装置の屈曲内周面とガイドレールとの摺動が抑制されるため、ケーブル保護案内装置の摩耗の低減が実現される。
しかも、樹脂ローラは、一対のアルミ押出成形レールの対向する面に長手方向に形成された蟻溝に係合した長手方向に移動可能な軸支持部材に軸支されているので、樹脂ローラの設置に伴う加工工数の大幅な削減が図られるとともに樹脂ローラの配置個数、配置間隔を任意に設定できる。
加えて、ケーブル保護案内装置とガイドレールとの摩擦が、樹脂ローラの存在により、滑り摩擦から転がり摩擦になり、転がり摩擦係数は、滑り摩擦係数の1/20程度と低いため摩擦抵抗が小さくなり、ケーブル保護案内装置を駆動するモータの出力を小さくすることができる。
そして、本請求項2に係る発明によれば、請求項1に係るケーブル保護案内装置用ガイドレールにおいて、樹脂ローラの外周面にエラストマーからなる被覆層が設けられていることによって、エラストマーが有する弾力性により、樹脂ローラとケーブル保護案内装置の屈曲内周面とのスリップが抑制されるので、ケーブル保護案内装置の摩耗が一層低減される。さらに、樹脂ローラとケーブル保護案内装置の屈曲内周面との摺動音が低減され、装置の静粛性の向上が実現される。
また、本請求項3に係る発明によれば、請求項1又は請求項2に係るケーブル保護案内装置用ガイドレールにおいて、樹脂ローラの外周面が軸端部側から軸頭部側に向けて縮径していることによって、樹脂ローラからケーブル保護案内装置の中央に向けて力が作用するので、ケーブル保護案内装置の横方向のぶれが抑制されて優れた走行安定性が実現される。
しかも、ケーブル保護案内装置のリンクプレートとガイドレールの側壁面の摺動が抑制されるので、摩耗粉の発生が低減される。
本発明は、左右に離間配置された一対のリンクプレートとリンクプレートの屈曲外周側及び屈曲内周側にそれぞれ横架された連結杆とにより構成されたリンク枠体が長手方向に多数連結されたケーブル保護案内装置を移動端と固定端との間で長手方向に曲げ返して使用する際に、ケーブル保護案内装置の横方向のぶれを抑える一対のアルミ押出成形レールを有するケーブル保護案内装置用ガイドレールにおいて、一対のアルミ押出成形レールの対向する面に長手方向に蟻溝が形成されているとともに蟻溝に係合し長手方向に移動可能な軸支持部材に軸支された樹脂ローラが複数個配設されていることによって、ケーブル保護案内装置の横方向のぶれを抑制して優れた走行安定性を実現し、しかも、ケーブル保護案内装置の摺動を抑制して摩耗の低減を実現するものであれば、その具体的な実施の態様は、如何なるものであっても何ら構わない。
例えば、本発明のケーブル保護案内装置用ガイドレールは、エンジニアリングプラスチック製のケーブル保護案内装置に適用することもできるし、スチール製のケーブル保護案内装置に適用することもできる。
また、本発明のケーブル保護案内装置用ガイドレールは、リンクプレートと連結杆とが一体に形成されたいわゆる一体タイプのケーブル保護案内装置に適用することもできるし、連結杆がリンクプレートに対して開閉可能に設けられたいわゆる開閉タイプのケーブル保護案内装置に適用することもできる。
本発明の一実施形態である実施例1について、図1乃至図3に基づいて説明する。
ここで、図1は、実施例1のケーブル保護案内装置用ガイドレール100の全体斜視図であり、図2は、図1に示したケーブル保護案内装置用ガイドレール100のII−II線における断面図である。また、図3は、ケーブル保護案内装置用ガイドレール100の一部の斜視図であり、特に、図3(a)は、樹脂ローラを組み立てる様子を立体的に示しており、図3(b)は、樹脂ローラを組み立てた状態を示している。
まず、本実施例のケーブル保護案内装置用ガイドレール100は、図1に示すように、ケーブル保護案内装置200を移動端206と固定端205との間で長手方向に曲げ返して使用する際に、ケーブル保護案内装置200の軌道に沿って床面に敷設されるものである。
そして、ケーブル保護案内装置用ガイドレール100は、図1乃至図3に示すように、ケーブル保護案内装置200を挟むように平行に設置された一対のアルミ押出成形レール110を備えている。このアルミ押出成形レール110は、設置面に固定するための設置部110bと樹脂ローラ140を支持するための蟻溝110aとケーブル保護案内装置200をガイドする側壁110cとから構成されている。
アルミ押出成形レール110の床面への設置方法は、特に限定されるものではないが、本実施例においては、アルミ押出成形レール110の設置部110bをレールクランクバーRCで押さえボルトBにより床面に締結している。また、蟻溝110aには、樹脂ローラ140を軸支する軸支持部材120が長手方向に移動可能に係合している。樹脂ローラ140は、図3(a)に示すように、支持ピン130により軸支持部材120に軸支されている。また、樹脂ローラ140は、硬度が高く、耐衝撃性に優れたナイロンによって成形されている。
以上のように、実施例1のケーブル保護案内装置用ガイドレール100は、ケーブル保護案内装置200の前後移動する屈曲内周面を樹脂ローラ140で支えるため、ガイドレールとケーブル保護案内装置200の屈曲内周面が摺動することがなく、ケーブル保護案内装置200の摩耗が抑制される。しかも、樹脂ローラ140は、アルミ押出成形レール110に形成した蟻溝110aに係合した軸支持部材120に軸支されているので、穴開け加工等を要することなく、任意の数の樹脂ローラ140を任意の間隔で設置することができる。
次に、本発明の別の実施形態である実施例2について、図4に基づき説明する。
ここで、図4は、実施例2のケーブル保護案内装置用ガイドレールを構成する樹脂ローラ150の一部断面図である。実施例2のケーブル保護案内装置用ガイドレールは、樹脂ローラ150の構造を除き、基本的な装置構成は、前述した実施例1のケーブル保護案内装置用ガイドレール100と全く同じであるので、その説明を省略する。
実施例2のケーブル保護案内装置用ガイドレールを構成する樹脂ローラ150は、図4に示すように、硬度が高く、耐衝撃性に優れたナイロンによって成形されているローラ本体152の外周面に弾力性を有するウレタン等のエラストマーからなる被覆層154が設けられている。
このような樹脂ローラ150を採用したことにより、ケーブル保護案内装置が軽量であって、しかも、高速で移動したとしても、樹脂ローラ150とケーブル保護案内装置との摩擦抵抗が大きいので、樹脂ローラ150が空転することなく確実に回転し、樹脂ローラ150とケーブル保護案内装置とが摺動することが抑制され、ケーブル保護案内装置の摩耗をより一層低減することができる。さらに、ケーブル保護案内装置と樹脂ローラとの接触時の衝撃を被覆層154が吸収するため、ケーブル保護案内装置を移動させたときの摺動音を小さくすることができる。
次に、本発明のさらに別の実施形態である実施例3について、図5に基づき説明する。
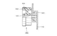
ここで、図5は、実施例3のケーブル保護案内装置用ガイドレールを構成する樹脂ローラ160の一部断面図である。実施例3のケーブル保護案内装置用ガイドレールは、樹脂ローラ160の構造を除き、基本的な装置構成は、前述した実施例1のケーブル保護案内装置用ガイドレール100と全く同じであるので、その説明を省略する。
実施例3のケーブル保護案内装置用ガイドレールを構成する樹脂ローラ160は、図5に示すように、硬度が高く、耐衝撃性に優れたナイロンによって成形されているローラ本体162の外周面の一部に弾力性を有するウレタン等のエラストマーからなる被覆層164が設けられている。
このような樹脂ローラ160を採用したことにより、ケーブル保護案内装置の重量が大きい場合であっても、樹脂ローラ160のローラ本体162で荷重を支えるので、被覆層164の摩耗を抑制することができる。しかも、被覆層164は、ケーブル保護案内装置との摩擦抵抗が大きいので、樹脂ローラ160が空転することなく確実に回転し、樹脂ローラ160とケーブル保護案内装置とが摺動することが抑制され、ケーブル保護案内装置の摩耗をより一層低減することができる。
次に、本発明のさらに別の実施形態である実施例4について、図6に基づき説明する。
ここで、図6は、実施例4のケーブル保護案内装置用ガイドレールを構成する樹脂ローラ170の一部断面図である。実施例4のケーブル保護案内装置用ガイドレールは、樹脂ローラ170の構造を除き、基本的な装置構成は、前述した実施例1のケーブル保護案内装置用ガイドレール100と全く同じであるので、その説明を省略する。
実施例4のケーブル保護案内装置用ガイドレールを構成する樹脂ローラ170は、図6に示すように、硬度が高く、耐衝撃性に優れたナイロンによって成形されているローラ本体172の外周面が、軸端部側から軸頭部側に向けて縮径している。すなわち、d1>d2となるようにローラ本体172の外周面が形成されている。
このような樹脂ローラ170を採用したことにより、樹脂ローラ170からケーブル保護案内装置の中央に向けて力が作用するため、ケーブル保護案内装置が高速で移動した場合であっても、ケーブル保護案内装置が横方向にぶれることが抑制されて、ガイドレールの側面とケーブル保護案内装置のリンクプレートとの摺動が低減する。
次に、本発明のさらに別の実施形態である実施例5について、図7に基づき説明する。
ここで、図7は、実施例5のケーブル保護案内装置用ガイドレールを構成する樹脂ローラ180の一部断面図である。実施例5のケーブル保護案内装置用ガイドレールは、樹脂ローラ180の構造を除き、基本的な装置構成は、前述した実施例1のケーブル保護案内装置用ガイドレール100と全く同じであるので、その説明を省略する。
実施例5のケーブル保護案内装置用ガイドレールを構成する樹脂ローラ180は、図7に示すように、硬度が高く、耐衝撃性に優れたナイロンによって成形されているローラ本体182の外周面が、軸端部側から軸頭部側に向けて縮径しているとともに、ローラ本体182の外周面の軸頭部側に弾力性を有するウレタン等のエラストマーからなる被覆層184が設けられている。
このような樹脂ローラ180を採用したことにより、樹脂ローラ180からケーブル保護案内装置の中央に向けて力が作用するため、ケーブル保護案内装置が高速で移動した場合であっても、ケーブル保護案内装置が横方向にぶれることが抑制されて、ガイドレールの側面とケーブル保護案内装置のリンクプレートとの摺動が低減する。しかも、被覆層184は、ケーブル保護案内装置との摩擦抵抗が大きいので、樹脂ローラ180が空転することなく確実に回転し、樹脂ローラ180とケーブル保護案内装置とが摺動することが抑制され、ケーブル保護案内装置の摩耗をより一層低減することができる。
なお、前述した実施例1乃至実施例5においては、樹脂ローラのローラ本体の材質としてナイロンを用いているが、ケーブル保護案内装置用ガイドレールに要求される硬度と耐衝撃性を有するものであれば、これに限定されることはなく、例えば、用途に応じては、高耐熱性・高強度のエンジニアリングプラスチックであるケブラー(登録商標)等のアラミド樹脂を用いることもできる。
実施例1のケーブル保護案内装置用ガイドレールの全体斜視図。 図1のII−II線における断面図。 実施例1のケーブル保護案内装置用ガイドレールの一部の斜視図。 実施例2のケーブル保護案内装置用ガイドレールを構成する樹脂ローラの一部断面図。 実施例3のケーブル保護案内装置用ガイドレールを構成する樹脂ローラの一部断面図。 実施例4のケーブル保護案内装置用ガイドレールを構成する樹脂ローラの一部断面図。 実施例5のケーブル保護案内装置用ガイドレールを構成する樹脂ローラの一部断面図。 従来のケーブル保護案内装置用スケートユニットの概略図。 従来のケーブル保護案内装置用ガイドレールの斜視図。 ケーブル保護案内装置の斜視図。
符号の説明
100 ・・・ ケーブル保護案内装置用ガイドレール
110 ・・・ アルミ押出成形レール
110a ・・・ (アルミ押出成形レールの)蟻溝
110b ・・・ (アルミ押出成形レールの)設置部
110c ・・・ (アルミ押出成形レールの)側壁
120 ・・・ 軸支持部材
130 ・・・ 支持ピン
140、150、160、170、180 ・・・ 樹脂ローラ
152、162、172、182 ・・・ ローラ本体
154、164、184 ・・・ 被覆層
200 ・・・ ケーブル保護案内装置
201 ・・・ (ケーブル保護案内装置の)連結杆
202 ・・・ (ケーブル保護案内装置の)リンクプレート
205 ・・・ (ケーブル保護案内装置の)固定端
206 ・・・ (ケーブル保護案内装置の)移動端
300 ・・・ スケートユニット
400 ・・・ ガイドレール
400a ・・・ (ガイドレールの)棚板
400b ・・・ (ガイドレールの)設置部
400c ・・・ (ガイドレールの)側壁
B ・・・ ボルト
RC ・・・ レールクランクバー

Claims (3)

  1. 左右に離間配置された一対のリンクプレートと該リンクプレートの屈曲外周側及び屈曲内周側にそれぞれ横架された連結杆とにより構成されたリンク枠体が長手方向に多数連結されたケーブル保護案内装置を移動端と固定端との間で長手方向に曲げ返して使用する際に、前記ケーブル保護案内装置の横方向のぶれを抑える一対のアルミ押出成形レールを有するケーブル保護案内装置用ガイドレールにおいて、
    前記一対のアルミ押出成形レールの対向する面に長手方向に蟻溝が形成されているとともに該蟻溝に係合し長手方向に移動可能な軸支持部材に軸支された樹脂ローラが複数個配設されていることを特徴とするケーブル保護案内装置用ガイドレール。
  2. 前記樹脂ローラの外周面にエラストマーからなる被覆層が設けられていることを特徴とする請求項1記載のケーブル保護案内装置用ガイドレール。
  3. 前記樹脂ローラの外周面が軸端部側から軸頭部側に向けて縮径していることを特徴とする請求項1又は請求項2記載のケーブル保護案内装置用ガイドレール。
JP2008219858A 2008-08-28 2008-08-28 ケーブル保護案内装置用ガイドレール Active JP4757288B2 (ja)

Priority Applications (3)

Application Number Priority Date Filing Date Title
JP2008219858A JP4757288B2 (ja) 2008-08-28 2008-08-28 ケーブル保護案内装置用ガイドレール
US12/497,054 US7975464B2 (en) 2008-08-28 2009-07-02 Guide rail for cable protection and guide device
DE102009033679.6A DE102009033679B4 (de) 2008-08-28 2009-07-17 Anordnung von Schienen und einer Schutz- und Führungsvorrichtung für Kabel

Applications Claiming Priority (1)

Application Number Priority Date Filing Date Title
JP2008219858A JP4757288B2 (ja) 2008-08-28 2008-08-28 ケーブル保護案内装置用ガイドレール

Publications (2)

Publication Number Publication Date
JP2010053961A true JP2010053961A (ja) 2010-03-11
JP4757288B2 JP4757288B2 (ja) 2011-08-24

Family

ID=41606327

Family Applications (1)

Application Number Title Priority Date Filing Date
JP2008219858A Active JP4757288B2 (ja) 2008-08-28 2008-08-28 ケーブル保護案内装置用ガイドレール

Country Status (3)

Country Link
US (1) US7975464B2 (ja)
JP (1) JP4757288B2 (ja)
DE (1) DE102009033679B4 (ja)

Cited By (5)

* Cited by examiner, † Cited by third party
Publication number Priority date Publication date Assignee Title
JP2010106979A (ja) * 2008-10-30 2010-05-13 Tsubakimoto Chain Co ケーブル保護案内装置用ガイドレール
JP2010121736A (ja) * 2008-11-20 2010-06-03 Tsubakimoto Chain Co ケーブル保護案内装置用ガイドレール
WO2017086134A1 (ja) * 2015-11-16 2017-05-26 株式会社椿本チエイン 長尺物の案内装置及びガイドレール
KR101860825B1 (ko) 2016-08-04 2018-05-25 씨피시스템(주) 케이블 체인의 이동 가이드 조립체
WO2018198966A1 (ja) * 2017-04-24 2018-11-01 株式会社椿本チエイン 長尺物の案内装置

Families Citing this family (11)

* Cited by examiner, † Cited by third party
Publication number Priority date Publication date Assignee Title
JP4749494B1 (ja) * 2010-04-02 2011-08-17 株式会社椿本チエイン ケーブル類保護案内用多関節支持部材
DE202012000614U1 (de) * 2012-01-24 2012-04-17 Igus Gmbh Führungseinrichtung
CN103470693B (zh) * 2013-09-27 2015-04-29 浙江时代计量科技有限公司 一种用于超长型三坐标测量机的拖链
DE202014002511U1 (de) * 2014-03-24 2014-04-25 Igus Gmbh Anordnung von Energieführungsketten und Führungsrinnen zum Führen von flexiblen Leitungen
JP6615698B2 (ja) * 2016-06-20 2019-12-04 東京エレクトロン株式会社 搬送装置および搬送方法、ならびに検査システム
CN107091300B (zh) * 2017-06-09 2023-08-08 山东九路泊车设备股份有限公司 轮体及其制造方法、采用该轮体的滚轮、立体车库用链条
US10724657B2 (en) * 2018-01-08 2020-07-28 Dynatect Manufacturing, Inc. Cable carrier guide
CN108736391A (zh) * 2018-08-23 2018-11-02 中国原子能科学研究院 电缆保护装置
KR20210114505A (ko) * 2019-01-17 2021-09-23 더블유.엘.고어 앤드 어소시에이츠 게엠베하 지지 부재 조립체
DE202019105730U1 (de) 2019-10-16 2019-11-04 Tsubaki Kabelschlepp GmbH Leitungsführungseinrichtung sowie Seitenlasche und Glied dafür
WO2025259981A1 (en) * 2024-06-13 2025-12-18 PAR Excellence Systems, Inc. High density basket scales and systems using the same

Citations (5)

* Cited by examiner, † Cited by third party
Publication number Priority date Publication date Assignee Title
JPS5636805Y2 (ja) * 1976-04-16 1981-08-29
JPS6259604A (ja) * 1985-09-11 1987-03-16 Shin Etsu Chem Co Ltd メタクリル酸エステル重合体の製造方法
JPH06211328A (ja) * 1992-07-13 1994-08-02 Fujitsu Ltd 両面塗布プリント配線板用コンベア装置
JPH0968259A (ja) * 1995-08-29 1997-03-11 Sankei Seisakusho:Kk ケーブル・ホースの案内支持装置
EP1193420A1 (en) * 2000-09-29 2002-04-03 Giovanni Mauri Trolley for cable supporting chain

Family Cites Families (8)

* Cited by examiner, † Cited by third party
Publication number Priority date Publication date Assignee Title
US5649415A (en) * 1995-02-02 1997-07-22 Hubbell Incorporated Power supply chain and chain carriage system
DE29910840U1 (de) 1999-06-24 1999-11-11 Knecht GmbH Gewächshauseinrichtungen, 72555 Metzingen Führungsrinne für Energieketten
FR2835034A1 (fr) * 2002-01-18 2003-07-25 Kabelschlepp France Dispositif de decharge d'efforts pour chaines porte-cables
JP4493559B2 (ja) * 2005-07-08 2010-06-30 株式会社椿本チエイン ケーブル類保護案内装置用スケートユニット
JP4598619B2 (ja) * 2005-07-19 2010-12-15 株式会社椿本チエイン ケーブル類保護案内装置用スケートユニット
JP4799240B2 (ja) 2006-03-29 2011-10-26 株式会社椿本チエイン ケーブル保護案内装置用スケートユニット
JP4209431B2 (ja) * 2006-06-01 2009-01-14 株式会社椿本チエイン ケーブル類保護案内装置用スケーティング台車
DE102007038679B4 (de) 2007-08-15 2010-07-29 Flexatec Gmbh Energieführungskettenanordnung

Patent Citations (5)

* Cited by examiner, † Cited by third party
Publication number Priority date Publication date Assignee Title
JPS5636805Y2 (ja) * 1976-04-16 1981-08-29
JPS6259604A (ja) * 1985-09-11 1987-03-16 Shin Etsu Chem Co Ltd メタクリル酸エステル重合体の製造方法
JPH06211328A (ja) * 1992-07-13 1994-08-02 Fujitsu Ltd 両面塗布プリント配線板用コンベア装置
JPH0968259A (ja) * 1995-08-29 1997-03-11 Sankei Seisakusho:Kk ケーブル・ホースの案内支持装置
EP1193420A1 (en) * 2000-09-29 2002-04-03 Giovanni Mauri Trolley for cable supporting chain

Cited By (8)

* Cited by examiner, † Cited by third party
Publication number Priority date Publication date Assignee Title
JP2010106979A (ja) * 2008-10-30 2010-05-13 Tsubakimoto Chain Co ケーブル保護案内装置用ガイドレール
JP2010121736A (ja) * 2008-11-20 2010-06-03 Tsubakimoto Chain Co ケーブル保護案内装置用ガイドレール
WO2017086134A1 (ja) * 2015-11-16 2017-05-26 株式会社椿本チエイン 長尺物の案内装置及びガイドレール
CN108350985A (zh) * 2015-11-16 2018-07-31 株式会社椿本链条 长条物的导引装置及导轨
CN108350985B (zh) * 2015-11-16 2020-02-07 株式会社椿本链条 长条物的导引装置及导轨
KR101860825B1 (ko) 2016-08-04 2018-05-25 씨피시스템(주) 케이블 체인의 이동 가이드 조립체
WO2018198966A1 (ja) * 2017-04-24 2018-11-01 株式会社椿本チエイン 長尺物の案内装置
JP2018184974A (ja) * 2017-04-24 2018-11-22 株式会社椿本チエイン ケーブル類保護案内装置

Also Published As

Publication number Publication date
DE102009033679B4 (de) 2024-03-28
US7975464B2 (en) 2011-07-12
JP4757288B2 (ja) 2011-08-24
DE102009033679A1 (de) 2010-03-04
US20100050589A1 (en) 2010-03-04

Similar Documents

Publication Publication Date Title
JP4757288B2 (ja) ケーブル保護案内装置用ガイドレール
KR100786449B1 (ko) 케이블류 보호안내장치
KR101110513B1 (ko) 케이블 보호안내장치용 스케이트 유닛
US8561949B2 (en) Articulated cable protection and guide apparatus
CA2699126C (en) Deflection apparatus for a conveying system
US9217497B2 (en) Push chain, linear motion driving device and patient table
CN104718149A (zh) 用于电梯的低摩擦滑动导靴
JP2010520379A (ja) 繊維の搬送可撓菅を備える繊維貼付機械
MY156231A (en) Sliding guide and arm support provided with such a sliding guide
JP2000161447A (ja) 長尺体支持装置及びこれを用いた産業装置
US7908938B2 (en) Ball screw module
WO2013168434A1 (ja) 運動案内装置
TWI452002B (zh) 搬運裝置
JP2007321902A (ja) ケーブル類保護案内装置用スケーティング台車
JP4963307B2 (ja) ケーブル保護案内装置用ガイドレール
JP2011112143A (ja) 可撓性長尺物案内装置を有する生産機器
CA3027161A1 (en) Nonmetallic bearing on bearing assembly
JP4598619B2 (ja) ケーブル類保護案内装置用スケートユニット
US20130256363A1 (en) Line guiding structure
KR20190037246A (ko) 긴 물체의 안내 장치
KR101170234B1 (ko) 미끄럼방지용 롤러가이드
JP2011106618A (ja) ケーブル類保護案内装置用可動式ガイドローラ
US11946529B2 (en) Sliding table assembly
WO2018199043A1 (ja) 歯付きベルト
JP2008050072A (ja) 出入装置

Legal Events

Date Code Title Description
A621 Written request for application examination

Free format text: JAPANESE INTERMEDIATE CODE: A621

Effective date: 20100924

A871 Explanation of circumstances concerning accelerated examination

Free format text: JAPANESE INTERMEDIATE CODE: A871

Effective date: 20110210

A975 Report on accelerated examination

Free format text: JAPANESE INTERMEDIATE CODE: A971005

Effective date: 20110309

A131 Notification of reasons for refusal

Free format text: JAPANESE INTERMEDIATE CODE: A131

Effective date: 20110330

A521 Request for written amendment filed

Free format text: JAPANESE INTERMEDIATE CODE: A523

Effective date: 20110506

TRDD Decision of grant or rejection written
A01 Written decision to grant a patent or to grant a registration (utility model)

Free format text: JAPANESE INTERMEDIATE CODE: A01

Effective date: 20110531

A01 Written decision to grant a patent or to grant a registration (utility model)

Free format text: JAPANESE INTERMEDIATE CODE: A01

A61 First payment of annual fees (during grant procedure)

Free format text: JAPANESE INTERMEDIATE CODE: A61

Effective date: 20110531

R150 Certificate of patent or registration of utility model

Ref document number: 4757288

Country of ref document: JP

Free format text: JAPANESE INTERMEDIATE CODE: R150

Free format text: JAPANESE INTERMEDIATE CODE: R150

FPAY Renewal fee payment (event date is renewal date of database)

Free format text: PAYMENT UNTIL: 20140610

Year of fee payment: 3