JP2010047892A - 撚線形態の繊維材料を引き伸ばす練篠機構を有する紡績用前処理機のためのまたは該前処理機における装置 - Google Patents

撚線形態の繊維材料を引き伸ばす練篠機構を有する紡績用前処理機のためのまたは該前処理機における装置 Download PDF

Info

Publication number
JP2010047892A
JP2010047892A JP2009171314A JP2009171314A JP2010047892A JP 2010047892 A JP2010047892 A JP 2010047892A JP 2009171314 A JP2009171314 A JP 2009171314A JP 2009171314 A JP2009171314 A JP 2009171314A JP 2010047892 A JP2010047892 A JP 2010047892A
Authority
JP
Japan
Prior art keywords
sensor
spinning
sliver
distance sensor
roller
Prior art date
Legal status (The legal status is an assumption and is not a legal conclusion. Google has not performed a legal analysis and makes no representation as to the accuracy of the status listed.)
Granted
Application number
JP2009171314A
Other languages
English (en)
Other versions
JP2010047892A5 (ja
JP5612285B2 (ja
Inventor
Franz-Josef Minter
ミンター フランツ−ヨーゼフ
Johannes Bossman
ボスマン ヨハネス
Current Assignee (The listed assignees may be inaccurate. Google has not performed a legal analysis and makes no representation or warranty as to the accuracy of the list.)
Truetzschler GmbH and Co KG
Original Assignee
Truetzschler GmbH and Co KG
Priority date (The priority date is an assumption and is not a legal conclusion. Google has not performed a legal analysis and makes no representation as to the accuracy of the date listed.)
Filing date
Publication date
Application filed by Truetzschler GmbH and Co KG filed Critical Truetzschler GmbH and Co KG
Publication of JP2010047892A publication Critical patent/JP2010047892A/ja
Publication of JP2010047892A5 publication Critical patent/JP2010047892A5/ja
Application granted granted Critical
Publication of JP5612285B2 publication Critical patent/JP5612285B2/ja
Expired - Fee Related legal-status Critical Current
Anticipated expiration legal-status Critical

Links

Images

Classifications

    • GPHYSICS
    • G01MEASURING; TESTING
    • G01BMEASURING LENGTH, THICKNESS OR SIMILAR LINEAR DIMENSIONS; MEASURING ANGLES; MEASURING AREAS; MEASURING IRREGULARITIES OF SURFACES OR CONTOURS
    • G01B11/00Measuring arrangements characterised by the use of optical techniques
    • G01B11/02Measuring arrangements characterised by the use of optical techniques for measuring length, width or thickness
    • G01B11/06Measuring arrangements characterised by the use of optical techniques for measuring length, width or thickness for measuring thickness ; e.g. of sheet material
    • DTEXTILES; PAPER
    • D01NATURAL OR MAN-MADE THREADS OR FIBRES; SPINNING
    • D01GPRELIMINARY TREATMENT OF FIBRES, e.g. FOR SPINNING
    • D01G23/00Feeding fibres to machines; Conveying fibres between machines
    • D01G23/06Arrangements in which a machine or apparatus is regulated in response to changes in the volume or weight of fibres fed, e.g. piano motions
    • DTEXTILES; PAPER
    • D01NATURAL OR MAN-MADE THREADS OR FIBRES; SPINNING
    • D01HSPINNING OR TWISTING
    • D01H5/00Drafting machines or arrangements ; Threading of roving into drafting machine
    • D01H5/18Drafting machines or arrangements without fallers or like pinned bars
    • D01H5/32Regulating or varying draft
    • D01H5/38Regulating or varying draft in response to irregularities in material ; Measuring irregularities
    • GPHYSICS
    • G01MEASURING; TESTING
    • G01BMEASURING LENGTH, THICKNESS OR SIMILAR LINEAR DIMENSIONS; MEASURING ANGLES; MEASURING AREAS; MEASURING IRREGULARITIES OF SURFACES OR CONTOURS
    • G01B11/00Measuring arrangements characterised by the use of optical techniques
    • G01B11/02Measuring arrangements characterised by the use of optical techniques for measuring length, width or thickness
    • G01B11/026Measuring arrangements characterised by the use of optical techniques for measuring length, width or thickness by measuring distance between sensor and object
    • GPHYSICS
    • G01MEASURING; TESTING
    • G01BMEASURING LENGTH, THICKNESS OR SIMILAR LINEAR DIMENSIONS; MEASURING ANGLES; MEASURING AREAS; MEASURING IRREGULARITIES OF SURFACES OR CONTOURS
    • G01B5/00Measuring arrangements characterised by the use of mechanical techniques
    • G01B5/02Measuring arrangements characterised by the use of mechanical techniques for measuring length, width or thickness
    • G01B5/06Measuring arrangements characterised by the use of mechanical techniques for measuring length, width or thickness for measuring thickness
    • G01B5/068Measuring arrangements characterised by the use of mechanical techniques for measuring length, width or thickness for measuring thickness of objects while moving

Landscapes

  • Engineering & Computer Science (AREA)
  • Textile Engineering (AREA)
  • Physics & Mathematics (AREA)
  • General Physics & Mathematics (AREA)
  • Mechanical Engineering (AREA)
  • Preliminary Treatment Of Fibers (AREA)
  • Spinning Or Twisting Of Yarns (AREA)

Abstract

【課題】空間が限られる場合に簡素な手段により間隔センサの配置を可能とし、且つ、検知対象表面に対する間隔センサの優れた結合または協働を可能にする。
【解決手段】装置は、一方のローラは移動不能に配置され且つ他方のローラは該一方のローラから離間移動可能に配置されると共に相互に当接して押圧されるべく配置された一対の測定ローラと、各ローラの内の一方のローラのための保持要素に対して結合された対応表面(検知対象表面)からの間隔を測定する非接触式間隔センサとを有しており、間隔センサ(9、25;47;57、571、572;60)は、ローラ(7、8;15、16;42、43)のための保持要素(52、52b、53a、53b)に対して一体化される。
【選択図】図3

Description

本発明は、撚線形態の繊維材料を引き伸ばす練篠機構を有する特にカード機、練篠フレーム、コーミング機械もしくはフライヤである紡績用前処理機のためにまたは該前処理機において少なくとも一本の繊維スライバの断面積および/または質量を連続的に計測するための装置であって、該装置は、一方のローラは移動不能に配置され且つ他方のローラは該一方のローラから離間移動可能に配置されると共に相互に当接して押圧されるべく配置された一対の測定ローラを有し、且つ、該装置は、相対表面(検知対象表面)からの間隔を測定する非接触式間隔センサを有するという装置に関する。
実際問題として、特に紡績用前処理機へと導入される一本以上の繊維スライバの"むら"を均一化する目的で、繊維スライバの太さを測定することは通常的である。斯かる種類の測定はまた、引き伸ばされた材料の品質制御のために上記機械からの出口においても好適である。上記品質制御に加え、繊維スライバの密度もしくは太さに関する測定値は、所定の質量変動制限値を超過して高品質製品がもはや獲得されない場合に、上記機械を作動停止させるためにも用いられる。
練篠機構を有する公知の装置(特許文献1)において、繊維スライバは、移動不能ローラと、該ローラに対して押圧され得る可動ローラとの間に案内される(引出しローラおよび検知対象ローラ)。上記引出しローラおよび検知対象ローラは、夫々のシャフト上に固定される。上記引出しローラは、そのシャフトにより、第1軸受ハウジング内に回転可能に取付けられる。該軸受ハウジングは、練篠フレームにおいて移動不能に配置される。上記検知対象ローラは、そのシャフト上で、第2軸受ハウジング内に回転可能に取付けられる。上記第2軸受ハウジングは、該軸受ハウジングが方向Aにおける偏位を受け得る様に練篠フレームに配置される。上記偏位は、圧縮スプリングの力に抗して生ずる。上記圧縮スプリングは、上記検知対象ローラを上記引出しローラに対して押圧すると共に、上記練篠フレームの不動構成要素に当接して着座している。上記第2ハウジング上には、測定プレートが配置される。この測定プレートによって、変位センサに対する厳密な基準表面の存在が確保される。上記変位センサは、該変位センサと上記測定プレートとの間における間隔Bを計測する。間隔Bの変化は上記変位センサにより、電圧の変化を以てスライバ・モニタに伝達される。故に上記変位センサは、信号変換器の役割を果たす。測定済み距離として使用される上記間隔Bは、通常は非常に小さく、すなわち、十分の数ミリメートルである。上記変位センサによれば、上記引出しローラと上記検知対象ローラとの間における間隔の最小の変化でさえも計測される。上記変位センサは、上記圧縮スプリングが着座する練篠フレームの上記不動構成要素に固定される。この構成要素、および結果として上記変位センサもまた、ローラ・ニップから離間した側の空き空間であって、上記第2軸受ハウジングから所定間隔における空き空間内に配置される。しかし空間が限られる場合には、相当の空間が必要とされることは、ひとつの欠点である。これに加え、配置構成に関する負担、すなわち上記変位センサを取付けるための設置に関する負担は、欠点である。最後に、上記不動構成要素上への配置は、上記変位センサに対する特有の調節もしくは設定手順を必要とする。
国際公開公報WO91/16595A号
なし
故に本発明の基礎となる課題は、冒頭に記述された種類の装置であって、言及された欠点を回避すると共に、特に空間が限られる場合に簡素な手段により間隔センサの配置を可能とし、且つ、検知対象表面に対する間隔センサの優れた結合または協働を可能にするという装置を提供するに在る。
上記課題は、請求項1の特徴部分の特徴により解決される。
すなわち1番目の発明によれば、撚線形態の繊維材料を引き伸ばす練篠機構を有する特にカード機、練篠フレーム、コーミング機械もしくはフライヤである紡績用前処理機のためにまたは該前処理機において少なくとも一本の繊維スライバの断面積および/または質量を連続的に計測するための装置であって、該装置は、一方のローラは移動不能に配置され且つ他方のローラは該一方のローラから離間移動可能に配置されると共に相互に当接して押圧されるべく配置された一対の測定ローラを有し、且つ、該装置は、対応表面(検知対象表面)からの間隔を測定する非接触式間隔センサを有するという装置において、上記間隔センサ(9、25;47;57、571、572;60)は、ローラ(7、8;15、16;42、43)のための保持要素(52、52b、53a、53b)に対して一体化されることを特徴とする、装置が提供される。
他方のローラのための保持要素に対して上記間隔センサを結合すると共に、その様に位置決めされた上記間隔センサと対向して上記検知対象表面を配置することにより、空間節約的な配置構成が実現される。他方のローラのための既存の保持要素に対して上記間隔センサを結合すると、構成および設置に関する簡素化が同時に好適に許容される。繊維スライバ太さを測定するために、各保持要素間で変化する間隔が好適に採用される。上記間隔センサを上記保持要素に対して機械的に一体化すると、該間隔センサの調節手順が特に洗練された様式で簡素化される。上記間隔センサの配置であって、構成に関して簡素であるというこの配置は、空間節約的である。故に上記間隔センサは、当該組み合わせが同時に幾つかの機能に資する様に、紡績用前処理機の保持要素に対して組み合わされる。
請求項2乃至75は、本発明の好適な発展例を包含する。
2番目の発明によれば、1番目の発明において、前記対応表面は、前記各ローラの内の一方のローラのための前記保持要素に対して結合され、前記間隔センサは、他方のローラのための前記保持要素に対して結合され、且つ、上記間隔センサおよび上記対応表面は、上記各保持要素の側面であって相互に臨むという側面上に夫々配置される。
3番目の発明によれば、1番目または2番目の発明において、前記間隔センサは前記保持要素の別体的部分として構成される。
4番目の発明によれば、1番目から3番目のいずれかの発明において、前記保持要素は前記間隔センサの少なくとも一部分と協働する一体部材として構成される。
5番目の発明によれば、1番目から4番目のいずれかの発明において、前記間隔センサの空間は、前記保持要素における陥没部(凹所)により少なくとも部分的に形成される。
6番目の発明によれば、1番目から5番目のいずれかの発明において、前記保持要素は前記ローラのための軸受要素である。
7番目の発明によれば、1番目から6番目のいずれかの発明において、前記軸受要素は移動不能な回転軸受である。
8番目の発明によれば、1番目から7番目のいずれかの発明において、前記軸受要素は移動可能な回転軸受である。
9番目の発明によれば、1番目から8番目のいずれかの発明において、前記移動可能な軸受要素はスプリング負荷される。
10番目の発明によれば、1番目から9番目のいずれかの発明において、前記軸受要素はアルミニウムで作成される。
11番目の発明によれば、1番目から10番目のいずれかの発明において、前記間隔センサは移動不能であり、且つ、前記対応表面は上記間隔センサに対して移動すべく配置される。
12番目の発明によれば、1番目から11番目のいずれかの発明において、前記間隔センサは移動すべく配置され、且つ、前記対応表面は上記間隔センサに対して移動不能である。
13番目の発明によれば、1番目から12番目のいずれかの発明において、前記対応表面は、前記各ローラの内の一方のローラのための前記保持要素の外側表面である。
14番目の発明によれば、1番目から13番目のいずれかの発明において、前記対応表面は、前記各ローラの内の一方のローラに結合された対応要素の表面である。
15番目の発明によれば、1番目から14番目のいずれかの発明において、前記対応要素は、前記各ローラの内の一方のローラのための前記保持要素に対して一体化される。
16番目の発明によれば、1番目から15番目のいずれかの発明において、前記検知対象表面は平坦である。
17番目の発明によれば、1番目から16番目のいずれかの発明において、前記検知対象表面は円滑である。
18番目の発明によれば、1番目から17番目のいずれかの発明において、前記間隔センサは電波もしくは光線を使用する距離測定センサである。
19番目の発明によれば、1番目から18番目のいずれかの発明において、前記間隔センサは誘導における変化を計測し得る。
20番目の発明によれば、1番目から19番目のいずれかの発明において、前記間隔測定デバイスは誘導式近接始動器である。
21番目の発明によれば、1番目から20番目のいずれかの発明において、前記間隔センサは誘導式変位センサである。
22番目の発明によれば、1番目から21番目のいずれかの発明において、前記誘導式変位センサはプランジャ・コイルおよびプランジャ・コアを備えて成る。
23番目の発明によれば、1番目から22番目のいずれかの発明において、光学式間隔センサ(距離測定センサ)が採用される。
24番目の発明によれば、1番目から23番目のいずれかの発明において、前記間隔センサは光センサである。
25番目の発明によれば、1番目から24番目のいずれかの発明において、前記間隔センサはレーザ・センサである。
26番目の発明によれば、1番目から25番目のいずれかの発明において、前記間隔センサは可視光線を使用する。
27番目の発明によれば、1番目から26番目のいずれかの発明において、前記間隔センサは赤外光を使用する。
28番目の発明によれば、1番目から27番目のいずれかの発明において、音響式間隔センサ(距離測定センサ)が採用される。
29番目の発明によれば、1番目から28番目のいずれかの発明において、超音波式間隔センサ(距離測定センサ)が採用される。
30番目の発明によれば、1番目から29番目のいずれかの発明において、前記間隔センサおよび前記対応要素は囲繞ハウジング内に配置される。
31番目の発明によれば、1番目から30番目のいずれかの発明において、前記評価デバイスは電子的制御/調整デバイスと通信する。
32番目の発明によれば、1番目から31番目のいずれかの発明において、前記間隔センサはアナログ様式で動作するセンサである。
33番目の発明によれば、1番目から32番目のいずれかの発明において、当該装置はスライバ破断を検知および/または表示するために採用される。
34番目の発明によれば、1番目から33番目のいずれかの発明において、前記間隔センサは前記検知対象ローラの偏位を間接的に検知する。
35番目の発明によれば、1番目から34番目のいずれかの発明において、前記間隔センサは、長寸で概ね撚り合わせられていない繊維スライバ組合せ物のスライバ質量を計測するために採用される。
36番目の発明によれば、1番目から35番目のいずれかの発明において、前記繊維スライバ組合せ物は概ね、天然繊維、特に綿、および/または、合成繊維材料から成る。
37番目の発明によれば、1番目から36番目のいずれかの発明において、前記間隔センサは、連続的に移動する繊維スライバ組合せ物の場合にスライバ質量を測定するために使用される。
38番目の発明によれば、1番目から37番目のいずれかの発明において、前記スライバ質量に対する計測値は、前記繊維スライバ組合せ物が引き伸ばされつつある紡績用前処理機の少なくともひとつの牽伸要素を制御することにより、上記繊維スライバ組合せ物におけるスライバ質量変動を均一化するために使用される。
39番目の発明によれば、1番目から38番目のいずれかの発明において、前記紡績用前処理機は、自動均整化カード機、または、自動均整化練篠機構を有するカード機、または、自動均整化練篠機構を有するコーミング機械、または、練篠フレームである。
40番目の発明によれば、1番目から39番目のいずれかの発明において、移動する繊維スライバ組合せ物のスライバ質量の計測は、繊維スライバを引き伸ばす複数の順次的な牽伸要素を有する紡績用前処理機にて行われる。
41番目の発明によれば、1番目から40番目のいずれかの発明において、前記間隔センサは、前記紡績用前処理機の練篠機構の取入口に、および/または、該練篠機構からの出口に配置される。
42番目の発明によれば、1番目から41番目のいずれかの発明において、前記スライバ質量変動は前記取入口および/または出口にて監視されると共に、必要な場合、スライバ質量および/またはスライバ質量変動に対する値がスレッショルド値より大きくもしくは小さければ、前記紡績用前処理機は作動停止され且つ/又は警告信号が発せられる。
43番目の発明によれば、1番目から42番目のいずれかの発明において、前記間隔センサは、前記繊維スライバ組合せ物のスライバ破断、または、上記繊維スライバ組合せ物の内の1本の繊維スライバのスライバ破断を計測すべく配置される。
44番目の発明によれば、1番目から43番目のいずれかの発明において、スライバ質量に対する計算値に基づき、前記紡績用前処理機の均整化ユニットは、スライバ質量変動を均一化するために前記複数の牽伸要素の内の少なくともひとつの牽伸要素を制御する(取入口での均整化)。
45番目の発明によれば、1番目から44番目のいずれかの発明において、スライバ質量に対する計算値に基づき、前記紡績用前処理機の均整化ユニットは、スライバ質量変動を均一化するために前記複数の牽伸要素の内の少なくともひとつの牽伸要素を制御する(出口での均整化)。
46番目の発明によれば、1番目から45番目のいずれかの発明において、前記取入口での均整化および出口での均整化は、連動された制御を構成する(同時的な開ループおよび閉ループ制御)。
47番目の発明によれば、1番目から46番目のいずれかの発明において、共振周波数調節が実施される測定周波数は、前記紡績用前処理機に進入する繊維スライバ組合せ物の取入口速度に対し、または、上記紡績用前処理機を離脱する繊維スライバ組合せ物の吐出速度に対して整合される。
48番目の発明によれば、1番目から47番目のいずれかの発明において、前記測定周波数は、好適には一定である所定の検知長さに対して整合される(長さに基づく検知)。
49番目の発明によれば、1番目から48番目のいずれかの発明において、前記測定周波数は、前記繊維スライバ組合せ物の速度に応じて定まる所定の時間間隔に対して整合される(時間に基づく検知)。
50番目の発明によれば、1番目から49番目のいずれかの発明において、測定毎に前記繊維スライバ組合せ物の特定部分を計測する前記検知は、相互に関して変位され且つ相互に重なり合っていて上記繊維スライバ組合せ物に沿った複数の測定部分において実施される。
51番目の発明によれば、1番目から50番目のいずれかの発明において、少なくともひとつの前記間隔センサにより獲得された複数の測定値を用いて、前記繊維スライバ組合せ物のスペクトルが、または、スペクトルの一部が生成もしくは追加される。
52番目の発明によれば、1番目から51番目のいずれかの発明において、前記紡績用前処理機の取入口および/または上記紡績用前処理機からの出口にては、前記繊維スライバ組合せ物のスペクトルが記録される。
53番目の発明によれば、1番目から52番目のいずれかの発明において、相互に並んで進行すると共に平面視においては実質的に平行な複数本の繊維スライバが、前記紡績用前処理機を通して前記取入口から前記出口まで案内される。
54番目の発明によれば、1番目から53番目のいずれかの発明において、前記繊維スライバ組合せ物は、または、該繊維スライバ組合せ物を構成する個別群の繊維スライバは、少なくともひとつのファネルを通って、または、たとえば案内プレートもしくは案内バーなどの案内要素を通って案内される。
55番目の発明によれば、1番目から54番目のいずれかの発明において、前記案内要素はスライバ案内部材である。
56番目の発明によれば、1番目から55番目のいずれかの発明において、前記案内要素はウェブ案内部材である。
57番目の発明によれば、1番目から56番目のいずれかの発明において、前記間隔センサのために移動可能に取付けられた前記保持要素の付勢が達成されると共に、該付勢は、たとえばスプリング、重り、固有弾性、負荷シリンダ、磁石などの機械的、電気的、油圧的もしくは空気圧的な手段により調節され得る。
58番目の発明によれば、1番目から57番目のいずれかの発明において、前記出口における前記引出しローラの軸心は水平に配置される。
59番目の発明によれば、1番目から58番目のいずれかの発明において、前記出口における前記引出しローラの軸心は垂直に配置される。
60番目の発明によれば、1番目から59番目のいずれかの発明において、制御パルスがコントローラに送信される。
61番目の発明によれば、1番目から60番目のいずれかの発明において、前記コントローラは、前記牽伸を行う練篠フレームの少なくともひとつの駆動モータの回転速度を調節する。
62番目の発明によれば、1番目から61番目のいずれかの装置を使用する特にカード機、練篠フレームもしくはコーミング機械である紡績用前処理機であって、連続的に移動する繊維スライバ組合せ物のスライバ質量を測定する少なくともひとつの間隔センサを有する、紡績用前処理機が提供される。
63番目の発明によれば、1番目から62番目のいずれかの装置を使用する紡績用前処理機は、前記少なくともひとつの間隔センサは当該紡績用前処理機の取入口に配置される。
64番目の発明によれば、1番目から63番目のいずれかの装置を使用する紡績用前処理機は、前記少なくともひとつの間隔センサは当該紡績用前処理機からの出口に配置される。
65番目の発明によれば、1番目から64番目のいずれかの装置を使用する紡績用前処理機は、前記少なくともひとつの間隔センサは、前記繊維スライバ組合せ物のスライバ質量の測定値に基づいて当該紡績用前処理機の少なくともひとつの牽伸要素を開ループおよび/または閉ループ制御に対して委ねる均整化ユニットに接続される。
66番目の発明によれば、1番目から65番目のいずれかの装置を使用する紡績用前処理機は、前記少なくともひとつの間隔センサを通り相互に並んで平行に進行する複数本の繊維スライバが検知され得る。
67番目の発明によれば、1番目から66番目のいずれかの装置を使用する紡績用前処理機は、相互に並んで進行すると共に平面視においては実質的に平行であるという複数本の繊維スライバが、当該紡績用前処理機を通して前記取入口から前記出口まで案内されるように配置される。
68番目の発明によれば、1番目から67番目のいずれかの発明において、前記間隔センサに対して結合されたローラ対の間隔であって該間隔センサからの間隔は小寸である。
69番目の発明によれば、1番目から68番目のいずれかの発明において、前記間隔センサは誘導式アナログ・センサである。
70番目の発明によれば、1番目から69番目のいずれかの発明において、ファネル形状のスライバ案内部材、ウェブ案内部材などの直下流には、同時に引出しローラの形態である2個のローラが配置される。
71番目の発明によれば、1番目から70番目のいずれかの発明において、前記保持要素はローラの回転軸受のためのハウジングである。
72番目の発明によれば、1番目から71番目のいずれかの発明において、少なくともひとつのローラが駆動される。
73番目の発明によれば、1番目から72番目のいずれかの発明において、前記間隔測定デバイスは距離測定センサである。
74番目の発明によれば、1番目から73番目のいずれかの発明において、前記間隔測定デバイスは電気的評価デバイスと通信する。
75番目の発明によれば、1番目から74番目のいずれかの発明において、前記間隔測定デバイスは、センサ表面と対向して配置された対応要素からの間隔を計測する。
本発明に係る装置を備えたオートレベラ練篠フレームの概略的側面図である。 本発明に係る装置を備えたカード機用練篠機構の概略的側面図である。 (A)本発明に係る装置、および、各々が回転軸受と2つの引出しローラのシャフト端部とを有するという移動不能な軸受ハウジングおよび回動移動可能な軸受ハウジングの、作用位置における側面図である。(B)本発明に係る装置、および、各々が回転軸受と2つの引出しローラのシャフト端部とを有するという移動不能な軸受ハウジングおよび回動移動可能な軸受ハウジングの、全開位置における側面図である。 (A)引出しローラに対する移動不能ハウジングの凹所内に配置された一体的間隔センサの側面図である。(B)引出しローラに対する移動不能ハウジングの凹所内に配置された一体的間隔センサの平面図である。 図4におけるのと同様の回転軸受および引出しローラを以て、移動不能ローラに対するハウジングのための配置構成の一部を示す図であり、間隔センサは移動不能に取付けられたハウジングにおける溝内に配置されている。 検知対象表面と、所定間隔にて該表面と対向して配置された相対表面とを備えた一体的誘導式アナログ間隔センサの概略図である。 送信器および受信器を有する光センサの形態の間隔センサを示す図である。
以下において本発明は、図面中に示された実施例を参照して相当に詳細に記述される。
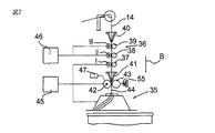
図1に依ると、たとえばTruetzschler TD 03練篠フレームなどの練篠フレーム1は練篠機構2を有し、その上流は該練篠機構の取入口3であると共に、その下流は該練篠機構からの出口4である。(不図示の)ケンスから到来する複数本の繊維スライバ5は、スライバ案内部材6に進入すると共に、引出しローラ7、8により引出され、測定要素(間隔センサ9)を通過して搬送される。練篠機構2はフォー・オーバー・スリー練篠機構として設計され、すなわちそれは、3個の下側ローラ(Iは吐出用下側ローラ、IIは中央下側ローラ、IIIは取入れ下側ローラ)および4個の上側ローラ11、12、13、14から成る。複数本の繊維スライバ5からの繊維スライバ組合せ物5IVの牽伸は、練篠機構2において実施される。牽伸は、予備牽伸および主要牽伸から構成される。ローラ対14/IIIおよび13/IIは予備牽伸領域を形成し、且つ、ローラ対13/IIおよび11、12/Iは主要牽伸領域を形成する。上記予備牽伸領域においては繊維スライバ組合せ物5'が引き伸ばされ、且つ、上記主要牽伸領域においては繊維スライバ組合せ物5"が引き伸ばされる。引き伸ばされた繊維スライバ5"'は、上記練篠機構から出口4におけるウェブ案内部材10に到達すると共に、引出しローラ15、16によりスライバ・ファネル17を通して引き出され、其処で各スライバは組み合わされて1本の繊維スライバ18を形成し、該スライバは次にケンス内に投入される。参照符号Aは動作方向を表している。
たとえば歯付きベルトにより相互に機械的に接続された引出しローラ7、8、取入れ下側ローラIIIおよび中央下側ローラIIは制御モータ19により駆動され、処理においては所望値が指定され得る。(組み合わされた上側ローラ14および13は夫々、各下側ローラの動作により回転される。)吐出用下側ローラIおよび引出しローラ15、16は、主要モータ20により駆動される。制御モータ19および主要モータ20は夫々、それらのためのコントローラ21および22を有している。制御(回転速度の制御)は夫々の場合において閉制御ループにより実施され、コントローラ19に対してはタコジェネレータ23が組み合わされると共に、主要モータ20に対してはタコジェネレータ24が組み合わされる。上記練篠機構の取入口3においては、送給される繊維スライバ5の質量に比例する変数、例えば繊維スライバの断面積が取入口測定要素により測定される。上記練篠機構からの出口4においては、吐出される繊維スライバ18の断面積(太さ)が、引出しローラ15、16に組み合わされた出口測定要素(間隔センサ25)により確認される。たとえばマイクロプロセッサを備えたマイクロコンピュータである中央コンピュータ・ユニット26(制御/調整デバイス)は、制御モータ19に対する所望値のための設定内容をコントローラ21に送信する。2つの測定要素9および25の測定値は、練篠プロセスの間において中央コンピュータ・ユニット26に送信される。制御モータ19に対する所望値は、取入口測定要素9の測定値と、吐出される繊維スライバ18の断面積に対する所望値とから、中央コンピュータ・ユニット26において決定される。出口測定要素25の測定値は、吐出される繊維スライバ18の監視(吐出スライバ監視)のために、且つ、最適な予備牽伸のオンライン決定のために用いられる。この制御システムによれば、上記牽伸プロセスを適切に調整することにより、繊維スライバ5の断面積の変動が補償され得ると共に、上記繊維スライバは更に均一とされ得る。参照番号27はディスプレイ・モニタを表し、28はインタフェース、29は入力デバイス、および、30は圧力バーを表す。たとえば繊維スライバ18の太さの変動であるという測定要素25からの測定値は、コンピュータ26におけるメモリ31に送信される。
夫々の場合、上記練篠フレームの取入口における引出しローラ7、8および出口における引出しローラ15、16は二重の機能を有している。つまり、それらは、夫々の繊維スライバ組合せ物5IVおよび18を引出すと共に、夫々の繊維スライバ組合せ物5IVおよび18を検知する役割を果たす。
引出しローラ15、16間のローラ・ニップを通過する繊維スライバ18の断面積および/または質量は、図3(A)、図3(B)に示された装置を用いて計測される。
図3(A)、図3(B)に示された上記装置はまた、引出しローラ7、8間のローラ・ニップを通過する(複数本の繊維スライバから成る)繊維スライバ組合せ物5IVの断面積および/または質量を計測するためにも採用され得る。
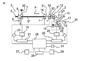
図2は、たとえばTruetzschler TC 07などのカード機と巻取りプレート35との間において、該巻取りプレート35の上方にカード機用練篠機構36が配置されるという配置構成を示している。カード機用練篠機構36はスリー・オーバー・スリー練篠機構として設計され、すなわちそれは、3個の下側ローラI、II、IIIおよび3個の上側ローラ37、38、39から成る。練篠機構36の取入口にては取入口ファネル40が配置されると共に、上記練篠機構からの出口には出口ファネル41が配置される。出口ファネル41の下流には2個の引出しローラ42、43が在り、これらローラは、湾曲矢印の方向に回転すると共に、出口ファネル41からの引き伸ばし済み繊維スライバ44を引出す。吐出用下側ローラI、引出しローラ42、43および巻取りプレート35は主要モータ45により駆動されると共に、取入れおよび中央下側ローラIIIおよびIIは制御モータ46により駆動される。モータ45および46は、(不図示の)電子的制御/調整デバイスに接続される。引出しローラ42、43間のローラ・ニップを通過する繊維スライバ44の断面積および/または質量は、図3(A)、図3(B)に示された装置に従い、間隔センサ47を用いて決定される。間隔センサ47は、中央コンピュータ・ユニット26(図1参照)に対応し得る(不図示の)電子的制御/調整デバイスに接続される。参照符号Bは動作方向を表している。
図3(A)、図3(B)は、少なくとも一本の繊維スライバから成る(図1および図2に示された)繊維スライバ組合せ物の断面積および/または質量を、(図1および図2に示された)一対の測定ローラ7、8および/または15、16および/または42、43により、連続的に計測するデバイスを示している。シャフト端部15aおよび16aにそれぞれ属する(不図示の)シャフト15および16は転動要素軸受50および51内に夫々回転可能に取付けられており、これら軸受は夫々軸受ハウジング52および53内に取付けられている。軸受ハウジング52は移動不能であるが、軸受ハウジング53は、移動不能な回転軸受54回りで矢印C、Dの方向に回動移動可能(枢動可能)に配置される。回転軸受54は、移動不能支持部49に固定される。回動移動可能である軸受ハウジング53は、一端が当接部56に着座するというスプリング55により負荷かつ付勢される。この様にして、軸受ハウジング53、および、それと一体的にローラ7および/または16および/または43は、実質的に直線状の経路上で離間移動され得る。誘導式(非接触式)のアナログ間隔センサ57が移動不能な軸受ハウジング52に一体化され、そのセンサ表面57aは軸受ハウジング53の表面53'と対向して配置されている。軸受ハウジング53の表面53'はセンサ表面57aに対面している。動作状態において、間隔センサ57により測定されるたとえば約1mmである可変間隔aがセンサ表面57aと表面53'との間に存在する。この様にして、各ローラの一方例えばローラ15は移動不能であり、且つ、他方のローラ例えばローラ16は、実質的に直線状の経路上で上記ローラから離間移動可能とされるべく配置される。軸受ハウジング52および支持部49は、(不図示の)機械フレーム上に移動不能に取付けられる。図3(B)に従う開き状態(非動作時)において、間隔bはたとえば約11mmである。参照番号63は開くための押圧クランクを表し、参照番号58は間隔センサ57のリード線を表し、且つ、参照番号48a、48bは(不図示の歯付きベルトにより)上記引出しローラを駆動する2個の歯付きベルト・ホィールを表している。
図4に依れば誘導式間隔センサ571は、移動不能な軸受ハウジング52の(引出しローラ15に臨む)上側の端部領域における凹所内に一体的に配置される。図5に依れば誘導式間隔センサ572は、移動不能な軸受ハウジング52の(引出しローラ15に臨む)上側の端部領域から所定距離にて、一側に向けて開放された溝内に一体的に配置される。図4および図5に依る配置構成において間隔センサ571および572は移動不能な軸受ハウジング52の一体的構成要素であり、それにより、軸受ハウジング52および該間隔センサ571および572が一体部材として構成されるようになる。
図6に依ると、センサ表面57aに対向して配置された対応表面(検知対象表面)は、回動移動可能である軸受ハウジング53に対して一体化された対応要素59の形態をなしている。
図7に依ると、移動不能な軸受ハウジング52の一側に向けて開放された凹所内には、光学式間隔センサ60が移動不能に配置される。間隔センサ60(光センサ)は、光送信器60aおよび光受信器60bから成る。光送信器60aにより発せられた光線61'は、回動移動可能な軸受ハウジング53の円滑表面53'により反射され、反射光線61"は光受信器60bにより受信される。参照番号62は電気リード線を表し、この電気リード線によって間隔センサ60は、評価デバイス(電子的制御/調整デバイス26)と通信する。
図1に係る練篠フレーム1はファネル17の下方に引出しローラ15、16を有し、これらローラは、構成に関しては下位アセンブリに取入れられると共に、上記ファネルを通して繊維スライバ18を搬送しもしくは引き出す。上記下位アセンブリは、鋳鉄製基部上に固定して取付けられていて、固定部分および可動部分から成る。引出しローラ15、16の両方が駆動される。開いた引出しローラ、閉じた引出しローラ、および、大径箇所の監視は、非接触誘導式近接スィッチ57を用いて実施される。スライバ検知から帰着する必要な測定値は移動可能な引出しローラの偏位により決定され、上記誘導式アナログ・センサは引出しローラ15、16の間隔aを計測する。上記測定値は、制御システムを用いて評価される。非接触誘導式アナログ・センサに加え、たとえば誘導式または光学式の変位変換器も使用され得る。本発明に依れば、第1に、(たとえばアナログ・センサなどの)測定センサは"全体"の一部として既存の構造要素に対して一体化され、第2に、(ハウジングに対して特有である)基本的に最も変化に富むセンサの一体化は、既存の構造部分もしくは下位アセンブリにおいて達成される。上記センサは、既存の構造的下位アセンブリの外郭形状に合致するハウジング内に収容される。上記センサを上記引出しローラ下位アセンブリに設置もしくは一体化する結果、上記引出しローラ要素の全体的な構造的寸法は不変のままであることから、コンパクトな下位アセンブリ配置構成を形成する結果となる。センサ57は上記引出しローラの固定部分52と併合されることから、上記引出しローラの可動要素53は好適に、一体化された上記センサを減衰する測定タブを提供する。この一体化の結果として、固定要素52は測定主体となり且つ可動要素53は測定の対象物となることから、各引出しローラから成る下位アセンブリ全体がコンパクトな測定システムとなる。
この一体化は、以下における相当の利点に帰着する:
−簡素で経済的なセンサ設置
−取付け箇所は上記ハウジングの外郭形状により固定されるので、調節もしくは設定が不要であること
−問題のない交換
−空間の節約
−開いた引出しローラ、閉じた引出しローラ、および、大径箇所の監視。
上記一体化、および、これに関連して測定箇所を引出しローラの支持要素に関連付け付けたことの結果として、簡素な構成が好適に達成される。上記引出しローラの偏位が電気的測定値へと変換されるという事実に依って、制御システム内には測定手段が構成され得る。認識された上記センサの測定値と、上記移動可能な引出しローラの偏位とを使用すれば、幾つかの動作条件を検知することが可能である。繊維スライバの検出に加え、ソフトウェアを使用すれば更に、開いた引出しローラ、閉じた引出しローラの機能、大径箇所、および、スライバ不在を評価することが可能である。測定値が上記ソフトウェアにおいて予め定義されたパラメータ(スライバOK)より小さくまたは大きければ、動作不良が検知されて上記機械は作動停止される。
上記一体化形式の測定値計測は、上記取入口ファネルの後における引出しローラにおいても使用され得ることが更に好適である。同一の引出しローラ下位アセンブリ(トング・ローラおよび溝ローラ)もしくは類似物は、同一のソフトウェア評価により測定システムとして使用され得る。
a 可変間隔
b 間隔
A 動作方向
B 動作方向
C、D 矢印
I 吐出用下側ローラ
II 中央下側ローラ
III 取入れ下側ローラ
1 練篠フレーム
2 練篠機構
3 取入口
4 出口
5 繊維スライバ
5' 繊維スライバ組合せ物
5" 繊維スライバ組合せ物
5"' 引き伸ばされた繊維スライバ
5IV 繊維スライバ組合せ物
6 スライバ案内部材
7、8 引出しローラ
9 間隔センサ/取入口測定要素
10 ウェブ案内部材
11、12、13、14 上側ローラ
15 引出しローラ
15a シャフト端部
16 引出しローラ
16a シャフト端部
17 スライバ・ファネル
18 繊維スライバ/繊維スライバ組合せ物
19 制御モータ
20 主要モータ
21、22 コントローラ
23、24 タコジェネレータ
25 間隔センサ/出口測定要素
26 電子的制御/調整デバイス
27 ディスプレイ・モニタ
28 インタフェース
29 入力デバイス
30 圧力バー
31 メモリ
35 巻取りプレート
36 カード機用練篠機構
37、38、39 上側ローラ
40 取入口ファネル
41 出口ファネル
42、43 引出しローラ
44 引き伸ばし済み繊維スライバ
45 主要モータ
46 制御モータ
47 間隔センサ
48a、48b 歯付きベルト・ホィール
49 移動不能支持部
50、51 転動要素軸受
52 移動不能な軸受ハウジング/固定要素
53 軸受ハウジング/可動要素
53' 円滑表面
54 移動不能な回転軸受
55 スプリング
56 当接部
57 アナログ間隔センサ/非接触誘導式近接スィッチ
571、572 誘導式間隔センサ
57a センサ表面
58 リード線
59 対応要素
60 光学式間隔センサ
60a 光送信器
60b 光受信器
61' 光線
61" 反射光線
62 電気リード線
63 押圧クランク

Claims (75)

  1. 撚線形態の繊維材料を引き伸ばす練篠機構を有する特にカード機、練篠フレーム、コーミング機械もしくはフライヤである紡績用前処理機のためにまたは該前処理機において少なくとも一本の繊維スライバの断面積および/または質量を連続的に計測するための装置であって、該装置は、一方のローラは移動不能に配置され且つ他方のローラは該一方のローラから離間移動可能に配置されると共に相互に当接して押圧されるべく配置された一対の測定ローラを有し、且つ、該装置は、対応表面(検知対象表面)からの間隔を測定する非接触式間隔センサを有するという装置において、
    上記間隔センサ(9、25;47;57、571、572;60)は、ローラ(7、8;15、16;42、43)のための保持要素(52、52b、53a、53b)に対して一体化されることを特徴とする、装置。
  2. 前記対応表面は、前記各ローラの内の一方のローラのための前記保持要素に対して結合され、
    前記間隔センサは、他方のローラのための前記保持要素に対して結合され、且つ、
    上記間隔センサおよび上記対応表面は、上記各保持要素の側面であって相互に臨むという側面上に夫々配置されることを特徴とする、請求項1記載の装置。
  3. 前記間隔センサは前記保持要素の別体的部分として構成されることを特徴とする、請求項1または2に記載の装置。
  4. 前記保持要素は前記間隔センサの少なくとも一部分と協働する一体部材として構成されることを特徴とする、請求項1乃至3のいずれか一項に記載の装置。
  5. 前記間隔センサの空間は、前記保持要素における陥没部(凹所)により少なくとも部分的に形成されることを特徴とする、請求項1乃至4のいずれか一項に記載の装置。
  6. 前記保持要素は前記ローラのための軸受要素であることを特徴とする、請求項1乃至5のいずれか一項に記載の装置。
  7. 前記軸受要素は移動不能な回転軸受であることを特徴とする、請求項1乃至6のいずれか一項に記載の装置。
  8. 前記軸受要素は移動可能な回転軸受であることを特徴とする、請求項1乃至7のいずれか一項に記載の装置。
  9. 前記移動可能な軸受要素はスプリング負荷されることを特徴とする、請求項1乃至8のいずれか一項に記載の装置。
  10. 前記軸受要素はアルミニウムで作成されることを特徴とする、請求項1乃至9のいずれか一項に記載の装置。
  11. 前記間隔センサは移動不能であり、且つ、前記対応表面は上記間隔センサに対して移動すべく配置されることを特徴とする、請求項1乃至10のいずれか一項に記載の装置。
  12. 前記間隔センサは移動すべく配置され、且つ、前記対応表面は上記間隔センサに対して移動不能であることを特徴とする、請求項1乃至11のいずれか一項に記載の装置。
  13. 前記対応表面は、前記各ローラの内の一方のローラのための前記保持要素の外側表面であることを特徴とする、請求項1乃至12前記のいずれか一項に記載の装置。
  14. 前記対応表面は、前記各ローラの内の一方のローラに結合された対応要素の表面であることを特徴とする、請求項1乃至13のいずれか一項に記載の装置。
  15. 前記対応要素は、前記各ローラの内の一方のローラのための前記保持要素に対して一体化されることを特徴とする、請求項1乃至14のいずれか一項に記載の装置。
  16. 前記検知対象表面は平坦であることを特徴とする、請求項1乃至15のいずれか一項に記載の装置。
  17. 前記検知対象表面は円滑であることを特徴とする、請求項1乃至16のいずれか一項に記載の装置。
  18. 前記間隔センサは電波もしくは光線を使用する距離測定センサであることを特徴とする、請求項1乃至17のいずれか一項に記載の装置。
  19. 前記間隔センサは誘導における変化を計測し得ることを特徴とする、請求項1乃至18のいずれか一項に記載の装置。
  20. 前記間隔測定デバイスは誘導式近接始動器であることを特徴とする、請求項1乃至19のいずれか一項に記載の装置。
  21. 前記間隔センサは誘導式変位センサであることを特徴とする、請求項1乃至20のいずれか一項に記載の装置。
  22. 前記誘導式変位センサはプランジャ・コイルおよびプランジャ・コアを備えて成ることを特徴とする、請求項1乃至21のいずれか一項に記載の装置。
  23. 光学式間隔センサ(距離測定センサ)が採用されることを特徴とする、請求項1乃至22のいずれか一項に記載の装置。
  24. 前記間隔センサは光センサであることを特徴とする、請求項1乃至23のいずれか一項に記載の装置。
  25. 前記間隔センサはレーザ・センサであることを特徴とする、請求項1乃至24のいずれか一項に記載の装置。
  26. 前記間隔センサは可視光線を使用することを特徴とする、請求項1乃至25のいずれか一項に記載の装置。
  27. 前記間隔センサは赤外光を使用することを特徴とする、請求項1乃至26のいずれか一項に記載の装置。
  28. 音響式間隔センサ(距離測定センサ)が採用されることを特徴とする、請求項1乃至27のいずれか一項に記載の装置。
  29. 超音波式間隔センサ(距離測定センサ)が採用されることを特徴とする、請求項1乃至28のいずれか一項に記載の装置。
  30. 前記間隔センサおよび前記対応要素は囲繞ハウジング内に配置されることを特徴とする、請求項1乃至29のいずれか一項に記載の装置。
  31. 前記評価デバイスは電子的制御/調整デバイスと通信することを特徴とする、請求項1乃至30のいずれか一項に記載の装置。
  32. 前記間隔センサはアナログ様式で動作するセンサであることを特徴とする、請求項1乃至31のいずれか一項に記載の装置。
  33. 当該装置はスライバ破断を検知および/または表示するために採用されることを特徴とする、請求項1乃至32のいずれか一項に記載の装置。
  34. 前記間隔センサは前記検知対象ローラの偏位を間接的に検知することを特徴とする、請求項1乃至33のいずれか一項に記載の装置。
  35. 前記間隔センサは、長寸で概ね撚り合わせられていない繊維スライバ組合せ物のスライバ質量を計測するために採用されることを特徴とする、請求項1乃至34のいずれか一項に記載の装置。
  36. 前記繊維スライバ組合せ物は概ね、天然繊維、特に綿、および/または、合成繊維材料から成ることを特徴とする、請求項1乃至35のいずれか一項に記載の装置。
  37. 前記間隔センサは、連続的に移動する繊維スライバ組合せ物の場合にスライバ質量を測定するために使用されることを特徴とする、請求項1乃至36のいずれか一項に記載の装置。
  38. 前記スライバ質量に対する計測値は、前記繊維スライバ組合せ物が引き伸ばされつつある紡績用前処理機の少なくともひとつの牽伸要素を制御することにより、上記繊維スライバ組合せ物におけるスライバ質量変動を均一化するために使用されることを特徴とする、請求項1乃至37のいずれか一項に記載の装置。
  39. 前記紡績用前処理機は、自動均整化カード機、または、自動均整化練篠機構を有するカード機、または、自動均整化練篠機構を有するコーミング機械、または、練篠フレームであることを特徴とする、請求項1乃至38のいずれか一項に記載の装置。
  40. 移動する繊維スライバ組合せ物のスライバ質量の計測は、繊維スライバを引き伸ばす複数の順次的な牽伸要素を有する紡績用前処理機にて行われることを特徴とする、請求項1乃至39のいずれか一項に記載の装置。
  41. 前記間隔センサは、前記紡績用前処理機の練篠機構の取入口に、および/または、該練篠機構からの出口に配置されることを特徴とする、請求項1乃至40のいずれか一項に記載の装置。
  42. 前記スライバ質量変動は前記取入口および/または出口にて監視されると共に、必要な場合、スライバ質量および/またはスライバ質量変動に対する値がスレッショルド値より大きくもしくは小さければ、前記紡績用前処理機は作動停止され且つ/又は警告信号が発せられることを特徴とする、請求項1乃至41のいずれか一項に記載の装置。
  43. 前記間隔センサは、前記繊維スライバ組合せ物のスライバ破断、または、上記繊維スライバ組合せ物の内の1本の繊維スライバのスライバ破断を計測すべく配置されることを特徴とする、請求項1乃至42のいずれか一項に記載の装置。
  44. スライバ質量に対する計算値に基づき、前記紡績用前処理機の均整化ユニットは、スライバ質量変動を均一化するために前記複数の牽伸要素の内の少なくともひとつの牽伸要素を制御すること(取入口での均整化)を特徴とする、請求項1乃至43のいずれか一項に記載の装置。
  45. スライバ質量に対する計算値に基づき、前記紡績用前処理機の均整化ユニットは、スライバ質量変動を均一化するために前記複数の牽伸要素の内の少なくともひとつの牽伸要素を制御すること(出口での均整化)を特徴とする、請求項1乃至44のいずれか一項に記載の装置。
  46. 前記取入口での均整化および出口での均整化は、連動された制御を構成すること(同時的な開ループおよび閉ループ制御)を特徴とする、請求項1乃至45のいずれか一項に記載の装置。
  47. 共振周波数調節が実施される測定周波数は、前記紡績用前処理機に進入する繊維スライバ組合せ物の取入口速度に対し、または、上記紡績用前処理機を離脱する繊維スライバ組合せ物の吐出速度に対して整合されることを特徴とする、請求項1乃至46のいずれか一項に記載の装置。
  48. 前記測定周波数は、好適には一定である所定の検知長さに対して整合されること(長さに基づく検知)を特徴とする、請求項1乃至47のいずれか一項に記載の装置。
  49. 前記測定周波数は、前記繊維スライバ組合せ物の速度に応じて定まる所定の時間間隔に対して整合されること(時間に基づく検知)を特徴とする、請求項1乃至48のいずれか一項に記載の装置。
  50. 測定毎に前記繊維スライバ組合せ物の特定部分を計測する前記検知は、相互に関して変位され且つ相互に重なり合っていて上記繊維スライバ組合せ物に沿った複数の測定部分において実施されることを特徴とする、請求項1乃至49のいずれか一項に記載の装置。
  51. 少なくともひとつの前記間隔センサにより獲得された複数の測定値を用いて、前記繊維スライバ組合せ物のスペクトルが、または、スペクトルの一部が生成もしくは追加されることを特徴とする、請求項1乃至50のいずれか一項に記載の装置。
  52. 前記紡績用前処理機の取入口および/または上記紡績用前処理機からの出口にては、前記繊維スライバ組合せ物のスペクトルが記録されることを特徴とする、請求項1乃至51のいずれか一項に記載の装置。
  53. 相互に並んで進行すると共に平面視においては実質的に平行な複数本の繊維スライバが、前記紡績用前処理機を通して前記取入口から前記出口まで案内されることを特徴とする、請求項1乃至52のいずれか一項に記載の装置。
  54. 前記繊維スライバ組合せ物は、または、該繊維スライバ組合せ物を構成する個別群の繊維スライバは、少なくともひとつのファネルを通って、または、たとえば案内プレートもしくは案内バーなどの案内要素を通って案内されることを特徴とする、請求項1乃至53のいずれか一項に記載の装置。
  55. 前記案内要素はスライバ案内部材であることを特徴とする、請求項1乃至54のいずれか一項に記載の装置。
  56. 前記案内要素はウェブ案内部材であることを特徴とする、請求項1乃至55のいずれか一項に記載の装置。
  57. 前記間隔センサのために移動可能に取付けられた前記保持要素の付勢が達成されると共に、該付勢は、たとえばスプリング、重り、固有弾性、負荷シリンダ、磁石などの機械的、電気的、油圧的もしくは空気圧的な手段により調節され得ることを特徴とする、請求項1乃至56のいずれか一項に記載の装置。
  58. 前記出口における前記引出しローラの軸心は水平に配置されることを特徴とする、請求項1乃至57のいずれか一項に記載の装置。
  59. 前記出口における前記引出しローラの軸心は垂直に配置されることを特徴とする、請求項1乃至58のいずれか一項に記載の装置。
  60. 制御パルスがコントローラに送信されることを特徴とする、請求項1乃至59のいずれか一項に記載の装置。
  61. 前記コントローラは、前記牽伸を行う練篠フレームの少なくともひとつの駆動モータの回転速度を調節することを特徴とする、請求項1乃至60のいずれか一項に記載の装置。
  62. 請求項1から61のいずれか一項に記載の装置を使用する特にカード機、練篠フレームもしくはコーミング機械である紡績用前処理機であって、
    連続的に移動する繊維スライバ組合せ物のスライバ質量を測定する少なくともひとつの間隔センサを有する、紡績用前処理機。
  63. 前記少なくともひとつの間隔センサは当該紡績用前処理機の取入口に配置されることを特徴とする、請求項1から62のいずれか一項に記載の装置を使用する紡績用前処理機。
  64. 前記少なくともひとつの間隔センサは当該紡績用前処理機からの出口に配置されることを特徴とする、請求項1から63のいずれか一項に記載の装置を使用する紡績用前処理機。
  65. 前記少なくともひとつの間隔センサは、前記繊維スライバ組合せ物のスライバ質量の測定値に基づいて当該紡績用前処理機の少なくともひとつの牽伸要素を開ループおよび/または閉ループ制御に対して委ねる均整化ユニットに接続されることを特徴とする、請求項1から64のいずれか一項に記載の装置を使用する紡績用前処理機。
  66. 前記少なくともひとつの間隔センサを通り相互に並んで平行に進行する複数本の繊維スライバが検知され得ることを特徴とする、請求項1から65のいずれか一項に記載の装置を使用する紡績用前処理機。
  67. 相互に並んで進行すると共に平面視においては実質的に平行であるという複数本の繊維スライバが、当該紡績用前処理機を通して前記取入口から前記出口まで案内されるように配置されることを特徴とする、請求項1から66のいずれか一項に記載の装置を使用する紡績用前処理機。
  68. 前記間隔センサに対して結合されたローラ対の間隔であって該間隔センサからの間隔は小寸であることを特徴とする、請求項1乃至67のいずれか一項に記載の紡績用前処理機。
  69. 前記間隔センサは誘導式アナログ・センサであることを特徴とする、請求項1乃至68のいずれか一項に記載の紡績用前処理機。
  70. ファネル形状のスライバ案内部材、ウェブ案内部材などの直下流には、同時に引出しローラの形態である2個のローラが配置されることを特徴とする、請求項1乃至69のいずれか一項に記載の紡績用前処理機。
  71. 前記保持要素はローラの回転軸受のためのハウジングであることを特徴とする、請求項1乃至70のいずれか一項に記載の紡績用前処理機。
  72. 少なくともひとつのローラが駆動されることを特徴とする、請求項1乃至71のいずれか一項に記載の紡績用前処理機。
  73. 前記間隔測定デバイスは距離測定センサであることを特徴とする、請求項1乃至72のいずれか一項に記載の紡績用前処理機。
  74. 前記間隔測定デバイスは電気的評価デバイスと通信することを特徴とする、請求項1乃至73のいずれか一項に記載の紡績用前処理機。
  75. 前記間隔測定デバイスは、センサ表面と対向して配置された対応要素からの間隔を計測することを特徴とする、請求項1乃至74のいずれか一項に記載の紡績用前処理機。
JP2009171314A 2008-08-19 2009-07-22 撚線形態の繊維材料を引き伸ばす練篠機構を有する紡績用前処理機のためのまたは該前処理機における装置 Expired - Fee Related JP5612285B2 (ja)

Applications Claiming Priority (2)

Application Number Priority Date Filing Date Title
DE102008038392A DE102008038392A1 (de) 2008-08-19 2008-08-19 Vorrichtung für eine oder an einer Spinnereivorbereitungsmaschine, die ein Streckwerk zum Verstrecken von strangförmigem Fasermaterial aufweist
DE102008038392.9 2008-08-19

Publications (3)

Publication Number Publication Date
JP2010047892A true JP2010047892A (ja) 2010-03-04
JP2010047892A5 JP2010047892A5 (ja) 2012-08-23
JP5612285B2 JP5612285B2 (ja) 2014-10-22

Family

ID=41171405

Family Applications (1)

Application Number Title Priority Date Filing Date
JP2009171314A Expired - Fee Related JP5612285B2 (ja) 2008-08-19 2009-07-22 撚線形態の繊維材料を引き伸ばす練篠機構を有する紡績用前処理機のためのまたは該前処理機における装置

Country Status (7)

Country Link
JP (1) JP5612285B2 (ja)
CN (1) CN101654820B (ja)
BR (1) BRPI0902713B8 (ja)
CH (1) CH699382B1 (ja)
DE (1) DE102008038392A1 (ja)
GB (1) GB2462718B (ja)
IT (1) IT1397166B1 (ja)

Cited By (1)

* Cited by examiner, † Cited by third party
Publication number Priority date Publication date Assignee Title
JP2015521240A (ja) * 2012-06-05 2015-07-27 ツリュツラー ゲゼルシャフト ミット ベシュレンクテル ハフツング ウント コンパニー コマンディトゲゼルシャフト 引き抜きローラ用のピルグリム運動を発生させるための駆動装置を有する、コーマに設ける装置

Families Citing this family (4)

* Cited by examiner, † Cited by third party
Publication number Priority date Publication date Assignee Title
DE102013101015A1 (de) * 2013-02-01 2014-08-07 TRüTZSCHLER GMBH & CO. KG Walzwerk für Faserbänder und Vorrichtung zur Überwachung eines Walzwerkes für Faserbänder
CN105088450A (zh) * 2015-07-16 2015-11-25 青岛腾威纺控科技有限公司 一种并条机数字匀整控制系统
DE102015119143A1 (de) * 2015-11-03 2017-05-04 TRüTZSCHLER GMBH & CO. KG Faserbandtransportvorrichtung und damit bildbare Anordnung
DE102018125354A1 (de) * 2018-10-12 2020-04-16 TRüTZSCHLER GMBH & CO. KG Walze für eine Faserbandtransvorrichtung und damit ausgestattete Faserbandtransportvorrichtung

Citations (6)

* Cited by examiner, † Cited by third party
Publication number Priority date Publication date Assignee Title
JPS55112317A (en) * 1979-02-15 1980-08-29 Toyoda Autom Loom Works Ltd Uneveness modifier in sliver weight
JPH05500572A (ja) * 1990-04-19 1993-02-04 シューベルト、ウント、ザルツェル、マシーネン ファブリーク、アクチェンゲゼルシャフト 測定装置
JPH08209467A (ja) * 1994-10-31 1996-08-13 Truetzschler Gmbh & Co Kg 調節練条機で繊維束の太さを測定する装置
JPH1181058A (ja) * 1997-07-01 1999-03-26 Truetzschler Gmbh & Co Kg 少なくとも1つのドラフトゾーンを有する繊維スライバ用調節型ドラフト装置
JP2006328626A (ja) * 2005-05-20 2006-12-07 Truetzschler Gmbh & Co Kg たとえばフラット・カード、ローラ・カード、練篠フレーム、精梳綿機などの紡績用前処理機において、たとえば綿、合成繊維などの少なくとも一本の繊維スライバ、繊維ウェブなどの繊維材料の質量および/または質量変動を確認する装置
JP2010047891A (ja) * 2008-08-19 2010-03-04 Truetzschler Gmbh & Co Kg 撚線形態の繊維材料を引き伸ばす練篠機構を有する紡績用前処理機のためのまたは該前処理機における装置

Family Cites Families (10)

* Cited by examiner, † Cited by third party
Publication number Priority date Publication date Assignee Title
FR2466526A1 (fr) * 1979-09-27 1981-04-10 Alsacienne Constr Meca Installation de regulation de la section de la meche de fibres sortant d'une machine d'etirage
CS209279B1 (en) * 1979-09-27 1981-11-30 Mirko Kaspar Sensor of sliver density for textile machines
DE3425345A1 (de) * 1984-07-10 1986-01-30 Trützschler GmbH & Co KG, 4050 Mönchengladbach Verfahren und vorrichtung zum erzeugen einer gleichmaessigen, kontinuierlichen fasermenge
US4646378A (en) * 1984-12-18 1987-03-03 Borden David M Tool for fireman
EP0192835B1 (de) * 1985-02-15 1989-04-26 Maschinenfabrik Rieter Ag Vorrichtung zum kontinuierlichen Ermitteln der Masse eines Faserbandes
DD263548A1 (de) * 1987-08-28 1989-01-04 Textima Veb K Vorrichtung zum kontinuierlichen ermitteln der masse eines faserbandes mit zwei gegeneinander pressbaren walzen
DE8912994U1 (de) * 1989-11-03 1989-12-14 Kolbus GmbH & Co KG, 4993 Rahden Kontrolleinrichtung an bogenverarbeitenden Maschinen
CH685164A5 (de) * 1992-03-05 1995-04-13 Zellweger Uster Ag Verfahren und Vorrichtung zur Regelung des Verzugs eines Streckwerks.
JPH08284030A (ja) * 1995-04-10 1996-10-29 Murata Mach Ltd ドラフト装置
DE19710530B4 (de) * 1997-03-14 2007-04-12 Rieter Ingolstadt Spinnereimaschinenbau Ag Vorrichtung zur Erzeugung oder Weiterverarbeitung von Faserband

Patent Citations (6)

* Cited by examiner, † Cited by third party
Publication number Priority date Publication date Assignee Title
JPS55112317A (en) * 1979-02-15 1980-08-29 Toyoda Autom Loom Works Ltd Uneveness modifier in sliver weight
JPH05500572A (ja) * 1990-04-19 1993-02-04 シューベルト、ウント、ザルツェル、マシーネン ファブリーク、アクチェンゲゼルシャフト 測定装置
JPH08209467A (ja) * 1994-10-31 1996-08-13 Truetzschler Gmbh & Co Kg 調節練条機で繊維束の太さを測定する装置
JPH1181058A (ja) * 1997-07-01 1999-03-26 Truetzschler Gmbh & Co Kg 少なくとも1つのドラフトゾーンを有する繊維スライバ用調節型ドラフト装置
JP2006328626A (ja) * 2005-05-20 2006-12-07 Truetzschler Gmbh & Co Kg たとえばフラット・カード、ローラ・カード、練篠フレーム、精梳綿機などの紡績用前処理機において、たとえば綿、合成繊維などの少なくとも一本の繊維スライバ、繊維ウェブなどの繊維材料の質量および/または質量変動を確認する装置
JP2010047891A (ja) * 2008-08-19 2010-03-04 Truetzschler Gmbh & Co Kg 撚線形態の繊維材料を引き伸ばす練篠機構を有する紡績用前処理機のためのまたは該前処理機における装置

Cited By (1)

* Cited by examiner, † Cited by third party
Publication number Priority date Publication date Assignee Title
JP2015521240A (ja) * 2012-06-05 2015-07-27 ツリュツラー ゲゼルシャフト ミット ベシュレンクテル ハフツング ウント コンパニー コマンディトゲゼルシャフト 引き抜きローラ用のピルグリム運動を発生させるための駆動装置を有する、コーマに設ける装置

Also Published As

Publication number Publication date
GB2462718B (en) 2012-10-10
CH699382B1 (de) 2013-08-30
JP5612285B2 (ja) 2014-10-22
GB2462718A (en) 2010-02-24
ITMI20091117A1 (it) 2010-02-20
BRPI0902713B8 (pt) 2022-11-08
CH699382A2 (de) 2010-02-26
DE102008038392A1 (de) 2010-02-25
BRPI0902713B1 (pt) 2019-08-27
CN101654820B (zh) 2014-09-24
BRPI0902713A2 (pt) 2010-05-25
CN101654820A (zh) 2010-02-24
GB0914241D0 (en) 2009-09-30
IT1397166B1 (it) 2013-01-04

Similar Documents

Publication Publication Date Title
JP2010047891A (ja) 撚線形態の繊維材料を引き伸ばす練篠機構を有する紡績用前処理機のためのまたは該前処理機における装置
JP5221782B2 (ja) たとえばフラット・カード、ローラ・カード、練篠フレーム、精梳綿機などの紡績用前処理機において、たとえば綿、合成繊維などの少なくとも一本の繊維スライバ、繊維ウェブなどの繊維材料の質量および/または質量変動を確認する装置
JP5368028B2 (ja) コーミング機械上でノイル割合を監視する装置
CN100344969C (zh) 纺纱准备机及求出纺纱准备机上纤维束的纱条质量的方法
EP0354653A2 (en) Drafting apparatus with autolevelling
JP2006328626A5 (ja)
US7765648B2 (en) Apparatus for detecting a parameter at a plurality of slivers fed to a drafting system of a spinning machine
GB2326888A (en) Regulated drawing system for fibre material
JP2010047892A (ja) 撚線形態の繊維材料を引き伸ばす練篠機構を有する紡績用前処理機のためのまたは該前処理機における装置
JP3545441B2 (ja) 繊維塊状の綿、合成繊維などの繊維材料をカード、除塵手段などの紡績準備機械に供給する装置
JP2000234222A (ja) 調節牽伸機構
JP3535242B2 (ja) 入口測定部材を有する練条機におけるスライバ用自動調節ドラフト装置
CN101671873B (zh) 用在纺纱间准备机上用于校正测量信号的设备
JPH11172533A (ja) 複数のスライバからなるダブリングスライバを測定するための練条機における装置
JP4339586B2 (ja) 練条機などのスライバ用ドラフト装置で初期ドラフトの調節値を設定するための装置
US6223609B1 (en) Apparatus for measuring the thickness and/or irregularities of a running sliver
JP2011089246A (ja) 1対の感知ローラーを有するカード機、練条機、コーマ機またはフライヤなど紡績準備機械の装置
JP2002201536A (ja) 牽引装置のための調節作用点を求めるための方法及び装置
JPH11140730A (ja) 繊維案内部材を有する、カード、練条機の如き紡績準備機械における装置
GB2369126A (en) Apparatus at a draw frame for measuring tension during processing of fibre slivers
GB2221699A (en) Drafting apparatus with autolevelling
GB2329477A (en) Device on a draw frame for measuring a fibre sliver combination
CZ297922B6 (cs) Zpusob a zarízení pro kontrolu a regulaci hmotnosti pramene vláken

Legal Events

Date Code Title Description
A521 Request for written amendment filed

Free format text: JAPANESE INTERMEDIATE CODE: A523

Effective date: 20120705

A621 Written request for application examination

Free format text: JAPANESE INTERMEDIATE CODE: A621

Effective date: 20120705

A977 Report on retrieval

Free format text: JAPANESE INTERMEDIATE CODE: A971007

Effective date: 20130719

A131 Notification of reasons for refusal

Free format text: JAPANESE INTERMEDIATE CODE: A132

Effective date: 20130723

A521 Request for written amendment filed

Free format text: JAPANESE INTERMEDIATE CODE: A523

Effective date: 20130815

A131 Notification of reasons for refusal

Free format text: JAPANESE INTERMEDIATE CODE: A131

Effective date: 20140218

A521 Request for written amendment filed

Free format text: JAPANESE INTERMEDIATE CODE: A523

Effective date: 20140314

TRDD Decision of grant or rejection written
A01 Written decision to grant a patent or to grant a registration (utility model)

Free format text: JAPANESE INTERMEDIATE CODE: A01

Effective date: 20140805

A61 First payment of annual fees (during grant procedure)

Free format text: JAPANESE INTERMEDIATE CODE: A61

Effective date: 20140904

R150 Certificate of patent or registration of utility model

Ref document number: 5612285

Country of ref document: JP

Free format text: JAPANESE INTERMEDIATE CODE: R150

LAPS Cancellation because of no payment of annual fees